Главная // Актуальные документы // ГОСТ (Государственный стандарт)СПРАВКА
Источник публикации
М.: ФГБУ "РСТ", 2022
Примечание к документу
Документ
введен в действие с 01.09.2022.
Название документа
"ГОСТ EN 13684-2020. Межгосударственный стандарт. Оборудование садовое. Аппараты для аэрации газонов и культиваторы-рыхлители, управляемые рядом идущим оператором. Требования безопасности"
(введен в действие Приказом Росстандарта от 28.04.2022 N 244-ст)
"ГОСТ EN 13684-2020. Межгосударственный стандарт. Оборудование садовое. Аппараты для аэрации газонов и культиваторы-рыхлители, управляемые рядом идущим оператором. Требования безопасности"
(введен в действие Приказом Росстандарта от 28.04.2022 N 244-ст)
по техническому регулированию
и метрологии
от 28 апреля 2022 г. N 244-ст
МЕЖГОСУДАРСТВЕННЫЙ СТАНДАРТ
ОБОРУДОВАНИЕ САДОВОЕ
АППАРАТЫ ДЛЯ АЭРАЦИИ ГАЗОНОВ И КУЛЬТИВАТОРЫ-РЫХЛИТЕЛИ,
УПРАВЛЯЕМЫЕ РЯДОМ ИДУЩИМ ОПЕРАТОРОМ
ТРЕБОВАНИЯ БЕЗОПАСНОСТИ
Garden equipment. Pedestrian controlled lawn aerators
and scarifiers. Safety requirements
(EN 13684:2018, Garden equipment - Pedestrian controlled
lawn aerators and scarifiers - Safety, IDT)
ГОСТ EN 13684-2020
Дата введения
1 сентября 2022 года
Цели, основные принципы и общие правила проведения работ по межгосударственной стандартизации установлены
ГОСТ 1.0 "Межгосударственная система стандартизации. Основные положения" и
ГОСТ 1.2 "Межгосударственная система стандартизации. Стандарты межгосударственные, правила и рекомендации по межгосударственной стандартизации. Правила разработки, принятия, обновления и отмены"
1 ПОДГОТОВЛЕН Научно-производственным республиканским унитарным предприятием "Белорусский государственный институт стандартизации и сертификации" (БелГИСС) на основе собственного перевода на русский язык англоязычной версии стандарта, указанного в
пункте 5
2 ВНЕСЕН Государственным комитетом по стандартизации Республики Беларусь
3 ПРИНЯТ Межгосударственным советом по стандартизации, метрологии и сертификации (протокол от 30 октября 2020 г. N 134-П)
За принятие проголосовали:
Краткое наименование страны по МК (ИСО 3166) 004-97 | Код страны по МК (ИСО 3166) 004-97 | Сокращенное наименование национального органа по стандартизации |
Армения | AM | ЗАО "Национальный орган по стандартизации и метрологии" Республики Армения |
Беларусь | BY | Госстандарт Республики Беларусь |
Киргизия | KG | Кыргызстандарт |
Россия | RU | Росстандарт |
Таджикистан | TJ | Таджикстандарт |
Узбекистан | UZ | Узстандарт |
4
Приказом Федерального агентства по техническому регулированию и метрологии от 28 апреля 2022 г. N 244-ст межгосударственный стандарт ГОСТ EN 13684-2020 введен в действие в качестве национального стандарта Российской Федерации с 1 сентября 2022 г.
5 Настоящий стандарт идентичен европейскому стандарту EN 13684:2018 "Оборудование садовое. Аэраторы и культиваторы-рыхлители для газонов, управляемые рядом идущим оператором. Безопасность" ("Garden equipment - Pedestrian controlled lawn aerators and scarifiers - Safety", IDT).
Наименование настоящего стандарта изменено относительно наименования указанного европейского стандарта для приведения в соответствие с ГОСТ 1.5-2001
(подраздел 3.6).
Европейский стандарт разработан Техническим комитетом по стандартизации CEN/TC 144 "Тракторы и машины для сельскохозяйственных работ и лесоводства" Европейского комитета по стандартизации (CEN).
При применении настоящего стандарта рекомендуется использовать вместо ссылочных международных стандартов соответствующие им межгосударственные стандарты, сведения о которых приведены в дополнительном
приложении ДА
6 ВВЕДЕН ВПЕРВЫЕ
Информация о введении в действие (прекращении действия) настоящего стандарта и изменений к нему на территории указанных выше государств публикуется в указателях национальных стандартов, издаваемых в этих государствах, а также в сети Интернет на сайтах соответствующих национальных органов по стандартизации.
В случае пересмотра, изменения или отмены настоящего стандарта соответствующая информация будет опубликована на официальном интернет-сайте Межгосударственного совета по стандартизации, метрологии и сертификации в каталоге "Межгосударственные стандарты"
Европейский стандарт реализует существенные требования безопасности
Директивы 2006/42/ЕС, приведенные в
приложении ZA.
Существует следующая иерархическая структура стандартов, устанавливающих требования безопасности в области машиностроения:
a) стандарты типа A (основополагающие стандарты безопасности), содержащие основные концепции, принципы конструирования и общие аспекты, которые могут быть применены к машинам;
b) стандарты типа B (общие стандарты безопасности), рассматривающие один (или более) аспект безопасности или один (или более) тип устройств безопасности, применяющихся для широкого диапазона машин:
- стандарты типа B1 распространяются на специальные аспекты безопасности (например, безопасное расстояние, температура поверхности, шум);
- стандарты типа B2 распространяются на устройства безопасности (например, двуручные устройства управления, блокирующие устройства, регуляторы давления);
c) стандарты типа C (стандарты безопасности на машины), устанавливающие детальные требования безопасности для конкретных машин или групп машин в соответствии с областью применения стандарта.
Настоящий стандарт представляет собой стандарт
типа C по EN ISO 12100:2010.
Соответствующие машины и связанные с ними опасности, опасные ситуации и события, рассматриваемые в настоящем стандарте, приведены в области применения.
В случае если положения настоящего стандарта
типа C отличаются от положений стандартов
типа A или
B, то положения настоящего стандарта
типа C имеют преимущество над положениями других стандартов для машин, которые сконструированы и изготовлены в соответствии с требованиями настоящего стандарта
типа C.
Настоящий стандарт устанавливает требования безопасности и методы их контроля при конструировании и изготовлении аппаратов для аэрации газонов и культиваторов-рыхлителей, управляемых рядом идущим оператором, с двигателями внутреннего сгорания, которые предназначены для регенерации газонов, например путем вычесывания срезанной травы, соломы и мха или щелевания поверхности газона в вертикальном направлении с помощью зубьев, вращающихся вокруг горизонтальной оси.
Настоящий стандарт рассматривает все существенные опасности, опасные ситуации или события, которые могут возникнуть при использовании по назначению аппаратов для аэрации газонов и культиваторов-рыхлителей, управляемых рядом идущим оператором, с двигателями внутреннего сгорания в условиях, предусмотренных изготовителем, включая прогнозируемое неправильное применение. В настоящем стандарте установлены методы снижения или исключения опасностей, возникающих при нормальной эксплуатации. Также в настоящем стандарте установлены требования к информации по безопасной эксплуатации, предоставляемой изготовителем.
В настоящем стандарте термин "машина" применяется для обозначения таких машин, как аппараты для аэрации, культиваторы-рыхлители, кернорватели, грабли газонные или грабли для травы.
Настоящий стандарт не распространяется на:
- аппараты для аэрации/культиваторы-рыхлители, изготовленные на базе машин, на которые распространяются требования EN 709:1997+A4:2009, путем оснащения их орудиями для аэрации и рыхления;
- аппараты для аэрации, не оборудованные двигателем;
- аппараты для аэрации с вертикальной осью;
- аппараты для аэрации, которые врезаются в почву возвратно-поступательным движением или под давлением воды.
В настоящем стандарте не рассматриваются опасности воздействия на окружающую среду.
Требования настоящего стандарта распространяются на аппараты для аэрации/культиваторы-рыхлители, техническое задание на разработку которых утверждено после введения в действие настоящего стандарта.
В настоящем стандарте использованы нормативные ссылки на следующие стандарты [для датированных ссылок применяют только указанное издание ссылочного стандарта, для недатированных - последнее издание (включая все его изменения)]:
EN ISO 354:2003, Acoustics - Measurement of sound absorption in a reverberation room (ISO 354:2003) (Акустика. Измерение звукопоглощения в реверберационной камере)
EN ISO 3744:2010, Acoustics - Determination of sound power levels and sound energy levels of noise sources using sound pressure - Engineering methods for an essentially free field over a reflecting plane (ISO 3744:2010) (Акустика. Определение уровней звуковой мощности и уровней звуковой энергии источников шума по звуковому давлению. Технические методы в условиях свободного звукового поля над отражающей поверхностью)
EN ISO 4413, Hydraulic fluid power - General rules and safety requirements for systems and their components (ISO 4413) (Приводы гидравлические. Общие правила и требования безопасности для систем и их компонентов)
EN ISO 4871:2009, Acoustics - Declaration and verification of noise emission values of machinery and equipment (ISO 4871:1996) (Акустика. Декларация и верификация значений шумовых характеристик машин и оборудования)
EN ISO 7010, Graphical symbols - Safety colours and safety signs - Registered safety signs (ISO 7010) (Символы графические. Цвета и знаки безопасности. Зарегистрированные знаки безопасности)
EN ISO 11201:2010, Acoustics - Noise emitted by machinery and equipment - Determination of emission sound pressure levels at a work station and at other specified positions in an essentially free field over a reflecting plane with negligible environmental corrections (ISO 11201:2010) (Акустика. Шум от машин и оборудования. Определение уровней звукового давления излучения на рабочем месте и в других установленных положениях в условиях свободного звукового поля над отражающей поверхностью с незначительными поправками на внешние воздействующие факторы)
EN ISO 11688-1:2009, Acoustics - Recommended practice for the design of low-noise machinery and equipment - Part 1: Planning (ISO/TR 11688-1:1995) (Акустика. Практические рекомендации для проектирования машин и оборудования с низким уровнем шума. Часть 1. Планирование)
EN ISO 12100:2010, Safety of machinery - General principles for design - Risk assessment and risk reduction (ISO 12100:2010) (Безопасность машин. Общие принципы конструирования. Оценка рисков и снижение рисков)
EN ISO 13849-1:2015, Safety of machinery - Safety-related parts of control systems - Part 1: General principles for design (ISO 13849-1:2015) (Безопасность машин. Элементы систем управления, связанные с обеспечением безопасности. Часть 1. Общие принципы конструирования)
EN ISO 13857:2008 <1>, Safety of machinery - Safety distances to prevent hazard zones being reached by upper and lower limbs (ISO 13857:2008) (Безопасность машин. Безопасные расстояния, предохраняющие верхние и нижние конечности от попадания в опасные зоны)
--------------------------------
<1> Действует EN ISO 13857:2019. Однако для однозначного соблюдения требований настоящего стандарта, выраженного в датированной ссылке, рекомендуется использовать только указанное в этой ссылке издание.
EN ISO 14982:2009, Agricultural and forestry machinery - Electromagnetic compatibility - Test methods and acceptance criteria (ISO 14982:1998) (Машины для сельскохозяйственных работ и лесоводства. Электромагнитная совместимость. Методы испытаний и критерии приемки)
EN ISO 20643:2008, Mechanical vibration - Hand-held and hand-guided machinery - Principles for evaluation of vibration emission (ISO 20643:2005) (Вибрация механическая. Ручные инструменты и машины с ручным управлением. Принципы оценки вибрации)
ISO 3767-1, Tractors, machinery for agriculture and forestry, powered lawn and garden equipment - Symbols for operator controls and other displays - Part 1: Common symbols (Тракторы, машины для сельскохозяйственных работ и лесоводства, механизированное оборудование для работы в садах и на газонах. Условные обозначения органов управления и средств отображения информации. Часть 1. Общие символы)
ISO 3767-3, Tractors, machinery for agriculture and forestry, powered lawn and garden equipment - Symbols for operator controls and other displays - Part 3: Symbols for powered lawn and garden equipment (Тракторы, машины для сельскохозяйственных работ и лесоводства, механизированное оборудование для работы в садах и на газонах. Условные обозначения органов управления и средств отображения информации. Часть 3. Символы для механизированного газонного оборудования)
ISO 3767-4, Tractors, machinery for agriculture and forestry, powered lawn and garden equipment - Symbols for operator controls and other displays - Part 4: Symbols for forestry machinery (Тракторы, машины для сельскохозяйственных работ и лесоводства, механизированное оборудование для работы в садах и на газонах. Условные обозначения органов управления и средств отображения информации. Часть 4. Символы для машин для лесоводства)
ISO 3864-1, Graphical symbols - Safety colours and safety signs - Part 1: Design principles for safety signs and safety markings (Символы графические. Цвета и знаки безопасности. Часть 1. Принципы проектирования знаков безопасности и предупредительной разметки)
ISO 7000, Graphical symbols for use on equipment - Registered symbols (Символы графические для использования на оборудовании. Зарегистрированные символы)
ISO 11684:1995, Tractors, machinery for agriculture and forestry, powered lawn and garden equipment - Safety signs and hazard pictorials - General principles (Тракторы и машины для сельскохозяйственных работ и лесоводства, механизированное газонное и садовое оборудование. Знаки безопасности и условные изображения опасности. Общие принципы)
В настоящем стандарте применены термины по EN ISO 12100:2010, а также следующие термины с соответствующими определениями:
3.1 тормозная система (braking system): Комбинация одного (или более) тормоза, средства приведения его в действие и средства управления.
3.2 подборщик травы (catcher): Часть или комбинация частей машины, сконструированная для сбора травы, соломы, мха или другого мусора.
3.3 орган управления (control): Средство или устройство, которое управляет работой всей машины или любой определенной рабочей функцией.
3.4 рабочее положение (working position): Установка глубины резания зубьев, указанной изготовителем.
3.5 разгрузочный желоб (discharge chute): Расширение ограждения зуба до разгрузочного проема, обычно используемого для управления удалением собранного материала от зубьев.
3.6 разгрузочный проем (discharge opening): Щель или отверстие в ограждении зуба, через которые трава, солома, мох и другой мусор могут быть удалены.
3.7 передняя разгрузка (front discharge): Выброс травы, соломы, мха и другого мусора так, что они собираются подборщиком травы, который расположен перед зубьями.
3.8 рукоятка (handle): Любая деталь, предназначенная для ручного управления машиной при нормальной эксплуатации.
3.9 аппарат для аэрации (щелеватель), кернорватель (lawn aerator, corer): Машина, сконструированная для прокалывания (прорезания) поверхности газона, использующая поверхность земли для определения глубины резания.
3.10 культиватор-рыхлитель, газонные грабли (гребенка) (scarifier, lawn rake): Машина, сконструированная для прореживания и рыхления поверхности газона, выполняющая при этом его прочесывание.
3.11
максимальная рабочая частота вращения двигателя (maximum operating engine speed): Максимально достижимая частота вращения двигателя с работающими зубьями, когда двигатель отрегулирован в соответствии с техническими требованиями изготовителя и/или руководством по эксплуатации.
3.12 нормальная работа (normal operation): Использование машины в соответствии с указаниями изготовителя, которое включает такие операции, как вычесывание соломы, пуск, останов, заправка, подсоединение к (отсоединение от) источнику(а) питания.
3.13 нормальная эксплуатация (normal use): Нормальная работа машины, включающая плановое техническое обслуживание, сервисное обслуживание, очистку, перемещение, присоединение или отсоединение вспомогательных приспособлений и регулировку согласно указаниям изготовителя.
3.14 орган управления оператора (operator control): Любой орган управления, требующий от оператора действий для выполнения определенных функций.
3.15 устройство контроля присутствия оператора (operator presence control): Устройство управления, автоматически прерывающее подачу питания к двигателю после прекращения воздействия оператора на органы управления.
3.16
рабочая зона оператора (operator zone): Зона вокруг оператора, работающего на машине, показанная на
рисунке 1.
1 - рабочая зона оператора; 2 - нижняя передняя зона;
3 - рукоятка
Примечание 1 - Рабочая зона оператора - область, до границы которой могут дотянуться 95% мужчин из нормального рабочего положения.
Примечание 2 - Нижняя передняя зона - область, до границ которой могут дотянуться 5% мужчин или 50% женщин, когда рукоятка является барьером. Кроме того, 95% мужчин могут дотянуться до этой зоны, наклонившись вперед, когда рукоятка является поперечным барьером.
Примечание 3 - Все поперечные барьеры (рукоятки) внутри рабочей зоны оператора будут уменьшать зону на объем, ограничиваемый поперечным барьером.
Примечание 4 - Рабочая зона оператора включает максимальный диапазон движения всех часто используемых органов управления, но не устанавливает предпочтительные положения органов управления оператора.
Рисунок 1 - Рабочая зона оператора (см. 3.16 и
5.8.1)
3.17 стояночный тормоз (parking brake): Устройство, встроенное в машину, которое при включении препятствует движению машины из стационарного положения и выполняет свои функции без присутствия оператора.
3.18 источник питания (power source): Двигатель, который обеспечивает механическую энергию для движения зубьев или тягового привода машины.
3.19 задняя разгрузка (rear discharge): Выброс травы, соломы, мха и другого мусора так, что они собираются подборщиком травы, который расположен позади зубьев.
3.20 рабочий тормоз (service brake): Устройство, предназначенное главным образом для снижения скорости движения машины по земле и для ее остановки.
3.21 зуб (tine): Механизм, обеспечивающий осуществляемый машиной процесс прокалывания (прорезания) или прочесывания газона.
3.22 ограждение зуба (кожух) (tine enclosure): Часть конструкции, которая обеспечивает выполнение защитных функции вокруг зубьев.
3.23 траектория движения зуба (tine tip circle): Траектория, описанная наиболее удаленной точкой зуба при вращении его вокруг оси вала.
3.24 тяговый привод (traction drive): Устройство (система), предназначенное(ая) для передачи мощности от источника питания к движителю.
3.25 ширина захвата (width of cut): Общая ширина обработки (рыхления/аэрации), измеренная поперек зубьев под прямым углом к направлению перемещения.
3.26 зубья в сборе (tine assembly): Зубья вместе с любым(ыми) опорным(ыми) элементом(ами), которые совместно выполняют обработку (рыхление/аэрацию) газона.
4 Перечень существенных опасностей
В настоящем разделе для определенных опасных зон рассматриваются все существенные опасности, опасные ситуации и события, которые были определены на основании оценки рисков как значимые для этих типов машин и которые требуют определенных действий от конструктора или изготовителя для их устранения или уменьшения (см.
таблицу 1).
Таблица 1
Перечень существенных опасностей, связанных с машинами
N | Опасности | Место возникновения опасности или опасной ситуации | Соответствующие подразделы, пункты, подпункты настоящего стандарта |
Опасности, опасные ситуации и опасные события |
1 | Механические опасности, связанные с: |
| - частями машины или рабочими органами, например: | | |
| e) недостаточной механической прочностью; | Повреждение зуба/прочность | |
| - накоплением потенциальной энергии, например: | | |
| g) жидкостями или газами, находящимися под давлением | Утечка гидравлической жидкости/взрыв | |
1.1 | Опасность пореза | Контакт с движущимися частями | |
1.2 | Опасность разрезания или дробления | Контакт с движущимися частями | |
1.3 | Опасность запутывания | Контакт с движущимися частями | |
1.4 | Опасность затягивания или захвата | Контакт с движущимися частями | |
1.5 | Опасность удара | Удар выброшенными предметами | |
1.6 | Опасность выброса жидкости под большим давлением | Выброс жидкости под большим давлением | |
Опасности, опасные ситуации и опасные события |
2 | Электрические опасности, обусловленные: |
2.1 | контактом персонала с токоведущими частями (прямой контакт) | Контакт персонала с токоведущими частями | |
2.2 | прикосновением к токоведущим частям под высоким напряжением | Контакт с элементами системы зажигания | |
2.3 | термическим излучением или такими процессами как разбрызгивание и выброс расплавленных частиц, химическими воздействиями при коротких замыканиях, перегрузках и т.д. | Защита от перегрузок в сети | |
3 | Термические опасности, приводящие к: |
3.1 | ожогам, ошпариванию и другим травмам, возможным из-за соприкосновения с предметами или материалами, имеющими экстремально высокую или низкую температуру, при воздействии, например, пламени или взрыва, а также излучением источников тепла | Контакт с горячими частями | |
4 | Опасности, создаваемые шумом, приводящие к: |
4.1 | потере слуха (глухоте), другим физиологическим расстройствам (например, потере равновесия, уменьшению внимания) | Повреждение слуха | |
5 | Опасности, создаваемые вибрацией: |
5.1 | Использование машин с ручным управлением приводит к различным невралгическим и сосудистым нарушениям | Сосудистые расстройства от вибрации (белые пальцы) | |
6 | Опасности, создаваемые материалами и веществами (и входящими в их состав элементами), обрабатываемыми или используемыми машиной: |
6.1 | Опасности контакта с вредными жидкостями, газами, аэрозолями, парами и пылью при их вдыхании | Вдыхание отработавших газов двигателя | |
Контакт с опасными жидкостями | |
| | ИС МЕГАНОРМ: примечание. В официальном тексте документа, видимо, допущена опечатка: п. 2.1 отсутствует. | |
|
6.2 | Опасность пожара или взрыва | Повреждение (истирание) изоляции проводов и т.д. | |
7 | Опасности вследствие несоблюдения эргономических принципов при конструировании машины, которые приводят, например, к: |
7.1 | нарушению осанки или излишним усилиям оператора | Расположение органов управления | |
7.2 | отсутствию учета анатомических особенностей рук и ног человека | Расположение органов управления | |
Расположение рукоятки | |
7.3 | неиспользованию персоналом средств индивидуальной защиты | Защита органов слуха и зрения | |
7.4 | несоответствующей конструкции, расположению или идентификации органов ручного управления | Расположение органов управления | |
8 | Комбинации опасностей |
Опасности, опасные ситуации и опасные события |
9 | Неожиданный пуск, неожиданная работа двигателя "вразнос"/превышение допустимой частоты вращения (или любая аналогичная неисправность) из-за: |
| | ИС МЕГАНОРМ: примечание. В официальном тексте документа, видимо, допущена опечатка: п. 8.6 отсутствует. | |
|
9.1 | ошибок, совершенных оператором (вследствие несоответствия машины характеристикам и возможностям оператора, см. 8.6) | Снятие защитных ограждений до остановки машины | |
Превышение допустимой частоты вращения двигателя | |
Оставление работающей машины без контроля | |
9.2 | поломки во время работы | Поломка зубьев | |
9.3 | падения или выброса предметов или жидкостей | Выброшенные предметы | |
Дополнительные опасности, опасные ситуации и опасные события, создаваемые машиной в движении |
10 | Опасности, связанные с реализацией функции движения |
10.1 | Движение машины при пуске двигателя | Движение машины | |
10.2 | Движение машины, когда оператор находится в несоответствующем положении | Устройство контроля присутствия оператора - зубья | |
Устройство контроля присутствия оператора - тяговый привод | |
10.3 | Недостаточная способность машины замедляться, останавливаться и сохранять неподвижное положение | Остановка в процессе движения | |
Сохранение неподвижного положения | |
11 | Опасности, связанные с рабочим местом оператора на машине (включая положение, обеспечивающее управление движением) |
11.1 | Механические опасности на рабочем месте: | | |
c) падение предметов, проникновение предметов | Выброшенные предметы | |
e) контакт персонала с частями машины и орудиями (машины, управляемые рядом идущим оператором) | Контакт ног оператора с зубьями | |
11.2 | Шум на рабочем месте | Повреждение слуха | |
11.3 | Вибрация на рабочем месте | Сосудистые расстройства от вибрации (белые пальцы) | |
12 | Опасности, обусловленные системой управления |
12.1 | Несоответствующее расположение органов ручного управления | Расположение органов управления | |
12.2 | Несоответствующая конструкция органов ручного управления и режимов их работы | Реверс только при движении назад | |
Опасности, опасные ситуации и опасные события |
13 | Опасности, обусловленные источником питания и трансмиссией |
13.1 | Опасности, связанные с двигателем и аккумуляторными батареями | Вред от паров аккумуляторной батареи | |
14 | Опасности, связанные с третьими лицами |
14.1 | Несанкционированный пуск/применение | Съемный ключ | |
14.2 | Смещение части в положении остановки | Активированный стояночный тормоз | |
15 | Недостаточные инструкции для оператора | Полные инструкции | |
Изготовитель несет ответственность за проверку применения требований безопасности, изложенных в настоящем стандарте, к каждой существенной опасности в зависимости от особенностей машины, и подтверждения правильности проведения оценки риска в отношении:
- использования машины по назначению, включая техническое обслуживание, настройку (регулировку) и очистку, и прогнозируемого неправильного применения;
- выявления всех существенных опасностей, связанных с машиной.
5 Требования безопасности и/или меры защиты
5.1 Общие положения
Машина должна соответствовать требованиям безопасности и/или мерам защиты/снижения риска, приведенным в настоящем разделе. Кроме того, машина должна быть сконструирована в соответствии с принципами, приведенными в EN ISO 12100 в отношении опасностей, характерных для машин, но не являющихся существенными и не рассматриваемых в настоящем стандарте (например, острые кромки на внешней стороне машины).
5.2 Компоненты привода и зубья
Все компоненты механической трансмиссии, кроме частей машины, контактирующих с землей, должны быть закрыты защитными ограждениями, чтобы предотвратить контакт оператора с движущимися частями во время нормальной работы. Защита зубьев по
5.15.
Если в настоящем стандарте не установлено иное, то при необходимости все отверстия и безопасные расстояния должны соответствовать EN ISO 13857:2008 (пункт 4.2.4.1 или 4.2.4.3 вместе с таблицей 4).
Соответствие проверяют внешним осмотром и измерением.
Ограждения, предусматривающие доступ к компонентам привода, кроме ограждений зубьев, должны быть с блокировкой и обеспечивать эффективность защиты не ниже PL
r = b по EN ISO 13849-1:2015, чтобы гарантировать остановку движущихся частей до того, как доступ будет обеспечен. Пока компонент привода открыт, должна быть исключена возможность приведения его в движение. Другие защитные ограждения должны быть неподвижными и не должны сниматься без использования инструментов, или конструкция машины должна быть такой, чтобы ее нельзя было использовать без установленного в рабочее положение защитного ограждения. Конструкция защитного ограждения должна обеспечивать защиту от выброшенных предметов. Метод контроля - в соответствии с
5.13.
5.4 Горячие поверхности системы выпуска отработавших газов двигателя
Любые доступные во время нормальной работы машины компоненты системы выпуска отработавших газов двигателя и их защитные ограждения, которые имеют температуру поверхности выше 90 °C для неметаллических материалов и выше 80 °C для металлических материалов, должны быть ограждены для предотвращения непреднамеренного контакта так, чтобы при испытаниях вершина или коническая поверхность
конуса A или
B (см. рисунок 2) не касалась горячей поверхности системы выпуска отработавших газов двигателя, т.е. отсутствовал контакт с поверхностью площадью не менее 10 см
2, температура которой равна или превышает указанную выше.
Нет необходимости проверять доступность горячих поверхностей, пока они горячие. Перед использованием испытательного(ых) конуса(ов) горячим поверхностям следует дать возможность остыть.
5.4.2 Оборудование для испытаний и метод испытаний
5.4.2.1 Средства измерения температуры
Погрешность средств измерений, предназначенных для измерения температуры горячих поверхностей, должна быть не более +/- 2 °C.
5.4.2.2 Метод испытаний
Испытание проводят в тени. Двигатель должен работать на максимальной рабочей частоте вращения, пока температура поверхности не стабилизируется. Определяют и идентифицируют площадь(и) горячей поверхности системы выпуска отработавших газов двигателя, в том числе защитных ограждений, путем проведения измерений температуры.
Если испытание проводят при температуре окружающей среды, отличающейся от установленной (номинальной), регистрируемая в протоколе испытаний температура должна быть скорректирована с учетом разницы между 20 °C и фактической температурой окружающей среды при испытаниях.
Скорректированная температура (°C) = наблюдаемая температура (°C) - температура окружающей среды (°C) + 20 °C.
Если расстояние между идентифицированной горячей зоной и ближайшим органом управления превышает 100 мм, используют испытательный
конус A, как показано на рисунке 2. Если расстояние между идентифицированной горячей зоной и ближайшим органом управления составляет не более 100 мм, используют испытательный
конус B, как показано на рисунке 2.
1 - горизонтальная поверхность
Рисунок 2 - Испытательные конусы (см.
5.4.1 и 5.4.2.2)
Испытательный
конус A перемещают по направлению к горячей поверхности, при этом ось конуса перемещают на угол от 0° до 180° относительно горизонтали, а вершина конуса направлена вниз к горизонтальной поверхности. Перемещение испытательного конуса в направлении снизу вверх не допускается. Испытательный
конус B перемещают в любом направлении.
При перемещении испытательного(ых) конуса(ов) определяют, происходит ли контакт вершины испытательного конуса или его конической поверхности с горячей поверхностью.
5.4.3 Критерии приемки
Вершина испытательного конуса или коническая поверхность
конуса A или
B (см. рисунок 2) не должна касаться горячей поверхности системы выпуска отработавших газов двигателя, контакт с поверхностью площадью 10 см
2 и более не допускается.
5.5 Защита от отработавших газов
Система выпуска отработавших газов должна быть сконструирована таким образом, чтобы струя отработавших газов не была направлена на оператора.
Соответствие проверяют внешним осмотром.
5.6 Компоненты под давлением
Гидравлические системы и их компоненты должны соответствовать требованиям соответствующих разделов EN ISO 4413. Рукава высокого давления, трубопроводы и компоненты под давлением должны быть расположены или ограждены так, чтобы в случае разрыва струя жидкости не могла быть направлена непосредственно на оператора, когда он находится в рабочем положении.
Если в машине используются аккумуляторные энергетические устройства, должны быть предусмотрены безопасные средства отключения питания, а также инструкции по их правильному использованию. Для гидравлических устройств они должны соответствовать EN ISO 4413.
Соответствие проверяют внешним осмотром.
5.7 Разбрызгивание жидкости
Сосуды с жидкостью, аккумуляторные батареи, топливные системы, масляные баки и системы с охлаждающей жидкостью должны быть сконструированы так, чтобы при их максимальном заполнении в соответствии с указаниями изготовителя при наклоне машины на угол 20° в поперечном направлении и на угол 30° в продольном направлении в течение 1 мин разбрызгивание жидкости отсутствовало. Конденсат в вентиляционных системах не должен рассматриваться как разбрызгивание.
Соответствие проверяют внешним осмотром и проведением функциональных испытаний.
5.8 Органы управления
Расположение и диапазон перемещения органов управления должны быть удобны для оператора и должны оставаться в пределах антропометрических данных, указанных для зоны оператора на
рисунке 1. Это требование не применяется для органов управления, предназначенных для:
- установки глубины резания зубьев;
- наладки разгрузки подборщика травы;
- управления пуском двигателя.
Рабочий диапазон перемещения органов управления, которые для приведения их в действие не требуют постоянного воздействия руки оператора, может быть увеличен так, чтобы оператор мог дотянуться до них за счет изменения положения тела (например, наклона вперед до соприкосновения с рукояткой в любом рабочем положении) в пределах рабочей зоны, при этом обе ноги должны стоять на земле.
Примером таких органов управления могут считаться органы управления подъемом зубьев над землей при транспортировании.
Если для управления подъемом зубьев над землей при транспортировании используется ножной орган управления, он должен быть расположен перед рукояткой на расстоянии не более 450 мм, измеренном по горизонтали от самой задней точки рукоятки. Если рукоятка регулируется, расстояние не более 450 мм применяется для всех положений рукоятки.
Должна быть исключена возможность поддерживать частоту вращения двигателя, превышающую максимальную рабочую частоту вращения, с помощью какого-либо органа управления или простых настроек, выполняемых с использованием стандартных инструментов.
Соответствие проверяют внешним осмотром и проведением функциональных испытаний.
5.8.2 Идентификация органов управления
На органах управления, назначение которых не очевидно, способом, обеспечивающим долговечность, должна быть нанесена соответствующая маркировка или символ, четко указывающие на функцию, направление и/или способ приведения в действие.
При использовании символов они должны соответствовать требованиям ISO 3767-1, ISO 3767-3, сигнальные цвета и знаки безопасности - ISO 3864-1.
В руководстве по эксплуатации должны быть приведены подробные инструкции по обращению со всеми органами управления.
Соответствие проверяют внешним осмотром.
5.8.3 Устройство контроля присутствия оператора
Машины должны быть оснащены устройством(ами) контроля присутствия оператора на рукоятке управления, которое:
- требует активации оператором перед началом вращения зубьев и пуском тягового привода (если он установлен); эти функции должны быть отдельными; а также
- требует от оператора постоянной активации, чтобы обеспечить непрерывную работу; а также
- автоматически активирует остановку вращения зубьев и/или тягового привода (если он установлен), когда оператор отпускает устройство управления.
Функции постоянной активации и блокировки тягового привода в устройстве контроля присутствия оператора можно комбинировать с функцией вращения зубьев.
Для повторного пуска вращения зубьев из положения полной остановки должно предусматриваться выполнение двух отдельных и разнородных действий.
Активация устройства контроля присутствия оператора должна быть одним из действий. Если эти действия должны выполняться с использованием одной и той же руки, то они должны полностью отличаться для предотвращения случайного возобновления вращения зубьев.
Если устройство контроля присутствия оператора активируется до того, как зубья остановятся, они могут возобновить работу, если кинетическая энергия достаточна для пуска двигателя.
Соответствие проверяют внешним осмотром и проведением функциональных испытаний.
Орган управления тяговым приводом должен автоматически его останавливать или отключать, когда оператор снимает руки с рукоятки.
Функция обратного хода, обеспечивающая движение машины задним ходом, должна требовать непрерывной активации органа управления реверсивным движением. При движении машины задним ходом должна быть исключена возможность пуска привода зубьев.
Соответствие проверяют внешним осмотром и проведением функциональных испытаний.
5.9 Электрические требования
5.9.1 Общие положения
Приведенные ниже электрические требования применяются только к пусковым цепям двигателя, включая аккумуляторные цепи и цепи зажигания.
5.9.2 Низковольтные аккумуляторные цепи (за исключением цепей заземления)
5.9.2.1 Электрические кабели
Электрические кабели должны иметь защиту, если они проложены таким образом, что подвергаются возможному истиранию при контакте с металлическими поверхностями, а также они должны быть устойчивы к воздействию смазочных материалов и топлива или защищены от них.
Электрические кабели по возможности должны быть сгруппированы и расположены так, чтобы ни одна их часть не находилась в контакте с карбюратором, металлическими топливными магистралями, системой выпуска отработавших газов, движущимися частями машины или острыми кромками деталей. Любые края металлических элементов, которые могут касаться электрических кабелей, должны быть скруглены или защищены для предотвращения разрезания или истирания кабелей.
Соответствие проверяют внешним осмотром.
5.9.2.2 Установка батареи
Отсек для аккумуляторной батареи должен иметь отверстия для вентиляции и дренажа. Если предусмотрен дренаж, то выделяемая из установленной батареи кислота в любом из рабочих положений не должна попадать на компоненты, которые в случае коррозии могут приводить к возникновению опасности для оператора.
Соответствие проверяют внешним осмотром.
5.9.2.3 Защита от перегрузки
Все электрические цепи, кроме стартера и цепей зажигания высокого напряжения, должны быть оборудованы устройствами защиты от перегрузки в незаземленной линии рядом с клеммой аккумуляторной батареи. Защита от перегрузки может быть расположена в любом месте цепи двухпроводной системы.
Соответствие проверяют внешним осмотром.
5.9.3 Клеммы и неизолированные электрические части
Клеммы и неизолированные электрические части, а также двухпроводные незаземленные системы должны быть защищены от короткого замыкания, например при заправке топливом из канистры или использовании инструментов во время обычной дозаправки или обслуживания.
Все высоковольтные части электрической цепи, включая соединительные клеммы свечей зажигания, должны иметь электрическую защиту на случай, если оператор случайно прикоснется к ним.
Должно быть предусмотрено устройство прерывания зажигания или короткого замыкания, которое устанавливается в цепи низкого напряжения.
Соответствие проверяют внешним осмотром.
5.9.4 Устойчивость к электромагнитным помехам (помехоустойчивость)
Все электронные компоненты, используемые в системах управления машиной, должны соответствовать критериям приемки, установленным в EN ISO 14982:2009 (пункты 6.3 и 6.6 в части помехоустойчивости).
Соответствие проверяют проведением испытаний по EN ISO 14982:2009 (пункты 6.3 и 6.6).
5.10 Пуск и останов
5.10.1.1 Пуск двигателя
Любое устройство пуска двигателя (например, пусковой выключатель, возвратный тросовый стартер) должно требовать преднамеренного приведения в действие для пуска двигателя.
Не допускается оснащать машины устройством пуска двигателя, приводимым в действие свободным тросом.
Для машин с питанием от аккумуляторной батареи должен быть предусмотрен стартерный выключатель со съемным ключом или аналогичным устройством, чтобы предотвратить несанкционированный пуск двигателя.
Устройство пуска двигателя, расположенное за пределами рабочей зоны оператора (см.
рисунок 1), должно позволять пуск только с отключенным приводом зубьев или если машина удовлетворяет требованиям по защите ног, установленным в
5.10.2.
Соответствие проверяют внешним осмотром и проведением функциональных испытаний.
5.10.1.2 Останов двигателя
Должно быть предусмотрено устройство останова двигателя. Продолжение функционирования такого устройства после его приведения в действие (активации) не должно зависеть от непрерывного воздействия на него. Устройство останова может быть встроено в устройство контроля присутствия оператора.
Примечание - Устройство аварийного останова не требуется.
Соответствие проверяют внешним осмотром и проведением функциональных испытаний.
5.10.2 Зубья в транспортном положении
Машины, которые имеют установленное положение, в котором зубья подняты таким образом, что они не соприкасаются с землей, должны быть оснащены средствами, предотвращающими непреднамеренный контакт с вращающимися зубьями. Это достигается одним из трех способов:
a) когда зубья подняты, они могут продолжать вращаться, но должны остановиться в течение 3 с после достижения установленного верхнего положения, и в таком положении зубьев возможность включения привода зубьев должна быть исключена (т.е. зубья не соприкасаются с землей); или
b) зубья должны остановиться в течение 3 с при отсутствии воздействия на устройство контроля присутствия оператора; или
c) кожух зубьев должен предотвращать случайный контакт зубьев с ногой оператора.
Для предотвращения случайного контакта с ногой оператора следует проверить соответствие требованиям испытаниями с использованием модели ноги по
5.12.2 при следующих дополнительных условиях:
- модель ноги должна быть использована на машине под углом 60° с каждой стороны от любого начального положения, описанного изготовителем в руководстве по эксплуатации;
- вершины этих углов в 60° должны быть расположены в центре вращения шкива двигателя.
5.11 Требования к тормозной системе
Машины должны быть оснащены тормозными системами, обеспечивающими останов машины при движении передним и задним ходом, если масса машины в ее наиболее тяжелой комплектации с полностью заполненными топливными баками и пустым подборщиком травы (если он установлен) превышает 78 кг. Зубья должны быть подняты в верхнее положение.
Если в качестве рабочих тормозов используются вспомогательные тормоза рулевого управления, должна быть обеспечена возможность их использования таким образом, чтобы они создавали равную тормозную силу.
Машины, для которых требуется оснащение рабочими тормозами, должны быть также оборудованы и стояночным тормозом. Стояночный тормоз может применяться в сочетании с рабочим тормозом и/или использовать зубья, контактирующие с землей. Стояночный тормоз должен оставаться включенным, когда оператор не присутствует рядом с машиной.
Автоматический стояночный тормоз, если он предусмотрен, должен активироваться при отсутствии воздействия на устройство контроля присутствия оператора.
Соответствие требованиям машин, для которых требуется оснащение их дополнительными средствами останова (например, рабочими или стояночными тормозами), проверяют в соответствии с
5.11.2 и
5.11.3.
На машины должны быть установлены шины, рекомендованные изготовителем, имеющие наименьшую площадь контакта с испытательной поверхностью.
Испытания машины проводят на ровной (уклон не более 1%), сухой, гладкой, твердой асфальтированной или бетонной поверхности дороги (или эквивалентной испытательной поверхности). При испытании машины с раздельными средствами управления - сцеплением и тормозом - сцепление должно одновременно отключаться при включении тормоза. Испытания проводят при движении машины как передним, так и задним ходом на максимально достижимой скорости.
При испытании рабочих тормозов должен обеспечиваться останов машины, при этом тормозной путь не должен превышать 0,19 м для каждой скорости, изменяемой с дискретностью 1 км/ч.
Испытания машины проводят на поверхности с уклоном 16,7° (30%) и таким коэффициентом трения, чтобы машина не скользила вниз по склону. Машину располагают на испытательном уклоне с активированным и заблокированным стояночным тормозом, трансмиссией в нейтральном положении и выключенным двигателем. Машину устанавливают на уклоне как в положение для движения вверх, так и в положение для движения вниз.
Машина, рядом с которой не присутствует оператор, не должна двигаться вниз по склону.
Усилие, необходимое для включения и выключения стояночного тормоза, не должно превышать 220 Н.
5.12.1 Конструкция
Рукоятки должны быть закреплены на машине таким образом, чтобы предотвратить потерю контроля во время работы из-за их случайного отсоединения от машины.
Должны быть предусмотрены специальные устройства (фиксатор или верхний стопор), которые во время нормального использования машины, за исключением фиксированного положения рукоятки (временное нерабочее положение свободно поворачивающейся рукоятки, которая обычно расположена вертикально), обеспечивают безопасное расстояние между рукояткой и зубьями и не могут быть случайно отключены.
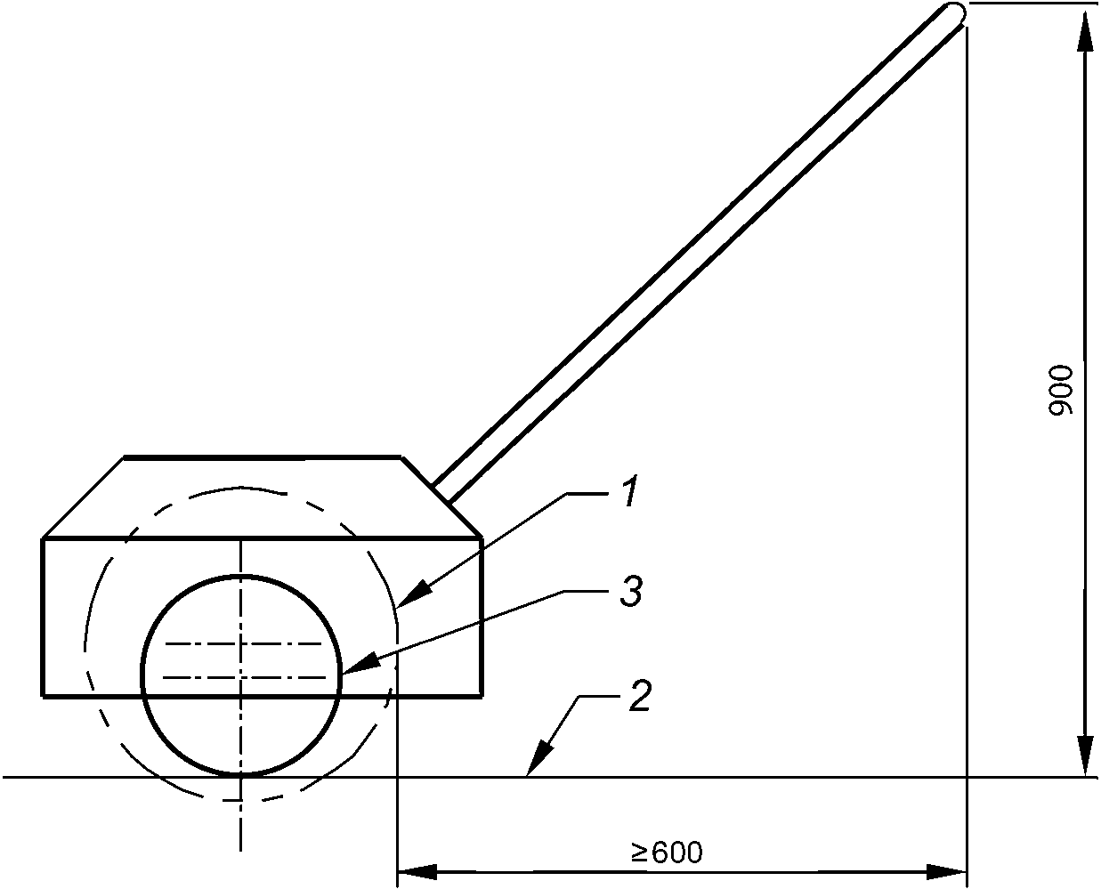
В одноосных машинах конец рукоятки, ближайший к оператору, должен находиться на расстоянии не менее 600 мм по горизонтали от вертикальной плоскости, проходящей через ближайшую к оператору точку траектории движения узла зуба в сборе, когда захват рукоятки находится на высоте 900 мм от уровня опорной поверхности (см.
рисунок 4), или должно быть подтверждено выполнение требований при испытании с использованием модели ноги по
5.12.2.
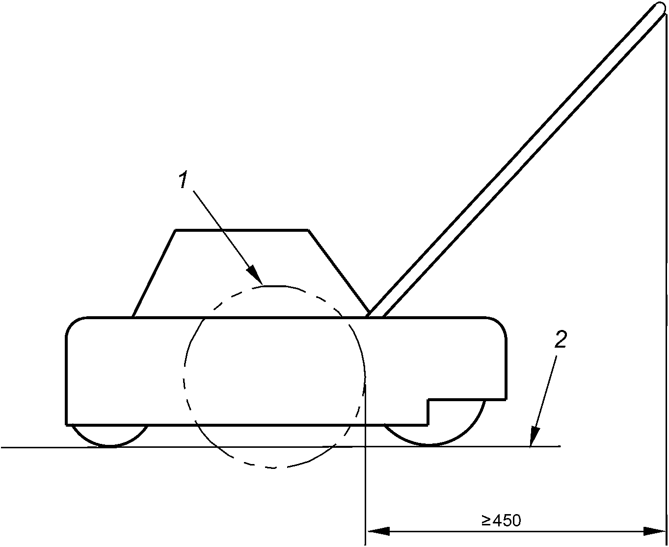
На машинах с несколькими осями конец рукоятки, ближайший к оператору, должен находиться на расстоянии не менее 450 мм по горизонтали от вертикальной плоскости, проходящей через ближайшую к оператору точку траектории движения узла зуба в сборе (см.
рисунок 3), или должно быть подтверждено выполнение требований при испытании с использованием модели ноги, приведенном ниже.
1 - траектория движения зубьев; 2 - уровень
опорной поверхности
Рисунок 3 - Машины с несколькими осями. Безопасные
расстояния
Для свободно поворачивающейся рукоятки, если предусмотрено ее фиксированное положение (временное нерабочее положение), рукоятка при перемещении в установленное рабочее положение должна автоматически блокироваться в нем.
Для более удобного хранения рукоятки могут быть разблокированы или сложены.
Соответствие проверяют внешним осмотром и измерением, а также проведением испытаний с использованием модели ноги.
5.12.2 Испытание с использованием модели ноги
Машина должна быть размещена на твердой и ровной поверхности. Защитные ограждения, или дефлекторы, или оба этих устройства должны находиться в нормальном рабочем положении по отношению к зубьям, и опорные элементы (колеса) машины должны соприкасаться с опорной поверхностью. Испытание проводят на неподвижной машине.
Для одноосных машин испытания проводят, когда захват(ы) рукоятки находится(ятся) на высоте 900 мм от уровня опорной поверхности, как показано на
рисунке 4, и если зубья могут быть отрегулированы, то они должны быть установлены в крайнее верхнее и нижнее рабочие положения. Для других машин испытания проводят с зубьями в верхнем и нижнем рабочих положениях.
1 - траектория движения зубьев; 2 - уровень опорной
поверхности; 3 - колесо
Рисунок 4 - Одноосные машины. Безопасные расстояния
Модель ноги, используемая при испытаниях, должна соответствовать приведенной на
рисунке 5. При испытаниях модель ноги устанавливают таким образом, чтобы ее основание могло быть установлено параллельно опорной поверхности на любой высоте и могло быть наклонено вперед или назад под углом до 15°. Модель ноги устанавливают с задней стороны машины в нескольких положениях, достаточных для определения наиболее неблагоприятного положения, и прикладывают к ней горизонтальное усилие, равное 20 Н, до тех пор, пока корпус или защитное ограждение не сместятся из своего исходного положения, в зависимости от того, что произойдет раньше.
При испытаниях модель ноги не должна пересекать траекторию движения зубьев.
5.13 Опасность выброса предмета
5.13.1 Общие положения
Культиваторы-рыхлители с вращающимися или неподвижными зубьями должны быть сконструированы таким образом, чтобы при использовании машины по назначению обеспечивалась адекватная защита от удара выбрасываемыми предметами.
5.13.2 Испытание на выбрасываемые предметы
5.13.2.1 Испытательный персонал
Во время проведения испытаний задействованный персонал должен находиться вне испытательной зоны, в противном случае должна быть предусмотрена соответствующая защита от опасностей, возникающих при проведении следующего испытания.
5.13.2.2 Испытательное оборудование
При испытаниях машина должна находиться на испытательной установке, как показано на
рисунке 6.
1 - панель-мишень, закрывающая рабочую зону оператора,
шириной 1000 мм и высотой 2000 мм. Материал: крафт-бумага
плотностью 225 г/м2; 2 - песчано-гравийная смесь (50:50);
3 - основание (опорная поверхность); 4 - направляющие;
5 - поддон; a - (18 +/- 1) мм; b - минимальное расстояние;
c - длина окружности траектории движения вершины
зуба + 10 мм; d - расстояние не менее ширины захвата машины
Рисунок 6 - Испытательная установка
Поддон (см. позицию 5 на
рисунке 6) должен быть изготовлен из жесткого водонепроницаемого материала (например, пластмассы), а внутренняя поверхность дна поддона не должна быть гладкой, чтобы избежать перемещения песчано-гравийной смеси при движении поддона к машине. Ширина поддона должна быть не менее ширины захвата машины.
Песчано-гравийная смесь для испытания должна быть однородной и состоять из следующих объемных долей: 1/2 строительного песка и 1/2 гладкого гравия (галька) с размером гранул от 8 до 16 мм. Песок должен быть увлажнен до степени насыщения и во время испытания оставаться влажным, чтобы при испытаниях смесь оставалась однородной.
Испытательная установка включает панель-мишень, которая представляет собой рамку шириной 1000 мм и высотой 2000 мм, обтянутую крафт-бумагой плотностью 225 г/м2 в один слой. Эта панель-мишень закрывает рабочую зону оператора и устанавливается сзади машины, соприкасаясь с рукояткой (торцами захватов рукоятки), перпендикулярно опорной поверхности. Нижний край панели-мишени должен быть установлен на высоте опорной поверхности колеса. Панель-мишень должна быть разделена горизонтальной оценочной линией на высоте 450 мм над опорной поверхностью, разграничивающей две зоны: нижнюю (от 0 до 450 мм) и верхнюю (от 450 до 2000 мм).
5.13.2.3 Методика испытания
Машина должна быть испытана во всех предусмотренных рабочих комплектациях (например, с установленным подборщиком травы и без него), зубья должны вращаться с максимальной установленной скоростью при максимальной рабочей частоте вращения двигателя.
Рукоятка(и) машины должна(ы) быть установлена(ы) таким образом, чтобы горизонтальное расстояние от задней части рукоятки до зубьев в сборе было минимальным. Для одноосных машин захват рукоятки должен быть зафиксирован на высоте 900 мм от уровня опорной поверхности.
Песчано-гравийная смесь должна быть помещена в поддон и слегка уплотнена и выровнена до высоты (18 +/- 1) мм.
Колеса машины должны быть закреплены в упорах. В этом положении зубья должны быть установлены так, чтобы они проникали в песчано-гравийную смесь на глубину 10 мм или на следующую максимальную устанавливаемую глубину резания. Для одноосных машин для достижения глубины резания (10 +/- 1) мм опорные устройства машины могут быть опущены.
Должен быть обеспечен однократный контакт песчано-гравийной смеси в поддоне и вращающихся зубьев на расстоянии, равном длине окружности траектории движения вершины зубьев. Скорость движения поддона должна составлять (1 +/- 0,5) м/с.
5.13.3 Результаты испытаний
Отверстия в панели-мишени считаются пробоинами и учитываются. К стальному шарику номинальным диаметром 10 мм (аналогичный используемым в шарикоподшипниках) прикладывают усилие, равное (3 +/- 0,3) Н, в направлении, перпендикулярном панели-мишени. Если он проходит через панель-мишень, то произошло попадание.
5.13.4 Критерии приемки (критерии соответствия/несоответствия)
Допускается не более пяти пробоин в панели-мишени между нижним краем панели-мишени и оценочной линией, расположенной на высоте 450 мм (нижняя зона). Над оценочной линией, расположенной на высоте 450 мм (верхняя зона), пробоины не допускаются.
5.13.5 Дополнительное испытание
При обнаружении несоответствия должны быть проведены два дополнительных испытания. Эти дополнительные испытания должны проводиться либо на ранее испытанной машине, либо, по выбору изготовителя, на новых идентичных машинах.
Для каждого испытания должна использоваться новая песчано-гравийная смесь.
Если несоответствие обнаружено в результате хотя бы одного из дополнительных испытаний, испытываемая модель машины считается не выдержавшей испытания.
5.14 Прочность зубьев и их креплений
5.14.1 Общие положения
Зубья и их крепления должны иметь достаточную прочность, чтобы выдерживать удары твердых предметов.
Соответствие этому требованию проверяют при проведении следующего испытания. Во время проведения испытаний задействованный персонал должен находиться вне испытательной зоны, в противном случае должна быть предусмотрена соответствующая защита от опасностей, возникающих при проведении следующего испытания.
Испытание должно проводиться при максимальной рабочей частоте вращения двигателя с включенным приводом зубьев и выполняться на всех компоновках зубьев.
Машина должна быть установлена на ровной горизонтальной поверхности. Рукоятка машины должна быть упруго зафиксирована. Для одноосных машин захват рукоятки должен быть зафиксирован на высоте 900 мм от уровня опорной поверхности.
Положение машины должно позволять движение машины вверх.
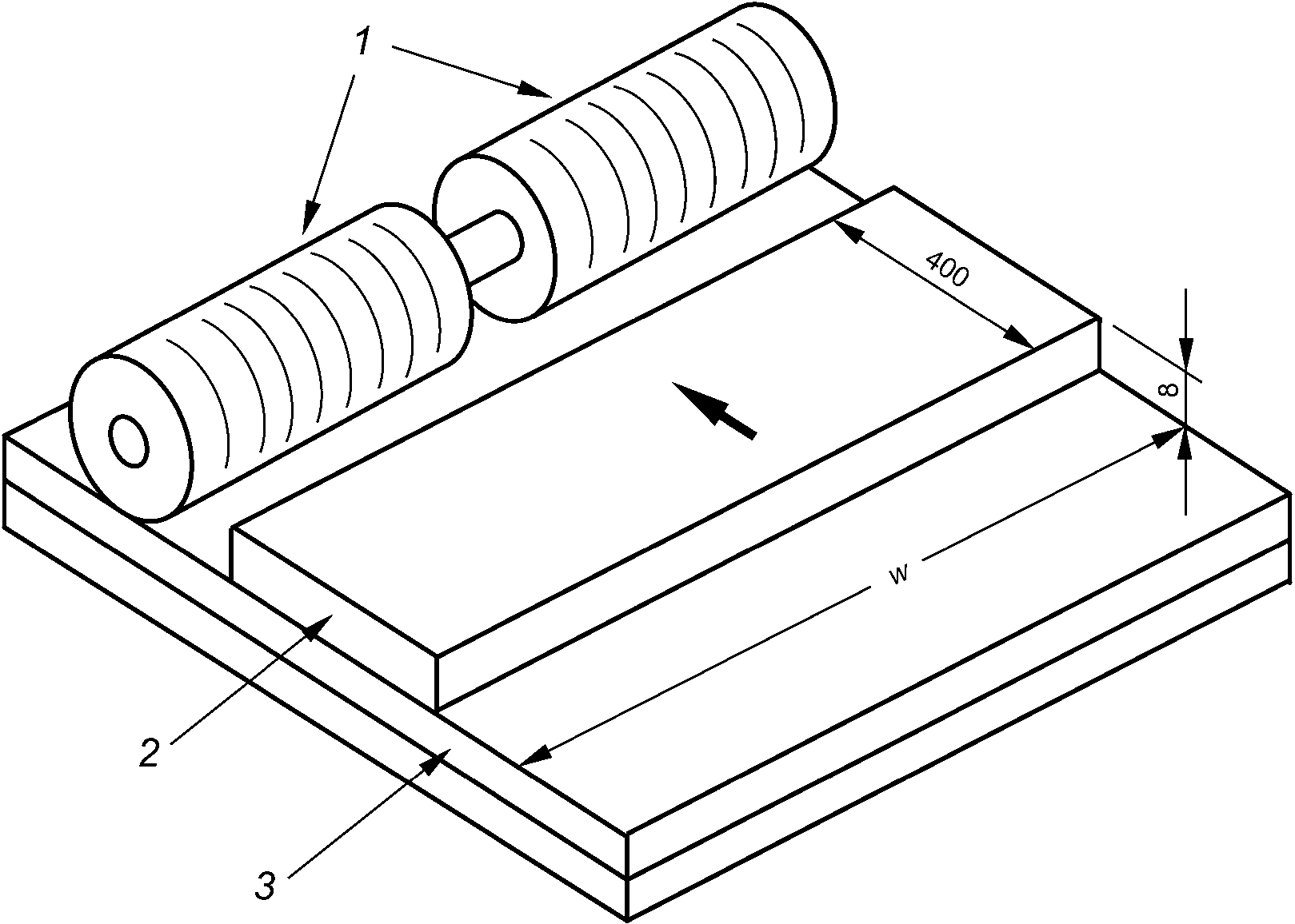
Стальная пластина толщиной 8 мм, длиной 400 мм и шириной, достаточной для того, чтобы обеспечить контакт со всеми зубьями во всех компоновках за один проход, должна быть установлена на верхней поверхности каретки, которая расположена так, чтобы пересекать траекторию движения зубьев машины (см.
рисунок 7). Каретка должна быть размещена под машиной таким образом, чтобы расстояние между кареткой и границей траектории движения зубьев было минимальным. Каретку равномерно протягивают под зубьями во всех компоновках в направлении от передней части машины к задней. Скорость движения каретки должна составлять 1 м/с +/- 5%.
Затем испытание повторяют, изменив направление движения каретки от задней части машины к передней.
a)
b)
1 - зубья в сборе; 2 - стальная пластина; 3 - каретка;
w - размер стальной пластины, обеспечивающий контакт
со всеми зубьями во всех компоновках по всей ширине захвата
Рисунок 7 - Зубья в сборе
5.14.2 Критерии приемки
Во время испытания ни один зуб, ни его части не должны сломаться, видимые повреждения (трещины) в зубьях должны отсутствовать. Сколы зубьев или поломка частей, предназначенных для разрушения, таких как срезные элементы, не должны рассматриваться как несоответствие. После испытания зубья не должны быть пригодны для дальнейшего использования. Выброс мелкой стружки деталей машины, не превышающей 2 г, не учитывают.
5.15 Общие требования к конструкции. Защитные ограждения и защита
5.15.1 Все компоненты механической трансмиссии, кроме зубьев и контактирующих с землей частей, должны быть закрыты защитными ограждениями, чтобы предотвратить контакт оператора с движущимися частями во время нормальной работы (см.
5.15.2 -
5.15.5 в зависимости от требований к ограждению зубьев).
Отверстия в защитных ограждениях, закрывающих доступ к движущимся частям, должны соответствовать требованиям EN ISO 13857:2008 (пункты 4.2.4.1 и 4.2.4.3).
Устанавливаемые неподвижные защитные ограждения должны открываться или отсоединяться от машины только с помощью инструментов. Неподвижное защитное ограждение, которое при техническом обслуживании должно быть снято в соответствии с руководством по эксплуатации, должно в открытом положении оставаться присоединенным к машине (например, посредством шарниров) или другим ограждениям. По возможности для неподвижных защитных ограждений должна применяться такая система крепления, при которой незакрепленное защитное ограждение не может оставаться в своем рабочем положении.
Примечание - Это требование не обязательно распространяется на неподвижные защитные ограждения, которые подлежат снятию только, например, когда машина поступила после капитального ремонта, в процессе такого ремонта, подлежит капитальному ремонту или демонтирована для передачи в другое место. По той же причине нет необходимости применять это требование к защитным оболочкам, поскольку их удаление может быть выполнено только в специализированной мастерской.
Соответствие проверяют внешним осмотром и измерением.
5.15.2 Зубья должны быть ограждены с обеих сторон, а также спереди и сзади.
Соответствие этому требованию проверяют при проведении следующего испытания. Подборщики травы должны быть сняты. Вертикальный стержень диаметром 50 мм и длиной 500 мм, нижний конец которого соприкасается с землей, не должен находиться в пределах 10 мм от любой части зубьев (см. также
рисунок 8).
1 - испытательный стержень (диаметр 50 мм, длина 500 мм)
Рисунок 8 - Передние и задние защитные ограждения зубьев
5.15.3 По бокам зубья должны быть ограждены с помощью защитных ограждений, выступающих, как показано на
рисунке 9.
1 - минимальный контур ограждения; a - максимальная
глубина резания зубьев
Рисунок 9 - Боковое ограждение зубьев
При этом если край защитного ограждения от середины зубьев до их задней части расположен параллельно земле, то должны выполняться следующие требования:
- максимальный угол подъема защитного ограждения в передней части - 15°;
- радиус контура защитного ограждения на 10 мм больше радиуса траектории вращения зубьев;
- максимальное расстояние от нижнего края защитного ограждения до земли - это максимальная глубина резания плюс 25 мм.
Соответствие проверяют внешним осмотром и измерением.
5.15.4 Зубья машин с задней разгрузкой должны быть закрыты сверху защитным ограждением (кожухом), которое закрывает все выступающие части зубьев в той же горизонтальной плоскости, в которой находится снятый подборщик травы (см.
рисунок 10).
1 - защитное ограждение - минимальная ширина не менее
диаметра зубьев в сборе
Рисунок 10 - Защитное ограждение для машин
с задней разгрузкой
Если зубья могут быть приведены в действие, когда подборщик травы не установлен на машине, то должна быть обеспечена защита, эквивалентная той, которая требуется в соответствии с
5.15.5. Если выбрано защитное ограждение, обеспечивающее полную защиту, на высоте не более 25 мм, это требование должно быть выполнено с помощью автоматически закрывающегося защитного ограждения.
После того как температура испытываемых частей стабилизировалась до температуры окружающей среды (20 +/- 3) °C, защитные ограждения подвергают следующим испытаниям. После испытания защитное ограждение должно оставаться присоединенным к машине, видимые повреждения (трещины) на защитном ограждении должны отсутствовать. После испытаний винты и фиксирующие зажимы должны обеспечивать надежное крепление и обеспечивать выполнение требований
5.15.2,
5.15.3 и 5.15.4.
Методика испытания: каждый из трех образцов комплектной машины в сборе должен быть подвергнут испытанию на удар с энергией (6,5 +/- 0,2) Дж, удар направляют на предположительно наиболее слабые участки защитного ограждения; при этом косилка должна быть установлена на гладкой, твердой и ровной поверхности.
Испытания следует проводить таким образом, чтобы каждый из трех образцов машины подвергался удару в месте, отличном от места нанесения удара двух других образцов.
Удары выполняют гладким круглым стальным шариком (аналогичным используемым в шарикоподшипниках) диаметром 50 мм. Если подвергаемый испытанию участок расположен под углом не более 45° к горизонтальной плоскости, шар отпускают вертикально из точки покоя до соударения с этим участком. В иных случаях шар подвешивают на шнуре и отпускают из точки покоя как маятник до соударения с испытуемым участком. В обоих случаях путь вертикального перемещения шара должен составлять 1,3 м.
5.15.5 Во время работы машины с передней разгрузкой случайный контакт ног оператора с зубьями должен быть предотвращен применением одной из следующих защитных мер:
a) зубья сзади должны быть закрыты защитным ограждением (кожухом), нижний край которого расположен на высоте не более 25 мм от уровня земли (см.
рисунок 11); это требование должно соблюдаться и проверяться для всех рабочих положений (по высоте установки) машины или зубьев; или
b) конструкция машины не позволяет модели ноги пересекать траекторию движения зубьев, это требование должно соблюдаться и проверяться проведением испытаний по
5.12.2 для всех рабочих положений (по высоте установки) машины или зубьев.
1 - защитное ограждение; H - не более 25 мм или необходимы
испытания с использованием модели ноги (см.
5.12)
Рисунок 11 - Защитное ограждение для машин
с передней разгрузкой
Соответствие проверяют внешним осмотром и измерением, а также проведением испытаний с использованием модели ноги по
5.12.
5.16.1 Снижение шума как требование безопасности
5.16.1.1 Снижение шума источника на стадии конструирования и меры защиты
Машина должна быть сконструирована и изготовлена таким образом, чтобы создаваемый ею шум был минимальным. Основные источники шума:
- система забора воздуха;
- система охлаждения двигателя;
- система выпуска отработавших газов двигателя;
- режущее устройство;
- вибрирующие поверхности.
В EN ISO 11688-1 приведена общая информация об общепринятых технических правилах и средствах, которые необходимо соблюдать при конструировании машин с низким уровнем шума. Для машин с двигателями внутреннего сгорания особое внимание следует уделять конструкции системы выпуска отработавших газов двигателя и выбору глушителя.
Примечание - EN ISO 11691 и EN ISO 11820 можно использовать для испытания глушителей.
5.16.1.2 Рекомендации по снижению уровня шума
Если после принятия возможных мер по снижению уровня шума на стадии конструирования изготовитель считает, что необходимо обеспечить дополнительную защиту оператора, то в руководстве по эксплуатации должна быть приведена следующая информация:
- рекомендации по использованию режимов работы с низким уровнем шума и/или по ограничению времени работы;
- предупреждение об уровне шума и рекомендуемые к использованию средства защиты органов слуха.
5.16.2 Проверка уровня шума. Измерение уровня шума
Определение уровня звуковой мощности и уровня звукового давления излучения на рабочем месте оператора следует проводить с использованием методов измерений, приведенных в
приложении C.
Соответствие проверяют измерениями.
5.17.1 Снижение уровня вибрации на стадии конструирования и меры защиты
Машина должна быть сконструирована таким образом, чтобы создаваемый ею уровень вибрации был минимальным. Основные источники вибрации:
- вибрация двигателя;
- зубья в сборе;
- несбалансированные подвижные части;
- биение в коробке передач, подшипниках и других механизмах;
- взаимодействие между оператором, машиной и обрабатываемой поверхностью земли;
- конструкция машины, обеспечивающая ее мобильность;
- опорная поверхность, скорость движения и давление воздуха в шинах.
Примечание - В CR 1030-1:1995 приведена общая техническая информация о технических правилах и требованиях, которые необходимо соблюдать при конструировании машин с низким уровнем вибрации.
Помимо снижения уровня вибрации у источника, допустимо использование технических мер, позволяющих при необходимости изолировать источник вибрации от управляющих рукояток машины, например амортизаторы и демпферы.
5.17.2 Рекомендации по снижению уровня вибрации
При применении возможных технических мер по снижению уровня вибрации дополнительно рекомендуется соблюдать следующие указания, приведенные в руководстве по эксплуатации:
- использовать режимы работы с низким уровнем вибрации и/или ограниченное время работы;
- использовать средства индивидуальной защиты (СИЗ).
5.17.3 Измерение уровня вибрации
Для измерения вибрации, воздействующей на руки и все тело человека, следует использовать методы, приведенные в
приложении E.
5.18 Требования к устойчивости и методы испытаний
5.18.1 Общие положения
Определение и измерение устойчивости должны проводиться в статических условиях, при этом должны соблюдаться следующие требования к испытаниям:
a) полосу из стали толщиной 1 мм, шириной 50 мм и длиной, достаточной для того, чтобы полностью перекрывать след шины на опорной поверхности, помещают под каждую шину для подъема испытываемой машины;
b) пневматические шины должны быть накачаны до давления, рекомендованного в руководстве по эксплуатации для нормальной эксплуатации;
c) все колеса должны быть заблокированы, чтобы предотвратить их вращение вокруг оси, а машина должна быть закреплена таким образом, чтобы можно было зафиксировать потерю устойчивости машины и в то же время предотвратить ее дальнейшее скольжение или опрокидывание. Машину устанавливают на испытательной платформе таким образом, чтобы ее продольная ось и направление движения колес были параллельны оси наклона (т.е. управляемые колеса и сочлененные машины удерживаются в положении, соответствующем прямолинейному движению машины вперед);
d) требования к устойчивости должны соблюдаться для всех комбинаций шин при всех значениях ширины колеи в соответствии с руководством по эксплуатации.
5.18.2 Методика испытаний на устойчивость
5.18.2.1 Общие положения
Машину, опирающуюся на собственные колеса, устанавливают на ровную односкатную регулируемую наклонную платформу.
Поверхность испытательной платформы должна иметь достаточное трение для предотвращения скольжения машины вниз по склону.
Платформу наклоняют, пока не произойдет отрыв колеса. Регистрируют угол наклона.
Примечание - Отрывом колеса считают положение, при котором установленная под шиной стальная полоса может быть удалена в сторону из-под любой шины (находящейся в верхней части платформы) с усилием не более 10 Н.
Испытания должны проводиться на машине, установленной в соответствии с
5.18.2.2 и
5.18.2.3.
5.18.2.2 Продольная устойчивость
Проводят отдельные испытания машины, установленной на испытательной платформе:
a) в направлении движения вниз по склону; затем
b) в направлении движения вверх по склону.
5.18.2.3 Поперечная устойчивость
Проводят отдельные испытания машины, установленной на испытательной платформе:
a) наклоняемой в правую сторону; затем
b) наклоняемой в левую сторону; или
c) если у машины есть установленная, более нагруженная сторона, угол поперечной статической устойчивости должен измеряться для этой стороны.
5.18.3 Критерии приемки
Измеренный угол поперечной статической устойчивости машины должен быть не менее 20°, угол продольной статической устойчивости - не менее 30°.
6 Информация для пользователя
6.1 Руководство по эксплуатации
В руководстве по эксплуатации должны быть приведены подробные указания и сведения обо всех аспектах технического обслуживания и безопасного использования машины. Руководство по эксплуатации должно соответствовать EN ISO 12100:2010 (подраздел 6.4.5). В частности, в руководстве по эксплуатации особое внимание следует обратить на следующее: подробные инструкции для оператора/пользователя и информацию по всем аспектам обслуживания и безопасного использования машины, включая тип и необходимость использования средств индивидуальной защиты (СИЗ), соответствующую одежду и необходимость обучения всем операциям, выполняемым вручную. Инструкции должны учитывать возможность использования машины начинающим и/или неопытным оператором.
В руководстве по эксплуатации необходимо приводить знаки безопасности и/или символы. В ISO 3600:2015 приведены общие требования к структуре руководства по эксплуатации.
В руководстве по эксплуатации должна быть приведена информация о необходимости внимательного ознакомления с руководством по эксплуатации перед использованием машины.
Термины, используемые во всей документации, должны соответствовать настоящему стандарту.
В руководстве по эксплуатации должна быть приведена следующая информация (в соответствии с конструкцией машины) в отношении:
a) инструкций по сборке, первоначальной настройке и проверке, в том числе:
- указания по правильной сборке и разборке машины;
- описание способа установки зубьев или сборки зубьев;
b) указаний по транспортированию, техническому обслуживанию и хранению машины, в том числе:
- инструкция по хранению, включая очистку, обслуживание и подготовку к хранению;
- инструкция по подъему зубьев над поверхностью земли перед установкой машины на хранение;
- инструкции по креплению машины при транспортировании, чтобы предотвратить утечки топлива, повреждения машины или травмирование персонала;
c) указаний по подготовке машины, в том числе:
- информация о максимальных уровнях жидкости для всех емкостей и аккумуляторной батареи;
- информация о заправке топливом и маслом, особенно в отношении пожарной безопасности;
- рекомендуемые шины и давление в шинах;
- информация, касающаяся проведения регулярного технического обслуживания, процедур ввода машины в эксплуатацию и ежедневного технического обслуживания, а также последствий неправильного технического обслуживания;
d) информации о машине, в том числе:
- инструкции и при необходимости схемы для правильной и безопасной эксплуатации и хранения машины, включая рекомендации и указания по использованию машины по назначению;
- описание, идентификационные признаки и перечень основных частей, включая защитные устройства, и объяснение их функций;
- пояснения ко всем символам и знакам безопасности;
- перечень рекомендуемых зубьев, включая предупреждение о возможных последствиях использования неподходящих запасных частей;
e) использования машины, в том числе:
- инструкции, касающиеся осмотра места, где должна использоваться машина, и необходимости удаления посторонних предметов, таких как камни, игрушки, палки и провода;
- предупреждение о том, что машина не подходит для использования детьми;
- указания по эксплуатации машины только в условиях достаточной освещенности и о недопустимости присутствия посторонних лиц;
- предупреждение о работе машины на склонах и вблизи высадок, рвов или насыпей;
- инструкции в отношении пуска машины и работы всех органов управления;
- инструкции по обеспечению правильного функционирования всех блокировок и устройства контроля присутствия оператора, включая необходимую регулярную проверку;
- указания о запрете изменения или отключения систем или функций машины, связанных с безопасностью;
- указания о запрете для оператора на изменение установленных изготовителем настроек для управления максимальной частотой вращения двигателя;
- инструкции по правильной настройке машины с предупреждением об опасности, создаваемой вращающимися зубьями, например "Опасно - не прикасайтесь к вращающимся зубьям";
- информация о необходимости соответствующей подготовки, включая запрещенные операции и предупреждение в отношении использования машины оператором в состоянии усталости, болезни, алкогольного или наркотического опьянения;
- инструкции и при необходимости схемы для обозначенного рабочего положения и правильной и безопасной работы машины, такие как перемещение, безопасное позиционирование, обращение, устранение засоров и обеспечение чистоты разгрузочного желоба;
- инструкции о правильной остановке и стоянке машины, когда оператор покидает свое рабочее место;
- для машин, оборудованных подборщиком травы, инструкции по установке и снятию подборщика травы;
- при необходимости предостережения относительно использования некомплектной машины, например "Запрещено использовать машину, если подборщик травы не установлен на место";
- информация об использовании соответствующей обуви (препятствующей возможности поскользнуться), а также подходящей одежды;
- инструкции относительно воздействия шума, выбора и использования средств защиты органов слуха, включая рекомендации по ограничению продолжительности работы, если это необходимо;
- инструкции относительно воздействия вибрации, включая рекомендации по ограничению продолжительности работы при необходимости;
- опасности, которые могут возникнуть при использовании машины, и меры защиты при выполнении типовых операций, например устранение засоров;
- предупреждение о выбросе отработавших газов двигателя;
- предупреждение об использовании машины в грозу (опасность удара молнии);
f) технического обслуживания машины, в том числе:
- соответствующая информация о техническом обслуживании, выполняемом оператором;
- указания по выполнению работ по техническому обслуживанию и замене элементов при выключенном двигателе, включая необходимость поддержания машины в хорошем рабочем состоянии;
- предоставление достаточной информации, позволяющей пользователю поддерживать все системы безопасности на протяжении всего срока службы машины, а также поясняющие последствия неправильного технического обслуживания, использования несоответствующих сменных компонентов или удаления, или модификации компонентов безопасности;
- инструкции по устранению опасностей, связанных с накоплением потенциальной энергии в энергетических устройствах (при необходимости) (например, в подпружиненных механизмах) и обслуживанию гидравлических систем охлаждения двигателя;
- информация о гидравлических компонентах (при необходимости); подробная информация об опасностях, связанных с выбросом гидравлической жидкости под давлением, и возможных последствиях, в частности о том, что попадание гидравлической жидкости на кожу может вызвать серьезные повреждения, требующие неотложной медицинской помощи;
- инструкции по проверке и замене изношенных или поврежденных деталей;
- инструкция по проверке правильности функционирования устройств(а), обеспечивающих(его) останов зубьев;
- идентификация используемых запасных частей, которые непосредственно влияют на здоровье и безопасность оператора, в частности зубьев.
6.2 Техническая информация
В руководстве по эксплуатации и технической документации на машину должна быть приведена следующая техническая информация (если декларирование этих технических данных необходимо).
Примечание - Предоставление этой информации является обязательным только в том случае, когда этого требуют региональные правила.
Номинальная мощность | кВт |
Максимальная рабочая частота вращения двигателя (частота вращения) | мин-1 |
Масса машины с пустыми баками и в нормальной рабочей комплектации | кг |
Корректированный по A уровень звукового давления на рабочем месте оператора, определенный в соответствии с приложением C | дБ (A) |
- с учетом неопределенности измерений | дБ (A) |
Корректированный по A уровень звуковой мощности, определенный в соответствии с приложением C | дБ (A) |
- с учетом неопределенности измерений | дБ (A) |
Наибольшее суммарное значение вибрации, воздействующей на руки и все тело оператора, определенное в соответствии с приложением E | м/с2 |
- с учетом неопределенности измерений | м/с2 |
Соответствие проверяют внешним осмотром.
Рекламная литература, описывающая машины, не должна противоречить инструкциям в отношении аспектов здоровья и безопасности. Рекламная литература, описывающая эксплуатационные характеристики машин, не должна противоречить информации об уровне шума и величине вибрации, которая приведена в руководстве по эксплуатации.
6.3 Маркировка
6.3.1 Минимальная информация
На все машины должна быть нанесена четкая и долговечная маркировка, содержащая следующую информацию:
a) наименование (товарный знак) и полный адрес изготовителя и при необходимости уполномоченного изготовителем лица;
b) адрес может быть сокращен при условии, что изготовитель (и при необходимости его уполномоченный представитель) может быть идентифицирован. В любом случае указанный адрес должен быть достаточным для доставки почты изготовителю;
c) обозначение машины; обозначение машины может представлять собой сочетание букв и/или цифр;
d) год изготовления, т.е. год, в котором процесс изготовления был завершен;
e) обозначение серии или типа. Обозначение серии или типа машины должно обеспечивать идентификацию машины по техническим характеристикам, может представлять собою сочетание букв и/или цифр и комбинироваться с обозначением машины;
f) массу машины с пустыми топливными баками, кг;
g) номинальную мощность, кВт;
h) порядковый номер (при наличии).
Органы управления должны быть четко идентифицируемы по назначению, направлению перемещения и/или способу приведения в действие.
Соответствие проверяют внешним осмотром.
Предупреждения на машине должны быть размещены как можно ближе к опасному месту. Предупреждения должны быть разборчивыми и устойчивыми к истиранию и нанесены на одном из официальных языков страны, в которой будет продаваться машина. В качестве альтернативы можно использовать соответствующие контрастные цвета (например, черный на желтом, красный или оранжевый, если общий фон желтый, то зеленый или синий цвет не используется). Если маркировка изготовлена литьем, чеканкой или штамповкой, то использование цветов не требуется.
Предупреждения должны быть размещены в таком месте, где они хорошо видны пользователю, и включать следующее:
- "Прочитайте руководство по эксплуатации";
- "Опасность выброса или вылета предметов - посторонним не приближаться";
- "Внимание! Остерегайтесь острых зубьев, держите пальцы рук и ног подальше. Перед техническим обслуживанием вытяните штекер свечи зажигания".
В зависимости от конструкции машины:
- "Используйте защитные очки";
- "Используйте защитные наушники".
Если используются предупреждающие символы/пиктограммы, они должны соответствовать приведенным в
приложении A.
6.3.3 Долговечность маркировки
Маркировка, предназначенная для целей идентификации или предупреждения, должна:
- быть прочно закреплена на поверхности машины;
- быть водостойкой и устойчивой к истиранию;
- не загибаться по краям;
- быть устойчивой к воздействию топлива или смазочных жидкостей.
Соответствие проверяют внешним осмотром и испытанием, приведенным ниже.
6.3.4 Испытание
Все маркировочные знаки, предусмотренные в
6.3.1 и
6.3.2, за исключением маркировки, изготовленной литьем, чеканкой или штамповкой, следует протирать вручную смоченной в воде тканью в течение 15 с, а затем еще в течение 15 с тканью, смоченной в бензине.
После испытания маркировка должна быть легкочитаемой. Этикетки не должны легко отделяться от корпуса машины и иметь следы скручивания.
(обязательное)
ЗНАКИ И СИМВОЛЫ БЕЗОПАСНОСТИ
A.1 Общие положения
В настоящем приложении приведены предупреждающие символы и пиктограммы для использования на машинах, на которые распространяются требования настоящего стандарта.
Предупреждающие символы и пиктограммы, требуемые по
6.3.2, должны соответствовать символам, приведенным в
A.2 и ISO 7000, EN ISO 7010 и ISO 11684:1995.
Если используются другие символы, они должны соответствовать требованиям, приведенным в ISO 3767-1, ISO 3767-3, ISO 3767-4 и ISO 3864-1; если применяются другие знаки безопасности, они должны соответствовать требованиям, приведенным в ISO 11684.
Размеры символов или знаков безопасности могут быть изменены в зависимости от конструкции конкретной машины.
A.2 Знаки и символы безопасности
Рисунок A.1 - "Прочитайте руководство по эксплуатации"
EN ISO 7010-M002, или ISO 7000-1641, или ISO 7000-0790
Рисунок A.2 - "Опасность выброса или вылета предметов -
посторонним не приближаться" ISO 11684:1995 (пункт C.2.24)
Рисунок A.3 - "ВНИМАНИЕ! Остерегайтесь острых
зубьев, держите пальцы рук и ног подальше. Перед техническим
обслуживанием вытяните штекер свечи зажигания"
Рисунок A.4 - "Используйте защитные наушники"
EN ISO 7010-M003
Рисунок A.5 - "Используйте защитные очки" EN ISO 7010-M004
(справочное)
УКАЗАНИЯ ПО БЕЗОПАСНОМУ ИСПОЛЬЗОВАНИЮ МАШИН
B.1 Общие положения
В настоящем приложении приведены примеры указаний по безопасному использованию всех типов машин, на которые распространяются требования настоящего стандарта. В руководство по эксплуатации следует включать содержание подходящих пунктов данного приложения. Приведенные ниже примеры не являются исчерпывающими и приведены только для информации.
В руководстве по эксплуатации должна быть приведена информация об уровнях шума, значениях вибрации и необходимых предупреждениях, а также следующий текст:
ВАЖНО
ВНИМАТЕЛЬНО ПРОЧИТАЙТЕ ПЕРЕД ИСПОЛЬЗОВАНИЕМ
СОХРАНИТЕ ДЛЯ БУДУЩЕГО ИСПОЛЬЗОВАНИЯ
B.2 Указания по безопасному использованию
B.2.1 Обучение
a) Внимательно прочитайте руководство по эксплуатации. Ознакомьтесь с расположением органов управления и указаниями по правильному использованию машины.
B.2.2 Подготовка
a) Использование машин лицами, не ознакомившимися с руководством по эксплуатации, или детьми запрещено. Локальные нормативные акты могут предусматривать ограничение минимального возраста оператора.
b) Использование машины запрещено, если поблизости находятся люди, особенно дети или домашние животные.
c) При использовании машины оператор должен обеспечить отсутствие несчастных случаев или опасных ситуаций для себя, других людей или предотвратить причинение ущерба имуществу.
d) Всегда надевайте защитные наушники и защитные очки при работе с машиной.
e) При работе с машиной всегда надевайте прочную обувь и длинные брюки. Запрещается работать с машиной босиком или в открытых сандалиях.
f) Тщательно осмотрите место, где должна использоваться машина, и удалите все камни, палки, провода, кости и другие посторонние предметы.
g) Внимание! Бензин легко воспламеняется.
h) Храните бензин только в специально предназначенных для этого емкостях.
i) Выполняйте заправку машины только на открытом воздухе; во время заправки курить запрещено.
j) Перед пуском двигателя необходимо заправить машину бензином. Никогда не снимайте крышку топливного бака и не доливайте бензин, пока двигатель работает или прогревается.
k) Если бензин перелился, осуществлять пуск двигателя запрещено. Вместо пуска следует очистить поверхность от загрязнения топливом. До тех пор пока пары бензина не испарятся, включать зажигание запрещено.
l) В целях безопасности замените крышки и запорные устройства топливных баков в случае их повреждения.
m) Проводите замену поврежденных глушителей.
n) Перед использованием машины всегда проводите визуальный осмотр зубьев и их креплений на наличие признаков износа или повреждения. Во избежание дисбаланса замена изношенных или поврежденных зубьев допускается только в комплектах.
o) При использовании машин с задней разгрузкой и открытыми задними роликами, со снятым подборщиком травы следует надевать защитные очки (с боковой защитой), обеспечивающие полную защиту глаз.
B.2.3 Использование
a) Запрещено использовать двигатель в закрытых помещениях, где могут накапливаться вредные отработавшие газы.
b) Используйте машину только при дневном свете или при хорошем искусственном освещении.
c) Избегайте использования машины, если трава мокрая, или принимайте меры безопасности, предотвращающие скольжение машины.
d) Работайте на склонах с осторожностью, обеспечивайте устойчивость.
e) Управляйте машиной шагом, бегать запрещено.
f) Двигайтесь на склонах в поперечном направлении; двигаться вверх и вниз по склону запрещено.
g) Будьте особенно осторожны при смене направления движения на склоне.
h) На крутых склонах использование машины запрещено.
i) Соблюдайте особую осторожность при повороте или наклоне машины на себя.
j) Отключайте зубья, если для транспортирования машину необходимо наклонить не на траву, а на другую поверхность, а также во время транспортирования машины в рабочую зону и обратно.
k) Запрещено использовать машину с неисправными или отсутствующими защитными ограждениями.
l) Запрещено изменять и превышать допустимые обороты двигателя.
m) Перед пуском двигателя все зубья и приводы необходимо отсоединить.
n) Выполняйте пуск двигателя с осторожностью в соответствии с инструкциями и следите за тем, чтобы между ногами и зубьями оставалось достаточное расстояние.
o) При пуске двигателя машину наклонять запрещено, за исключением случаев, когда для пуска машина должна быть наклонена. В последнем случае наклон машины выполняют только до предусмотренного необходимого уровня в направлении в сторону от оператора.
p) Запрещено класть руки или ноги на вращающиеся детали или под них. Всегда сохраняйте безопасное расстояние до разгрузочного проема.
q) Запрещено поднимать и переносить машину с работающим двигателем.
r) Следует избегать использования машины в плохих погодных условиях, особенно когда существует риск удара молнии.
s) Выключить двигатель, вытянуть штекер свечи зажигания, а для машин с пуском от аккумуляторной батареи - вынуть ключ зажигания:
1) перед снятием блокировок или очисткой разгрузочного желоба;
2) перед проверкой, очисткой или работой с машиной;
3) в случае попадания посторонних предметов следует осмотреть машину на наличие повреждений и выполнить необходимый ремонт перед повторным использованием и началом работы с ней;
4) если машина начинает нетипично вибрировать при работе, ее следует немедленно осмотреть.
t) Выключить двигатель, вытянуть штекер свечи зажигания, а для машин с пуском от аккумуляторной батареи - вынуть ключ зажигания:
1) каждый раз, когда нужно отойти от машины;
2) перед заправкой топливом.
u) Когда двигатель остановлен, следует закрыть дроссельную заслонку, и если двигатель оборудован запорным клапаном для топлива, то его следует закрыть после завершения работы.
B.2.4 Техническое обслуживание и хранение
a) Все гайки, болты и винты всегда должны быть затянуты, чтобы гарантировать, что машина находится в безопасном рабочем состоянии.
b) Запрещено хранить машину с бензином в баке внутри помещения, где пары бензина могут взаимодействовать с открытым огнем или искрами.
c) Перед тем как поместить машину в помещение, следует дать двигателю остыть.
d) Во избежание пожара нельзя допускать попадания травы, соломы, мха, листьев или излишков жира в двигатель, глушитель, отсек аккумуляторной батареи и область вокруг топливного бака.
e) Следует часто проверять подборщик травы на наличие признаков износа или повреждения.
f) Следует регулярно проверять машину и заменять изношенные или поврежденные детали на безопасные.
g) Если топливный бак необходимо опорожнить, то это следует делать на открытом воздухе. Сливаемое топливо следует хранить в специально предназначенной для этого емкости или утилизировать надлежащим образом.
(обязательное)
МЕТОД ИЗМЕРЕНИЯ УРОВНЯ ШУМА. КЛАСС ТОЧНОСТИ 2
C.1 Область применения
В настоящем приложении приведена информация, необходимая для проведения измерения значений характеристик излучаемого шума в нормальных условиях эксплуатации аппаратов для аэрации газонов и культиваторов-рыхлителей, управляемых рядом идущим оператором.
Характеристики излучаемого шума включают уровень звукового давления излучения на рабочем месте оператора и уровень звуковой мощности. Определение этих величин требуется:
- изготовителям для указания уровня излучения шума;
- для сравнения характеристик излучения шума машин, входящих в рассматриваемую группу машин;
- для контроля шума у источника на стадии конструирования.
Использование данного метода измерения характеристик излучаемого шума обеспечивает воспроизводимость результатов измерений в пределах, определяемых классом точности используемого базового метода измерения. Установленные в настоящем стандарте методы измерения характеристик излучаемого шума соответствуют классу точности 2.
C.2 Определение корректированного по A уровня звуковой мощности
Предпочтительный метод определения корректированного по A уровня звуковой мощности установлен в EN ISO 3744, с учетом следующих изменений или дополнительных требований:
- отражающая поверхность должна быть заменена искусственным покрытием, соответствующим требованиям
C.4.1, или натуральным травяным покрытием, соответствующим требованиям
C.4.2. Точность испытаний с использованием натурального травяного покрытия, вероятно, будет ниже, чем требуется для класса точности 2. В спорных случаях измерения должны быть проведены в полевых условиях (на открытом воздухе) и на искусственном покрытии;
- измеряемая поверхность должна представлять собой полусферу с радиусом r, который выбирается в зависимости от ширины захвата машины и составляет:
r = 4 м - для машин, ширина захвата которых не превышает 1,2 м;
r = 10 м - для машин, ширина захвата которых превышает 1,2 м.
Допускается использовать полусферу, радиус которой меньше указанного выше, если подтверждено, что полученные результаты этих измерений отличаются от результатов измерений, полученных с использованием полусферы рекомендованного радиуса, не более чем на 0,5 дБ.
Примечание - Использование полусферы уменьшенного радиуса может быть необходимо при проведении измерений в безэховой комнате, которая не позволяет использовать полусферу рекомендуемого радиуса;
- условия окружающей среды должны находиться в пределах, удовлетворяющих требованиям изготовителя средств измерений. Температура окружающего воздуха должна находиться в пределах диапазона от 5 °C до 30 °C, скорость ветра должна составлять менее 8 м/с, предпочтительно менее 5 м/с. Каждый раз, когда скорость ветра составляет более 1 м/с, должны использоваться ветрозащитные экраны микрофонов;
- измерения выполняются без участия оператора;
- для измерений значение K2A, определенное в соответствии с EN ISO 3744:2010 (приложение A), должно быть не более 2 дБ, в этом случае значением K2A следует пренебречь.
r - радиус полусферы; 1, 2, 3, 4, 5, 6 - позиции микрофонов
Рисунок C.1 - Расположение микрофонов на полусфере
Таблица C.1
Координаты позиций микрофонов
Позиция N | | | z/r | z |
| +0,707 a | +0,707 a | - | 1,5 м |
2 | -0,707 a | +0,707 a | - | 1,5 м |
3 | -0,707 a | -0,707 a | - | 1,5 м |
| +0,707 a | -0,707 a | - | 1,5 м |
5 | -0,27 | +0,65 | 0,71 | - |
6 | +0,27 | -0,65 | 0,71 | - |
<a> Константа a зависит от радиуса измерений и выбирается из таблицы C.2. |
Таблица C.2
Если применяется полусфера, радиус которой отличается от рекомендованного, то микрофоны, установленные на
позициях N 1 -
4, располагают на высоте
z, составляющей 1,5 м, при этом значение
a определяется по формуле, приведенной ниже:
. (C.1)
C.3 Определение корректированного по A уровня звукового давления
Корректированные по A уровни звукового давления измеряют в соответствии с EN ISO 11201 (технический метод, класс точности 2), с учетом следующих изменений или дополнительных требований:
- отражающая поверхность должна быть заменена искусственным покрытием, соответствующим требованиям
C.4.1, или натуральным травяным покрытием, соответствующим требованиям
C.4.2. Точность испытаний с использованием натурального травяного покрытия, вероятно, будет ниже, чем требуется для класса точности 2. В спорных случаях измерения должны быть проведены в полевых условиях (на открытом воздухе) и на искусственном покрытии;
- условия окружающей среды должны находиться в пределах, удовлетворяющих требованиям изготовителя средств измерений. Температура окружающего воздуха должна находиться в пределах диапазона от 5 °C до 30 °C, скорость ветра должна составлять менее 8 м/с, предпочтительно менее 5 м/с;
- измерения проводятся с участием оператора, микрофон должен быть установлен на голове оператора на расстоянии (200 +/- 20) мм от средней плоскости головы оператора на уровне глаз со стороны более громкого шума. Микрофон должен быть ориентирован таким образом, чтобы соблюсти максимально плоскую характеристику (в соответствии с указаниями изготовителя микрофона) и направлен вперед и вниз под углом 45° к горизонтали. Если для установки микрофона используется шлем, то он должен иметь такую форму, чтобы его внешняя кромка находилась относительно головы не менее чем на 30 мм ближе, чем микрофон. Рост оператора должен составлять (1,75 +/- 0,05) м.
C.4 Требования к испытательной поверхности
C.4.1 Искусственное покрытие
Искусственное покрытие должно обеспечивать коэффициенты звукопоглощения, указанные в
таблице C.3 и измеренные в соответствии с EN ISO 354.
Таблица C.3
Коэффициенты звукопоглощения
Частота, Гц | Коэффициент звукопоглощения | Допуск |
125 | 0,1 | +/- 0,1 |
250 | 0,3 | +/- 0,1 |
500 | 0,5 | +/- 0,1 |
1000 | 0,7 | +/- 0,1 |
2000 | 0,8 | +/- 0,1 |
4000 | 0,9 | +/- 0,1 |
Искусственное покрытие должно быть размещено на твердой отражающей поверхности, иметь размер не менее (3,6 x 3,6) м и должно располагаться в центре измерительной площадки. Структура опорной конструкции должна быть такой, чтобы ее акустические свойства соответствовали свойствам используемого звукопоглощающего материала. Опорная конструкция должна удерживать оператора во избежание сжатия звукопоглощающего материала.
Примечание - Пример звукопоглощающего материала и опорной конструкции, соответствующие данным требованиям, приведены в
приложении D.
C.4.2 Натуральное травяное покрытие
Испытательная среда как минимум в горизонтальной проекции используемой измерительной площадки должна быть покрыта качественным натуральным травяным покрытием. Перед проведением измерения трава должна быть срезана косилкой на высоту до 30 мм. Поверхность должна быть очищена от скошенной травы и мусора, на ней не должно быть влаги, льда или снега.
C.5 Условия установки, крепления и эксплуатации
Измерения проводят на новой серийно выпускаемой машине со стандартным сменным оборудованием, поставляемым изготовителем машины. Если подборщик травы предусмотрен для установки изготовителем машины или поставляется в комплекте с машиной, он должен быть опорожнен и установлен на предназначенное для него место. В топливном баке должно содержаться топливо в количестве, достаточном для обеспечения устойчивой работы двигателя.
Измерения выполняют на неподвижной машине, все тяговые приводы должны быть отключены, зубья - установлены в самое верхнее положение, в котором при воздействии на устройство контроля присутствия оператора они смогут двигаться. Если в этом положении зубья все еще касаются поверхности земли, опорные элементы машины (например, колеса, гусеницы и т.д.) должны быть установлены на опорные блоки, обеспечивающие необходимый просвет.
Перед испытаниями выполняется техническое обслуживание и настройка машины в соответствии с руководством по эксплуатации изготовителя, например выполняется регулировка карбюратора и установка момента зажигания в соответствии с техническими требованиями изготовителя. Перед началом испытания должен быть выполнен пуск двигателя (с подключенным приводом зубьев) и его прогрев до достижения устойчивой работы двигателя (т.е. стабильной частоты вращения вала двигателя).
При испытаниях привод зубьев должен быть подключен и работать без нагрузки.
Измерения выполняют при максимальной достижимой рабочей частоте вращения двигателя (см.
3.11).
Примечание - Максимальная рабочая частота вращения двигателя равна номинальной скорости.
Для контроля частоты вращения двигателя должен использоваться тахометр. Он должен обеспечивать измерения с точностью +/- 2,5%. Тахометр и его взаимодействие с машиной не должны влиять на ее работу во время проведения испытания.
Для определения уровня звуковой мощности машина должна быть размещена на поверхности таким образом, чтобы проекция геометрического центра ее главных частей (за исключением рукояток, подборщика травы и т.д.) совпадала с началом системы координат позиций микрофонов. При испытаниях зубья должны быть подняты таким образом, чтобы они не касались поверхности земли. Если используется искусственное покрытие по
C.4.1, машина должна быть размещена таким образом, чтобы ее геометрический центр также совпадал с началом системы координат позиций микрофонов. Продольная ось машины должна располагаться по оси абсцисс. Измерения выполняются без участия оператора.
При определении уровня звукового давления регулируемые элементы (например, регулируемые по высоте рукоятки управления) должны быть установлены в соответствии с ростом оператора.
C.6 Неопределенности измерений
Для достижения необходимой степени точности при измерении уровня звукового давления на рабочем месте оператора проводимые испытания следует повторять до тех пор, пока три полученных друг за другом результата измерений по шкале A шумомера не будут отличаться больше чем на 2 дБA. Среднее арифметическое этих трех значений представляет собой измеренный корректированный по A уровень звукового давления излучения машины.
Общая методика измерения уровня звукового давления или уровня звуковой мощности зависит от стандартного отклонения, обусловленного применяемым методом измерения шума, и неопределенности измерений, связанной с нестабильностью режимов работы и условий установки. Результирующая общая неопределенность измерений рассчитывается по следующей формуле:
. (C.2)
Значение верхнего предела

составляет примерно 1,5 дБ для метода измерения шума класса точности 2, при условии, что источник шума излучает звук без значительных тонов.
Примечание 1 - Для машин с преимущественно постоянным уровнем шума может использоваться значение

, равное 0,5 дБ. В других случаях, например когда большее влияние на уровень шума оказывает материал, поступающий в машину или выбрасываемый из нее, или обрабатываемые машиной материалы, которые случайным образом изменяют уровень шума, использование значения, составляющего 2 дБ, может быть предпочтительным. Методы определения

установлены в основных стандартах на методы измерения.
Расширенная неопределенность измерения U, дБ, рассчитывается по следующей формуле:

, (C.3)
где k - коэффициент охвата.
Примечание 2 - Расширенная неопределенность измерений зависит от желаемой степени достоверности. Для сравнения результата с предельным значением целесообразно применять коэффициент охвата для одностороннего нормального распределения. В этом случае коэффициент охвата k = 1,6, что соответствует уровню доверительной вероятности 95%. Дополнительная информация приведена в EN ISO 4871. Обратите внимание, что расширенная неопределенность измерения U в EN ISO 4871 обозначается как K.
Примечание 3 - Расширенная неопределенность измерений, описанная в данном стандарте, не включает стандартное отклонение производства, которое в EN ISO 4871 используется для декларирования шума партии машин.
C.7 Отчеты об измерениях и результатах
Информация должна регистрироваться и отмечаться в протоколе в соответствии с требованиями EN ISO 3744 и EN ISO 11201.
C.8 Неопределенности измерений и заявление шумовой характеристики
Заявленное значение шумовой характеристики корректированного по A уровня звукового давления представляет собой двухчисловое значение согласно EN ISO 4871. Это значение используется для заявления уровня звукового давления.
Заявленное значение шумовой характеристики корректированного по A уровня звуковой мощности представляет собой одночисловое значение в соответствии с EN ISO 4871.
Заявленные значения характеристик уровня излучаемого шума должны быть округлены (в сторону увеличения) до децибела.
В заявлении должно быть указано, что значения уровней излучаемого шума были получены при испытаниях техническим методом класса точности 2 и в соответствии с базовыми стандартами EN ISO 11201 и EN ISO 3744.
Если при измерении уровня шума какие-то из положений, указанных выше, не были соблюдены, в соответствующем заявлении должно быть четко указано, какие отклонения от настоящего стандарта и/или от базовых стандартов имели место.
При необходимости проведения контрольных испытаний их следует проводить в соответствии с EN ISO 4871, применяя условия установки и режимы работы машины, которые использовались при измерении значений характеристик излучаемого шума.
(справочное)
ПРИМЕР МАТЕРИАЛА И КОНСТРУКЦИИ, СООТВЕТСТВУЮЩИХ ТРЕБОВАНИЯМ
К ИСКУССТВЕННОМУ ПОКРЫТИЮ
D.1 Материал
Минеральное волокно толщиной 20 мм, обладающее сопротивлением воздушному потоку 11 кН·с/м4, плотностью 25 кг/м3.
D.2 Конструкция
На
рисунке D.1 показано искусственное покрытие измерительной площадки, которое разделено на 9 плоских секций, каждая размером примерно (1,20 x 1,20) м. Показанный на
рисунке D.1 защитный слой представляет собой древесно-стружечную плиту толщиной 19 мм, с пластиковым покрытием на обеих сторонах (
a). Такие плиты используют, например, для изготовления кухонной мебели. Обрезанные кромки ДСП должны быть защищены от влаги путем нанесения слоя пластичной краски. Наружное напольное покрытие граничит с профильной алюминиевой секцией (
d), причем высота секции составляет 20 мм. Секции этого профильного материала также прикреплены к кромкам соединенных плоских секций, для которых они служат как распорки и точки крепления.
A - поверхность, непригодная для нагружения: стоять на ней
или перемещаться по ней нельзя; B - поверхность, пригодная
для нагружения: стоять на ней или перемещаться по ней можно;
a - защитный слой из плиты ДСП (номинальной толщиной
19 мм), покрытой пластиком; b - слой из минеральной ваты
(номинальной толщиной 20 мм); c - алюминиевые T-образные
секции (номинальной толщиной 3 мм и высотой 20 мм);
d - алюминиевые U-образные секции (номинальной толщиной
3 мм и высотой 20 мм); e - проволочная сетка (номинальный
размер ячеек (10 x 10) мм, диаметр проволоки 0,8 мм);
f - проволочная решетка (номинальный размер ячеек
(30 x 30) мм, диаметр проволоки 3,1 мм)
Рисунок D.1 - Пример измерительной поверхности
с искусственным покрытием (масштаб не соблюден)
На средней соединительной плоской секции, на которой находится машина в процессе измерения, а также в любом другом месте, на котором может находиться оператор, монтируют в качестве распорок T-образные алюминиевые секции (c) высотой 20 мм. Эти секции также обеспечивают точную разметку, которая облегчает выравнивание машины относительно измерительного участка. Подготовленные плиты затем покрывают теплоизоляционным фетровым материалом (слоем минеральной ваты) (b) с обрезкой по размеру.
Покрытый теплоизоляционным фетровым материалом пол из соединенных плоских секций, на котором нельзя ни находиться, ни перемещаться (покрытие типа A на
рисунке D.1), покрывают проволочной сеткой, прикрепленной к стыковым кромкам и соединительным точкам; для этой цели секции должны иметь отверстия. Таким образом, теплоизоляционный материал зафиксирован в достаточной мере, причем сохраняется возможность замены минеральной ваты в случае ее загрязнения. Для изготовления проволочной сетки (
e) используют проволоку диаметром 0,8 мм, сторона ячейки должна составлять 10 мм. Эта сетка надлежащим образом обеспечивает защиту покрытия, не оказывая влияния на акустические условия.
Защита с помощью проволочной сетки является недостаточной в зоне, где должно выполняться движение (покрытие типа B на
рисунке D.1). Для этих покрытий используют проволочную решетку (
f) из рифленой стальной проволоки диаметром 3,1 мм со стороной ячейки 30 мм.
Вышеописанная конструкция измерительной площадки имеет два преимущества: она может быть подготовлена без больших затрат времени и сил, а все материалы являются легкодоступными.
Так как позиции микрофонов не расположены непосредственно над полом измерительной площадки, это позволяет легко устанавливать микрофоны на подставках при условии, что поверхность пола жесткая и ровная, как, например, асфальт или бетон.
При установке микрофонов следует принимать во внимание, что высота расположения микрофонов должна определяться на измерительной площадке относительно поверхности пола. Следовательно, она должна быть на 40 мм выше, если ее измерить от пола под микрофонами.
(обязательное)
E.1 Измеряемые величины
Измерению подлежат следующие параметры:
- корректированное ускорение на поверхности контакта руки оператора с испытуемой машиной, выраженное как среднее квадратичное (r.m.s) значение корректированного виброускорения по EN ISO 20643:2008 (подраздел 3.1);
- максимально достижимая рабочая частота вращения двигателя. При проверке максимальной рабочей частоты вращения двигателя запрещается изменять регулировки, установленные в соответствии с требованиями изготовителя.
E.2 Средства измерений
E.2.1 Общие положения
Погрешность измерения тахометров не должна превышать +/- 2,5% от измеряемого значения. Технические требования к другим средствам измерений приведены в EN ISO 20643:2008 (раздел 4).
E.2.2 Крепление акселерометра
Метод крепления акселерометра должен соответствовать требованиям EN ISO 20643:2008 (подраздел 7.2). Если между рукой и вибрирующей конструкцией используется упругое покрытие (например, амортизирующая рукоятка), для установки акселерометра допускается использовать подходящее приспособление (например, тонкий металлический лист соответствующей формы), которое помещают между рукой и поверхностью из упругого материала. Несмотря на это, во всех случаях должны быть предприняты меры, для того чтобы размер, форма и крепление акселерометра или специальной опоры для него не оказывали существенного влияния на передачу вибрации на руку оператора, и необходимо обеспечить, чтобы установленные опоры для акселерометра имели линейную передаточную функцию до 1,5 кГц во всех трех направлениях.
E.2.3 Калибровка
Калибровку проводят в соответствии с требованиями EN ISO 20643:2008 (подраздел 7.6).
E.3 Место и направление измерения
E.3.1 Направление измерения
Измерения выполняют одновременно по трем осям: x, y, z (см.
рисунок E.1).
E.3.2 Место измерения
Для измерения используют не более двух акселерометров. Акселерометр(ы) устанавливают в месте(ах), в котором(ых) оператор касается рукоятки (рукояток), см.
рисунок E.1 или
E.2.
Рисунок E.1 - Примеры расположения/крепления акселерометров
1 - передняя часть машины
Рисунок E.2 - Примеры расположения/крепления акселерометров
для измерения вибрации, передаваемой на руки оператора
E.4 Методика испытания
Измерения проводят на плоском основании, состоящем из фанеры толщиной 19 мм, к которой гвоздями прибито полотно из кокосового волокна (см.
приложение B). Полотно из кокосового волокна, закрепленное на основании из ПВХ, должно иметь поверхностную плотность 7 000 г/м
2 и толщину около 20 мм. Минимальная ширина и минимальная длина плоского основания должны превышать не менее чем на 0,75 м с каждой стороны площадь, ограниченную точками контакта опорных элементов машины с землей.
Измерения выполняют на неподвижной машине, все тяговые приводы должны быть отключены, зубья должны быть установлены в самое верхнее рабочее положение. Если в этом положении зубья все еще касаются поверхности земли, опорные элементы машины (например, колеса, гусеницы и т.д.) должны быть установлены на опорные блоки, обеспечивающие необходимый просвет. Опорные блоки должны быть минимально возможного размера, чтобы обеспечить безопасность при испытаниях, и расположены на достаточном расстоянии от вращающихся зубьев (исключающем их контакт).
Измерения проводят на новой серийно выпускаемой машине со стандартным сменным оборудованием, поставляемым изготовителем машины. Перед испытаниями выполняются техническое обслуживание и настройка машины в соответствии с руководством по эксплуатации изготовителя. Перед началом испытания должен быть выполнен пуск двигателя (с подключенным приводом зубьев) и его прогрев до достижения устойчивой работы двигателя (т.е. стабильной частоты вращения вала двигателя).
При испытаниях привод зубьев должен быть подключен и должен работать без нагрузки.
Измерения выполняют при максимальной достижимой рабочей частоте вращения двигателя.
Руки оператора должны находиться близко к акселерометру в пределах предполагаемого диапазона захвата, но не должны его касаться. Оператор должен находиться в нормальном рабочем положении. Давление в шинах должно соответствовать техническим требованиям изготовителя. Если подборщик травы предусмотрен для установки изготовителем машины или поставляется в комплекте с машиной, он должен быть опорожнен и установлен на предназначенное для него место. Топливный бак должен быть заполнен. Машину испытывают со всем сменным оборудованием, предусмотренным изготовителем.
Измерения должен выполнять оператор, рост которого составляет (1,75 +/- 0,05) м. При этом регулируемые элементы (например, регулируемые по высоте рукоятки управления) должны быть установлены в соответствии с ростом оператора.
Оператор влияет на измерение вибраций. Поэтому оператор должен быть ознакомлен с условиями нормальной работы машины. Оператор должен сжимать захваты рукояток с силой, характерной для нормальной работы машины.
E.5 Проведение измерений
Серия испытаний должна состоять из пятнадцати измерений вибрации в каждой позиции акселерометра (положении руки). Каждое показание должно быть получено за время измерений, которое должно соответствовать используемому испытательному оборудованию. Продолжительность испытания должна составлять не менее 8 с.
Эквивалентный уровень точности может быть достигнут при длительности менее 8 с. В этом случае должна быть продемонстрирована эквивалентность результатов.
Измерение выполняют одновременно по трем осям (x, y и z).
E.6 Определение результатов измерения
Указываемое в отчете значение вибрации, передаваемой на руки оператора, определяется как среднее арифметическое пятнадцати значений вибрации в серии измерений. Если значения измерений, полученные для разных положений рук, отличаются, то учитывается большее значение. Указанные значения представляют собою средние квадратические (r.m.s) значения виброускорения по осям x, y и z соответственно.
(обязательное)
F.1 Общие положения
Зубья машин, вращающиеся с максимальной скоростью, должны останавливаться в течение 3 с после прекращения воздействия оператора на орган управления их работой.
Соответствие проверяют проведением испытаний по
F.2.
F.2 Измерение времени выбега зубьев
Перед испытанием машина должна быть собрана и отрегулирована в соответствии с руководством по эксплуатации изготовителя. Машина должна быть обкатана в течение периода, указанного изготовителем, и орган управления зубьями должен быть приведен в действие 10 раз.
Машина должна быть установлена и оснащена таким образом, чтобы это не влияло на результат испытаний. Должны быть предусмотрены устройство, определяющее момент отпускания устройства контроля присутствия оператора, и устройство, определяющее движение зубьев.
Общая погрешность системы измерения времени не должна превышать 25 мс, а погрешность измерения при использовании тахометров любых типов не должна превышать +/- 2,5%. Температура окружающей среды при испытаниях должна быть (20 +/- 5) °C.
Средства управления машиной во время испытания должны быть такими, чтобы прекращение воздействия на устройство контроля присутствия оператора в режиме "Вкл." происходило быстро и после этого устройство автоматически возвращалось к режиму "Холостой ход" или "Выкл.".
Время выбега измеряют с момента прекращения воздействия на устройство контроля присутствия оператора до последнего зарегистрированного средством измерения перемещения зубьев.
Машину подвергают испытаниям последовательно в течение 5 000 циклов "пуск/стоп". Все 5 000 испытательных циклов не обязательно должны проводиться без перерыва. При испытаниях машина должна поддерживаться в исправном состоянии и регулироваться в соответствии с руководством по эксплуатации изготовителя. После завершения 4 500 испытательных циклов техническое обслуживание или регулировка машины не проводятся.
На
рисунке F.1 приведена схема двух испытательных циклов. Каждый испытательный цикл состоит из следующей последовательности действий:
- доведение частоты вращения зубьев до максимальной (m) из состояния покоя (время = ts);
- выдерживание этой частоты вращения в течение короткого промежутка времени, чтобы убедиться, что она стабильна (время = tr);
- прекращение воздействия на устройство контроля присутствия оператора, управляющее зубьями, и возвращение зубьев в состояние покоя (время = tb);
- устройство контроля присутствия оператора остается в течение короткого промежутка времени в состоянии покоя перед началом следующего испытательного цикла (время = to).
1 - частота вращения двигателя (% от m)
Рисунок F.1 - Пример испытательных циклов (см. F.2)
Если общее время одного цикла - tc, то tc = ts + tr + tb + to. Время испытательного цикла для режимов "Вкл." (ts + tr) и "Выкл." (tb + to) определяется изготовителем, но оно не должно превышать 100 с для режима "Вкл." и 20 с для режима "Выкл.".
Это испытание не является типовым для нормальной эксплуатации, поэтому во избежание излишнего износа или повреждения машины продолжительность испытательного цикла должна указываться изготовителем.
Время выбега зубьев измеряется:
- в каждом из первых пяти испытательных циклов из последовательных в 5 000 циклов (т.е. не включая 10 подготовительных операций); и
- в каждом из последних пяти циклов перед любым обслуживанием тормоза или регулировкой, выполняемыми во время испытания из последовательных 5 000 циклов; и
- в каждом из последних пяти испытательных циклов из последовательных 5 000 циклов.
В остальных случаях время выбега испытываемых зубьев не регистрируется.
Каждое измеренное время выбега зубьев (
tb) должно соответствовать требованиям
5.10.2. Если испытываемый образец не выдерживает полное количество циклов, но в остальном соответствует требованиям настоящих испытаний, то машина может быть отремонтирована, если не вышел из строя тормозной механизм и испытание продолжено либо если машина не может быть отремонтирована, то испытанию может быть подвергнут еще один образец, который в этом случае должен полностью соответствовать требованиям.
(справочное)
ВЗАИМОСВЯЗЬ ЕВРОПЕЙСКОГО СТАНДАРТА С ДИРЕКТИВОЙ 2006/42/ЕС
Европейский стандарт был подготовлен в соответствии с мандатом, предоставленным CEN Европейской комиссией и Европейской ассоциацией свободной торговли (ЕАСТ) "M/396 Мандат CEN и CENELEC по стандартизации в области машиностроения", чтобы обеспечить средства соответствия основополагающим требованиям
Директивы Нового подхода 2006/42/ЕС Европейского парламента и Совета от 17 мая 2006 г., касающейся продукции машиностроения и вносящей изменения в
Директиву 95/16/ЕС (переработка).
Поскольку данный стандарт приведен в Официальном журнале Европейского союза в качестве взаимосвязанного с вышеуказанной
Директивой, соответствие требованиям европейского стандарта, приведенным в
таблице ZA.1, является в пределах области его применения средством выполнения основных требований этой
директивы и соответствующих регламентирующих документов ЕАСТ.
Таблица ZA.1
Взаимосвязь европейского стандарта с
Директивой 2006/42/ЕС
| Разделы/подразделы европейского стандарта | Примечание |
Рассматриваются все основные требования в пределах области применения европейского стандарта | Все обязательные разделы | В отношении взаимосвязи европейского стандарта с существенными опасностями/соответствующими основными требованиями Директивы 2006/42/ЕС см. раздел 4 "Перечень существенных опасностей" данного стандарта вместе с приложением D "Примеры существенных опасностей, опасных ситуаций и явлений и их взаимосвязь с основными требованиями Директивы 2006/42/ЕС, касающейся продукции машиностроения" CEN Guide 414 (https://boss.cen.eu/ref/CEN_4_14.pdf) |
Предупреждение 1 - Презумпция соответствия, обеспечиваемая европейским стандартом, сохраняется до тех пор, пока данный стандарт приведен в Официальном журнале Европейского союза в качестве взаимосвязанного с вышеуказанной
директивой. Пользователи европейского стандарта должны постоянно сверяться с последним перечнем, опубликованным в Официальном журнале Европейского союза.
Предупреждение 2 - На машины, которые входят в область применения настоящего стандарта, могут распространяться требования других директив ЕС.
(справочное)
СВЕДЕНИЯ О СООТВЕТСТВИИ ССЫЛОЧНЫХ МЕЖДУНАРОДНЫХ СТАНДАРТОВ
МЕЖГОСУДАРСТВЕННЫМ СТАНДАРТАМ
Таблица ДА.1
Обозначение ссылочного международного стандарта | Степень соответствия | Обозначение и наименование соответствующего межгосударственного стандарта |
EN ISO 354:2003 (ISO 354:2003) | MOD | ГОСТ 31704-2011 (EN ISO 354:2003) "Материалы звукопоглощающие. Метод измерения звукопоглощения в реверберационной камере" |
EN ISO 3744:2010 (ISO 3744:2010) | - | |
EN ISO 4413 (ISO 4413) | - | |
EN ISO 4871:2009 (ISO 4871:1996) | IDT | ГОСТ 30691-2001 (ИСО 4871-96) "Шум машин. Заявление и контроль значений шумовых характеристик" |
EN ISO 7010 (ISO 7010) | - | |
EN ISO 11201:2010 (ISO 11201:2010) | IDT | ГОСТ ISO 11201-2016 "Шум машин. Определение уровней звукового давления излучения на рабочем месте и в других контрольных точках в существенно свободном звуковом поле над звукоотражающей плоскостью" |
EN ISO 11688-1:2009 (ISO/TR 11688-1:1995) | - | |
EN ISO 12100:2010 (ISO 12100:2010) | IDT | ГОСТ ISO 12100-2013 "Безопасность машин. Основные принципы конструирования. Оценки риска и снижения риска" |
EN ISO 13849-1:2015 (ISO 13849-1:2015) | - | Отсутствует. Действует ГОСТ ISO 13849-1-2014 "Безопасность оборудования. Элементы систем управления, связанные с безопасностью. Часть 1. Общие принципы конструирования (ISO 13849-1:2006)" |
EN ISO 13857:2008 (ISO 13857:2008) | IDT | ГОСТ ISO 13857-2012 "Безопасность машин. Безопасные расстояния для предохранения верхних и нижних конечностей от попадания в опасную зону" |
EN ISO 14982:2009 (ISO 14982:1998) | MOD | ГОСТ 32141-2013 (ISO 14982:1998) "Совместимость технических средств электромагнитная. Машины для сельского и лесного хозяйства. Методы испытаний и критерии приемки" |
EN ISO 20643:2008 (ISO 20643:2005) | MOD | ГОСТ 16519-2006 (ИСО 20643:2005) "Вибрация. Определение параметров вибрационной характеристики ручных машин и машин с ручным управлением. Общие требования" |
ISO 3767-1 | - | |
ISO 3767-3 | - | |
ISO 3767-4 | - | |
ISO 3864-1 | IDT | ГОСТ ISO 3864-1-2013 "Графические символы. Сигнальные цвета и знаки безопасности. Часть 1. Принципы проектирования знаков и сигнальной разметки" |
ISO 7000 | - | |
ISO 11684:1995 | - | |
<*> Соответствующий межгосударственный стандарт отсутствует. Примечание - В настоящей таблице использованы следующие условные обозначения степени соответствия стандартов: - IDT - идентичные стандарты; - MOD - модифицированные стандарты. |
[1] | EN 709:1997+A4:2009 | Agricultural and forestry machinery - Pedestrian controlled tractors with mounted rotary cultivators, motor hoes, motor hoes with drive wheel(s) - Safety (Машины для сельскохозяйственных работ и лесоводства. Тракторы, управляемые рядом идущим оператором, с навесными фрезерными культиваторами, мотокультиваторы, мотокультиваторы с ведущим колесом (колесами). Безопасность) |
[2] | CR 1030-1:1995 | Hand-arm vibration - Guidelines for vibration hazards reduction - Part 1: Engineering methods by design of machinery (Вибрация руки. Руководство по уменьшению опасностей, связанных с вибрацией. Часть 1. Технические методы проектирования машин) |
[3] | EN ISO 11691 | Acoustics - Measurement of insertion loss of ducted silencers without flow - Laboratory survey method (ISO 11691) (Акустика. Измерение потерь, обусловленных глушителями шума, установленными в воздуховодах, в отсутствие воздушного потока. Лабораторный метод измерения) |
[4] | EN ISO 11820 | Acoustics - Measurement on silencers in situ (ISO 11820) (Акустика. Измерение глушителей в условиях эксплуатации) |
УДК 631.316.071.3-027.45(083.74)(476) | | IDT |
Ключевые слова: аппараты для аэрации газонов, культиваторы, машины, управляемые рядом идущим оператором, двигатель внутреннего сгорания, требования безопасности, методы испытаний |