Краткое наименование страны по МК (ИСО 3166) 004-97 | Код страны по МК (ИСО 3166) 004-97 | Сокращенное наименование национального органа по стандартизации |
Армения | AM | ЗАО "Национальный орган по стандартизации и метрологии" Республики Армения |
Беларусь | BY | Госстандарт Республики Беларусь |
Казахстан | KZ | Госстандарт Республики Казахстан |
Киргизия | KG | Кыргызстандарт |
Россия | RU | Росстандарт |
Узбекистан | UZ | Узстандарт |
Обозначение конструктивного исполнения <*> | Серия ширин | Описание конструктивного исполнения | Рисунок <**> | |
основное | дополнительное | |||
05 | - | 0, 3, 4 | С цилиндрическим отверстием, с внутренним кольцом без бортиков, с направляющим кольцом | |
Н | С цилиндрическим отверстием, с внутренним кольцом без бортиков, с направляющим кольцом, со смазочной канавкой и смазочными отверстиями на наружном кольце | |||
10 | - | 0, 3 | С цилиндрическим отверстием, с внутренним кольцом с бортиками, без среднего бортика, с направляющим кольцом | |
Н | С цилиндрическим отверстием, с внутренним кольцом с бортиками, без среднего бортика, с направляющим кольцом, со смазочной канавкой и смазочными отверстиями на наружном кольце | |||
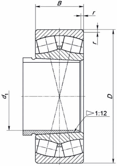
13 | Н | 0, 3 | С коническим отверстием конусностью 1:12, с внутренним кольцом с бортиками, со смазочной канавкой и смазочными отверстиями на наружном кольце | |
15 | - | 0, 3 | С коническим отверстием конусностью 1:12, с внутренним кольцом без бортиков, с направляющим кольцом | |
4 | С коническим отверстием конусностью 1:30, с внутренним кольцом без бортиков, с направляющим кольцом | |||
Н | 0, 3 | С коническим отверстием конусностью 1:12, с внутренним кольцом без бортиков, с направляющим кольцом, со смазочной канавкой и смазочными отверстиями на наружном кольце | ||
4 | С коническим отверстием конусностью 1:30, с внутренним кольцом без бортиков, с направляющим кольцом, со смазочной канавкой и смазочными отверстиями на наружном кольце | |||
20 | - | 0 | С коническим отверстием конусностью 1:12, с внутренним кольцом с бортиками, без среднего бортика, с направляющим кольцом | |
Н | С коническим отверстием конусностью 1:12, с внутренним кольцом с бортиками, без среднего бортика, с направляющим кольцом, со смазочной канавкой и смазочными отверстиями на наружном кольце | |||
33 | Н | 0 | С узлом закрепительной втулки конусностью 1:12, с внутренним кольцом с бортиками, со смазочной канавкой и смазочными отверстиями на наружном кольце | |
35 | - | 0, 3 | С узлом закрепительной втулки конусностью 1:12, с внутренним кольцом без бортиков, с направляющим кольцом | |
Н | С узлом закрепительной втулки конусностью 1:12, с внутренним кольцом без бортиков, с направляющим кольцом, со смазочной канавкой и смазочными отверстиями на наружном кольце | |||
40 | - | 0 | С цилиндрическим отверстием, с внутренним кольцом без бортиков, без направляющего кольца | |
43 | Н | 0, 3, 4 | С цилиндрическим отверстием, с внутренним кольцом с бортиками, со смазочной канавкой и смазочными отверстиями на наружном кольце | |
55 | - | 0, 3 | С цилиндрическим отверстием, с внутренним кольцом с бортиками, без среднего бортика, без направляющего кольца | |
Н | 0, 3, 4 | С цилиндрическим отверстием, с внутренним кольцом с бортиками, без среднего бортика, без направляющего кольца, со смазочной канавкой и смазочными отверстиями на наружном кольце | ||
65 | - | 0 | С коническим внутренним отверстием конусностью 1:12, с внутренним кольцом с бортиками, без среднего бортика, без направляющего кольца | |
Н | С коническим внутренним отверстием конусностью 1:12, с внутренним кольцом с бортиками, без среднего бортика, без направляющего кольца, со смазочной канавкой и смазочными отверстиями на наружном кольце | |||
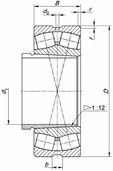
73 | Н | 0 | Со стяжной втулкой конусностью 1:12, с внутренним кольцом с бортиками, со смазочной канавкой и смазочными отверстиями на наружном кольце | |
Н | 4 | Со стяжной втулкой конусностью 1:30, с внутренним кольцом с бортиками, со смазочной канавкой и смазочными отверстиями на наружном кольце | ||
75 | - | 0 | Со стяжной втулкой конусностью 1:12, с внутренним кольцом без бортиков, с направляющим кольцом | |
Н | 0, 3 | Со стяжной втулкой конусностью 1:12, с внутренним кольцом без бортиков, с направляющим кольцом, со смазочной канавкой и смазочными отверстиями на наружном кольце | ||
























Основное условное обозначение подшипника | d | D | B | rsmin |
мм | ||||
3053936Н | 180 | 250 | 52 | 2,0 |
3053944Н | 220 | 300 | 60 | 2,1 |
Основное условное обозначение подшипника конструктивного исполнения | d1 | D | B | rsmin | Узел закрепительной втулки <*> | |
35 | 35Н | мм | ||||
3353122 | - | 110 | 180 | 46 | 2,0 | Н3024 |
- | 3353134Н | 170 | 290 | 75 | 2,1 | Н3038 |
Основное условное обозначение подшипника конструктивного исполнения | d | D | B | rsmin | |||||||||
05 | 05Н | 10 | 10Н | 13Н | 15 | 15Н | 43Н | 55 | 55Н | мм | |||
3053117 | - | - | - | 3133117Н | 3153117 | - | 3433117Н | - | - | 85 | 130 | 34 | 1,1 |
3053118 | - | - | - | 3133118Н | 3153118 | - | 3433118Н | - | - | 90 | 140 | 37 | 1,5 |
3053120 | - | - | - | 3133120Н | 3153120 | - | 3433120Н | - | - | 100 | 150 | 37 | 1,5 |
3053122 | - | - | - | 3133122Н | 3153122 | - | 3433122Н | - | - | 110 | 170 | 45 | 2,0 |
3053124 | - | 3103124 | - | 3133124Н | 3153124 | - | 3433124Н | 3553124 | - | 120 | 180 | 46 | 2,0 |
3053126 | - | 3103126 | - | 3133126Н | 3153126 | - | 3433126Н | 3553126 | - | 130 | 200 | 52 | 2,0 |
- | 3053128Н | - | 3103128Н | 3133128Н | - | 3153128Н | 3433128Н | - | 3553128Н | 140 | 210 | 53 | 2,0 |
- | 3053130Н | - | 3103130Н | 3133130Н | - | 3153130Н | 3433130Н | - | 3553130Н | 150 | 225 | 56 | 2,1 |
- | 3053132Н | - | 3103132Н | 3133132Н | - | 3153132Н | 3433132Н | - | 3553132Н | 160 | 240 | 60 | 2,1 |
- | 3053134Н | - | 3103134Н | 3133134Н | - | 3153134Н | 3433134Н | - | 3553134Н | 170 | 260 | 67 | 2,1 |
- | 3053136Н | - | 3103136Н | 3133136Н | - | 3153136Н | 3433136Н | - | 3553136Н | 180 | 280 | 74 | 2,1 |
- | 3053138Н | - | - | 3133138Н | - | 3153138Н | 3433138Н | - | - | 190 | 290 | 75 | 2,1 |
- | 3053140Н | - | - | 3133140Н | - | 3153140Н | 3433140Н | - | - | 200 | 310 | 82 | 2,1 |
- | 3053144Н | - | - | 3133144Н | - | 3153144Н | 3433144Н | - | - | 220 | 340 | 90 | 3,0 |
- | 3053148Н | - | - | 3133148Н | - | 3153148Н | 3433148Н | - | - | 240 | 360 | 92 | 3,0 |
- | 3053152Н | - | - | 3133152Н | - | 3153152Н | 3433152Н | - | - | 260 | 400 | 104 | 4,0 |
- | 3053156Н | - | - | 3133156Н | - | 3153156Н | 3433156Н | - | - | 280 | 420 | 106 | 4,0 |
- | 3053160Н | - | - | 3133160Н | - | 3153160Н | 3433160Н | - | - | 300 | 460 | 118 | 4,0 |
- | 3053164Н | - | - | 3133164Н | - | 3153164Н | 3433164Н | - | - | 320 | 480 | 121 | 4,0 |
- | 3053168Н | - | - | 3133168Н | - | 3153168Н | 3433168Н | - | - | 340 | 520 | 133 | 5,0 |
- | 3053172Н | - | - | 3133172Н | - | 3153172Н | 3433172Н | - | - | 360 | 540 | 134 | 5,0 |
- | 3053176Н | - | - | 3133176Н | - | 3153176Н | 3433176Н | - | - | 380 | 560 | 135 | 5,0 |
- | 3053180Н | - | - | 3133180Н | - | 3153180Н | 3433180Н | - | - | 400 | 600 | 148 | 5,0 |
- | 3053184Н | - | - | 3133184Н | - | 3153184Н | 3433184Н | - | - | 420 | 620 | 150 | 5,0 |
- | 3053188Н | - | - | 3133188Н | - | 3153188Н | 3433188Н | - | - | 440 | 650 | 157 | 6,0 |
- | 3053192Н | - | - | 3133192Н | - | 3153192Н | 3433192Н | - | - | 460 | 680 | 163 | 6,0 |
- | 3053196Н | - | - | 3133196Н | - | 3153196Н | 3433196Н | - | - | 480 | 700 | 165 | 6,0 |
- | 30531/500Н | - | - | 31331/500Н | - | 31531/500Н | 34331/500Н | - | - | 500 | 720 | 167 | 6,0 |
- | 30531/530Н | - | - | 31331530Н | - | 31531/530Н | 34331/530Н | - | - | 530 | 780 | 185 | 6,0 |
- | 30531/560Н | - | - | 31331/560Н | - | 31531/560Н | 34331/560Н | - | - | 560 | 820 | 195 | 6,0 |
- | 30531/600Н | - | - | 31331/600Н | - | 31531/600Н | 34331/600Н | - | - | 600 | 870 | 200 | 6,0 |
- | 30531/630Н | - | - | 31331/630Н | - | 31531/630Н | 34331/630Н | - | - | 630 | 920 | 212 | 7,5 |
- | 30531/670Н | - | - | 31331/670Н | - | 31531/670Н | 34331/670Н | - | - | 670 | 980 | 230 | 7,5 |
Основное условное обозначение подшипника конструктивного исполнения | d | D | B | rsmin | ||||
05 | 05Н | 15 | 15Н | 55Н | мм | |||
4053124 | - | 4153124 | - | - | 120 | 180 | 60 | 2,0 |
4053126 | - | 4153126 | - | - | 130 | 200 | 69 | 2,0 |
- | 4053128Н | - | 4153128Н | - | 140 | 210 | 69 | 2,0 |
- | 4053130Н | - | 4153130Н | - | 150 | 225 | 75 | 2,1 |
- | 4053132Н | - | 4153132Н | - | 160 | 240 | 80 | 2,1 |
- | 4053134Н | - | 4153134Н | - | 170 | 260 | 90 | 2,1 |
- | 4053136Н | - | 4153136Н | 4553136Н | 180 | 280 | 100 | 2,1 |
- | 4053138Н | - | 4153138Н | - | 190 | 290 | 100 | 2,1 |
- | 4053140Н | - | 4153140Н | - | 200 | 310 | 109 | 2,1 |
- | 4053144Н | - | 4153144Н | - | 220 | 340 | 118 | 3,0 |
- | 4053148Н | - | 4153148Н | - | 240 | 360 | 118 | 3,0 |
- | 4053152Н | - | 4153152Н | - | 260 | 400 | 140 | 4,0 |
- | 4053156Н | - | 4153156Н | - | 280 | 420 | 140 | 4,0 |
- | 4053160Н | - | 4153160Н | - | 300 | 460 | 160 | 4,0 |
- | 4053164Н | - | 4153164Н | - | 320 | 480 | 160 | 4,0 |
- | 4053168Н | - | 4153168Н | - | 340 | 520 | 180 | 5,0 |
- | 4053172Н | - | - | - | 360 | 540 | 180 | 5,0 |
- | 4053176Н | - | - | - | 380 | 560 | 180 | 5,0 |
Основное условное обозначение подшипника конструктивного исполнения | d | D | B | rsmin | |||||||
05 | 05Н | 10Н | 13Н | 15 | 15Н | 43Н | 55Н | мм | |||
3053720 | - | - | 3133720Н | 3153720 | - | 3433720Н | - | 100 | 165 | 52 | 2,0 |
3053722 | - | - | 3133722Н | 3153722 | - | 3433722Н | - | 110 | 180 | 56 | 2,0 |
3053724 | - | - | 3133724Н | 3153724 | - | 3433724Н | - | 120 | 200 | 62 | 2,0 |
- | 3053726Н | - | 3133726Н | - | 3153726Н | 3433726Н | - | 130 | 210 | 64 | 2,0 |
- | 3053728Н | 3103728Н | 3133728Н | - | 3153728Н | 3433728Н | 3553728Н | 140 | 225 | 68 | 2,1 |
- | 3053730Н | 3103730Н | 3133730Н | - | 3153730Н | 3433730Н | 3553730Н | 150 | 250 | 80 | 2,1 |
- | 3053732Н | 3103732Н | 3133732Н | - | 3153732Н | 3433732Н | 3553732Н | 160 | 270 | 86 | 2,1 |
- | 3053734Н | - | 3133734Н | - | 3153734Н | 3433734Н | - | 170 | 280 | 88 | 2,1 |
- | 3053736Н | - | 3133736Н | - | 3153736Н | 3433736Н | - | 180 | 300 | 96 | 3,0 |
- | 3053738Н | - | 3133738Н | - | 3153738Н | 3433738Н | - | 190 | 320 | 104 | 3,0 |
- | 3053740Н | - | 3133740Н | - | 3153740Н | 3433740Н | - | 200 | 340 | 112 | 3,0 |
- | 3053744Н | - | 3133744Н | - | 3153744Н | 3433744Н | - | 220 | 370 | 120 | 4,0 |
- | 3053748Н | - | 3133748Н | - | 3153748Н | 3433748Н | - | 240 | 400 | 128 | 4,0 |
- | 3053752Н | - | 3133752Н | - | 3153752Н | 3433752Н | - | 260 | 440 | 144 | 4,0 |
- | 3053756Н | - | 3133756Н | - | 3153756Н | 3433756Н | - | 280 | 460 | 146 | 5,0 |
- | 3053760Н | - | 3133760Н | - | 3153760Н | 3433760Н | - | 300 | 500 | 160 | 5,0 |
- | 3053764Н | - | 3133764Н | - | 3153764Н | 3433764Н | - | 320 | 540 | 176 | 5,0 |
- | 3053768Н | - | 3133768Н | - | 3153768Н | 3433768Н | - | 340 | 580 | 190 | 5,0 |
- | 3053772Н | - | 3133772Н | - | 3153772Н | 3433772Н | - | 360 | 600 | 192 | 5,0 |
- | 3053776Н | - | 3133776Н | - | 3153776Н | 3433776Н | - | 380 | 620 | 194 | 5,0 |
- | 3053780Н | - | 3133780Н | - | 3153780Н | 3433780Н | - | 400 | 650 | 200 | 6,0 |
- | 3053784Н | - | 3133784Н | - | 3153784Н | 3433784Н | - | 420 | 700 | 224 | 6,0 |
- | 3053788Н | - | 3133788Н | - | 3153788Н | 3433788Н | - | 440 | 720 | 226 | 6,0 |
- | 3053792Н | - | 3133792Н | - | 3152792Н | 3433792Н | - | 460 | 760 | 240 | 7,5 |
- | 3053796Н | - | 3133796Н | - | 3153796Н | 3433796Н | - | 480 | 790 | 248 | 7,5 |
- | 30537/500Н | - | 31337/500Н | - | 31537/500Н | 34337/500 | - | 500 | 830 | 264 | 7,5 |
- | 30537/530Н | - | 31337/530Н | - | 31537/530Н | 34337/530 | - | 530 | 870 | 272 | 7,5 |
- | 30537/560Н | - | 31337/560Н | - | 31537/560Н | 34337/560 | - | 560 | 920 | 280 | 7,5 |
- | 30537/600Н | - | 31337/600 | - | 31537/600Н | 34337/600 | - | 600 | 980 | 300 | 7,5 |
- | 30537/630Н | - | 31337/630Н | - | 31537/630Н | 34337/630 | - | 630 | 1030 | 315 | 7,5 |
Основное условное обозначение подшипника конструктивного исполнения | d1 | D | B | rsmin | Узел закрепительной втулки <*> | |
33Н | 35Н | мм | ||||
3333730Н | 3353730Н | 150 | 280 | 88 | 2,1 | Н3134 |
3333732Н | 3353732Н | 160 | 300 | 96 | 3,0 | Н3136 |
3333734Н | 3353734Н | 170 | 320 | 104 | 3,0 | Н3138 |
Основное условное обозначение подшипника | d1 | D | B | rsmin | Стяжная втулка <*> |
мм | |||||
3753732Н | 160 | 280 | 88 | 2,1 | АН3134 |
3753734Н | 170 | 300 | 96 | 3,0 | АН3136 |
3753736Н | 180 | 320 | 104 | 3,0 | АН3138 |
Основное условное обозначение подшипника конструктивного исполнения | d | D | B | rsmin | ||||||
05 | 05Н | 13Н | 15 | 15Н | 43Н | 55Н | мм | |||
4053722 | - | 4133722Н | 4153722 | - | 4433722Н | - | 110 | 180 | 69 | 2,0 |
4053724 | - | 4133724Н | 4153724 | - | 4433724Н | - | 120 | 200 | 80 | 2,0 |
- | 4053726Н | 4133726Н | - | 4153726Н | 4433726Н | 4553726Н | 130 | 210 | 80 | 2,0 |
- | 4053728Н | 4133728Н | - | 4153728Н | 4433728Н | 4553728Н | 140 | 225 | 85 | 2,1 |
- | 4053730Н | 4133730Н | - | 4153730Н | 4433730Н | - | 150 | 250 | 100 | 2,1 |
- | 4053732Н | 4133732Н | - | 4153732Н | 4433732Н | - | 160 | 270 | 109 | 2,1 |
- | 4053734Н | 4133734Н | - | 4153734Н | 4433734Н | - | 170 | 280 | 109 | 2,1 |
- | 4053736Н | 4133736Н | - | 4153736Н | 4433736Н | 4553736Н | 180 | 300 | 118 | 3,0 |
- | 4053738Н | 4133738Н | - | 4153738Н | 4433738Н | - | 190 | 320 | 128 | 3,0 |
- | 4053740Н | 4133740Н | - | 4153740Н | 4433740Н | - | 200 | 340 | 140 | 3,0 |
- | 4053744Н | 4133744Н | - | 4153744Н | 4433744Н | - | 220 | 370 | 150 | 4,0 |
- | 4053748Н | 4133748Н | - | 4153748Н | 4433748Н | - | 240 | 400 | 160 | 4,0 |
- | 4053752Н | 4133752Н | - | 4153752Н | 4433752Н | - | 260 | 440 | 180 | 4,0 |
- | 4053756Н | 4133756Н | - | 4153756Н | 4433756Н | 4553756Н | 280 | 460 | 180 | 5,0 |
- | 4053760Н | 4133760Н | - | 4153760Н | 4433760Н | - | 300 | 500 | 200 | 5,0 |
- | - | - | - | - | 4433780Н | - | 400 | 650 | 250 | 6,0 |
- | - | - | - | - | 4433784Н | - | 420 | 700 | 280 | 6,0 |
- | - | 41337/600Н | - | - | - | - | 600 | 980 | 375 | 7,5 |
Основное условное обозначение подшипника конструктивного исполнения | d | D | B | rsmin | ||||||
05 | 05Н | 10 | 10Н | 13Н | 15 | 15Н | мм | |||
53505 | - | - | - | - | 153505 | - | 25 | 52 | 18 | 1,0 |
53506 | - | - | - | - | 153506 | - | 30 | 62 | 20 | 1,0 |
53507 | - | - | - | - | 153507 | - | 35 | 72 | 23 | 1,1 |
53508 | - | - | - | - | 153508 | - | 40 | 80 | 23 | 1,1 |
53509 | - | - | - | - | 153509 | - | 45 | 85 | 23 | 1,1 |
53510 | 53510Н | - | - | 133510Н | 153510 | - | 50 | 90 | 23 | 1,1 |
53511 | 53511Н | - | - | 133511Н | 153511 | - | 55 | 100 | 25 | 1,5 |
53512 | 53512Н | - | - | 133512Н | 153512 | - | 60 | 110 | 28 | 1,5 |
53513 | 53513Н | - | - | 133513Н | 153513 | - | 65 | 120 | 31 | 1,5 |
53514 | 53514Н | - | - | 133514Н | 153514 | - | 70 | 125 | 31 | 1,5 |
53515 | 53515Н | - | - | 133515Н | 153515 | - | 75 | 130 | 31 | 1,5 |
53516 | 53516Н | - | - | 133516Н | 153516 | - | 80 | 140 | 33 | 2,0 |
53517 | 53517Н | - | - | 133517Н | 153517 | - | 85 | 150 | 36 | 2,0 |
53518 | 53518Н | - | - | 133518Н | 153518 | - | 90 | 160 | 40 | 2,0 |
53519 | 53519Н | - | - | 133519Н | 153519 | - | 95 | 170 | 43 | 2,1 |
53520 | 53520Н | - | - | 133520Н | 153520 | - | 100 | 180 | 46 | 2,1 |
53522 | 53522Н | 103522 | - | 133522Н | 153522 | - | 110 | 200 | 53 | 2,1 |
- | 53524Н | - | 103524Н | 133524Н | - | 153524Н | 120 | 215 | 58 | 2,1 |
- | 53526Н | - | 103526Н | 133526Н | - | 153526Н | 130 | 230 | 64 | 3,0 |
- | 53528Н | - | 103528Н | 133528Н | - | 153528Н | 140 | 250 | 68 | 3,0 |
- | 53530Н | - | 103530Н | 133530Н | - | 153530Н | 150 | 270 | 73 | 3,0 |
- | 53532Н | - | 103532Н | 133532Н | - | 153532Н | 160 | 290 | 80 | 3,0 |
- | 53534Н | - | 103534Н | 133534Н | - | 153534Н | 170 | 310 | 86 | 4,0 |
- | 53536Н | - | 103536Н | 133536Н | - | 153536Н | 180 | 320 | 86 | 4,0 |
- | 53538Н | - | - | 133538Н | - | 153538Н | 190 | 340 | 92 | 4,0 |
- | 53540Н | - | - | 133540Н | - | 153540Н | 200 | 360 | 98 | 4,0 |
- | 53544Н | - | - | 133544Н | - | 153544Н | 220 | 400 | 108 | 4,0 |
- | 53548Н | - | - | - | - | 153548Н | 240 | 440 | 120 | 4,0 |
- | 53552Н | - | - | - | - | 153552Н | 260 | 480 | 130 | 5,0 |
- | 53556Н | - | - | - | - | 153556Н | 280 | 500 | 130 | 5,0 |
- | 53560Н | - | - | - | - | 153560Н | 300 | 540 | 140 | 5,0 |
- | 53564Н | - | - | - | - | 153564Н | 320 | 580 | 150 | 5,0 |
- | 53568Н | - | - | - | - | 153568Н | 340 | 620 | 165 | 6,0 |
- | 53572Н | - | - | - | - | 153572Н | 360 | 650 | 170 | 6,0 |
- | 53576Н | - | - | - | - | 153576Н | 380 | 680 | 175 | 6,0 |
- | 53580Н | - | - | - | - | 153580Н | 400 | 720 | 185 | 6,0 |
Основное условное обозначение подшипника конструктивного исполнения | d | D | B | rsmin | ||||||
20 | 20Н | 43Н | 55 | 55Н | 65 | 65Н | мм | |||
- | - | - | 553505 | - | - | - | 25 | 52 | 18 | 1,0 |
- | - | - | 553506 | - | - | - | 30 | 62 | 20 | 1,0 |
- | - | - | 553507 | - | - | - | 35 | 72 | 23 | 1,1 |
- | - | - | 553508 | - | - | - | 40 | 80 | 23 | 1,1 |
- | - | - | 553509 | - | - | - | 45 | 85 | 23 | 1,1 |
- | - | 433510Н | 553510 | - | - | - | 50 | 90 | 23 | 1,1 |
- | - | 433511Н | 553511 | - | - | - | 55 | 100 | 25 | 1,5 |
- | - | 433512Н | 553512 | - | - | - | 60 | 110 | 28 | 1,5 |
- | - | 433513Н | 553513 | - | - | - | 65 | 120 | 31 | 1,5 |
- | - | 433514Н | - | - | - | - | 70 | 125 | 31 | 1,5 |
- | - | 433515Н | - | - | - | - | 75 | 130 | 31 | 1,5 |
- | - | 433516Н | 553516 | - | - | - | 80 | 140 | 33 | 2,0 |
- | - | 433517Н | 553517 | - | - | - | 85 | 150 | 36 | 2,0 |
- | - | 433518Н | 553518 | - | 653518 | - | 90 | 160 | 40 | 2,0 |
- | - | 433519Н | 553519 | - | - | - | 95 | 170 | 43 | 2,1 |
- | - | 433520Н | 553520 | - | 653520 | - | 100 | 180 | 46 | 2,1 |
203522 | - | 433522Н | 553522 | - | 653522 | - | 110 | 200 | 53 | 2,1 |
- | 203524Н | 433524Н | - | 553524Н | - | 653524Н | 120 | 215 | 58 | 2,1 |
- | - | 433526Н | - | 553526Н | - | - | 130 | 230 | 64 | 3,0 |
- | 203528Н | 433528Н | - | 553528Н | - | 653528Н | 140 | 250 | 68 | 3,0 |
- | 203530Н | 433530Н | - | 553530Н | - | 653530Н | 150 | 270 | 73 | 3,0 |
- | 203532Н | 433532Н | - | 553532Н | - | 653532Н | 160 | 290 | 80 | 3,0 |
- | - | 433534Н | - | 553534Н | - | - | 170 | 310 | 86 | 4,0 |
- | - | 433536Н | - | 553536Н | - | - | 180 | 320 | 86 | 4,0 |
- | - | 433538Н | - | - | - | - | 190 | 340 | 92 | 4,0 |
- | - | 433540Н | - | - | - | - | 200 | 360 | 98 | 4,0 |
- | - | 433544Н | - | - | - | - | 220 | 400 | 108 | 4,0 |
- | - | 433548Н | - | - | - | - | 240 | 440 | 120 | 4,0 |
- | - | 433552Н | - | - | - | - | 260 | 480 | 130 | 5,0 |
- | - | 433556Н | - | - | - | - | 280 | 500 | 130 | 5,0 |
Основное условное обозначение подшипника конструктивного исполнения | d1 | D | B | rsmin | Узел закрепительной втулки <*> | ||
33Н | 35 | 35Н | мм | ||||
- | 353506 | - | 30 | 72 | 23 | 1,1 | Н307 |
- | 353507 | - | 35 | 80 | 23 | 1,1 | Н308 |
- | 353508 | - | 40 | 85 | 23 | 1,1 | Н309 |
- | 353509 | - | 45 | 90 | 23 | 1,1 | Н310 |
333510Н | 353510 | - | 50 | 100 | 25 | 1,5 | Н311 |
333511Н | 353511 | - | 55 | 110 | 28 | 1,5 | Н312 |
333512Н | 353512 | - | 60 | 120 | 31 | 1,5 | Н313 |
333513Н | 353513 | - | 65 | 130 | 31 | 1,5 | Н315 |
333514Н | 353514 | - | 70 | 140 | 33 | 2,0 | Н316 |
333515Н | 353515 | - | 75 | 150 | 36 | 2,0 | Н317 |
333516Н | 353516 | - | 80 | 160 | 40 | 2,0 | Н318 |
333518Н | 353518 | - | 90 | 180 | 46 | 2,1 | Н320 |
333520Н | 353520 | - | 100 | 200 | 53 | 2,1 | Н322 |
333522Н | - | 353522Н | 110 | 215 | 58 | 2,1 | Н3124 |
333523Н | - | 353523Н | 115 | 230 | 64 | 3,0 | Н3126 |
333525Н | - | 353525Н | 125 | 250 | 68 | 3,0 | Н3128 |
333527Н | - | 353527Н | 135 | 270 | 73 | 3,0 | Н3130 |
333528Н | - | 353528Н | 140 | 290 | 80 | 3,0 | Н3132 |
333530Н | - | 353530Н | 150 | 310 | 86 | 4,0 | Н3134 |
333532Н | - | 353532Н | 160 | 320 | 86 | 4,0 | Н3136 |
333534Н | - | 353534Н | 170 | 340 | 92 | 4,0 | Н3138 |
333536Н | - | 353536Н | 180 | 360 | 98 | 4,0 | Н3140 |
333540Н | - | 353540Н | 200 | 400 | 108 | 4,0 | Н3144Х |
333544Н | - | 353544Н | 220 | 440 | 120 | 4,0 | Н3148Х |
333548Н | - | 353548Н | 240 | 480 | 130 | 5,0 | Н3152Х |
333552Н | - | 353552Н | 260 | 500 | 130 | 5,0 | Н3156Х |
333556Н | - | 353556Н | 280 | 540 | 140 | 5,0 | Н3160 |
333560Н | - | 353560Н | 300 | 580 | 150 | 5,0 | Н3164 |
Основное условное обозначение подшипника конструктивного исполнения | d1 | D | B | rsmin | Стяжная втулка <*> | ||
73Н | 75 | 75Н | мм | ||||
- | 753507 | - | 35 | 80 | 23 | 1,1 | АН308 |
- | 753508 | - | 40 | 85 | 23 | 1,1 | АН309 |
- | 753509 | - | 45 | 90 | 23 | 1,1 | АН310Х |
- | 753510 | - | 50 | 100 | 25 | 1,5 | АН311Х |
- | 753511 | - | 55 | 110 | 28 | 1,5 | АН312Х |
- | 753512 | - | 60 | 120 | 31 | 1,5 | АН313 |
- | 753513 | - | 65 | 125 | 31 | 1,5 | АН314Х |
- | 753514 | - | 70 | 130 | 31 | 1,5 | АН315 |
- | 753515 | - | 75 | 140 | 33 | 2,0 | АН316 |
- | 753516 | - | 80 | 150 | 36 | 2,0 | АН317Х |
- | 753517 | - | 85 | 160 | 40 | 2,0 | АН318Х |
- | 753519 | - | 95 | 180 | 46 | 2,1 | АН320Х |
- | 753521 | - | 105 | 200 | 53 | 2,1 | АН322Х |
- | - | 753523Н | 115 | 215 | 58 | 2,1 | АН324Х |
- | - | 753525Н | 125 | 230 | 64 | 3,0 | АН326Х |
- | - | 753527Н | 135 | 250 | 68 | 3,0 | АН328Х |
- | - | 753529Н | 145 | 270 | 73 | 3,0 | АН330Х |
- | - | 753530Н | 150 | 290 | 80 | 3,0 | АН332 |
- | - | 753532Н | 160 | 310 | 86 | 4,0 | АН334 |
- | - | 753534Н | 170 | 320 | 86 | 4,0 | АН2236 |
733536Н | - | 753536Н | 180 | 340 | 92 | 4,0 | АН2238 |
- | - | 753538Н | 190 | 360 | 98 | 4,0 | АН2240 |
- | - | 753540Н | 200 | 400 | 108 | 4,0 | АН2244 |
733544Н | - | - | 220 | 440 | 120 | 4,0 | АН2248 |
Основное условное обозначение подшипника конструктивного исполнения | d | D | B | rsmin | |||||||||
05 | 05Н | 10 | 10Н | 13Н | 15 | 15Н | 43Н | 55 | 55Н | мм | |||
- | - | - | - | - | - | - | - | 3553205 | - | 25 | 52 | 20,6 | 1,0 |
3053218 | - | - | - | 3133218Н | 3153218 | - | 3433218Н | - | - | 90 | 160 | 52,4 | 2,0 |
3053220 | - | 3103220 | - | 3133220Н | 3153220 | - | 3433220Н | 3553220 | - | 100 | 180 | 60,3 | 2,1 |
3053222 | - | 3103222 | - | 3133222Н | 3153222 | - | 3433222Н | - | 3553222Н | 110 | 200 | 69,8 | 2,1 |
- | 3053224Н | - | 3103224Н | 3133224Н | - | 3153224Н | 3433224Н | - | 3553224Н | 120 | 215 | 76,0 | 2,1 |
- | 3053226Н | - | 3103226Н | 3133226Н | - | 3153226Н | 3433226Н | - | 3553226Н | 130 | 230 | 80,0 | 3,0 |
- | 3053228Н | - | 3103228Н | 3133228Н | - | 3153228Н | 3433228Н | - | 3553228Н | 140 | 250 | 88,0 | 3,0 |
- | 3053230Н | - | 3103230Н | 3133230Н | - | 3153230Н | 3433230Н | - | 3553230Н | 150 | 270 | 96,0 | 3,0 |
- | 3053232Н | - | 3103232Н | 3133232Н | - | 3153232Н | 3433232Н | - | 3553232Н | 160 | 290 | 104,0 | 3,0 |
- | 3053234Н | - | - | 3133234Н | - | 3153234Н | 3433234Н | - | - | 170 | 310 | 110,0 | 4,0 |
- | 3053236Н | - | - | 3133236Н | - | 3153236Н | 3433236Н | - | - | 180 | 320 | 112,0 | 4,0 |
- | 3053238Н | - | - | 3133238Н | - | 3153238Н | 3433238Н | - | - | 190 | 340 | 120,0 | 4,0 |
- | 3053240Н | - | - | 3133240Н | - | 3153240Н | 3433240Н | - | - | 200 | 360 | 128,0 | 4,0 |
- | 3053244Н | - | - | 3133244Н | - | 3153244Н | 3433244Н | - | - | 220 | 400 | 144,0 | 4,0 |
- | 3053248Н | - | - | 3133248Н | - | 3153248Н | 3433248Н | - | - | 240 | 440 | 160,0 | 4,0 |
- | 3053252Н | - | - | 3133250Н | - | 3153252Н | 3433252Н | - | - | 260 | 480 | 174,0 | 5,0 |
- | 3053256Н | - | - | 3133256Н | - | 3153256Н | 3433256Н | - | - | 280 | 500 | 176,0 | 5,0 |
- | 3053260Н | - | - | 3133260Н | - | 3153260Н | 3433260Н | - | - | 300 | 540 | 192,0 | 5,0 |
- | 3053264Н | - | - | 3133264Н | - | 3153264Н | 3433264Н | - | - | 320 | 580 | 208,0 | 5,0 |
- | 3053268Н | - | - | 3133268Н | - | 3153268Н | 3433268Н | - | - | 340 | 620 | 224,0 | 6,0 |
- | 3053272Н | - | - | 3133272Н | - | 3153272Н | 3433272Н | - | - | 360 | 650 | 232,0 | 6,0 |
- | 3053276Н | - | - | 3133276Н | - | 3153276Н | 3433276Н | - | - | 380 | 680 | 240,0 | 6,0 |
- | 3053280Н | - | - | 3133280Н | - | 3153280Н | 3433280Н | - | - | 400 | 720 | 256,0 | 6,0 |
- | 3053284Н | - | - | 3133284Н | - | 3153284Н | 3433284Н | - | - | 420 | 760 | 272,0 | 7,5 |
- | 3053288Н | - | - | 3133288Н | - | 3153288Н | 3433288Н | - | - | 440 | 790 | 280,0 | 7,5 |
- | 3053292Н | - | - | 3133292Н | - | 3153292Н | 3433292Н | - | - | 460 | 830 | 296,0 | 7,5 |
- | 3053296Н | - | - | 3133296Н | - | 3153296Н | 3433296Н | - | - | 480 | 870 | 310,0 | 7,5 |
- | 30532/500Н | - | - | 31332/500Н | - | 31532/500Н | 34332/500Н | - | - | 500 | 920 | 336,0 | 7,5 |
- | 30532/530Н | - | - | 31332/530Н | - | 31532/530Н | 34332/530Н | - | - | 530 | 980 | 355,0 | 9,5 |
Основное условное обозначение подшипника конструктивного исполнения | d1 | D | B | rsmin | Узел закрепительной втулки <*> | |
35 | 35Н | мм | ||||
- | 3353228Н | 140 | 290 | 104 | 3,0 | Н2332 |
3353234 | - | 170 | 340 | 120 | 4,0 | Н2338 |
Основное условное обозначение подшипника конструктивного исполнения | d | D | B | rsmin | ||||||||
05 | 05Н | 10 | 10Н | 13Н | 15 | 15Н | 20 | 20Н | мм | |||
53608 | 53608Н | - | - | 133608Н | 153608 | - | - | - | 40 | 90 | 33 | 1,5 |
53609 | 53609Н | - | - | 133609Н | 153609 | - | - | - | 45 | 100 | 36 | 1,5 |
53610 | 53610Н | - | - | 133610Н | 153610 | - | - | - | 50 | 110 | 40 | 2,0 |
53611 | 53611Н | - | - | 133611Н | 153611 | - | - | - | 55 | 120 | 43 | 2,0 |
53612 | 53612Н | - | - | 133612Н | 153612 | - | - | - | 60 | 130 | 46 | 2,1 |
53613 | 53613Н | - | - | 133613Н | 153613 | - | - | - | 65 | 140 | 48 | 2,1 |
53614 | 53614Н | - | - | 133614Н | 153614 | - | - | - | 70 | 150 | 51 | 2,1 |
53615 | 53615Н | - | - | 133615Н | 153615 | - | - | - | 75 | 160 | 55 | 2,1 |
53616 | 53616Н | - | - | 133616Н | 153616 | - | - | - | 80 | 170 | 58 | 2,1 |
53617 | 53617Н | - | - | 133617Н | 153617 | - | - | - | 85 | 180 | 60 | 3,0 |
53618 | 53618Н | 103618 | - | 133618Н | 153618 | - | 203618 | - | 90 | 190 | 64 | 3,0 |
53619 | 53619Н | 103619 | - | 133619Н | 153619 | - | - | - | 95 | 200 | 67 | 3,0 |
- | 53620Н | - | 103620Н | 133620Н | - | 153620Н | - | 203620Н | 100 | 215 | 73 | 3,0 |
- | 53622Н | - | 103622Н | 133622Н | - | 153622Н | - | - | 110 | 240 | 80 | 3,0 |
- | 53624Н | - | 103624Н | 133624Н | - | 153624Н | - | 203624Н | 120 | 260 | 86 | 3,0 |
- | 53626Н | - | 103626Н | 133626Н | - | 153626Н | - | 203626Н | 130 | 280 | 93 | 4,0 |
- | 53628Н | - | 103628Н | 133628Н | - | 153628Н | - | 203628Н | 140 | 300 | 102 | 4,0 |
- | 53630Н | - | 103630Н | 133630Н | - | 153630Н | - | - | 150 | 320 | 108 | 4,0 |
- | 53632Н | - | - | 133632Н | - | 153632Н | - | - | 160 | 340 | 114 | 4,0 |
- | 53634Н | - | - | 133634Н | - | 153634Н | - | - | 170 | 360 | 120 | 4,0 |
- | 53636Н | - | - | 133636Н | - | 153636Н | - | - | 180 | 380 | 126 | 4,0 |
- | 53638Н | - | - | 133638Н | - | 153638Н | - | - | 190 | 400 | 132 | 5,0 |
- | 53640Н | - | - | 133640Н | - | 153640Н | - | - | 200 | 420 | 138 | 5,0 |
- | 53644Н | - | - | 133644Н | - | 153644Н | - | - | 220 | 460 | 145 | 5,0 |
- | 53648Н | - | - | 133648Н | - | 153648Н | - | - | 240 | 500 | 155 | 5,0 |
- | 53652Н | - | - | 133652Н | - | 153652Н | - | - | 260 | 540 | 165 | 6,0 |
- | 53656Н | - | - | 133656Н | - | 153656Н | - | - | 280 | 580 | 175 | 6,0 |
- | 53664Н | - | - | 133664Н | - | 153664Н | - | - | 320 | 670 | 200 | 7,5 |
- | 53672Н | - | - | 133672Н | - | 153672Н | - | - | 360 | 750 | 224 | 7,5 |
- | 53680Н | - | - | 133680Н | - | 153680Н | - | - | 400 | 820 | 243 | 7,5 |
Основное условное обозначение подшипника конструктивного исполнения | d | D | B | rsmin | |||||
40 | 43Н | 55 | 55Н | 65 | 65Н | мм | |||
- | 433608Н | - | - | - | - | 40 | 90 | 33 | 1,5 |
- | 433609Н | - | - | - | - | 45 | 100 | 36 | 1,5 |
- | 433610Н | 553610 | - | - | - | 50 | 110 | 40 | 2,0 |
- | 433611Н | - | - | - | - | 55 | 120 | 43 | 2,0 |
- | 433612Н | 553612 | - | - | - | 60 | 130 | 46 | 2,1 |
- | 433613Н | - | - | - | - | 65 | 140 | 48 | 2,1 |
- | 433614Н | 553614 | - | - | - | 70 | 150 | 51 | 2,1 |
- | 433615Н | 553615 | - | - | - | 75 | 160 | 55 | 2,1 |
403616 | 433616Н | 553616 | - | - | - | 80 | 170 | 58 | 2,1 |
- | 433617Н | 553617 | - | - | - | 85 | 180 | 60 | 3,0 |
403618 | 433618Н | 553618 | - | 653618 | - | 90 | 190 | 64 | 3,0 |
- | 433619Н | 553619 | - | - | - | 95 | 200 | 67 | 3,0 |
- | 433620Н | - | 553620Н | - | 653620Н | 100 | 215 | 73 | 3,0 |
- | 433622Н | - | 553622Н | - | - | 110 | 240 | 80 | 3,0 |
- | 433624Н | - | 553624Н | - | 653624Н | 120 | 260 | 86 | 3,0 |
- | 433626Н | - | 553626Н | - | 653626Н | 130 | 280 | 93 | 4,0 |
- | 433628Н | - | 553628Н | - | 653628Н | 140 | 300 | 102 | 4,0 |
- | 433630Н | - | 553630Н | - | - | 150 | 320 | 108 | 4,0 |
- | 433632Н | - | - | - | - | 160 | 340 | 114 | 4,0 |
- | 433634Н | - | - | - | - | 170 | 360 | 120 | 4,0 |
- | 433636Н | - | - | - | - | 180 | 380 | 126 | 4,0 |
- | 433638Н | - | - | - | - | 190 | 400 | 132 | 5,0 |
- | 433640Н | - | - | - | - | 200 | 420 | 138 | 5,0 |
- | 433644Н | - | - | - | - | 220 | 460 | 145 | 5,0 |
- | 433648Н | - | - | - | - | 240 | 500 | 155 | 5,0 |
- | 433652Н | - | - | - | - | 260 | 540 | 165 | 6,0 |
433656Н | 280 | 580 | 175 | 6,0 | |||||
433680Н | 400 | 820 | 243 | 7,5 | |||||
Основное условное обозначение подшипника конструктивного исполнения | d1 | D | B | rsmin | Стяжная втулка <*> | ||
73Н | 75 | 75Н | мм | ||||
- | 753607 | - | 35 | 90 | 33 | 1,5 | АН2308 |
- | 753608 | - | 40 | 100 | 36 | 1,5 | АН2309 |
- | 753609 | - | 45 | 110 | 40 | 2,0 | АН2310Х |
- | 753610 | - | 50 | 120 | 43 | 2,0 | АН2311Х |
- | 753611 | - | 55 | 130 | 46 | 2,1 | АН2312Х |
- | 753612 | - | 60 | 140 | 48 | 2,1 | АН2313 |
- | 753613 | - | 65 | 150 | 51 | 2,1 | АН2314Х |
- | 753614 | - | 70 | 160 | 55 | 2,1 | АН2315Х |
- | 753615 | - | 75 | 170 | 58 | 2,1 | АН2316Х |
- | 753616 | - | 80 | 180 | 60 | 3,0 | АН2317Х |
- | 753617 | - | 85 | 190 | 64 | 3,0 | АН2318Х |
733618Н | - | 753618Н | 90 | 200 | 67 | 3,0 | - |
733619Н | - | 753619Н | 95 | 215 | 73 | 3,0 | АН2320Х |
733621Н | - | 753621Н | 105 | 240 | 80 | 3,0 | АН2322Х |
733623Н | - | 753623Н | 115 | 260 | 86 | 3,0 | АН2324Х |
733625Н | - | 753625Н | 125 | 280 | 93 | 4,0 | АН2326Х |
733627Н | - | 753627Н | 135 | 300 | 102 | 4,0 | АН2328Х |
733630Н | - | 753630Н | 150 | 340 | 114 | 4,0 | АН2332 |
733632Н | - | 753632Н | 160 | 360 | 120 | 4,0 | АН2334 |
733634Н | - | 753634Н | 170 | 380 | 126 | 4,0 | АН2336 |
733636Н | - | 753636Н | 180 | 400 | 132 | 5,0 | АН2338 |
733638Н | - | 753638Н | 190 | 420 | 138 | 5,0 | АН2340 |
733640Н | - | 753640Н | 200 | 460 | 145 | 5,0 | АН2344 |
733644Н | - | 753644Н | 220 | 500 | 155 | 5,0 | АН2346 |
733648Н | - | 753648Н | 240 | 540 | 165 | 6,0 | АН2352 |
733652Н | - | 753652Н | 260 | 580 | 175 | 6,0 | АН2356 |
Основное условное обозначение подшипника конструктивного исполнения | d1 | D | B | rsmin | Узел закрепительной втулки <*> | ||
33Н | 35 | 35Н | мм | ||||
333607Н | 353607 | - | 35 | 90 | 33 | 1,5 | Н2308 |
333608Н | 353608 | - | 40 | 100 | 36 | 1,5 | Н2309 |
333609Н | 353609 | - | 45 | 110 | 40 | 2,0 | Н2310 |
333610Н | 353610 | - | 50 | 120 | 43 | 2,0 | Н2311 |
333611Н | 353611 | - | 55 | 130 | 46 | 2,1 | Н2312 |
333612Н | 353612 | - | 60 | 140 | 48 | 2,1 | Н2313 |
333613Н | 353613 | - | 65 | 160 | 55 | 2,1 | Н2315 |
333614Н | 353614 | - | 70 | 170 | 58 | 2,1 | Н2316 |
333615Н | 353615 | - | 75 | 180 | 60 | 3,0 | Н2317 |
333616Н | 353616 | - | 80 | 190 | 64 | 3,0 | Н2318 |
333617Н | 353617 | - | 85 | 200 | 67 | 3,0 | - |
333618Н | - | 353618Н | 90 | 215 | 73 | 3,0 | Н2320 |
333620Н | - | 353620Н | 100 | 240 | 80 | 3,0 | Н2322 |
333622Н | - | 353622Н | 110 | 260 | 86 | 3,0 | Н2324 |
333623Н | - | 353623Н | 115 | 280 | 93 | 4,0 | Н2326 |
333625Н | - | 353625Н | 125 | 300 | 102 | 4,0 | Н2328 |
333628Н | - | 353628Н | 140 | 340 | 114 | 4,0 | Н2332 |
333630Н | - | 353630Н | 150 | 360 | 120 | 4,0 | Н2334 |
333632Н | - | 353632Н | 160 | 380 | 126 | 4,0 | Н2336 |
333634Н | - | 353634Н | 170 | 400 | 132 | 5,0 | Н2338 |
333636Н | - | 353636Н | 180 | 420 | 138 | 5,0 | Н2340 |
333640Н | - | 353640Н | 200 | 460 | 145 | 5,0 | Н2344Х |
333644Н | - | 353644Н | 220 | 500 | 155 | 5,0 | Н2348Х |
333648Н | - | 353648Н | 240 | 540 | 165 | 6,0 | Н2352Х |
333652Н | - | 353652Н | 260 | 580 | 175 | 6,0 | Н2356Х |
Основное условное обозначение подшипника конструктивного исполнения | d1 | D | B | rsmin | |||
05Н | 10Н | 55 | 55Н | мм | |||
- | - | 3553318 | - | 90 | 190 | 73 | 3,0 |
3053322Н | 3103322Н | - | 3553322Н | 110 | 240 | 92,1 | 3,0 |
b | d0 | Номинальный наружный диаметр подшипника | |||||||||||||||||
Серия диаметров | |||||||||||||||||||
9 | 1 | 1 | 7 | 7 | 5 | 2 | 6 | 3 | |||||||||||
Серия ширин | |||||||||||||||||||
3 | 3 | 4 | 3 | 4 | 0 | 3 | 0 | 3 | |||||||||||
мин. | макс. | мин. | макс. | мин. | макс. | мин. | макс. | мин. | макс. | мин. | макс. | мин. | макс. | мин. | макс. | мин. | макс. | ||
6,3 | 2,8 | - | - | - | - | 180 | 225 | - | - | 180 | 210 | 52 | 160 | 52 | 150 | 90 | 130 | - | - |
8,0 | 3,2 | - | - | 170 | 225 | 240 | 290 | 165 | 180 | 225 | 280 | 170 | 200 | 160 | 215 | 140 | 180 | - | - |
11,0 | 5,0 | 250 | 380 | 240 | 260 | 310 | 420 | 200 | 225 | 300 | 400 | 215 | 250 | 230 | 250 | 190 | 215 | 190 | 215 |
14,0 | 6,3 | - | - | 280 | 310 | 460 | 480 | 250 | 270 | 440 | 460 | 270 | 290 | 270 | 320 | 240 | 260 | 240 | 260 |
16,0 | 7,1 | - | - | 340 | 480 | 520 | 560 | 280 | 370 | 460 | 700 | 310 | 400 | 340 | 500 | 280 | 360 | - | - |
22,0 | 9,0 | - | - | 520 | 980 | - | - | 400 | 1030 | 700 | 980 | 440 | 720 | 540 | 980 | 380 | 820 | - | - |
УДК 621.822.8:006.354 | МКС 21.100.20 |
Ключевые слова: подшипники качения, роликовый подшипник, сферический подшипник, двухрядный подшипник с симметричными роликами, классификация, присоединительные размеры, технические требования, указания по применению и эксплуатации | |