Краткое наименование страны по МК (ИСО 3166) 004-97 | Код страны по МК (ИСО 3166) 004-97 | Сокращенное наименование национального органа по стандартизации |
Азербайджан | AZ | Азстандарт |
Армения | AM | ЗАО "Национальный орган по стандартизации и метрологии" Республики Армения |
Беларусь | BY | Госстандарт Республики Беларусь |
Казахстан | KZ | Госстандарт Республики Казахстан |
Киргизия | KG | Кыргызстандарт |
Россия | RU | Росстандарт |
Узбекистан | UZ | Узбекское агентство по техническому регулированию |
Обозначение конструктивного исполнения | Описание конструктивного исполнения | Рисунок <*> | |
основного | дополнительного | ||
29 | - | Без внутреннего кольца | |
Н | Без внутреннего кольца со смещенным интервалом допуска диаметра комплекта цилиндрических роликов | ||
А | Без внутреннего кольца с уменьшенной шириной бортика | ||
50 | - | Без наружного кольца | |


Основное условное обозначение подшипника | D | B | Fw | da | a | rs min | ras max | ||
Верхнее | Нижнее | ||||||||
1292822 | 140 | 16 | 117,5 | +0,055 | +0,040 | 120,5 | 4,0 | 1,0 | 0,2 |
1292834 | 215 | 22 | 181,5 | +0,085 | +0,060 | 183,0 | 5,5 | 1,1 | 0,4 |
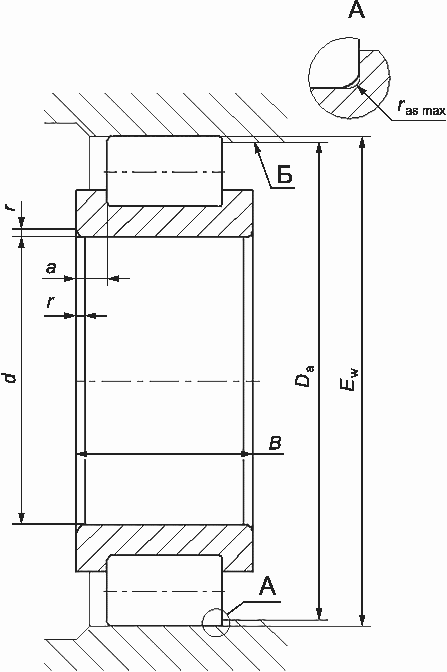
Основное условное обозначение подшипника | d | B | Ew | Da | a | rs min | ras max | ||
Верхнее | Нижнее | ||||||||
1502817 | 85 | 13 | 104,0 | -0,025 | -0,040 | - | 3,5 | 1,0 | 0,1 |
1502818 | 90 | 13 | 108,5 | -0,025 | -0,040 | - | 3,5 | 1,0 | 0,1 |
Основное условное обозначение подшипника | D | B | Fw | da | a | rs min | ras max | ||
Верхнее | Нижнее | ||||||||
1292909 | 68 | 12 | 50,5 | +0,035 | +0,020 | 52,5 | 3,0 | 0,6 | 0,1 |
1292926 | 180 | 24 | 143,0 | +0,060 | +0,045 | 148,0 | 6,0 | 1,5 | 0,4 |
1292928 | 190 | 24 | 153,0 | +0,070 | +0,045 | 154,5 | 6,0 | 1,5 | 0,4 |
1292948 | 320 | 38 | 260,0 | +0,110 | +0,075 | 268,0 | 9,0 | 2,1 | 0,6 |
Основное условное обозначение подшипника | D | B | Fw | da | a | rs min | ras max | ||
Верхнее | Нижнее | ||||||||
292105Н | 47 | 12 | 30,5 | +0,015 | 0 | 32,4 | 3,25 | 0,6 | 0,1 |
292106 | 55 | 13 | 36,5 | +0,030 | +0,015 | 38,9 | 3,50 | 1,0 | 0,1 |
292106Н | 55 | 13 | 36,5 | +0,015 | 0 | 38,9 | 3,50 | 1,0 | 0,1 |
292107Н | 62 | 14 | 42,0 | +0,015 | 0 | 44,5 | 3,75 | 1,0 | 0,2 |
292108Н | 68 | 15 | 47,0 | +0,015 | 0 | 49,7 | 4,00 | 1,0 | 0,2 |
292109 | 75 | 16 | 52,0 | +0,035 | +0,020 | 53,5 | 3,00 | 1,0 | 0,2 |
292109Н | 75 | 16 | 52,5 | +0,015 | 0 | 55,3 | 4,25 | 1,0 | 0,2 |
292110 | 80 | 16 | 57,5 | +0,035 | +0,020 | 60,5 | 4,25 | 1,0 | 0,2 |
292110Н | 80 | 16 | 57,5 | +0,015 | 0 | 60,5 | 4,25 | 1,0 | 0,2 |
292111 | 90 | 18 | 63,5 | +0,040 | +0,025 | 65,0 | 5,00 | 1,1 | 0,2 |
292111Н | 90 | 18 | 64,5 | +0,020 | 0 | 67,7 | 5,00 | 1,1 | 0,2 |
292112Н | 95 | 18 | 69,5 | +0,020 | 0 | 72,7 | 5,00 | 1,1 | 0,2 |
292113Н | 100 | 18 | 74,5 | +0,020 | 0 | 77,5 | 5,00 | 1,1 | 0,2 |
292114 | 110 | 20 | 80,0 | +0,090 | +0,070 | 84,0 | 5,00 | 1,1 | 0,2 |
292114Н | 110 | 20 | 80,0 | +0,020 | 0 | 84,0 | 5,00 | 1,1 | 0,2 |
292115Н | 115 | 20 | 85,0 | +0,020 | 0 | 89,0 | 5,00 | 1,1 | 0,2 |
292116Н | 125 | 22 | 91,5 | +0,020 | 0 | 95,9 | 5,50 | 1,1 | 0,4 |
292117Н | 130 | 22 | 96,5 | +0,020 | 0 | 100,8 | 5,50 | 1,1 | 0,4 |
292118Н | 140 | 24 | 103,0 | +0,020 | 0 | 107,8 | 6,00 | 1,5 | 0,4 |
292120Н | 150 | 24 | 113,0 | +0,020 | 0 | 117,5 | 6,00 | 1,5 | 0,4 |
292122 | 170 | 28 | 125,0 | +0,055 | +0,040 | 128,0 | 6,50 | 2,0 | 0,4 |
292122Н | 170 | 28 | 125,0 | +0,020 | 0 | 131,0 | 6,50 | 2,0 | 0,4 |
292124 | 180 | 28 | 135,0 | +0,055 | +0,040 | 141,0 | 6,50 | 2,0 | 0,4 |
292124Н | 180 | 28 | 135,0 | +0,020 | 0 | 141,0 | 6,50 | 2,0 | 0,4 |
292126Н | 200 | 33 | 148,0 | +0,025 | 0 | 154,8 | 8,00 | 2,0 | 0,6 |
292128 | 210 | 33 | 157,0 | +0,060 | +0,045 | 162,5 | 8,00 | 2,0 | 0,6 |
292128Н | 210 | 33 | 158,0 | +0,025 | 0 | 164,8 | 8,00 | 2,0 | 0,6 |
292130 | 225 | 35 | 168,5 | +0,075 | +0,055 | 172,5 | 8,50 | 2,1 | 0,6 |
292130Н | 225 | 35 | 169,5 | +0,025 | 0 | 176,7 | 8,50 | 2,1 | 0,6 |
292132Н | 240 | 38 | 180,0 | +0,025 | 0 | 188,0 | 9,00 | 2,1 | 0,6 |
292134Н | 260 | 42 | 193,0 | +0,025 | 0 | 201,8 | 10,00 | 2,1 | 0,6 |
292136 | 280 | 46 | 205,0 | +0,095 | +0,060 | 210,0 | 10,50 | 2,1 | 0,8 |
292136Н | 280 | 46 | 205,0 | +0,025 | 0 | 215,0 | 10,50 | 2,1 | 0,8 |
292138 | 290 | 46 | 215,0 | +0,095 | +0,065 | 220,0 | 10,50 | 2,1 | 0,8 |
292138Н | 290 | 46 | 215,0 | +0,025 | 0 | 225,0 | 10,50 | 2,1 | 0,8 |
292140Н | 310 | 51 | 229,0 | +0,025 | 0 | 239,4 | 12,50 | 2,1 | 0,8 |
292144Н | 340 | 56 | 250,0 | +0,030 | 0 | 262,0 | 13,00 | 3,0 | 0,8 |
292148Н | 360 | 56 | 270,0 | +0,030 | 0 | 282,0 | 13,00 | 3,0 | 0,8 |
292152 | 400 | 65 | 290,0 | +0,140 | +0,100 | 307,0 | 15,50 | 4,0 | 1,2 |
292152Н | 400 | 65 | 296,0 | +0,035 | 0 | 309,6 | 15,50 | 4,0 | 1,2 |
292156Н | 420 | 65 | 316,0 | +0,035 | 0 | 329,6 | 15,50 | 4,0 | 1,2 |
292160Н | 460 | 74 | 340,0 | +0,035 | 0 | 356,0 | 17,00 | 4,0 | 1,2 |
292164Н | 480 | 74 | 360,0 | +0,040 | 0 | 376,0 | 17,00 | 4,0 | 1,2 |
292168Н | 520 | 82 | 385,0 | +0,040 | 0 | 403,0 | 18,50 | 5,0 | 1,2 |
292172Н | 540 | 82 | 405,0 | +0,040 | 0 | 423,0 | 18,50 | 5,0 | 1,2 |
292176Н | 560 | 82 | 425,0 | +0,040 | 0 | 443,0 | 18,50 | 5,0 | 1,2 |
292180Н | 600 | 90 | 450,0 | +0,040 | 0 | 470,0 | 20,00 | 5,0 | 1,2 |
292184Н | 620 | 90 | 470,0 | +0,045 | 0 | 490,0 | 20,00 | 5,0 | 1,2 |
292188Н | 650 | 94 | 493,0 | +0,045 | 0 | 513,8 | 21,00 | 6,0 | 1,6 |
292192Н | 680 | 100 | 516,0 | +0,045 | 0 | 537,6 | 23,00 | 6,0 | 1,6 |
292196Н | 700 | 100 | 536,0 | +0,045 | 0 | 557,6 | 23,00 | 6,0 | 1,6 |
2921/500Н | 720 | 100 | 556,0 | +0,045 | 0 | 577,6 | 23,00 | 6,0 | 1,6 |
2921/530Н | 780 | 112 | 595,0 | +0,050 | 0 | 619,0 | 23,00 | 6,0 | 2,0 |
Основное условное обозначение подшипника | d | B | Ew | Da | a | rs min | ras max | ||
Верхнее | Нижнее | ||||||||
502104 | 20 | 12 | 36,5 | -0,015 | -0,030 | 34,5 | 3,25 | 0,6 | 0,1 |
Основное условное обозначение подшипника | D | B | Fw | da | a | rs min | ras max | ||
Верхнее | Нижнее | ||||||||
292202 | 35 | 11 | 20,0 | +0,030 | +0,015 | 22,4 | 3,00 | 0,6 | 0,1 |
292202Н | 35 | 11 | 19,3 | +0,010 | 0 | 22,4 | 3,00 | 0,6 | 0,1 |
292203 | 40 | 12 | 22,9 | +0,030 | +0,015 | 25,3 | 3,25 | 0,6 | 0,1 |
292203Н | 40 | 12 | 22,9 | +0,010 | 0 | 25,3 | 3,25 | 0,6 | 0,1 |
292203А | 40 | 12 | 22,5 | +0,010 | 0 | 25,2 | 2,00 | 0,6 | 0,2 |
292204 | 47 | 14 | 27,0 | +0,030 | +0,015 | 29,8 | 3,75 | 1,0 | 0,2 |
292204Н | 47 | 14 | 27,0 | +0,010 | 0 | 29,8 | 3,75 | 1,0 | 0,2 |
292204А | 47 | 14 | 26,5 | +0,010 | 0 | 29,6 | 2,50 | 1,0 | 0,2 |
292205 | 52 | 15 | 32,0 | +0,030 | +0,015 | 34,9 | 4,25 | 1,0 | 0,2 |
292205Н | 52 | 15 | 32,0 | +0,015 | 0 | 35,0 | 4,25 | 1,0 | 0,2 |
292205А | 52 | 15 | 31,5 | +0,015 | 0 | 34,6 | 3,00 | 1,0 | 0,2 |
292206 | 62 | 16 | 38,5 | +0,030 | +0,015 | 41,8 | 4,25 | 1,0 | 0,2 |
292206Н | 62 | 16 | 38,5 | +0,015 | 0 | 41,8 | 4,25 | 1,0 | 0,2 |
292206А | 62 | 16 | 37,5 | +0,015 | 0 | 41,3 | 3,00 | 1,0 | 0,2 |
292207 | 72 | 17 | 43,8 | +0,035 | +0,020 | 47,4 | 4,00 | 1,1 | 0,2 |
292207Н | 72 | 17 | 43,8 | +0,015 | 0 | 47,6 | 4,00 | 1,1 | 0,2 |
292207А | 72 | 17 | 44,0 | +0,015 | 0 | 48,1 | 3,00 | 1,1 | 0,2 |
292208 | 80 | 18 | 50,0 | +0,035 | +0,020 | 54,0 | 4,00 | 1,1 | 0,2 |
292208Н | 80 | 18 | 50,0 | +0,015 | 0 | 53,8 | 4,00 | 1,1 | 0,2 |
292208А | 80 | 18 | 49,5 | +0,015 | 0 | 53,9 | 3,50 | 1,1 | 0,4 |
292209 | 85 | 19 | 55,0 | +0,035 | +0,020 | 58,8 | 4,50 | 1,1 | 0,2 |
292209Н | 85 | 19 | 55,0 | +0,015 | 0 | 58,8 | 4,50 | 1,1 | 0,2 |
292209А | 85 | 19 | 54,5 | +0,015 | 0 | 58,9 | 3,50 | 1,1 | 0,4 |
292210 | 90 | 20 | 60,4 | +0,035 | +0,020 | 64,1 | 5,00 | 1,1 | 0,4 |
292210Н | 90 | 20 | 60,4 | +0,015 | 0 | 64,6 | 5,00 | 1,1 | 0,2 |
292210А | 90 | 20 | 59,5 | +0,015 | 0 | 63,9 | 4,00 | 1,1 | 0,4 |
292211 | 100 | 21 | 66,5 | +0,040 | +0,025 | 70,0 | 5,00 | 1,5 | 0,4 |
292211Н | 100 | 21 | 66,5 | +0,020 | 0 | 70,4 | 5,00 | 1,5 | 0,4 |
292211А | 100 | 21 | 66,0 | +0,020 | 0 | 70,8 | 3,50 | 1,5 | 0,4 |
292212 | 110 | 22 | 73,5 | +0,040 | +0,025 | 77,5 | 5,00 | 1,5 | 0,4 |
292212Н | 110 | 22 | 73,5 | +0,020 | 0 | 77,5 | 5,00 | 1,5 | 0,4 |
292212А | 110 | 22 | 72,0 | +0,020 | 0 | 77,6 | 4,00 | 1,5 | 0,4 |
292213 | 120 | 23 | 79,6 | +0,040 | +0,025 | 82,3 | 5,00 | 1,5 | 0,4 |
292213Н | 120 | 23 | 79,6 | +0,020 | 0 | 84,3 | 5,00 | 1,5 | 0,4 |
292213А | 120 | 23 | 78,5 | +0,020 | 0 | 84,5 | 4,00 | 1,5 | 0,4 |
292214Н | 125 | 24 | 84,5 | +0,020 | 0 | 89,6 | 5,50 | 1,5 | 0,4 |
292214А | 125 | 24 | 83,5 | +0,020 | 0 | 89,5 | 4,00 | 1,5 | 0,4 |
292215Н | 130 | 25 | 88,5 | +0,020 | 0 | 94,0 | 5,50 | 1,5 | 0,4 |
292215А | 130 | 25 | 88,5 | +0,020 | 0 | 94,5 | 4,00 | 1,5 | 0,4 |
292216 | 140 | 26 | 95,3 | +0,045 | +0,030 | 100,0 | 5,50 | 2,0 | 0,4 |
292216Н | 140 | 26 | 95,3 | +0,020 | 0 | 100,8 | 5,50 | 2,0 | 0,4 |
292216А | 140 | 26 | 95,3 | +0,020 | 0 | 101,7 | 4,50 | 2,0 | 0,4 |
292217Н | 150 | 28 | 101,8 | +0,020 | 0 | 108,2 | 6,00 | 2,0 | 0,6 |
292217А | 150 | 28 | 100,5 | +0,020 | 0 | 107,7 | 4,50 | 2,0 | 0,6 |
292218 | 160 | 30 | 107,0 | +0,050 | +0,035 | 114,2 | 6,00 | 2,0 | 0,6 |
292218Н | 160 | 30 | 107,0 | +0,020 | 0 | 114,2 | 6,00 | 2,0 | 0,6 |
292218А | 160 | 30 | 107,0 | +0,020 | 0 | 114,6 | 5,00 | 2,0 | 0,6 |
292220Н | 180 | 34 | 120,0 | +0,020 | 0 | 127,6 | 7,00 | 2,1 | 0,6 |
292220А | 180 | 34 | 119,0 | +0,020 | 0 | 127,8 | 5,00 | 2,1 | 0,6 |
292222Н | 200 | 38 | 132,5 | +0,020 | 0 | 141,5 | 7,50 | 2,1 | 0,6 |
292222А | 200 | 38 | 132,5 | +0,020 | 0 | 142,1 | 6,00 | 2,1 | 0,6 |
292224Н | 215 | 40 | 143,5 | +0,020 | 0 | 153,0 | 8,00 | 2,1 | 0,6 |
292224А | 215 | 40 | 143,5 | +0,020 | 0 | 153,9 | 6,00 | 2,1 | 0,8 |
292226Н | 230 | 40 | 156,0 | +0,025 | 0 | 165,5 | 8,00 | 3,0 | 0,6 |
292226А | 230 | 40 | 153,5 | +0,025 | 0 | 164,7 | 6,00 | 3,0 | 0,8 |
292228 | 250 | 42 | 169,0 | +0,060 | +0,045 | 179,5 | 8,00 | 3,0 | 0,8 |
292228Н | 250 | 42 | 169,0 | +0,025 | 0 | 179,5 | 8,00 | 3,0 | 0,8 |
292228А | 250 | 42 | 169,0 | +0,025 | 0 | 180,2 | 7,00 | 3,0 | 0,8 |
292230Н | 270 | 45 | 182,0 | +0,025 | 0 | 193,0 | 8,50 | 3,0 | 0,8 |
292230А | 270 | 45 | 182,0 | +0,025 | 0 | 194,0 | 7,50 | 3,0 | 0,8 |
292232Н | 290 | 48 | 195,0 | +0,025 | 0 | 207,0 | 9,00 | 3,0 | 0,8 |
292232А | 290 | 48 | 195,0 | +0,025 | 0 | 207,8 | 8,00 | 3,0 | 0,8 |
292234Н | 310 | 52 | 208,0 | +0,025 | 0 | 220,5 | 10,00 | 4,0 | 0,8 |
292234А | 310 | 52 | 207,0 | +0,025 | 0 | 221,4 | 8,00 | 4,0 | 1,2 |
292236Н | 320 | 52 | 218,0 | +0,025 | 0 | 230,5 | 10,00 | 4,0 | 0,8 |
292236А | 320 | 52 | 217,0 | +0,025 | 0 | 231,4 | 8,00 | 4,0 | 1,2 |
292238Н | 340 | 55 | 231,0 | +0,025 | 0 | 244,5 | 10,50 | 4,0 | 1,2 |
292238А | 340 | 55 | 230,0 | +0,025 | 0 | 245,2 | 8,50 | 4,0 | 1,2 |
292240Н | 360 | 58 | 244,0 | +0,025 | 0 | 258,0 | 11,00 | 4,0 | 1,2 |
292240А | 360 | 58 | 243,0 | +0,025 | 0 | 259,0 | 9,00 | 4,0 | 1,2 |
292244А | 400 | 65 | 269,0 | +0,030 | 0 | 287,0 | 10,00 | 4,0 | 1,6 |
292244Н | 400 | 65 | 270,0 | +0,030 | 0 | 286,0 | 12,50 | 4,0 | 1,2 |
292248Н | 440 | 72 | 295,0 | +0,030 | 0 | 313,0 | 13,50 | 4,0 | 1,2 |
292248А | 440 | 72 | 294,0 | +0,030 | 0 | 314,0 | 11,00 | 4,0 | 1,6 |
292252Н | 480 | 80 | 320,0 | +0,035 | 0 | 340,0 | 15,00 | 5,0 | 1,2 |
292252А | 480 | 80 | 319,0 | +0,035 | 0 | 341,0 | 12,50 | 5,0 | 2,0 |
292256Н | 500 | 80 | 340,0 | +0,035 | 0 | 360,0 | 15,00 | 5,0 | 1,2 |
292256А | 500 | 80 | 339,0 | +0,035 | 0 | 361,0 | 12,50 | 5,0 | 2,0 |
292260Н | 540 | 85 | 364,0 | +0,035 | 0 | 387,0 | 14,50 | 5,0 | 1,6 |
292260А | 540 | 85 | 363,0 | +0,035 | 0 | 387,0 | 12,50 | 5,0 | 2,0 |
292264Н | 580 | 92 | 390,0 | +0,040 | 0 | 415,0 | 16,00 | 5,0 | 2,5 |
292264А | 580 | 92 | 389,0 | +0,040 | 0 | 415,0 | 13,50 | 5,0 | 2,0 |
Основное условное обозначение подшипника | d | B | Ew | Da | a | rs min | ras max | ||
Верхнее | Нижнее | ||||||||
502206 | 30 | 16 | 53,5 | -0,015 | -0,030 | 50,5 | 4,25 | 1,0 | 0,2 |
502207 | 35 | 17 | 61,8 | -0,020 | -0,035 | 59,0 | 4,00 | 1,1 | 0,2 |
502210 | 50 | 20 | 80,4 | -0,020 | -0,035 | 77,0 | 5,00 | 1,1 | 0,4 |
502212 | 60 | 22 | 97,5 | -0,025 | -0,040 | 93,2 | 5,00 | 1,5 | 0,4 |
502218 | 90 | 30 | 143,0 | -0,035 | -0,050 | 136,4 | 6,00 | 2,0 | 0,6 |
502220 | 100 | 34 | 160,0 | -0,035 | -0,050 | 152,8 | 7,00 | 2,1 | 0,6 |
Основное условное обозначение подшипника | D | B | Fw | da | a | rs min | ras max | ||
Верхнее | Нижнее | ||||||||
292502 | 35 | 14 | 20,0 | +0,030 | +0,015 | 22,4 | 3,0 | 0,6 | 0,1 |
292504Н | 47 | 18 | 27,0 | +0,010 | 0 | 29,8 | 4,5 | 1,0 | 0,2 |
292504А | 47 | 18 | 26,5 | +0,010 | 0 | 29,6 | 3,5 | 1,0 | 0,2 |
292505Н | 52 | 18 | 32,0 | +0,015 | 0 | 35,0 | 4,5 | 1,0 | 0,2 |
292505А | 52 | 18 | 31,5 | +0,015 | 0 | 34,6 | 3,5 | 1,0 | 0,2 |
292506Н | 62 | 20 | 38,5 | +0,015 | 0 | 41,8 | 4,5 | 1,0 | 0,2 |
292506А | 62 | 20 | 37,5 | +0,015 | 0 | 41,3 | 3,5 | 1,0 | 0,2 |
292507Н | 72 | 23 | 43,8 | +0,015 | 0 | 47,6 | 4,5 | 1,1 | 0,2 |
292507А | 72 | 23 | 44,0 | +0,015 | 0 | 48,1 | 4,5 | 1,1 | 0,2 |
292508Н | 80 | 23 | 50,0 | +0,015 | 0 | 53,8 | 4,5 | 1,1 | 0,2 |
292508А | 80 | 23 | 49,5 | +0,015 | 0 | 53,9 | 4,0 | 1,1 | 0,4 |
292509 | 85 | 23 | 55,0 | +0,045 | +0,030 | 58,8 | 5,5 | 1,1 | 0,2 |
292509Н | 85 | 23 | 55,0 | +0,015 | 0 | 58,8 | 4,5 | 1,1 | 0,2 |
292509А | 85 | 23 | 54,5 | +0,015 | 0 | 58,9 | 4,0 | 1,1 | 0,4 |
292510Н | 90 | 23 | 60,4 | +0,015 | 0 | 64,6 | 4,5 | 1,1 | 0,2 |
292510А | 90 | 23 | 59,5 | +0,015 | 0 | 63,9 | 4,0 | 1,1 | 0,4 |
292511Н | 100 | 25 | 66,5 | +0,020 | 0 | 70,8 | 5,0 | 1,5 | 0,4 |
292511А | 100 | 25 | 66,0 | +0,020 | 0 | 70,8 | 4,0 | 1,5 | 0,4 |
292512Н | 110 | 28 | 73,5 | +0,020 | 0 | 78,4 | 5,0 | 1,5 | 0,4 |
292512А | 110 | 28 | 72,0 | +0,020 | 0 | 77,6 | 4,0 | 1,5 | 0,4 |
292513Н | 120 | 31 | 79,6 | +0,020 | 0 | 84,3 | 5,5 | 1,5 | 0,4 |
292513А | 120 | 31 | 78,5 | +0,020 | 0 | 84,5 | 4,5 | 1,5 | 0,4 |
292514Н | 125 | 31 | 84,5 | +0,020 | 0 | 89,6 | 5,5 | 1,5 | 0,4 |
292514А | 125 | 31 | 83,5 | +0,020 | 0 | 89,5 | 4,5 | 1,5 | 0,4 |
292515Н | 130 | 31 | 88,5 | +0,020 | 0 | 94,0 | 5,5 | 1,5 | 0,4 |
292515А | 130 | 31 | 88,5 | +0,020 | 0 | 94,5 | 4,5 | 1,5 | 0,4 |
292516Н | 140 | 33 | 95,3 | +0,020 | 0 | 100,8 | 5,5 | 2,0 | 0,4 |
292516А | 140 | 33 | 95,3 | +0,020 | 0 | 101,7 | 4,5 | 2,0 | 0,4 |
292517Н | 150 | 36 | 101,8 | +0,020 | 0 | 108,2 | 6,0 | 2,0 | 0,4 |
292517А | 150 | 36 | 100,5 | +0,020 | 0 | 107,7 | 5,0 | 2,0 | 0,6 |
292518Н | 160 | 40 | 107,0 | +0,020 | 0 | 114,2 | 7,0 | 2,0 | 0,6 |
292518А | 160 | 40 | 107,0 | +0,020 | 0 | 114,6 | 6,0 | 2,0 | 0,6 |
292520Н | 180 | 46 | 120,0 | +0,020 | 0 | 127,6 | 8,0 | 2,1 | 0,6 |
292520А | 180 | 46 | 119,0 | +0,020 | 0 | 127,8 | 6,0 | 2,1 | 0,6 |
292522Н | 200 | 53 | 132,5 | +0,020 | 0 | 141,5 | 9,5 | 2,1 | 0,6 |
292522А | 200 | 53 | 132,5 | +0,020 | 0 | 142,1 | 8,5 | 2,1 | 0,6 |
292524Н | 215 | 58 | 143,5 | +0,020 | 0 | 153,0 | 11,0 | 2,1 | 0,6 |
292524А | 215 | 58 | 143,5 | +0,020 | 0 | 153,9 | 9,0 | 2,1 | 0,8 |
292526Н | 230 | 64 | 156,0 | +0,025 | 0 | 165,5 | 14,0 | 3,0 | 0,6 |
292526А | 230 | 64 | 153,5 | +0,025 | 0 | 164,7 | 10,0 | 3,0 | 0,8 |
292528Н | 250 | 68 | 169,0 | +0,025 | 0 | 179,5 | 14,0 | 3,0 | 0,8 |
292528А | 250 | 68 | 169,0 | +0,025 | 0 | 180,2 | 12,0 | 3,0 | 0,8 |
292530Н | 270 | 73 | 182,0 | +0,025 | 0 | 193,0 | 14,5 | 3,0 | 0,8 |
292530А | 270 | 73 | 182,0 | +0,025 | 0 | 194,0 | 12,5 | 3,0 | 0,8 |
292532Н | 290 | 80 | 195,0 | +0,025 | 0 | 207,0 | 16,0 | 3,0 | 0,8 |
292532А | 290 | 80 | 193,0 | +0,025 | 0 | 206,6 | 12,5 | 3,0 | 1,2 |
292534Н | 310 | 86 | 208,0 | +0,025 | 0 | 220,5 | 17,0 | 4,0 | 0,8 |
292534А | 310 | 86 | 205,0 | +0,025 | 0 | 220,2 | 12,0 | 4,0 | 1,2 |
292536Н | 320 | 86 | 218,0 | +0,025 | 0 | 230,5 | 17,0 | 4,0 | 0,8 |
292536А | 320 | 86 | 215,0 | +0,025 | 0 | 230,2 | 12,0 | 4,0 | 1,2 |
292538Н | 340 | 92 | 231,0 | +0,025 | 0 | 244,5 | 18,5 | 4,0 | 1,2 |
292538А | 340 | 92 | 228,0 | +0,025 | 0 | 244,0 | 13,5 | 4,0 | 1,2 |
292540Н | 360 | 98 | 244,0 | +0,025 | 0 | 258,0 | 20,0 | 4,0 | 1,2 |
292540А | 360 | 98 | 241,0 | +0,025 | 0 | 257,8 | 14,0 | 4,0 | 1,2 |
292544Н | 400 | 108 | 270,0 | +0,030 | 0 | 286,0 | 21,5 | 4,0 | 1,2 |
292544А | 400 | 108 | 269,0 | +0,030 | 0 | 287,0 | 16,5 | 4,0 | 1,6 |
292548Н | 440 | 120 | 295,0 | +0,030 | 0 | 313,0 | 22,5 | 4,0 | 1,2 |
292552Н | 480 | 130 | 320,0 | +0,035 | 0 | 340,0 | 22,5 | 5,0 | 1,6 |
292556Н | 500 | 130 | 340,0 | +0,035 | 0 | 360,0 | 22,5 | 5,0 | 1,2 |
292560Н | 540 | 140 | 364,0 | +0,035 | 0 | 387,0 | 25,0 | 5,0 | 1,6 |
292564Н | 580 | 150 | 390,0 | +0,040 | 0 | 415,0 | 27,5 | 5,0 | 2,5 |
Основное условное обозначение подшипника | D | B | Fw | da | a | rs min | ras max | ||
Верхнее | Нижнее | ||||||||
292304Н | 52 | 15 | 28,5 | +0,010 | 0 | 32,0 | 3,5 | 1,1 | 0,2 |
292304А | 52 | 15 | 27,5 | +0,010 | 0 | 31,3 | 2,5 | 1,1 | 0,2 |
292305Н | 62 | 17 | 35,0 | +0,015 | 0 | 39,0 | 4,0 | 1,1 | 0,2 |
292305А | 62 | 17 | 34,0 | +0,015 | 0 | 38,0 | 3,0 | 1,1 | 0,2 |
292306 | 72 | 19 | 42,0 | +0,030 | +0,015 | 46,2 | 4,5 | 1,1 | 0,2 |
292306Н | 72 | 19 | 42,0 | +0,015 | 0 | 46,2 | 4,5 | 1,1 | 0,2 |
292306А | 72 | 19 | 40,5 | +0,015 | 0 | 44,9 | 3,5 | 1,1 | 0,4 |
292307Н | 80 | 21 | 46,2 | +0,015 | 0 | 50,8 | 5,0 | 1,5 | 0,4 |
292307А | 80 | 21 | 46,2 | +0,015 | 0 | 51,0 | 3,5 | 1,5 | 0,4 |
292308 | 90 | 23 | 53,5 | +0,035 | +0,020 | 58,0 | 5,5 | 1,5 | 0,4 |
292308Н | 90 | 23 | 53,5 | +0,015 | 0 | 58,3 | 5,5 | 1,5 | 0,4 |
292308А | 90 | 23 | 52,0 | +0,015 | 0 | 57,6 | 4,0 | 1,5 | 0,4 |
292309Н | 100 | 25 | 58,5 | +0,015 | 0 | 64,0 | 5,5 | 1,5 | 0,4 |
292309А | 100 | 25 | 58,5 | +0,015 | 0 | 64,5 | 4,5 | 1,5 | 0,4 |
292310 | 110 | 27 | 65,0 | +0,035 | +0,020 | 71,0 | 6,0 | 2,0 | 0,4 |
292310Н | 110 | 27 | 65,0 | +0,015 | 0 | 71,0 | 6,0 | 2,0 | 0,4 |
292310А | 110 | 27 | 65,0 | +0,015 | 0 | 71,4 | 5,0 | 2,0 | 0,4 |
292311Н | 120 | 29 | 70,5 | +0,020 | 0 | 77,2 | 6,0 | 2,0 | 0,6 |
292311А | 120 | 29 | 70,5 | +0,020 | 0 | 77,7 | 5,0 | 2,0 | 0,6 |
292312Н | 130 | 31 | 77,0 | +0,020 | 0 | 84,2 | 6,5 | 2,1 | 0,6 |
292312А | 130 | 31 | 77,0 | +0,020 | 0 | 84,6 | 5,5 | 2,1 | 0,6 |
292313Н | 140 | 33 | 83,5 | +0,020 | 0 | 90,8 | 7,0 | 2,1 | 0,6 |
292313А | 140 | 33 | 82,5 | +0,020 | 0 | 90,9 | 5,5 | 2,1 | 0,6 |
292314Н | 150 | 35 | 90,0 | +0,020 | 0 | 98,0 | 7,5 | 2,1 | 0,6 |
292314А | 150 | 35 | 89,0 | +0,020 | 0 | 97,8 | 5,5 | 2,1 | 0,6 |
292315Н | 160 | 37 | 95,5 | +0,020 | 0 | 103,9 | 7,5 | 2,1 | 0,6 |
292315А | 160 | 37 | 95,0 | +0,020 | 0 | 104,6 | 5,5 | 2,1 | 0,6 |
292316Н | 170 | 39 | 103,0 | +0,020 | 0 | 111,8 | 8,5 | 2,1 | 0,6 |
292316А | 170 | 39 | 101,0 | +0,020 | 0 | 111,0 | 6,0 | 2,1 | 0,8 |
292317Н | 180 | 41 | 108,0 | +0,020 | 0 | 117,5 | 8,5 | 3,0 | 0,6 |
292317А | 180 | 41 | 108,0 | +0,020 | 0 | 118,4 | 6,5 | 3,0 | 0,8 |
292318Н | 190 | 43 | 115,0 | +0,020 | 0 | 125,0 | 9,0 | 3,0 | 0,8 |
292318А | 190 | 43 | 113,5 | +0,020 | 0 | 124,7 | 6,5 | 3,0 | 0,8 |
292320Н | 215 | 47 | 129,5 | +0,020 | 0 | 140,5 | 9,5 | 3,0 | 0,8 |
292320А | 215 | 47 | 127,5 | +0,020 | 0 | 140,3 | 7,5 | 3,0 | 0,8 |
292322Н | 240 | 50 | 143,0 | +0,020 | 0 | 155,5 | 9,0 | 3,0 | 0,8 |
292322А | 240 | 50 | 143,0 | +0,020 | 0 | 156,6 | 8,0 | 3,0 | 1,2 |
292324Н | 260 | 55 | 154,0 | +0,020 | 0 | 168,5 | 9,5 | 3,0 | 1,2 |
292324А | 260 | 55 | 154,0 | +0,020 | 0 | 169,2 | 8,5 | 3,0 | 1,2 |
292326Н | 280 | 58 | 167,0 | +0,025 | 0 | 182,0 | 10,0 | 4,0 | 1,2 |
292326А | 280 | 58 | 167,0 | +0,025 | 0 | 183,0 | 9,0 | 4,0 | 1,2 |
292328Н | 300 | 62 | 180,0 | +0,025 | 0 | 196,0 | 11,0 | 4,0 | 1,2 |
292328А | 300 | 62 | 180,0 | +0,025 | 0 | 196,8 | 10,0 | 4,0 | 1,2 |
292330Н | 320 | 65 | 193,0 | +0,025 | 0 | 210,0 | 11,5 | 4,0 | 1,2 |
292330А | 320 | 65 | 193,0 | +0,025 | 0 | 211,0 | 10,0 | 4,0 | 1,2 |
292332Н | 340 | 68 | 208,0 | +0,025 | 0 | 225,0 | 13,0 | 4,0 | 1,2 |
292332А | 340 | 68 | 204,0 | +0,025 | 0 | 223,2 | 10,0 | 4,0 | 1,2 |
292334Н | 360 | 72 | 220,0 | +0,025 | 0 | 238,0 | 13,5 | 4,0 | 1,2 |
292334А | 360 | 72 | 216,0 | +0,025 | 0 | 236,4 | 10,5 | 4,0 | 1,6 |
292336Н | 380 | 75 | 232,0 | +0,025 | 0 | 252,0 | 13,5 | 4,0 | 1,2 |
292336А | 380 | 75 | 230,0 | +0,025 | 0 | 251,2 | 11,0 | 4,0 | 1,6 |
292338Н | 400 | 78 | 245,0 | +0,025 | 0 | 255,0 | 14,0 | 5,0 | 1,2 |
292338А | 400 | 78 | 242,0 | +0,025 | 0 | 264,4 | 11,0 | 5,0 | 2,0 |
292340Н | 420 | 80 | 260,0 | +0,025 | 0 | 280,0 | 15,0 | 5,0 | 1,2 |
292340А | 420 | 80 | 254,0 | +0,025 | 0 | 277,6 | 10,5 | 5,0 | 2,0 |
292344Н | 460 | 88 | 284,0 | +0,030 | 0 | 307,0 | 16,0 | 5,0 | 1,6 |
292344А | 460 | 88 | 279,0 | +0,030 | 0 | 304,6 | 12,0 | 5,0 | 2,0 |
292348Н | 500 | 95 | 310,0 | +0,030 | 0 | 335,0 | 17,5 | 5,0 | 2,5 |
292348А | 500 | 95 | 304,0 | +0,030 | 0 | 332,0 | 12,5 | 5,0 | 2,0 |
292352Н | 540 | 102 | 336,0 | +0,035 | 0 | 362,0 | 19,0 | 6,0 | 2,5 |
292356Н | 580 | 108 | 362,0 | +0,035 | 0 | 390,0 | 20,0 | 6,0 | 3,0 |
292360Н | 620 | 109 | 402,0 | +0,035 | 0 | 429,0 | 20,5 | 7,5 | 3,0 |
Основное условное обозначение подшипника | d | B | Ew | Da | a | rs min | ras max | ||
Верхнее | Нижнее | ||||||||
502307 | 35 | 21 | 68,2 | -0,020 | -0,035 | 64,3 | 5,0 | 1,5 | 0,4 |
502308 | 40 | 23 | 77,5 | -0,020 | -0,035 | 73,3 | 5,5 | 1,5 | 0,4 |
502309 | 45 | 25 | 86,5 | -0,020 | -0,035 | 81,5 | 5,5 | 1,5 | 0,4 |
502310 | 50 | 27 | 95,0 | -0,020 | -0,035 | 89,6 | 6,0 | 2,0 | 0,4 |
502311 | 55 | 29 | 104,5 | -0,025 | -0,040 | 98,2 | 6,0 | 2,0 | 0,6 |
502312 | 60 | 31 | 113,0 | -0,025 | -0,040 | 106,5 | 6,5 | 2,1 | 0,6 |
Основное условное обозначение подшипника | D | B | Fw | da | a | rs min | ras max | ||
Верхнее | Нижнее | ||||||||
292604Н | 52 | 21 | 28,5 | +0,010 | 0 | 32,0 | 4,5 | 1,1 | 0,2 |
292604А | 52 | 21 | 27,5 | +0,010 | 0 | 31,3 | 3,5 | 1,1 | 0,2 |
292605Н | 62 | 24 | 35,0 | +0,015 | 0 | 39,0 | 5,0 | 1,1 | 0,2 |
292605А | 62 | 24 | 34,0 | +0,015 | 0 | 38,0 | 4,0 | 1,1 | 0,2 |
292606Н | 72 | 27 | 42,0 | +0,015 | 0 | 46,2 | 6,5 | 1,1 | 0,2 |
292606А | 72 | 27 | 40,5 | +0,015 | 0 | 44,9 | 4,5 | 1,1 | 0,4 |
292607 | 80 | 31 | 46,2 | +0,035 | +0,020 | 50,3 | 8,0 | 1,5 | 0,4 |
292607Н | 80 | 31 | 46,2 | +0,015 | 0 | 50,8 | 8,0 | 1,5 | 0,4 |
292607А | 80 | 31 | 46,2 | +0,015 | 0 | 51,0 | 5,0 | 1,5 | 0,4 |
292608Н | 90 | 33 | 53,5 | +0,015 | 0 | 58,3 | 7,5 | 1,5 | 0,4 |
292608А | 90 | 33 | 52,0 | +0,015 | 0 | 57,6 | 5,5 | 1,5 | 0,4 |
292609Н | 100 | 36 | 58,5 | +0,015 | 0 | 64,0 | 8,0 | 1,5 | 0,4 |
292609А | 100 | 36 | 58,5 | +0,015 | 0 | 64,5 | 6,0 | 1,5 | 0,4 |
292610Н | 110 | 40 | 65,0 | +0,015 | 0 | 71,0 | 9,0 | 2,0 | 0,4 |
292610А | 110 | 40 | 65,0 | +0,015 | 0 | 71,4 | 6,5 | 2,0 | 0,4 |
292611Н | 120 | 43 | 70,5 | +0,020 | 0 | 77,2 | 9,5 | 2,0 | 0,6 |
292611А | 120 | 43 | 70,5 | +0,020 | 0 | 77,7 | 6,5 | 2,0 | 0,6 |
292612Н | 130 | 46 | 77,0 | +0,020 | 0 | 84,2 | 10,0 | 2,1 | 0,6 |
292612А | 130 | 46 | 77,0 | +0,020 | 0 | 84,6 | 7,0 | 2,1 | 0,6 |
292613Н | 140 | 48 | 83,5 | +0,020 | 0 | 90,8 | 10,0 | 2,1 | 0,6 |
292613А | 140 | 48 | 82,5 | +0,020 | 0 | 90,9 | 8,0 | 2,1 | 0,6 |
292614Н | 150 | 51 | 90,0 | +0,020 | 0 | 98,0 | 10,5 | 2,1 | 0,6 |
292614А | 150 | 51 | 89,0 | +0,020 | 0 | 97,8 | 8,5 | 2,1 | 0,6 |
292615Н | 160 | 55 | 95,5 | +0,020 | 0 | 103,9 | 10,5 | 2,1 | 0,6 |
292615А | 160 | 55 | 95,0 | +0,020 | 0 | 104,6 | 8,5 | 2,1 | 0,6 |
292616Н | 170 | 58 | 103,0 | +0,020 | 0 | 111,8 | 12,0 | 2,1 | 0,6 |
292616А | 170 | 58 | 101,0 | +0,020 | 0 | 111,0 | 9,0 | 2,1 | 0,8 |
292617 | 180 | 60 | 108,0 | +0,050 | +0,035 | 116,0 | 12,0 | 3,0 | 0,6 |
292617Н | 180 | 60 | 108,0 | +0,020 | 0 | 117,5 | 12,0 | 3,0 | 0,6 |
292617А | 180 | 60 | 108,0 | +0,020 | 0 | 118,4 | 10,0 | 3,0 | 0,8 |
292618Н | 190 | 64 | 115,0 | +0,020 | 0 | 125,0 | 14,0 | 3,0 | 0,8 |
292618А | 190 | 64 | 113,5 | +0,020 | 0 | 124,7 | 10,0 | 3,0 | 0,8 |
292620Н | 215 | 73 | 129,5 | +0,020 | 0 | 140,5 | 14,5 | 3,0 | 0,8 |
292620А | 215 | 73 | 127,5 | +0,020 | 0 | 140,3 | 10,5 | 3,0 | 0,8 |
292622Н | 240 | 80 | 143,0 | +0,020 | 0 | 155,5 | 14,0 | 3,0 | 0,8 |
292622А | 240 | 80 | 143,0 | +0,020 | 0 | 156,6 | 12,5 | 3,0 | 1,2 |
292624Н | 260 | 86 | 154,0 | +0,020 | 0 | 168,5 | 14,0 | 3,0 | 1,2 |
292624А | 260 | 86 | 154,0 | +0,020 | 0 | 169,2 | 12,0 | 3,0 | 1,2 |
292626Н | 280 | 93 | 167,0 | +0,025 | 0 | 182,0 | 15,5 | 4,0 | 1,2 |
292626А | 280 | 93 | 167,0 | +0,025 | 0 | 183,0 | 14,0 | 4,0 | 1,2 |
292628Н | 300 | 102 | 180,0 | +0,025 | 0 | 196,0 | 18,5 | 4,0 | 1,2 |
292628А | 300 | 102 | 180,0 | +0,025 | 0 | 196,8 | 16,0 | 4,0 | 1,2 |
292630Н | 320 | 108 | 193,0 | +0,025 | 0 | 210,0 | 19,0 | 4,0 | 1,2 |
292630А | 320 | 108 | 193,0 | +0,025 | 0 | 211,0 | 16,5 | 4,0 | 1,2 |
292632Н | 340 | 114 | 208,0 | +0,025 | 0 | 225,0 | 22,0 | 4,0 | 1,2 |
292632А | 340 | 114 | 204,0 | +0,025 | 0 | 223,2 | 17,0 | 4,0 | 1,2 |
292634Н | 360 | 120 | 220,0 | +0,025 | 0 | 238,0 | 22,5 | 4,0 | 1,2 |
292634А | 360 | 120 | 216,0 | +0,025 | 0 | 236,4 | 17,5 | 4,0 | 1,6 |
292636Н | 380 | 126 | 232,0 | +0,025 | 0 | 252,0 | 23,0 | 4,0 | 1,2 |
292636А | 380 | 126 | 230,0 | +0,025 | 0 | 251,2 | 18,0 | 4,0 | 1,6 |
292638Н | 400 | 132 | 245,0 | +0,025 | 0 | 255,0 | 23,5 | 5,0 | 1,2 |
292638А | 400 | 132 | 242,0 | +0,025 | 0 | 264,4 | 18,5 | 5,0 | 2,0 |
292640Н | 420 | 138 | 260,0 | +0,025 | 0 | 280,0 | 26,5 | 5,0 | 1,2 |
292640А | 420 | 138 | 254,0 | +0,025 | 0 | 277,6 | 19,0 | 5,0 | 2,0 |
292644Н | 460 | 145 | 284,0 | +0,030 | 0 | 307,0 | 27,5 | 5,0 | 1,6 |
292644А | 460 | 145 | 279,0 | +0,030 | 0 | 304,6 | 20,0 | 5,0 | 2,0 |
292648Н | 500 | 155 | 310,0 | +0,030 | 0 | 335,0 | 30,0 | 5,0 | 2,5 |
292652Н | 540 | 165 | 336,0 | +0,035 | 0 | 362,0 | 32,5 | 6,0 | 2,5 |
292656Н | 580 | 175 | 362,0 | +0,035 | 0 | 390,0 | 32,5 | 6,0 | 2,5 |
292660Н | 620 | 185 | 402,0 | +0,035 | 0 | 429,0 | 24,5 | 7,5 | 3,0 |
Основное условное обозначение подшипника | D | B | Fw | da | a | rs min | ras max | ||
Верхнее | Нижнее | ||||||||
292406Н | 90 | 23 | 45,0 | +0,015 | 0 | 50,5 | 4,5 | 1,5 | 0,4 |
292407Н | 100 | 25 | 53,0 | +0,015 | 0 | 59,0 | 5,0 | 1,5 | 0,4 |
292408Н | 110 | 27 | 58,0 | +0,015 | 0 | 65,3 | 5,0 | 2,0 | 0,6 |
292409Н | 120 | 29 | 64,5 | +0,015 | 0 | 71,6 | 5,5 | 2,0 | 0,6 |
292410Н | 130 | 31 | 70,8 | +0,015 | 0 | 78,0 | 5,5 | 2,1 | 0,6 |
292411Н | 140 | 33 | 77,2 | +0,020 | 0 | 65,2 | 6,5 | 2,1 | 0,6 |
292412Н | 150 | 35 | 83,0 | +0,020 | 0 | 91,8 | 6,5 | 2,1 | 0,6 |
292413Н | 160 | 37 | 89,3 | +0,020 | 0 | 98,5 | 7,0 | 2,1 | 0,6 |
292414Н | 180 | 42 | 100,0 | +0,020 | 0 | 110,5 | 8,0 | 3,0 | 0,8 |
292415Н | 190 | 45 | 104,5 | +0,020 | 0 | 116,0 | 8,5 | 3,0 | 0,8 |
292416Н | 200 | 48 | 110,0 | +0,020 | 0 | 122,0 | 9,0 | 3,0 | 0,8 |
292417 | 210 | 52 | 113,0 | +0,050 | +0,035 | 122,0 | 10,0 | 4,0 | 0,8 |
292417Н | 210 | 52 | 113,0 | +0,020 | 0 | 126,0 | 10,0 | 4,0 | 0,8 |
292418Н | 225 | 54 | 123,5 | +0,020 | 0 | 137,0 | 10,0 | 4,0 | 1,2 |
292420Н | 250 | 58 | 139,0 | +0,020 | 0 | 153,5 | 11,0 | 4,0 | 1,2 |
292422Н | 280 | 65 | 155,0 | +0,020 | 0 | 171,0 | 12,5 | 4,0 | 1,2 |
292424Н | 310 | 72 | 170,0 | +0,020 | 0 | 188,0 | 13,5 | 5,0 | 1,2 |
292426Н | 340 | 78 | 185,0 | +0,025 | 0 | 205,0 | 14,0 | 5,0 | 1,2 |
292428Н | 360 | 82 | 198,0 | +0,025 | 0 | 219,0 | 15,0 | 5,0 | 1,6 |
292430Н | 380 | 85 | 213,0 | +0,025 | 0 | 234,0 | 16,0 | 5,0 | 1,6 |
292432Н | 400 | 88 | 226,0 | +0,025 | 0 | 248,0 | 17,0 | 5,0 | 1,6 |
292434Н | 420 | 92 | 239,0 | +0,025 | 0 | 262,0 | 18,0 | 5,0 | 1,6 |
292436Н | 440 | 95 | 250,0 | +0,025 | 0 | 275,0 | 17,5 | 6,0 | 2,0 |
292438Н | 460 | 98 | 265,0 | +0,025 | 0 | 290,0 | 19,0 | 6,0 | 2,0 |
292440Н | 480 | 102 | 276,0 | +0,025 | 0 | 302,0 | 19,0 | 6,0 | 2,0 |
292444Н | 540 | 115 | 305,0 | +0,030 | 0 | 336,0 | 20,0 | 6,0 | 2,5 |
292448Н | 580 | 122 | 330,0 | +0,030 | 0 | 364,0 | 21,0 | 6,0 | 2,5 |
Класс точности подшипников | Ra, мкм, не более | ||||
Fw, мм | |||||
До 80 включ. | Св. 80 до 180 включ. | Св. 180 до 250 включ. | Св. 250 до 500 включ. | Св. 500 | |
0 | 0,32 | 0,63 | 0,63 | 0,63 | 0,63 |
6 и 5 | 0,16 | 0,32 | 0,32 | 0,32 | 0,32 |
УДК 621.822.8:006.354 | МКС 21.100.20 |
Ключевые слова: подшипники качения, цилиндрический однорядный подшипник без внутреннего или наружного кольца, классификация, присоединительные размеры, указания по применению и эксплуатации | |