Главная // Актуальные документы // ГОСТ (Государственный стандарт)СПРАВКА
Источник публикации
М.: Издательство стандартов, 1993
Примечание к документу
Документ утратил силу с 1 января 2013 года на территории Российской Федерации в связи с изданием
Приказа Росстандарта от 09.11.2011 N 531-ст. Взамен введен в действие
ГОСТ Р 54488-2011.
С 1 июля 2003 года до вступления в силу технических регламентов акты федеральных органов исполнительной власти в сфере технического регулирования носят рекомендательный характер и подлежат обязательному исполнению только в части, соответствующей целям, указанным в
пункте 1 статьи 46 Федерального закона от 27.12.2002 N 184-ФЗ.
Ограничение срока действия снято по Протоколу N 4-93 Межгосударственного Совета по стандартизации, метрологии и сертификации ("ИУС", N 4, 1994).
Документ
введен в действие с 1 января 1978 года.
Взамен ГОСТ 7275-62.
Название документа
"ГОСТ 7275-75. Государственный стандарт Союза ССР. Ключи гаечные разводные. Технические условия"
(утв. и введен в действие Постановлением Госстандарта СССР от 28.11.1975 N 3704)
(ред. от 01.03.1989)
"ГОСТ 7275-75. Государственный стандарт Союза ССР. Ключи гаечные разводные. Технические условия"
(утв. и введен в действие Постановлением Госстандарта СССР от 28.11.1975 N 3704)
(ред. от 01.03.1989)
Утвержден и введен в действие
Постановлением Государственного
комитета стандартов
Совета Министров СССР
от 28 ноября 1975 г. N 3704
ГОСУДАРСТВЕННЫЙ СТАНДАРТ СОЮЗА ССР
КЛЮЧИ ГАЕЧНЫЕ РАЗВОДНЫЕ
ТЕХНИЧЕСКИЕ УСЛОВИЯ
Adjustable wrenches. Specifications
ГОСТ 7275-75
E
| | Список изменяющих документов (в ред. Изменения N 1, утв. в марте 1987 г., Изменения N 2, утв. в марте 1989 г.) | |
Дата введения
с 1 января 1978 года
1. Разработан и внесен Министерством станкостроительной и инструментальной промышленности.
Разработчики: Д.И. Семенченко, Г.А. Астафьева, А.М. Краснощекова.
2. Утвержден и введен в действие Постановлением Государственного комитета стандартов Совета Министров СССР от 28.11.75 N 3704.
3. Срок проверки - 1990 г., периодичность проверки - 5 лет.
4. Стандарт полностью соответствует ИСО 6787-82.
5. Взамен ГОСТ 7275-62.
6. Ссылочные нормативно-технические документы
────────────────────────────────┬─────────────────────────────────
Обозначение НТД, │ Номер пункта, Приложения
на который дана ссылка │
────────────────────────────────┼─────────────────────────────────
ИС МЕГАНОРМ: примечание.
Взамен ГОСТ 16093-81 Приказом Ростехрегулирования от
02.03.2005 N 39-ст с 1 июля 2005 года введен в действие
ИС МЕГАНОРМ: примечание.
Взамен ГОСТ 24705-81 Приказом Ростехрегулирования от
02.03.2005 N 36-ст с 1 июля 2005 года введен в действие
| | ИС МЕГАНОРМ: примечание. Нумерация пунктов дана в соответствии с официальным текстом документа. | |
6. Переиздание (март 1993 г.) с Изменениями N 1, 2, утвержденными в марте 1987 г., в марте 1989 г. (ИУС 6-87, 6-89).
7. Срок действия продлен до 01.01.95 (Постановление Государственного комитета СССР по стандартам от 27.03.89 N 713).
Настоящий стандарт распространяется на разводные ключи, изготовляемые для нужд народного хозяйства и экспорта.
(Измененная редакция, N 2).
1.1. Основные размеры разводных ключей должны соответствовать указанным на чертеже и в
табл. 1.
--------------------------------
* Допускается изготовлять с углом наклона 22°30'.
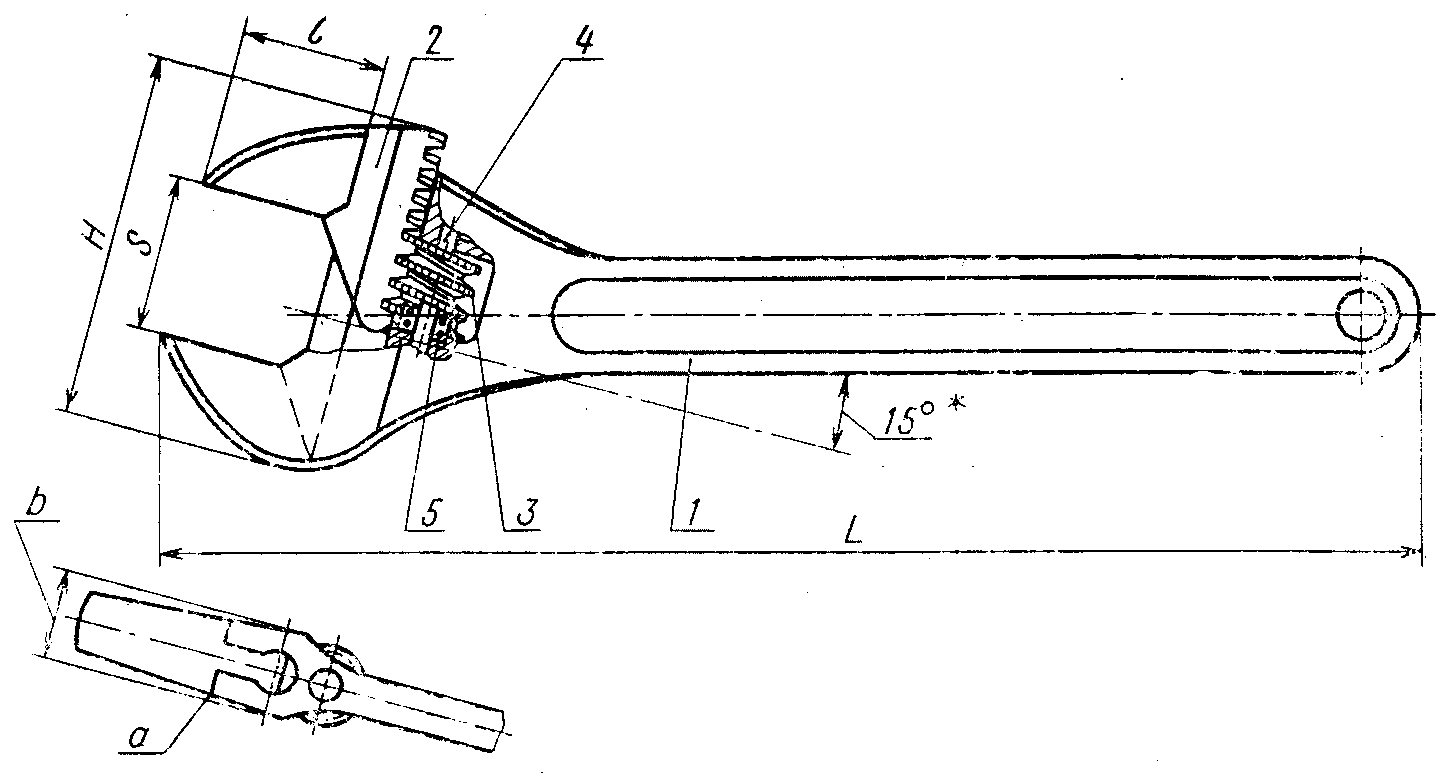
1 - корпус ключа; 2 - губка подвижная; 3 - червяк;
4 - ось червяка; 5 - пружина
Примечания. 1. Чертеж не определяет конструкцию.
2. Размер L дан без учета защитно-декоративных покрытий.
мм
───────────┬────────┬────────┬─────────┬────────┬────────┬────────
Обозначение│Применя-│ S, │ L, │ H, │ b, │ l
ключей │емость │не менее│+/- IT17 │не более│+/- IT17│
───────────┼────────┼────────┼─────────┼────────┼────────┼────────
7813-0031 │ │ 12 │(110) 100│ 50 │ 2 │ 13
7813-0032 │ │ 19 │(160) 150│ 60 │ 10 │ 18
7813-0033 │ │ 24 │200 │ 75 │ 12 │ 23
7813-0034 │ │ 30 │250 │ 90 │ 15 │ 28
7813-0035 │ │ 36 │300 │ 90 │ 18 │ 33
7813-0036 │ │ 46 │(380) 375│ 135 │ 22 │ 43
7813-0037 │ │ 50 │450 │ 180 │ 26 │ 52
Примечания. 1. Размеры S и H даны при наибольшем раскрытии губок.
2. Значения, заключенные в скобки, следует применять до 01.01.91.
Пример условного обозначения разводного ключа с размером зева S = 30 мм, с покрытием Н12.Х1:
Ключ 7813-0034 Н12.Х1 ГОСТ 7275-75
(Измененная редакция, Изм. N 2).
1.2. Конструкция и основные размеры деталей ключей приведены в рекомендуемом
Приложении.
2. ТЕХНИЧЕСКИЕ ТРЕБОВАНИЯ
2.1. Ключи должны изготовляться в соответствии с требованиями настоящего стандарта по чертежам и образцам-эталонам, утвержденным в установленном порядке.
Детали ключей должны быть изготовлены из материалов, указанных в табл. 2.
Таблица 2
──────────────┬─────────────────────┬──────────────────────────────────────
Наименование │ Марка стали │ Твердость HRC , после термообработки,
деталей │ │ э
│ │ не менее
──────────────┼─────────────────────┼──────────────────┬───────────────────
Корпус │40ХФА
ГОСТ 4543 │ Рабочая часть │ 45,5
├─────────────────────┤ ├───────────────────
├─────────────────────┼──────────────────┼───────────────────
│ │1/3 L от вершины │
│ │зева │
──────────────┼─────────────────────┼──────────────────┴───────────────────
губка ├─────────────────────┼──────────────────────────────────────
Примечания. 1. Допускается применять стали других марок с физико-механическими свойствами в термически обработанном состоянии не ниже чем у сталей, указанных в табл. 2.
2. (Исключено, Изм. N 2).
2.2. Ключи должны иметь прочность, определяемую испытательными крутящими моментами, приведенными в табл. 3.
─────────────────────┬─────────────────────────────────────────────────────
Размер зева S, мм │ Испытательный минимальный крутящий момент, Н x м
─────────────────────┼─────────────────────────────────────────────────────
12 │ 33
19 │ 85
24 │ 180
30 │ 320
36 │ 515
46 │ 920
50 │ 1370
2.1, 2.2. (Измененная редакция, Изм. 2).
2.3. Рабочие поверхности губок ключа должны быть параллельны между собой. Допускается отклонение от параллельности, направленное на уширение зева к его основанию, не превышающее 2°.
2.4. При повороте червяка подвижная губка ключа должна перемещаться по всей длине зева плавно, без заеданий.
2.5. В процессе эксплуатации ключа должно обеспечиваться удержание червяка от самопроизвольного проворота.
2.6. При боковом отжатии подвижной губки односторонний зазор между опорной ее поверхностью и поверхностью направляющих корпуса в зоне a не должен быть более, мм:
для ключей с размером зева S = 12 и 19 мм ....... 0,25 (0,3)
" " " " " S = 24 и 30 мм ....... 0,28 (0,4)
" " " " " S = 36 и 46 мм ....... 0,3 (0,6)
" " " " " S = 50 мм ............ 0,36.
Примечание. Значения, заключенные в скобки, следует применять до 01.01.91.
2.7. При полном сведении губок ключа должна быть обеспечена сходимость вершин их рабочих поверхностей.
Примечание. По согласованию с потребителем до 01.01.91 допускается несходимость губок, не превышающая:
для ключей с размером зева до 24 мм ..... 3 мм;
" " " " " св. 24 мм ..... 8 мм.
2.8. Параметры шероховатости поверхностей ключей по
ГОСТ 2789 должны быть, мкм, не более:
опорных поверхностей губок и наружного контура ............... Ra 1,6
рабочих поверхностей зевов ................................... Ra 6,3
остальных поверхностей ....................................... Ra 12,5.
2.6 - 2.8. (Измененная редакция, Изм. N 2).
2.9. (Исключен, Изм. N 2).
2.10. Ключи должны иметь одно из защитно-декоративных покрытий, указанных в табл. 5.
Таблица 5 <*>
--------------------------------
<*> Табл. 4. (Исключена, Изм. N 1).
─────────────┬───────────────────────────────┬─────────────────────────────
Группа │ Наименование покрытия │ Обозначение
условий │ ├──────────────┬──────────────
─────────────┼───────────────────────────────┼──────────────┼──────────────
1 │Окисное с промасливанием │Хим. окс. прм │ -
├───────────────────────────────┼──────────────┼──────────────
│Фосфатное с промасливанием │Хим. фос. прм │ -
├───────────────────────────────┼──────────────┼──────────────
│Хромовое толщиной 9 мкм │ Х9 │ -
─────────────┼───────────────────────────────┼──────────────┼──────────────
2 - 4 │Хромовое толщиной 1 мкм с │ Н12.Х │ -
│подслоем никеля толщиной 12 мкм│ │
├───────────────────────────────┼──────────────┼──────────────
│Цинковое толщиной 15 мкм │ Ц15.хр │ -
│хроматированное │ │
├───────────────────────────────┼──────────────┼──────────────
│Фосфатное с последующей окрас- │ - │Хим. Фос.
│кой рукояток нитроглифталевой │ │Эмаль НЦ-132
│эмалью НЦ-132 (или пентафтале- │ │разн. цвет
│вой эмалью ПФ-115) разных цве- │ │
ГОСТ 6631, IV,
│тов по IV классу и нанесением │ │лак АК-113
│полиакрилатного лака АК-113 на │ │
│осветленные поверхности лезвий │ │
─────────────┼───────────────────────────────┼──────────────┼──────────────
5 - 8 │Хромовое толщиной 1 мкм с │ Н14.Н7.Х │ -
│подслоем никеля, нанесенного │ │
│электролитическим способом, │ │
│толщиной 14 мкм и никеля, │ │
│нанесенного тем же способом, │ │
│толщиной 7 мкм │ │
├───────────────────────────────┼──────────────┼──────────────
│Кадмиевое толщиной 21 мкм │ Кд21.хр │ -
│хроматированное │ │
Примечания. 1. Допускается по согласованию с потребителем применять другие металлические и неметаллические покрытия по
ГОСТ 9.306 и
ГОСТ 9.032, по защитно-декоративным свойствам не уступающие указанным в табл. 5.
2. Ключи, выпускаемые для продажи через розничную торговую сеть, должны иметь защитно-декоративные покрытия не ниже 2 группы условий эксплуатации по
ГОСТ 9.303.
3. Допускается по согласованию с торгующими организациями для продажи через розничную торговую сеть применение покрытий, соответствующих 1 группе условий эксплуатации по
ГОСТ 9.303.
(Измененная редакция, Изм. N 2).
2.11. Технические требования к качеству покрытий - по
ГОСТ 9.301.
2.12. Полный установленный ресурс ключей - 10000 нагружений-завинчиваний с приложением крутящих моментов, указанных в
табл. 3.
Критерием предельного состояния является невыполнение требований
п. 2.4 или
п. 2.5 или поломка червяка или рейки.
2.13. На ключе должны быть четко нанесены:
товарный знак предприятия-изготовителя;
размер зева;
обозначение ключа;
цена (для розничной продажи).
2.14. Внутренняя упаковка ключей ВУ-1, ВУ-2, ВУ-3, ВУ-7 - по
ГОСТ 9.014.
Остальные требования к маркировке и упаковке - по
ГОСТ 18088.
2.12 - 2.14. (Введены дополнительно, Изм. N 2).
3.2. Испытания ключей на надежность должны проводиться один раз в три года не менее чем на трех ключах одного типоразмера.
Разд. 3. (Измененная редакция, Изм. N 2).
4.1. Работоспособность ключей проверяют испытательными крутящими моментами. Ключи проверяют на испытательном стенде. Ключи с открытыми зевами устанавливают зевом на оправку, имеющую в поперечном сечении форму правильного шестигранника. Номинальные размеры шестигранных оправок должны быть равными минимальным охватываемым размерам "под ключ" нормальной точности по
ГОСТ 6424.
Нагрузку следует прилагать к концу рукоятки на расстоянии не более 50 мм от ее торца в направлении, совпадающем с направлением отвода подвижной губки.
Твердость оправок -

.
Во время испытаний значение крутящего момента должно плавно возрастать до значений, указанных в табл. 3. Ключи должны выдерживать не менее трех нагружений.
После испытания ключи не должны иметь остаточной деформации и должны быть пригодными к дальнейшей работе.
(Измененная редакция, Изм. N 2).
4.1а. Испытания ключей на надежность должны проводиться на испытательных приспособлениях или стендах, при условиях испытаний, указанных в
п. 4.1. При этом результаты испытаний считаются удовлетворительными, если каждый из контролируемых ключей не достигнет предельного состояния.
(Введен дополнительно, Изм. N 2).
| | ИС МЕГАНОРМ: примечание. Нумерация пунктов дана в соответствии с официальным текстом документа. | |
4.3. Твердость ключей проверяют по
ГОСТ 9013.
4.4. Шероховатость поверхностей ключей проверяют сравнением с образцами шероховатости или профилометрами (профилографами).
4.5. Внешний вид защитно-декоративных покрытий проверяют визуально.
4.6. Качество гальванических покрытий проверяют по
ГОСТ 9.302.
(Введены дополнительно, Изм. N 1).
5. ТРАНСПОРТИРОВАНИЕ И ХРАНЕНИЕ
Транспортирование и хранение ключей - по
ГОСТ 18088.
Разд. 5. (Измененная редакция, Изм. N 2).
6.1. Конструкция ключа должна исключать возможность выпадания подвижной губки при разведении зева.
6.2. При эксплуатации ключей не допускается пользование дополнительными рычагами и использование ключа с размерами под зев свыше указанного на ключе.
(Измененная редакция, Изм. N 2).
Разд. 7. (Исключен, Изм. N 2).
Рекомендуемое
КОНСТРУКЦИЯ И ОСНОВНЫЕ РАЗМЕРЫ ДЕТАЛЕЙ
ГАЕЧНЫХ РАЗВОДНЫХ КЛЮЧЕЙ
Поз. 1. Корпус ключа
(черт. 1, табл. 1)
Черт. 1
Таблица 1
мм
──────┬────┬────┬────┬────┬────┬────┬───┬────┬──────┬─────┬───────
S, │ h │ h │ h │ h │ h │ h │ b │ b │ b │ b │ b
не │ │ 1 │ 2 │ 3 │ 4 │ 5 │ │ 1 │ 2 │ 3 │ 4
менее │ │ │ H9 │ │ │ │ │ │ │ │+/- 1,5
──────┼────┼────┼────┼────┼────┼────┼───┼────┼──────┼─────┼───────
12 │ 22 │ 4 │ 8 │ 4,5│ 3 │ 12 │2,0│2,5 │ 4,0 │ 10 │ 5
──────┼────┼────┼────┼────┼────┼────┤ │ ├──────┼─────┼───────
19 │ 34 │ 9 │ 10 │ 7,0│ 4 │ 15 │ │ │ 5,0 │ 12 │ 6
──────┼────┼────┼────┼────┼────┼────┤ ├────┼──────┼─────┼───────
24 │ 40 │ 11 │ 13 │ 8,0│ 5 │ 18 │ │3,0 │ 6,5 │ 16 │ 7
──────┼────┼────┼────┼────┼────┼────┼───┼────┼──────┼─────┼───────
30 │ 50 │ 14 │ 16 │10,0│ 6 │ 22 │2,5│3,7 │ 7,5 │ 20 │ 10
──────┼────┼────┼────┼────┼────┼────┼───┼────┼──────┼─────┼───────
36 │ 60 │ 16 │ 20 │12,0│ 7 │ 28 │3,0│4,5 │ 9,0 │ 25 │ 11
──────┼────┼────┼────┼────┼────┼────┼───┼────┼──────┼─────┼───────
46 │ 74 │ 22 │ 24 │15,0│ 8 │ 34 │4,0│5,5 │10,0 │ 30 │ 14
Продолжение табл. 1
мм
─────┬───┬────┬───┬────┬────┬────┬───────┬────┬────┬───┬───┬──────
S, │ b │ b │ b │ l │ l │ l │ l │ l │ l │l │l │ d
не │ 5│ 6 │ 7│ │ 1 │ 2 │ 3 │ 4 │ 5 │ 6 │ 7 │ H9
менее│H11│ │ │ │ │-0,1│+/- 0,1│ │ │ │ │
─────┼───┼────┼───┼────┼────┼────┼───────┼────┼────┼───┼───┼──────
12 │2,5│ 7 │ 3 │ 84 │ 18 │ 5,0│ 5,0 │ 10 │ 11 │18 │ 5 │ 4,6
─────┼───┼────┼───┼────┼────┼────┼───────┼────┼────┼───┼───┼──────
19 │3,0│ 8 │ 4 │100 │ 25 │ 7,0│ 6,0 │ 12 │ 17 │26 │ 6 │ 6,8
─────┼───┼────┼───┼────┼────┼────┼───────┼────┼────┼───┼───┼──────
24 │4,0│ 10 │ 5 │125 │ 32 │ 9,5│ 8,0 │ 16 │ 18 │30 │ 7 │ 7,2
─────┼───┼────┼───┼────┼────┼────┼───────┼────┼────┼───┼───┼──────
30 │5,0│ 13 │ 6 │150 │ 38 │11,5│ 9,5 │ 20 │ 22 │35 │ 8 │ 9,0
─────┼───┼────┼───┼────┼────┼────┼───────┼────┼────┼───┼───┼──────
36 │6,0│ 15 │ 7 │177 │ 46 │14,5│ 12,0 │ 25 │ 27 │48 │10 │ 11,0
─────┼───┼────┼───┼────┼────┼────┼───────┼────┼────┼───┼───┼──────
46 │7,0│ 19 │ 8 │210 │ 58 │18,0│ 15,5 │ 30 │ 37 │52 │12 │ 14,0
Продолжение табл. 1
мм
─────┬───┬────┬───┬────┬────┬────┬─────┬────┬────┬───┬───┬───┬────
S, │ d │ d │ d │ r │ r │ r │ r │ r │ r │r │r │r │ r
не │ 1│ 2 │ 3│ │ 1 │ 2 │ 3 │ 4 │ 5 │ 6 │ 7 │ 8 │ 9
менее│H9 │ │ │ │ │ │ │ │ │ │ │ │
─────┼───┼────┼───┼────┼────┼────┼─────┼────┼────┼───┼───┼───┼────
12 │2,0│ М3 │ 5 │3,0 │1,5 │ 3 │ 1,5 │ 6,0│ 35 │28 │ 9 │30 │ 25
─────┼───┼────┼───┼────┼────┼────┼─────┼────┼────┼───┼───┼───┼────
19 │3,0│ М4 │ 6 │3,5 │2,0 │ 5 │ 2,0 │ 7,5│ 42 │36 │12 │35 │ 30
─────┼───┼────┼───┼────┼────┼────┼─────┼────┼────┼───┼───┼───┼────
24 │3,5│ М5 │ 8 │4,0 │2,5 │ 6 │ 2,5 │ 9,0│ 50 │48 │15 │42 │ 35
─────┼───┼────┼───┼────┼────┼────┼─────┼────┼────┼───┼───┼───┼────
30 │4,5│ М6 │10 │5,0 │3,0 │ 8 │ 2,8 │11,0│ 60 │50 │18 │50 │ 40
─────┼───┼────┼───┼────┼────┼────┼─────┼────┼────┼───┼───┼───┼────
36 │6,0│ М8 │12 │6,0 │4,0 │ 10 │ 3,0 │14,0│ 70 │68 │22 │60 │ 45
─────┼───┼────┼───┼────┼────┼────┼─────┼────┼────┼───┼───┼───┼────
46 │8,0│М10 │15 │7,0 │5,0 │ 12 │ 4,0 │17,0│ 85 │82 │25 │70 │ 50
| | ИС МЕГАНОРМ: примечание. Взамен ГОСТ 24705-81 Приказом Ростехрегулирования от 02.03.2005 N 36-ст с 1 июля 2005 года введен в действие ГОСТ 24705-2004. | |
| | ИС МЕГАНОРМ: примечание. Взамен ГОСТ 16093-81 Приказом Ростехрегулирования от 02.03.2005 N 39-ст с 1 июля 2005 года введен в действие ГОСТ 16093-2004. | |
Примечания. 1. Резьба - по ГОСТ 24705. Предельные отклонения резьбы - по ГОСТ 16093.
2. Неуказанные предельные отклонения размеров: необработанных поверхностей - по классу точности T4
ГОСТ 7505, остальных - по IT16.
Поз. 2. Губка подвижная
(черт. 2, табл. 2)
Черт. 2
Таблица 2
мм
─────┬────┬───┬───┬─────┬─────┬─────┬───┬───┬────┬────┬─────┬─────
S, │ H │ h │h │ h │ h │ b │b │b │ b │ b │ b │ d
не │ │ │ 1 │ 2 │ 3 │+0,1 │ 1 │ 2 │ 3 │ 4 │ 5 │ e9
менее│ │ │ ├─────┴─────┤ │ │ ├────┴────┤ d11 │
│ │ │ │ -0,1 │ │ │ │ +/- 0,1 │ │
─────┼────┼───┼───┼─────┬─────┼─────┼───┼───┼────┬────┼─────┼─────
12 │20,0│18 │ 6 │ 2,0 │ 1,3 │ 5,0 │ 3 │ 4 │ 5 │ 7 │ 2,5 │ 4,6
─────┼────┼───┼───┼─────┼─────┼─────┼───┤ ├────┼────┼─────┼─────
19 │29,1│24 │ 8 │ 2,4 │ 1,6 │ 7,5 │ 4 │ │ 6 │ 9 │ 3,0 │ 6,8
─────┼────┼───┼───┼─────┼─────┼─────┼───┼───┼────┼────┼─────┼─────
24 │35,5│34 │16 │ 3,0 │ 2,0 │ 9,5 │ 5 │ 5 │ 7 │ 10 │ 4,0 │ 7,2
─────┼────┼───┼───┼─────┼─────┼─────┼───┼───┼────┼────┼─────┼─────
30 │43,2│40 │18 │ 3,8 │ 2,5 │11,5 │ 6 │ 6 │ 10 │ 13 │ 5,0 │ 9,0
─────┼────┼───┼───┼─────┼─────┼─────┼───┤ ├────┼────┼─────┼─────
36 │52,0│48 │21 │ 4,5 │ 3,0 │14,5 │ 7 │ │ 11 │ 16 │ 6,0 │11,0
─────┼────┼───┼───┼─────┼─────┼─────┼───┤ ├────┼────┼─────┼─────
46 │66,8│55 │25 │ 5,8 │ 3,8 │18,0 │ 8 │ │ 14 │ 20 │ 7,5 │13,0
Продолжение табл. 2
мм
──────┬─────────────────┬───────┬───────┬───────┬────────┬────────
S, │ P │ C │ l │ r │ r │ r
не ├───────┬─────────┤ +0,1 │ │ │ 1 │ 2
менее│Номин. │ Пред. │ │ │ │ │
│ │ откл. │ │ │ │ │
──────┼───────┼─────────┼───────┼───────┼───────┼────────┼────────
12 │ 2,5 │+/- 0,03 │ 0,80 │ 1,0 │ 28 │ 10 │ 65
──────┼───────┤ ├───────┼───────┼───────┼────────┼────────
19 │ 3,0 │ │ 1,00 │ 1,5 │ 36 │ 12 │ 6
──────┼───────┤ ├───────┤ ├───────┼────────┼────────
24 │ 3,6 │ │ 1,18 │ │ 48 │ 15 │ 7
──────┼───────┤ ├───────┼───────┼───────┼────────┼────────
30 │ 4,5 │ │ 1,45 │ 2,0 │ 56 │ 18 │ 10
──────┼───────┼─────────┼───────┤ ├───────┼────────┼────────
36 │ 5,6 │+/- 0,04 │ 1,85 │ │ 68 │ 22 │ 11
──────┼───────┤ ├───────┼───────┼───────┼────────┼────────
46 │ 7,0 │ │ 2,30 │ 2,5 │ 82 │ 26 │ 14
Примечание. Неуказанные предельные отклонения размеров: необработанных поверхностей - по классу точности T4
ГОСТ 7505; остальных - охватываемых - по H14, охватывающих - по h14.
Поз. 3. Червяк
(черт. 3, табл. 3)
Черт. 3
Таблица 3
мм
──────────┬───────────┬───────────┬──────────┬──────────┬─────────
S, │ D │ d │ d │ l │ l
не │ +/- 0,1 │ H9 │ 1 │ e9 │ 1
менее │ │ │ H11 │ │
──────────┼───────────┼───────────┼──────────┼──────────┼─────────
12 │ 8,0 │ 2,0 │ 3,5 │ 8 │ 2,5
──────────┼───────────┼───────────┼──────────┼──────────┼─────────
19 │ 10,0 │ 3,0 │ 4,5 │ 10 │ 3,0
──────────┼───────────┼───────────┼──────────┼──────────┼─────────
24 │ 13,0 │ 3,5 │ 5,0 │ 13 │ 3,6
──────────┼───────────┼───────────┼──────────┼──────────┼─────────
30 │ 16,0 │ 4,5 │ 6,0 │ 16 │ 4,0
──────────┼───────────┼───────────┼──────────┼──────────┼─────────
36 │ 20,0 │ 6,0 │ 7,5 │ 20 │ 5,0
──────────┼───────────┼───────────┼──────────┼──────────┼─────────
46 │ 26,0 │ 8,0 │ 8,5 │ 24 │ 6,0
Продолжение табл. 3
мм
──────────┬────────┬──────────────────┬─────────┬─────────┬───────
S, │ l │ P │ h │ C │ r
не │ 2 ├──────┬───────────┤ -0,1 │ +0,1 │
менее │ │Номин.│Пред. откл.│ │ │
──────────┼────────┼──────┼───────────┼─────────┼─────────┼───────
12 │ 0,5 │ 2,5 │ +/- 0,03 │ 1,3 │ 0,80 │ 3,0
──────────┤ ├──────┤ ├─────────┼─────────┼───────
19 │ │ 3,0 │ │ 1,6 │ 1,00 │ 3,5
──────────┼────────┼──────┤ ├─────────┼─────────┼───────
24 │ 0,8 │ 3,6 │ │ 2,0 │ 1,18 │ 4,0
──────────┤ ├──────┤ ├─────────┼─────────┼───────
30 │ │ 4,5 │ │ 2,5 │ 1,45 │ 5,0
──────────┼────────┼──────┼───────────┼─────────┼─────────┼───────
36 │ 1,2 │ 5,6 │ +/- 0,04 │ 3,0 │ 1,85 │ 6,0
──────────┤ ├──────┤ ├─────────┼─────────┼───────
46 │ │ 7,0 │ │ 3,8 │ 2,30 │ 7,0
Неуказанные предельные отклонения размеров: охватывающих - по H14, охватываемых - по h14.
Поз. 4. Ось червяка
(черт. 4, табл. 4)
Черт. 4
Таблица 4
──────┬──────┬──────┬───────────────┬───────┬───────┬─────┬───────
S, │ d │ L │ d │ b │ h │ l │ c
не │ │ │ 1 │ │ │ │
менее│ │ ├───────┬───────┼───────┴───────┤ │
│ │ │Номин. │ Пред. │ +/- 0,25 │ │
│ │ │ │ откл. │ │ │
──────┼──────┼──────┼───────┼───────┼───────┬───────┼─────┼───────
12 │ М3 │ 18 │ 2,0 │ -0,04 │ 0,6 │ 0,8 │ 4 │ 1,0
──────┼──────┼──────┼───────┤ -0,12 ├───────┼───────┼─────┤
19 │ М4 │ 24 │ 3,0 │ │ 1,0 │ 1,1 │ 5 │
──────┼──────┼──────┼───────┼───────┼───────┼───────┼─────┤
24 │ М5 │ 26 │ 3,5 │ -0,05 │ 1,2 │ 1,2 │ 6 │
──────┼──────┼──────┼───────┤ -0,15 ├───────┼───────┼─────┼───────
30 │ М6 │ 32 │ 4,5 │ │ 1,6 │ 1,5 │ 7 │ 1,5
──────┼──────┼──────┼───────┤ ├───────┼───────┼─────┤
36 │ М8 │ 38 │ 6,0 │ │ 2,0 │ 2,0 │ 8 │
──────┼──────┼──────┼───────┤ ├───────┼───────┼─────┤
46 │ М10 │ 46 │ 8,0 │ │ 2,5 │ 2,5 │ 10 │
Неуказанные предельные отклонения размеров - по h11.