Главная // Актуальные документы // ГОСТ (Государственный стандарт)СПРАВКА
Источник публикации
М.: Издательство стандартов, 1989
Примечание к документу
Документ утратил силу с 1 июля 2015 года в связи с изданием
Приказа Росстандарта от 18.11.2014 N 1639-ст. Взамен введен в действие
ГОСТ 22689-2014.
С 1 июля 2003 года до вступления в силу технических регламентов акты федеральных органов исполнительной власти в сфере технического регулирования носят рекомендательный характер и подлежат обязательному исполнению только в части, соответствующей целям, указанным в
пункте 1 статьи 46 Федерального закона от 27.12.2002 N 184-ФЗ.
Текст документа приведен с учетом
поправки, опубликованной в "ИУС", N 11, 1990.
Введен в действие с 1 октября 1989 года.
Взамен ГОСТ 22689.2-77 - ГОСТ 22689.20-77.
Название документа
"ГОСТ 22689.2-89. Трубы полиэтиленовые канализационные и фасонные части к ним. Конструкция"
(утв. Постановлением Госстроя СССР от 16.06.1989 N 93)
"ГОСТ 22689.2-89. Трубы полиэтиленовые канализационные и фасонные части к ним. Конструкция"
(утв. Постановлением Госстроя СССР от 16.06.1989 N 93)
Утвержден и введен в действие
Постановлением Госстроя СССР
от 16 июня 1989 г. N 93
ГОСУДАРСТВЕННЫЙ СТАНДАРТ СОЮЗА ССР
ТРУБЫ ПОЛИЭТИЛЕНОВЫЕ КАНАЛИЗАЦИОННЫЕ И
ФАСОННЫЕ ЧАСТИ К НИМ
КОНСТРУКЦИЯ
Polyethylene waste-pipes and fittings.
Construction
ГОСТ 22689.2-89
Дата введения
1 октября 1989 года
1. Разработан и внесен Министерством промышленности строительных материалов СССР.
Разработчики стандарта: О.П. Михеев, канд. техн. наук (руководитель темы); В.И. Фельдман, канд. техн. наук; Л.П. Жаброва; Н.Г. Кулихина, А.Н. Афонин, канд. техн. наук; Р.Ф. Локшин, канд. техн. наук; С.В. Ехлаков, канд. техн. наук; И.В. Гвоздев; В.И. Терехин; А.А. Васильев; Л.С. Васильева; А.П. Чекрыгин.
2. Утвержден и введен в действие Постановлением Государственного строительного комитета СССР от 16.06.89 N 93.
3. Взамен ГОСТ 22689.2-77 - ГОСТ 22689.20-77.
4. Ссылочные нормативно-технические документы
─────────────────────────────────────────────────┬───────────────
Обозначение НТД, на который дана ссылка │ Номер пункта
─────────────────────────────────────────────────┼───────────────
ИС МЕГАНОРМ: примечание.
Взамен ГОСТ 7338-77 Постановлением Госстандарта СССР от 13.06.1990
Настоящий стандарт распространяется на трубы и фасонные части к ним (далее - изделия) из полиэтилена низкого давления (ПНД) и полиэтилена высокого давления (ПВД), предназначенные для внутренней канализации зданий, и комплектующие детали к ним.
Технические требования, правила приемки, методы испытания, маркировка, упаковка, транспортирование, хранение и гарантии изготовителя труб и фасонных частей должны соответствовать указанным в
ГОСТ 22689.0.
1.1. Канализационные трубы должны изготовляться прямыми отрезками длиной 2; 3; 5,5; 6 и 8 м с размерами, указанными на черт. 1 и в
табл. 1.
Черт. 1
мм
─────────────────────────┬────────────────────────────────────────
d │ S
────────────┬────────────┼───────────────────┬────────────────────
Номин. │Пред. откл. │ ПНД │ ПВД
│ ├───────┬───────────┼───────┬────────────
│ │Номин. │Пред. откл.│Номин. │Пред. откл.
────────────┼────────────┼───────┼───────────┼───────┼────────────
40,0 │+0,5 │2,0 │+0,5 │3,0 │+0,6
50,0 │+0,5 │3,0 │+0,6 │3,0 │+0,6
90,0 │+0,9 │3,0 │+0,6 │4,3 │+0,9
110,0 │+1,0 │3,5 │+0,6 │5,2 │+1,0
По согласованию изготовителя с потребителем допускается изготовление труб другой длины.
Примечания. 1. Допускается до 01.01.91 по согласованию с потребителем изготовление труб номинальным наружным диаметром 48,6 и 107,5 мм по утвержденной конструкторской документации с предельными отклонениями от размеров, указанными для изделий номинальным диаметром 50 и 110 мм.
2. Теоретическая масса труб приведена в
табл. 22.
Пример условного обозначения трубы канализационной наружным диаметром 110 мм длиной 6000 мм из ПНД:
Труба ТК 110-6000-ПНД ГОСТ 22689.2
2. РАСТРУБЫ И ГЛАДКИЕ КОНЦЫ ФАСОННЫХ ЧАСТЕЙ
2.1. Конструкция и размеры раструбов и гладких концов фасонных частей типа Кк должны соответствовать указанным на черт. 2 и
табл. 2, типа Сс - указанным на
черт. 3 и
табл. 3, типа Рр - указанным на
черт. 4 и в
табл. 4.
Черт. 2
мм
────────────┬────────────┬─────────────┬──────────────────────────
d │ D │ D │ S
│ │ 1 │
──────┬─────┼──────┬─────┼───────┬─────┼────────────┬─────────────
Номин.│Пред.│Номин.│Пред.│Номин. │Пред.│ ПНД │ ПВД
│откл.│ │откл.│ │откл.├──────┬─────┼──────┬──────
│ │ │ │ │ │Номин.│Пред.│Номин.│Пред.
│ │ │ │ │ │ │откл.│ │откл.
──────┼─────┼──────┼─────┼───────┼─────┼──────┼─────┼──────┼──────
50,0 │+0,5 │50,8 │+0,6 │60,0 │+0,6 │3,0 │+0,6 │3,0 │+0,6
90,0 │+0,9 │91,2 │+0,9 │101,6 │+0,9 │3,0 │+0,6 │4,3 │+0,9
110,0 │+1,0 │111,4 │+1,0 │121,7 │+1,0 │3,5 │+0,6 │5,2 │+1,0
Продолжение табл. 2
────────┬───────┬───────┬────────┬─────────┬────────┬─────────────
d │ l │ l │ l │ l │ r │l , не менее
│ │ 1 │ 2 │ 3 │ │ 4
────────┼───────┼───────┼────────┼─────────┼────────┼─────────────
50,0 │41 │11 │32 │6 │2,0 │8
90,0 │74 │14 │62 │7 │2,5 │8
110,0 │74 │14 │62 │7 │2,5 │9
мм
──────────────┬────────────┬──────┬──────────────────────────┬────────────┬──
d │ D │ d │ S │ l │l
│ │ 1 │ │ │ 1
──────┬───────┼──────┬─────┼──────┼────────────┬─────────────┼──────┬─────┤
Номин.│ Пред. │Номин.│Пред.│Номин.│ ПНД │ ПВД │Номин.│Пред.│
│ откл. │ │откл.│ │ │ │ │откл.│
│ │ │ │ ├──────┬─────┼──────┬──────┤ │ │
│ │ │ │ │Номин.│Пред.│Номин.│Пред. │ │ │
│ │ │ │ │ │откл.│ │откл. │ │ │
──────┼───────┼──────┼─────┼──────┼──────┼─────┼──────┼──────┼──────┼─────┼──
40,0 │+0,5 │39,5 │-0,4 │38,0 │3,0 │+0,6 │3,0 │+0,6 │15 │+5 │4
50,0 │+0,5 │49,5 │-0,4 │48,0 │3,0 │+0,6 │3,0 │+0,6 │15 │+5 │4
90,0 │+0,9 │89,4 │-0,5 │87,0 │3,0 │+0,6 │4,3 │+0,9 │22 │+8 │5
110,0 │+1,0 │109,3 │-0,5 │107,0 │3,5 │+0,6 │5,2 │+1,0 │26 │+9 │5
мм
────────────┬────────────┬───────┬────┬───────────────────────────
d │ D │ D │l, │ S
│ │ 1 │не │
──────┬─────┼──────┬─────┤ │ме- ├─────────────┬─────────────
Номин.│Пред.│Номин.│Пред.│ │нее │ ПНД │ ПВД
│откл.│ │откл.│ │ ├──────┬──────┼──────┬──────
│ │ │ │ │ │Номин.│Пред. │Номин.│Пред.
│ │ │ │ │ │ │откл. │ │откл.
──────┼─────┼──────┼─────┼───────┼────┼──────┼──────┼──────┼──────
40,0 │+0,5 │40,6 │+0,5 │СпУп │25 │3,0 │+0,6 │3,0 │+0,7
│ │ │ │50 х 3 │ │ │ │ │
50,0 │+0,5 │50,6 │+0,5 │СпУп │25 │3,0 │+0,6 │3,0 │+0,7
│ │ │ │60 х 3 │ │ │ │ │
90,0 │+0,9 │91,0 │+0,7 │СпУп │45 │3,0 │+0,6 │4,3 │+0,9
│ │ │ │110 х 5│ │ │ │ │
110,0 │+1,0 │111,2 │+0,8 │СпУп │55 │3,5 │+0,6 │5,2 │+1,0
│ │ │ │130 х 5│ │ │ │ │
Примечания. 1. Допускается до 01.01.91 по согласованию с потребителем изготовление фасонных частей для труб номинальным наружным диаметром 48,6 и 107,5 мм по утвержденной конструкторской документации с отклонениями от размеров указанными для изделий диаметром 50 и 110 мм.
2. Теоретическая масса фасонных частей приведена в
табл. 23 Приложения.
3.1. Патрубки должны изготовляться следующих типов:
КС - с раструбами для соединения уплотнительным кольцом и сваркой (черт. 5);
Патрубок типа КС
Черт. 5
Кс - с раструбом для соединения уплотнительным кольцом и гладким концом для соединения сваркой (черт. 6);
Патрубок типа Кс
Черт. 6
Рс - с раструбом для соединения гайкой и гладким концом для соединения сваркой (черт. 7);
Патрубок типа Рс
Черт. 7
СР - с раструбом для соединения сваркой и раструбом для соединения гайкой (черт. 8).
Патрубок типа СР
Черт. 8
3.2. Размеры патрубков должны соответствовать указанным в табл. 5.
Таблица 5
мм
───────────────┬──────────────────────────────────────────────────
d │ L, не менее, для патрубков типов
├────────────┬────────────┬────────────┬───────────
│ КС │ Кс │ Рс │ СР
───────────────┼────────────┼────────────┼────────────┼───────────
40,0 │- │- │45 │-
50,0 │61 │65 │45 │45
90,0 │100 │100 │72 │72
110,0 │105 │110 │86 │86
Пример условного обозначения патрубка типа КС для труб диаметром 50 мм из ПНД:
Патрубок П 50К х 50С-ПНД ГОСТ 22689.2
4. ПАТРУБКИ КОМПЕНСАЦИОННЫЕ
4.1. Компенсационные патрубки должны изготовляться следующих типов:
Кк - с компенсационным раструбом и гладким концом для соединения уплотнительным кольцом (черт. 9);
Компенсационный патрубок типа Кк
Черт. 9
КС - с компенсационным раструбом и раструбом для соединения сваркой (черт. 10);
Компенсационный патрубок типа КС
Черт. 10
Кс - с компенсационным раструбом и гладким концом для соединения сваркой (черт. 11).
Компенсационный патрубок типа Кс
Черт. 11
4.2. Размеры компенсационных патрубков различных типов должны соответствовать указанным в табл. 6.
Таблица 6
мм
───────────────┬──────────────┬───────────────────────────────────
d │ l │ L, не менее, для патрубков типов
│ ├───────────┬───────────┬───────────
│ │ Кк │ Кс │ КС
───────────────┼──────────────┼───────────┼───────────┼───────────
50,0 │150 │197 │175 │170
───────────────┼──────────────┼───────────┼───────────┼───────────
90,0 │230 │312 │270 │261
110,0 │ │ │ │
Пример условного обозначения компенсационного патрубка типа Кс из ПНД для соединения труб диаметром 110 мм:
Патрубок ПК 110К х 110с-ПНД ГОСТ 22689.2
5.1. Переходные патрубки должны изготовляться следующих типов:
кК - с гладким концом и раструбом для соединения уплотнительным кольцом (черт. 12);
Патрубок типа кК
Черт. 12
сК - с гладким концом для соединения сваркой и раструбом для соединения уплотнительным кольцом (черт. 13);
Патрубок типа сК
Черт. 13
сС - с гладким концом и раструбом для соединения сваркой (черт. 14);
Патрубок типа сС
Черт. 14
сР - с гладким концом для соединения сваркой и раструбом для соединения гайкой (черт. 15).
Патрубок типа сР
Черт. 15
5.2. Размеры переходных патрубков должны соответствовать указанным в табл. 7.
Таблица 7
мм
───────┬───────┬────────┬─────────────────────────────────────────
d │ d │ l, не │ L, не менее, для патрубков типов
│ 1 │ менее ├──────────┬─────────┬──────────┬─────────
│ │ │ сК │ сС │ сР │ кК
───────┼───────┼────────┼──────────┼─────────┼──────────┼─────────
50,0 │40,0 │34 │- │61 │74 │-
90,0 │50,0 │42 │108 │82 │92 │145
110,0 │50,0 │49 │120 │94 │104 │152
110,0 │90,0 │50 │154 │102 │125 │186
Пример условного обозначения переходного патрубка типа кК из ПНД для соединения труб диаметрами 90 и 50 мм:
Патрубок ПП 90к х 50К-ПНД ГОСТ 22689.2
6.1. Приборные патрубки должны изготовляться следующих типов:
Ук - с раструбом для присоединения к выпуску унитаза или к выпуску чугунного трапа и гладким концом для соединения уплотнительным кольцом (черт. 16);
Патрубок типа Ук
Черт. 16
УС - с раструбом для присоединения к выпуску унитаза или к выпуску чугунного трапа и раструбом для соединения сваркой (черт. 17).
Патрубок типа УС
Черт. 17
6.2. Размеры приборных патрубков должны соответствовать указанным в табл. 8.
Таблица 8
мм
─────┬────────────┬──────┬──────┬──────┬──────────────────────────
d │ D │ l │ l │ l │ S
├──────┬─────┤ │ 1 │ 2 ├────────────┬─────────────
│Номин.│Пред.│ │ │ │ ПНД │ ПВД
│ │откл.│ │ │ ├──────┬─────┼──────┬──────
│ │ │ │ │ │Номин.│Пред.│Номин.│Пред.
│ │ │ │ │ │ │откл.│ │откл.
─────┼──────┼─────┼──────┼──────┼──────┼──────┼─────┼──────┼──────
50,0 │71 │+0,6 │ 60 │ 50 │ 6 │3,0 │+0,6 │3,0 │+0,6
90,0 │112 │+1,0 │ 60 │ 113 │ 8 │3,0 │+0,6 │4,3 │+0,9
110,0│112 │+1,0 │ 75 │ 113 │ 8 │3,5 │+0,6 │5,2 │+1,0
Пример условного обозначения приборного патрубка типа Ук диаметром 110 мм из ПНД для присоединения к выпуску унитаза:
Патрубок ППрУ х 110к-ПНД ГОСТ 22689.2
7.1. Приборные отводы должны изготовляться следующих типов:
УС - с раструбом для присоединения к выпуску унитаза и раструбом для соединения сваркой (черт. 18);
Отвод типа УС
Черт. 18
Ук - с раструбом для присоединения к выпуску унитаза и гладким концом для соединения уплотнительным кольцом (черт. 19).
Отвод типа Ук
Черт. 19
7.2. Размеры приборных отводов должны соответствовать указанным в табл. 9.
Таблица 9
мм
─────────┬─────────┬─────────┬─────────┬──────────────────────────
d │ l │ l │ l │ S
│ 1 │ 2 │ 3 ├────────────┬─────────────
│ │ │ │ ПНД │ ПВД
│ │ │ ├──────┬─────┼──────┬──────
│ │ │ │Номин.│Пред.│Номин.│Пред.
│ │ │ │ │откл.│ │откл.
─────────┼─────────┼─────────┼─────────┼──────┼─────┼──────┼──────
90,0 │60 │115 │30 │3,0 │+0,6 │4,3 │+0,9
110,0 │75 │115 │40 │3,5 │+0,6 │5,2 │+1,0
Пример условного обозначения отвода приборного типа УС диаметром 110 мм из ПНД для присоединения к выпуску унитаза:
Отвод ОПр У х 110С-ПНД ГОСТ 22689.2
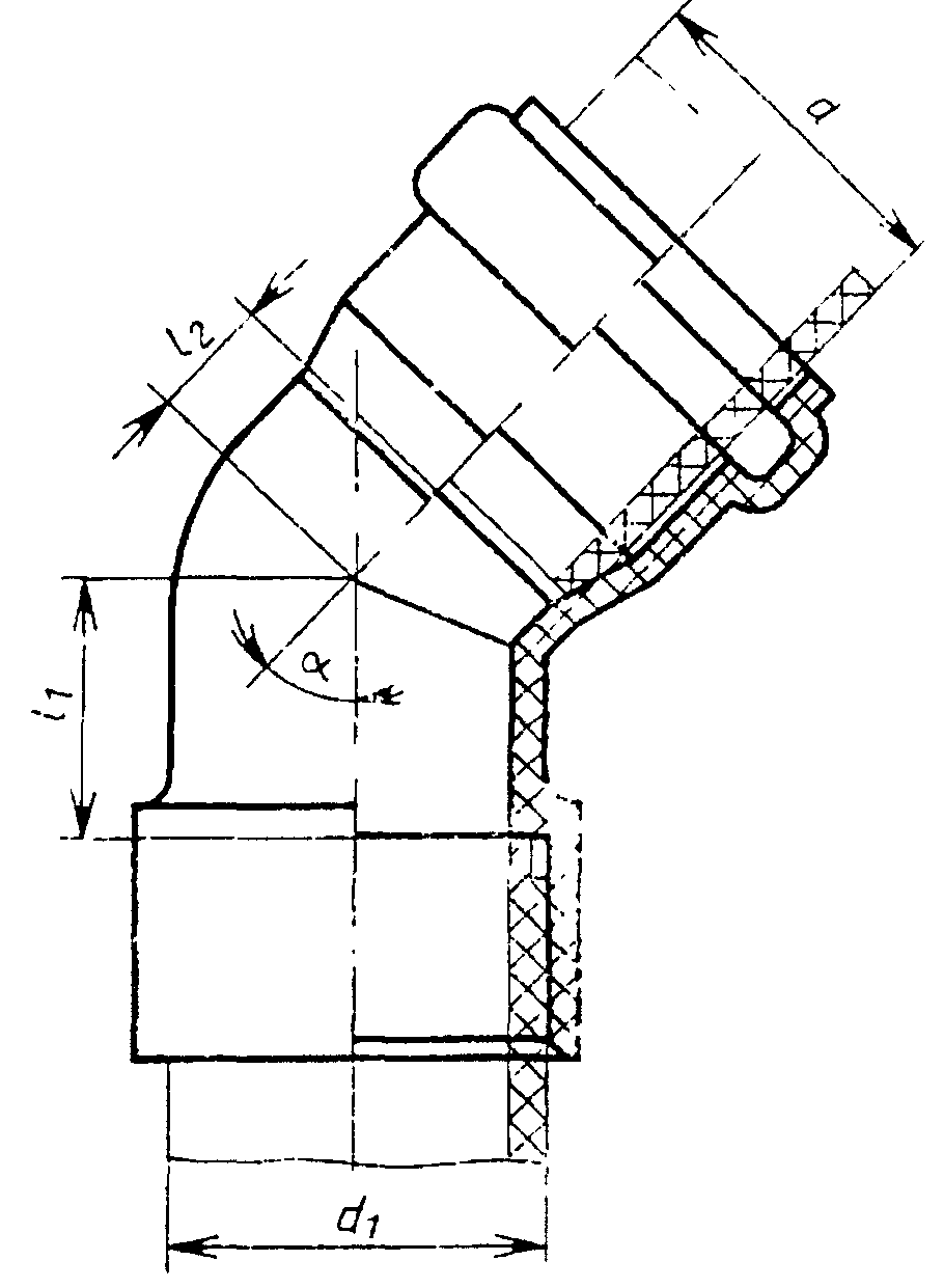
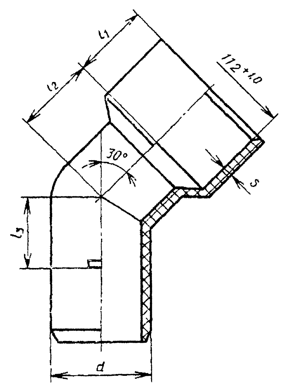
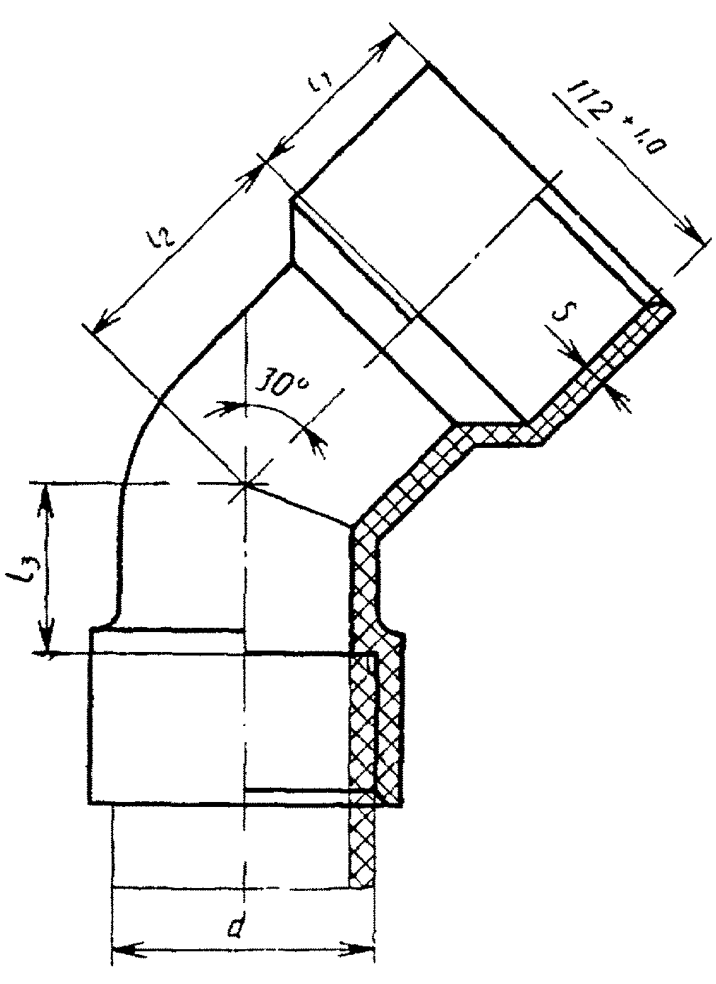
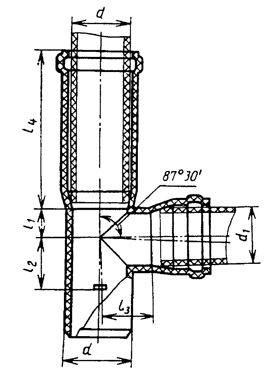
8.1. Отводы должны изготовляться следующих типов:
Кк - с раструбом и гладким концом для соединения уплотнительным кольцом (черт. 20);
Отвод типа Кк
Черт. 20
СК - с раструбами для соединения сваркой и уплотнительным кольцом (черт. 21);
Отвод типа СК
Черт. 21
СС - с раструбами для соединения сваркой (черт. 22);
Отвод типа СС
Черт. 22
СР - с раструбами для соединения сваркой и гайкой (черт. 23).
Отвод типа СР
Черт.23
8.2. Размеры отводов должны соответствовать указанным в табл. 10.
Таблица 10
мм
─────────┬─────────┬──────────────────────────────────────────────
d │ d │ альфа
│ 1 ├───────────────┬──────────────┬───────────────
│ │ 30° │ 45' │ 87°30'
│ ├───────┬───────┼──────┬───────┼───────┬───────
│ │ l │ l │ l │ l │ l │ l
│ │ 1 │ 2 │ 1 │ 2 │ 1 │ 2
│ ├───────┴───────┴──────┴───────┴───────┴───────
│ │ не менее
─────────┼─────────┼───────┬───────┬──────┬───────┬───────┬───────
40,0 │40,0 │- │- │14 │14 │33 │33
50,0 │40,0 │- │- │17 │17 │39 │31
50,0 │50,0 │- │- │17 │17 │39 │39
90,0 │90,0 │22 │22 │29 │29 │73 │73
110,0 │110,0 │24 │24 │42 │42 │85 │85
Примечание. Размеры 50 х 40 даны для отводов типов СК и СР.
Пример условного обозначения отвода типа СР с углом

= 87°30' из ПНД для соединения с трубами 50 мм и 40 мм:
Отвод О 50С х 40Р-ПНД ГОСТ 22689.2
То же, типа СК с углом

= 30°:
Отвод О 30° 40С х 50К-ПНД ГОСТ 22689.2
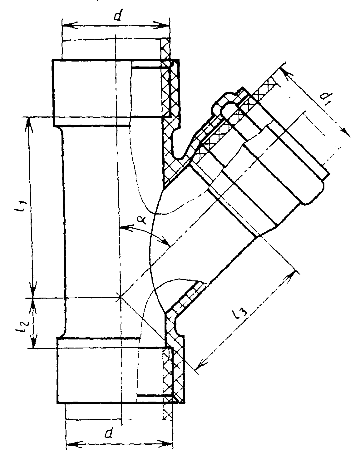
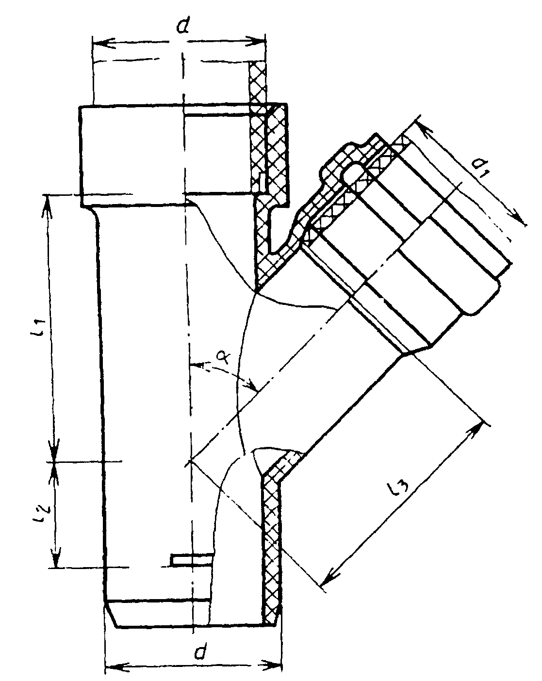
9.1. Тройники должны изготовляться следующих типов:
КкК - с двумя раструбами и гладким концом для соединения уплотнительными кольцами (черт. 24);
Тройник типа КкК
Черт. 24
КкудК - с двумя раструбами и удлиненным гладким концом для соединения уплотнительными кольцами (черт. 25);
Тройник типа КкудК
Черт. 25
КудкК - с удлиненным компенсационным раструбом, гладким концом и боковым раструбом для соединения уплотнительными кольцами (черт. 26);
Тройник типа КудкК
Черт. 26
КСК - с двумя раструбами для соединения уплотнительными кольцами и раструбом для соединения сваркой (черт. 27);
Тройник типа КСК
Черт. 27
ССК - с двумя раструбами для соединения сваркой и раструбом для соединения уплотнительным кольцом (черт. 28);
Тройник типа ССК
Черт. 28
ССС - с тремя раструбами для соединения сваркой (черт. 29);
Тройник типа ССС
Черт. 29
РСР - с двумя раструбами для соединения гайкой и раструбом для соединения сваркой (черт. 30);
Тройник типа РСР
Черт. 30
ССР - с двумя раструбами для соединения сваркой и раструбом для соединения гайкой (черт. 31);
Тройник типа ССР
Черт. 31
СкК - с раструбом для соединения сваркой, гладким концом и раструбом для соединения уплотнительным кольцом (черт. 32).
Тройник типа СкК
Черт. 32
9.2. Размеры тройников типов КкК, КудкК, КСК, ССК, ССС, РСР, ССР, СкК должны соответствовать указанным в табл. 11, а тройника типа КкудК - в
табл. 12.
Таблица 11
мм
─────┬─────┬────┬────┬────┬────┬────┬────┬─────┬───────┬──────┬───────
d │ d │ l │ l │ l │ l │ l │ l │ l │ l │ l │ l
│ 1 │ 1 │ 2 │ 3 │ 1 │ 2 │ 3 │ 1 │ 2 │ 3 │ 4
│ ├────┴────┴────┼────┴────┴────┼─────┴───────┴──────┴───────
│ │ альфа = 45° │ альфа = 60° │ альфа = 87°30'
│ ├──────────────┴──────────────┴────────────────────────────
│ │ не менее
─────┼─────┼────┬────┬────┬────┬────┬────┬─────┬───────┬──────┬───────
50,0 │40,0 │80 │9 │70 │- │- │- │33 │31 │39 │-
50,0 │50,0 │70 │17 │70 │- │- │- │31 │39 │39 │150 <*>
90,0 │50,0 │100 │14 │100 │- │- │- │39 │36 │58 │-
90,0 │90,0 │120 │30 │120 │- │- │- │63 │59 │63 │-
110,0│50,0 │115 │14 │120 │- │- │- │39 │34 │68 │-
110,0│110,0│150 │37 │145 │110 │50 │110 │70 │85 или │70 │-
│ │ │ │ │ │ │ │ │58 <**>│ │
-----------------------------------
<*> Для тройника типа КудкК.
<**> Для тройников, устанавливаемых в санитарно-технических кабинах.
Примечание. Размер 50 х 40 указан для тройников типов ССС, РСР, ССР.
мм
───────────────┬───────────────┬──────────────────────────────────
d │ d │ альфа = 87°30'
│ 1 ├────────────┬──────────┬──────────
│ │ l │ l │ l
│ │ 1 │ 2 │ 3
───────────────┼───────────────┼────────────┼──────────┼──────────
90,0 │50,0 │103 │151 │150
110,0 │50,0 │128 │151 │150
Пример условного обозначения тройника типа КСК с углом

= 87°30' для соединения с трубами диаметром 110 мм и 50 мм из ПНД:
Тройник Т 110К х 110С х 50К-ПНД ГОСТ 22689.2
То же, тройника типа КСК с углом

= 45° для соединения труб тех же диаметров из ПНД:
Тройник Т 45° 110К х 110С х 50К-ПНД ГОСТ 22689.2
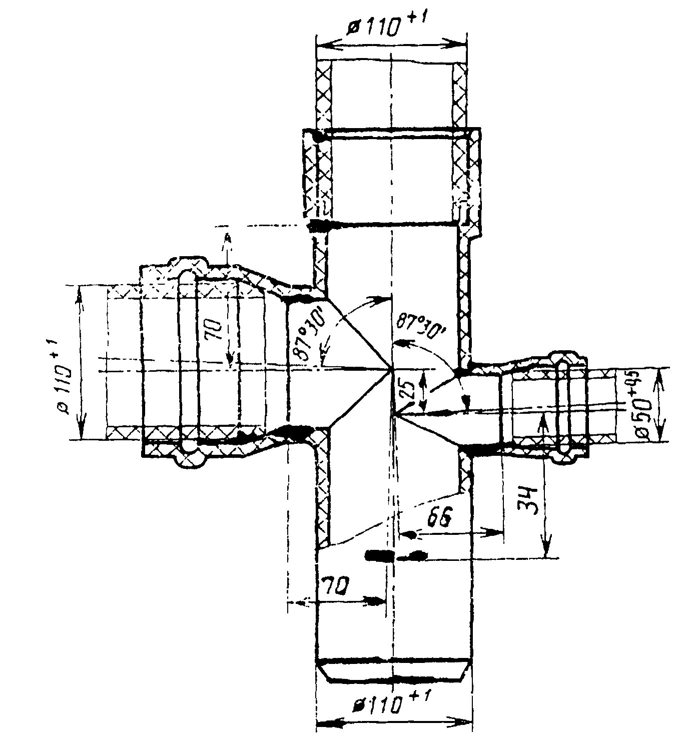
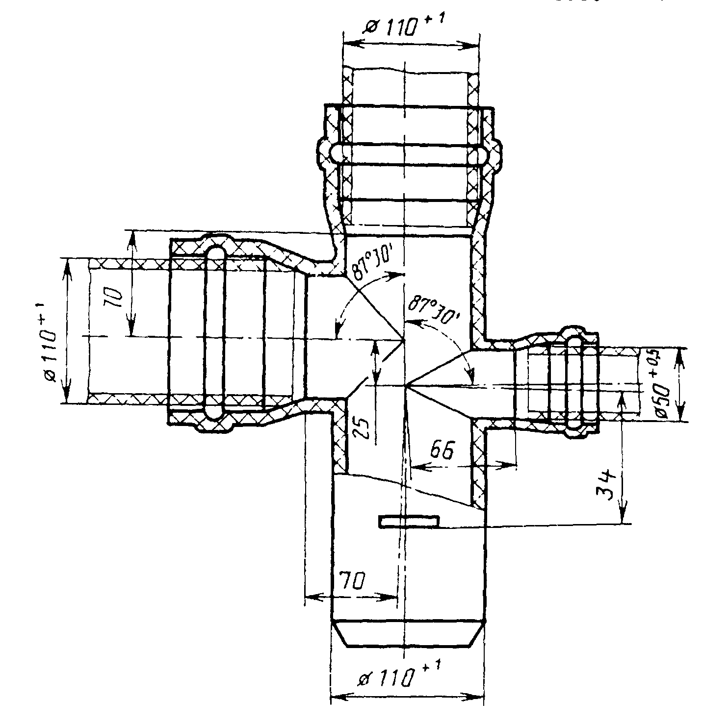
10.1. Крестовины должны изготовляться следующих типов:
КкКК - с тремя раструбами и гладким концом для соединения уплотнительными кольцами (черт. 33);
Крестовина типа КкКК
Черт. 33
СкКК - с раструбом для соединения сваркой, двумя раструбами и гладким концом для соединения уплотнительными кольцами (черт. 34);
Крестовина типа СкКК
Черт. 34
СССР - с тремя раструбами для соединения сваркой и раструбом для соединения гайкой (черт. 35);
Крестовина типа СССР
Черт. 35
СССК - с тремя раструбами для соединения сваркой и раструбом для соединения уплотнительным кольцом (черт. 36);
Крестовина типа СССК
Черт. 36
СССС - с четырьмя раструбами для соединения сваркой (черт. 37).
Крестовина типа СССС
Черт. 37
Пример условного обозначения крестовины типа СкКК с углом

= 87°30' для соединения с трубами диаметром 110 мм из ПНД:
Крестовина К 110С х 110к х 110К х 110К-ПНД ГОСТ 22689.2
10.2. Размеры крестовин должны соответствовать указанным в табл. 13.
Таблица 13
мм
─────────┬───────┬────────┬────────┬───────┬───────┬──────┬───────
Тип │ d │ d │ альфа │ l │ l │ l │ l
изделия │ │ 1 │ │ 1 │ 2 │ 3 │ 4
─────────┼───────┼────────┼────────┼───────┼───────┼──────┼───────
СкКК │50,0 │50,0 │45° │85 │17 │70 │-
│ │ │87°30' │36 │39 │39 │-
├───────┼────────┼────────┼───────┼───────┼──────┼───────
│110,0 │110,0 │87°30' │70 │58 │70 │-
─────────┼───────┼────────┼────────┼───────┼───────┼──────┼───────
СССС │90,0 │90,0 │45° │125 │30 │125 │-
│ │ │87°30' │63 │59 │63 │-
├───────┼────────┼────────┼───────┼───────┼──────┼───────
│110,0 │110,0 │87°30' │70 │85 │70 │-
─────────┼───────┼────────┼────────┼───────┼───────┼──────┼───────
КкКК │110,0 │50,0 │60° │70 │5 │88 │-
│ │ │87°30' │37 │34 │66 │-
├───────┼────────┼────────┼───────┼───────┼──────┼───────
│110,0 │110,0 │60° │110 │50 │110 │-
│ │ │87°30' │70 │85 или │70 │-
│ │ │ │ │58 <*> │ │
─────────┼───────┼────────┼────────┼───────┼───────┼──────┼───────
СССР │110,0 │50,0 │87°30' │70 │85 │70 │66
─────────┼───────┼────────┼────────┼───────┼───────┼──────┼───────
СССК │110,0 │50,0 │87°30' │70 │85 │70 │66
-----------------------------------
<*> Для крестовин, устанавливаемых в санитарно-технических кабинах.
11. КРЕСТОВИНЫ СО СМЕЩЕННЫМИ ОСЯМИ ОТВОДОВ
11.1. Крестовины со смещенными осями отводов должны изготовляться следующих типов:
КкКК - с тремя раструбами и гладким концом для соединения уплотнительными кольцами (черт. 38);
Крестовина со смещенными осями отводов типа КкКК
Черт. 38
СкКК - с двумя раструбами и гладким концом для соединения с помощью уплотнительных колец и раструбом для соединения сваркой (черт. 39).
Крестовина со смещенными осями отводов типа СкКК
Черт. 39
Пример условного обозначения крестовины со смещенными осями отводов типа СкКК для соединения труб диаметрами 110 мм и 50 мм из ПНД:
Крестовина Ксм110С х 110к х 110К х 50К-ПНД ГОСТ 22689.2
12. ТРОЙНИКИ УНИВЕРСАЛЬНЫЕ
12.1. Тройники универсальные должны изготовляться следующих типов:
КкКс (или КкКсс) - с двумя раструбами и гладким концом для соединения уплотнительными кольцами и боковым отводом (или боковыми отводами) для получения двухплоскостных крестовин (или пятериков) путем приварки патрубков, указанных в
разд. 3 (черт. 40);
Универсальный тройник типа КкКс (или КкКсс)
-----------------------------------
<*> В случае правого исполнения - глухая стенка.
<**> В случае левого исполнения - глухая стенка.
Черт. 40
СССС (или ССССС) - с тремя раструбами для соединения сваркой и боковым отводом (или двумя отводами) для получения двухплоскостных крестовин (или пятериков) путем приварки патрубков, указанных в
разд. 3 (черт. 41).
Универсальный тройник типа СССС (или ССССС)
-----------------------------------
<*> В случае правого исполнения - глухая стенка.
<**> В случае левого исполнения - глухая стенка.
Черт. 41
12.2. Размеры универсальных тройников должны соответствовать указанным в табл. 14.
Таблица 14
мм
───────────┬─────────────┬─────────┬─────────┬─────────┬──────────
d │ d │ l │ l │ l │ l
│ 1 │ 1 │ 2 │ 3 │ 4
│ ├─────────┴─────────┴─────────┴──────────
│ │ не менее
───────────┼─────────────┼─────────┬─────────┬─────────┬──────────
90,0 │50,0 │63 │59 │63 │150
110,0 │50,0 │70 │58 │70 │150
Пример условного обозначения тройника универсального типа КкКс с правым боковым отводом диаметром 50 мм для соединения с трубами диаметром 110 мм из ПНД:
Тун 110К х 110к х 110К х 50с-Пр-ПНД ГОСТ 22689.2
То же, для левого исполнения:
Тун 110К х 110к х 110К х 50с-Л-ПНД ГОСТ 22689.2
То же, тройника универсального типа ССССС с двумя боковыми отводами диаметром 50 мм для соединения с трубами диаметром 90 мм из ПНД:
Тун 90С х 90С х 90С х 50С х 50С-ПНД ГОСТ 22689.2
13.1. Муфты должны изготовляться следующих типов:
КК - с раструбами для соединения уплотнительными кольцами (черт. 42);
Муфта типа КК
Черт. 42
СС - с раструбами для соединения сваркой (черт. 43).
Муфта типа СС
Исполнение 1
Исполнение 2
Черт. 43
13.2. Размеры муфт должны соответствовать указанным в табл. 15.
Таблица 15
мм
────────────────────────────────┬───────────────┬─────────────────
d │ L │ l
├───────────────┴─────────────────
│ не менее
────────────────────────────────┼───────────────┬─────────────────
50,0 │87 │5
────────────────────────────────┼───────────────┤
90,0 │153 │
110,0 │ │
Пример условного обозначения муфты типа СС для соединения труб диаметрами 50 мм и 40 мм из ПНД:
Муфта М 50С х 40С-ПНД ГОСТ 22689.2
14.1. Ревизии должны изготовляться следующих типов:
К - с раструбом и гладким концом для соединения уплотнительным кольцом (черт. 44).
Ревизия типа К
Черт. 44
С - с раструбами для соединения сваркой (черт. 45).
Ревизия типа С
Черт. 45
14.2. Размеры ревизий должны соответствовать указанным в табл. 16.
Таблица 16
мм
──────────┬───────────┬──────────┬─────────┬──────────┬───────────
d │ D │ l │ l │ l │ l
│ │ 1 │ 2 │ 3 │ 4
│ ├──────────┴─────────┴──────────┴───────────
│ │ не менее
──────────┼───────────┼──────────┬─────────┬──────────┬───────────
50,0 │СпУп60 х 3 │39 │39 │48 │15
90,0 │СпУп110 х 5│57 │70 │82 │25
110,0 │СпУп130 х 5│70 │85 │88 │25
Пример условного обозначения ревизии типа К для соединения с трубами диаметром 110 мм из ПНД:
Ревизия Р 110К-ПНД ГОСТ 22689.2
15.1. Конструкция и размеры заглушек должны соответствовать черт. 46 и
табл. 17; конструкция и размеры крышек -
черт. 47 и
табл. 18.
Заглушка
Черт. 46
мм
────────────────┬────────────────┬────────────────┬───────────────
d │ D │ S │ h
────────────────┼────────────────┼────────────────┼───────────────
40,0 │ 52 │ 3,5 │ 35
50,0 │ 64 │ 4,0 │ 40
90,0 │ 106 │ 5,0 │ 60
110,0 │ 126 │ 5,0 │ 60
Крышка
мм
───────────────────────┬────────────────────────┬─────────────────
d │ D │ h
───────────────────────┼────────────────────────┼─────────────────
40,0 │ СпУп 50 х 3 │ 21
50,0 │ СпУп 60 х 3 │ 21
90,0 │ СпУп 110 х 5 │ 32
110,0 │ СпУп 130 х 5 │ 32
Пример условного обозначения заглушки для раструба фасонной части диаметром 110 мм из ПНД:
Заглушка З 110-ПНД ГОСТ 22689.2
То же, крышки исполнения "б" для раструба фасонной части диаметром 50 мм из ПНД:
Крышка К 50(б)-ПНД ГОСТ 22689.2
16.1. Конструкция и размеры накидных гаек должны соответствовать указанным на черт. 48 и в
табл. 19.
Гайка накидная
Черт. 48
мм
───────────────┬─────────────────┬────────────────┬───────────────
d │ D │ D │ h, не менее
│ │ 1 │
───────────────┼─────────────────┼────────────────┼───────────────
40,0 │ СпУп 50 х 3 │ 41 │ 21
50,0 │ СпУп 60 х 3 │ 51 │ 21
90,0 │ СпУп 110 х 5 │ 91 │ 32
110,0 │ СпУп 130 х 5 │ 111 │ 32
Пример условного обозначения гайки накидной канализационной из ПНД для труб диаметром 50 мм:
Гайка Г 50-ПНД ГОСТ 22689.2
17.1. Лента прокладочная полиэтиленовая предназначена для установки между наружной поверхностью канализационного трубопровода и внутренней поверхностью металлических креплений.
17.2. Конструкция и размеры прокладочной ленты должны соответствовать указанным на черт. 49.
Масса 1 м - 0,020 кг
Масса 1 м - 0,020 кг
Черт. 49
Условное обозначение прокладочной ленты из ПВД:
Лента ЛП-ПНД ГОСТ 22689.2
17.3. Лента должна изготовляться из полиэтилена высокого давления по
ГОСТ 16337.
18. КОЛЬЦА УПЛОТНИТЕЛЬНЫЕ
18.1. Резиновые уплотнительные кольца предназначены для комплектации канализационных фасонных частей из ПНД и ПВД.
18.2. Конструкция и размеры уплотнительных колец должны соответствовать указанным на черт. 50 и в табл. 20.
Черт. 50
Таблица 20
мм
──────────────────────────┬─────────────────────┬─────────────────
Номинальный диаметр трубы │ D │ d
│ │ 1
──────────────────────────┼─────────────────────┼─────────────────
│ +1 │ +0,4
50,0 │ 49 │ 6
│ -0,5 │
│ +1,2 │ +0,4
90,0 │ 89 │ 7
│ -0,6 │
│ +1,4 │ +0,4
110,0 │ 109 │ 7
│ -0,7 │
Пример условного обозначения уплотнительного кольца для комплектации фасонной части с номинальным диаметром 50 мм:
Кольцо Куп 50 ГОСТ 22689.2
18.3. Резина для уплотнительных колец должна иметь твердость по Шору в пределах 30 - 45 и относительную остаточную деформацию после старения в воздушной среде при сжатии на 40% и температуре 70 °С в течение 24 ч не более 25%.
19. ПРОКЛАДКИ УПЛОТНИТЕЛЬНЫЕ
19.1. Уплотнительные прокладки предназначены для комплектации канализационных фасонных частей из ПНД и ПВД с резьбовыми раструбами.
19.2. Конструкция и размеры уплотнительных прокладок должны соответствовать указанным на черт. 51 и в
табл. 21.
Черт. 51
мм
────────────────────┬────────┬───────────┬──────┬───────────┬─────
Номинальный диаметр│ D │Пред. откл.│ D │Пред. откл.│ S
трубы │ 1 │ │ 1 │ │
────────────────────┼────────┼───────────┼──────┼───────────┼─────
40,0 │39 │+1,0 │45 │-1,2 │2
50,0 │49 │+1,0 │55 │-1,2 │2
90,0 │93 │+1,4 │102 │-1,4 │3
110,0 │112 │+1,4 │122 │-1,4 │3
Пример условного обозначения уплотнительной прокладки для канализационной фасонной части с номинальным диаметром резьбового раструба 50 мм:
Прокладка П 50 ГОСТ 22689.2
| | ИС МЕГАНОРМ: примечание. Взамен ГОСТ 7338-77 Постановлением Госстандарта СССР от 13.06.1990 N 1528 с 1 июля 1991 года введен в действие ГОСТ 7338-90. | |
19.3. Уплотнительные прокладки должны изготовляться из резины по ГОСТ 7338 или из формовой резины по действующим техническим условиям.
Справочное
Таблица 22
Теоретическая масса 1 м полиэтиленовых
канализационных труб
───────────────────────┬──────────────────────────────────────────
d │ Масса 1 м труб, кг
├────────────────────┬─────────────────────
│ ПНД │ ПВД
───────────────────────┼────────────────────┼─────────────────────
40,0 │ 0,228 │ 0,322
50,0 │ 0,423 │ 0,409
90,0 │ 0,782 │ 1,068
110,0 │ 1,117 │ 1,580
Таблица 23
Теоретическая масса полиэтиленовых фасонных частей
─────────────┬──────┬──────┬────────┬─────┬───────────────────────
Наименование │ d │ d │альфа │ Тип │Масса фасонных частей,
изделия │ │ 1 │ │ │ кг
│ │ │ │ ├────────────┬──────────
│ │ │ │ │ ПНД │ ПВД
─────────────┼──────┼──────┼────────┼─────┼────────────┼──────────
Патрубки │50,0 │- │- │КС │0,039 │0,04
│90,0 │- │- │ │0,10 │0,13
│110,0 │- │- │ │0,16 │0,22
├──────┼──────┼────────┼─────┼────────────┼──────────
│50,0 │- │- │Кс │0,035 │0,04
│90,0 │- │- │ │0,08 │0,12
│110,0 │- │- │ │0,14 │0,19
├──────┼──────┼────────┼─────┼────────────┼──────────
│40,0 │- │- │Рс │0,020 │0,02
│50,0 │- │- │ │0,025 │0,025
│90,0 │- │- │ │0,10 │0,13
│110,0 │- │- │ │0,16 │0,22
├──────┼──────┼────────┼─────┼────────────┼──────────
│50,0 │- │- │СР │0,026 │0,03
│90,0 │- │- │ │0,11 │0,16
│110,0 │- │- │ │0,16 │0,25
─────────────┼──────┼──────┼────────┼─────┼────────────┼──────────
Патрубки │50,0 │- │- │Кк │0,098 │0,04
компенсацион-│90,0 │- │ │ │0,26 │0,40
ные │110,0 │- │ │ │0,39 │0,54
├──────┼──────┼────────┼─────┼────────────┼──────────
│50,0 │- │- │Кс │0,088 │0,09
│90,0 │- │ │ │0,22 │0,35
│110,0 │- │ │ │0,34 │0,54
├──────┼──────┼────────┼─────┼────────────┼──────────
│50,0 │- │- │КС │0,093 │0,09
│90,0 │- │ │ │0,23 │0,35
│110,0 │- │ │ │0,35 │0,47
─────────────┼──────┼──────┼────────┼─────┼────────────┼──────────
Патрубки │90,0 │50,0 │- │кК │0,097 │0,13
переходные │110,0 │50,0 │ │ │0,13 │0,20
│110,0 │90,0 │ │ │0,17 │0,28
├──────┼──────┼────────┼─────┼────────────┼──────────
│90,0 │50,0 │- │сК │0,07 │0,08
│110,0 │50,0 │ │ │0,09 │0,12
│110,0 │90,0 │ │ │0,18 │0,25
├──────┼──────┼────────┼─────┼────────────┼──────────
│50,0 │40,0 │- │сС │0,025 │0,025
│90,0 │50,0 │ │ │0,05 │0,07
│110,0 │50,0 │ │ │0,07 │0,10
│110,0 │90,0 │ │ │0,10 │0,16
├──────┼──────┼────────┼─────┼────────────┼──────────
│50,0 │40,0 │- │сР │0,033 │0,033
│90,0 │50,0 │ │ │0,06 │0,13
│110,0 │50,0 │ │ │0,08 │0,17
│110,0 │90,0 │ │ │0,17 │0,25
─────────────┼──────┼──────┼────────┼─────┼────────────┼──────────
Патрубки │50,0 │- │- │Ук │0,078 │0,078
приборные │90,0 │- │ │ │0,20 │0,22
│110,0 │- │ │ │0,29 │0,46
├──────┼──────┼────────┼─────┼────────────┼──────────
│50,0 │- │- │УС │0,061 │0,06
│90,0 │- │ │ │0,12 │0,13
│110,0 │- │ │ │0,15 │0,25
─────────────┼──────┼──────┼────────┼─────┼────────────┼──────────
Отводы │90,0 │- │- │Ук │0,18 │0,28
приборные │110,0 │- │ │ │0,40 │0,65
├──────┼──────┼────────┼─────┼────────────┼──────────
│90,0 │- │- │УС │0,20 │0,31
│110,0 │- │ │ │0,37 │0,60
─────────────┼──────┼──────┼────────┼─────┼────────────┼──────────
Отводы │90,0 │90,0 │30° │Кк │0,14 │0,22
│110,0 │110,0 │ │ │0,22 │0,36
├──────┼──────┼────────┼─────┼────────────┼──────────
│50,0 │50,0 │45° │Кк │0,052 │0,052
│90,0 │90,0 │ │ │0,15 │0,24
│110,0 │110,0 │ │ │0,27 │0,43
├──────┼──────┼────────┼─────┼────────────┼──────────
│50,0 │50,0 │87°30' │Кк │0,065 │0,065
│90,0 │90,0 │ │ │0,20 │0,31
│110,0 │110,0 │ │ │0,32 │0,52
├──────┼──────┼────────┼─────┼────────────┼──────────
│90,0 │90,0 │30° │СК │0,12 │0,18
│110,0 │110,0 │ │ │0,19 │0,31
├──────┼──────┼────────┼─────┼────────────┼──────────
│50,0 │40,0 │45° │СК │0,040 │0,040
│50,0 │50,0 │ │ │0,048 │0,048
│90,0 │90,0 │ │ │0,05 │0,19
│110,0 │110,0 │ │ │0,12 │0,37
├──────┼──────┼────────┼─────┼────────────┼──────────
│50,0 │40,0 │87°30' │СК │0,049 │0,049
│50,0 │50,0 │ │ │0,062 │0,062
│90,0 │90,0 │ │ │0,17 │0,27
│110,0 │110,0 │ │ │0,31 │0,49
├──────┼──────┼────────┼─────┼────────────┼──────────
│90,0 │90,0 │30° │СС │0,08 │0,17
│110,0 │110,0 │ │ │0,12 │0,20
├──────┼──────┼────────┼─────┼────────────┼──────────
│40,0 │40,0 │45° │СС │0,021 │0,02
│50,0 │50,0 │ │ │0,031 │0,03
│90,0 │90,0 │ │ │0,09 │0,18
│110,0 │110,0 │ │ │0,16 │0,26
├──────┼──────┼────────┼─────┼────────────┼──────────
│40,0 │40,0 │87°30' │СС │0,035 │0,035
│50,0 │50,0 │ │ │0,050 │0,050
│90,0 │90,0 │ │ │0,14 │0,22
│110,0 │110,0 │ │ │0,23 │0,37
├──────┼──────┼────────┼─────┼────────────┼──────────
│90,0 │90,0 │30° │СР │0,15 │0,23
│110,0 │110,0 │ │ │0,22 │0,35
├──────┼──────┼────────┼─────┼────────────┼──────────
│50,0 │40,0 │45° │СР │0,031 │0,031
│50,0 │50,0 │ │ │0,056 │0,056
│90,0 │50,0 │ │ │0,21 │0,33
│110,0 │110,0 │ │ │0,32 │0,51
├──────┼──────┼────────┼─────┼────────────┼──────────
│50,0 │40,0 │87°30' │СР │0,047 │0,047
│50,0 │50,0 │ │ │0,056 │0,056
│90,0 │90,0 │ │ │0,21 │0,33
│110,0 │110,0 │ │ │0,32 │0,51
─────────────┼──────┼──────┼────────┼─────┼────────────┼──────────
Тройники │50,0 │50,0 │45° │КкК │0,115 │0,115
│90,0 │50,0 │ │ │0,23 │0,33
│90,0 │90,0 │ │ │0,33 │0,50
│110,0 │50,0 │ │ │0,34 │0,51
│110,0 │110,0 │ │ │0,55 │0,89
├──────┼──────┼────────┼─────┼────────────┼──────────
│110,0 │110,0 │60° │КкК │0,49 │0,79
├──────┼──────┼────────┼─────┼────────────┼──────────
│50,0 │50,0 │87°30' │КкК │0,099 │0,099
│90,0 │50,0 │ │ │0,19 │0,27
│90,0 │90,0 │ │ │0,27 │0,42
│110,0 │50,0 │ │ │0,29 │0,43
│110,0 │110,0 │ │ │0,43 │0,70
├──────┼──────┼────────┼─────┼────────────┼──────────
│50,0 │50,0 │45° │КСК │0,111 │0,111
│90,0 │50,0 │ │ │0,21 │0,30
│90,0 │90,0 │ │ │0,30 │0,60
│110,0 │50,0 │ │ │0,31 │0,46
│110,0 │110,0 │ │ │0,52 │0,83
├──────┼──────┼────────┼─────┼────────────┼──────────
│110,0 │110,0 │60° │КСК │0,46 │0,74
├──────┼──────┼────────┼─────┼────────────┼──────────
│50,0 │50,0 │87°30' │КСК │0,094 │0,094
│90,0 │50,0 │ │ │0,17 │0,24
│90,0 │90,0 │ │ │0,25 │0,38
│110,0 │50,0 │ │ │0,25 │0,38
│110,0 │110,0 │ │ │0,43 │0,21
├──────┼──────┼────────┼─────┼────────────┼──────────
│50,0 │50,0 │45° │ССК │0,100 │0,100
│90,0 │50,0 │ │ │0,17 │0,24
│90,0 │90,0 │ │ │0,29 │0,45
│110,0 │50,0 │ │ │0,24 │0,37
│110,0 │110,0 │ │ │0,47 │0,76
├──────┼──────┼────────┼─────┼────────────┼──────────
│110,0 │110,0 │60° │ССК │0,39 │0,63
├──────┼──────┼────────┼─────┼────────────┼──────────
│50,0 │50,0 │87°30' │ССК │0,078 │0,078
│90,0 │50,0 │ │ │0,13 │0,18
│90,0 │90,0 │ │ │0,21 │0,32
│110,0 │50,0 │ │ │0,19 │0,29
│110,0 │110,0 │ │ │0,36 │0,58
├──────┼──────┼────────┼─────┼────────────┼──────────
│50,0 │40,0 │45° │ССС │0,070 │0,070
│50,0 │50,0 │ │ │0,085 │0,085
│90,0 │50,0 │ │ │0,16 │0,22
│90,0 │90,0 │ │ │0,23 │0,36
│110,0 │50,0 │ │ │0,23 │0,34
│110,0 │110,0 │ │ │0,39 │0,63
├──────┼──────┼────────┼─────┼────────────┼──────────
│110,0 │110,0 │60° │ССС │0,33 │0,54
├──────┼──────┼────────┼─────┼────────────┼──────────
│50,0 │40,0 │87°30' │ССС │0,053 │0,053
│50,0 │50,0 │ │ │0,062 │0,062
│90,0 │50,0 │ │ │0,11 │0,15
│90,0 │90,0 │ │ │0,18 │0,27
│110,0 │50,0 │ │ │0,17 │0,26
│110,0 │110,0 │ │ │0,29 │0,47
├──────┼──────┼────────┼─────┼────────────┼──────────
│50,0 │40,0 │45° │РСР │0,093 │0,095
│50,0 │50,0 │ │ │0,109 │0,109
│90,0 │50,0 │ │ │0,24 │0,34
│90,0 │90,0 │ │ │0,40 │0,57
│110,0 │50,0 │ │ │0,33 │0,50
│110,0 │110,0 │ │ │0,60 │0,96
├──────┼──────┼────────┼─────┼────────────┼──────────
│110,0 │110,0 │60° │РСР │0,52 │0,83
├──────┼──────┼────────┼─────┼────────────┼──────────
│50,0 │40,0 │87°30' │РСР │0,075 │0,075
│50,0 │50,0 │ │ │0,083 │0,083
│90,0 │50,0 │ │ │0,19 │0,27
│90,0 │90,0 │ │ │0,32 │0,49
│110,0 │50,0 │ │ │0,26 │0,39
│110,0 │110,0 │ │ │0,48 │0,78
├──────┼──────┼────────┼─────┼────────────┼──────────
│50,0 │40,0 │45° │ССР │0,083 │0,083
│50,0 │50,0 │ │ │0,099 │0,099
│90,0 │50,0 │ │ │0,16 │0,22
│90,0 │90,0 │ │ │0,33 │0,51
│110,0 │50,0 │ │ │0,24 │0,36
│110,0 │110,0 │ │ │0,50 │0,81
├──────┼──────┼────────┼─────┼────────────┼──────────
│110,0 │110,0 │60° │ССР │0,42 │0,68
├──────┼──────┼────────┼─────┼────────────┼──────────
│50,0 │40,0 │87°30' │ССР │0,060 │0,060
│50,0 │50,0 │ │ │0,071 │0,071
├──────┼──────┼────────┼─────┼────────────┼──────────
│50,0 │40,0 │87°30' │ССР │0,06 │0,06
│50,0 │50,0 │ │ │0,071 │0,071
│90,0 │50,0 │ │ │0,12 │0,17
│90,0 │90,0 │ │ │0,25 │0,38
│110,0 │50,0 │ │ │0,18 │0,27
│110,0 │110,0 │ │ │0,39 │0,62
├──────┼──────┼────────┼─────┼────────────┼──────────
│50,0 │50,0 │45° │СкК │0,104 │0,104
│90,0 │50,0 │ │ │0,20 │0,28
│90,0 │90,0 │ │ │0,31 │0,48
│110,0 │50,0 │ │ │0,28 │0,42
│110,0 │110,0 │ │ │0,50 │0,81
├──────┼──────┼────────┼─────┼────────────┼──────────
│110,0 │110,0 │60° │СкК │0,44 │0,70
├──────┼──────┼────────┼─────┼────────────┼──────────
│50,0 │50,0 │87°30' │СкК │0,082 │0,082
│90,0 │50,0 │ │ │0,15 │0,21
│90,0 │90,0 │ │ │0,24 │0,37
│110,0 │50,0 │ │ │0,21 │0,32
│110,0 │110,0 │ │ │0,39 │0,63
├──────┼──────┼────────┼─────┼────────────┼──────────
│50,0 │50,0 │- │КудкК│0,151 │0,151
├──────┼──────┼────────┼─────┼────────────┼──────────
│90,0 │50,0 │- │КкудК│0,40 │0,56
│110,0 │50,0 │ │ │0,57 │0,85
─────────────┼──────┼──────┼────────┼─────┼────────────┼──────────
Крестовины │110,0 │50,0 │60° │КкКК │0,32 │0,48
│110,0 │110,0 │ │ │0,66 │1,06
├──────┼──────┼────────┼─────┼────────────┼──────────
│110,0 │50,0 │87°30' │КкКК │0,30 │0,46
│110,0 │110,0 │ │ │0,59 │0,94
├──────┼──────┼────────┼─────┼────────────┼──────────
│50,0 │50,0 │45° │СкКК │0,144 │0,144
├──────┼──────┼────────┼─────┼────────────┼──────────
│50,0 │50,0 │87°30' │СкКК │0,115 │0,115
│110,0 │110,0 │ │ │0,49 │0,78
├──────┼──────┼────────┼─────┼────────────┼──────────
│90,0 │90,0 │45° │СССС │0,30 │0,46
├──────┼──────┼────────┼─────┼────────────┼──────────
│90,0 │90,0 │87°30' │СССС │0,21 │0,33
│110,0 │110,0 │ │ │0,36 │0,57
├──────┼──────┼────────┼─────┼────────────┼──────────
│110,0 │50,0 │87°30' │СССР │0,31 │0,47
├──────┼──────┼────────┼─────┼────────────┼──────────
│110,0 │50,0 │87°30' │СССК │0,32 │0,48
─────────────┼──────┼──────┼────────┼─────┼────────────┼──────────
Крестовины со│110,0 │50,0 │- │КкКК │0,46 │0,70
смещенными ├──────┼──────┼────────┼─────┼────────────┼──────────
осями отводов│110,0 │50,0 │- │СкКК │0,39 │0,59
─────────────┼──────┼──────┼────────┼─────┼────────────┼──────────
Тройники │90,0 │50,0 │- │КкКс │0,29 │0,40
универсальные│110,0 │50,0 │ │ │0,44 │0,66
├──────┼──────┼────────┼─────┼────────────┼──────────
│90,0 │50,0 │- │КкКсс│0,29 │0,41
│110,0 │50,0 │ │ │0,47 │0,71
├──────┼──────┼────────┼─────┼────────────┼──────────
│90,0 │50,0 │- │СССС │0,19 │0,26
│110,0 │50,0 │ │ │0,30 │0,46
├──────┼──────┼────────┼─────┼────────────┼──────────
│90,0 │50,0 │- │ССССС│0,20 │0,28
│110,0 │50,0 │ │ │0,31 │0,47
─────────────┼──────┼──────┼────────┼─────┼────────────┼──────────
Муфты │50,0 │- │- │КК │0,053 │0,053
│90,0 │- │ │ │0,12 │0,20
│110,0 │- │ │ │0,21 │0,34
├──────┼──────┼────────┼─────┼────────────┼──────────
│50,0 │40,0 │- │СС │0,018 │0,018
│50,0 │- │ │ │0,027 │0,027
│90,0 │- │ │ │0,04 │0,06
│110,0 │- │ │ │0,07 │0,12
─────────────┼──────┼──────┼────────┼─────┼────────────┼──────────
Ревизии │50,0 │- │- │К │0,089 │0,089
│90,0 │- │ │ │0,29 │0,45
│110,0 │- │ │ │0,42 │0,68
├──────┼──────┼────────┼─────┼────────────┼──────────
│50,0 │- │- │С │0,068 │0,068
│90,0 │- │ │ │0,21 │0,32
│110,0 │- │ │ │0,32 │0,52
─────────────┼──────┼──────┼────────┼─────┼────────────┼──────────
Заглушки │40,0 │- │- │- │0,017 │0,017
│50,0 │- │ │ │0,027 │0,027
│90,0 │- │ │ │0,08 │0,13
│110,0 │- │ │ │0,12 │0,23
─────────────┼──────┼──────┼────────┼─────┼────────────┼──────────
Крышки │50,0 │- │- │- │0,036 │0,036
│90,0 │- │ │ │0,10 │0,11
│110,0 │- │ │ │0,14 │0,14
─────────────┼──────┼──────┼────────┼─────┼────────────┼──────────
Гайки │40,0 │- │- │- │0,023 │0,023
накидные │50,0 │- │ │ │0,032 │0,033
│90,0 │- │ │ │0,08 │0,07
│110,0 │- │ │ │0,10 │0,09