Главная // Актуальные документы // ГОСТ (Государственный стандарт)СПРАВКА
Источник публикации
М.: Стандартинформ, 2007
Примечание к документу
Документ утратил силу с 1 июля 2018 года в связи с изданием
Приказа Росстандарта от 28.06.2017 N 592-ст. Взамен введен в действие
ГОСТ EN 12417-2016.
Отдельные положения данного документа включены в
Перечень международных и региональных (межгосударственных) стандартов, а в случае их отсутствия - национальных (государственных) стандартов, в результате применения которых на добровольной основе обеспечивается соблюдение требований технического
регламента Таможенного союза "О безопасности машин и оборудования" (ТР ТС 010/2011) и в
Перечень международных и региональных (межгосударственных) стандартов, а в случае их отсутствия - национальных (государственных) стандартов, содержащих правила и методы исследований (испытаний) и измерений, в том числе правила отбора образцов, необходимые для применения и исполнения требований технического
регламента Таможенного союза "О безопасности машин и оборудования" (ТР ТС 010/2011) и осуществления оценки соответствия объектов технического регулирования (
Решение Коллегии Евразийской экономической комиссии от 09.03.2021 N 28).
Документ включен в
Перечень документов в области стандартизации, в результате применения которых на добровольной основе обеспечивается соблюдение требований технического
регламента "О безопасности машин и оборудования", утв.
Постановлением Правительства РФ от 15.09.2009 N 753 (
Приказ Росстандарта от 20.08.2010 N 3108).
Документ включен в
Перечень документов в области стандартизации, содержащих правила и методы исследований (испытаний) и измерений, в том числе правила отбора образцов, необходимые для применения и исполнения технического
регламента о безопасности машин и оборудования, а также для осуществления оценки соответствия (
Распоряжение Правительства РФ от 05.08.2010 N 1328-р).
Введен в действие с 1 января 2008 года.
Название документа
"ГОСТ ЕН 12417-2006. Безопасность металлообрабатывающих станков. Центры обрабатывающие для механической обработки"
(введен в действие Приказом Ростехрегулирования от 16.08.2007 N 209-ст)
"ГОСТ ЕН 12417-2006. Безопасность металлообрабатывающих станков. Центры обрабатывающие для механической обработки"
(введен в действие Приказом Ростехрегулирования от 16.08.2007 N 209-ст)
Приказом Ростехрегулирования
от 16 августа 2007 г. N 209-ст
МЕЖГОСУДАРСТВЕННЫЙ СТАНДАРТ
БЕЗОПАСНОСТЬ МЕТАЛЛООБРАБАТЫВАЮЩИХ СТАНКОВ
ЦЕНТРЫ ОБРАБАТЫВАЮЩИЕ ДЛЯ МЕХАНИЧЕСКОЙ ОБРАБОТКИ
Safety of metal-working machine tools.
Machining centres
ЕН 12417:2001
Machine tools. Safety. Machining centres
(IDT)
ГОСТ ЕН 12417-2006
Цели, основные принципы и основной порядок проведения работ по межгосударственной стандартизации установлены
ГОСТ 1.0-92 "Межгосударственная система стандартизации. Основные положения" и
ГОСТ 1.2-97 "Межгосударственная система стандартизации. Стандарты межгосударственные, правила и рекомендации по межгосударственной стандартизации. Порядок разработки, принятия, применения, обновления и отмены".
1. Подготовлен Всероссийским научно-исследовательским институтом стандартизации и сертификации в машиностроении (ФГУП "ВНИИНМАШ") и Экспериментальным научно-исследовательским институтом металлорежущих станков (ОАО "ЭНИМС") на основе собственного аутентичного перевода стандарта, указанного в
пункте 4.
2. Внесен Федеральным агентством по техническому регулированию и метрологии.
3. Принят Межгосударственным советом по стандартизации, метрологии и сертификации (Протокол N 29 от 24 июня 2006 г.).
За принятие проголосовали:
┌────────────────────┬────────────────────┬───────────────────────────────┐
│Краткое наименование│ Код страны по │ Сокращенное наименование │
│ страны по │МК (ИСО 3166) 004-97│ национального │
│МК (ИСО 3166) 004-97│ │ органа по стандартизации │
├────────────────────┼────────────────────┼───────────────────────────────┤
│Азербайджан │ AZ │Азстандарт │
│Беларусь │ BY │Госстандарт Республики Беларусь│
│Казахстан │ KZ │Госстандарт Республики │
│ │ │Казахстан │
│Кыргызстан │ KG │Кыргызстандарт │
│Молдова │ MD │Молдова-Стандарт │
│Российская Федерация│ RU │Федеральное агентство │
│ │ │по техническому регулированию │
│ │ │и метрологии │
│Таджикистан │ TJ │Таджикстандарт │
│Туркменистан │ TM │Главгосслужба │
│ │ │"Туркменстандартлары" │
│Узбекистан │ UZ │Узстандарт │
│Украина │ UA │Госпотребстандарт Украины │
└────────────────────┴────────────────────┴───────────────────────────────┘
4. Настоящий стандарт идентичен европейскому стандарту ЕН 12417:2001 "Безопасность станков. Обрабатывающие центры" (EN 12417:2001 "Machine tools - Safety - Machining centres").
Наименование настоящего стандарта изменено относительно наименования указанного международного стандарта для приведения в соответствие с ГОСТ 1.5 (
подраздел 3.6).
Степень соответствия - идентичная (IDT).
При применении настоящего стандарта рекомендуется использовать вместо ссылочных международных (региональных) стандартов соответствующие им межгосударственные стандарты, сведения о которых приведены в дополнительном
Приложении E.
5. Приказом Федерального агентства по техническому регулированию и метрологии от 16 августа 2007 г. N 209-ст межгосударственный стандарт ГОСТ ЕН 12417-2006 введен в действие в качестве национального стандарта Российской Федерации с 1 января 2008 г.
6. Введен впервые.
В настоящем стандарте приводится перечень основных опасностей для обрабатывающих центров, устанавливаются методы их проверки, а также меры по предотвращению основных опасностей с целью обеспечения выпуска безопасной продукции, соответствующей международным требованиям.
Настоящий стандарт предназначен для конструкторов, изготовителей машин и других заинтересованных лиц и организаций.
1.1. Настоящий стандарт устанавливает требования безопасности и определяет меры, которые должны быть предприняты лицами, осуществляющими проектирование, конструирование и поставку (включая монтаж/демонтаж, транспортировку и техническое обслуживание) обрабатывающих центров для механической обработки (далее - станков) (см.
3.1).
1.2. Настоящий стандарт учитывает использование станков по назначению, их техническое обслуживание, наладку, уборку, включая при этом возможное применение этих станков и не по назначению. Он предусматривает доступ к станку со всех сторон. При этом в стандарте описаны меры по снижению риска для операторов и других работников, обслуживающих эти станки.
1.3. Настоящий стандарт распространяется также на устройства загрузки-выгрузки заготовок, если эти устройства являются неотъемлемой частью станка.
1.4. В настоящем стандарте рассмотрены основные опасности, связанные с обрабатывающими центрами, когда они используются по назначению и в условиях, предусмотренных изготовителем (см.
раздел 4).
1.5. Опасности, возникающие в ходе других технологических процессов металлообработки (шлифования, токарной обработки, штамповки, электроэрозионной обработки, лазерной обработки) рассматриваются в других стандартах (см.
[1] -
[22]).
1.6. Настоящий стандарт применяется к станкам, изготовленным после даты его введения.
В настоящем стандарте использованы датированные и недатированные ссылки на международные стандарты. При датированных ссылках последующие редакции международных стандартов или изменения к ним действительны для настоящего стандарта только после введения изменений к настоящему стандарту или путем подготовки новой редакции настоящего стандарта. При недатированных ссылках действительно последнее издание приведенного стандарта (включая изменения).
ЕН 292-1:1991. Безопасность машин. Основные положения, общие принципы конструирования. Часть 1. Основные термины, методология
ЕН 292-2:1991 + A1:1995. Безопасность машин. Основные положения, общие принципы конструирования. Часть 2. Технические принципы и технические условия
ЕН 294:1992. Безопасность машин. Безопасные расстояния для предохранения верхних конечностей от попадания в опасную зону
ЕН 349:1993. Безопасность машин. Минимальные расстояния для предотвращения защемления частей человеческого тела
ЕН 547:1996. Безопасность машин. Антропометрические данные.
Часть 1. Принципы определения размеров проемов, обеспечивающих доступ человека к машине
Часть 2. Принципы определения размеров проемов для отдельных частей тела человека
Часть 3. Антропометрические данные человека
ЕН 574:1996. Безопасность машин. Двуручные устройства управления. Функциональные аспекты. Принципы конструирования
ЕН 614. Безопасность машин. Эргономические принципы конструирования
Часть 1. Термины и общие положения
Часть 2. Взаимосвязь между конструкцией машины и ее работой
ЕН 626-1:1994. Безопасность машин. Снижение риска для здоровья от воздействия вредных веществ, выделяющихся при эксплуатации машин
ЕН 894. Безопасность машин. Эргономические требования по конструированию средств отображения информации и органов управления
Часть 1:1997. Общие основы взаимодействия пользователя со средствами отображения информации и органами управления
Часть 2:1997. Дисплеи
Часть 3:2000. Исполнительные механизмы системы управления
ЕН 953:1997. Безопасность машин. Ограждения. Общие требования по конструированию ограждений
ЕН 954-1:1996. Безопасность машин. Элементы системы управления, связанные с безопасностью. Часть 1. Общие принципы конструирования
ЕН 982:1996. Безопасность машин. Требования безопасности к гидравлическим и пневматическим системам и их компонентам. Гидравлика
ЕН 983:1996. Безопасность машин. Требования безопасности к гидравлическим и пневматическим системам и их компонентам. Пневматика
ЕН 999:1998. Безопасность машин. Расположение защитных устройств с учетом скоростей приближения частей тела человека
ЕН 1005. Безопасность машин. Физические возможности человека
Часть 1. Термины и определения
Часть 2. Составляющая ручного труда при работе с машинами и механизмами
Часть 3. Рекомендуемые пределы усилий для работы на машинах
ЕН 1037:1995. Безопасность машин. Предотвращение неожиданного пуска
ЕН 1050:1996. Безопасность машин. Принципы оценки и определения риска
ЕН 1088:1995. Безопасность машин. Блокировочные устройства, связанные с защитными устройствами. Принципы конструирования и выбора
ЕН 1127-1:1997. Взрывоопасная атмосфера. Предотвращение взрывов и защита от них. Часть 1. Основные положения и методология
ЕН 1760-1:1997. Безопасность машин. Защитные устройства, реагирующие на давление. Часть 1. Общие принципы конструирования и испытаний ковриков и полов, реагирующих на давление
ЕН 1837:1999. Безопасность машин. Встроенное освещение машин
ЕН 60529:1991. Степени защиты, обеспечиваемые оболочками (код IP)
ЕН 60825-1:1994. Безопасность лазерного оборудования. Часть 1. Классификация оборудования, требования и руководство для пользователя
ЕН ИСО 3744:1995. Акустика. Определение уровня звуковой мощности источников шума по звуковому давлению. Технический метод в существенно свободном звуковом поле над звукоотражающей плоскостью
ЕН ИСО 3746:1995. Акустика. Определение уровня звуковой мощности источников шума по звуковому давлению. Ориентировочный метод с использованием измерительной поверхности над звукоотражающей плоскостью
ЕН ИСО 4871:1997. Акустика. Декларация и проверка значений шумовых характеристик
ЕН ИСО 9614-1:1995. Акустика. Определение уровней звуковой мощности источников шума на основе интенсивности звука. Часть 1. Измерение в дискретных точках
ЕН ИСО 11202:1995. Акустика. Уровень шума машин и оборудования. Метод измерения уровней звукового давления на рабочем месте и в других контрольных точках. Метод измерения на рабочем месте
ЕН ИСО 11204:1995. Акустика. Уровень шума машин и оборудования. Метод с коррекцией на окружающую среду
ЕН ИСО 14122. Безопасность машин. Постоянные средства доступа к машинам
Часть 2. Рабочие платформы и мостки
Часть 3. Лестницы, ступени и перила
ЕН 13478. Безопасность машин. Противопожарные меры и защита от пожара
ЕН ИСО 11688-1:1998. Акустика. Практические рекомендации по проектированию машин и оборудования с уменьшенным уровнем производимого шума. - Часть 1. Планирование
ИСО/ТО 11688-2:1998. Акустика. Практические рекомендации по проектированию машин и оборудования с уменьшенным уровнем производимого шума. Часть 2. Основные принципы проектирования малошумных конструкций
ЕН 50081-2:1993. Электромагнитная совместимость. Нормы общего электромагнитного излучения. Часть 2. Промышленная среда
ЕН 60204-1:1997. Безопасность машин. Электрооборудование машин и механизмов. Часть 1. Общие требования (МЭК 60204-1:1997)
ЕН 61000-6-2. Электромагнитная совместимость (ЕМС). Часть 6-2. Общие стандарты. Невосприимчивость к промышленной среде (МЭК 61000-6-2:1999)
ЕН 61496-1:1997. Безопасность машин. Электрочувствительное защитное оборудование. Часть 1. Общие требования и испытания (МЭК 61496-1:1997)
МЭК 61496-2:1997 Безопасность машин. Электрочувствительное защитное оборудование. Часть 2. Особые требования к оборудованию, использующему активные оптико-электронные защитные средства
ИСО 2806:1994. Системы промышленной автоматизации. Числовое программное управление станков. Словарь.
В настоящем стандарте применены термины по ЕН 292-1, ЕН 292-2/A1, а также следующие термины с соответствующими определениями:
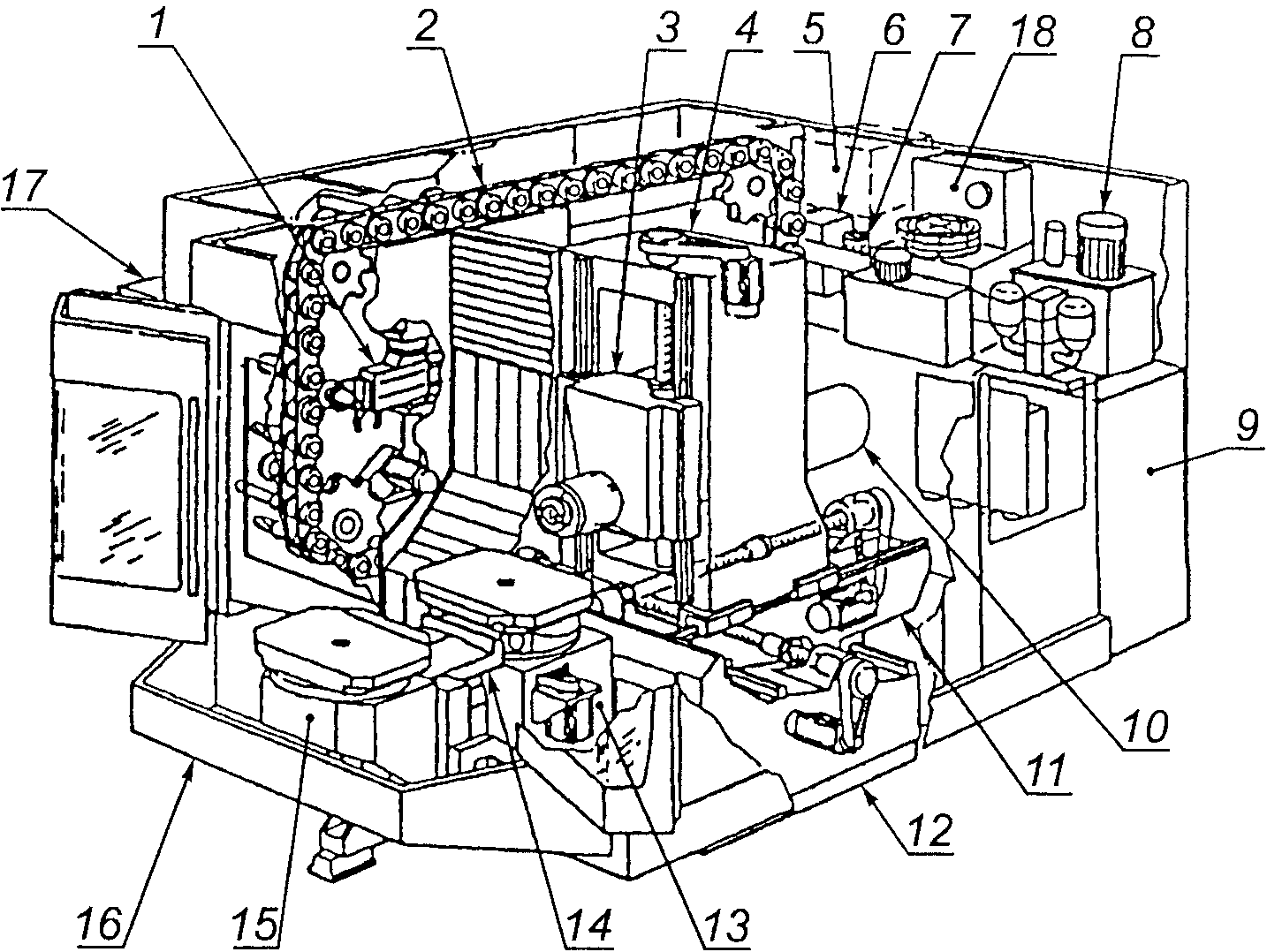
3.1. Обрабатывающий центр (machining centre): станок с цифровым управлением, как правило, с горизонтальным или вертикальным шпинделем, способный выполнять два или более процесса обработки детали (например, фрезерование, сверление, расточку) и имеющий приспособления для автоматической смены инструмента из магазина или другого подобного накопителя инструмента в соответствии с программой станка. Такие станки могут иметь также устройства для ручного управления.
3.2. Числовое программное управление (компьютерное числовое управление) [numeral control (computer numeral control)] NC, CNC: автоматическое управление технологическим процессом с помощью устройства, использующего цифровую информацию для выполнения заданной программы (ИСО 2806, пункт 2.1.1).
3.3. Рабочая зона (work zone): пространство, где может происходить процесс обработки металла.
3.4. Устройство перемещения детали (workpiece transfer device): механизм, соединенный со станком для загрузки заготовки и выгрузки обработанной детали (например, устройство для замены паллет) (см.
рисунки C.1 -
C.4).
3.5. Электронный маховичок (electronic handwheel): вручную управляемое средство управления, которое инициирует и поддерживает движение рабочих органов станка по осям координат путем ввода генерации импульсов в числовое управление при вращении маховичка.
4. Перечень основных опасностей
4.1. Перечень основных опасностей, содержащийся в таблице 1, является результатом анализа опасных ситуаций и оценки рисков, проведенного для широкого диапазона обрабатывающих центров по методике, установленной ЕН 1050. Требования к безопасности и меры обеспечения безопасности, а также информация для потребителя, содержащиеся в
разделах 5 и
7, обеспечивают либо полное устранение рисков, либо сокращение рисков до минимума.
Таблица 1
основных опасностей и основные источники этих
опасностей, связанных с обрабатывающими центрами
┌───────────────┬──────────────┬───────────────┬───────────────┬──────────┐
│ Перечень │ Источник │ Деятельность, │ Зона │ Мера по │
│ основных │ опасных │ вызывающая │ возникновения │устранению│
│ опасностей │ ситуаций │ опасные │ опасных │опасностей│
│ (ЕН 1050, │ │ ситуации │ ситуаций │ (см. │
│ приложение A) │ │ │ │раздел 5, │
├───────────────┼──────────────┼───────────────┼───────────────┼──────────┤
│ 1. Механичес- │ │ │ │ │
│кие опасности: │ │ │ │ │
│ 1.1. Опасность│ Зажим детали │ Загрузка/пере-│ Между зажимами│
1.4 │
│раздавливания │ │ориентация/вы- │и деталью │ │
│ │ │грузка детали │ │ │
│ │ Движущиеся │ Наладка, │ Пространство, │
1.3 │
│ │узлы, │техническое │в котором │ │
│ │связанные с │обслуживание │перемещается │ │
│ │автоматической│приводной │инструмент │ │
│ │заменой │системы замены │между шпинделем│ │
│ │инструмента │инструмента │и магазином │ │
│ │ │ │ │ │
│ │ Движущиеся │ Техническое │ Между │
1.7 │
│ │узлы станков │обслуживание │неподвижными │ │
│ │ │ │и движущимися │ │
│ │ │ │узлами станка │ │
│ │ Движущиеся │ Работа │ На станке │
1.8 │
│ │механизмы │на станке, │или возле него │ │
│ │загрузки/вы- │техническое │ │ │
│ │грузки детали │обслуживание │ │ │
ИС МЕГАНОРМ: примечание.
В официальном тексте документа, видимо, допущена опечатка:
пункт 1.2.1.3 отсутствует.
│ 1.2. Опасность│ Движущиеся │ Ручные │ Между │
1.1.6.3, │
│ранения │узлы станков │операции, зажим│инструментом/ │
1.1.6.4, │
│ │ │инструмента │шпинделем и │1.2.1.3 │
│ │ │ │столом/деталью │ │
│ 1.3. Опасность│ Вращающиеся │ Вращение │ Рядом со │
1.1 - │
│разрезания │шпиндель или │шпинделя │шпинделем или │
1.1.6.4│
│и разрыва │инструмент │ │инструментом │ │
│ 1.4. Опасность│ Движущиеся │ Наладка, │ Пространство, │
1.3 │
│запутывания │узлы, │техническое │в котором │ │
│ │связанные с │обслуживание │перемещается │ │
│ │автоматической│приводной │инструмент │ │
│ │заменой │системы замены │между шпинделем│ │
│ │инструмента │инструмента │и магазином │ │
│ │ Механизмы для│ Наладка, │ Зоны сбора │
1.5 │
│ │удаления │чистка, │и выгрузки │ │
│ │стружки/опилок│техническое │стружки/ опилок│ │
│ │ │обслуживание │ │ │
│ │ │механизмов, │ │ │
│ │ │удаление │ │ │
│ │ │стружки/опилок │ │ │
│ 1.5. Опасность│ Быстрое │ Движение │ Пространство, │
1.1 │
│затягивания или│перемещение │от привода │в котором │ │
│попадания │стола или │заготовки │перемещаются │ │
│в ловушку │шпиндельной │со столом или │детали, │ │
│ │головки │инструмента │инструмент │ │
│ │ │в шпинделе │и узлы станка │ │
│ │ Механизмы │ Техническое │ На станке │
1.6 │
│ │передачи │обслуживание │или вокруг него│ │
│ │вращения │ │ │ │
│ 1.6. Опасность│ Перемещающий-│ Вращение │ Рядом со │
1.1 - │
│удара │ся/вращающийся│шпинделя │шпинделем или │
1.1.6.4│
│ │инструмент │ │инструментом │ │
│ │ Механизмы │ Механическая │ Пространство, │
1.3 │
│ │автоматической│смена │в котором │ │
│ │смены │инструмента │перемещаются │ │
│ │инструмента │ │механизмы смены│ │
│ │ │ │инструмента │ │
│ │ Автоматичес- │ Перемещение │ Пространство, │
1.4 │
│ │кое │детали/заготов-│в котором │ │
│ │перемещение │ки с помощью │перемещаются │ │
│ │детали │механического │механизмы │ │
│ │(например, │привода │перемещения │ │
│ │система │ │детали │ │
│ │загрузки │ │ │ │
│ │паллет) │ │ │ │
├───────────────┼──────────────┼───────────────┼───────────────┼──────────┤
│ 1.7. Опасность│ Перемещение │ Управление │ Рядом │
1.1 - │
│быть уколотым │вращающегося │технологическим│с инструментом │
1.1.6.4│
│или проткнутым │инструмента │процессом │и шпинделем │ │
│ │(особенно экс-│ │ │ │
│ │центрикового) │ │ │ │
│ │ Движения, │ Автоматическая│ Пространство, │
1.3 │
│ │связанные с │замена │в котором │ │
│ │автоматической│инструмента │перемещаются │ │
│ │заменой │ │механизмы │ │
│ │инструмента │ │зажима │ │
│ │ │ │инструмента │ │
│ │ Установка/ │ Замена │ На острых │
Раздел 7 │
│ │снятие │инструмента │кромках │ │
│ │инструмента │вручную или │инструмента │ │
│ │ │замена │ │ │
│ │ │инструмента │ │ │
│ │ │из магазина │ │ │
│ │Уборка стружки│Уборка стружки │На детали, │
Раздел 7 │
│ │ │и очистка │столе и в зонах│ │
│ │ │ │сбора │ │
│ │ │ │и выгрузки │ │
│ │ │ │стружки │ │
├───────────────┼──────────────┼───────────────┼───────────────┼──────────┤
│ 2. Электричес-│ │ │ │ │
│кие опасности: │ │ │ │ │
│ 2.1. Контакт │ Контакт │ Ввод в │ Электрошкаф, │
2.1 │
│человека с │с деталями под│эксплуатацию, │коробки │ │
│токоведущими │напряжением │техническое │выводов, панели│ │
│частями (прямой│ │обслуживание, │управления на │ │
│контакт) │ │поиск │станке │ │
│ │ │неисправностей │ │ │
│ 2.2. Контакт │ То же │ Работа │ На станке │
2.2 │
│человека с │ │на станке, │или неисправной│ │
│деталями, │ │контроль, │части станка │ │
│находящимися │ │техническое │ │ │
│под напряжением│ │обслуживание │ │ │
│в результате │ │ │ │ │
│неисправности │ │ │ │ │
│(непрямой │ │ │ │ │
│контакт) │ │ │ │ │
├───────────────┼──────────────┼───────────────┼───────────────┼──────────┤
│ 4. Опасности │ │ │ │ │
│от шума │ │ │ │ │
│ 4.1. Потеря │ Движение │ Рабочий цикл │ Возле станка │
4 │
│слуха │приводных │станка │ │ │
│(глухота), │элементов │ │ │ │
│другие │станка, │ │ │ │
│физиологические│процессы │ │ │ │
│расстройства │резания и │ │ │ │
│(например, │гидравлические│ │ │ │
│потеря │системы │ │ │ │
│равновесия, │ │ │ │ │
│ослабление │ │ │ │ │
│внимания) │ │ │ │ │
│ 4.2. Ухудшение│ Очистка │ То же │ То же │
4 │
│восприятия │инструмента, │ │ │ │
│речи, звуковых │поддонов │ │ │ │
│сигналов и т.д.│и рабочих мест│ │ │ │
│ │сжатым │ │ │ │
│ │воздухом │ │ │ │
├───────────────┼──────────────┼───────────────┼───────────────┼──────────┤
│ 6. Опасности, │ │ │ │ │
│вызванные │ │ │ │ │
│излучениями │ │ │ │ │
│ 6.5. Лазеры │ Прямое │ Техническое │ На станке │
6.5 │
│ │или непрямое │обслуживание │ │ │
│ │облучение │лазерных систем│ │ │
│ │лазером │с обратной │ │ │
│ │ │связью │ │ │
├───────────────┼──────────────┼───────────────┼───────────────┼──────────┤
│ 7. Опасности, │ │ │ │ │
│вызванные │ │ │ │ │
│материалами и │ │ │ │ │
│веществами │ │ │ │ │
│ 7.1. Опасности│ Выбросы │ Рабочий цикл │ На станке │
7.1 │
│от контакта или│частиц обраба-│станка │или около │ │
│вдыхания паров │тываемого │ │станка │ │
│вредных │материала, │ │ │ │
│жидкостей, │капель или │ │ │ │
│газов, тумана, │тумана СОЖ │ │ │ │
│дыма и пыли │ │ │ │ │
├───────────────┼──────────────┼───────────────┼───────────────┼──────────┤
│ 7.2. Пожар или│ Воспламеняе- │ То же │ То же │
7.2 │
│взрыв │мые │ │ │ │
│ │обрабатываемые│ │ │ │
│ │материалы, │ │ │ │
│ │технические │ │ │ │
│ │масла, СОЖ │ │ │ │
│ │(низкая │ │ │ │
│ │температура │ │ │ │
│ │воспламенения)│ │ │ │
│ 7.3. Биологи- │ Контакт │ Рабочий цикл │ " │
7.3 │
│ческие или мик-│с техническими│станка и │ │ │
│робиологические│маслами и СОЖ,│техническое │ │ │
│опасности │содержащими │обслуживание │ │ │
│(вирусы или │вирус или │ │ │ │
│бактерии) │бактерии │ │ │ │
├───────────────┼──────────────┼───────────────┼───────────────┼──────────┤
│ 8. Опасности, │ │ │ │ │
│возникающие при│ │ │ │ │
│пренебрежении │ │ │ │ │
│принципами │ │ │ │ │
│эргономики при │ │ │ │ │
│конструировании│ │ │ │ │
│ 8.1. Неудобное│ Поднятие │ Загрузка/раз- │ На позициях │
8.1 │
│положение тела │тяжестей │грузка, │загрузки/раз- │ │
│или чрезмерные │или большое │управление │грузки │ │
│усилия │расстояние │процессом и │обрабатываемой │ │
│оператора │до детали, │техническое │детали, │ │
│(повторяющиеся │инструмента и │обслуживание │установки │ │
│напряжения) │частей станка │ │инструмента │ │
│ │ │ │в точках │ │
│ │ │ │технического │ │
│ │ │ │обслуживания │ │
│ 8.2. Несоот- │ Неудобное │ То же │ То же │
8.2 │
│ветствие │размещение │ │ │ │
│анатомическим │органов │ │ │ │
│возможностям │управления │ │ │ │
│рук или ног │ │ │ │ │
│человека │ │ │ │ │
│ 8.4. Неадек- │ Ухудшение │ " │ Загрузка/раз- │
8.4 │
│ватное местное │выполнения │ │грузка │ │
│освещение │ручных │ │обрабатываемой │ │
│ │операций во │ │детали и │ │
│ │время переме- │ │установка │ │
│ │щения/позицио-│ │инструмента │ │
│ │нирования │ │ │ │
│ │заготовки и │ │ │ │
│ │инструмента │ │ │ │
│ 8.6. Ошибки │ Неправильные:│ " │ То же │
8.6 │
│человека, │установка │ │ │ │
│поведение │заготовки, │ │ │ │
│человека │относительное │ │ │ │
│ │перемещение │ │ │ │
│ │заготовки и │ │ │ │
│ │инструмента, │ │ │ │
│ │режимы резания│ │ │ │
│ │и другие │ │ │ │
│ │нарушения │ │ │ │
│ │технического │ │ │ │
│ │процесса │ │ │ │
│ 8.7. Непра- │ Неправильная │ Настройка, │ На станке │
8.7 │
│вильная │работа органов│рабочий цикл │или около него │ │
│конструкция, │управления │ │ │ │
│неправильное │ │ │ │ │
│размещение или │ │ │ │ │
│обозначение │ │ │ │ │
│органов │ │ │ │ │
│управления │ │ │ │ │
│ 8.8. Непра- │ Неправильное │ То же │ То же │
8.8 │
│вильная │понимание │ │ │ │
│конструкция или│выведенной │ │ │ │
│неправильное │на средства │ │ │ │
│расположение │отображения │ │ │ │
│средств │информации │ │ │ │
│отображения │ │ │ │ │
│информации │ │ │ │ │
├───────────────┼──────────────┼───────────────┼───────────────┼──────────┤
│ 10. Неожидан- │ │ │ │ │
│ные пуски, │ │ │ │ │
│повороты, │ │ │ │ │
│прокручивания │ │ │ │ │
│ 10.1. Непо- │ Механические │ Наладка, │ На станке │
10.1 │
│ладки или │опасности, │уборка │ │ │
│повреждения │связанные │ │ │ │
│систем │с движением │ │ │ │
│управления │станка │ │ │ │
│ 10.2. Возоб- │ Неожиданные │ Наладка, │ На станке │
10.2 │
│новление │перемещения │уборка и │или около него │ │
│энергоснабжения│узлов станка │техническое │ │ │
│после его │ │обслуживание │ │ │
│прерывания │ │ │ │ │
│ 10.3. Внешнее │ Непредсказу- │ Наладка, │ То же │
10.3 │
│воздействие на │емое поведение│рабочий цикл │ │ │
│электрооборудо-│органов │станка │ │ │
│вание │электронного │ │ │ │
│ │управления, │ │ │ │
│ │вызванное │ │ │ │
│ │электромагнит-│ │ │ │
│ │ными помехами │ │ │ │
├───────────────┼──────────────┼───────────────┼───────────────┼──────────┤
│ 13. Нарушения │ Неправильная │ Наладка, │ На станке, │
13 │
│энергоснабжения│работа системы│контроль, │элементы │ │
│ │управления │техническое │которого │ │
│ │с последующим │обслуживание │сохранены │ │
│ │неправильным │ │в безопасном │ │
│ │использованием│ │режиме путем │ │
│ │накопленной │ │энергоснабжения│ │
│ │энергии. │ │или приложения │ │
│ │Падает усилие │ │гидравлического│ │
│ │зажима детали,│ │давления │ │
│ │чрезмерно │ │ │ │
│ │увеличиваются │ │ │ │
│ │обороты │ │ │ │
│ │двигателя. │ │ │ │
│ │Поломка детали│ │ │ │
│ │заставляет │ │ │ │
│ │станок │ │ │ │
│ │двигаться │ │ │ │
│ │под действием │ │ │ │
│ │остаточных сил│ │ │ │
│ │(инерция, сила│ │ │ │
│ │тяжести, пру- │ │ │ │
│ │жины/средства │ │ │ │
│ │сохранения │ │ │ │
│ │энергии), │ │ │ │
│ │вызывая │ │ │ │
│ │неожиданные │ │ │ │
│ │перемещения │ │ │ │
│ │наружных │ │ │ │
│ │элементов │ │ │ │
│ │станка │ │ │ │
├───────────────┼──────────────┼───────────────┼───────────────┼──────────┤
│ 14. Ошибки │ Неожиданные │ Наладка, │ На станке │
14 │
│в системе │перемещения │чистка, │или около него │ │
│управления │узлов станка │техническое │ │ │
│ │ │обслуживание │ │ │
├───────────────┼──────────────┼───────────────┼───────────────┼──────────┤
│ 15. Ошибки │ Элементы │ Управление │ На станке │
15 │
│монтажа │станка │техническим │ │ │
│ │неожиданно │процессом, │ │ │
│ │падают или │замена │ │ │
│ │колеблются │инструмента, │ │ │
│ │(качаются) │техническое │ │ │
│ │ │обслуживание │ │ │
├───────────────┼──────────────┼───────────────┼───────────────┼──────────┤
│ 17. Падение │ Выбрасывание │ Рабочий цикл │ На станке │
1.2.6,
17 │
│или выброс │частей станка,│станка, наладка│или около него │ │
│предметов или │деталей или │ │ │ │
│жидкостей │инструмента │ │ │ │
│ │из-за │ │ │ │
│ │неисправности │ │ │ │
│ │зажима │ │ │ │
│ │или системы │ │ │ │
│ │управления, │ │ │ │
│ │или ошибок в │ │ │ │
│ │программе │ │ │ │
├───────────────┼──────────────┼───────────────┼───────────────┼──────────┤
│ 18. Потеря │ Незакреплен- │ Во время │ На станке │
18 │
│устойчивости, │ный станок или│загрузки/раз- │ │ │
│опрокидывание │часть станка │грузки тяже- │ │ │
│станка │(удерживаемые │лых/громоздких │ │ │
│ │в этом │деталей, во │ │ │
│ │положении │время текущего │ │ │
│ │только под │ремонта │ │ │
│ │действием силы│(демонтажа/пе- │ │ │
│ │тяжести), │ремещения) │ │ │
│ │падает или │ │ │ │
│ │опрокидывается│ │ │ │
├───────────────┼──────────────┼───────────────┼───────────────┼──────────┤
│ 19. Скольже- │ Выброс или │ Загрузка/раз- │ Площадь пола │
19 │
│ние, │разлив масла, │грузка деталей,│вокруг станка │ │
│опрокидывание │СОЖ, работа │управление │и детали, │ │
│или падение │на высоте │техническим │платформы │ │
│людей │ │процессом; │и т.д. │ │
│ │ │работа на │ │ │
│ │ │высоте, работа │ │ │
│ │ │с СОЖ, │ │ │
│ │ │техническое │ │ │
│ │ │обслуживание │ │ │
└───────────────┴──────────────┴───────────────┴───────────────┴──────────┘
4.2. Риски, как для операторов, так и для других лиц, имеющих доступ в опасные зоны, определяются исходя из опасностей, которые могут возникнуть при различных обстоятельствах во время срока службы станка (например, ввода в эксплуатацию, настройки, производственной эксплуатации, ремонта, вывода из эксплуатации). Оценка включает в себя анализ ситуации при повреждении системы управления, неожиданном пуске и т.п.
4.3. Кроме того, пользователь настоящего стандарта (например, конструктор, производитель, поставщик) должен обосновать, что оценка риска относится в полной мере к рассматриваемому станку, обращая особое внимание на:
- использование станка по назначению, включая эксплуатацию, настройку и чистку, а также достаточно предсказуемое использование его не по назначению;
- идентификацию существенных опасностей, связанных со станком.
5. Требования и/или меры обеспечения безопасности
5.1. Общие требования
Обрабатывающие центры должны соответствовать требованиям и/или мерам обеспечения безопасности, указанным в настоящем разделе.
Кроме того, обрабатывающие центры должны быть спроектированы в соответствии с ЕН 292 в отношении других опасностей, которые не рассматриваются в настоящем стандарте из-за их незначительности.
5.2. Специфические требования
Таблица 2
требований и/или мер обеспечения безопасности
и методика их проверки
Примечание. Нумерация пунктов в этой таблице соответствует нумерации
таблицы 1, отсутствующие номера означают, что опасности не являются значительными для обрабатывающих центров.
┌────────────────┬─────────────────────────────────────────┬──────────────┐
│ Перечень │ Требование и/или мера обеспечения │ Методика │
│ опасностей │ безопасности │ проверки │
├────────────────┼─────────────────────────────────────────┼──────────────┤
│ 1. Механическая│ 1.1. Рабочая зона │ │
│опасность │ 1.1.1. Предварительные меры безопасности│ Визуальный │
│ │ Рабочая зона обрабатывающих центров │контроль │
│ │должна быть защищена. Ограждения должны │ │
│ │быть спроектированы так, чтобы │ │
│ │предотвратить доступ в опасные зоны. │ │
│ │ Примечание. Общее руководство по │ │
│ │проектированию и выбору мер безопасности,│ │
│ │когда опасностей от движущихся деталей │ │
│ │нельзя избежать, приведено в 4.1, 4.2 │ │
│ │ЕН 292-2 (таблица 1). │ │
│ │ │ │
│ │ Применительно к этому пункту требуется │ │
│ │следующее: │ │
│ │ 1) все защитное оборудование должно │ │
│ │соответствовать ЕН 61496-1 (ESPE - │ │
│ │электрически чувствительное защитное │ │
│ │оборудование), МЭК 61496-2, категория 4 │ │
│ │(AOPD - активные оптикоэлектронные │ │
│ │защитные устройства), ЕН 1760-1 (PSPD - │ │
│ │защитные устройства, чувствительные │ │
│ │к давлению); │ │
│ │ 2) ограждения должны соответствовать │ │
│ │ЕН 953, а блокирующие устройства - │ │
│ │ЕН 1088 │ │
│ │ 1.1.2. Концепция обеспечения │ │
│ │безопасности │ │
│ │ 1.1.2.1. Общие положения │ Визуальный │
│ │ Рабочая зона должна быть защищена, где │контроль, │
│ │возможно, стационарным и/или передвижным │оценка │
│ │ограждением с блокировкой. Там, где │ │
│ │установка ограждения практически │ │
│ │невозможна (например, из-за размера │ │
│ │обрабатываемой детали, ее конфигурации, │ │
│ │других специальных характеристик станка │ │
│ │или его применения), операторы и иной │ │
│ │персонал должны быть защищены другими │ │
│ │средствами [например, защищенное место │ │
│ │работы оператора (кабина), ограждение по │ │
│ │периметру рабочей зоны, другие защитные │ │
│ │устройства] │ │
│ │ 1.1.2.2. Ограждение │ Визуальный │
│ │ Там, где это осуществимо, ограждение │контроль, │
│ │рабочей зоны должно быть частью │проверка │
│ │конструкции станка [ЕН 953 (пункт 3.2.1)]│соответствия │
│ │(см. также характеристики ограждений, │чертежей │
│ │ 1.1.2.3. Альтернатива ограждениям │ Визуальный │
│ │ Доступ оператора в рабочую зону с его │контроль │
│ │нормального (фиксированного) рабочего │ │
│ │места должен быть ограничен местным │ │
│ │ограждением (обычно в виде кабины - │ │
│ │не должен проходить через опасную зону, │ │
│ │ограниченную по периметру ограждением │ │
│ │или другими защитными устройствами. Там, │ │
│ │где невозможно установить ограждение │ │
│ │из-за конфигурации станка или других │ │
│ │ограничивающих условий, надо обеспечить, │ │
│ │чтобы путь оператора к рабочему месту │ │
│ │не пролегал через опасные зоны. │ │
│ │ Там, где оператору необходим доступ │ Визуальный │
│ │к рабочей зоне с выходом из кабины │контроль, │
│ │(например, для наладки или контроля │проверка │
│ │процесса), кабина должна быть спроектиро-│соответствия │
│ │вана так, чтобы доступ непосредственно │чертежам/тех- │
│ │из кабины осуществлялся через │ническим │
│ │передвижное ограждение с блокировкой. │условиям │
│ │Альтернативное осуществление управления │ │
│ │прямо из кабины с помощью выносного │ │
│ │подвесного пульта управления должно │ │
│ │обеспечить тот же эффект, что и в случае │ │
│ │указанного выше прохода через ограждения │ │
│ │с блокировкой. Работа станка в режиме 1 │ │
│ │(автоматический цикл) должна быть │ │
│ │возможной, только если выносной пульт │ │
│ │управления будет снова возвращен на свое │ │
│ │место в кабине. Любое другое движение │ │
│ │узлов станка должно быть возможным │ │
│ │только путем выбора соответствующего │ │
│ │режима работы (см. ниже режимы работы). │ │
│ │ Доступ в рабочую зону всех, кроме │ │
│ │оператора станка, должен быть │ │
│ │предотвращен ограждением по всему │ │
│ │периметру и/или другими средствами │ │
│ │[например, электрочувствительным │ │
│ │защитным оборудованием (ESPE), активными │ │
│ │оптико-электронными защитными средствами │ │
│ │(AOPDs), чувствительными на давление │ │
│ │защитными средствами (PSPDs)]. │ │
│ │ Там, где имеются места прохода │ │
│ │(например, ворота), они должны быть │ │
│ │заблокированы. │ │
│ │ Там, где блокировка невозможна из-за │ │
│ │конфигурации или применения станка, любые│ │
│ │незащищенные места доступа должны быть в │ │
│ │поле зрения оператора, находящегося на │ │
│ │своем обычном рабочем месте. │ │
│ │ Там, где предусмотрена автоматическая │ │
│ │работа станка по безлюдной технологии, │ │
│ │должны применяться другие средства │ │
│ │контроля доступа (например, кодовые │ │
│ │замки), чтобы предотвратить неразрешенный│ │
│ │доступ │ │
│ │ 1.1.3. Множественные рабочие зоны │ Визуальный │
│ │ При наличии на одном станке нескольких │контроль, │
│ │рабочих зон, защитные устройства │функциональное│
│ │(например, неподвижные или подвижные │испытание на │
│ │сблокированные защитные устройства AOPD, │соответствие │
│ │ESPE) должны защитить оператора(ов) от │чертежам/тех- │
│ │опасностей соседних действующих рабочих │ническим │
│ │зон (например, при погрузке/разгрузке │условиям │
│ │деталей в неактивной рабочей зоне, при │ │
│ │чистке). │ │
│ │ Неожиданное движение узлов станка │ │
│ │в прилегающей неактивной рабочей зоне │ │
│ │должно предотвращаться ограничивающими │ │
│ │устройствами (например, механическими │ │
│ │упорами, путевыми концевыми выключателя- │ │
│ │ми, световыми лучами, устройствами │ │
│ │AOPD) │ │
│ │ 1.1.4. Характеристики ограждений │ │
│ │ 1.1.4.1. Высота и месторасположение │ Измерения на │
│ │ Там, где защитные устройства │соответствие │
│ │смонтированы на полу (например, ограда │требованиям │
│ │по периметру), они должны быть прочно │ЕН 294 │
│ │закреплены и иметь высоту не менее 1,4 м │ │
│ │и находиться на расстоянии от опасной │ │
│ │зоны в соответствии с ЕН 294 (табли- │ │
│ │ца 2). Любой просвет между нижним краем │ │
│ │ограждения и полом не должен превышать │ │
│ │300 мм │ │
│ │ 1.1.4.2. Локализация выбросов │ Практические │
│ │ Ограждения должны быть спроектированы │испытания │
│ │таким образом, чтобы они защищали │ │
│ │от стружки, СОЖ или выбрасываемых плохо │ │
│ │закрепленных заготовок и деталей (см. │ │
│ │жидкости и туманы и
17.2 - выбросы, │ │
│ │
19.2 - загрязнение пола и т.д. настоящей │ │
│ │таблицы) │ │
│ │ 1.1.4.3. Наблюдение │ Визуальный │
│ │ Там, где требуется визуальное наблюдение│контроль │
│ │со стороны оператора за работой станка, │ │
│ │должны быть средства (например, окна), │ │
│ │обеспечивающие такое наблюдение без │ │
│ │необходимости отодвигать, открывать или │ │
│ │поднимать любое ограждение рабочей зоны и│ │
│ │другие защитные устройства (см.
8.4 │ │
│ │настоящей таблицы) │ │
│ │ 1.1.5. Блокировка │ │
│ │ 1.1.5.1. Все перемещаемые ограждения, │ Визуальный │
│ │через которые часто (более 1 раза │контроль, │
│ │за смену) осуществляется доступ │практические │
│ │в рабочую зону, должны быть │испытания │
│ │заблокированы. Открывание ограждения │ │
│ │или приведение в действие защитного │ │
│ │устройства в режиме 1 (автоматический │ │
│ │цикл - см. ниже) должно приводить │ │
│ │к остановке опасных перемещений узлов │ │
│ │станка и запрету последующего их │ │
│ │включения (ЕН 1037). Должны быть приняты │ │
│ │меры к сведению до минимума возможного │ │
│ │повреждения блокирующих устройств │ │
│ │ 1.1.5.2. Если при открывании │ Практические │
│ │заблокированного перемещаемого │испытания │
│ │ограждения оператор подвергается │ │
│ │опасностям, перечисленным в
1.1 -
1.7 │ │
│ │таблицы 1, то должно быть предусмотрено │ │
│ │запорное устройство для ограждения │ │
│ │[ЕН 1088, а также см. 7.2, │ │
│ │ 1.1.6. Режимы работы │ │
│ │ 1.1.6.1. Общие положения │ Визуальный │
│ │ Каждый станок должен иметь не менее │контроль, │
│ │двух режимов работы (например, режимы │практические │
│ │1 и 2 с возможным дополнительным третьим │испытания │
│ │режимом (например, режим 3). Выбор │ │
│ │режима работы должен осуществляться │ │
│ │переключателем, блокируемым ключом, │ │
│ │выбором кода доступа либо другими │ │
│ │безопасными средствами. При этом рабочий │ │
│ │должен находиться вне рабочей зоны. │ │
│ │Выбор режима станка не должен │ │
│ │инициировать возникновение опасных │ │
│ │ситуаций │ │
│ │ 1.1.6.2. Режим 1. Автоматический цикл │ Практические │
│ │(автоматическое производство) │испытания │
│ │ Ограждения должны быть закрыты и/или │ │
│ │блокировочные устройства должны быть │ │
│ │приведены в действие, чтобы станок мог │ │
│ │выполнять работу по заданной программе │ │
│ │ 1.1.6.3. Режим 2. Наладка │ То же │
│ │ Режим наладки - это режим работы, при │ │
│ │котором оператор (наладчик) осуществляет │ │
│ │настройку станка для возможности │ │
│ │последующей работы станка │ │
│ │в автоматическом режиме. │ │
│ │ Примечание. Оценка положения │ │
│ │инструмента или обрабатываемой детали │ │
│ │касанием, например датчиком или │ │
│ │инструментом и проверка выполнения │ │
│ │последовательности программы работы │ │
│ │станка осуществляется в режиме наладки │ │
│ │станка. │ │
│ │ │ │
│ │ Если перемещаемое защитное устройство │ │
│ │с блокировкой открыто и блокировочное │ │
│ │устройство отключено, любое перемещение │ │
│ │узлов станка может быть разрешено при │ │
│ │следующих условиях: │ │
│ │ a) скорость подачи не более 2 м/мин или │ Измерение │
│ │перемещение рабочих органов станка │ │
│ │на расстояние не более 10 мм за один шаг │ │
│ │в толчковом режиме. │ │
│ │ Допускаются одновременные перемещения │ Практические │
│ │рабочих органов станка только по одной │испытания │
│ │оси с помощью одного из следующих │ │
│ │средств: │ │
│ │ - устройства управления в толчковом │ │
│ │режиме "пуск-стоп"; │ │
│ │ - электронного маховика; │ │
│ │ - ручного ввода данных (MDI), после │ │
│ │которого включается пробный цикл │ │
│ │с отключенной блокировкой; │ │
│ │ b) частота вращения шпинделя должна │ Измерение │
│ │быть ограничена так, чтобы при аварийной │ │
│ │остановке шпинделя обеспечить останов │ │
│ │шпинделя не более чем за два оборота │ │
│ │после выключения. │ │
│ │ Вращение шпинделя должно включаться │ Практические │
│ │и поддерживаться только одним │испытания │
│ │из следующих средств: │ │
│ │ - устройством управления в толчковом │ │
│ │режиме "пуск-стоп"; │ │
│ │ - устройством управления пуском │ │
│ │шпинделя с выключенной блокировкой. │ │
│ │ Срабатывание блокирующего устройства │ │
│ │должно инициировать останов категории 1 │ │
│ │в соответствии с ЕН 60204-1 (пункт │ │
│ │9.2.2); │ │
│ │ c) пределы скорости и расстояние │ Анализ │
│ │перемещения, указанные в перечислениях │принципиальных│
│ │
a) и
b), должны постоянно контроли- │электросхем, │
│ │роваться, и при превышении указанных │практический │
│ │значений питание приводных механизмов │контроль │
│ │должно отключаться [категория 1 в │ │
│ │соответствии с ЕН 60204-1 (пункт 9.2.2)];│ │
│ │ d) должны быть предусмотрены средства │ Практические │
│ │для предотвращения опасных перемещений │испытания │
│ │узлов станка или обрабатываемых деталей │ │
│ │по вертикальным или наклонным │ │
│ │поверхностям под действием силы тяжести; │ │
│ │ e) механизмы автоматической загрузки- │ То же │
│ │выгрузки инструмента и детали на станке │ │
│ │должны быть надежно заблокированы. │ │
│ │Начало работы их в автоматическом режиме │ │
│ │допускается только после повторного │ │
│ │выбора режима 1; │ │
│ │ Исключение. Положения, содержащиеся │ " │
│ │в настоящей таблице в
1.2 -
1.5, │ │
│ │разрешается только для технического │ │
│ │обслуживания в режиме 2; │ │
│ │ │ │
│ │ f) движение незащищенного конвейера для │ Визуальный │
│ │стружки может быть разрешено только под │контроль, │
│ │контролем и при использовании устройства │анализ │
│ │управления в толчковом режиме "пуск- │принципиальных│
│ │стоп"; │электросхем │
│ │ g) если устройства управления в толчко- │ Практические │
│ │вом режиме "пуск-стоп" расположены │испытания │
│ │в нескольких местах (например главном │ │
│ │пульте управления, ручных выносных │ │
│ │пультах управления), одновременно должно │ │
│ │функционировать только одно из них │ │
│ │ 1.1.6.4. Режим 3. Дополнительный режим │ │
│ │для ручного вмешательства в ограниченных │ │
│ │условиях работы станка │ │
│ │ Если такой режим имеется, то он │ │
│ │позволяет использовать станок при ручном │ │
│ │управлении или управлении от ЧПУ │ │
│ │с открытыми ограждениями рабочей зоны │ │
│ │и отключенной блокировкой при следующих │ │
│ │условиях: │ │
│ │ a) этот режим может быть предусмотрен, │ Визуальный │
│ │только когда известны все условия │контроль │
│ │использования станка, при этом требуемый │(инструкция по│
│ │профессиональный уровень операторов │эксплуатации) │
│ │должен соответствовать уровню, │ │
│ │указанному в сборнике инструкций по │ │
│ │ b) скорости перемещений узлов станка │ Измерение │
│ │по одной и нескольким осям не должны │ │
│ │превышать 5 м/мин; │ │
│ │ c) частота вращения шпинделя должна │ То же │
│ │быть ограничена так, чтобы при аварийном │ │
│ │выключении обеспечить останов шпинделя │ │
│ │не более чем за пять оборотов. │ │
│ │ Примечания. 1. Возможно, что для │ │
│ │выполнения этого требования к останову │ │
│ │будет обеспечить идентификацию или │ │
│ │измерение диаметра инструмента, чтобы │ │
│ │ограничить допустимую частоту вращения │ │
│ │шпинделя для конкретного используемого │ │
│ │инструмента. │ │
│ │ 2. Во время разработки настоящего │ │
│ │стандарта были рассмотрены альтернативные│ │
│ │было выработано твердой позиции. │ │
│ │К этой частной проблеме можно будет │ │
│ │вернуться в будущем при пересмотре │ │
│ │настоящего стандарта; │ │
│ │ │ │
│ │ d) для выполнения программы на станке │ Практические │
│ │необходимо использовать устройство │испытания │
│ │контроля пуска цикла при одновременном │ │
│ │включении блокировки; │ │
│ │ e) перемещения, не предусмотренные │ │
│ │программой, должны выполняться следующим │ │
│ │образом: │ │
│ │ 1) вращение шпинделя должно начинаться │ Анализ │
│ │и поддерживаться устройством контроля │принципиальных│
│ │пуска шпинделя вместе с устройством, │электросхем, │
│ │выдающим разрешение на разблокирование. │практическое │
│ │ Деблокировка ограждения должна │испытание │
│ │инициировать останов категории 1 в │ │
│ │соответствии с ЕН 60204-1 (пункт 9.2.2); │ │
│ │ 2) перемещения рабочих органов станка │ Практические │
│ │могут начинаться и поддерживаться одним │испытания │
│ │из следующих средств: │ │
│ │ - устройством управления в толчковом │ │
│ │режиме "пуск-стоп"; │ │
│ │ - электронным маховичком; │ │
│ │ - ручным вводом данных (MDI), после │ │
│ │которого запускается автоматический цикл │ │
│ │вместе с устройством блокировки; │ │
│ │ f) пределы скорости или предельно │ То же │
│ │допустимое перемещение, определенные │ │
│ │под постоянным контролем, и при их │ │
│ │превышении электропитание механизмов │ │
│ │должно отключаться [категория 1 - см. │ │
│ │ЕН 60204-1 (пункт 9.2.2)]; │ │
│ │ g) также применяются требования │ См. 1.1.6.3, │
│ │ 1.1.7. Высвобождение людей, попавших │ Визуальный │
│ │в станок │контроль, │
│ │ Должны быть предусмотрены средства │анализ │
│ │для перемещения рабочих органов станка │принципиальных│
│ │в аварийных случаях (например, чтобы │электросхем, │
│ │высвободить человека, попавшего │практические │
│ │в станок): │испытания │
│ │ a) при отключенном питании: │ │
│ │ - вручную управляемые перепускные │ │
│ │клапаны для снижения давления в системе; │ │
│ │ - отключение вручную приводного тормоза │ │
│ │при условии сохранения баланса веса │ │
│ │освобожденного узла; │ │
│ │ b) при включенном питании: │ │
│ │ - средства ручного управления приводными│ │
│ │клапанами/приводами; │ │
│ │ - средства управления для включения │ │
│ │перемещения в обратном направлении. │ │
│ │ 1.2. Инструментальный магазин │ │
│ │ 1.2.1. Доступ в опасную зону при рабо- │ Визуальный │
│ │тающем инструментальном магазине должен │контроль │
│ │быть исключен с помощью неподвижных и/или│ │
│ │перемещаемых ограждений с блокировкой в │ │
│ │соответствии с ЕН 1088, раздел 7 и │ │
│ │приложения │ │
│ │ 1.2.2. Если перемещаемое ограждение │ Анализ │
│ │открыто, привод инструментального │принципиальных│
│ │магазина должен быть остановлен │электросхем, │
│ │и дальнейшее движение исключено (см. │практические │
│ │
1.1.5 настоящей таблицы) │испытания │
│ │ 1.2.3. Проемы для доступа человека │ Измерение │
│ │должны соответствовать ЕН 547-1 - │ │
│ │ЕН 547-3 │ │
│ │ 1.2.4. Там, где необходим полный доступ │ Проверка │
│ │за защитное ограждение инструментального │принципиальных│
│ │магазина, должна быть установлена │электросхем, │
│ │система, чувствительная к нахождению │практические │
│ │человека в опасной зоне (например, ESPE, │испытания │
│ │AOPD, PSPD). Благодаря этому устройству │ │
│ │система управления должна предотвращать │ │
│ │любое движение инструментального магазина│ │
│ │или других узлов станка при наличии │ │
│ │человека в опасной зоне │ │
│ │ 1.2.5. Там, где приводное движение │ Проверка │
│ │с открытым ограждением требуется │принципиальных│
│ │для замены инструмента, ремонта │электросхем, │
│ │или регулировки, это должно быть │измерение и │
│ │разрешено только при использовании │практические │
│ │устройства управления в толчковом режиме │испытания │
│ │"пуск-стоп", или двуручного средства │ │
│ │управления для непрерывного движения. │ │
│ │Такое устройство должно соответствовать │ │
│ │ЕН 60204-1 (пункт 9.2.5.7, тип 3) │ │
│ │и ЕН 574. Такое движение должно иметь │ │
│ │или сниженную скорость (например, │ │
│ │15 м/мин там, где существует опасность │ │
│ │только удара или 2 м/мин там, где │ │
│ │существует опасность раздавливания, │ │
│ │срезания или запутывания) │ │
│ │и осуществляться при нахождении человека │ │
│ │на значительном расстоянии от опасного │ │
│ │места (ЕН 294, ЕН 999). Срабатывание │ │
│ │любого датчика или средства обратной │ │
│ │связи не должно вызывать опасного движе- │ │
│ │ния [ЕН 60204-1 (пункт 10.1.4) и см. 7.2,│ │
│ │ 1.2.6. Чтобы предотвратить выпадение │ Должно быть │
│ │или выброс инструмента, конструкцией │проведено │
│ │державки инструмента в магазине должна │испытание │
│ │быть предусмотрена возможность │с целью │
│ │обеспечения надежного крепления │проверки │
│ │инструмента. Проектные данные на эти │возможности │
│ │державки (предел массы инструмента, │надежного │
│ │момент инерции, опрокидывающий момент, │закрепления │
│ │пространственная огибающая и т.п.) │самого │
│ │должны быть предоставлены пользователю │тяжелого │
│ │(см. "
Информацию для пользователя"). │инструмента │
│ │ 1.3. Смена инструмента │ │
│ │ 1.3.1. Доступ к опасным движениям │ Визуальный │
│ │с любой стороны должен быть предотвращен │контроль │
│ │неподвижным или перемещаемым ограждением │ │
│ │с блокировкой или введением в действие │ │
│ │защитных устройств (ЕН 1088, раздел 7 │ │
│ │и приложения) │ │
│ │ 1.3.2. Доступ к устройству смены │ Контроль │
│ │инструмента при открытом ограждении │коммутационных│
│ │должен быть разрешен только │схем, │
│ │при использовании устройства управления │измерение, │
│ │в толчковом режиме "пуск-стоп" │практические │
│ │или двуручного средства управления │испытания │
│ │для непрерывного движения. Такое │ │
│ │устройство должно соответствовать ЕН 574.│ │
│ │Срабатывание любого датчика или средства │ │
│ │обратной связи не должно вызывать │ │
│ │опасного движения [ЕН 60204-1 (пункт │ │
│ │Чтобы предотвратить выпадение или выброс │ │
│ │инструмента, он должен быть надежно │ │
│ │закреплен в устройстве для смены │ │
│ │инструмента при всех режимах работы, │ │
│ │в том числе и при отключении питания │ │
│ │ 1.4. Устройства перемещения │ │
│ │обрабатываемых деталей (устройства │ │
│ │замены паллет, устройства автоматической │ │
│ │замены обрабатываемых деталей и т.п.) │ │
│ │ 1.4.1. Позиции загрузки/выгрузки │ Визуальный │
│ │обрабатываемых деталей, на которых │контроль │
│ │работают операторы, должны быть │ │
│ │расположены вне рабочей зоны и вдали │ │
│ │от других механизмов, представляющих │ │
│ │опасность (например, устройство смены │ │
│ │инструмента) │ │
│ │ 1.4.2. Доступ в опасную зону должен │ Визуальный │
│ │быть закрыт неподвижным или перемещаемым │контроль, │
│ │ограждением с блокировкой, а опасные │практические │
│ │движения должны быть остановлены │испытания │
│ │введением в действие защитных устройств │ │
│ │(например, ESPE, AOPD) │ │
│ │ 1.4.3. Доступ в опасную зону при │ Анализ │
│ │открытом ограждении или при отключенных │принципиальных│
│ │защитных устройствах должен быть разрешен│электросхем, │
│ │только при наличии устройства управления │измерение, │
│ │в толчковом режиме "пуск-стоп" или │практические │
│ │двуручного средства управления для │испытания │
│ │непрерывного движения. Такое устройство │ │
│ │должно соответствовать ЕН 60204-1 (пункт │ │
│ │9.2.5.7, тип 3) и быть на безопасном │ │
│ │расстоянии от опасного места (ЕН 574 и │ │
│ │ЕН 999). Срабатывание любого датчика │ │
│ │или средства обратной связи не должно │ │
│ │вызывать опасных перемещений [ЕН 60204-1 │ │
│ │(пункт 10.1.4) и см. 7.2, │ │
│ │ 1.5. Сбор и удаление стружки │ │
│ │ 1.5.1. Доступ к опасным движущимся │ Визуальный │
│ │частям при сборе и удалении стружки │контроль, │
│ │должен предотвращаться неподвижными │практические │
│ │ограждениями. Там, где оператору │испытания │
│ │необходим доступ чаще одного раза │ │
│ │за смену, должны быть предусмотрены │ │
│ │перемещаемые ограждения с блокировкой │ │
│ │в соответствии с требованиями ЕН 953 │ │
│ │ 1.5.2. Открывание заблокированного │ Анализ │
│ │перемещаемого ограждения, которое │принципиальных│
│ │обеспечивает доступ к опасным движущимся │электросхем, │
│ │частям при сборе и удалении стружки │практические │
│ │должно приводить к остановке опасных │испытания │
│ │движений и запрету последующих движений │ │
│ │таблицы) │ │
│ │ 1.5.3. Доступ к устройству для сбора │ То же │
│ │и удаления стружки при открытом │ │
│ │ограждении с блокировкой (например, при │ │
│ │чистке) может быть разрешен только при │ │
│ │наличии устройства управления в толчко- │ │
│ │вом режиме "пуск-стоп" и наличии │ │
│ │устройства аварийного останова. │ │
│ │ Опасная зона выгрузки стружки должна │ │
│ │быть обозначена предупреждающим знаком │ │
│ │ 1.6. Части механического привода │ │
│ │(например, приводные валы, ремни, шкивы, │ │
│ │шестерни и т.п.) │ │
│ │ 1.6.1. Доступ к опасным частям │ Визуальный │
│ │механического привода (например, │контроль │
│ │приводные валы, ремни, шкивы, шестерни и │ │
│ │т.п.) должен быть ограничен неподвижными │ │
│ │ограждениями. Однако там, где оператору │ │
│ │необходим доступ к ним чаще, чем один │ │
│ │раз в смену, должны устанавливаться │ │
│ │перемещаемые ограждения с блокировкой │ │
│ │в соответствии с ЕН 953 │ │
│ │ 1.6.2. Открывание защитного устройства │ То же │
│ │с блокировкой, при котором появляются │ │
│ │незащищенные движущиеся части механи- │ │
│ │ческого привода, должно приводить │ │
│ │к остановке этих частей и запрету │ │
│ │последующих движений. Блокировка должна │ │
│ │соответствовать ЕН 1088 и, как минимум, │ │
│ │категории 1 ЕН 954-1 │ │
│ │ 1.6.3. Там, где возможен случайный │ " │
│ │доступ к опасным движущимся частям │ │
│ │до их остановки, необходимо предусмотреть│ │
│ │защитное устройство с блокировкой, │ │
│ │предотвращающей открывание ограждения до │ │
│ │прекращения опасного движения этих │ │
│ │частей. Отсроченное открывание можно │ │
│ │обеспечить посредством датчика движения │ │
│ │или таймера [ЕН 1088 и ЕН 999 (пункты 7.2│ │
│ │и 7.3)] │ │
│ │ 1.7. Технические колодцы, углубления │ │
│ │ 1.7.1. Зазоры в станке или траншеи │ " │
│ │возле него должны быть закрыты (например,│ │
│ │решеткой пола) или защищены от попадания │ │
│ │в них человека: │ │
│ │ - перилами; │ │
│ │ - тросом с разматывающим устройством; │ │
│ │ - окрашенными цепями (красный/белый, │ │
│ │черный/желтый) с предупреждающей надписью│ │
│ │на расстоянии 1 м перед местом возможной │ │
│ │опасности │ │
│ │ 1.7.2. В случаях, когда доступ к траншее│ Визуальный │
│ │необходим для обследования, регулировки │контроль │
│ │или технического обслуживания, вход в │ │
│ │траншею должен осуществляться только │ │
│ │через ворота, люки с блокировкой, которые│ │
│ │предотвращают движение частей станка в │ │
│ │режиме 1. В случаях, где необходимы │ │
│ │движения частей станка от привода, это │ │
│ │допускается только при условиях, │ │
│ │настоящей таблицы │ │
│ │ 1.7.3. Безопасные расстояния между │ Измерение │
│ │движущимися частями станка и стенами или │расстояния, │
│ │другими неподвижными объектами должны │визуальный │
│ │соответствовать ЕН 349. Там, где нельзя │контроль, │
│ │соблюсти такие безопасные расстояния, │практические │
│ │должны быть предусмотрены дополнительные │испытания │
│ │меры защиты с целью минимизации риска │ │
│ │раздавливания или захвата │ │
│ │ 1.8. Рабочие платформы (ЕН ИСО 14122) │ │
│ │ 1.8.1. Рабочие платформы должны: │ Визуальный │
│ │ - иметь ограждения, предотвращающие │контроль, │
│ │падение человека с нее. Если высота │практические │
│ │платформы более 500 мм, должны быть │испытания │
│ │предусмотрены перила и упоры для ног; │ │
│ │ - обеспечивать достаточное пространство │ │
│ │для оператора(ов), а именно, минимальная │ │
│ │высота над платформой и проходом к ней │ │
│ │должна быть 2100 мм, а габаритная ширина │ │
│ │между перилами должна равняться минимум │ │
│ │600 мм, предпочтительнее 800 мм; │ │
│ │ - иметь освещение и вентиляцию рабочего │ │
│ │места оператора(ов); │ │
│ │ - обеспечивать безопасные средства │ │
│ │доступа и выхода оператора на платформу │ │
│ │или с нее независимо от энергопитания; │ │
│ │ - конструкцией должно быть │ │
│ │предусмотрено исключение попадания людей │ │
│ │в опасную зону, например, путем │ │
│ │соблюдения безопасных расстояний или │ │
│ │посредством применения неподвижных или │ │
│ │перемещаемых ограждений с блокировкой, │ │
│ │а также │ │
│ │ - обеспечивать защиту от стружки, │ │
│ │технического масла и СОЖ │ │
│ │ 1.8.2. Механические движения частей │ То же │
│ │станка при открытых ограждениях рабочей │ │
│ │платформы должны быть возможны только │ │
│ │при соблюдении требований режима │ │
│ │2 или 3 │ │
│ │ 1.8.3. Необходимо обеспечить │ Практические │
│ │возможность контроля стекания с │испытания │
│ │платформы технического масла и СОЖ │ │
│ │в случае их попадания на платформу │ │
│ │ 1.8.4. Для выдвижных (горизонтально │ Визуальный │
│ │или вертикально) рабочих платформ, │контроль │
│ │соединенных с подвижными частями станка, │ │
│ │должны быть предусмотрены защитные │ │
│ │средства для предотвращения их │ │
│ │столкновения и раздавливания (например, │ │
│ │защитные гармошки, металлические │ │
│ │свертывающиеся шторы, устройства, │ │
│ │чувствительные к давлению) │ │
│ │ 1.8.5. Приводные движения платформ │ Визуальный │
│ │разрешаются (например, для обзора) │контроль, │
│ │только при использовании устройства │практические │
│ │управления в толчковом режиме "пуск- │испытания │
│ │стоп" в режиме 2 или 3, а также при │ │
│ │наличии аварийного останова │ │
├────────────────┼─────────────────────────────────────────┼──────────────┤
│ 2. Электричес- │ 2.1. Прямой контакт │ Проверить на │
│кие опасности │ Чтобы минимизировать опасность │соответствие │
│ │неправильного срабатывания электрообору- │ЕН 60204-1 │
│ │дования, поражения электротоком │(пункт 19) │
│ │(электрошок) или возгорания, все │ │
│ │электрооборудование должно │ │
│ │соответствовать ЕН 60204-1. Должны быть │ │
│ │предусмотрены средства для изоляции │ │
│ │частей станка от попадания под опасное │ │
│ │электрическое напряжение [ЕН 60204-1 │ │
│ │(пункт 5.3)]. │ │
│ │ В частности: │ │
│ │ средствами такой изоляции должны быть │ │
│ │оборудованы все основные оболочки │ │
│ │с электрооборудованием (НКУ) │ │
ИС МЕГАНОРМ: примечание.
В официальном тексте документа, видимо, допущена опечатка:
пункт 6.2.2 отсутствует.
│ │в соответствии с пунктом 6.2.2, │ │
│ │перечисление b). Все другие оболочки │ │
│ │с электрооборудованием должны │ │
│ │соответствовать 6.2.2, перечисление a). │ │
│ │Все активные части должны быть защищены │ │
│ │от прямого контакта, как минимум, │ │
│ │по степени IP2X в соответствии с 6.2.2, │ │
│ │перечисление c) │ │
│ │ 2.2. Непрямой контакт │ Проверить на │
│ │[Определение см. в ЕН 60204-1 (пункт │соответствие │
│ │3.27)] │ЕН 60204-1 │
│ │ Необходимо соблюдать требования │(пункт 19) │
│ │ЕН 60204-1 (пункт 6.3) │ │
│ │ 2.3. Защита аппаратуры управления │ Визуальный │
│ │ Оболочка аппаратуры управления должна │контроль │
│ │обеспечивать степень защиты не менее │ │
│ │IP22 (ЕН 60529). Оболочка аппаратуры │ │
│ │управления, размещаемой внутри рабочей │ │
│ │зоны, должна обеспечивать степень защиты │ │
│ │IP55 │ │
├────────────────┼─────────────────────────────────────────┼──────────────┤
│ 4. Опасности │ 4.1. Методы снижения шума │ Контроль │
│от шума │ 4.1.1. Контроль уровня звука около │уровня шума │
│ │источника шума. │ │
│ │ При проектировании обрабатывающих │ │
│ │центров следует учитывать информацию │ │
│ │и проводить технические мероприятия │ │
│ │для контроля источников шума, указанные │ │
│ │в ЕН ИСО 11688-1 и ИСО/ТО 11688-2. │ │
│ │ a) Конструкция станка должна учитывать │ │
│ │шум от каждого источника. │ │
│ │ Рекомендуемые технические мероприятия │ │
│ │по снижению шума основных источников │ │
│ │шума на обрабатывающих центрах: │ │
│ │ a) шум механических узлов - │ │
│ │звукоизоляция механических узлов; │ │
│ │ b) пневматический выхлоп - │ │
│ │пневмоглушители; │ │
│ │ c) электродвигатели - звукоизоляция │ │
│ │или звукопоглощение; │ │
│ │ d) шум от процессов резания - │ │
│ │звукоизоляция или звукопоглощение. │ │
│ │Внутри рабочей зоны замкнутое ограждение;│ │
│ │ e) смена режущего инструмента - │ │
│ │звукоизоляция или звукопоглощение. │ │
│ │Внутри рабочей зоны замкнутое ограждение;│ │
│ │ f) смена обрабатываемых деталей - │ │
│ │звукоизоляция или звукопоглощение. │ │
│ │Внутри рабочей зоны замкнутое │ │
│ │ограждение │ │
│ │ 4.1.2. Контроль каналов передачи звука │ То же │
│ │ Там, где уровень звука должен быть │ │
│ │снижен до уровня, предусмотренного │ │
│ │техническими условиями, станок должен │ │
│ │быть оснащен защитными устройствами │ │
│ │(например, противошумовыми ограждениями, │ │
│ │экранами, глушителями). │ │
│ │ Вышеприведенный перечень не является │ │
│ │исчерпывающим. Можно использовать │ │
│ │и другие альтернативные средства │ │
│ │снижения уровня шума с идентичной │ │
│ │или большей эффективностью │ │
├────────────────┼─────────────────────────────────────────┼──────────────┤
│ 6. Опасности, │ 6.5. Лазеры │ Экспертиза │
│вызванные │ При установке на станок лазерных │чертежей, │
│излучением │измерительных систем с обратной связью │практические │
│ │конструкцией станка должна быть │испытания │
│ │предусмотрена возможность предотвращения │ │
│ │облучения человека или попадание луча │ │
│ │лазера на человека, в том числе при │ │
│ │зеркальном отражении (ЕН 60825-1) │ │
├────────────────┼─────────────────────────────────────────┼──────────────┤
│ 7. Опасности, │ 7.1. Жидкости, туманы, дымы и пыль │ │
│вызванные │ Так как материалы, которые подлежат │ Визуальный │
│обрабатываемыми │обработке, зависят от специфики │контроль, │
│материалами или │их применения, невозможно в данном │экспертиза │
│веществами │стандарте дать детальные рекомендации │чертежей, │
│ │относительно снижения рисков при │практические │
│ │обработке этих материалов. Однако к СОЖ, │испытания │
│ │применяемой при обработке металла, │ │
│ │и техническим маслам предъявляются │ │
│ │следующие требования: │ │
│ │ 7.1.1. Конструкцией станка должна быть │ То же │
│ │предусмотрена возможность предохранения │ │
│ │от разбрызгивания, вытекания и перелива │ │
│ │СОЖ и технических масел │ │
│ │ 7.1.2. Резервуар и другие элементы │ " │
│ │системы для СОЖ и технических масел │ │
│ │(например, трубы и шланги) должны быть │ │
│ │выполнены из материалов, обеспечивающих │ │
│ │сохранность и целостность системы. Кроме │ │
│ │того, должна быть приведена информация │ │
│ │о жидкостях, которые предполагается │ │
│ │использовать на станке │ │
│ │ 7.1.3. Система распределения жидкости │ Визуальный │
│ │и форсунки для ее подачи должна быть так │контроль, │
│ │спроектирована, чтобы свести до минимума │экспертиза │
│ │ее распыление │чертежей, │
│ │ │практические │
│ │ │испытания │
│ │ 7.1.4. Там, где в рабочей зоне │ То же │
│ │предвидится образование вредных тонко- │ │
│ │дисперсных туманов, паров или дыма, │ │
│ │должны быть предусмотрены средства │ │
│ │для их локализации, предотвращающие │ │
│ │их выбросы. Кроме того, должно быть │ │
│ │предусмотрено дополнительное встроенное │ │
│ │или внешнее оборудование для их отвода │ │
│ │(ЕН 626-1) │ │
│ │ 7.1.5. Технические масла и СОЖ должны │ " │
│ │способствовать правильному функциониро- │ │
│ │ванию станка и быть достаточными для │ │
│ │того, чтобы предотвратить избыточный │ │
│ │нагрев и последующее испарение жидкости. │ │
│ │В противном случае необходимо оснащать │ │
│ │станок охладителями │ │
│ │ 7.1.6. Система подачи СОЖ должна │ " │
│ │доставлять количество жидкости, доста- │ │
│ │точное для предотвращения образования │ │
│ │опасных паров в зоне обработки │ │
│ │ 7.1.7. Там, где у операторов есть │ " │
│ │необходимость вводить руки в опасную │ │
│ │зону (например, во время │ │
│ │погрузки/разгрузки или во время │ │
│ │регулировки), подача СОЖ должна автомати-│ │
│ │чески отключаться или переключаться на │ │
│ │другое направление │ │
│ │ Примечание. Следует предусмотреть │ │
│ │ручное включение подачи СОЖ для наладки │ │
│ │станка при открытом ограждении. │ │
│ │ │ │
│ │ 7.1.8. Резервуары с СОЖ должны быть │ " │
│ │оснащены легкодоступными визуальным │ │
│ │индикатором уровня жидкости и горловиной │ │
│ │для заливки СОЖ │ │
│ │ 7.1.9. Все компоненты системы должны │ " │
│ │быть спроектированы так, чтобы │ │
│ │максимально сократить попадание СОЖ │ │
│ │на оператора и персонал, проводящий │ │
│ │техническое обслуживание │ │
│ │ 7.1.10. Должны быть предусмотрены │ " │
│ │фильтры для предотвращения накапливания │ │
│ │стружки и других продуктов резания │ │
│ │внутри станка и в резервуаре с СОЖ, │ │
│ │чтобы предотвратить загрязнение СОЖ │ │
│ │взвешенными частицами металла │ │
│ │ 7.2. Воспламенение или взрыв │ │
│ │ Так как обрабатываемые детали │ │
│ │произведены из различных материалов, │ │
│ │а СОЖ для обработки металла могут │ │
│ │применяться также разные, в настоящем │ │
│ │стандарте невозможно дать детальные │ │
│ │требования по сокращению опасности │ │
│ │воспламенения или взрыва. Руководящие │ │
│ │указания можно найти в ЕН 13478 и в │ │
│ │ЕН 1127-1 │ │
│ │ 7.3. Минимизация биологических │ │
│ │и микробиологических опасностей, │ │
│ │связанных с применением СОЖ │ │
│ │ 7.3.1. Конструкцией системы подачи СОЖ │ Визуальный │
│ │должна быть предусмотрена возможность │контроль, │
│ │обеспечения циркуляции всего объема │практические │
│ │жидкости при работе станка, чтобы │испытания │
│ │исключить застой жидкости, │ │
│ │за исключением места для сбора осадка, │ │
│ │если это предусмотрено конструкцией │ │
│ │ 7.3.2. Чтобы СОЖ не застаивалась │ То же │
│ │в станке, она должна стекать из станка │ │
│ │в резервуар для СОЖ под действием силы │ │
│ │тяжести │ │
│ │ 7.3.3. Сливная труба должна иметь │ " │
│ │достаточный диаметр и уклон, чтобы │ │
│ │минимизировать образование отстоя │ │
│ │в трубе │ │
│ │ 7.3.4. Система подачи СОЖ должна иметь │ " │
│ │фильтры для удаления осадка (см.
7.1.10 │ │
│ │настоящей таблицы) │ │
│ │ 7.3.5. Конструкцией бака для СОЖ должна │ " │
│ │быть предусмотрена возможность │ │
│ │обеспечения легкой очистки системы │ │
│ │от осадка (например, скругленные углы │ │
│ │в резервуарах), при этом не должно │ │
│ │требоваться осушения всей системы) │ │
│ │ 7.3.6. Внутренняя поверхность │ Визуальный │
│ │резервуаров не должна способствовать │контроль, │
│ │росту бактерий (т.е. должна быть гладкой,│практические │
│ │окрашенной) │испытания │
│ │ 7.3.7. Должна быть создана возможность │ То же │
│ │полного опустошения резервуаров для СОЖ. │ │
│ │ 7.3.8. Резервуары для СОЖ должны иметь │ " │
│ │крышки, спроектированные так, чтобы │ │
│ │предотвратить проникание извне │ │
│ │посторонних веществ │ │
│ │ 7.3.9. Загрязнение СОЖ маслом или │ " │
│ │смазкой из внешних источников, например │ │
│ │машинной смазкой, должно быть исключено │ │
│ │или должны быть предусмотрены средства │ │
│ │систематического удаления загрязнений │ │
│ │ 7.3.10. Конструкцией системы подачи СОЖ │ " │
│ │должна быть предусмотрена возможность │ │
│ │обеспечения оператору: │ │
│ │ a) брать образцы жидкости; │ │
│ │ b) чистить отстойники и трубопроводы; │ │
│ │ c) менять фильтры, не подвергаясь при │ │
│ │этом воздействию жидкости │ │
├────────────────┼─────────────────────────────────────────┼──────────────┤
│ 8. Опасности, │ 8.1. Неудобное положение тела или │ Практические │
│возникающие при │чрезмерные усилия (повторяющееся │испытания, │
│пренебрежении │напряжение) │проверка того,│
│эргономическими │ Станки должны быть спроектированы │что масса, │
│принципами при │в соответствии с эргономическими │расстояние и │
│конструировании │принципами так, чтобы избежать чрезмерных│расположение │
│станка │усилий, неудобного положения тела или │оборудования │
│ │утомления: │не являются │
│ │ - детали, инструмент и приспособления │избыточными и │
│ │должны передвигаться легко. Для подъема │соответствуют │
│ │деталей массой свыше 10 кг должно быть │стандартам, │
│ │предусмотрено подъемное оборудование │на которые │
│ │(ЕН 1005-1 - ЕН 1005-3); │имеются ссылки│
│ │ - там, где для работы необходимы │ │
│ │подъемники, должны быть созданы условия │ │
│ │для их установки и работы (например, │ │
│ │путем обеспечения доступа в рабочую зону │ │
│ │через верх станка при открытых │ │
│ │ограждениях); │ │
│ │ - там, где детали загружаются вручную, │ │
│ │места для крепления деталей, гнезда для │ │
│ │инструмента или резцедержатели должны │ │
│ │быть расположены так, чтобы максимально │ │
│ │сократить доступ в опасную зону │ │
│ │(ЕН 1005-1 - ЕН 1005-3); │ │
│ │ - средства управления зажимами или │ │
│ │захватами, такими как тяговые стержни │ │
│ │или зажимные патроны, должны быть │ │
│ │расположены так, чтобы максимально │ │
│ │сократить доступ в опасную зону во время │ │
│ │поддержки детали или инструмента │ │
│ │(например, применение педальных органов │ │
│ │управления)(ЕН 894-3); │ │
│ │ - если использование перемещаемых │ │
│ │ограждений ведет к избыточным усилиям, │ │
│ │то ограждения должны иметь механический │ │
│ │привод [см. также ЕН 292-2 (пункт │ │
│ │4.2.2.6)] │ │
│ │ 8.2. Несоответствие анатомическим │ Измерение, │
│ │возможностям рук или ног человека │проверка │
│ │ Размещение, маркировка и освещение ручек│соответствия │
│ │управления и мест наблюдения или │расстояния при│
│ │обслуживания, таких как заполнение │нормальной │
│ │и осушение резервуаров, должны выбираться│работе станка │
│ │в соответствии с эргономическими │стандартам, │
│ │принципами (ЕН 614-1 - ЕН 614-2, │на которые │
│ │ЕН 894-1 - ЕН 894-3, ЕН 1005-1 - │имеются ссылки│
│ │ЕН 1005-3, ЕН 999) │ │
│ │ 8.4. Неадекватное местное освещение │ │
│ │ Освещение внутри рабочей зоны должно │ Измерение │
│ │соответствовать ЕН 1837 и равняться │и визуальный │
│ │минимум 500 лк при измерении │контроль │
│ │на наконечнике инструмента при открытом │ │
│ │перемещаемом ограждении │ │
│ │ 8.6. Ошибки человека, поведение человека│ │
│ │ 8.6.1. Обозначение карманов инструмен- │ Визуальный │
│ │тальных магазинов должно быть четким и │контроль │
│ │однозначным │ │
│ │ 8.6.2. Обязательно должно быть │ Практические │
│ │в наличии все оборудование и │испытания │
│ │принадлежности для регулировки и текущего│ │
│ │обслуживания станка, указанные в │ │
│ │инструкции по эксплуатации [см. также │ │
│ │ 8.7. Неправильная конструкция, │ Визуальный │
│ │неправильное расположение или обозначение│контроль │
│ │органов управления │ │
│ │ Устройства ввода (например, клавиатур, │ │
│ │панели управления, кнопки) должны │ │
│ │соответствовать ЕН 894-1, ЕН 894-3 │ │
│ │ 8.8. Неправильная конструкция или │ Визуальный │
│ │неправильное расположение средств │контроль и │
│ │отображения информации │измерение │
│ │ Выведенная на дисплей информация должна │ │
│ │быть четкой и однозначной. Отражения │ │
│ │и блики на экране должны быть сведены │ │
│ │к минимуму (ЕН 894-1, ЕН 894-2) │ │
├────────────────┼─────────────────────────────────────────┼──────────────┤
│ 10. Неожиданные│ 10.1. Неполадки или повреждения систем │ Практические │
│пуски, повороты,│управления │испытания │
│прокручивания │ Системы управления должны быть созданы │ │
│ │в соответствии с ЕН 60204-1, ЕН 982 и │ │
│ │ЕН 983 и исключать неожиданные движения │ │
│ │узлов станка (например, вращение │ │
│ │шпинделя, перемещение рабочих органов, │ │
│ │выпадение инструмента из шпинделя) │ │
│ │(ЕН 1037) │ │
│ │ 10.2. Возобновление энергоснабжения │ Анализ │
│ │после его прерывания │принципиальных│
│ │ Конструкцией системы управления должна │электросхем, │
│ │быть предусмотрена гарантия невозможности│практические │
│ │автоматического повторного пуска │испытания │
│ │и обеспечение запуска станка вновь только│ │
│ │при повторном нажатии пусковой кнопки, │ │
│ │например, после аварийного останова, │ │
│ │изменения режима работы, переналадки │ │
│ │станка, разблокирования ограждения, │ │
│ │восстановления нужного давления или │ │
│ │напряжения или после исправления │ │
│ │неполадок в системе (ЕН 1037) │ │
│ │ 10.3. Внешнее воздействие │ Использование│
│ │на электрооборудование │методов │
│ │ Электромагнитная совместимость. │проверки, │
│ │ Помехоустойчивость. │описанных в │
│ │ Электронные системы управления должны │ЕН 50081-2 и │
│ │быть спроектированы и установлены так, │ЕН 61000-6-2 │
│ │чтобы быть защищенными от электромагнит- │ │
│ │ных помех и быть стойкими к нарушениям │ │
│ │или неисправностям в работе электросети в│ │
│ │соответствии с ЕН 61000-6-2. │ │
│ │ Излучения. │ │
│ │ При разработке электронных/электрических│ │
│ │схем должна учитываться техническая │ │
│ │информация и приняты технические меры │ │
│ │для ограничения электромагнитных │ │
│ │излучений в соответствии с ЕН 50081-2 │ │
├────────────────┼─────────────────────────────────────────┼──────────────┤
│ 13. Нарушения │ 13.1. Неполадки энергоснабжения │ Анализ │
│энергоснабжения │ 13.1.1. Системы должны быть │принципиальных│
│ │спроектированы так, чтобы нарушения │электросхем, │
│ │в любом месте сети (например, разрыв │практические │
│ │провода, трубопровода или шланга) │испытания │
│ │не могли привести к утрате функций │ │
│ │безопасности (ЕН 60204-1, ЕН 982, │ │
│ │ЕН 983) │ │
│ │ 13.1.2. Прерывание подачи энергии или │ То же │
│ │неполадки в подаче не должны приводить │ │
│ │к возникновению опасности. Недостаточное │ │
│ │напряжение или давление должно быть │ │
│ │своевременно выявлено, а цикл работы │ │
│ │станка прерван или полностью прекращен │ │
│ │ 13.1.3. Должны быть предусмотрены │ " │
│ │средства изоляции источников питания │ │
│ │[ЕН 982 (пункт 5.1.6), ЕН 983 (пункт │ │
│ │5.1.6) и ЕН 60204-1 (пункт 5.3)] и │ │
│ │рассеяния сохраненной энергии [ЕН 1037 │ │
│ │(пункт 5.3)] │ │
├────────────────┼─────────────────────────────────────────┼──────────────┤
│ 14. Ошибки │ 14.1. Функции безопасности систем │ │
│в системе │управления │ │
│управления │ 14.1.1. Для обеспечения функций безопас-│ Соответствие │
│ │ности систем управления конструкцией │коммутационным│
│ │должны быть предусмотрены элементы │схемам и │
│ │системы управления и их предохраняющие │техническим │
│ │устройства, соответствующие требованиям │требованиям │
│ │ЕН 954-1. При возникновении возможности │ │
│ │опасных перемещений или внезапного пуска │ │
│ │должен срабатывать останов по категории 1│ │
│ │в соответствии с ЕН 60204-1 (пункт │ │
│ │9.2.2). │ │
│ │ Элементы системы управления, связанные │ │
│ │с обеспечением безопасности, должны │ │
│ │соответствовать требованиям одной из │ │
│ │категорий, устанавливаемых ЕН 954-1, │ │
│ │как показано ниже │ │
│ ├──────────────────────────────┬──────────┤ │
│ │ Элементы системы управления, │Категория │ │
│ │связанные с обеспечением │ │ │
│ │безопасности: │ │ │
│ │ a) устройства блокировки │ │ │
│ │перемещаемых ограждений: │ │ │
│ │ - рабочей зоны │ 3 │ │
│ │ - передач, приводных │ 3
<*> │ │
│ │механизмов │ │ │
│ │ - устройств смены инструмен- │ 3 │ │
│ │та, инструментальных магазинов│ │ │
│ │ - устройств для загрузки/раз-│ 3 │ │
│ │грузки обрабатываемых деталей │ │ │
│ │ - устройств смены паллет │ 3 │ │
│ │ - транспортеров уборки │ 3
<*> │ │
│ │стружки │ │ │
│ │ - технических колодцев, │ 3
<*> │ │
│ │траншей │ │ │
│ │ b) устройства управления │ 3
<**> │ │
│ │в толчковом режиме "пуск- │ │ │
│ │стоп", двуручные средства │ │ │
│ │управления для непрерывного │ │ │
│ │движения │ │ │
│ │ c) отпирающие устройства │ 3 │ │
│ │ d) устройства, ограничивающие│ 3
<**> │ │
│ │частоту вращения инструмента, │ │ │
│ │включая систему определения │ │ │
│ │размеров инструмента (см. │ │ │
│ │ e) устройства контроля зажима│ 1 │ │
│ │инструмента │ │ │
│ │ f) электрочувствительное │ 3 │ │
│ │защитное оборудование (ESPE), │ │ │
│ │соответствующее требованиям │ │ │
│ │типа 4 (ЕН 61496-1) │ │ │
│ │ g) устройства аварийного │ 3 │ │
│ │останова │ │ │
│ │ h) защитные устройства, │ 3 │ │
│ │чувствительные к давлению │ │ │
│ │(PSPD), соответствующие │ │ │
│ │требованиям ЕН 1760-1 (пункт │ │ │
│ │4.15) │ │ │
│ ├──────────────────────────────┴──────────┤ │
│ │ <*> Если частота доступа реже│ │
│ │одного раза в час, может применяться│ │
│ │категория 1. │ │
│ │ <**> Если эта категория не может быть│ │
│ │достигнута, то для применения данной│ │
│ │функции необходимо использовать│ │
│ │блокировочное устройство. │ │
│ │ │ │
│ │ Текущий контроль осуществляется одним │ Анализ │
│ │из следующих методов: │принципиальных│
│ │ - по раздельным каналам; │электросхем │
│ │ - путем непрерывного автоматического│ │
│ │мониторинга [ЕН 292-1 (пункт 3.14)]; │ │
│ │ - другими соответствующими средствами│ │
│ │(например, по току, скорости и позициям│ │
│ │сервопривода) │ │
│ ├─────────────────────────────────────────┼──────────────┤
│ │14.1.2. │ │
│ │ a) Каждый станок должен быть оснащен │ Визуальный │
│ │одним или несколькими устройствами │контроль, │
│ │аварийного останова в соответствии │анализ │
│ │с ЕН 60204-1 (пункт 10.7). │принципиальных│
│ │ │электросхем │
│ │ b) Функция аварийного останова должна │ Анализ │
│ │быть категории 0 в соответствии с │принципиальных│
│ │ЕН 60204-1 (пункт 9.2.5.4.2), кроме │электросхем, │
│ │механизмов, требующих последовательного │практические │
│ │выключения, для которых должен быть │испытания │
│ │применен аварийный останов категории 1 │ │
├────────────────┼─────────────────────────────────────────┼──────────────┤
│ 15. Ошибки │ 15.1. В конструкции станка должны быть │ Практические │
│монтажа │предусмотрены средства, предотвращающие │испытания │
│ │ошибки монтажа (например, использование │ │
│ │розеточных/штырьковых разъемов с механи- │ │
│ │ческим кодом, асимметричного расположения│ │
│ │сопрягаемых поверхностей). Кроме того │ │
│ │части станка должны быть промаркированы │ │
│ │для упрощения монтажа │ │
├────────────────┼─────────────────────────────────────────┼──────────────┤
│ 17. Падение или│ 17.1. Локализация обрабатываемых │ Визуальный │
│выброс предметов│материалов, стружки и СОЖ │контроль, │
│или жидкостей │ Должны быть предусмотрены ограждения, │практические │
│ │чтобы удержать или локализовать возможный│испытания │
│ │выброс обрабатываемых материалов, стружки│ │
│ │или СОЖ. Такие ограждения должны быть │ │
│ │спроектированы в соответствии с ЕН 953 │ │
│ │(раздел 8). │ │
│ │ Они могут иметь форму отклоняющего │ │
│ │регулируемого ограждения, закрепленного │ │
│ │на головке шпинделя с целью направить │ │
│ │обрабатываемый материал, стружку, СОЖ │ │
│ │в зону сбора или форму неподвижного │ │
│ │ограждения, закрывающего всю зону │ │
│ │ 17.2. Выброс деталей. Прочность │ Расчет │
│ │ограждения │прочности со- │
│ │ С целью защиты персонала должны быть │ответствующего│
│ │спроектированы ограждения для удержания │материала, │
│ │деталей станка, которые могут быть │сделанный │
│ │выброшены в процессе работы [ЕН 953 │на основе │
│ │(приложение A и пункты 5.5 и 5.6)]. │критериев, │
│ │ Толщина материала ограждения, │описанных в │
│ │где максимальное усилие выброса │эквивалентных │
│ │ограничено путем встраивания систем, │средств │
│ │которые идентифицируют инструмент в │ │
│ │системе программного числового │ │
│ │управления, давая возможность ограничить │ │
│ │частоту вращения шпинделя. │ │
│ │ Если ограждения имеют просмотровые │ │
│ │панели (окна), необходимо обратить │ │
│ │особое внимание на выбор материала и │ │
│ │способ крепления этих панелей, чтобы │ │
│ │исключить выбрасывание деталей через │ │
│ │них [ЕН 953 (пункт 5.5.2)]. Такие │ │
│ │материалы, как поликарбонат, у которых │ │
│ │ударная прочность имеет тенденцию со │ │
│ │временем (при старении) уменьшаться из-за│ │
│ │загрязнения (например, смазками, СОЖ, │ │
│ │смывочными растворами, растворителями) │ │
│ │и абразивного истирания, должны иметь │ │
│ │дополнительную защиту (например, │ │
│ │уплотненные многослойные или │ │
│ │ламинированные конструкции) или дополни- │ │
│ │тельную толщину с целью противостоять │ │
│ │вредному воздействию в течение │ │
│ │предполагаемого срока службы станка. │ │
│ │испытания для определения прочности │ │
│ │материалов в зависимости от максимальной │ │
│ │частоты вращения шпинделя, диаметров │ │
│ │режущего инструмента, массы режущих │ │
│ │пластинок и расстояний между режущим │ │
│ │инструментом и ограждением. │ │
│ │ │ │
│ │ 17.3. Крепление инструмента │ Практические │
│ │ Конструкцией механизированного │испытания, │
│ │устройства для крепления инструмента │анализ │
│ │в шпинделе должна быть предусмотрена │принципиальных│
│ │возможность обеспечения исключения │электросхем │
│ │рисков, связанных с выбросом инструмента │ │
│ │в случае нарушения электроснабжения. │ │
│ │Механизм зажима должен находиться под │ │
│ │постоянным контролем с тем, чтобы любое │ │
│ │нарушение в правильной центровке или │ │
│ │креплении хвостовика инструмента │ │
│ │исключало пуск шпинделя при любом │ │
│ │рабочем режиме. Ослабление усилия зажима │ │
│ │инструмента во время вращения шпинделя │ │
│ │должно быть исключено │ │
├────────────────┼─────────────────────────────────────────┼──────────────┤
│ 18. Потеря │ 18.1. Станки должны быть спроектированы │ Путем осмотра│
│устойчивости, │так, чтобы они были устойчивыми при всех │и, при │
│опрокидывание │условиях работы, без риска перевернуться,│необходимости,│
│станка │упасть или неожиданно передвинуться. Если│измерения во │
│ │одной из мер, предупреждающей опрокидыва-│время обычной │
│ │ние станка является использование │работы │
│ │крепления на фундаменте, изготовитель │ │
│ │должен указать точные технические │ │
│ │требования на болты и фундамент [см. │ │
├────────────────┼─────────────────────────────────────────┼──────────────┤
│ 19. Скольжение,│ 19.1. Общие требования │ Практические │
│опрокидывание │ Рабочие места и средства доступа │испытания, │
│и падение людей │к станкам (такие как встроенные лестницы,│визуальный │
│ │платформы и пешеходные дорожки) должны │контроль │
│ │быть спроектированы так, чтобы свести │ │
│ │к минимуму опасность поскользнуться, │ │
│ │споткнуться и упасть путем установки │ │
│ │перил и упоров для ног и, при необходи- │ │
│ │мости, настилов, предохраняющих │ │
│ │от скольжения. Надписи, предупреждающие │ │
│ │об опасности, и меры предосторожности │ │
│ │пользователя" │ │
│ ├─────────────────────────────────────────┼──────────────┤
│ │ 19.2. Загрязнение полов │ Визуальный │
│ │ Конструкцией системы подачи СОЖ должна │контроль и │
│ │быть предусмотрена возможность предотвра-│практические │
│ │щения расплескивания, разбрызгивания СОЖ │испытания, │
│ │и образования тумана за пределами │включающие │
│ │ограждения станка. "
Информация для │использование │
│ │пользователя" должна обращать внимание на│жидкости │
│ │необходимость предотвращения разливания │ │
│ │жидкости на территорию около станка, │ │
│ │которое создает опасность скольжения [см.│ │
│ │ 19.3. Верхние части станков должны быть │ Визуальный │
│ │доступны для технического обслуживания │контроль │
│ │и ремонта. │ │
│ │ Там, где требуется частый доступ, как │ │
│ │минимум один раз в смену, должны быть │ │
│ │предусмотрены средства доступа (см. │ │
│ │примеры в группе A). Если необходим │ │
│ │нерегулярный доступ, достаточно средств, │ │
│ │указанных в примерах в группе B. │ │
│ │ Группа A: │ │
│ │ - средства постоянного доступа, │ │
│ │например, лестницы, трапы │ │
│ │(ЕН ИСО 14122-3); │ │
│ │ - постоянные рабочие платформы с │ │
│ │постоянными перилами и упорами для ног │ │
│ │(ЕН ИСО 14122-2); │ │
│ │ Группа B: │ │
│ │ - опоры для ремней безопасности; │ │
│ │ - средства для крепления стремянок │ │
└────────────────┴─────────────────────────────────────────┴──────────────┘
6. Проверка требований и/или мер обеспечения безопасности
Требования и/или меры обеспечения безопасности, принятые согласно
разделу 5, должны быть проверены с использованием рекомендованных процедур, описанных в
таблице 2, графа 3.
7. Информация для пользователя
7.1. Общая информация
Устройства предупредительной сигнализации станка (например, звуковые и визуальные сигналы), маркировка (например, знаки, символы) и инструктивный материал (например, руководства по эксплуатации, ремонту) должны соответствовать ЕН 292-2 (раздел 5).
7.2. Руководство по эксплуатации
В дополнение к требованиям 7.1 с каждым станком должна поставляться сопроводительная документация, содержащая следующие данные:
a) наименование и адрес изготовителя/поставщика;
b) необходимую информацию по безопасному монтажу станка и его системе ограждения (например состояние пола, обслуживание, защита от вибрации, крепление ограждений);
c) инструкции по первоначальным испытаниям и проверке станка и его системы ограждения перед первым включением и вводом в эксплуатацию;
d) инструкции по техническому обслуживанию, испытаниям и осмотру станка, ограждений, защитных средств и других ответственных частей, обеспечивающих безопасность (например, тормоза шпинделя);
e) инструкции по любым испытаниям и осмотру, необходимым после замены частей станка или установки на станке дополнительного оборудования (аппаратное и программное обеспечение), что может повлиять на функции безопасности;
f) инструкции по безопасной работе, регулировке и ремонту, включая обучение безопасной работе, необходимые для достижения необходимого уровня квалификации операторов;
h) инструкции по системам управления, включая схемы соединений для электротехнической, гидравлической и пневматической систем;
i) уровни шума, определенные методами, предусмотренными
пунктом 7.3;
j) описания возможных неисправностей и советы по их обнаружению и предотвращению путем периодического технического обслуживания и регулировки;
k) спецификацию на жидкость, используемую в смазочной, тормозной и трансмиссионной системах;
l) руководство по правильному выбору, подготовке, применению и содержанию жидкостей для обработки металла и/или смазок;
m) инструкции по высвобождению человека, попавшего в станок;
n) описание остаточных рисков (например, условий, когда уровень шума может превышать 85 дБА, а также риски от острого и/или горячего инструмента/деталей);
o) рекомендации по дополнительным защитным мерам (например, аппараты индивидуальной защиты);
p) информацию, определяющую пределы пространственной зоны перемещения, максимальной массы, момента инерции, опрокидывающего момента для инструментов, поставляемых с системой автоматического инструментального магазина;
q) информацию, определяющую пределы для пространственной рабочей зоны, максимальной массы, позиции центра тяжести обрабатываемой детали и зажимного приспособления;
r) процедуры, позволяющие избежать ошибок во время эксплуатации станка.
Перечисления d) -
f) должны содержать контрольные таблицы, включающие рисунки и схемы.
Измерение шума должно осуществляться в соответствии с ЕН ИСО 3746 или ЕН ИСО 11202 в зависимости от обстановки. Руководство по измерению уровня шума дано в
Приложении D.
Декларация касается распространяющегося в воздухе звукового излучения в соответствии с ЕН 292-2 + ЕН 292-2/A1, A.1.7.4, перечисление f). Декларация и проверка значений уровня шума должны соответствовать ЕН ИСО 4871 и рекомендациям, указанным в
Приложении D. К декларации должна быть приложена информация о примененном методе измерения и условиях во время проведения испытаний, а также о значениях погрешности K:
4 дБ при применении ЕН ИСО 3746 или ЕН ИСО 11202;
2 дБ при применении ЕН ИСО 3744.
Таким образом, например, для корректированного уровня звуковой мощности

= 93 дБА (как измеренное значение) погрешность K = 4 дБ для измерений, которые проводились в соответствии с ЕН ИСО 3746.
Проверку точности заявленных значений уровня шума следует проводить при применении того же самого метода измерения и тех же условий эксплуатации, которые приведены в декларации.
Декларация о шуме должна сопровождаться следующим заявлением:
"Приведенные цифры являются уровнями излучения, но необязательно должны считаться безопасными рабочими уровнями. Так как существует корреляция между уровнями излучения и воздействия шума, они не могут быть надежно использованы для определения того, требуются или нет дальнейшие меры предосторожности. Факторы, оказывающие влияние на действительный уровень воздействия шума на работников, включают в себя характеристики рабочего помещения, другие источники шума и т.д., а именно, количество станков и других сопутствующих процессов. Допустимый уровень воздействия шума может также быть различным в зависимости от страны. Тем не менее, указанная информация даст пользователю возможность наилучшим образом оценить риски и опасности".
7.4. Маркировка
Каждый станок должен иметь четкую и долговременную маркировку с указанием:
a) названия изготовителя, адреса, номера модели и ссылочного номера, года изготовления;
b) массы станка;
c) данных по электроснабжению и, где необходимо, по гидравлической и пневматической системам (например, минимального давления сжатого воздуха);
d) подъемных точек для целей транспортировки и установки, если такие необходимы;
e) диапазона скоростей в необходимых случаях.
Ограждения, защитные устройства и другие части, являющиеся частью станка, но не установленные на станке при транспортировке, должны быть промаркированы идентификационными данными. Должна быть предоставлена также любая другая информация, необходимая для монтажа станка [см.
7.2, перечисление b)].
(обязательное)
ОГРАЖДЕНИЯ НА ОБРАБАТЫВАЮЩИХ ЦЕНТРАХ.
ИСПЫТАНИЕ НА УДАРНУЮ ПРОЧНОСТЬ
A.1. Общие данные
Настоящее приложение определяет порядок испытания ограждений, используемых на обрабатывающих центрах с целью минимизировать риски выброса деталей из рабочей зоны.
A.2. Метод испытания
A.2.1. Предварительные замечания
Данный метод испытания используется для станков, оснащенных фрезами в качестве режущего инструмента, развивающими максимальную скорость

, м/с, определяемую следующим уравнением:

,
где D - максимальный диаметр инструмента, который можно установить на шпинделе станка, мм;
n - максимальная частота вращения шпинделя,

.
Данный метод испытания может быть использован как для горизонтальных, так и для вертикальных обрабатывающих центров.
Цель этого испытания - смоделировать опасность, которая возникает при выбрасывании инструмента и/или части разрушающегося инструмента. Испытание прочности ограждения и/или материала ограждения, препятствующих проникновению выброшенных инструмента, деталей, оторвавшихся частей станка и/или самого ограждения, за пределы, ограниченные ограждением.
A.2.2. Испытательное оборудование
Испытательное оборудование состоит из перемещаемого "снаряда", устройства, которое придает перемещаемому "снаряду" требуемую скорость столкновения (например, пневматическая пушка, стенд для испытания на ударную нагрузку), и опоры для крепления объекта испытания.
A.2.2.1. Перемещаемый "снаряд"
Форма, масса и размеры перемещаемого "снаряда" приведены на рисунке A.1.
Рисунок A.1. Перемещаемый "снаряд" при испытании на удар
Перемещаемые "снаряды" должны изготавливаться из стали и иметь следующие механические характеристики:
- предел прочности при растяжении -

от 560 до 690 МПа;
- предел текучести -

= 330 МПа;
- удлинение при разрыве - A = 20%;
- масса - m = 0,1 кг.
Примечание. С задней стороны перемещаемого "снаряда" можно добавлять массу, соответственно уменьшая скорость снаряда, чтобы сохранить энергию удара при испытании на ударную прочность.
A.2.2.2. Измерение скорости
Скорость перемещаемого "снаряда" следует измерять на выходе из ствола.
A.2.2.3. Опора для крепления объекта испытания
Испытанию может подвергаться ограждение целиком и/или образцы материала, из которого изготовлены ограждения. При испытании ограждения опора должна быть подобна той, к которой крепится ограждение на станке. Для испытания материалов ограждения используют образцы, закрепленные на раме с внутренним отверстием 450 x 450 мм. Рама должна быть достаточно жесткой. Крепление образца осуществляют жестким способом.
A.2.3. Метод проверки
Скорость перемещаемого "снаряда" и другие значения рассчитывают следующим образом:
- теоретическую энергию удара

, Дж, по формуле

,
где

- максимальная скорость резания, м/с (см.
A.2.1);
- измеряемую энергию удара

, Дж, по формуле

,
где

- измеряемая скорость удара, м/с.
Теоретическая и измеренная энергия удара должна иметь одно и то же значение.
Направление удара должно быть по возможности перпендикулярно к испытуемой поверхности. Передний торец перемещаемого "снаряда" должен стать поверхностью столкновения с объектом испытания. Целью перемещаемых "снарядов" должны быть самые слабые и наименее благоприятные зоны на образце материала или на ограждении, в частности смотровые окна, центр ограждения.
A.3. Результаты испытаний
После окончания испытания повреждение на испытуемом объекте рассматривается следующим образом:
A.3.1. Повреждение материала
a) Выпучивание/коробление (постоянная деформация без трещин).
b) Зарождающаяся трещина (видимая только на поверхности).
c) Сквозная трещина (трещина, видимая с двух сторон поверхности).
d) Проникновение (проникновение "снаряда" в материал объекта испытания).
A.3.2. Дополнительное повреждение
a) Вырванное из крепления окно.
b) Отрыв наружных частей ограждения.
c) Вырванная из крепления дверь ограждения.
A.3.3. Оценка
Испытание считается выдержанным, если нет сквозных трещин или проникновения брошенного тела, а для дверей ограждения, если нет дополнительных повреждений согласно A.3.2.
A.4. Акт об испытании
Акт об испытании должен содержать, как минимум, следующую информацию:
- дату и место проведения испытания, наименование испытуемого объекта;
- массу, размер, скорость и ударную энергию перемещаемого "снаряда";
- наименование изготовителя станка, тип, модель, максимальный диаметр инструмента, конус шпинделя, мощность, максимальную частоту вращения шпинделя;
- конструкцию, материалы и размеры испытуемого объекта;
- способ крепления и фиксацию испытуемого объекта;
- направление удара, точку удара перемещаемого "снаряда";
- результат испытаний.
A.5. Результаты испытания на ударную прочность для образцов из различных материалов (m = 0,1 кг)
┌─────────────┬───────────┬────────────┬───────────┬────────┬─────────────┐
│Тип материала│Толщина, мм│ Предел │ Удлинение │Скорость│ Энергия │
│ │ │прочности на│ при │v , м/с │сопротивления│
│ │ │ растяжение │разрушении │ c │ E, Дж │
│ │ │ R , МПа │эпсилон , %│ │ │
│ │ │ m │ B │ │ │
├─────────────┼───────────┼────────────┼───────────┼────────┼─────────────┤
│ Стальной │ 1,5 │ 369 │ 28 │ 80 │ 320 │
│лист ├───────────┼────────────┼───────────┼────────┼─────────────┤
│ │ 3,0 │ 405 │ 28 │ 115 │ 661 │
│ ├───────────┼────────────┼───────────┼────────┼─────────────┤
│ │ 1,5 + 3,0 │ 369/405 │ 28 │ 150 │ 1125 │
│ ├───────────┼────────────┼───────────┼────────┼─────────────┤
│ │ 3,0 + 1,5 │ 405/369 │ 28 │ 140 │ 980 │
├─────────────┼───────────┼────────────┼───────────┼────────┼─────────────┤
│ Алюминиевый │ 5,0 │ 242 │ 18 │ 120 │ 720 │
│лист │ │ │ │ │ │
├─────────────┼───────────┼────────────┼───────────┼────────┼─────────────┤
│ Поликарбонат│ 4,0 │ 68 │ 80 │ 85 │ 361 │
│ ├───────────┤ │ ├────────┼─────────────┤
│ │ 6,0 │ │ │ 100 │ 500 │
│ ├───────────┤ │ ├────────┼─────────────┤
│ │ 8,0 │ │ │ 120 │ 720 │
│ ├───────────┤ │ ├────────┼─────────────┤
│ │ 12,0 │ │ │ 150 │ 1125 │
│ ├───────────┤ │ ├────────┼─────────────┤
│ │ 2 x 6,0 │ │ │ 170 │ 1445 │
│ ├───────────┤ │ ├────────┼─────────────┤
│ │ 2 x 12,0 │ │ │ 230 │ 2645 │
├─────────────┼───────────┼────────────┼───────────┼────────┼─────────────┤
│ Полиметил- │ 12 │ 74 │ 4 │ 25 │ 31 │
│метакрилат │ │ │ │ │ │
├─────────────┴───────────┴────────────┴───────────┴────────┴─────────────┤
│ <*> На стороне рабочей зоны. │
│ <**> Результаты испытаний для новых материалов без учета старения│
│материала. │
│ │
│ Примечание. Информация получена из независимых источников Святого│
│Августина, ГЕРМАНИИ. │
└─────────────────────────────────────────────────────────────────────────┘
(справочное)
ОБОРУДОВАНИЕ ДЛЯ ИСПЫТАНИЯ НА УДАРНУЮ ПРОЧНОСТЬ
B.1. Пневматическая пушка
Пневматическая пушка состоит из ствола 2, к которому прикреплен баллон сжатого воздуха 6 (см. рисунок B.1). Сжатый воздух через специальный клапан подается в ствол импульсами, чтобы увеличить скорость движения перемещаемого "снаряда" по отношению к объекту испытания.
1 - прибор для измерения скорости "снаряда"; 2 - ствол;
3 - перемещаемый "снаряд"; 4 - пульт управления; 5 - объект
испытания; 6 - баллон сжатого воздуха
Рисунок B.1. Оборудование для испытания
на ударную прочность
B.2. Работа оборудования
В баллон воздух подается компрессором. Скорость перемещаемого "снаряда" регулируется с помощью изменения давления и объема воздуха.
Скорость перемещаемого "снаряда" измеряется на выходе из ствола прибором для измерения скорости 1, например бесконтактным датчиком или фотоэлементом.
(справочное)
ИЛЛЮСТРАЦИИ, ИСПОЛЬЗУЕМЫЕ КАК ПРИМЕРЫ
1 - стойка с приводом подачи, ось Y; 2 - поперечный ползун
с приводом подачи, ось X; 3 - рабочий стол; 4 - склад
паллет; 5 - конвейер для стружки; 6 - шпиндельная бабка
с главным приводом и приводом подачи, ось Z;
7 - ограждение; 8 - устройство смены инструмента;
9 - пневматический блок; 10 - гидравлический блок;
11 - инструментальный магазин; 12 - смазочная станция;
13 - пульт управления; 14 - электрошкаф
Рисунок C.1. Обрабатывающий центр с горизонтальным
шпинделем и паллетами
Рисунок C.2. Общий вид обрабатывающего центра,
1 - устройство смены инструмента; 2 - инструментальный
магазин; 3 - шпиндельная бабка с горизонтальным шпинделем;
4 - стойка с приводом подачи, ось Y; 5 - установка
масляного тумана; 6 - центральная смазочная станция подачи,
ось Z; 7 - пневматический блок; 8 - гидравлический блок;
9 - электрошкаф; 10 - главный привод; 11 - поперечный
ползун с приводом подачи, ось Z; 12 - станина с приводом
подачи, ось X; 13 - поворотный стол с ЧПУ; 14 - устройство
смены паллет; 15 - станция загрузки; 16 - ограждение;
17 - конвейер для стружки; 18 - охладитель
для шпинделя мотора
Рисунок C.3. Обрабатывающий центр с горизонтальным
шпинделем и устройством смены инструмента челночного типа
1 - станция загрузки; 2 - окно механизма смены паллет;
3 - конвейер для стружки; 4 - панель обзора механизма смены
инструмента; 5 - панель обзора инструментального магазина;
6 - поперечная балка для транспортировки станка; 7 - задняя
дверца для ремонта (гидравлические, пневматические
центральные блоки, смазочная станция, охладитель мотора;
8 - дверца электрошкафа; 9 - дверца для ремонта; 10 - пульт
управления; 11 - поворотная панель наблюдения;
12 - перемещаемые створки рабочей зоны; 13 - перемещаемая
створчатая дверь
Рисунок C.4. Общий вид обрабатывающего центра,
Рисунок C.5. Обрабатывающий центр с двумя раздельными
рабочими зонами
Рисунок C.6. Большой обрабатывающий центр с ограждением
по периметру и двумя раздельными рабочими зонами
1 - ворота ограждения; 2 - передвижной портал;
3 - телескопические стальные оболочки; 4 - дополнительный
пульт (только для режима 2); 5 - фреза; 6 - кабина,
закрытая с трех сторон, перемещается с порталом; 7 - стол
станка; 8 - крышки над ползунами; 9 - заслонка для стружки;
10 - ограждение по периметру; 11 - автоматическое
устройство для смены инструмента; 12 - предупреждающие
знаки
Рисунок C.7. Пример большого обрабатывающего центра
портального типа с ограждением по периметру и защитой
(обязательное)
ИЗМЕРЕНИЕ ШУМОВОГО ИЗЛУЧЕНИЯ
Рабочие условия для измерения шума должны быть следующими:
- вращение шпинделя на холостом ходу со скоростью, равной 80% максимальной;
- перемещение обрабатываемой детали;
- смена инструмента и перемещение по осям координат;
- работа конвейера для удаления стружки (если имеется).
Крепление станка и режим работы должны соответствовать инструкциям производителя и быть идентичны для определения уровня звукового давления, издаваемого на рабочем месте, и уровня звуковой мощности.
Уровень звукового давления на рабочем месте следует измерять в соответствии с ЕН ИСО 11202 при соблюдении следующих условий:
- показатель акустических условий окружающей среды

или локальный показатель акустических условий окружающей среды

должны быть не более 4 дБ;
- разница между фоновым уровнем звукового давления и уровнем звукового давления на рабочем месте должна быть не менее 6 дБ;
- локальный показатель акустических условий окружающей среды

следует рассчитывать в соответствии с ЕН ИСО 11204 (пункт A.2, приложение A) со ссылкой на ЕН ИСО 3746 вместо метода, приведенного в ЕН ИСО 11202 (приложение A), или в соответствии с ЕН ИСО 3744, где один из этих стандартов использовался в качестве метода измерения.
Уровни звуковой мощности следует определять в соответствии с методом измерения по огибающей поверхности, указанным в ЕН ИСО 3746.
В тех случаях, когда отсутствуют помехи, уровни звуковой мощности оборудования можно измерять с высокой степенью точности в соответствии с ЕН ИСО 3744.
Уровень звуковой мощности определяется методом интенсивности звука по ЕН ИСО 9614-1 (применение необходимо согласовать между поставщиком и потребителем).
(обязательное)
ССЫЛОЧНЫХ МЕЖДУНАРОДНЫХ СТАНДАРТОВ
МЕЖГОСУДАРСТВЕННЫМ СТАНДАРТАМ
Таблица E.1
┌────────────────────────┬────────────────────────────────────────────────┐
│ Обозначение ссылочного │ Обозначение и наименование соответствующего │
│международного стандарта│ межгосударственного стандарта │
├────────────────────────┼────────────────────────────────────────────────┤
│ │оборудования. Основные понятия, общие принципы │
│ │конструирования. Часть 1. Основные термины, │
│ │методика │
├────────────────────────┼────────────────────────────────────────────────┤
│ │оборудования. Основные понятия, общие принципы │
│ │конструирования. Часть 2. Технические правила │
│ │и технические требования │
├────────────────────────┼────────────────────────────────────────────────┤
│ЕН 294:1992 │ ГОСТ ЕН 294-2002. Безопасность машин. │
│ │Безопасные расстояния для предохранения верхних │
│ │конечностей от попадания в опасную зону │
├────────────────────────┼────────────────────────────────────────────────┤
│ │Минимальные расстояния для предотвращения │
│ │защемления частей человеческого тела │
├────────────────────────┼────────────────────────────────────────────────┤
├────────────────────────┼────────────────────────────────────────────────┤
├────────────────────────┼────────────────────────────────────────────────┤
├────────────────────────┼────────────────────────────────────────────────┤
│ЕН 574:1996 │ ГОСТ ИСО 13851-2005. Безопасность машин. │
│ │Двуручное управление устройствами. Функциональ- │
│ │ные положения. Принципы проектирования │
├────────────────────────┼────────────────────────────────────────────────┤
├────────────────────────┼────────────────────────────────────────────────┤
├────────────────────────┼────────────────────────────────────────────────┤
│ │оборудования. Снижение риска для здоровья │
│ │от опасных веществ, выделяемых оборудованием. │
│ │Часть 1. Основные положения и технические │
│ │требования │
├────────────────────────┼────────────────────────────────────────────────┤
├────────────────────────┼────────────────────────────────────────────────┤
│ЕН 894-2:1997 │ ГОСТ ЕН 894-2-2002. Безопасность машин. │
│ │Эргономические требования по конструированию │
│ │средств отображения информации и органов │
│ │управления. Часть 2. Средства отображения │
│ │информации │
├────────────────────────┼────────────────────────────────────────────────┤
├────────────────────────┼────────────────────────────────────────────────┤
│ЕН 953:1997 │ ГОСТ ЕН 953-2002. Безопасность машин. Съемные │
│ │защитные устройства. Общие требования │
│ │по конструированию и изготовлению неподвижных │
│ │и перемещаемых съемных защитных устройств │
├────────────────────────┼────────────────────────────────────────────────┤
├────────────────────────┼────────────────────────────────────────────────┤
│ │оборудования. Требования безопасности │
│ │к гидравлическим и пневматическим системам │
│ │и их компонентам. Гидравлика │
├────────────────────────┼────────────────────────────────────────────────┤
│ЕН 983:1996 │ ГОСТ 30869-2003 (ЕН 983:1996). Безопасность │
│ │оборудования. Требования безопасности │
│ │к гидравлическим и пневматическим системам │
│ │и их компонентам. Пневматика │
├────────────────────────┼────────────────────────────────────────────────┤
│ЕН 999:1998 │ ГОСТ ИСО 13855-2005. Безопасность оборудования.│
│ │Расположение защитных устройств в зависимости от│
│ │скорости приближения частей человеческого тела │
├────────────────────────┼────────────────────────────────────────────────┤
├────────────────────────┼────────────────────────────────────────────────┤
│ │Физические возможности человека. Часть 2. │
│ │Составляющая ручного труда при работе с машинами│
│ │и механизмами │
├────────────────────────┼────────────────────────────────────────────────┤
├────────────────────────┼────────────────────────────────────────────────┤
│ЕН 1037:1995 │ ГОСТ ЕН 1037-2002. Безопасность машин. │
│ │Предотвращение неожиданного пуска │
├────────────────────────┼────────────────────────────────────────────────┤
│ │оценки и определения рисков │
├────────────────────────┼────────────────────────────────────────────────┤
│ │Блокировочные устройства, связанные с защитными │
│ │устройствами. Принципы конструирования и выбора │
├────────────────────────┼────────────────────────────────────────────────┤
├────────────────────────┼────────────────────────────────────────────────┤
│ │Защитные устройства, реагирующие на давление. │
│ │Часть 1. Основные принципы конструирования │
│ │и испытаний ковриков и полов, реагирующих │
│ │на давление │
├────────────────────────┼────────────────────────────────────────────────┤
│ │Встроенное освещение машин │
├────────────────────────┼────────────────────────────────────────────────┤
│ │обеспечиваемые оболочками (Код IP) │
├────────────────────────┼────────────────────────────────────────────────┤
├────────────────────────┼────────────────────────────────────────────────┤
│ЕН ИСО 3744:1995 │ ГОСТ 31275-2002 (ИСО 3744-94). Шум машин. │
│ │Определение уровней звуковой мощности источников│
│ │шума по звуковому давлению. Технический метод │
│ │в существенно свободном звуковом поле │
│ │над звукоотражающей плоскостью │
├────────────────────────┼────────────────────────────────────────────────┤
│ЕН ИСО 3746:1995 │ ГОСТ 31277-2002 (ИСО 3746-95). Шум машин. │
│ │Определение уровней звуковой мощности источников│
│ │шума по звуковому давлению. Ориентировочный │
│ │метод с использованием измерительной поверхности│
│ │над звукоотражающей плоскостью │
├────────────────────────┼────────────────────────────────────────────────┤
│ │Заявление и контроль значений шумовых │
│ │характеристик │
├────────────────────────┼────────────────────────────────────────────────┤
│ │Определение уровней звуковой мощности источников│
│ │шума на основе интенсивности звука. Измерение │
│ │в дискретных точках. Технический метод │
├────────────────────────┼────────────────────────────────────────────────┤
│ │Измерение уровней звукового давления излучения │
│ │на рабочем месте и в других контрольных точках. │
│ │Ориентировочный метод измерений на месте │
│ │установки │
├────────────────────────┼────────────────────────────────────────────────┤
│ │шума машин и оборудования. Измерение уровней │
│ │мощности звука на рабочем месте и в других │
│ │заданных точках. Метод, требующий коррекции │
│ │с учетом воздействия окружающей среды │
├────────────────────────┼────────────────────────────────────────────────┤
├────────────────────────┼────────────────────────────────────────────────┤
├────────────────────────┼────────────────────────────────────────────────┤
├────────────────────────┼────────────────────────────────────────────────┤
│ЕН ИСО 11688-1:1998 │
<*> │
├────────────────────────┼────────────────────────────────────────────────┤
│ИСО/ТО 11688-2:1998 │
<*> │
├────────────────────────┼────────────────────────────────────────────────┤
├────────────────────────┼────────────────────────────────────────────────┤
│ЕН 60204-1:1997 │ ГОСТ МЭК 60204-1-2002. Безопасность машин. │
│ │Электрооборудование машин и механизмов. Часть 1:│
│ │Общие требования │
├────────────────────────┼────────────────────────────────────────────────┤
│ЕН 61000-6-2 │ <*> │
├────────────────────────┼────────────────────────────────────────────────┤
│ЕН 61496-1:1997 │ <*> │
├────────────────────────┼────────────────────────────────────────────────┤
│ЕН 61496-2:1997 │ <*> │
├────────────────────────┼────────────────────────────────────────────────┤
│ИСО 2806:1994 │ <*> │
├────────────────────────┴────────────────────────────────────────────────┤
│ <*> Соответствующий межгосударственный стандарт отсутствует. До его│
│принятия рекомендуется использовать перевод на русский язык данного│
│международного стандарта или гармонизированный с ним национальный│
│(государственный) стандарт страны, на территории которой применяется│
│настоящий стандарт. Информация о наличии перевода данного международного│
│стандарта в национальном фонде стандартов или в ином месте, а также│
│информация о действии на территории страны соответствующего национального│
│(государственного) стандарта может быть приведена в национальных│
│информационных данных, дополняющих настоящий стандарт. │
└─────────────────────────────────────────────────────────────────────────┘
Перечень международных стандартов, касающихся технологических процессов, не указанных в настоящем стандарте:
[1] ИСО 513:1991. Применение твердых режущих материалов для обработки на металлорежущих станках. Обозначение основных групп удаления стружки и групп применения
[2] ИСО 683-1:1987. Термообрабатываемые стали, легированные стали и автоматные стали. Часть 1. Закаливаемые нелегированные и низколегированные стали. Форма поставки
[3] ИСО 11161:1994. Промышленные автоматизированные системы. Безопасность объединенных производственных систем. Основные требования
[4] ЕН 692:1996. Безопасность станков. Прессы с механическим приводом (CEN/TC 143/WG 1)
[5] ЕН 693. Безопасность станков. Прессы с гидравлическим приводом (CEN/TC 143/WG 1)
[6] ЕН ИСО 7250:1997. Антропометрические данные человека для технического конструирования (ИСО 7250)
[7] ЕН 12622. Безопасность станков. Фрикционные прессы (CEN/TC 143/WG 1)
[8] ЕН 13736. Безопасность станков. Пневматические прессы (CEN/TC 143/WG 1)
[9] ЕН 13985. Безопасность станков. Ножницы гильотинные (CEN/TC 143/WG 1)
[10] ЕН 13218. Безопасность станков. Стационарные шлифовальные станки (CEN/TC 143/WG 2)
[11] ЕН 12413. Требования безопасности абразивных материалов на металлической основе (CEN/TC 143/WG 2)
[12] ЕН 13236. Требования безопасности для высокосортных абразивов (CEN/TC 143/WG 2)
[13] ЕН 12415. Безопасность станков. Легкие токарные станки с числовым программным управлением и токарные обрабатывающие центры (CEN/TC 143/WG 3)
[14] ЕН 418:1992. Безопасность машин. Установки аварийного выключения. Функциональные аспекты. Принципы
[15] ЕН 457:1992. Безопасность машин. Звуковые сигналы предупреждения об опасности. Общие требования конструирования и испытания (ИСО 7731:1986, модифицированный)
[16] ЕН 12626:1997. Безопасность станков. Станки для лазерной обработки. Требования по безопасности (ИСО 11533, модифицированный)
[17] ЕН 1550:1997. Безопасность станков. Требования безопасности для разработки и конструирования зажимных патронов заготовок (CEN/TC 143/WG 3)
[18] ЕН 13128. Безопасность станков. Фрезерные станки (включая расточные)
[19] ЕН 12717. Безопасность станков. Сверлильные станки (CEN/TC 143/WG 4)
[20] ЕН 14070. Безопасность станков. Автоматические станочные линии и станки специального назначения (CEN/TC 143/WG 4)
[21] ЕН 12957. Безопасность станков. Электроэрозионные станки (CEN/TC 143/WG 5)
[22] ЕН 13898. Безопасность станков. Отрезные станки (CEN/TC 143/WG 6).