Главная // Актуальные документы // ГОСТ (Государственный стандарт)СПРАВКА
Источник публикации
М.: Издательство стандартов, 2003
Примечание к документу
Отдельные положения данного документа включены в
Перечень международных и региональных (межгосударственных) стандартов, а в случае их отсутствия - национальных (государственных) стандартов, в результате применения которых на добровольной основе обеспечивается соблюдение требований технического
регламента Таможенного союза "О безопасности машин и оборудования" (ТР ТС 010/2011) и в
Перечень международных и региональных (межгосударственных) стандартов, а в случае их отсутствия - национальных (государственных) стандартов, содержащих правила и методы исследований (испытаний) и измерений, в том числе правила отбора образцов, необходимые для применения и исполнения требований технического
регламента Таможенного союза "О безопасности машин и оборудования" (ТР ТС 010/2011) и осуществления оценки соответствия объектов технического регулирования (
Решение Коллегии Евразийской экономической комиссии от 09.03.2021 N 28).
Отдельные положения данного документа включены в
Перечень стандартов, в результате применения которых на добровольной основе обеспечивается соблюдение требований технического
регламента Таможенного союза "О безопасности машин и оборудования" (ТР ТС 010/2011) и в
Перечень стандартов, содержащих правила и методы исследований (испытаний) и измерений, в том числе правила отбора образцов, необходимые для применения и исполнения требований технического
регламента Таможенного союза "О безопасности машин и оборудования" (ТР ТС 010/2011) и осуществления оценки (подтверждения) соответствия продукции (
Решение Комиссии Таможенного союза от 18.10.2011 N 823).
Документ
введен в действие с 1 января 2004 года.
Название документа
"ГОСТ ЕН 1837-2002. Межгосударственный стандарт. Безопасность машин. Встроенное освещение машин"
(введен в действие Постановлением Госстандарта России от 19.05.2003 N 145-ст)
"ГОСТ ЕН 1837-2002. Межгосударственный стандарт. Безопасность машин. Встроенное освещение машин"
(введен в действие Постановлением Госстандарта России от 19.05.2003 N 145-ст)
комитета Российской Федерации
по стандартизации и метрологии
от 19 мая 2003 г. N 145-ст
МЕЖГОСУДАРСТВЕННЫЙ СТАНДАРТ
БЕЗОПАСНОСТЬ МАШИН
ВСТРОЕННОЕ ОСВЕЩЕНИЕ МАШИН
Safety of machinery. Integral lighting of machines
ГОСТ ЕН 1837-2002
Дата введения
1 января 2004 года
1. Разработан "Экспериментальным научно-исследовательским институтом металлорежущих станков" (ОАО "ЭНИМС").
Внесен Госстандартом России.
2. Принят Межгосударственным советом по стандартизации, метрологии и сертификации (Протокол N 22 от 6 ноября 2002 г.).
За принятие проголосовали:
Наименование государства | Наименование национального органа по стандартизации |
Азербайджан | Азгосстандарт |
Армения | Армгосстандарт |
Беларусь | Госстандарт Республики Беларусь |
Грузия | Грузстандарт |
Казахстан | Госстандарт Республики Казахстан |
Кыргызстан | Кыргызстандарт |
Молдова | Молдовастандарт |
Российская Федерация | Госстандарт России |
Таджикистан | Таджикстандарт |
Туркменистан | Главгосслужба "Туркменстандартлары" |
3. Настоящий стандарт представляет собой идентичный текст международного стандарта ЕН 1837:1999 "Безопасность машин. Встроенное освещение машин".
4.
Постановлением Государственного комитета Российской Федерации по стандартизации и метрологии от 19 мая 2003 г. N 145-ст межгосударственный стандарт ГОСТ ЕН 1837-2002 введен в действие непосредственно в качестве государственного стандарта Российской Федерации с 1 января 2004 г.
5. Введен впервые.
Для освещения зрительных заданий при работе в пределах машины и (или) в рабочей зоне требуются осветительные системы, встроенные в машину или вне ее. К этим осветительным системам предъявляют требования, которые позволят оператору безопасно использовать машину и эффективно выполнять задания при работе и обслуживании машины.
Настоящий стандарт определяет параметры встроенных осветительных систем, предназначенных для обеспечения освещения в стационарных и (или) передвижных машинах, с целью безопасного использования машины и эффективного выполнения заданий при работе в пределах машины и (или) в рабочей зоне.
Настоящий стандарт не определяет параметры осветительных систем, установленных на машине, для освещения заданий, выполняемых вне машины.
Настоящий стандарт не устанавливает дополнительные требования для работы систем освещения:
- в отличающихся условиях окружающей среды, в условиях применения низких и высоких температур и т.д.;
- установленных специальными правилами (например, взрывоопасная среда);
- световой поток которых снижается условиями окружающей среды (из-за наличия дыма, разбрызгивания жидкости и т.д.).
В настоящем стандарте использованы ссылки на следующие стандарты:
ГОСТ ИСО/ТО 12100-1-2001 Безопасность оборудования. Основные понятия, общие принципы конструирования. Часть 1. Основные термины, методология
ЕН 1070-98
<*> Безопасность машин. Терминология
ЕН 60598-99 <*> Светильники
--------------------------------
В настоящем стандарте применяют следующие термины, с соответствующими определениями:
3.1. Оборудование (машина): совокупность связанных между собой частей или устройств, из которых, по крайней мере, одно движется, а также элементы привода, управления и электрические узлы, которые предназначены для определенного применения, в частности для обработки, производства, перемещения или упаковки материала.
К термину "оборудование" относят также совокупность машин, которые так устроены и управляемы, что функционируют как единое целое для достижения одной и той же цели (
ГОСТ ИСО/ТО 12100-1, ЕН 1070).
3.2. Встроенная система освещения (машины): система освещения, состоящая из одной или нескольких ламп, светильников и связанных механических и электрических устройств управления, которые образуют неотъемлемую часть машины, предназначенную для обеспечения освещения в пределах машины и (или) в рабочей зоне.
| | Применение на добровольной основе раздела 4 обеспечивает соблюдение требований технического регламента Таможенного союза "О безопасности машин и оборудования" (ТР ТС 010/2011) (Решение Комиссии Таможенного союза от 18.10.2011 N 823). | |
4. ТРЕБОВАНИЯ К ВСТРОЕННОЙ СИСТЕМЕ ОСВЕЩЕНИЯ
4.1. Основные положения
Размещение устройств освещения на машинах должно производиться с учетом требований светотехники и эргономики.
Выполняемые задания в пределах машины и (или) в рабочей зоне различны по размеру, контрасту, положению и скорости движения. Таким образом нормы освещенности и требуемые условия должны быть определены при детальном анализе задания выполняемой работы.
Требования к освещению базируются на работах со средней трудностью заданий, характерных для рабочего процесса при выполнении технологической операции или при техническом обслуживании и ремонте.
4.2. Освещенность
Освещенность зависит от вида задания и должна быть достаточно высокой и стабильной, чтобы обеспечить безопасное и удобное зрительное восприятие деталей задания.
Освещенность не менее 500 лк должна обеспечиваться минимальной равномерностью

, равной 0,7 в рабочей зоне, и 0,3 - в пределах машины.
Там, где для эксплуатации машины требуются средства индивидуальной защиты глаз или защитные щитки, освещенность должна быть умножена на коэффициент, которым характеризуется влияние этих устройств на уменьшение освещенности. В случае, если коэффициент неизвестен, освещенность должна быть увеличена не менее чем на 50%.
В помещениях контроля (управления) или там, где выполняемые работы вызывают утомление под воздействием света, вышеупомянутая освещенность может быть уменьшена.
4.3. Яркий свет
В системе встроенного освещения не должно быть прямого яркого света в непосредственной близости от оператора машины и других рабочих. Следует избегать также, насколько возможно, любого отраженного яркого света.
Примечание. Это возможно достигнуть путем установки экрана перед лампой (лампами), изменения расположения и направления освещения и применения источника света с матовой поверхностью.
4.4. Направленность
Система освещения должна быть разработана и установлена так, чтобы не создавать теней, мешающих выполнению задания.
Направленность освещения должна гарантировать точное восприятие формы, которая соответствует заданию по выполнению работы в рабочей зоне и (или) в пределах машины.
4.5. Цветовая характеристика
Цветовое излучение ламп и цвет отраженного света должны распознаваться и быть комфортны для оператора.
4.6. Стробоскопический эффект
Система освещения должна быть разработана так, чтобы исключить стробоскопический эффект, который может привести к опасным ситуациям, изменяя восприятие оператором характера вращения или возвратно-поступательного движения машины.
Примечание. Это может быть достигнуто, например, при помощи стабилизированного источника электрического питания для ламп накаливания или применением для мигающих ламп высокочастотных (около 30 кГц) источников электрического питания.
| | Применение на добровольной основе раздела 5 обеспечивает соблюдение требований технического регламента Таможенного союза "О безопасности машин и оборудования" (ТР ТС 010/2011) (Решение Комиссии Таможенного союза от 18.10.2011 N 823). | |
5. ОБОРУДОВАНИЕ ВСТРОЕННОГО ОСВЕЩЕНИЯ И УСТАНОВКА
5.1. Лампы
Лампы должны быть безопасными в установке и не должны представлять опасности оператору машины.
Примечание. Лампы должны быть расположены так, чтобы не нанести вред здоровью оператора, вызванный, например, поврежденными лампами, чрезмерно высокой температурой или вредным излучением.
5.2. Светильники
Конструкция светильников должна предусматривать:
- обеспечение требуемого освещения выполняемой работы;
- защиту от накопления грязи на лампах и оптических поверхностях;
- защиту от преждевременного старения оптических элементов;
- обеспечение нетрудоемкого их обслуживания;
- выполнение требований ЕН 60598;
- совместимость с машиной, например противостоять воздействию вибрации, излучению и т.д.
5.3. Установка
Установка светильников должна:
- обеспечить требуемое освещение для выполняемой работы;
- исключить опасные для оператора помехи в выполняемой работе;
- защитить от накопления грязи на лампах и оптических поверхностях;
- обеспечить нетрудоемкое обслуживание.
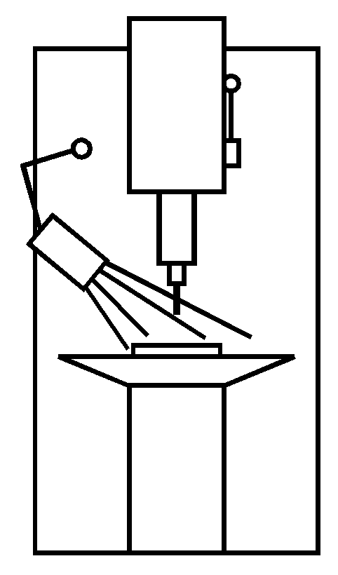
Примеры правильного и неправильного освещения рабочей зоны машины приведены в
Приложении А.
5.4. Пригодность системы освещения
В тех случаях, когда отказ встроенной системы освещения машины может вызвать опасность для оператора, система освещения должна состоять более чем из одного источника освещения. Один из этих источников освещения должен быть подключен к альтернативному источнику электрического питания.
5.5. Источник электрического питания
Система освещения должна быть связана с источником электрического питания так, чтобы она продолжала функционировать даже тогда, когда машина выключена.
| | Раздел 6 содержит правила и методы исследований (испытаний) измерений, в том числе правила отбора образцов, необходимые для применения и исполнения требований технического регламента Таможенного союза "О безопасности машин и оборудования" (ТР ТС 010/2011) и осуществления оценки (подтверждения) соответствия продукции (Решение Комиссии Таможенного союза от 18.10.2011 N 823). | |
6. ПРОВЕРКА ВСТРОЕННОЙ СИСТЕМЫ ОСВЕЩЕНИЯ
Изготовитель машины со встроенной системой освещения должен:
а) измерить освещенность и проверить равномерность

в рабочей зоне и в пределах машины. Освещенность должна быть измерена прибором (люксметром) с коррекцией фотоэлемента

;
б) проверить визуальным осмотром блики, направленность освещения, цветовые характеристики и стробоскопический эффект. Они должны быть удовлетворительны;
в) составить отчет об испытании системы освещения;
г) представить инструкцию по обслуживанию машины.
7. ИНФОРМАЦИЯ ДЛЯ ОПЕРАТОРА
Работу системы освещения следует регулярно проверять, по крайней мере один раз в год в соответствии с разделом 6, перечисление г, для принятия соответствующих решений.
Система освещения должна быть чистой и поддерживаться согласно инструкции (раздел 6, перечисление г).
(справочное)
ПРИМЕРЫ ПРАВИЛЬНОГО И НЕПРАВИЛЬНОГО ОСВЕЩЕНИЯ РАБОЧЕЙ
ЗОНЫ МАШИНЫ
Рисунок А.1. Сверлильный станок с освещением без бликов
Рисунок А.2. Сверлильный станок с открытой
люминесцентной лампой, создающей блики
Рисунок А.3. Шлифовальный станок с освещением с одной
стороны. Правильное расположение светильника предотвращает
чрезмерное загрязнение
Рисунок А.4. Шлифовальный станок с освещением с одной
стороны. Светильник установлен так, что чрезмерно будет
загрязняться
Рисунок А.5. Токарный станок с флуоресцентной лампой
в закрытом светильнике. Легко протираемая защитная труба
предохраняет лампу от грязи и поломки
Рисунок А.6. Токарный станок с узким лучом светильника,
который не может быть откорректирован и не освещает
всю рабочую зону