Главная // Актуальные документы // ГОСТ (Государственный стандарт)СПРАВКА
Источник публикации
М.: Стандартинформ, 2019
Примечание к документу
Документ
введен в действие с 01.05.2020.
Название документа
"ГОСТ IEC 62776-2019. Межгосударственный стандарт. Лампы светодиодные двухцокольные для замены линейных люминесцентных ламп. Требования безопасности"
(введен в действие Приказом Росстандарта от 30.10.2019 N 1159-ст)
"ГОСТ IEC 62776-2019. Межгосударственный стандарт. Лампы светодиодные двухцокольные для замены линейных люминесцентных ламп. Требования безопасности"
(введен в действие Приказом Росстандарта от 30.10.2019 N 1159-ст)
агентства по техническому
регулированию и метрологии
от 30 октября 2019 г. N 1159-ст
МЕЖГОСУДАРСТВЕННЫЙ СТАНДАРТ
ЛАМПЫ СВЕТОДИОДНЫЕ ДВУХЦОКОЛЬНЫЕ ДЛЯ ЗАМЕНЫ
ЛИНЕЙНЫХ ЛЮМИНЕСЦЕНТНЫХ ЛАМП
ТРЕБОВАНИЯ БЕЗОПАСНОСТИ
Double-capped LED lamps designed to retrofit linear
fluorescent lamps - Safety specifications
(IEC 62776:2014, IDT)
ГОСТ IEC 62776-2019
Дата введения
1 мая 2020 года
Цели, основные принципы и общие правила проведения работ по межгосударственной стандартизации установлены
ГОСТ 1.0 "Межгосударственная система стандартизации. Основные положения" и
ГОСТ 1.2 "Межгосударственная система стандартизации. Стандарты межгосударственные, правила и рекомендации по межгосударственной стандартизации. Правила разработки, принятия, обновления и отмены"
1 ПОДГОТОВЛЕН Обществом с ограниченной ответственностью "Научно-исследовательский институт источников света имени А.Н. Лодыгина" (ООО "НИИИС имени А.Н. Лодыгина") на основе собственного перевода на русский язык англоязычной версии стандарта, указанного в
пункте 5
2 ВНЕСЕН Межгосударственным техническим комитетом по стандартизации МТК 332 "Светотехнические изделия, освещение искусственное"
3 ПРИНЯТ Межгосударственным советом по стандартизации, метрологии и сертификации (протокол от 30 октября 2019 г. N 123-П)
За принятие проголосовали:
Краткое наименование страны по МК (ИСО 3166) 004-97 | Код страны по МК (ИСО 3166) 004-97 | Сокращенное наименование национального органа по стандартизации |
Армения | AM | Минэкономики Республики Армения |
Беларусь | BY | Госстандарт Республики Беларусь |
Киргизия | KG | Кыргызстандарт |
Россия | RU | Росстандарт |
Узбекистан | UZ | Узстандарт |
4
Приказом Федерального агентства по техническому регулированию и метрологии от 30 октября 2019 г. N 1159-ст межгосударственный стандарт ГОСТ IEC 62776-2019 введен в действие в качестве национального стандарта Российской Федерации с 1 мая 2020 г.
5 Настоящий стандарт идентичен международному стандарту IEC 62776:2014 "Лампы светодиодные двухцокольные для замены линейных люминесцентных ламп. Требования безопасности" ("Double-capped LED lamps designed to retrofit linear fluorescent lamps - Safety specifications", IDT), включая поправку Cor.1:2015 и лист интерпретации IEC 62776(2014)/ISH1(2018).
Международный стандарт разработан подкомитетом 34A "Лампы" Технического комитета по стандартизации IEC/TC 34 "Лампы и связанное с ними оборудование" Международной электротехнической комиссии (IEC).
В тексте настоящего стандарта применено шрифтовое выделение курсивом при описании методов оценки соответствия и испытаний.
При применении настоящего стандарта рекомендуется использовать вместо ссылочных международных стандартов соответствующие им межгосударственные стандарты, сведения о которых приведены в дополнительном
приложении ДА
6 ВВЕДЕН ВПЕРВЫЕ
7 Некоторые элементы настоящего стандарта могут быть объектом патентного права. IEC не несет ответственности за установление подлинности каких-либо или всех таких патентных прав.
Информация о введении в действие (прекращении действия) настоящего стандарта и изменений к нему на территории указанных выше государств публикуется в указателях национальных стандартов, издаваемых в этих государствах, а также в сети Интернет на сайтах соответствующих национальных органов по стандартизации.
В случае пересмотра, изменения или отмены настоящего стандарта соответствующая информация будет опубликована на официальном интернет-сайте Межгосударственного совета по стандартизации, метрологии и сертификации в каталоге "Межгосударственные стандарты"
Настоящий стандарт устанавливает требования безопасности, взаимозаменяемости и условия замены, а также методы и условия испытаний, необходимые для подтверждения соответствия двухцокольных светодиодных ламп (далее - СД-лампы), с цоколями G5 и G13, предназначенных для замены люминесцентных ламп с этими же цоколями, имеющих:
- номинальную мощность до 125 Вт включительно;
- номинальное напряжение до 250 В включительно.
Такие СД-лампы рассчитаны для замены без какой-либо модификации светильника.
Существующие светильники, в которых устанавливают двухцокольные СД-лампы, могут работать с электромагнитными или электронными устройствами управления (далее - УУ).
Требования настоящего стандарта относятся только к испытанию типа.
Рекомендации по испытанию всей продукции или партии приведены в
приложении А.
Примечание - При использовании в настоящем стандарте термина "СД-лампа" подразумевается "двухцокольная СД-лампа для замены", за исключением случаев, когда это очевидно относится к другим типам ламп.
Настоящий стандарт не распространяется на конверсионные двухцокольные СД-лампы, если требуется изменение конструкции светильника. Требования настоящего стандарта относятся к общему освещению (исключая, например, взрывоопасную среду). Для СД-ламп других применений допускается применять дополнительные требования.
Примечание - В настоящий стандарт включены требования фотобиологической безопасности.
В настоящем стандарте использованы нормативные ссылки на следующие стандарты.
Для датированных ссылок применяют только указанное издание ссылочного стандарта. Для недатированных - последнее издание (включая все изменения).
IEC 60061-1, Lamp caps and holders together with gauges for the control of interchangeability and safety - Part 1: Lamp caps (Цоколи и патроны ламп, а также калибры для проверки их взаимозаменяемости и безопасности. Часть 1. Цоколи)
IEC 60061-3, Lamp caps and holders together with gauges for the control of interchangeability and safety - Part 3: Gauges (Цоколи и патроны ламп, а также калибры для проверки их взаимозаменяемости и безопасности. Часть 3. Калибры)
IEC 60061-4, Lamp caps and holders together with gauges for the control of interchangeability and safety - Part 4: Guidelines and general information (Цоколи и патроны ламп, а также калибры для проверки их взаимозаменяемости и безопасности. Часть 4. Руководство и общие сведения)
IEC 60081, Double-capped fluorescent lamps - Performance specifications (Лампы люминесцентные двухцокольные. Эксплуатационные требования)
IEC 60155, Glow starters for fluorescent lamps (Стартеры тлеющего разряда для люминесцентных ламп)
IEC 60360, Standard method of measurement of lamp cap temperature rise (Стандартный метод измерения превышения температуры на цоколе лампы)
IEC 60417, Graphical symbols for use on equipment (Графические символы, используемые на оборудовании)
IEC 60598-1, Luminaires - Part 1: General requirements and tests (Светильники. Часть 1. Общие требования и испытания)
IEC 60695-2-10:2013, Fire hazard testing - Part 2-10: Glowing/hot-wire based test methods; Glow-wire apparatus and common test procedure (Испытание на пожароопасность. Часть 2-10. Методы испытаний раскаленной проволокой. Устройство с раскаленной проволокой и общая методика испытаний)
IEC 60695-2-11:2000 <1>, Fire hazard testing - Part 2-11: Glowing/hot-wire based test methods - Glowwire flammability test method for end products (Испытание на пожароопасность. Часть 2-11. Методы испытаний раскаленной проволокой. Методы испытаний раскаленной проволокой на воспламеняемость конечных продуктов)
--------------------------------
<1> Заменен на IEC 60695-2-11:2014. Однако для однозначного соблюдения требования настоящего стандарта, выраженного в датированной ссылке, рекомендуется использовать только указанное в этой ссылке издание.
IEC 60921, Ballasts for tubular fluorescent lamps - Performance requirements (Аппараты пускорегулирующие для трубчатых люминесцентных ламп. Эксплуатационные требования)
IEC 61195, Double-capped fluorescent lamps - Safety specifications (Лампы люминесцентные двухцокольные. Требования безопасности)
IEC 61347-1, Lamp controlgear - Part 1: General and safety requirements (Устройства управления лампами. Часть 1. Общие требования и требования безопасности)
IEC 61347-2-8, Lamp controlgear - Part 2-8: Particular requirements for ballasts for fluorescent lamps (Устройства управления лампами. Часть 2-8. Частные требования к пускорегулирующим аппаратам для люминесцентных ламп)
IEC 62031, LED modules for general lighting - Safety specifications (Модули светодиодные для общего освещения. Требования безопасности)
IEC 62504, General lighting - Light emitting diode (LED) products and related equipment - Terms and definitions (Общее освещение. Светодиодные (СД) изделия и соответствующее оборудование. Термины и определения)
IEC/TR 62778, Appication of IEC 62471 for the assessment of blue light hazard to light sources and luminaires (Применение МЭК 62471 для оценки опасности синего света от источников света и светильников)
ISO 4046-4:2002, Paper, board, pulps and related terms - Vocabulary - Part 4: Paper and board grades and converted products (Бумага, картон, пульпа и соответствующие термины. Часть 4. Сорта бумаги и картона и переработанные изделия)
В настоящем стандарте применены термины по IEC 62504, IEC 62031, а также следующие термины с соответствующими определениями:
3.1 двухцокольная заменяющая СД-лампа (double-capped retrofit LED lamp): Трубчатая СД-лампа, которая может быть использована в качестве замены двухцокольной люминесцентной лампы без модификации светильника и после установки обеспечивает тот же уровень безопасности, что и заменяемая лампа.
Примечание - Замену стартера тлеющего разряда по IEC 60155 СД заменяющим стартером с теми же размерами и установкой для правильного функционирования двухцокольной СД-лампы не считают модификацией светильника.
3.2 двухцокольная конверсионная СД-лампа (double-capped conversion LED lamp): Двухцокольная СД-лампа, которая может быть использована в качестве замены лампы другого типа с модификацией светильника.
3.3 номинальное напряжение (rated voltage): Значение напряжения, являющееся характеристикой СД-лампы при заданных рабочих условиях.
Примечание - Значение напряжения и условия испытаний приведены в настоящем стандарте или их устанавливает изготовитель или ответственный поставщик.
3.4 номинальная мощность (rated power): Мощность, маркируемая на СД-лампе.
3.5 номинальная частота (rated frequency): Частота, маркируемая на СД-лампе.
3.6
превышение температуры цоколя 
(cap temperature rise): Превышение температуры окружающей среды над поверхностью цоколя СД-лампы.
3.7 токоведущая деталь (live part): Деталь, которая при нормальном использовании может стать причиной поражения электрическим током.
3.8 тип (type): Двухцокольная СД-лампа, характеризующая продукцию.
3.9 испытание типа (type test): Испытание на соответствие одной или нескольких двухцокольных СД-ламп с подобными цоколями, характеризующих продукцию.
3.10 выборка для испытания типа (type test sample): Одна или несколько двухцокольных СД-ламп с подобными цоколями, представленные изготовителем или ответственным поставщиком для испытания типа.
3.11 ультрафиолетовая опасность эффективного светового излучения KS,v (ultraviolet hazard efficacy of luminous radiation): Отношение ультрафиолетовой опасной величины к соответствующей фотометрической величине.
Примечания
1 Ультрафиолетовую опасность эффективного светового излучения выражают в мВт/клм.
2 Ультрафиолетовую опасность эффективного светового излучения получают взвешиванием спектрального распределения энергии СД-лампы с функцией УФ-опасности

. Информация о соответствующей функции УФ-опасности приведена в IEC 62471. Это относится только к возможной опасности для людей от УФ-облучения и не оказывает такого возможного влияния на материалы, как механическое повреждение или обесцвечивание.
4 Общие требования и требования к испытаниям
4.1 СД-лампы должны быть сконструированы и изготовлены таким образом, чтобы при нормальной эксплуатации они безопасно функционировали и не создавали опасности для пользователя или окружающей среды.
Соответствие проверяют проведением всех указанных испытаний.
4.2 Для проведения испытаний двухцокольных СД-ламп их не следует вскрывать.
Если при осмотре СД-лампы и схемы цепи перед представлением СД-лампы на испытание возникли какие-либо сомнения, то по согласованию с изготовителем или ответственным поставщиком ее специально подготавливают для возможности создания имитации аварийного режима (см.
раздел 13). Вскрытие СД-лампы или осмотр внутренних частей компонентов СД-лампы необходимы для проверки на соответствие
разделам 11,
12 и
14.
4.3 Все испытания проводят на СД-лампах каждого типа.
Как правило, испытания аналогичных СД-ламп проводят на каждой мощности, выбранной из диапазона, или на представленной выборке по согласованию с изготовителем.
4.4 Если СД-лампа безопасно отказывает в результате одного из испытаний, то ее заменяют при условии отсутствия пламени, дыма или воспламеняемого газа. Дальнейшие требования по безопасному отказу приведены в
разделе 13.
4.5 Провода внутреннего монтажа должны соответствовать 5.3 IEC 60598-1.
4.6 Конструкция электрических цепей должна соответствовать IEC 61347 (пункты 15.1, 15.2), а для других деталей - IEC 60598-1 (пункты 4.11, 4.12, 4.25).
5.1 Маркировка на СД-лампе
На СД-лампы должна быть нанесена четкая и прочная маркировка, размер которой должен быть не менее 2 мм для букв/чисел и 5 мм для символов.
Маркировка должна содержать:
a) марку происхождения (торговая марка, наименование изготовителя или ответственного поставщика);
b) номинальное напряжение или диапазон напряжения (маркируют "В" или "вольты").
Примечание - Номинальное напряжение или диапазон напряжения СД-лампы может отличаться от напряжения холостого хода;
c) номинальную мощность (маркируют "Вт" или "ватты");
d) номинальную частоту или диапазон частоты (маркируют "Гц" или "кГц");
e) двухцокольные СД-лампы, пригодные для использования только с некоторым типом пускорегулирующего аппарата (ПРА) (например, магнитный ПРА), следует маркировать символом в соответствии с рисунком 1 и/или
рисунком 2;
Рисунок 1 - СД-лампа, предназначенная для работы
на высокой частоте
Рисунок 2 - СД-лампа, предназначенная для работы на частоте
50 или 60 Гц
f) двухцокольные СД-лампы следует маркировать символом в соответствии с
рисунком 3 и наносить следующую информацию: "Эта СД-лампа не пригодна для использования в светильниках для аварийного освещения, предназначенных для двухцокольных люминесцентных ламп".
Примечание - В дальнейшем могут быть разработаны дополнительные требования для использования СД-ламп для аварийного освещения;
Рисунок 3 - СД-лампа не пригодна для аварийного освещения
g) если двухцокольные СД-лампы предназначены для работы с компонентами, заменяющими стартер, их следует маркировать как справочный тип светодиодного заменяющего стартера. Светодиодный заменяющий стартер следует маркировать в соответствии с рисунком 4.
Рисунок 4 - Светодиодный заменяющий стартер
Примечание - Символ в стадии разработки по IEC 60417 - проект 14-181;
h) представление информации по проникновению пыли и воды;
Для СД-ламп, используемых в сухих условиях или в светильнике, обеспечивающем защиту, см. рисунок 5;
Рисунок 5 - СД-лампа, предназначенная для эксплуатации
в сухих условиях или в светильнике, обеспечивающем защиту
i) рабочий диапазон температуры окружающей среды СД-лампы.
5.2 Маркировка на СД-лампе, индивидуальной упаковке (или коробке) или в инструкциях
В дополнение к
5.1 следующая информация должна быть указана изготовителем на СД-лампе или индивидуальной упаковке, или на коробке, или в инструкции по эксплуатации. Пояснение
рисунков 1 и
2 должно быть приведено в инструкции по эксплуатации:
a) номинальный ток (маркируют "А" или "амперы");
b) специальные условия или ограничения, которые должны быть соблюдены при работе СД-лампы, например работа в цепях диммирования. Если СД-лампа не пригодна для диммирования, допускается использовать символ в соответствии с рисунком 6.
Рисунок 6 - Диммирование не допускается
Примечание - Символ в стадии разработки по IEC 60417 - проект 14-205.
5.3 Инструкция по эксплуатации
К двухцокольным СД-лампам должны быть приложены инструкции с описанием всех необходимых этапов для замены люминесцентной лампы СД-лампой, например замена стартера, за исключением информации по
5.2.
Все требуемые инструкции, детализированные стандартом безопасности, должны быть приведены на СД-лампе, упаковке или в инструкции изготовителя, представленной с СД-лампой. Значения символов, приведенных в
5.1 и
5.2, должны быть четко объяснены (словами) в инструкции по эксплуатации.
Инструкция должна содержать в себе следующее.
1) перечень всех деталей;
2) тип люминесцентной лампы, которая должна быть заменена СД-лампой;
3) предупреждение о том, что не требуется модификация светильника, в котором должна использоваться СД-лампа;
4) диапазон температуры окружающей среды, являющийся рабочим для СД-лампы. Если минимальная температура окружающей среды в диапазоне выше минус 20 °C или максимальная температура окружающей среды в диапазоне ниже 60 °C, то инструкция по эксплуатации СД-лампы должна содержать в себе следующую информацию:
"Эта СД-лампа не пригодна для использования в местах, в которых используется традиционная люминесцентная лампа. Диапазон температуры окружающей среды при использовании этой СД-лампы может быть ограничен. При возникновении сомнений о пригодности применения СД-лампы необходима консультация с изготовителем".
Примечание - Для люминесцентной лампы, которая может быть заменена заменяющими изделиями, настоящим стандартом установлен нормальный диапазон температуры окружающей среды от минус 20 °C до плюс 60 °C;
5) внимание: эта лампа рассчитана для общего освещения (исключая, например, взрывоопасные среды).
5.3.3 Графическая инструкция
Настоящий раздел допускается использовать взамен
5.3.4. Этапы применения изделия в светильнике приведены на рисунке 7. Если замена стартера не требуется, то этапы 4 и 5 на рисунке 7 и в
5.3.4 не применяют.
Рисунок 7 - Схематические этапы извлечения люминесцентной
лампы и вставления двухцокольной СД-лампы, предназначенной
для замены линейной люминесцентной лампы
Настоящий раздел допускается использовать взамен
5.3.3. Описание этапов соответствует графической инструкции, приведенной на
рисунке 7.
Пример варианта замены:
1 - отключить электричество;
2 и 3 - извлечь традиционную лампу;
4 - извлечь стартер;
5 - установить светодиодный заменяющий стартер в стартерный патрон;
6 - вставить СД-лампу в патрон;
7 - поворотом СД-лампы закрепить ее положение на 90°;
8 - включить электричество и проверить зажигание СД-лампы.
Соответствие 5.1 - 5.3 проверяют следующим образом.
Наличие и четкость маркировки - внешним осмотром.
Прочность маркировки, приведенной на СД-лампе, проверяют путем попытки ее удаления легким протиранием в течение 15 с куском ткани, смоченной водой, а затем, после просушки, в течение 15 с куском ткани, смоченной гексаном. Маркировка должна оставаться четкой после испытания.
Информацию по 5.2 и 5.3 проверяют внешним осмотром.
6.1 Взаимозаменяемость цоколей
Взаимозаменяемость должна обеспечиваться применением цоколей по IEC 60061-1 и калибрами по IEC 60061-3, см. таблицу 1.
Таблица 1
Калибры взаимозаменяемости и размеры цоколей СД-ламп
Цоколь СД-лампы | Лист на цоколь по IEC 60061-1 | Размер цоколей, проверяемый калибрами | Лист на калибр по IEC 60061-3 |
G5 | 7004-52 | Все размеры | 7006-46 и 7006-46A |
G13 | 7004-51 | Все размеры | 7006-44 и 7006-45 |
Соответствие проверяют применением соответствующих калибров.
Если двухцокольная СД-лампа предусмотрена для работы со светодиодным заменяющим стартером, который заменяет стартер тлеющего разряда, то этот светодиодный заменяющий стартер следует поставлять совместно с СД-лампой. Это устройство должно соответствовать IEC 60155 (раздел 1) в части проверки размеров и испытаний электрических, механических и тепловых параметров.
Масса СД-лампы с цоколями G5 не должна превышать 200 г и 500 г - СД-лампы с цоколями G13.
Соответствие проверяют взвешиванием СД-лампы.
Длина СД-лампы не должна значительно изменяться в пределах заданного диапазона температуры окружающей среды.
Соответствие проверяют испытаниями по 6.3.2 - 6.3.6.
Примечание - Для люминесцентных ламп настоящим стандартом установлены минимальные и максимальные значения температуры окружающей среды минус 20 °C и плюс 60 °C. Длина лампы является критической для механических напряжений в патроне при повышенных температурах и для осуществления контакта при пониженных температурах.
6.3.2 Размеры неработающей СД-лампы при 25 °C
Двухцокольные СД-лампы, предназначенные для использования в люминесцентных светильниках, должны удовлетворять размерам и допускам, соответствующим лампам по IEC 60081 при 25 °C. Размер СД-лампы измеряют в целях подтверждения указанного в соответствующем листе с параметрами СД-лампы IEC 60081. Измеренные размеры должны обозначаться как A25 °C, B25 °C, C25 °C и D25 °C.
Соответствие проверяют внешним осмотром.
Примечание - Обозначения A, B, C и D соответствуют листу 60081-IEC-01 IEC 60081.
6.3.3 Изменение размера A из-за самонагрева при 25 °C
СД-лампу устанавливают в помещении без сквозняков и подают номинальное питающее напряжение. После стабилизации излучения СД-лампы измеряют размер
A и обозначают
Aработающая. Разницу в длине

рассчитывают исходя из значения, измеренного в этом рабочем состоянии:
При установлении стабильности излучения температура на поверхности СД-лампы не должна превышать значения по 6.4.1.
6.3.4 Размер B при минимальной температуре окружающей среды
СД-лампу помещают в климатическую камеру с минимальной температурой окружающей среды минус 20 °C или с минимальной температурой окружающей среды (tmin). После выдержки в камере при температуре (tmin) в течение 1 ч (в стадии рассмотрения) СД-лампу вынимают из климатической камеры и немедленно измеряют ее длину. При измерении не должно быть значительного изменения температуры СД-лампы. Записывают температуру СД-лампы при измерении размера B. Для соответствия рассматривают значение при минимальной расчетной температуре диапазона и обозначают Btmin.
6.3.5 Размер A при максимальной температуре окружающей среды
СД-лампу помещают в климатическую камеру с максимальной температурой окружающей среды 60 °C или с максимальной указанной температурой окружающей среды tmax. После выдержки в камере при температуре (tmax) в течение 1 ч (в стадии рассмотрения) СД-лампу вынимают из климатической камеры и немедленно измеряют ее длину. При измерении не должно быть значительного изменения температуры СД-лампы. Записывают температуру СД-лампы при измерении длины после изъятия СД-лампы из климатической камеры. Длину A при максимальном значении диапазона температуры окружающей среды обозначают как Atmax.
Применяют следующие формулы:
Соответствие проверяют следующим образом:
- размер A1 должен быть в пределах размеров согласно листу с параметрами СД-лампы IEC 60081;
- размер B1 должен быть в пределах размеров согласно листу с параметрами СД-лампы IEC 60081.
Примечание - Приемлемое изменение длины СД-лампы основано на тепловом расширении общей конструкции светильника, используя стальную желобковую конструкцию для монтажа ламповых патронов с коэффициентом расширения 11,7·10-6/°C.
6.4.1 Требования к температуре
Температура на СД-лампе, кроме ламповых цоколей, измеренная в любом месте на СД-лампе, не должна превышать 75 °C. Требование применимо к поверхностям СД-лампы, к которым можно прикоснуться испытательным щупом.
6.4.2 Требования к мощности
Мощность, потребляемая СД-лампой, не должна превышать мощность люминесцентной лампы, которую она заменяет, как описано в IEC 60081.
СД-лампу измеряют в горизонтальном положении при температуре окружающей среды 25 °C в свободном пространстве. Информация по испытательной установке приведена в IEC 61195 (приложение B). Испытуемая СД-лампа должна быть полностью укомплектована и работать при номинальном питающем напряжении. При достижении стабильных условий измеряют максимальную температуру на поверхности СД-лампы и потребляемую мощность. Они не должны превышать значений по 6.4.1 и 6.4.2.
6.5 Безопасность СД-лампы в случае применения неправильного сочетания стартер-лампа
Испытывают следующие комплектации СД-ламп:
- люминесцентный стартер с СД-лампой;
- светодиодный заменяющий стартер с люминесцентной лампой;
- в случае двух последовательно соединенных люминесцентных ламп со стартерами и одним УУ (например, 2 x 18 Вт) одну люминесцентную лампу заменяют СД-лампой, а стартер заменяют светодиодным заменяющим стартером, соответствие подтверждают при всех возможных комбинациях. Если светодиодный заменяющий стартер имеет замкнутую цепь (например, предохранитель) или цепь холостого хода, испытание комплектации "светодиодный заменяющий стартер с люминесцентной лампой" не требуется.
Если СД-лампа маркирована диапазоном напряжения, за номинальное напряжение принимают наибольшее напряжение из маркированного диапазона, если изготовителем не указано другое напряжение, как наиболее критическое.
Соответствие:
Аналогично 13.6, повторенное ниже:
При испытаниях по 13.2 - 13.5 СД-лампа не должна создавать огня, воспламеняемых газов или дыма, а токоведущие детали не должны становиться доступными.
Для проверки воспламеняемости газов, выделяемых из деталей компонентов, проводят испытание высокочастотным искровым генератором.
Проверку возможности того, что доступные для прикосновения детали могут стать токоведущими, осуществляют испытанием по 8.2.
После испытаний по 13.2 - 13.5 СД-лампа должна удовлетворять требованиям сопротивления изоляции по 8.3.
7 Безопасность штырьков при вставлении
Соответствие проверяют следующими испытаниями:
1) испытание на электрическую прочность изоляции: при вставлении СД-лампы на ее патроне возможно напряжение 250 В. Испытание на электрическую прочность изоляции проводят путем приложения напряжения 1500 В (2U + 1000 В) между концами СД-лампы. Первоначально прикладывают не более половины напряжения между штырьками или контактами одного цоколя и штырьками или контактами другого цоколя. Затем его постепенно повышают до полного значения. В течение испытания не должно быть ни перекрытия, ни пробоя;
2) проверка сопротивления изоляции: минимальное сопротивление, измеренное при напряжении ~= 500 В постоянного тока, должно составлять 2 МОм;
3) проверка путей утечки и воздушных зазоров: воздушные зазоры - по IEC 61347-1 (таблица 9) для рабочего напряжения 250 В, включая переходные процессы сетевого напряжения.
Пути утечки должны быть не менее требуемых воздушных зазоров;
4) ток прикосновения: подают испытательное напряжение 500 В действующего значения (50 или 60 Гц). При измерении по схеме рисунка 8 ток прикосновения не должен превышать 0,7 мА пикового значения.
RS = 1500 Ом; R1 = 10000 Ом; RB = 500 Ом; CS = 0,22 мкФ;
C1 = 0,022 мкФ
МЧТ - модель человеческого тела, пояснение см. в IEC 60598-1
(приложение G); 1 - испытательное напряжение; 2 - показание
тока прикосновения;
3 -

(пиковое значение); 4 - испытательные контактные зажимы
Рисунок 8 - Конфигурация испытания для измерения тока
прикосновения
Ламповые цоколи G5 и G13 не гарантируют одновременного вставления обоих концов СД-лампы, в связи с чем при вставлении концов СД-лампы не должно быть электрического соединения между двумя концами.
Когда штырьки СД-лампы вставлены только в один СД-ламповый патрон, напряжение на невставленных штырьках не должно вызывать поражение электрическим током. Согласно IEC 60598-1 (раздел 8) достаточно основной изоляции при вставлении СД-лампы.
Не допускается доступная мера защиты, которая может случайно отключиться и отключить защиту от поражения электрическим током.
Примечание - Доступной мерой защиты может быть кнопка, замыкающая выключатель, когда СД-лампа полностью установлена.
8 Защита от случайного прикосновения к токоведущим деталям
Сопротивление и электрическая прочность изоляции должны быть достаточными между токоведущими деталями и доступными деталями СД-лампы. К цоколям применимы требования 2.4, 2.5 IEC 61195. Для других деталей СД-ламп применимы следующие требования.
8.2 Испытание для определения возможности поражения электрическим током токоведущей частью при вставлении
СД-лампы должны быть сконструированы таким образом, чтобы без дополнительного ограждения в виде светильника следующие детали не были доступными при вставлении СД-лампы в СД-ламповый патрон согласно соответствующему листу с параметрами СД-лампового патрона IEC:
- внутренние металлические детали;
- внешние металлические детали с основной изоляцией, кроме цоколей;
- металлические токоведущие детали СД-лампового цоколя;
- металлические токоведущие детали самой СД-лампы.
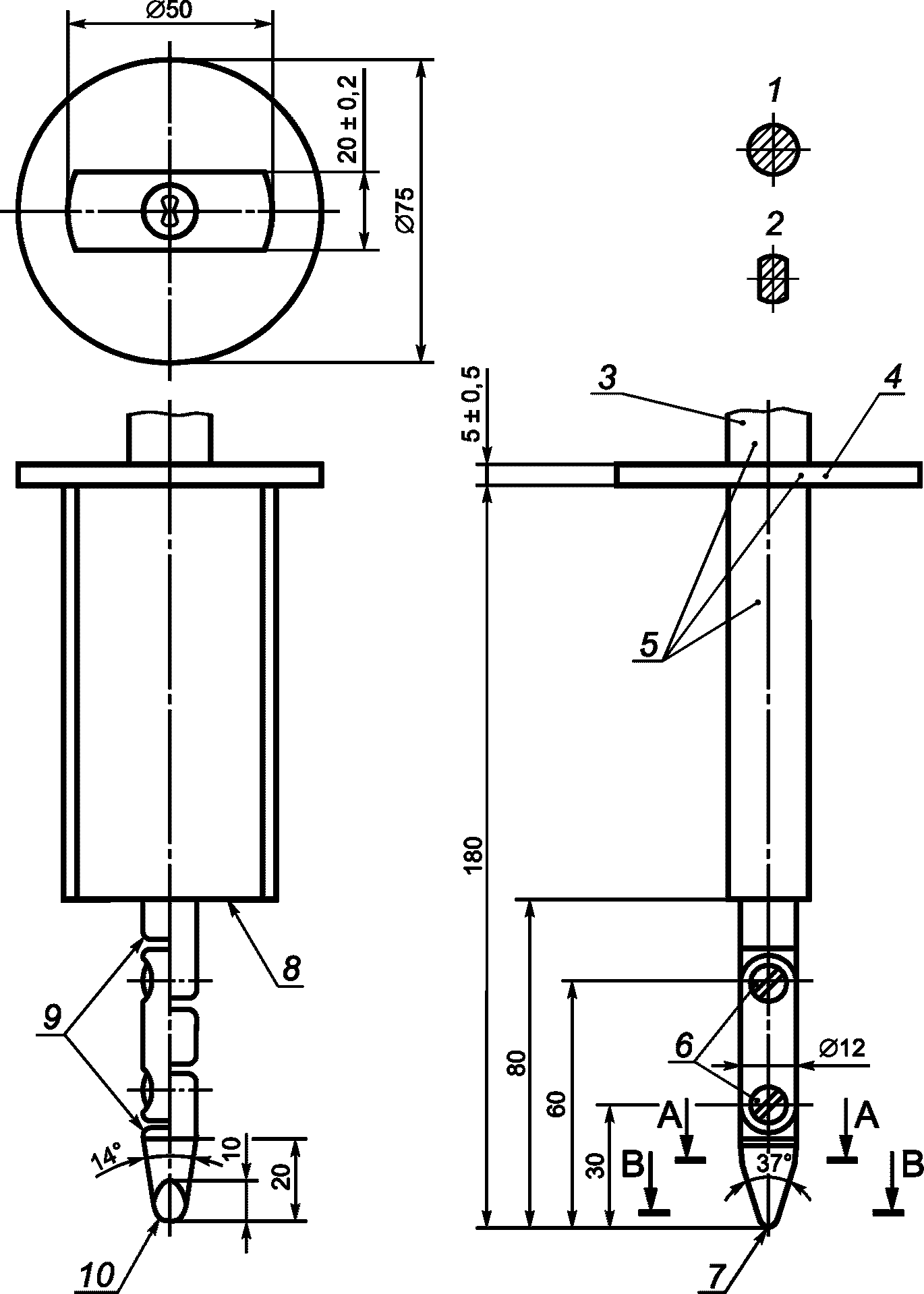
Доступность проверяют испытательным щупом в соответствии с
рисунком 9 с усилием 10 Н.
Материал: металл, если не указано иное. |
Допуски на размеры (без конкретных значений): |
на углы | на линейные размеры |
+0° | до 25 мм включительно: -0,05 мм |
-10° | выше 25 мм: +/- 0,2 мм |
Оба соединения должны допускать перемещение в одной плоскости в одном направлении на угол 90° с допуском от 0° до +10°.
1 - сечение A-A; 2 - сечение B-B; 3 - ручка; 4 - упор;
5 - изоляционный материал; 6 - соединения;
7 - R = 2 +/- 0,05 цилиндрический; 8 - стопорная
поверхность; 9 - фаска на кромках; 10 - R = 4 +/- 0,05,
сферический
Рисунок 9 - Стандартный испытательный щуп по IEC 60529
Внешние металлические детали, за исключением токоведущих металлических деталей цоколя, не должны быть или оказаться под напряжением. Для испытания любой подвижный проводящий материал должен быть расположен в наиболее неблагоприятном положении без инструмента.
Соответствие:
Для проверки возможности оказания доступных токоведущих деталей проводят испытание согласно IEC 61347-1 (приложение A). СД-лампа работает по базовой схеме, указанной в IEC 60081 (B.1.2, B.1.3, B.1.4).
8.3 Сопротивление изоляции
СД-лампа должна быть выдержана в течение 48 ч в испытательной климатической камере с относительной влажностью воздуха от 91% до 95% при температуре от 20 °C до 30 °C с допускаемым отклонением +/- 1 °C.
Сопротивление изоляции следует измерять в испытательной климатической камере через 1 мин после приложения напряжения постоянного тока ~= 500 В.
Сопротивление изоляции между токоведущими деталями и доступными деталями СД-лампы (доступные детали из изоляционного материала покрывают металлической фольгой) должно быть не менее 4 МОм.
8.4 Электрическая прочность
Непосредственно после испытания сопротивления изоляции детали по 8.2 должны выдержать в течение 1 мин испытание напряжением переменного или постоянного тока, равным пиковому значению предписанного напряжения переменного тока, следующим образом.
Используют напряжения переменного или постоянного тока, заявленного изготовителем.
Примечание - Испытание на электрическую прочность эквивалентным напряжением постоянного тока в стадии рассмотрения.
При испытании штырьки цоколя закорачивают. Доступные детали цоколя из изоляционного материала покрывают металлической фольгой. Первоначально прикладывают между контактами и металлической фольгой или доступными проводящими деталями не более половины напряжения, указанного в IEC 60598-1 [таблица 10.2, перечисление d)] для двойной или усиленной изоляции. Затем его постепенно повышают до полного значения.
В течение испытания не должно быть ни перекрытия, ни пробоя. Измерения следует проводить в испытательной климатической камере.
9 Механические требования к цоколям
Цоколи должны быть сконструированы и прикреплены к колбам таким образом, чтобы они оставались присоединенными в течение всего срока эксплуатации и по его истечении.
Соответствие проверяют следующими испытаниями.
9.2 Испытание на крутящий момент неиспользованных СД-ламп
Для неиспользованных СД-ламп соответствие проверяют приложением крутящих моментов к цоколям следующим образом:
Цоколь СД-лампы должен оставаться прочно прикрепленным к колбе, а составные части его не должны смещаться более чем на 6° при приложении крутящих моментов в соответствии с таблицей 2.
Таблица 2
Значения крутящих моментов для неиспользованных СД-ламп
Тип цоколя | Значение крутящего момента, Н·м |
G5 | 0,5 |
G13 | 1,0 |
Крутящий момент постепенно увеличивают от нуля до значения, указанного в
таблице 2.
Патрон для испытания на крутящий момент приведен в IEC 61195 (приложение A).
В случае регулируемых цоколей до приложения крутящего момента цоколь поворачивают до его крайних положений. Испытание проводят при обоих крайних положениях.
9.3 Испытание на крутящий момент после теплового воздействия
Требования этого пункта не распространяются на СД-лампы, у которых фиксация цоколя на трубке осуществляется зажимным, винтовым или подобным механическим соединением, и исключаются из этого раздела.
После теплового воздействия в течение (2000 +/- 50) ч при температуре (80 +/- 5) °C цоколь должен оставаться прочно прикрепленным к колбе, а составные его части не должны смещаться более чем на 6° при приложении крутящих моментов в соответствии с
таблицей 3. В случае другого вида фиксации цоколя к колбе, чем у люминесцентных ламп, период нагрева может быть сокращен, например, до 100 ч. Действие связующих материалов, соединяющих цоколь с колбой, должно быть таким же, как и действующего материала, используемого для люминесцентных ламп.
Примечание - Время нагрева, свойства других видов фиксации цоколя, например связующими материалами, и методика их применения в стадии рассмотрения.
Таблица 3
Значения крутящих моментов после теплового воздействия
Тип цоколя | Значение крутящего момента <*>, Н·м |
G5 | 0,3 |
G13 | 0,6 |
<*> В стадии рассмотрения. |
В случае СД-ламп с регулируемыми цоколями до приложения крутящего момента цоколь поворачивают до его крайних положений. Испытание проводят при обоих крайних положениях.
9.4 Повторение проверки по 8.2
После испытания на механическую прочность образец должен удовлетворять требованиям недоступности (см.
8.2).
10 Превышение температуры цоколя
Превышение температуры цоколя СД-лампы проверяют на испытательной установке по IEC 61195 (приложение B).
Соответствие:
Превышение температуры цоколя над температурой окружающей среды не должно быть более 95 К.
СД-лампа должна быть достаточно теплостойкой. Внешние детали из изоляционного материала, обеспечивающие защиту от поражения электрическим током, и детали из изоляционного материала, удерживающие токоведущие детали, должны быть достаточно теплостойкими.
Соответствие проверяют путем испытания деталей давлением шарика посредством устройства, показанного на рисунке 10.
1 - R = 2,5 мм, сферический; 2 - образец
Рисунок 10 - Устройство для испытания давлением шарика
Испытание проводят в испытательной климатической камере при температуре, на (25 +/- 5) °C превышающей рабочую температуру соответствующей детали согласно разделу 10, с минимумом 125 °C для деталей, удерживающих токоведущие детали, и 75 °C - для других деталей. Поверхность испытуемой детали размещают горизонтально и стальной шарик диаметром 5 мм вдавливают в эту поверхность усилием 20 Н.
До начала испытания испытательную нагрузку и поддерживающие средства помещают в камеру на время, достаточное для достижения ими стабилизированной испытательной температуры.
Испытуемую деталь помещают в камеру на 10 мин до приложения испытательной нагрузки.
Поверхность в месте давления шариком не должна прогибаться, и при необходимости ее поддерживают. По этой причине если испытание не может быть выполнено на целом образце, то соответствующая часть может быть отрезана от него.
Образец должен быть толщиной не менее 2,5 мм, но если такого образца нет, то два или несколько образцов складывают вместе.
Через 1 ч образцы отделяют друг от друга, затем погружают на 10 с в холодную воду для охлаждения приблизительно до комнатной температуры. Диаметр измеренного отпечатка не должен превышать 2 мм.
В случае искривленных поверхностей измеряют более короткую ось, если отпечаток эллиптический.
При возникновении сомнения измеряют глубину отпечатка и подсчитывают диаметр по формуле:
где p - глубина отпечатка.
На деталях из керамического материала испытание не проводят.
12 Стойкость к огню и воспламенению
Детали из изоляционного материала, удерживающие токоведущие детали, и внешние детали из изоляционного материала, обеспечивающие защиту от поражения электрическим током, подвергают испытанию раскаленной проволокой в соответствии с IEC 60695-2-10 и IEC 60695-2-11 со следующими уточнениями:
- испытуемым образцом является укомплектованная СД-лампа. Если для проведения испытания необходимо убрать детали СД-лампы, то следует обеспечить, чтобы условия испытания не существенно отличались от условий нормальной эксплуатации;
- испытуемый образец помещают на каретку и вдавливают в него конец раскаленной проволоки усилием 1 Н предпочтительно на расстоянии 15 мм или более от верхнего края в центр испытуемой поверхности. Проникновение раскаленной проволоки в образец механически ограничивают до 7 мм.
При невозможности проведения испытания, приведенного выше, из-за слишком малого размера образца это испытание проводят на отдельном образце из того же материала квадратной формы со стороной 30 мм и толщиной, равной или менее толщины образца;
- температура конца раскаленной проволоки должна быть 650 °C. Через 30 с конец раскаленной проволоки убирают от образца.
Температуру раскаленной проволоки и ток нагрева поддерживают постоянными за 1 мин до начала испытания. Необходимо обеспечить, чтобы в этот период тепловое излучение не влияло на образец. Температуру конца раскаленной проволоки измеряют термопарой с экранированной мягкой проволокой, сконструированной и откалиброванной в соответствии с IEC 60695-2-10;
- любое пламя или тление образца должно гаснуть в течение 30 с после удаления раскаленной проволоки, а горящие капли не должны зажигать папиросную бумагу, расстеленную горизонтально на расстоянии (200 +/- 5) мм под образцом. Требования к папиросной бумаге приведены в 4.187 ISO 4046-4:2002.
На деталях из керамического материала испытание не проводят.
13 Условия неисправностей
СД-лампы, диммируемые и недиммируемые, не должны нарушать безопасность во время работы в аварийном режиме, который возможен при нормальной эксплуатации. Каждое из условий аварийного режима применяют поочередно, а также любое другое условие, которое может логически вытекать при этом.
13.2 Испытание электрических параметров при экстремальных условиях
| | ИС МЕГАНОРМ: примечание. Текст дан в соответствии с официальным текстом документа. | |
Если СД-лампы маркированы диапазоном напряжения, то за напряжение, при котором их испытывают, принимают максимальное напряжение из маркированного диапазона, если изготовитель не указывает другое напряжение, как наиболее критическое. СД-лампы включают при температуре окружающей среды (определенной в IEC 62504 и по условиям H.1 IEC 61347-1:-) и регулируют на наиболее критические условия электрических параметров, указанные изготовителем, или путем увеличения мощности до 150% расчетной мощности. Испытание продолжают до тепловой стабилизации СД-лампы. Стабильное условие достигается, когда температура на цоколе СД-лампы не изменяется более чем на 1 К за 1 ч (испытание по IEC 60360). СД-лампа должна выдерживать экстремальные условия электрических параметров в течение не менее 15 мин после достижения стабилизации.
Испытание СД-лампы считают удовлетворительным, если она в течение 15 мин выдержала экстремальные условия электрических параметров или вышла из строя в безопасном состоянии.
Если в СД-лампе содержится защитное автоматическое устройство или цепь, которые ограничивают мощность, то ее подвергают работе в течение 15 мин при этих предельных условиях. Если в этот период устройство или цепь эффективно ограничивают мощность, то СД-лампу считают прошедшей испытание при подтверждении соответствия (см.
раздел 4 и
пункт 13.6).
13.3 Короткое замыкание через конденсаторы
Аварийному режиму подвергают только один компонент по времени.
13.4 Аварийный режим через электронные компоненты
Следует разомкнуть или соединить точки в цепи, когда диаграмма показывает, что такой аварийный режим может нарушить безопасность.
Аварийному режиму подвергают только один компонент по времени.
При испытаниях по
13.2 -
13.5 СД-лампа не должна создавать огня, воспламеняемых газов или дыма, а токоведущие детали не должны становиться доступными.
Для проверки возможности выделения воспламеняемых газов из деталей компонентов проводят испытание высокочастотным искровым генератором.
Проверку возможности того, что доступные для прикосновения детали могут стать токоведущими, проводят испытанием по 8.2.
После испытания по 13.2 - 13.5 СД-лампа должна удовлетворять требованиям сопротивления изоляции по 8.3.
Во избежание перегрева ПРА в светильнике при любом из вышеупомянутых условий аварийного режима проверяют полное сопротивление СД-лампы путем измерения напряжения на СД-лампе и тока. Полное сопротивление СД-лампы при стабильных условиях не должно быть менее значений по таблице 4 для соответствующих параметров СД-лампы.
Таблица 4
Минимальное полное сопротивление СД-лампы
Тип цоколя | Длина СД-лампы, мм | Полное сопротивление, Ом |
G13 | 450 | 25,0 |
G13 | 550 | 25,0 |
G13 | 600 | 50,0 |
G13 | 900 | 40,0 |
G13 | 970 | 50,0 |
G13 | 1 050 | 20,0 |
G13 | 1 150 | 20,0 |
G13 | 1 200 | 40,0 |
G13 | 1 500 | 25,0 |
G13 | 1 800 | 25,0 |
G13 | 2 400 | 25,0 |
G5 | 150 | 140,0 |
G5 | 225 | 140,0 |
G5 | 300 | 140,0 |
G5 | 525 | 100,0 |
G5 | 550 | 60,0 |
G5 | 850 | 60,0 |
G5 | 1 150 | 60,0 |
G5 | 1 450 | 60,0 |
Необходимо предотвращать перегрузку из-за выпрямления питающего тока ПРА в светильнике. При любом из вышеупомянутых аварийных режимов пиковое значение положительной полуволны питающего тока измеряют и сравнивают с пиком отрицательной полуволны. Разница между двумя значениями при стабильных условиях должна быть не более 30% максимального значения. Однако считают, что соответствие соблюдается, если при единичном аварийном режиме устойчивое состояние действующего значения тока СД-лампы менее действующего значения тока соответствующей люминесцентной лампы в нормальных условиях.
Кроме аварийного режима по
13.2 -
13.5 выполняют аварийные режимы по 14.2 и 14.4 IEC 61347-1 и дополнительные испытания по 13.7.
13.7 Безопасность СД-ламп с различными типами устройств управления
Есть гарантия, что СД-лампы с цоколями G5 и G13 могут работать безопасно в светильнике, рассчитанном для традиционной люминесцентной лампы с теми же размерами, с любым типом УУ.
Должны быть проведены следующие испытания:
- СД-лампу включают в цепь с магнитным ПРА, рассчитанным на традиционную люминесцентную лампу с теми же размерами. ПРА должен удовлетворять IEC 61347-2-8 и IEC 60921 (раздел 8) и быть пригодным для соответствующей люминесцентной лампы. ПРА должен быть рассчитан на питающее напряжение, маркированное на СД-лампе;
- СД-лампу включают в цепь в соответствии с IEC 60081 (рисунок А.5). Питающим напряжением должно быть номинальное напряжение, а резистором - ВЧ ДОИ или измерительный ПРА по листу с параметрами СД-лампы. Для люминесцентных ламп с базовым условием, установленным при 50 или 60 Гц, а не с ВЧ измерительным ПРА, значение резистора ДОИ рассчитывают по формуле

. Испытательное напряжение рассчитывают как двойное заданное напряжение на СД-лампе при 50 Гц.
Свободные штырьки каждого цоколя (если имеются) соединяют или оставляют свободными, выбирая наиболее неблагоприятное условие.
Если СД-лампа предназначена для замены ряда люминесцентных ламп, то для испытания применяют максимальную расчетную мощность люминесцентной лампы и максимальное номинальное напряжение.
13.8 Соответствие при испытании с различными типами устройств управления
При испытаниях по
13.7 СД-лампа не должна создавать огня, воспламеняемых газов или дыма, а токоведущие детали не должны становиться доступными.
Для проверки возможности выделения воспламеняемых газов из деталей компонентов проводят испытание высокочастотным искровым генератором.
Проверку возможности того, что доступные для прикосновения детали могут стать токоведущими, проводят испытанием по 8.2.
После испытания по 13.8 СД-лампа должна удовлетворять требованиям сопротивления изоляции по 8.3.
Низкое полное сопротивление между штырьками одного цоколя может привести к перегреву трансформатора для подогрева катода согласно IEC 60081 (рисунок A.2). Во избежание этого эффекта ток между штырьками не должен быть более 0,51 А при приложении к штырькам цоколя напряжения 3,6 В. Измерение тока проводят через 3 - 10 с после приложения напряжения.
13.9 Безопасность СД-лампы в случае замкнутых цепей устройств управления светильника
СД трубчатые лампы при использовании в соответствии с IEC 60081 (рисунок A.1) испытывают при напряжении 250 В с закороченными ПРА и стартером. Затем проводят испытания по
разделу 8. Если СД-лампа отказывает вследствие короткого замыкания УУ, то она должна удовлетворять требованиям
13.8.
14 Пути утечки и воздушные зазоры
Применимы требования IEC 61347-1 совместно со следующими дополнительными требованиями:
- минимальный путь утечки между контактными штырьками или контактами и металлическим корпусом цоколя - в соответствии с IEC 60061-4 (лист 7007-6);
- для других деталей СД-лампы применимы требования путей утечек и воздушных зазоров по IEC 61347-1. Для доступных токоведущих деталей (кроме цоколя) применимы требования IEC 60598-1 для двойной или усиленной изоляции.
Соответствие проверяют измерением в наиболее неблагоприятном положении.
15 Испытания СД-ламп, имеющих защиту от пыли и влаги
Если СД-лампа не имеет маркировки по
5.1,
рисунок 5 (для использования в сухих условиях или в светильнике, обеспечивающем защиту), то проводят испытания по 15.2 и
15.3.
15.2 Испытание на старение
Испытание на старение проводят в соответствии с IEC 60598-1 (12.3) в течение 240 ч. СД-лампа должна работать при температуре окружающей среды на 10 К выше максимального значения, указанного в
5.3.2.
Соответствие:
После испытания по 15.2 следует провести внешний осмотр СД-лампы. Она не должна становиться небезопасной согласно 4.4, а маркировка должна быть четкой.
15.3 Испытание на степень защиты (Код IP)
Испытание на степень защиты проводят по IEC 60598-1 для IP X5 и IP 6X на той же СД-лампе, которую испытывали на старение. При этом испытании патроны прикрепляют к концам СД-лампы и обеспечивают IP 65 в зоне контактов.
Соответствие:
См. 9.2 IEC 60598-1.
16 Фотобиологическая опасность
Ультрафиолетовая опасность эффективного светового излучения СД-лампы не должна превышать 2 мВт/клм.
Соответствие проверяют измерением спектрального распределения энергии и последующим подсчетом ультрафиолетовой опасности эффективного светового излучения.
УФ-излучение СД-лампы не превышает максимальную ультрафиолетовую опасность эффективного светового излучения. Измерение УФ-излучения СД-ламп не требуется.
16.2 Опасность синего света
Опасность синего света оценивают по IEC/TR 62778, который считают нормативным при испытании СД-ламп по настоящему стандарту. СД-лампы классифицируют по неограниченным группам риска 0 или 1. Для СД-ламп, являющихся малыми источниками света согласно IEC/TR 62778, требование допускается выполнять, если фактическое измерение энергетической яркости показывает, что предел 10 000 (Вт/м2ср) не превышается.
Примечание - В IEC/TR 62778 (пункт C.2) приведен метод классификации СД-ламп при отсутствии полных спектральных данных.
16.3 Инфракрасное излучение
Предполагают, что СД-лампы не достигнут такого уровня инфракрасного излучения, при котором требуется маркировка или другие меры безопасности. Для таких СД-ламп проводить измерение не требуется.
(справочное)
ИСПЫТАНИЕ СООТВЕТСТВИЯ ПРИ ИЗГОТОВЛЕНИИ
А.1 Фон и рекомендуемая методика
Испытания по настоящему приложению следует выполнять изготовителю на каждой СД-лампе после изготовления, и они предназначены для выявления неприемлемых изменений в материале и изготовлении, касающихся безопасности. Эти испытания не предполагают нарушение свойств и надежности СД-ламп и могут изменяться в стандарте при некоторых испытаниях типа путем применения более низких напряжений.
Для подтверждения того, что СД-лампа удовлетворяет образцу, одобренному для испытания типа, допускается проводить дополнительные испытания. Эти испытания должен определить изготовитель.
В пределах руководства по качеству изготовитель может изменять методику испытания и ее стоимость на более приспособленную для организации производства и может проводить некоторые испытания на соответствующей стадии изготовления для подтверждения того, что, по крайней мере, обеспечивается такая же степень безопасности, что и указанная в настоящем приложении.
А.2 Испытание
Испытаниям электрических параметров, указанных в таблице А.1, подлежат 100% изготовленных изделий. Отказавшие изделия должны быть утилизированы или переработаны.
Таблица А.1
Минимальные значения при испытании электрических параметров
Испытания | Подробность испытаний |
Работоспособность | Проверяют работу СД-лампы при нормальном рабочем напряжении |
Электрическая прочность | 1) Проверяют между штырьками и цоколем СД-лампы: - максимальный ток разрыва 5 мА; - измеряют при приложении минимального напряжения 1,5 кВ переменного тока или 1,5  кВ постоянного тока в течение не менее 1 с 2) Проверяют между штырьками СД-лампы и другими токопроводящими деталями СД-лампы: - максимальный ток разрыва 5 мА <*>; - измерение при приложении минимального напряжения 3 кВ переменного тока или 3  кВ постоянного тока в течение не менее 1 с |
или сопротивление изоляции | или 1) Проверяют между штырьками и цоколем СД-лампы: - минимальное сопротивление изоляции 2 МОм; - измерение при приложении напряжения 500 В постоянного тока в течение 1 с 2) Проверяют между штырьками СД-лампы и другими токопроводящими деталями СД-лампы: - минимальное сопротивление изоляции 4 МОм; - измерение при приложении напряжения 500 В постоянного тока в течение 1 с |
<*> Значение 5 мА предлагается, но может быть изменено изготовителем. |
Внешним осмотром проверяют следующее:
a) все этикетки надежно находятся на месте и четко отпечатаны;
b) инструкции изготовителя упакованы с СД-лампой, если необходимо.
(справочное)
СВЕДЕНИЯ О СООТВЕТСТВИИ ССЫЛОЧНЫХ МЕЖДУНАРОДНЫХ СТАНДАРТОВ
МЕЖГОСУДАРСТВЕННЫМ СТАНДАРТАМ
Таблица ДА.1
Обозначение международного стандарта | Степень соответствия | Обозначение и наименование соответствующего межгосударственного стандарта |
IEC 60061-1 | IDT | ГОСТ IEC 60061-1-2014 "Цоколи и патроны ламповые с калибрами для проверки взаимозаменяемости. Часть 1. Цоколи" |
IEC 60061-3 | - | |
IEC 60061-4 | IDT | ГОСТ IEC 60061-4-2014 "Цоколи и патроны ламповые с калибрами для проверки взаимозаменяемости. Часть 4. Руководство и общие сведения" |
IEC 60081 | - | |
IEC 60155 | IDT | ГОСТ IEC 60155-2012 "Стартеры тлеющего разряда для люминесцентных ламп" |
IEC 60360 | IDT | ГОСТ IEC 60360-2012 "Стандартный метод измерения превышения температуры на цоколе лампы" |
IEC 60417 | - | |
IEC 60598-1 | IDT | ГОСТ IEC 60598-1-2013 "Светильники. Часть 1. Требования и испытания" |
IEC 60695-2-10:2013 | - | |
IEC 60695-2-11:2000 | | ГОСТ IEC 60695-2-11-2013 "Испытания на пожароопасность. Часть 2-11. Основные методы испытаний раскаленной проволокой. Испытание раскаленной проволокой на воспламеняемость конечной продукции" |
IEC 60921 | - | |
|
|
IEC 61195 | IDT | ГОСТ IEC 61195-2012 "Лампы люминесцентные двухцокольные. Требования безопасности" |
IEC 61347-1 | - | |
IEC 61347-2-8 | IDT | ГОСТ IEC 61347-2-8-2017 "Устройства управления СД-лампами. Часть 2-8. Частные требования к пускорегулирующим аппаратам для люминесцентных ламп" |
IEC 62031 | IDT | ГОСТ IEC 62031-2011 "Модули для светоизлучающих диодов для общего освещения. Требования безопасности" |
IEC 62504 | - | |
IEC/TR 62778 | - | |
ISO 4046-4:2002 | - | |
<*> Соответствующий межгосударственный стандарт отсутствует. До его принятия рекомендуется использовать перевод на русский язык данного международного стандарта. Примечание - В настоящей таблице использовано следующее условное обозначение степени соответствия стандартов: - IDT - идентичные стандарты |
--------------------------------
<1> В Российской Федерации действует
ГОСТ 17100-79 "Цоколи для источников света. Технические условия".
<2> В Российской Федерации действует
ГОСТ Р МЭК 60081-99 "Лампы люминесцентные двухцокольные. Эксплуатационные требования".
<3> В Российской Федерации действует
ГОСТ Р МЭК 60695-2-10-2011 "Испытания на пожароопасность. Часть 2-10. Основные методы испытаний раскаленной проволокой. Установка испытания раскаленной проволокой и общие процедуры испытаний".
<4> В Российской Федерации действует ГОСТ Р МЭК 60921-2011 "Устройства управления лампами. Аппараты пускорегулирующие для люминесцентных ламп. Требования к рабочим характеристикам".
<5> В Российской Федерации действует ГОСТ Р МЭК 61347-1-2011 "Устройства управления лампами. Часть 1. Общие требования и требования безопасности".
<6> В Российской Федерации действует
ГОСТ Р 54814-2011/IEC/TS 62504:2011 "Светодиоды и светодиодные модули для общего освещения и связанное с ними оборудование. Термины и определения".
<7> В Российской Федерации действует
ГОСТ Р 53636-2009 "Целлюлоза, бумага, картон. Термины и определения".
IEC 60529:1989 | Degrees of protection provided by enclosures (IP Code) [Степени защиты, обеспечиваемые оболочками (код IP)] |
IEC 60529:1989 | AMD 1 1999 (Изменение 1 1999) |
IEC 60529:1989 | AMD 2 2013 (Изменение 2 2013) |
IEC 62471 | Photobiological safety of lamps and lamp systems (Фотобиологическая безопасность СД-ламп и СД-ламповых систем) |
Примечание - Настоящее приложение содержит ссылки на стандарты, имеющие информационное или справочное предназначение и которые в настоящем стандарте не приводились. На дату издания приведены действующие редакции, но в дальнейшем необходимо применять более поздние издания.
УДК 621.32:006.354 | | IDT |
Ключевые слова: СД-лампы светодиодные двухцокольные, лампы люминесцентные, требования безопасности |