Главная // Актуальные документы // ГОСТ (Государственный стандарт)СПРАВКА
Источник публикации
М.: Стандартинформ, 2017
Примечание к документу
Документ
введен в действие с 1 апреля 2018 года.
Название документа
"ГОСТ 9622-2016. Межгосударственный стандарт. Древесина слоистая клееная. Методы определения предела прочности и модуля упругости при растяжении"
(введен в действие Приказом Росстандарта от 28.07.2017 N 762-ст)
"ГОСТ 9622-2016. Межгосударственный стандарт. Древесина слоистая клееная. Методы определения предела прочности и модуля упругости при растяжении"
(введен в действие Приказом Росстандарта от 28.07.2017 N 762-ст)
Приказом Федерального
агентства по техническому
регулированию и метрологии
от 28 июля 2017 г. N 762-ст
МЕЖГОСУДАРСТВЕННЫЙ СТАНДАРТ
ДРЕВЕСИНА СЛОИСТАЯ КЛЕЕНАЯ
МЕТОДЫ ОПРЕДЕЛЕНИЯ ПРЕДЕЛА ПРОЧНОСТИ
И МОДУЛЯ УПРУГОСТИ ПРИ РАСТЯЖЕНИИ
Glued laminated wood. Methods for determination
of ultimate strength and modulus of elasticity in tension
(EN 789:2004, NEQ)
ГОСТ 9622-2016
Дата введения
1 апреля 2018 года
Цели, основные принципы и основной порядок проведения работ по межгосударственной стандартизации установлены в
ГОСТ 1.0-2015 "Межгосударственная система стандартизации. Основные положения" и
ГОСТ 1.2-2015 "Межгосударственная система стандартизации. Стандарты межгосударственные, правила и рекомендации по межгосударственной стандартизации. Правила разработки, принятия, обновления и отмены"
1 РАЗРАБОТАН Межгосударственным техническим комитетом по стандартизации МТК 121 "Плиты древесные"
2 ВНЕСЕН Межгосударственным техническим комитетом по стандартизации МТК 121 "Плиты древесные"
3 ПРИНЯТ Межгосударственным советом по стандартизации, метрологии и сертификации (протокол от 19 декабря 2016 г. N 94-П)
За принятие проголосовали:
Краткое наименование страны по МК (ИСО 3166) 004-97 | Код страны по МК (ИСО 3166) 004-97 | Сокращенное наименование национального органа по стандартизации |
Армения | AM | Минэкономики Республики Армения |
Беларусь | BY | Госстандарт Республики Беларусь |
Грузия | GE | Грузстандарт |
Киргизия | KG | Кыргызстандарт |
Россия | RU | Росстандарт |
Узбекистан | UZ | Узстандарт |
4 Приказом Федерального агентства по техническому регулированию и метрологии от 28 июля 2017 г. N 762-ст межгосударственный стандарт ГОСТ 9622-2016 введен в действие в качестве национального стандарта Российской Федерации с 1 апреля 2018 г.
5 Настоящий стандарт разработан с учетом основных нормативных положений европейского регионального стандарта EN 789:2004 "Конструкции деревянные. Методы испытаний. Определение механических свойств деревянных панелей" ("Timber structures - Test methods - Determination of mechanical properties of wood based panels", NEQ).
Информация об изменениях к настоящему стандарту публикуется в ежегодном информационном указателе "Национальные стандарты", а текст изменений и поправок - в ежемесячном информационном указателе "Национальные стандарты". В случае пересмотра (замены) или отмены настоящего стандарта соответствующее уведомление будет опубликовано в ежемесячном информационном указателе "Национальные стандарты". Соответствующая информация, уведомление и тексты размещаются также в информационной системе общего пользования - на официальном сайте Федерального агентства по техническому регулированию и метрологии в сети Интернет (www.gost.ru)
Настоящий стандарт распространяется на фанеру, фанерные и столярные плиты, древесные слоистые пластики и устанавливает методы определения предела прочности и модуля упругости при растяжении.
Метод определения предела прочности основан на определении максимальной нагрузки, разрушающей образец при растяжении.
Метод определения модуля упругости основан на определении абсолютной величины деформации образца в зависимости от разности между верхним и нижним пределами нагружения.
В настоящем стандарте использованы нормативные ссылки на следующие межгосударственные стандарты:
ГОСТ 166-89 (ИСО 3599-76) Штангенциркули. Технические условия
ГОСТ 9620-94 Древесина слоистая клееная. Отбор образцов и общие требования при испытании
ГОСТ 9621-72 Древесина слоистая клееная. Методы определения физических свойств
ГОСТ 11358-89 Толщиномеры и стенкомеры индикаторные с ценой деления 0,01 и 0,1 мм. Технические условия
ГОСТ 28840-90 Машины для испытания материалов на растяжение, сжатие и изгиб. Общие технические требования
Примечание - При пользовании настоящим стандартом целесообразно проверить действие ссылочных стандартов в информационной системе общего пользования - на официальном сайте Федерального агентства по техническому регулированию и метрологии в сети Интернет или по ежегодному информационному указателю "Национальные стандарты", который опубликован по состоянию на 1 января текущего года, и по выпускам ежемесячного информационного указателя "Национальные стандарты" за текущий год. Если ссылочный стандарт заменен (изменен), то при пользовании настоящим стандартом следует руководствоваться заменяющим (измененным) стандартом. Если ссылочный стандарт отменен без замены, то положение, в котором дана ссылка на него, применяется в части, не затрагивающей эту ссылку.
3. Метод определения предела прочности при растяжении
3.1 Метод отбора образцов
3.1.1 Отбор и подготовку образцов к испытаниям проводят по
ГОСТ 9620.
3.1.2 Форма и размеры образцов должны соответствовать рисунку 1 и
таблице 1.
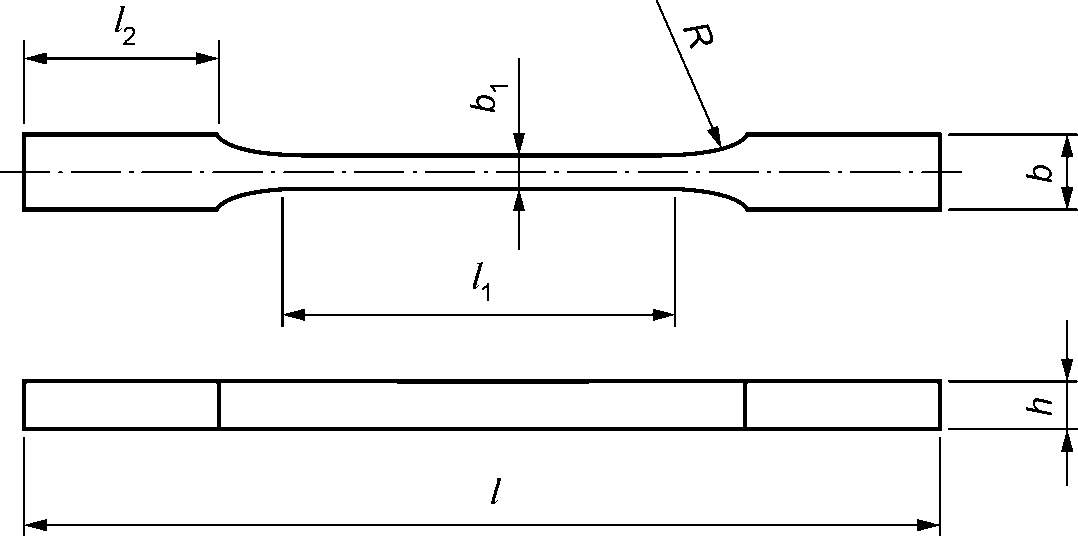
l - длина образца; l1 - длина рабочей части образца;
l2 - длина захватов; b - ширина образца;
b1 - ширина рабочей части образца;
h - толщина образца; R - радиус закругления
Рисунок 1 - Форма и размеры образцов
В миллиметрах
Тип образца | l | l1 | b | b1 | R | h |
I | 225 | 60 | 15 | 4 | 60 | Соответствует толщине продукции |
II | 400 | 70 | 50 | 20 | 350 |
III | 1250 | 250 | 250 | 150 | 650 |
Тип образца для испытаний выбирают в зависимости от толщины листов и области применения данной продукции. Для продукции, применяемой в конструкциях, несущих нагрузку, рекомендуется образец типа III.
Предельные отклонения от номинальных размеров для образцов типов I и II должны соответствовать требованиям
ГОСТ 9620.
Для образца типа III предельные отклонения ширины образца и рабочей части, длины образца, радиуса закругления составляет +/- 5 мм, длины рабочей части образца - +/- 25 мм.
Длина образца типа III может изменяться в зависимости от применяемого оборудования для испытания.
Уменьшение ширины образца до ширины рабочей части должно быть плавным и симметричным относительно продольной оси образца.
Образцы изготовляют с направлением волокон вдоль наружного слоя продукции, поперек волокон или под углом 45° к продольной оси образца в зависимости от требований стандартов на продукцию.
3.2 Испытательное оборудование и инструменты:
- испытательная машина по
ГОСТ 28840 с клиновидными захватами с погрешностью измерения нагрузки 1%;
- штангенциркуль по
ГОСТ 166 с погрешностью измерения не более 0,1 мм;
- микрометр по
ГОСТ 6507 или толщиномер по
ГОСТ 11358 с погрешностью измерения не более 0,01 мм.
Допускается применять другую аппаратуру и инструменты, обеспечивающие требуемую точность измерения.
3.3 Подготовка к испытанию
3.3.1 Измеряют поперечное сечение рабочей части образца в середине ее длины в соответствии с требованиями
ГОСТ 9620.
3.3.2 Образцы устанавливают в захваты машины так, чтобы его продольная ось совпадала с осями головок машины, а клиновидные захваты захватывали образец вплотную до закругленной части.
Образцы толщиной 15 мм и более устанавливают между клиновидными захватами так, чтобы сжимающие усилия приходились на кромки образца. Образцы толщиной менее 15 мм устанавливают так, чтобы сжимающие усилия были направлены перпендикулярно к слоям образца.
3.3.3 Перед испытанием определяют влажность листа, из которого вырезают образцы для испытания по
ГОСТ 9621. Влажность образцов должна соответствовать нормализованной или установленной в технической документации на конкретную продукцию.
3.4 Проведение испытания
3.4.1 Образец нагружают равномерно с постоянной скоростью нагружения или постоянной скоростью перемещения нагружающей головки. Скорость должна быть такой, чтобы образец типов I и II разрушился через (60 +/- 30) с после начала нагружения.
Для образца типа III максимальная нагрузка должна достигаться в течение (300 +/- 120) с.
Максимальную нагрузку измеряют с погрешностью не более 1%.
Образцы, разрушение которых произошло вне рабочей части, в расчет не принимают, и они должны быть заменены.
3.5 Обработка результатов
3.5.1 Предел прочности при растяжении

, МПа, для каждого образца вычисляют по формуле

(1)
где Fmax - максимальная (разрушающая) нагрузка, Н;
b1 - ширина рабочей части образца, мм;
h - толщина рабочей части образца, мм.
Результаты округляют:
- до 0,5 МПа - при испытании образцов всех толщин вдоль волокон, а также при испытании образцов толщиной 7 мм и более поперек волокон и под углом 45°;
- до 0,1 МПа - при испытании образцов толщиной менее 7 мм поперек волокон и под углом 45°.
За результат испытания каждого листа фанеры или столярной плиты принимают среднеарифметическое значение показателей всех образцов, вырезанных из этого листа или плиты.
За результат испытаний фанерной плиты и древесного слоистого пластика принимают показатель, полученный при испытании каждого образца.
3.5.2 Статистическая обработка результатов испытаний и отчет об испытаниях - по
ГОСТ 9620.
3.5.3 Результаты измерений и расчетов заносят в протокол испытаний (см.
приложение А).
4. Метод определения модуля упругости при растяжении
4.1 Метод отбора образцов - по
3.1.
4.2 Испытательное оборудование и инструменты - по
3.2 и тензометр с погрешностью измерения 0,001 мм.
4.3 Подготовка к испытанию - по
3.3.
На противоположных боковых сторонах образца в его рабочей части устанавливают два тензометра. Подвижные призмы тензометра должны находиться в одной плоскости.
4.4 Проведение испытания
4.4.1 Испытания образцов проводят в соответствии с рисунком 2.
Рисунок 2 - График нагрузка - деформация
в пределах области упругой деформации
4.4.2 Нагрузка увеличивается с одинаковой скоростью во время всего испытания.
4.4.3 Значение деформации по тензометру измеряют при достижении усилия F1 = 10% и F2 = 40% от максимальной (разрушающей) нагрузки Fmax.
Деформацию следует измерять с точностью до 0,005 мм для образца типа III и 0,001 мм - для образцов типов I и II.
Если деформацию измеряют при постепенном увеличении усилия, необходимо делать минимально 6 пар измерений.
4.5 Обработка результатов
4.5.1 Модуль упругости при растяжении E, МПа, вычисляют по формуле

(2)
где A - база тензометра, мм;
F2 -
F1 - диапазон измерения усилия на графике
(рисунок 2),
F1 по значению равен 10% и
F2 по значению равен 40% максимальной (разрушающей) нагрузки;
u2 -
u1 - увеличение деформации, соответствующее
F2 -
F1 (рисунок 2).
Результат округляют до целого числа.
4.5.2 За результат испытаний каждого листа фанеры или столярной плиты принимают среднеарифметическое значение показателей всех образцов, вырезанных из этого листа или плиты.
За результат испытаний фанерной плиты и древесного слоистого пластика принимают показатель, полученный при испытании каждого образца.
4.5.3 Статистическую обработку результатов испытания проводят по
ГОСТ 9620.
4.5.4 Результаты измерений и расчетов заносят в протокол испытаний (см. приложение А).
(рекомендуемое)
определения предела прочности и модуля упругости
при растяжении
Вид продукции _________________________________________________________
Скорость нагружения, Н/мин ____________________________________________
Продолжительность нагружения, мин _____________________________________
Скорость перемещения нагружающей головки, мм/мин ______________________
Тензометр N ____________________ база А ____________________________ мм
Тензометр N ____________________ база А ____________________________ мм
Тип образца | Размеры поперечного сечения, мм | Радиус закругления R, мм | Ширина рабочей части образца b1, мм | Длина рабочей части образца l1, мм | Максимальная (разрушающая) нагрузка Fmax, Н | Нагрузка, Н | Деформация по тензометру, мм | Предел прочности при растяжении  , МПа | Модуль упругости при растяжении E, МПа | Влажность W, % |
длина l | ширина b | толщина h | F1 = 10% от Fmax | F2 = 40% от Fmax | u1 при F1 | u2 при F2 |
| | | | | | | | | | | | | | |
Подпись "___" __________ 20___ г. Расшифровка подписи