Главная // Актуальные документы // ГОСТ (Государственный стандарт)СПРАВКА
Источник публикации
В данном виде документ опубликован не был.
Первоначальный текст документа опубликован в издании
М.: Стандартинформ, 2008.
Информацию о публикации документов, создающих данную редакцию, см. в справке к этим документам.
Примечание к документу
Отдельные положения данного документа включены в
Перечень стандартов, в результате применения которых на добровольной основе обеспечивается соблюдение требований технического
регламента Таможенного союза "О безопасности машин и оборудования" (ТР ТС 010/2011) и в
Перечень стандартов, содержащих правила и методы исследований (испытаний) и измерений, в том числе правила отбора образцов, необходимые для применения и исполнения требований технического
регламента Таможенного союза "О безопасности машин и оборудования" (ТР ТС 010/2011) и осуществления оценки (подтверждения) соответствия продукции (
Решение комиссии Таможенного союза от 18.10.2011 N 823).
Отдельные положения данного документа включены в
Перечень национальных стандартов, в результате применения которых на добровольной основе обеспечивается соблюдение требований технического
регламента "О безопасности машин и оборудования", утв. Постановлением Правительства РФ от 15.09.2009 N 753 (
Приказ Росстандарта от 20.08.2010 N 3108).
Документ включен в
Перечень национальных стандартов, содержащих правила и методы исследований (испытаний) и измерений, в том числе правила отбора образцов, необходимые для применения и исполнения технического
регламента о безопасности машин и оборудования, а также для осуществления оценки соответствия (
Распоряжение Правительства РФ от 05.08.2010 N 1328-р).
С 01.07.2003 до вступления в силу технических регламентов акты федеральных органов исполнительной власти в сфере технического регулирования носят рекомендательный характер и подлежат обязательному исполнению только в части, соответствующей целям, указанным в
п. 1 ст. 46 Федерального закона от 27.12.2002 N 184-ФЗ.
Взамен ГОСТ 27834-88.
Название документа
"ГОСТ 27834-95. Межгосударственный стандарт. Замки приварные для бурильных труб. Технические условия"
(введен в действие Постановлением Госстандарта России от 08.04.1996 N 262)
(ред. от 03.12.2019)
"ГОСТ 27834-95. Межгосударственный стандарт. Замки приварные для бурильных труб. Технические условия"
(введен в действие Постановлением Госстандарта России от 08.04.1996 N 262)
(ред. от 03.12.2019)
Введен в действие
Российской Федерации
по стандартизации, метрологии
и сертификации
от 8 апреля 1996 г. N 262
МЕЖГОСУДАРСТВЕННЫЙ СТАНДАРТ
ЗАМКИ ПРИВАРНЫЕ ДЛЯ БУРИЛЬНЫХ ТРУБ
ТЕХНИЧЕСКИЕ УСЛОВИЯ
Tool joints for drill pipes. Specifications
ГОСТ 27834-95
| | Список изменяющих документов Приказом Росстандарта от 03.12.2019 N 1334-ст) | |
Дата введения
1 января 1997 года
1 РАЗРАБОТАН Российской Федерацией
ВНЕСЕН Техническим секретариатом Межгосударственного совета по стандартизации, метрологии и сертификации
2 ПРИНЯТ Межгосударственным советом по стандартизации, метрологии и сертификации (протокол N 8 от 12 октября 1995 г.)
За принятие проголосовали:
Наименование государства | Наименование национального органа по стандартизации |
Азербайджанская Республика | Азгосстандарт |
Республика Белоруссия | Белстандарт |
Республика Казахстан | Госстандарт Республики Казахстан |
Республика Молдова | Молдовастандарт |
Российская Федерация | Госстандарт России |
Республика Таджикистан | Таджикский государственный центр по стандартизации, метрологии и сертификации |
Туркменистан | Туркменглавгосинспекция |
Республика Узбекистан | Узгосстандарт |
Украина | Госстандарт Украины |
3
Постановлением Комитета Российской Федерации по стандартизации, метрологии и сертификации от 8 апреля 1996 г. N 262 межгосударственный стандарт ГОСТ 27834-95 введен в действие непосредственно в качестве государственного стандарта Российской Федерации с 1 января 1997 г.
4 ВЗАМЕН ГОСТ 27834-88
Настоящий стандарт распространяется на замки приварные для бурильных труб (далее - замки), изготовляемые в климатическом исполнении У категории 1 по
ГОСТ 15150.
Обязательные требования к качеству приварных замков, обеспечивающие безопасность для жизни, здоровья и имущества населения, окружающей среды, изложены в
разделах 3,
4 и
6.
Стандарт может быть использован при сертификации замков.
| | Применение на добровольной основе разд. 2 обеспечивает соблюдение требований технического регламента "О безопасности машин и оборудования", утв. Постановлением Правительства РФ от 15.09.2009 N 753 (Приказ Росстандарта от 20.08.2010 N 3108). | |
В настоящем стандарте использованы ссылки на следующие стандарты:
ГОСТ 9.014-78 Единая система защиты от коррозии и старения. Временная противокоррозионная защита изделий. Общие требования
ГОСТ 9.301-86 Единая система защиты от коррозии и старения. Покрытия металлические и неметаллические неорганические. Общие требования
(ссылка введена
Изменением N 1, введенным в действие Приказом Росстандарта от 03.12.2019 N 1334-ст)
ГОСТ 9.302-88 Единая система защиты от коррозии и старения. Покрытия металлические и неметаллические неорганические. Методы контроля
Ссылка исключена с 01.07.2020. -
Изменение N 1, введенное в действие Приказом Росстандарта от 03.12.2019 N 1334-ст.
ГОСТ 26.008-85 Шрифты для надписей, наносимых методом гравирования. Исполнительные размеры
ГОСТ 4543-2016 Металлопродукция из конструкционной легированной стали. Технические условия
(в ред.
Изменения N 1, введенного в действие Приказом Росстандарта от 03.12.2019 N 1334-ст)
ГОСТ 8867-89 Калибры для замковой резьбы. Виды. Основные размеры и допуски
ГОСТ 9454-78 Металлы. Метод испытания на ударный изгиб при пониженных, комнатной и повышенных температурах
(в ред.
Изменения N 1, введенного в действие Приказом Росстандарта от 03.12.2019 N 1334-ст)
ГОСТ 15150-69 Машины, приборы и другие технические изделия. Исполнения для различных климатических районов. Категории, условия эксплуатации, хранения и транспортирования в части воздействия климатических факторов внешней среды
(в ред.
Изменения N 1, введенного в действие Приказом Росстандарта от 03.12.2019 N 1334-ст)
ГОСТ 21105-87 Контроль неразрушающий. Магнитопорошковый метод <*>
(ссылка введена
Изменением N 1, введенным в действие Приказом Росстандарта от 03.12.2019 N 1334-ст)
--------------------------------
<*> В Российской Федерации действует
ГОСТ Р 56512-2015 "Контроль неразрушающий. Магнитопорошковый метод. Типовые технологические процессы".
(сноска введена
Изменением N 1, введенным в действие Приказом Росстандарта от 03.12.2019 N 1334-ст)
ГОСТ 28487-2018 Соединения резьбовые упорные с замковой резьбой элементов бурильных колонн. Общие технические требования
(в ред.
Изменения N 1, введенного в действие Приказом Росстандарта от 03.12.2019 N 1334-ст)
ГОСТ Р 50278-92 Трубы бурильные с приваренными замками. Технические условия
3 Основные параметры и размеры
3.1 Габаритные размеры и масса замков, их применяемость с бурильными трубами должны соответствовать указанным на
рисунке 1 и в
таблице 1.
--------------------------------
<*> Размер для справок.
1 - ниппель; 2 - опорный уступ ниппеля; 3 - упорный торец
муфты; 4 - замковая резьба; 5 - муфта; 6 - хвостовик;
7 - заплечик под элеватор; 8 - опознавательный поясок замка
с левой резьбой; D - наружный диаметр;
L - длина замка в сборе
Обозначение типоразмера замка | Замковая резьба | | | D, мм | | |
Типоразмер | Группа прочности |
ЗП-86-44 | З-73 | ПН 60 x 7 | Д, Е | А | 86 | 511 | 14,4 |
ПН 60 x 7 | Л, М | В |
ЗП-95-32 | З-73 | ПВ 73 x 9 | Д, Е | А | 95 | 511 | 22,7 |
ЗП-105-54 | З-86 | ПН 73 x 9 | Д, Е | А | 105 | 536 | 23,3 |
ЗП-105-51 | З-86 | ПН 73 x 9 | Л, М | В | 105 | 536 | 24,2 |
ЗП-111-41 | З-86 | ПН 73 x 9 | Р | В | 111 | 536 | 30,5 |
ЗП-108-44 | З-86 | ПВ 89 x 9 | Д, Е | А | 108 | 536 | 29,5 |
ЗП-108-41 | З-86 | ПВ 89 x 11 | Д, Е | Б | 108 | 536 | 30,3 |
ЗП-121-68 | З-102 | ПН 89 x 9 | Д, Е | А | 121 | 600 | 32,5 |
ЗП-127-65 | З-102 | ПН 89 x 9 | Л | В | 127 | 600 | 38,9 |
ПН 89 x 11 | Д, Е | Б |
ЗП-127-62 | З-102 | ПН 89 x 9 | М | В | 127 | 600 | 40,4 |
ПН 89 x 11 | Л | Г |
ЗП-127-54 | З-102 | ПН 89 x 9 | Р | В | 127 | 600 | 43,6 |
ПН 89 x 11 | М | Г |
ЗП-133-71 | З-108 | ПВ 102 x 8 | Д, Е | А | 133 | 577 | 39,7 |
ЗП-133-68 | З-108 | ПВ 102 x 8 | Л | В | 133 | 577 | 41,1 |
ЗП-140-62 | З-108 | ПВ 102 x 8 | М | В | 140 | 577 | 48,6 |
ЗП-140-57 | З-108 | ПН 89 x 11 | Р | Г | 140 | 577 | 50,8 |
ЗП-140-51 | З-108 | ПВ 102 x 8 | Р | В | 140 | 577 | 52,8 |
ЗП-152-83 | З-122 | ПН 102 x 8 | Д, Е | А | 152 | 577 | 53,3 |
ПН 102 x 8 | Л, М | В |
ЗП-152-76 | З-122 | ПН 102 x 8 | Р | В | 152 | 577 | 56,8 |
ЗП-159-83 | З-122 | ПК 114 x 9 | Д, Е | А | 159 | 577 | 59,8 |
ЗП-159-76 | З-122 | ПК 114 x 9 | Л, М | В | 159 | 577 | 63,3 |
ПК 114 x 11 | Д, Е | Б |
ЗП-159-70 | З-122 | ПК 114 x 9 | Р | В | 159 | 577 | 66,4 |
ПК 114 x 11 | Л | Г |
ЗП-159-63 | З-122 | ПК 114 x 11 | М | Г | 159 | 577 | 69,3 |
ЗП-159-57 | З-122 | ПК 114 x 11 | Р | Г | 159 | 577 | 71,9 |
ЗП-162-95-1 | З-133 | ПН 114 x 9 | Д, Е | А | 162 | 577 | 52,5 |
ПН 114 x 9 | Л, М | В |
ЗП-162-95-2 | З-133 | ПК 127 x 9 | Д, Е | А | 162 | 577 | 53,2 |
ЗП-162-92 | З-133 | ПН 114 x 11 | Д, Е | Б | 162 | 577 | 54,6 |
ЗП-162-89-1 | З-133 | ПН 114 x 9 | Р | В | 162 | 577 | 56,4 |
ПН 114 x 11 | Л, М | Г |
ЗП-162-89-2 | З-133 | ПК 127 x 9 | Л | В | 162 | 577 | 57,0 |
ПК 127 x 13 | Д, Е | Б |
ЗП-165-83 | З-133 | ПК 127 x 9 | М | В | 165 | 577 | 63,6 |
ЗП-165-76 | З-133 | ПК 127 x 13 | Л | Г | 165 | 577 | 66,9 |
ЗП-168-76 | З-133 | ПН 114 x 11 | Р | Г | 168 | 577 | 69,3 |
ЗП-168-70 | З-133 | ПК 127 x 9 | Р | В | 168 | 577 | 72,9 |
ПК 127 x 13 | М | Г |
ЗП-178-102 | З-147 | ПН 127 x 9 | Д, Е | А | 178 | 607 | 69,8 |
ПК 140 x 9 | Д, Е | А |
ПН 127 x 9 | Л, М | В |
ПН 127 x 13 | Д, Е | Б |
ПК 140 x 11 | Д, Е | Б |
ЗП-178-95 | З-147 | ПН 127 x 13 | Л, М | Г | 178 | 607 | 74,0 |
ПК 140 x 9 | Л | В |
ЗП-184-89 | З-147 | ПК 140 x 9 | М | В | 184 | 607 | 84,9 |
ПК 140 x 11 | Л, М | Г |
ЗП-184-83 | З-147 | ПК 127 x 13 | Р | Г | 184 | 607 | 91,1 |
ЗП-190-76 | З-147 | ПК 140 x 9 | Р | В | 190 | 618 | 98,9 |
ПК 149 x 11 | Р | Г |
Примечания 1 Цифры 1 и 2 обозначают замки с различными диаметрами хвостовиков D2 ( рисунки 2 и 3). 2 В обозначение типоразмера бурильной трубы входит тип высадки: ПВ - внутренняя, ПН - наружная, ПК - комбинированная, наружный диаметр, толщина стенки, округленная до целого числа. |
3.2 Замки должны изготовляться с правой и левой замковыми резьбами.
3.3 Размеры ниппелей и муфт замков должны соответствовать указанным на
рисунках 2 и
3 и в
таблице 2.
По требованию потребителя длина ниппеля под ключ и общая длина ниппеля и/или длина муфты под ключ и общая длина муфты могут быть увеличены на величину, кратную 25 мм.
(абзац введен
Изменением N 1, введенным в действие Приказом Росстандарта от 03.12.2019 N 1334-ст)
Росстандарта от 03.12.2019 N 1334-ст)
D - наружный диаметр; D1 - наружный диаметр упорного уступа;
D2 - наружный диаметр хвостовика; d - внутренний диаметр
замка; d1 - внутренний диаметр хвостовика; Lн - общая длина
ниппеля;
l - длина хвостовика;

- длина ниппеля под ключ
Росстандарта от 03.12.2019 N 1334-ст)
Lм - общая длина муфты;

- длина муфты под ключ;
l0 - длина хвостовика; R1 - радиус галтели заплечика;
D1 - наружный диаметр упорного торца
Обозначение типоразмера замка | Обозначение замковой резьбы | | D1 +/- 0,5 | | | | | Ниппель | Муфта | |
| | l +/- 3 | Lм +/- 6,4 | | l0 +/- 3 | ниппеля | муфты |
ЗП-86-44 | З-73 | 85,7 | 82,9 | 67,0 | 44,5 | 43,5 | 4,8 | 313,8 | 179,5 | 58,3 | 273,2 | 204,2 | 69,0 | 8,1 | 6,3 |
ЗП-95-32 | З-73 | 95,2 | 90,9 | 78,0 | 31,8 | 31,0 | 4,8 | 313,8 | 179,5 | 58,3 | 273,2 | 204,2 | 69,0 | 12,5 | 10,2 |
ЗП-105-54 | З-86 | 104,8 | 100,4 | 83,0 | 54,0 | 53,2 | 4,8 | 326,8 | 179,5 | 58,3 | 298,6 | 229,6 | 69,0 | 12,4 | 10,9 |
ЗП-105-51 | З-86 | 104,8 | 100,4 | 83,0 | 50,8 | 50,0 | 4,8 | 326,8 | 179,5 | 58,3 | 298,6 | 229,6 | 69,0 | 13,0 | 11,2 |
ЗП-111-41 | З-86 | 111,1 | 100,4 | 83,0 | 41,3 | 40,5 | 4,8 | 326,8 | 179,5 | 58,3 | 298,6 | 229,6 | 69,0 | 16,4 | 14,1 |
ЗП-108-44 | З-86 | 108,0 | 100,4 | 95,7 | 44,5 | 43,7 | 4,8 | 326,8 | 179,5 | 58,3 | 298,6 | 229,6 | 69,0 | 15,7 | 13,8 |
ЗП-108-41 | З-86 | 108,0 | 100,4 | 95,7 | 41,3 | 40,5 | 4,8 | 326,8 | 179,5 | 58,3 | 298,6 | 229,6 | 69,0 | 16,2 | 14,1 |
ЗП-121-68 | З-102 | 120,7 | 116,3 | 100,5 | 68,3 | 67,5 | 4,8 | 365,2 | 204,9 | 58,3 | 336,7 | 267,7 | 69,0 | 17,2 | 15,3 |
ЗП-127-65 | З-102 | 127,0 | 116,3 | 100,5 | 65,1 | 64,3 | 4,8 | 365,2 | 204,9 | 58,3 | 336,7 | 267,7 | 69,0 | 20,3 | 18,6 |
ЗП-127-62 | З-102 | 127,0 | 116,3 | 100,5 | 61,9 | 61,1 | 4,8 | 365,2 | 204,9 | 58,3 | 336,7 | 267,7 | 69,0 | 21,2 | 19,2 |
ЗП-127-54 | З-102 | 127,0 | 116,3 | 100,5 | 54,0 | 53,2 | 4,8 | 365,2 | 204,9 | 58,3 | 336,7 | 267,7 | 69,0 | 23,3 | 20,3 |
ЗП-133-71 | З-108 | 133,4 | 127,4 | 109,0 | 71,4 | 70,6 | 6,4 | 356,8 | 179,5 | 63,3 | 334,0 | 255,0 | 79,0 | 20,4 | 19,3 |
ЗП-133-68 | З-108 | 133,4 | 127,4 | 109,0 | 68,3 | 67,5 | 6,4 | 356,8 | 179,5 | 63,3 | 334,0 | 255,0 | 79,0 | 21,3 | 19,8 |
ЗП-140-62 | З-108 | 139,7 | 127,4 | 109,0 | 61,9 | 61,1 | 6,4 | 356,8 | 179,5 | 63,3 | 334,0 | 255,0 | 79,0 | 25,2 | 23,4 |
ЗП-140-57 | З-108 | 139,7 | 127,4 | 109,0 | 57,2 | 56,4 | 6,4 | 356,8 | 179,5 | 63,3 | 334,0 | 255,0 | 79,0 | 26,8 | 24,0 |
ЗП-140-51 | З-108 | 139,7 | 127,4 | 109,0 | 50,8 | 50,0 | 6,4 | 356,8 | 179,5 | 63,3 | 334,0 | 255,0 | 79,0 | 28,0 | 24,8 |
ЗП-152-83 | З-122 | 152,4 | 145,3 | 117,0 | 82,6 | 81,8 | 6,4 | 356,8 | 179,5 | 63,3 | 334,0 | 255,0 | 79,0 | 25,8 | 27,5 |
ЗП-152-76 | З-122 | 152,4 | 145,3 | 117,0 | 76,2 | 75,4 | 6,4 | 356,8 | 179,5 | 63,3 | 334,0 | 255,0 | 79,0 | 28,0 | 28,8 |
ЗП-159-83 | З-122 | 158,8 | 145,3 | 122,0 | 82,6 | 81,8 | 6,4 | 356,8 | 179,5 | 63,3 | 334,0 | 255,0 | 79,0 | 28,6 | 31,2 |
ЗП-159-76 | З-122 | 158,8 | 145,3 | 122,0 | 76,2 | 75,4 | 6,4 | 356,8 | 179,5 | 63,3 | 334,0 | 255,0 | 79,0 | 30,8 | 32,5 |
ЗП-159-70 | З-122 | 158,8 | 145,3 | 122,0 | 69,9 | 69,1 | 6,4 | 356,8 | 179,5 | 63,3 | 334,0 | 255,0 | 79,0 | 32,8 | 33,6 |
ЗП-159-63 | З-122 | 158,8 | 145,3 | 122,0 | 63,5 | 62,7 | 6,4 | 356,8 | 179,5 | 63,3 | 334,0 | 255,0 | 79,0 | 34,7 | 34,6 |
ЗП-159-57 | З-122 | 158,8 | 145,3 | 122,0 | 57,2 | 56,4 | 6,4 | 356,8 | 179,5 | 63,3 | 334,0 | 255,0 | 79,0 | 36,4 | 35,5 |
ЗП-162-95-1 | З-133 | 161,9 | 154,0 | 130,0 | 95,3 | 94,5 | 6,4 | 356,8 | 179,5 | 63,3 | 334,0 | 255,0 | 79,0 | 27,0 | 25,5 |
ЗП-162-95-2 | З-133 | 161,9 | 154,0 | 133,0 | 95,3 | 94,5 | 6,4 | 356,8 | 179,5 | 63,3 | 334,0 | 255,0 | 79,0 | 27,3 | 25,9 |
ЗП-162-92 | З-133 | 161,9 | 154,0 | 130,0 | 92,1 | 91,3 | 6,4 | 356,8 | 179,5 | 63,3 | 334,0 | 255,0 | 79,0 | 28,4 | 26,2 |
ЗП-162-89-1 | З-133 | 161,9 | 154,0 | 130,0 | 88,9 | 88,1 | 6,4 | 356,8 | 179,5 | 63,3 | 334,0 | 255,0 | 79,0 | 29,6 | 26,8 |
ЗП-162-89-2 | З-133 | 161,9 | 154,0 | 133,0 | 88,9 | 88,1 | 6,4 | 356,8 | 179,5 | 63,3 | 334,0 | 255,0 | 79,0 | 29,8 | 27,2 |
ЗП-165-83 | З-133 | 165,1 | 154,0 | 133,0 | 82,6 | 91,8 | 6,4 | 356,8 | 179,5 | 63,3 | 334,0 | 255,0 | 79,0 | 33,5 | 30,1 |
ЗП-165-76 | З-133 | 165,1 | 154,0 | 133,0 | 76,2 | 75,4 | 6,4 | 356,8 | 179,5 | 63,3 | 334,0 | 255,0 | 79,0 | 35,7 | 31,2 |
ЗП-168-76 | З-133 | 168,3 | 154,0 | 130,0 | 76,2 | 75,4 | 6,4 | 356,8 | 179,5 | 63,3 | 334,0 | 255,0 | 79,0 | 36,9 | 32,4 |
ЗП-168-70 | З-133 | 168,3 | 154,0 | 133,0 | 69,9 | 69,9 | 6,4 | 356,8 | 179,5 | 63,3 | 334,0 | 255,0 | 79,0 | 39,1 | 33,8 |
ЗП-178-102 | З-147 | 177,8 | 170,6 | 146,3 | 101,6 | 100,8 | 6,4 | 400,2 | 204,9 | 63,3 | 334,0 | 255,0 | 79,0 | 39,0 | 30,8 |
ЗП-178-95 | З-147 | 177,8 | 170,6 | 146,3 | 95,3 | 94,5 | 6,4 | 400,2 | 204,9 | 63,3 | 334,0 | 255,0 | 79,0 | 42,0 | 32,0 |
ЗП-184-89 | З-147 | 184,1 | 170,6 | 146,3 | 88,9 | 88,1 | 6,4 | 400,2 | 204,9 | 63,3 | 334,0 | 255,0 | 79,0 | 48,1 | 36,8 |
ЗП-184-83 | З-147 | 184,1 | 170,6 | 146,3 | 82,6 | 81,8 | 6,4 | 400,2 | 204,9 | 63,3 | 338,0 | 255,0 | 83,0 | 51,5 | 39,6 |
ЗП-190-76 | З-147 | 190,5 | 180,2 | 146,3 | 76,2 | 75,2 | 6,4 | 400,2 | 204,9 | 63,3 | 348,0 | 255,0 | 93,0 | 56,7 | 42,2 |
Примечание - Переход с d1 на d не регламентируется. |
3.4 Муфты замков должны изготовляться с прямоугольными и коническими заплечиками под элеватор (вариант
рисунка 3).
3.5 Условное обозначение замка должно включать: обозначение типоразмера замка по
таблице 1; группу прочности и толщину стенки (ее округленное до целого числа значение) трубы, для которой предназначен замок; обозначение настоящего стандарта.
Для замков с коническим заплечиком под элеватор после обозначения толщины стенки трубы ставят букву К, для замков с левой резьбой после сокращенного названия замка ставят букву Л.
Для замков с увеличенной длиной ниппеля и/или муфты после обозначения типоразмера замка указывают обозначение элемента замка увеличенной длины (Н - ниппель, М - муфта) и величину увеличения длины в миллиметрах.
(абзац введен
Изменением N 1, введенным в действие Приказом Росстандарта от 03.12.2019 N 1334-ст)
Пример условного обозначения замка с наружным диаметром 133,4 мм диаметром проходного отверстия 70,6 мм для трубы группы прочности Д с толщиной стенки 8,38 мм с прямоугольным заплечиком под элеватор и правой замковой резьбой:
ЗП-133-71-Д-8 ГОСТ 27834-95
то же, с левой замковой резьбой:
ЗПЛ-133-71-Д-8 ГОСТ 27834-95
то же, с коническим заплечиком под элеватор и правой замковой резьбой:
ЗП-133-71-Д-8К ГОСТ 27834-95
то же, с увеличенной на 50 мм длиной муфты:
ЗП-133-71-М50-Д-8 ГОСТ 27834-95
то же, с левой замковой резьбой, коническим заплечиком под элеватор, увеличенной на 50 мм длиной ниппеля и на 100 мм длиной муфты:
ЗПЛ-133-71-Н50-М100-Д-8К ГОСТ 27834-95
(абзацы введены
Изменением N 1, введенным в действие Приказом Росстандарта от 03.12.2019 N 1334-ст)
| | Применение на добровольной основе разд. 4 обеспечивает соблюдение требований технического регламента Таможенного союза "О безопасности машин и оборудования" (ТР ТС 010/2011) (Решение комиссии Таможенного союза от 18.10.2011 N 823). | |
4.1 Замки приварные для бурильных труб должны изготовляться в соответствии с требованиями настоящего стандарта по технической документации, утвержденной в установленном порядке.
4.2 Замки изготовляют из стали 40ХМФА по
ГОСТ 4543 со следующими механическими свойствами после термообработки:
Временное сопротивление

, Н/мм2, не менее .............. 981
Предел текучести

, Н/мм2, не менее ..................... 832
Относительное удлинение

, %, не менее ................... 13
Относительное сужение,

, %, не менее ................... 50
Ударная вязкость KCV, Дж/см2, не менее ................... 59
или KCU, Дж/см2, не менее ............................ 88
Твердость по Бринеллю, HB ...................... ... 300 - 355
(в ред.
Изменения N 1, введенного в действие Приказом Росстандарта от 03.12.2019 N 1334-ст)
Допускается изготовление замков из других марок сталей с механическими свойствами не ниже указанных, обладающих хорошей свариваемостью с материалом бурильных труб.
4.3 Форма и размеры профиля замковой резьбы (правой и левой), предельные отклонения параметров резьбы по
ГОСТ 28487.
4.4 Размеры замковых соединений и предельные отклонения основных размеров по
ГОСТ 28487.
4.5 Отклонения от перпендикулярности и плоскостности упорных уступов ниппелей и упорных торцов муфт должны соответствовать указанным в
ГОСТ 28487.
(в ред.
Изменения N 1, введенного в действие Приказом Росстандарта от 03.12.2019 N 1334-ст)
4.6 Отклонение соосности оси базовой наружной поверхности ниппеля (муфты) не должно быть более:
- с осью замковой резьбы в плоскости упорного уступа (торца) - 0,60 мм, на расстоянии 1,0 м от упорного уступа (торца) - 1,75 мм;
- с осью внутреннего диаметра замка, внутреннего и наружного диаметров хвостовиков - 0,40 мм.
(п. 4.6 в ред.
Изменения N 1, введенного в действие Приказом Росстандарта от 03.12.2019 N 1334-ст)
4.7 На поверхности замковых соединений не допускаются трещины, плены, рванины, задиры, раковины, забоины, налипания, заусенцы и следы коррозии, которые нарушают непрерывность поверхности и могут привести к отслоению металла или покрытия, образованию задиров при свинчивании.
(п. 4.7 в ред.
Изменения N 1, введенного в действие Приказом Росстандарта от 03.12.2019 N 1334-ст)
4.8 Исключен с 01.07.2020. -
Изменение N 1, введенное в действие Приказом Росстандарта от 03.12.2019 N 1334-ст.
4.9 На замковые соединения должно быть нанесено фосфатное покрытие толщиной от 0,01 до 0,02 мм, соответствующее
ГОСТ 9.301. По требованию заказчика может быть нанесено покрытие другого вида.
(п. 4.9 в ред.
Изменения N 1, введенного в действие Приказом Росстандарта от 03.12.2019 N 1334-ст)
4.10 На наружной и внутренней поверхности замков не должно быть трещин, плен, раковин и расслоений. Вырубка, заварка и заделка дефектных мест не допускается.
(в ред.
Изменения N 1, введенного в действие Приказом Росстандарта от 03.12.2019 N 1334-ст)
4.11 Разностенность ниппеля в плоскости торца малого основания конуса замковой резьбы не должна быть более 1,5 мм.
4.12 Исключен с 01.07.2020. -
Изменение N 1, введенное в действие Приказом Росстандарта от 03.12.2019 N 1334-ст.
4.13 Маркировка наносится на каждый ниппель и муфту замка четко клеймами шрифтом 6-Пр3 или 8-Пр3 по
ГОСТ 26.008.
4.14 На наружной поверхности ниппеля наносится маркировка, содержащая обозначение типоразмера замка
(таблица 1), в которую входит:
- округленное значение наружного диаметра D;
- округленное значение внутреннего диаметра d;
- вариант исполнения 1 или 2 в зависимости от наружного диаметра хвостовика D2.
На поверхности конуса ниппеля за сбегом резьбы
(рисунок 4) наносится следующая маркировка:
- товарный знак или шифр предприятия-изготовителя;
- дата выпуска замка (месяц - цифры с 1 по 12, год - две последние цифры года);
- группа (или группы) прочности трубы, для которой предназначен замок.
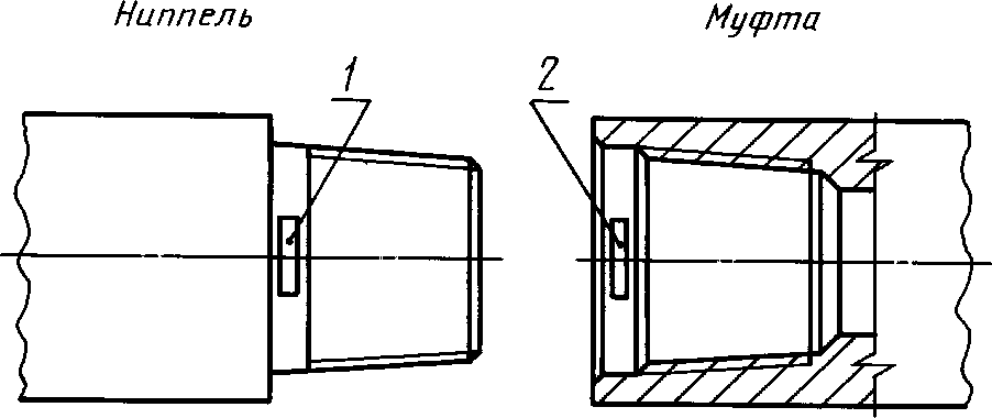
1 - место клеймения ниппеля: товарный знак,
дата выпуска, группа прочности трубы;
2 - место клеймения муфты: товарный знак
4.15 На наружной поверхности муфты наносится маркировка, содержащая обозначение типоразмера замка:
- округленное значение наружного диаметра D;
- округленное значение внутреннего диаметра d;
- вариант исполнения 1 или 2 в зависимости от наружного диаметра хвостовика D2;
- дата выпуска замка (месяц - цифры с 1 по 12, год - две последние цифры года);
- группа (или группы) прочности трубы, для которой предназначен замок.
На поверхности расточки муфты
(рисунок 4) наносится товарный знак или шифр предприятия-изготовителя.
4.16 На наружной поверхности ниппеля замка, предназначенного для труб любой группы прочности, выполняется фрезерованный опознавательный паз, где завод, осуществляющий приварку замка, наносит маркировку, содержащую толщину стенки и группу прочности трубы.
Размеры и местоположение фрезерованного опознавательного паза должны соответствовать указанным на
рисунке 5:
исполнение А - для труб групп прочности Д и Е с толщиной стенки до 10 мм;
исполнение Б - для труб прочности Д и Е с толщиной стенки более 10 мм.
Росстандарта от 03.12.2019 N 1334-ст)
--------------------------------
<*> При выполнении поверхностного твердосплавного упрочнения должно быть увеличено на ширину наплавленного слоя.
(сноска введена
Изменением N 1, введенным в действие Приказом Росстандарта от 03.12.2019 N 1334-ст)
1 - опознавательный паз группы прочности трубы;
2 - опознавательная канавка толщины стенки для группы
прочности Л и выше; H - глубина опознавательных пазов
и канавок: для замков диаметром до 127 мм включительно
H = 4,8 мм, для замков диаметром от 133 мм и выше H = 6,4 мм
Росстандарта от 03.12.2019 N 1334-ст)
4.17 На наружной поверхности ниппеля замка, предназначенного для труб группы прочности Л и выше, дополнительно выполняется опознавательная канавка.
Размеры и местоположение опознавательной канавки и фрезерованного опознавательного паза должны соответствовать указанным на
рисунке 5:
исполнение В - для труб с толщиной стенки до 10 мм;
исполнение Г - для труб с толщиной стенки более 10 мм.
4.18 На наружной поверхности ниппеля и муфты замков с левой замковой резьбой выполняется опознавательный поясок шириной 5 мм и глубиной 1
+0'
5 мм. Поясок протачивается на расстоянии 10 мм от заплечика под элеватор муфты и от начала конуса хвостовика ниппеля
(рисунок 1).
4.19 Замковые резьбы ниппеля и муфты и их упорные поверхности должны быть покрыты консервационной смазкой К-17 по
ГОСТ 10877 в соответствии с требованиями
ГОСТ 9.014 для I-I группы изделий.
(в ред.
Изменения N 1, введенного в действие Приказом Росстандарта от 03.12.2019 N 1334-ст)
По требованию потребителя может быть выполнено другое консервационное покрытие.
(абзац введен
Изменением N 1, введенным в действие Приказом Росстандарта от 03.12.2019 N 1334-ст)
4.20 Замки в составе трубы относятся к ремонтируемым изделиям.
4.21 По согласованию между потребителем и изготовителем может быть выполнено твердосплавное поверхностное упрочнение наружной поверхности муфт и (или) ниппелей, холодное деформационное упрочнение замковой резьбы, приработка замковых соединений (многократное свинчивание-развинчивание), нанесение на замки контрольных меток. Выполнение и контроль указанных операций должны проводиться по документированной процедуре изготовителя.
(п. 4.21 введен
Изменением N 1, введенным в действие Приказом Росстандарта от 03.12.2019 N 1334-ст)
| | Применение на добровольной основе разд. 5 обеспечивает соблюдение требований технического регламента Таможенного союза "О безопасности машин и оборудования" (ТР ТС 010/2011) (Решение комиссии Таможенного союза от 18.10.2011 N 823). | |
5.1 Для проверки соответствия замков требованиям настоящего стандарта проводят приемочный контроль; приемо-сдаточные испытания.
(в ред.
Изменения N 1, введенного в действие Приказом Росстандарта от 03.12.2019 N 1334-ст)
5.3 Приемо-сдаточным испытаниям замки подвергают партиями, содержащими не более 1000 замков. Каждая партия должна состоять из замков одного типоразмера, прошедших термообработку по одному режиму.
5.4 Приемо-сдаточным испытаниям подвергают не менее 1% замков от партии, механические свойства проверяют на двух замках, взятых от каждой партии (2 образца на растяжение и 3 образца на ударный изгиб от каждого замка).
(в ред.
Изменения N 1, введенного в действие Приказом Росстандарта от 03.12.2019 N 1334-ст)
При приемо-сдаточных испытаниях проверяют: механические свойства по
4.2 (временное сопротивление, предел текучести, относительное удлинение, относительное сужение, ударную вязкость);
параметры замковых соединений (
4.3 -
4.5);
фосфатное покрытие
(4.9);
отклонение от соосности
(4.6).
(в ред.
Изменения N 1, введенного в действие Приказом Росстандарта от 03.12.2019 N 1334-ст)
5.5 При неудовлетворительных результатах приемо-сдаточных испытаний хотя бы по одному из показателей по нему проводят повторные испытания на удвоенном количестве изделий, отобранных от той же партии, исключая изделия, не выдержавшие испытаний.
(в ред.
Изменения N 1, введенного в действие Приказом Росстандарта от 03.12.2019 N 1334-ст)
Если при повторном испытании получают неудовлетворительные результаты хотя бы по одному показателю, то в этом случае партия не принимается.
Абзац исключен с 01.07.2020. -
Изменение N 1, введенное в действие Приказом Росстандарта от 03.12.2019 N 1334-ст.
| | Применение на добровольной основе разд. 6 обеспечивает соблюдение требований технического регламента Таможенного союза "О безопасности машин и оборудования" (ТР ТС 010/2011) (Решение комиссии Таможенного союза от 18.10.2011 N 823). | |
6.1 Геометрические размеры замков проверяют универсальными и специальными измерительными приборами.
6.2 Механические свойства стали замков должны проверяться на образцах, вырезанных из резьбового конца ниппеля.
Образцы должны вырезаться методом, не изменяющим структуры и механических свойств проверяемой детали.
6.3 Испытание на растяжение проводят по
ГОСТ 10006 на продольных цилиндрических образцах наибольшего возможного начального диаметра.
(в ред.
Изменения N 1, введенного в действие Приказом Росстандарта от 03.12.2019 N 1334-ст)
6.4 Испытания на ударный изгиб с определением ударной вязкости проводят по
ГОСТ 9454 на продольных образцах наибольшего возможного размера с радиальной ориентацией концентратора.
(п. 6.4 в ред.
Изменения N 1, введенного в действие Приказом Росстандарта от 03.12.2019 N 1334-ст)
6.5 Твердость по Бринеллю на каждом ниппеле и муфте - по
ГОСТ 9012 на расстоянии 25 - 35 мм от упорного уступа (торца).
6.6 Высоту профиля резьбы контролируют специальным индикаторным глубиномером с точностью до 0,01 мм.
6.7 Контроль половины угла профиля резьбы осуществляется с помощью специальных отливок, сделанных с резьбы и измеряемых затем на инструментальном и универсальном микроскопах.
6.8 Шаг резьбы на длине 25,4 мм и на всей длине измеряют шагомером с точностью до 0,01 мм.
(в ред.
Изменения N 1, введенного в действие Приказом Росстандарта от 03.12.2019 N 1334-ст)
6.9 Конусность наружного диаметра резьбы ниппеля и внутреннего диаметра резьбы муфты проверяют гладкими коническими калибрами-кольцами и калибрами-пробками.
6.10 Конусность по среднему диаметру ниппелей и муфт проверяют универсальными приборами.
6.11 При контроле конусности по внутреннему диаметру резьбы муфты калибр-пробку плотно вставляют в резьбу, и если при этом есть качание в поперечном направлении, то калибр отжимают к одной стороне резьбы, а образовавшийся зазор измеряют щупами по
ГОСТ 28487.
Если качания нет, то щупами проверяют зазоры между калибрами и контролируемой поверхностью по всей окружности. Отклонение разности диаметров на длине калибра равно наибольшему суммарному зазору, измеренному в двух диаметрально противоположных сторонах.
6.12 При контроле конусности по наружному диаметру ниппеля гладкий калибр-кольцо надевают на резьбу, и если при этом есть качание в поперечном направлении, то калибр отжимается к одной стороне, а образовавшийся зазор измеряют в соответствии с
6.11.
Если качания нет, то щупом проверяют зазоры между калибром и резьбой в соответствии с
6.11.
6.13 Диаметр конической выточки муфты в плоскости торца проверяют измерительным инструментом в двух взаимно перпендикулярных плоскостях.
(в ред.
Изменения N 1, введенного в действие Приказом Росстандарта от 03.12.2019 N 1334-ст)
6.14 Перед контролем калибрами резьба ниппеля и муфты должна быть тщательно очищена. Резьбовые и гладкие калибры, применяемые для контроля, должны быть смазаны тонким слоем жидкого масла.
6.15 Контроль величины натяга замковой резьбы ниппелей и муфт проводят по
ГОСТ 28487 калибром-кольцом или калибром-пробкой по ГОСТ 8867.
6.16 Резьбовые калибры должны навинчиваться на резьбу до отказа вручную с применением рычага длиной 150 мм.
6.17 Отклонение от перпендикулярности упорного уступа и упорного торца к оси резьбы и натяг проверяют с помощью специальных инструментов путем измерения в нескольких точках по окружности расстояния между торцом и измерительной плоскостью резьбового калибра-кольца или резьбового калибра-пробки.
Разность наибольшего и наименьшего расстояний в диаметрально противоположных сечениях, расположенных под углом 180° относительно друг к другу, составляет удвоенное значение отклонения от перпендикулярности.
6.18 Отклонение от плоскостности измеряют по всей ширине упорных поверхностей ниппелей и муфт проверочной линейкой или щупом, или другим универсальным инструментом с погрешностью до 0,01 мм.
6.19 Соосность поверхностей ниппелей и муфт проверяют следующим способом. Проверяемую деталь устанавливают наружной поверхностью на призму с упором в торец детали. Индикатор часового типа, установленный на стойке, подводится к наружной (внутренней) поверхности хвостовика в плоскости торца. Вращая проверяемую деталь в призме, по индикатору определяют биение поверхности. Отклонение от соосности равно половине величины биения, установленного по индикатору. Для замера соосности оси наружной поверхности ниппеля (муфты) с осью замковой резьбы на резьбу проверяемой детали навинчивают оправку, шлифованная цилиндрическая часть которой длиной 100 - 200 мм соосна с наружной резьбой. Биение определяют по шлифованной поверхности оправки у упорного торца и на конце оправки (отклонение от соосности равно половине величины биения). Перекос осей на длине 1 м пересчитывается из соотношения величины биения у упорного торца детали и у конца оправки.
6.20 Качество наружной и внутренней поверхности замков, а также поверхности замковых соединений проверяют визуально.
(п. 6.20 в ред.
Изменения N 1, введенного в действие Приказом Росстандарта от 03.12.2019 N 1334-ст)
6.21 Шероховатость поверхности проверяют сравнением с рабочими образцами шероховатости поверхности.
6.22 Контроль внешнего вида и толщины фосфатного покрытия проводят по
ГОСТ 9.302. Толщину покрытия определяют в трех равноудаленных точках по окружности замкового соединения методами, предусмотренными для неметаллических неорганических покрытий.
(п. 6.22 в ред.
Изменения N 1, введенного в действие Приказом Росстандарта от 03.12.2019 N 1334-ст)
6.23 Неразрушающий дефектоскопический контроль замков проводят магнитопорошковым методом по
ГОСТ 21105 <*>. Допускается применение других стандартизованных методов магнитопорошкового контроля.
(п. 6.23 в ред.
Изменения N 1, введенного в действие Приказом Росстандарта от 03.12.2019 N 1334-ст)
--------------------------------
<*> В Российской Федерации действует
ГОСТ Р 56512-2015 "Контроль неразрушающий. Магнитопорошковый метод. Типовые технологические процессы".
(сноска введена
Изменением N 1, введенным в действие Приказом Росстандарта от 03.12.2019 N 1334-ст)
6.24 Разностенность ниппеля и муфты в плоскости торца малого основания конуса проверяется в местах наибольшей и наименьшей толщины стенок при помощи специальных измерительных средств с точностью до 0,1 мм.
Разность наибольшего и наименьшего значений характеризует разностенность.
6.25 Маркировку замков проверяют визуально.
7 Транспортирование и хранение
7.1 Замки транспортируют свинченными от руки, без упаковки. При транспортировании замков, не свинченных от руки, резьбы ниппелей и муфт должны быть защищены предохранительными элементами.
7.2 Замки транспортируют партиями любым видом транспорта. Партия должна состоять из замков одного типоразмера, объем партии должен быть не более 1000 комплектов.
7.3 Партия замков должна сопровождаться документом, удостоверяющим их соответствие требованиям настоящего стандарта и содержащим:
наименование предприятия-изготовителя;
условное обозначение замков;
результаты механических испытаний;
количество комплектов в партии;
сведения о консервационном покрытии замковых соединений;
месяц и год выпуска.
(в ред.
Изменения N 1, введенного в действие Приказом Росстандарта от 03.12.2019 N 1334-ст)
7.4 Документ на партию должен быть упакован во влагонепроницаемый пакет из полиэтиленовой пленки по
ГОСТ 10354 и помещен во внутреннюю полость одного из замков партии, покрытого светлой краской, к которой крепится ярлык.
Внутренняя полость замка, в которой помещен документ, с обеих сторон должна быть закрыта пробками, изготовленными по чертежам предприятия - изготовителя замков. Замок с документом и ярлыком при отгрузке партии должен быть размещен в доступном месте.
7.5 Размещение и крепление замков при транспортировании должно осуществляться согласно требованиям, действующим на каждом виде транспорта.
7.6 При погрузке, транспортировании и разгрузке замков должна быть исключена возможность повреждения резьб, упорных поверхностей и торцов хвостовиков.
7.7 Замки, рассортированные по размерам, должны храниться под навесом или в закрытом помещении уложенными в штабели.
7.8 При укладке замков резьбы, упорные поверхности ниппелей и муфт, а также торцы хвостовиков должны быть предохранены от механических повреждений.
8 Указания по эксплуатации
Приварные замки эксплуатируются только в составе с бурильными трубами. Требования по эксплуатации и ремонту замков установлены в эксплуатационной ремонтной документации.
9.1 Изготовитель гарантирует соответствие замков требованиям настоящего стандарта при соблюдении правил эксплуатации, транспортирования и хранения.
9.2 Гарантийный срок эксплуатации замков - 12 мес со дня ввода их в эксплуатацию.
УДК 622.245.13:006.354 | | | |
Ключевые слова: замки приварные, бурильные трубы, замковая резьба, ниппель, муфта |