Главная // Актуальные документы // ГОСТ (Государственный стандарт)
СПРАВКА
Источник публикации
М.: Стандартинформ, 2020
Примечание к документу
Документ введен в действие с 01.03.2021.

Взамен ГОСТ 15136-78.
Название документа
"ГОСТ 15136-2020. Межгосударственный стандарт. Изделия огнеупорные. Методы измерения глубины отбитости углов и ребер"
(введен в действие Приказом Росстандарта от 30.06.2020 N 310-ст)

"ГОСТ 15136-2020. Межгосударственный стандарт. Изделия огнеупорные. Методы измерения глубины отбитости углов и ребер"
(введен в действие Приказом Росстандарта от 30.06.2020 N 310-ст)


Содержание


Введен в действие
Приказом Федерального
агентства по техническому
регулированию и метрологии
от 30 июня 2020 г. N 310-ст
МЕЖГОСУДАРСТВЕННЫЙ СТАНДАРТ
ИЗДЕЛИЯ ОГНЕУПОРНЫЕ
МЕТОДЫ ИЗМЕРЕНИЯ ГЛУБИНЫ ОТБИТОСТИ УГЛОВ И РЕБЕР
Refractory articles. Methods of damage depth measuring
of angles and rihs
ГОСТ 15136-2020
МКС 81.080
Дата введения
1 марта 2021 года
Предисловие
Цели, основные принципы и общие правила проведения работ по межгосударственной стандартизации установлены ГОСТ 1.0 "Межгосударственная система стандартизации. Основные положения" и ГОСТ 1.2 "Межгосударственная система стандартизации. Стандарты межгосударственные, правила и рекомендации по межгосударственной стандартизации. Правила разработки, принятия, обновления и отмены"
Сведения о стандарте
1 РАЗРАБОТАН Обществом с ограниченной ответственностью "Научно-технический центр "Огнеупоры" (ООО "НТЦ "Огнеупоры")
2 ВНЕСЕН Федеральным агентством по техническому регулированию и метрологии
3 ПРИНЯТ Межгосударственным советом по стандартизации, метрологии и сертификации (протокол от 30 апреля 2020 г. N 129-П)
За принятие проголосовали:
Краткое наименование страны по МК (ИСО 3166) 004-97
Код страны по МК (ИСО 3166) 004-97
Сокращенное наименование национального органа по стандартизации
Армения
AM
Минэкономики Республики Армения
Беларусь
BY
Госстандарт Республики Беларусь
Казахстан
KZ
Госстандарт Республики Казахстан
Киргизия
KG
Кыргызстандарт
Россия
RU
Росстандарт
Таджикистан
TJ
Таджикстандарт
Узбекистан
UZ
Узстандарт
Украина
UA
Минэкономразвития Украины
4 Приказом Федерального агентства по техническому регулированию и метрологии от 30 июня 2020 г. N 310-ст межгосударственный стандарт ГОСТ 15136-2020 введен в действие в качестве национального стандарта Российской Федерации с 1 марта 2021 г.
5 ВЗАМЕН ГОСТ 15136-78
Информация о введении в действие (прекращении действия) настоящего стандарта и изменений к нему на территории указанных выше государств публикуется в указателях национальных стандартов, издаваемых в этих государствах, а также в сети Интернет на сайтах соответствующих национальных органов по стандартизации.
В случае пересмотра, изменения или отмены настоящего стандарта соответствующая информация будет опубликована на официальном интернет-сайте Межгосударственного совета по стандартизации, метрологии и сертификации в каталоге "Межгосударственные стандарты"
1 Область применения
Настоящий стандарт устанавливает методы измерения глубины отбитости наружных углов и ребер огнеупорных изделий с прямыми, острыми двугранными или трехгранными углами, а также внешних кромок изделий формы тел вращения с прямыми и острыми углами между торцовой поверхностью и касательной к боковой поверхности.
2 Нормативные ссылки
В настоящем стандарте использованы нормативные ссылки на следующие межгосударственные стандарты:
ГОСТ 166 (ИСО 3599-76) Штангенциркули. Технические условия
ГОСТ 427 Линейки измерительные металлические. Технические условия
ГОСТ 577 Индикаторы часового типа с ценой деления 0,01 мм. Технические условия
ГОСТ 28833 Дефекты огнеупорных изделий. Термины и определения
СТ СЭВ 543 Числа. Правила записи и округления
Примечание - При пользовании настоящим стандартом целесообразно проверить действие ссылочных стандартов и классификаторов на официальном интернет-сайте Межгосударственного совета по стандартизации, метрологии и сертификации (www.easc.by) или по указателям национальных стандартов, издаваемым в государствах, указанных в предисловии, или на официальных сайтах соответствующих национальных органов по стандартизации. Если на ссылочный документ дана недатированная ссылка, то следует использовать документ, действующий на текущий момент, с учетом всех внесенных в него изменений. Если заменен ссылочный документ, на который дана датированная ссылка, то следует использовать указанную версию этого документа. Если после принятия настоящего стандарта в ссылочный документ, на который дана датированная ссылка, внесено изменение, затрагивающее положение, на которое дана ссылка, то это положение применяется без учета данного изменения. Если ссылочный документ отменен без замены, то положение, в котором дана ссылка на него, применяется в части, не затрагивающей эту ссылку.
3 Термины и определения
В настоящем стандарте применены термины по ГОСТ 28833.
4 Требования безопасности
4.1 Освещенность рабочих мест должна соответствовать требованиям, установленным в документах, действующих на территории государства, принявшего настоящий стандарт <*>.
--------------------------------
<*> В Российской Федерации действует ГОСТ Р 55710-2013 "Освещение рабочих мест внутри зданий. Нормы и методы измерений".
4.2 Во время проведения измерений следует использовать индивидуальные средства защиты: спецодежда, перчатки и т.д.
5 Аппаратура
5.1 Приспособление универсальное (тип I) в соответствии с рисунком 1 - для измерения отбитости углов, ребер и кромок, не превышающей 20 мм.
1 - базовая плата; 2 - опорный фиксатор; 3 - съемный
наконечник; 4 - индикатор; 5 - откидная планка; 6 - стержень
измерителя; 7 - линейка; 8 - основание платы
Рисунок 1 - Универсальное приспособление
Основной измерительный элемент универсального приспособления - индикатор часового типа ИЧ10 класса 1 по ГОСТ 577, смонтированный на универсальном фиксирующем устройстве.
Приспособление следует использовать со съемными наконечниками диаметрами 1 мм и 3 мм. Съемный наконечник диаметром 1 мм используют для измерения глубины отбитости в диапазоне от 0 до 2 мм, съемный наконечник диаметром 3 мм - для измерения глубины отбитости в диапазоне от 2 до 20 мм.
Дополнительным измерительным элементом является линейка по ГОСТ 427.
Также допускается применение универсального приспособления с индикатором часового типа ИЧ25 класса 1 по ГОСТ 577 с соответствующим изменением конструкции прибора, связанным с увеличением диаметра головки индикатора.
5.2 Приспособления упрощенной конструкции типов II и III - для измерения глубины отбитости углов и ребер свыше 2 до 80 мм на изделиях с двугранными и трехгранными (прямыми и острыми) углами.
Приспособление типа II, указанное на рисунке 2, предназначено для измерения глубины отбитости углов; приспособление типа III, указанное на рисунке 3, - для измерения глубины отбитости ребер.
1 - основание; 2 - наконечник; 3 - нониус;
4 - измерительный стержень
Рисунок 2 - Приспособление упрощенной конструкции типа II
1 - основание; 2 - наконечник; 3 - нониус;
4 - измерительный стержень
Рисунок 3 - Приспособление упрощенной конструкции типа III
Измерительный элемент приспособлений - штанга с нониусной шкалой штангенциркуля типа ШЦТ-1-125-0,1 или ШЦ-1-125-0,1 по ГОСТ 166, смонтированная на жестком основании.
Приспособления изготавливают с наконечниками диаметрами 3 мм и 10 мм. Наконечники диаметром 3 мм применяют для измерения глубины отбитости углов и ребер свыше 2 до 20 мм на обожженных и безобжиговых изделиях, в том числе фасонных сложной конфигурации наибольшим размером менее 600 мм; наконечники диаметром 10 мм - для измерения глубины отбитости углов и ребер свыше 2 до 80 мм на блочных изделиях, в том числе бетонных.
Примечание - Рисунки 1 - 3 не определяют конструкции приспособлений.
6 Подготовка к измерению
6.1 Перед проведением измерения универсальным приспособлением устанавливают положение нулевой точки индикатора. Для этого приспособление помещают на металлический шаблон любого размера таким образом, чтобы плоскости базовой платы и опорного фиксатора (при установке на угол) или плоскости базовой платы и ее основания (при установке на ребро) совпадали с плоскостями шаблона. Затем нажимают на стержень измерителя до соприкосновения наконечника с вершиной угла шаблона и перемещают подвижную шкалу индикатора до тех пор, пока стрелка не окажется напротив нулевого положения шкалы.
6.2 Перед проведением измерения приспособлением упрощенной конструкции устанавливают положение нулевой точки. Для этого приспособление помещают на металлический шаблон любого размера таким образом, чтобы плоскости основания приспособления совпадали с плоскостями шаблона, передвигают измерительный стержень до соприкосновения наконечника с вершиной угла шаблона и определяют поправку измерения.
Примечания
1 Металлический шаблон должен иметь форму прямоугольного параллелепипеда с четкими углами и гранями. Вмятины на углах и гранях шаблона не допускаются.
2 Схематичные примеры подготовки к измерению и проведения измерений приведены в приложениях А и Б.
3 При проведении приемо-сдаточных испытаний партии изделий подготовку к измерению проводят однократно для каждой выборки.
7 Проведение измерения
7.1 Измерение универсальным приспособлением
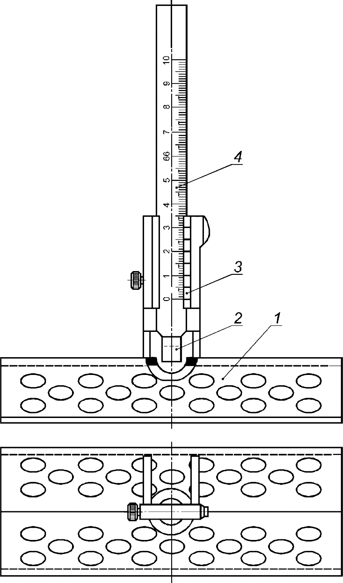
7.1.1 Для измерения глубины отбитости углов или ребер приспособление устанавливают на дефектное место с наибольшей глубиной отбитости. При нажатии на стержень измерителя до упора наконечник стержня опустится в углубление, образуемое отбитостью, а стрелка индикатора покажет значение глубины отбитости. Показания индикатора считывают по шкале и округляют до десятых долей миллиметра.
7.1.2 При использовании индикатора ИЧ10 для измерения глубины отбитости более 10 мм индикатор перемещают вниз по откидной планке с фиксацией через 10 мм. Измерение ведут как указано в 7.1.1 и к показаниям индикатора прибавляют 10 мм.
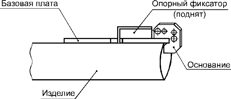
7.1.3 При измерении глубины отбитости углов опорный фиксатор приспособления должен быть опущен в прорези базовой платы.
При измерении глубины отбитости трехгранных углов изделий, имеющих при вершине три прямых плоских угла, приспособление плотно прикладывают к трехгранному углу изделия так, чтобы один из прямых плоских углов совпал с поверхностью базовой платы.
При измерении глубины отбитости углов клиновых и фасонных изделий, имеющих при вершине трехгранного угла один или два прямых плоских угла и один или два острых плоских угла, приспособление плотно прикладывают к трехгранному углу изделия так, чтобы прямой плоский угол изделия совпал с поверхностью базовой платы.
7.1.4 При измерении глубины отбитости ребер опорный фиксатор приспособления поднимают.
При измерении глубины отбитости ребер прямых, клиновых и фасонных изделий, имеющих прямой или острый двугранный угол, приспособление плотно прикладывают к ребру так, чтобы двугранный угол изделия совпадал с двугранным углом, образованным базовой платой и ее основанием.
Допускается измерение отбитости ребер изделий, имеющих тупой двугранный угол, в том случае, если наконечник измерителя при проведении испытаний попадает в вершину двугранного угла. В этом случае приспособление плотно прикладывают поверхностью базовой платы к грани изделия до соприкосновения с основанием платы таким образом, чтобы наконечник измерителя находился напротив неповрежденного участка ребра, после чего нажимают на стержень измерителя и определяют значение поправки на зазор между изделием и наконечником стержня измерителя. Приспособление перемещают к наиболее глубокому месту отбитости, проводят измерение и уменьшают показание индикатора на значение поправки.
7.1.5 При измерении глубины отбитости кромок изделий, имеющих форму тел вращения, опорный фиксатор поднимают, приспособление плотно прикладывают к поврежденной кромке изделия так, чтобы базовая плата была прижата к цилиндрической поверхности, при этом вертикальная ось симметрии базовой платы должна совпадать с образующей этой поверхности.
7.2 Измерение приспособлением упрощенной конструкции
7.2.1 Для измерения глубины отбитости углов или ребер приспособление устанавливают на изделие таким образом, чтобы плоскости его основания плотно соприкасались с плоскими гранями измеряемого угла или ребра. Измерительный стержень передвигают до упора наконечника в углубление, образованное отбитостью. Отсчет ведут по шкалам измерительного элемента. Из полученного значения вычитают поправку на нулевую точку, определяемую по 6.2. Результат округляют до десятых долей миллиметра.
7.2.2 При измерении глубины отбитости трехгранных углов изделий, имеющих при вершине три прямых плоских угла, приспособление плотно прикладывают к трехгранному углу изделия так, чтобы три прямых плоских угла совпали с трехгранным углом основания.
При измерении глубины отбитости углов клиновых и фасонных изделий, имеющих при вершине трехгранного угла один или два прямых плоских угла и один или два острых плоских угла, приспособление плотно прикладывают к трехгранному углу изделия так, чтобы прямой плоский угол изделия совпал с одним прямым плоским углом основания приспособления.
7.2.3 При измерении глубины отбитости ребер на прямых двугранных углах изделий приспособление плотно прикладывают к ребру так, чтобы двугранный угол изделия совпал с прямым двугранным углом основания приспособления.
При измерении глубины отбитости ребер острых двугранных углов изделий приспособление прикладывают к ребру так, чтобы поверхность одной грани основания совпала с поверхностью грани изделия.
8 Обработка результатов
8.1 Для определения глубины отбитости угла, ребра либо кромок изделия проводят два параллельных измерения. За результат определения принимают среднеарифметическое значение результатов двух параллельных измерений.
8.2 Относительная погрешность метода измерения глубины отбитости угла, ребра либо кромок изделия не должна превышать:
а) при измерении универсальным приспособлением: при глубине отбитости от 2 мм включительно - 1% от верхнего предела;
б) при измерении приспособлениями упрощенной конструкции:
1) при глубине отбитости от 2 до 5 мм включительно - 10% от верхнего предела;
2) при глубине отбитости свыше 5 мм - 5% от верхнего предела.
8.3 Результаты фактических измерений глубины отбитости угла или ребра изделия выражают в миллиметрах и округляют до целых чисел по СТ СЭВ 543.
8.4 Результаты измерений записывают в ведомость, которую оформляют в соответствии с правилами, действующими на конкретном предприятии.
Приложение А
(справочное)
ПРИМЕР ОПРЕДЕЛЕНИЯ ГЛУБИНЫ ОТБИТОСТИ УГЛОВ И РЕБЕР
УНИВЕРСАЛЬНЫМ ПРИСПОСОБЛЕНИЕМ
А.1 Подготовка к измерению
А.1.1 Перед проведением измерения универсальным приспособлением устанавливают положение нулевой точки индикатора. Для этого приспособление устанавливают на металлический шаблон любого размера таким образом, чтобы плоскости базовой платы и опорного фиксатора (при установке на угол) или плоскости базовой платы и ее основания (при установке на ребро) совпадали с плоскостями шаблона, как указано на рисунке А.1.
Рисунок А.1
А.1.2 Затем нажимают на стержень измерителя до соприкосновения наконечника с вершиной угла шаблона, в соответствии с рисунком А.2.
Рисунок А.2
А.1.3 Перемещают подвижную шкалу индикатора до тех пор, пока стрелка не окажется против нулевого положения шкалы (см. рисунок А.3).
Рисунок А.3
А.2 Проведение измерений
Для измерения глубины отбитости углов или ребер приспособление устанавливают на поврежденное место с наибольшей глубиной отбитости.
При измерении глубины отбитости углов опорный фиксатор приспособления должен быть опущен в прорези базовой платы (см. рисунок А.4).
Рисунок А.4
При измерении глубины отбитости трехгранных углов изделий, имеющих при вершине три прямых плоских угла, приспособление плотно прикладывают к трехгранному углу изделия так, чтобы один из прямых плоских углов совпал с поверхностью базовой платы (см. рисунок А.5).
Рисунок А.5
При измерении глубины отбитости углов клиновых и фасонных изделий, имеющих при вершине трехгранного угла один или два прямых плоских угла и один или два острых плоских угла, приспособление плотно прикладывают к трехгранному углу изделия так, чтобы прямой плоский угол изделия совпал с поверхностью базовой платы (см. рисунок А.6).
Рисунок А.6
При измерении глубины отбитости ребер опорный фиксатор приспособления поднимают (см. рисунок А.7).
Рисунок А.7
При измерении глубины отбитости ребер прямых, клиновых и фасонных изделий, имеющих прямой или острый двугранный угол, приспособление плотно прикладывают к ребру так, чтобы двугранный угол изделия совпадал с двугранным углом, образованным базовой платой и ее основанием (см. рисунок А.8).
Рисунок А.8
При измерении глубины отбитости кромок изделий, имеющих форму тел вращения, опорный фиксатор поднимают, приспособление плотно прикладывают к поврежденной кромке изделия так, чтобы базовая плата была прижата к цилиндрической поверхности, при этом вертикальная ось симметрии базовой платы должна совпадать с образующей этой поверхности (см. рисунок А.9).
Рисунок А.9
При нажатии на стержень измерителя до упора наконечник стержня опустится в углубление, образуемое отбитостью, а стрелка индикатора покажет значение глубины отбитости. Показания индикатора считывают по шкале и округляют до десятых долей миллиметра (см. рисунок А.10).
Рисунок А.10
Приложение Б
(справочное)
ПРИМЕР ОПРЕДЕЛЕНИЯ ГЛУБИНЫ ОТБИТОСТИ УГЛОВ И РЕБЕР
ПРИСПОСОБЛЕНИЕМ УПРОЩЕННОЙ КОНСТРУКЦИИ
Б.1 Подготовка к измерению
Перед проведением измерения приспособлением упрощенной конструкции устанавливают правильное положение нулевой точки. Для этого приспособление устанавливают на металлический шаблон любого размера таким образом, чтобы плоскости основания приспособления совпадали с плоскостями шаблона (см. рисунок Б.1).
Рисунок Б.1
Передвигают измерительный стержень до соприкосновения наконечника с вершиной угла шаблона и определяют поправку измерения (см. рисунок Б.2).
Рисунок Б.2
Б.2 Проведение измерения
Для измерения глубины отбитости углов или ребер приспособление устанавливают на изделие таким образом, чтобы плоскости его основания плотно соприкасались с плоскими гранями измеряемого угла или ребра.
При измерении глубины отбитости трехгранных углов изделий, имеющих при вершине три прямых плоских угла, приспособление плотно прикладывают к трехгранному углу изделия так, чтобы три прямых плоских угла совпали с трехгранным углом основания (см. рисунок Б.3).
Рисунок Б.3
При измерении глубины отбитости углов клиновых и фасонных изделий, имеющих при вершине трехгранного угла один или два прямых плоских угла и один или два острых плоских угла, приспособление плотно прикладывают к трехгранному углу изделия так, чтобы прямой плоский угол изделия совпал с одним прямым плоским углом основания приспособления (см. рисунок Б.4).
Рисунок Б.4
При измерении глубины отбитости ребер на прямых двугранных углах изделий приспособление плотно прикладывают к ребру так, чтобы двугранный угол изделия совпал с прямым двугранным углом основания приспособления (см. рисунок Б.5).
Рисунок Б.5
При измерении глубины отбитости ребер острых двугранных углов изделий приспособление прикладывают к ребру так, чтобы поверхность одной грани основания совпала с поверхностью грани изделия (см. рисунок Б.6).
Рисунок Б.6
Измерительный стержень передвигают до упора наконечника в углубление, образованное отбитостью. Отсчет ведут по шкалам измерительного элемента (см. рисунок Б.7).
Рисунок Б.7
Из полученного значения вычитают поправку на нулевую точку, определяемую по Б.1. Результат округляют до десятых долей миллиметра.
Примечание - В приведенном примере глубина отбитости составляет 4,8 - 2,5 = 2,3 мм.
УДК 666.76.001.4:006.354
МКС 81.080
Ключевые слова: огнеупорные изделия, угол, ребро, кромка, глубина отбитости