Главная // Актуальные документы // ГОСТ (Государственный стандарт)СПРАВКА
Источник публикации
М.: ФГБУ "РСТ", 2021
Примечание к документу
Документ включен в
Перечень международных и региональных (межгосударственных) стандартов, а в случае их отсутствия - национальных (государственных) стандартов, в результате применения которых на добровольной основе обеспечивается соблюдение требований технического
регламента Таможенного союза "О безопасности аппаратов, работающих на газообразном топливе" (ТР ТС 016/2011) и в
Перечень международных и региональных (межгосударственных) стандартов, а в случае их отсутствия - национальных (государственных) стандартов, содержащих правила и методы исследований (испытаний) и измерений, в том числе правила отбора образцов, необходимые для применения и исполнения требований технического
регламента Таможенного союза "О безопасности аппаратов, работающих на газообразном топливе" (ТР ТС 016/2011) и осуществления оценки соответствия объектов технического регулирования (
Решение Коллегии Евразийской экономической комиссии от 13.07.2021 N 86).
Документ
введен в действие с 01.02.2022.
Название документа
"ГОСТ EN 777-1-2015. Межгосударственный стандарт. Системы нагревательные трубчатые радиационные газовые потолочные с несколькими горелками, не предназначенные для бытового применения. Часть 1. Система D. Требования безопасности"
(введен в действие Приказом Росстандарта от 31.08.2021 N 867-ст)
"ГОСТ EN 777-1-2015. Межгосударственный стандарт. Системы нагревательные трубчатые радиационные газовые потолочные с несколькими горелками, не предназначенные для бытового применения. Часть 1. Система D. Требования безопасности"
(введен в действие Приказом Росстандарта от 31.08.2021 N 867-ст)
агентства по техническому
регулированию и метрологии
от 31 августа 2021 г. N 867-ст
МЕЖГОСУДАРСТВЕННЫЙ СТАНДАРТ
СИСТЕМЫ НАГРЕВАТЕЛЬНЫЕ ТРУБЧАТЫЕ РАДИАЦИОННЫЕ ГАЗОВЫЕ
ПОТОЛОЧНЫЕ С НЕСКОЛЬКИМИ ГОРЕЛКАМИ, НЕ ПРЕДНАЗНАЧЕННЫЕ
ДЛЯ БЫТОВОГО ПРИМЕНЕНИЯ
ЧАСТЬ 1
СИСТЕМА D.
ТРЕБОВАНИЯ БЕЗОПАСНОСТИ
Multi-burner gas-fired overhead radiant tube heater systems
for non-domestic use. Part 1. System D. Safety
(EN 777-1:2009, IDT)
ГОСТ EN 777-1-2015
Дата введения
1 февраля 2022 года
Цели, основные принципы и общие правила проведения работ по межгосударственной стандартизации установлены
ГОСТ 1.0 "Межгосударственная система стандартизации. Основные положения" и
ГОСТ 1.2 "Межгосударственная система стандартизации. Стандарты межгосударственные, правила и рекомендации по межгосударственной стандартизации. Правила разработки, принятия, обновления и отмены"
1 ПОДГОТОВЛЕН Республиканским государственным предприятием "Казахстанский институт стандартизации и сертификации" на основе собственного перевода на русский язык англоязычной версии стандарта, указанного в
пункте 5
2 ВНЕСЕН Комитетом технического регулирования и метрологии Министерства по инвестициям и развитию Республики Казахстан
3 ПРИНЯТ Межгосударственным советом по стандартизации, метрологии и сертификации по результатам голосования (протокол от 29 мая 2015 г. N 77-П)
За принятие проголосовали:
Краткое наименование страны по МК (ИСО 3166) 004-97 | Код страны по МК (ИСО 3166) 004-97 | Сокращенное наименование национального органа по стандартизации |
Армения | AM | ЗАО "Национальный орган по стандартизации и метрологии" Республики Армения |
Беларусь | BY | Госстандарт Республики Беларусь |
Казахстан | KZ | Госстандарт Республики Казахстан |
Киргизия | KG | Кыргызстандарт |
Молдова | MD | Институт стандартизации Молдовы |
Россия | RU | Росстандарт |
Таджикистан | TJ | Таджикстандарт |
4
Приказом Федерального агентства по техническому регулированию и метрологии от 31 августа 2021 г. N 867-ст межгосударственный стандарт ГОСТ EN 777-1-2015 введен в действие в качестве национального стандарта Российской Федерации с 1 февраля 2022 г.
5 Настоящий стандарт идентичен европейскому стандарту EN 777-1:2009 "Системы нагревательные трубчатые радиационные газовые потолочные с несколькими горелками, не предназначенные для бытового применения. Часть 1. Система D. Требования безопасности" ("Multi-burner gas-fired overhead radiant tube heater systems for non-domestic use - Part 1: System D - Safety", IDT).
Европейский стандарт EN 777-1:2009 разработан Европейским комитетом по стандартизации (CEN).
При применении настоящего стандарта рекомендуется использовать вместо ссылочных международных стандартов, соответствующие им межгосударственные стандарты, сведения о которых приведены в дополнительном
приложении ДА
6 ВВЕДЕН ВПЕРВЫЕ
Информация о введении в действие (прекращении действия) настоящего стандарта и изменений к нему на территории указанных выше государств публикуется в указателях национальных стандартов, издаваемых в этих государствах, а также в сети Интернет на сайтах соответствующих национальных органов по стандартизации.
В случае пересмотра, изменения или отмены настоящего стандарта соответствующая информация будет опубликована на официальном интернет-сайте Межгосударственного совета по стандартизации, метрологии и сертификации в каталоге "Межгосударственные стандарты"
Настоящий стандарт устанавливает требования и способы испытания для производства, обеспечения безопасности, классификации и маркировки трубчатых газовых радиационных потолочных нагревателей, не предназначенных для бытового применения и вмонтированных в нагревательную систему (далее - система), в которой каждый блок горелок регулируется автоматической системой контроля.
Настоящий стандарт применяется к системам типа B
52 (см.
4.3), предназначенным для небытового использования, в которых подача воздуха для горения и/или удаления продуктов сгорания выполняется механическим способом.
Настоящий стандарт не применяется к системам:
a) предназначенным для использования в жилых помещениях;
b) на открытом воздухе;
c) с тепловыделением выше 120 кВт (на основе низшей теплоты сгорания соответствующего эталонного газа);
d) с отводным устройством для тяги;
e) имеющим полностью предварительно подготовленные газовые и воздушные горелки, в которых:
1) газ и воздух для горения смешиваются перед зоной сгорания;
2) предварительная подготовка газа и всего воздуха для горения выполняется в части верхнего потока зоны горения горелки;
f) предназначенным для непрерывной конденсации в системе вентиляционных каналов при нормальных рабочих условиях;
g) имеющим неметаллические выходные каналы для вывода продуктов сгорания.
Настоящий стандарт предназначен для применения к системам, которые проходят типовые испытания, также устанавливает требования, касающиеся оценки соответствия, включая контроль над производственным процессом, но данные требования относятся только к POCED и связанным с ними устройствами ввода.
Примечание - Требования для систем, которые не предназначены для типового испытания, требуют дальнейшего пересмотра.
Требования к рациональному использованию энергии не были включены в настоящий стандарт.
В настоящем стандарте использованы нормативные ссылки на следующие стандарты. Для датированных ссылок применяют только указанное издание ссылочного стандарта, для недатированных - последнее издание:
EN 88-1:2007, Pressure regulators and associated safety devices for gas appliances - Part 1: Pressure regulators for inlet pressures up to and including 500 mbar (Регуляторы давления и связанные с ними устройства безопасности для газовых приборов. Часть 1. Регуляторы давления с давлением на входе до и включая 500 мбар)
EN 126:2004, Multifunctional controls for gas burning appliances (Многофункциональные устройства управления для газовых аппаратов)
EN 161:2007, Automatic shut-off valves for gas burners and gas appliances (Клапаны автоматические отсечные для газовых горелок и аппаратов)
EN 257:2010, Mechanical thermostats for gas-burning appliances (Терморегуляторы механические для газовых приборов)
EN 298:2003, Automatic gas burner control systems gas burners and gas burning appliances with or without fans (Системы автоматического управления газовыми горелками и газовыми аппаратами с вентиляторами или без вентиляторов)
EN 437:2003, Test gases - Test pressures - Appliance categories (Газы испытательные. Давления испытательные. Категории предметов)
EN 10226-1:2004, Pipe threads where pressure-tight joints are made on the threads - Part 1: Taper external threads and parallel internal threads - Dimensions, tolerances and designation (Резьбы трубные, где плотное соединение под давлением выполнено на резьбе. Часть 1. Конусообразные наружные резьбы и параллельные внутренние резьбы. Размеры, допуски и обозначение)
EN 10226-2:2005, Pipe threads where pressure tight joints are made on the threads - Part 2: Taper external threads and taper internal threads - Dimensions, tolerances and designation (Резьбы трубные, где плотное соединение под давлением выполнено на резьбе. Часть 2. Конусообразные наружные резьбы и конусообразные внутренние резьбы. Размеры, допуски и обозначение)
EN 60335-1:2002, Household and similar electrical appliances - Safety - Part 1: General Requirements (Бытовые и аналогичные электрические приборы. Безопасность. Часть 1. Общие требования)
EN 60335-2-102:2006, Household and similar electrical appliances - Safety - Part 2-102: Particular requirements for gas, oil and solid-fuel burning having electrical connections (Бытовые и аналогичные электрические приборы. Безопасность. Часть 2-102. Дополнительные требования к газовым, нефтяным горелкам и горелкам на твердом топливе с электрическими соединениями)
EN 60529:1992, Degrees of protection provided by enclosures (IP code) (Степени защиты, обеспечиваемой оболочками (код IP))
EN 60584-1:1995, Thermocouples - Part 1: Reference tables (Термопары. Часть 1. Справочные таблицы)
EN 60584-2:1993, Thermocouples - Part 2: Tolerances (Термопары. Часть 2. Допуски)
ISO 228-1:2000, Pipe threads where pressure-tight joints are not made on the threads - Part 1: Dimensions, tolerances and designation (Резьбы трубные, не обеспечивающие герметичность соединения. Часть 1. Размеры, допуски и обозначения)
ISO 3166-1:2013, Codes for the representation of names of countries and their subdivisions - Part 1: Country codes (Коды для представления названий стран и единиц их административно-территориального деления. Часть 1. Коды стран)
ISO 6976:1995, Natural gas - Calculation of the calorific value, density, relative density and Wobbe index from composition (including Corrigendum 1:1997, Corrigendum 2:1997 and Corrigendum 3:1999) (Природный газ. Расчет теплотворной способности, плотности, относительной плотности и индекса Воббе для смеси (включая поправку 1:1997, поправку 2:1997 и поправку 3:1999)
ISO 7005-1:1992, Metallic flanges - Part 1: Steel flanges (Фланцы металлические. Часть 1. Стальные фланцы)
ISO 7005-2:1988, Metallic flanges - Part 2: Cast iron flanges (Фланцы металлические. Часть 2. Фланцы из литейного чугуна)
ISO 7005-3:1988, Metallic flanges - Part 3: Copper flanges and composite flanges (Фланцы металлические. Часть 3. Фланцы из медных сплавов и композитных материалов)
CR 1404:1994, Determination of emissions from appliances burning gaseous fuels during type testing (Определение выбросов от бытовых приборов, работающих на газообразном топливе, при типовых испытаниях)
3 Термины, определения и сокращения
3.1 Система и ее составные части
В настоящем стандарте применяются следующие термины с соответствующими определениями:
3.1.1 потолочный трубчатый радиационный нагреватель (overhead radiant tube heater): Газовый прибор, предназначенный для установки на уровне выше головы, для обогрева пространства внизу путем выделения тепла через трубу или трубы, которые нагреваются изнутри при прохождении через них продуктов сгорания.
3.1.2 системы с несколькими горелками (multi-burner systems): Трубчатые радиационные нагревательные системы с двумя или более блоками горелок, каждый из которых оснащен отдельным устройством контроля пламени.
Примечание - Блоки могут быть расположены в одной или нескольких секциях труб. Для вывода продуктов сгорания или подачи воздуха для горения могут использоваться один или несколько вентиляторов.
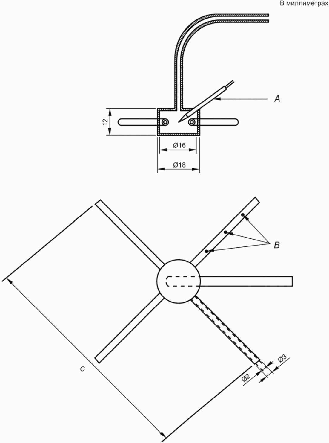
Система D (System D): Система, в которой отдельные блоки без вентилятора соединены с общим выходным каналом, имеющим вентилятор. Только один блок горелок может быть расположен в каждом патрубке (см.
приложение B).
Существует две схемы системы D:
a) система D1: имеет такие короткие патрубки, что пламя горелки может достигать общего выходного канала;
b) система D2: имеет патрубки достаточной длины, чтобы пламя горелки не достигало выходного канала.
3.1.3 отводная труба (branch tube): Труба, в которой расположен только один блок горелок и в которой содержатся продукты сгорания только этой горелки.
3.1.4 общий выходной канал (common duct): Канал, в который поступают продукты сгорания от двух или нескольких отводных труб, для вывода наружу.
3.1.5 отдельный блок горелок (individual burner unit): Блок, состоящий из основной горелки и, при необходимости, запальной горелки. Также в блок включены компоненты, необходимые для розжига горелки/горелок, контроля над пламенем и контроля подачи газа в горелку/горелки.
3.1.6 входной патрубок (inlet connection): Часть системы, предназначенная для подключения к линии подачи газа.
3.1.7 механическое соединение (способ герметичного соединения) (mechanical joint (mechanical means of obtaining soundness)): Обеспечивает герметичное соединение нескольких (чаще всего металлических) деталей, без использования жидкостей, паст, лент и т.д.
Примечание - Применяется в следующих случаях:
a) соединение металлических деталей;
b) конусообразные соединения;
c) тороидные уплотнительные кольца ("O"-кольца);
d) плоские соединения.
3.1.8 газовый тракт (gas circuit): Часть системы, посредством которой передается газ между входным патрубком блока горелок и горелками.
3.1.9 ограничитель (restrictor): Устройство с насадкой, которое расположено в газовом тракте для того, чтобы обеспечить сброс давления и таким образом уменьшить давление газа в горелке до установленного значения для данного давления питания и скорости.
3.1.10 регулятор расхода газа (gas rate adjuster): Компонент, при помощи которого уполномоченное лицо может установить расход газа, поступающего к горелке, в соответствии с условиями эксплуатации.
Примечания
1 Регулировка может быть прогрессивной (винтовой регулятор) или дискретной (путем переключения ограничителей).
2 Регулировочный винт является регулятором расхода газа.
3 Регулировка данного устройства считается регулировкой расхода газа.
4 Заводской регулятор расхода газа считается несуществующим.
3.1.11 установка регулятора (setting an adjuster): Нейтрализация регулятора расхода газа такими средствами, как, например, винт, после того, как расход газа уже отрегулирован производителем или наладчиком при установке.
3.1.12 пломбирование регулятора (sealing an adjuster): Термин, применяемый к регулятору в том случае, когда любая попытка изменить настройку нарушает пломбирование или материал пломбы и делает такое вмешательство очевидным.
Примечание - Регулятор с заводской пломбой, т.е. регулятор, опломбированный производителем системы, считается несуществующим.
Регулятор считается несуществующим, если он был опломбирован в заводских условиях, т.е. производителем системы таким образом, чтобы стать бездействующим при номинальном давлении питания, соответствующем категории системы.
3.1.13 перевод регулятора или контроля в нерабочее положение (putting an adjuster or a control out of service): Регулятор или контроль (над температурой, давлением и т.д.) считается в нерабочем положении, если он выведен из рабочего состояния и опломбирован в таком положении. Тогда блок горелки работает так, как будто это устройство демонтировано.
3.1.14 форсунка (injector): Устройство, обеспечивающее подачу газа к горелке.
3.1.15 основная горелка (main burner): Горелка, которая служит для обеспечения термической функции системы.
3.1.16 розжиг (ignition device): Любое средство (пламя, электрическое устройство розжига или другое устройство), которое используется для розжига газа на запальной или основной горелке.
Примечание - Данное устройство может работать прерывисто или непрерывно.
3.1.17 запальная горелка (ignition burner): Горелка, пламя которой служит для основной горелки.
3.1.18 первичный регулятор подачи воздуха (primary aeration adjuster): Устройство, которое устанавливает нужный объем первичного воздуха согласно условиям подачи.
3.1.19 элементы системы для продуктов сгорания (combustion products circuit): Состоит из:
3.1.19.1 камера сгорания (combustion chamber): Часть прибора, в которой происходит процесс горения газовоздушной смеси.
3.1.19.2 выходное устройство газового канала (flue outlet): Часть системы типа B, которая соединена с газовым каналом для вывода продуктов сгорания.
3.1.19.3 отводное устройство для тяги (draught diverter): Устройство, которое размещается в сети продуктов сгорания для уменьшения воздействия тяги газового канала, а также нижней тяги на работу горелки и процесс горения.
3.1.19.4 устройство для вывода продуктов сгорания (POCED): Устройство для вывода продуктов сгорания, предназначенное для использования только с определенным прибором/системой и поставляемое вместе с прибором/системой или указанное в инструкции производителя.
3.1.20 устройство для установки рабочего диапазона (range-rating device): Компонент в блоке горелки, который используется для регулировки тепловой мощности блока горелки в пределах, установленных производителем, чтобы удовлетворять фактическим тепловым потребностям установки.
Данная регулировка может быть прогрессивной (например, использование регулировочного винта) или дискретной (например, путем переключения ограничителей).
3.1.21 нулевой регулятор (zero regulator): Устройство, которое поддерживает установленное давление нижнего потока между самим устройством и газовой насадкой на нулевом значении в фиксированных пределах независимо от колебаний в заданном диапазоне давления верхнего потока и отрицательного давления нижнего потока газовой насадки.
3.2 Устройства регулировки, управления и обеспечения безопасности
3.2.1 автоматическая система контроля горения (automatic burner control system): Система, включающая в себя программный блок и все элементы детектора пламени.
Различные функции автоматической системы контроля горения могут находиться в двух или более корпусах.
3.2.2 программный блок (programming unit): Устройство, реагирующее на сигналы, поступающие от устройств управления и обеспечения безопасности, подающее команды управления, управляющее последовательностью запуска, контролирующее работу горелок и обеспечивающее регулируемое выключение, и, при необходимости, защитное отключение или выключение питания.
Примечание - Работа программного блока обусловлена заранее заданной последовательностью действий и выполняется совместно с детектором пламени.
3.2.3 программа (programme): Последовательность операций управления, определяемая программным блоком, в которую входят операции включения, запуска, наблюдения и выключения горелки.
3.2.4 детектор пламени (flame detector): Устройство, которое обнаруживает и оповещает о возникновении пламени.
Примечание - Детектор пламени может состоять из сенсора пламени, усилителя и реле для передачи сигнала. Указанные части, с возможным исключением сенсора пламени, могут размещаться в едином блоке, предназначенном для использования вместе с программным блоком.
3.2.5 сигнал пламени (flame signal): Сигнал, подаваемый детектором пламени при наличии пламени.
3.2.6 имитация пламени (flame simulation): Сигнал, указывающий на наличие пламени при его отсутствии.
3.2.7
регулятор давления <*> (pressure regulator): Устройство, которое поддерживает постоянное давление на выходе прибора в установленных пределах вне зависимости от колебаний давления на входе.
--------------------------------
<*> Термин "регулятор" используется в этом случае и для регулятора расхода.
3.2.8 управляемый регулятор давления (adjustable pressure regulator): Регулятор, способный менять заданное давление.
3.2.9 устройство для наблюдения за пламенем (flame supervision device): Устройство, которое после поступления сигнала от детектора пламени обеспечивает подачу газа и прекращает подачу газа, когда пламя гаснет.
3.2.10 автоматический отсечной клапан (automatic shut-off valve): Устройство, которое автоматически открывает, закрывает и изменяет расход газа по сигналу от цепи управления и/или цепи аварийной защиты.
3.3.1 тепловая мощность Q (heat input): Количество энергии, используемое в единицу времени, соответствующее объемному или весовому расходу: использованная теплота сгорания, которая является высшей или низшей теплотой сгорания.
Примечание - Тепловая мощность измеряется в киловаттах (кВт) [EN 437:2003].
3.3.2 номинальная тепловая мощность Qn (nominal heat input): Тепловая мощность (кВт), заявленная производителем.
3.3.3 объемный расход V (volume flow rate): Объем газа, расходуемого прибором при непрерывной работе в единицу времени.
Примечание - Объемный расход газа выражается в м3/ч, дм3/ч или дм3/с [EN 437:2003].
3.3.4 массовый расход M (mass flow rate): Масса газа, расходуемого прибором при непрерывной работе в единицу времени.
Примечание - Единицы измерения - килограмм в час (кг/ч) или грамм в час (г/ч) [EN 437:2003].
3.3.5 устойчивость пламени (flame stability): Свойство пламени удерживаться у выходного отверстия горелки или в зоне приема пламени, предусмотренной конструкцией.
3.3.6 подъем пламени (flame lift): Полный или частичный подъем основания пламени из выходного отверстия горелки или зоны приема пламени, предусмотренный конструкцией.
Подъем пламени может стать причиной, вследствие которой пламя может погаснуть, т.е. гашение смеси воздуха и газа.
3.3.7 обратное движение пламени (light-back): Поступление пламени в корпус горелки.
3.3.8 обратное воспламенение на форсунке (light-back at the injector): Воспламенение газа на форсунке, что является результатом обратного движения пламени в горелку или распространения пламени вне горелки.
3.3.9 сажеобразование (sooting): Процесс, возникающий при неполном сгорании, характеризуется образованием сажи на поверхности деталей, которые контактируют с продуктами сгорания или с пламенем.
3.3.10 желтые верхушки пламени (yellow tipping): Процесс, при котором верхушки голубых конусов пламени при горении газовоздушной смеси окрашиваются в желтый цвет.
3.3.11 продувка (purge): Нагнетание воздуха через камеру сгорания и газовые каналы, чтобы удалить любые остатки смеси топливо-воздух и/или продуктов сгорания:
a) предварительная продувка: продувка в промежутке между сигналом пуска и активизацией розжига;
b) последующая продувка: продувка, которая выполняется сразу после отключения.
3.3.12
время первого защитного отключения <*> (first safety time): Интервал между активизацией клапана горелки розжига, пускового газового вентиля или главного газового вентиля (при соответствующих условиях) и выключением клапана запальной горелки, пускового газового вентиля или главного газового вентиля (при соответствующих условиях), если детектор пламени сообщает об отсутствии пламени в конце этого интервала.
--------------------------------
<*> При отсутствии второго данный интервал называется просто защитное время.
3.3.13 время вторичного защитного отключения (second safety time): Если время первого защитного отключения применимо только к горелке розжига или пламени при пуске газа, время вторичного защитного отключения - это интервал между активизацией главного газового вентиля и выключением главного газового клапана при условии, что детектор пламени сообщает об отсутствии пламени в конце этого интервала.
3.3.14 защитное время затухания (extinction safety time): Период времени между моментом, когда наблюдаемое пламя тухнет, и моментом, когда автоматическая система контроля горения запускает выключение горелки, переводя питание на автоматические отсечные клапаны.
3.3.15 пламя пускового газа (start-gas flame): Пламя, которое образуется при пуске газа на основной горелке или отдельной запальной горелке.
3.3.16 эксплуатационный режим системы (running condition of the system): Состояние системы, при котором горелка нормально функционирует под контролем программного блока и детектора пламени.
3.3.17 регулируемое выключение (controlled shut-down): Процесс, который немедленно подает питание на отсечной(ые) клапан(ы), например, в результате действия функции контроля.
3.3.18 защитное отключение (safety shut-down): Процесс заключается в незамедлительном отключении блока горелок при сигнале от устройства или датчика безопасности, или при ошибке в системе контроля горения, путем обесточивания выводов отсечных клапанов и устройства розжига.
3.3.19 энергонезависимое выключение питания (non-volatile lock-out): Защитное отключение горелки, после которого повторный пуск возможен только посредством ручного возврата горелки и никак иначе.
3.3.20 энергозависимое выключение питания (volatile lock-out): Защитное отключение горелки, после которого повторный пуск возможен только или посредством ручного возврата горелки, или путем отключения силового питания и его последующего включения.
3.3.21 восстановление искрового разряда (spark restoration): Процесс, при котором после исчезновения сигнала пламени, устройство розжига снова включается без прерывания общей подачи газа.
Примечание - Данный процесс заканчивается после восстановления рабочего состояния или энергозависимого или энергонезависимого выключения питания, если по истечении защитного времени пламя не появляется.
3.3.22 автоматический возврат (automatic recycling): Процесс, который после защитного отключения, автоматически повторяет полную последовательность запуска.
Примечание - Данный процесс заканчивается восстановлением рабочего состояния или энергозависимого или энергонезависимого выключения питания в случае, если по истечении защитного времени не появляется пламя или не была устранена причина ошибочного прерывания подачи газа.
3.4.1 теплота сгорания (calorific value): Количество тепла, образуемого при полном сгорании единицы объемного или массового расхода газа при постоянном давлении, равном 101,325 кПа (1013,250 мбар), при стандартных условиях подачи компонентов горючего газа (смеси газов) и отвода продуктов сгорания.
Различают:
a) высшую теплоту сгорания Hs, при которой вода, образующаяся при сгорании газа, конденсируется;
b) низшую теплоту сгорания Hi, при которой вода, образующаяся при сгорании газа, находится в парообразном состоянии.
Примечание - Единицы измерения:
a) мегаджоуль на кубический метр (мДж/м3) сухого газа при стандартных условиях; или
b) мегаджоуль на килограмм (мДж/кг) сухого газа [EN 437:2003].
3.4.2 относительная плотность d (relative density): Отношение массы равных объемов сухого газа и сухого воздуха, измеренных при одинаковых значениях давления и температуры.
3.4.3 число Воббе (Wobbe index)
Высшее число Воббе: Ws и низшее число Воббе: Wi (gross Wobbe index: Ws and net Wobbe index: Wi): Отношение теплоты сгорания газа на единицу объема и квадратный корень его относительной плотности при одинаковых нормальных условиях. Число Воббе будет высшее или низшее в зависимости от того, является ли использованная теплота сгорания высшей или низшей.
Примечание - Число Воббе измеряется в мегаджоуль на кубический метр (мДж/м3) сухого газа при стандартных условиях или мегаджоуль на килограмм (мДж/кг) сухого газа [EN 437:2003].
3.4.4 испытательное давление (test pressure): Давление газа, предназначенное для проверки безопасной работы приборов, работающих на газообразном топливе. Испытательные давления подразделяют на номинальное и предельное давления.
Примечание - Единица измерения: миллибар (мбар). 1 мбар = 102 Па [EN 437:2003].
3.4.5 номинальное давление Pn (normal pressure): Давление, при котором приборы работают в номинальном режиме на соответствующем испытательном газе [EN 437:2003].
3.4.6 предельное давление (limit pressure)
максимальное предельное давление pmax и минимальное предельное давление pmin (maximum limit pressure pmax and minimum limit pressure pmin): Давления, представляющие крайние значения в режиме питания прибора [EN 437:2003].
3.4.7 пара давлений (pressure couple): Сочетание двух четко выраженных давлений газоснабжения, которое применяется при наличии значительного различия между числами Воббе в пределах одного семейства или группы, в которой:
a) максимальное давление соответствует газу с низшим числом Воббе;
b) минимальное давление соответствует газу с высшим числом Воббе.
3.5 Условия эксплуатации и измерения
3.5.1 нормальные условия (reference conditions): В настоящем стандарте используются следующие стандартные условия:
a) температура 15 °C - для теплоты сгорания;
b) температура 15 °C и абсолютное давление 101,325 кПа (1013,250 мбар) - при определении объема сухого газа и воздуха.
3.5.2 холодное состояние (cold condition): Состояние прибора, которое требуется для некоторых видов испытаний и характеризуется тем, что незажженный блок горелки перед розжигом выдерживают при комнатной температуре до достижения термического равновесия.
3.5.3 горячее состояние (hot condition): Состояние прибора, которое требуется для некоторых видов испытаний и характеризуется тем, что прибор нагревают до термического равновесия при номинальной теплоте сгорания.
3.5.4 эквивалентное сопротивление, мбар (equivalent resistance): Сопротивление потоку, измеряемое на выходе системы и эквивалентное сопротивлению фактической тяги.
3.5.5 термическое равновесие (thermal equilibrium): Рабочее состояние системы, соответствующее определенной установке входа, при которой температура, °C, топочного газа не изменяется больше, чем на +/- 2% в течение 10 мин.
3.6.1 страна прямого назначения (direct country of destination): Страна, для которой данная система подлежит декларированию соответствия или сертификации и которая указана производителем как планируемая страна назначения. В момент представления системы на рынке и/или монтажа система должна работать без наладки или модификации на одном из газов, используемых в стране назначения, при соответствующем давлении питания.
Может быть перечислено несколько стран, если система с настоящим уровнем наладки может использоваться в каждой из этих стран.
3.6.2 страна непрямого назначения (indirect country of destination): Страна, для которой данная система подлежит декларированию соответствия или сертификации, но для которой не подходит данное состояние наладки. Должна быть произведена последующая модификация или наладка, чтобы обеспечить безопасную и правильную эксплуатацию системы в данной стране.
4.1 Классификация согласно характеристике используемых газов (категории)
Газы в зависимости от числа Воббе подразделяют на три семейства, которые, в свою очередь, подразделяют на группы. В
таблице 1 приведены семейства и группы газов, которые рассматриваются в настоящем стандарте.
Таблица 1
Семейство газа | Группа газа | Число Воббе при температуре 15 °C и давлении 101,325 кПа (1013,25 мбар), МДж/м3 |
Минимальное | Максимальное |
Первое | A | 22,4 | 24,8 |
Второе | | 39,1 | 54,7 |
H | 45,7 | 54,7 |
L | 39,1 | 44,8 |
E | 40,9 | 54,7 |
Третье | | 72,9 | 87,3 |
B/P | 72,9 | 87,3 |
P | 72,9 | 76,8 |
B | 81,8 | 87,3 |
4.2 Классификация систем в зависимости от используемых газов
4.2.1 Категория I: системы категории I предназначены исключительно для использования газов одного семейства или одной группы.
a) Системы, предназначенные для работы только с газами первого семейства:
Категория I1a: системы, предназначенные только для работы с газами группы A первого семейства при заданном давлении (эта категория не используется).
b) Системы, предназначенные для работы с газами второго семейства:
Категория I2H: системы, предназначенные только для работы с газами группы H второго семейства при заданном давлении питания.
Категория I2L: системы, предназначенные только для работы с газами группы L второго семейства при заданном давлении питания.
Категория I2E: системы, предназначенные только для работы с газами группы E второго семейства при заданном давлении питания.
Категория I2E+: системы, предназначенные только для работы с газами группы E второго семейства при паре давлений (без регулировки системы). При необходимости регулятор давления газа не должен функционировать в диапазоне номинальных давлений пары давлений.
c) Системы, предназначенные для работы с газами третьего семейства:
Категория I3B/P: системы, предназначенные для работы с газами третьего семейства (пропан и бутан) при заданном давлении в системе питания.
Категория I3+: системы, предназначенные для работы с газами третьего семейства (пропан и бутан) при паре давлений без перенастройки системы, кроме возможной регулировки, для определенных видов систем, подачи воздуха для обеспечения горения (приточный воздух) для перенастройки с бутана на пропан и обратно. Установка устройства регулирования давления газа в этой системе не допускается.
Категория I3P: системы, предназначенные только для работы с газами группы P третьего семейства (пропан) при заданном давлении.
4.2.2 Категория II: Системы категории II предназначены для работы с газами двух семейств.
a) Системы, предназначенные для работы с газами первого и второго семейств:
Категория II1a2H: системы, предназначенные для работы с газами группы A первого семейства и газами группами H второго семейства. Применение газов первого семейства осуществляется при тех же условиях, что и для категории I1a. Применение газов второго семейства осуществляется при тех же условиях, что и для категории I2H.
b) Системы, предназначенные для работы с газами второго и третьего семейств:
Категория II2H3B/P: системы, предназначенные для работы с газами группы H второго семейства и газами третьего семейства. Применение газов второго семейства осуществляется при тех же условиях, что и для категории I2H. Применение газов третьего семейства осуществляется при тех же условиях, что и для категории I3B/P.
Категория II2H3+: системы, предназначенные для работы с газами группы H второго семейства и газами третьего семейства. Применение газов второго семейства осуществляется при тех же условиях, что и для категории I2H. Применение газов третьего семейства осуществляется при тех же условиях, что и для категории I3+.
Категория II2H3P: системы, предназначенные для работы с газами группы H второго семейства и газами группы P третьего семейства. Применение газов второго семейства осуществляется при тех же условиях, что и для категории I2H. Применение газов третьего семейства осуществляется при тех же условиях, что и для категории I3P.
Категория II2L3B/P: системы, предназначенные для работы с газами группы L второго семейства и газами третьего семейства. Применение газов второго семейства осуществляется при тех же условиях, что и для категории I2L. Применение газов третьего семейства осуществляется при тех же условиях, что и для категории I3B/P.
Категория II2L3P: системы, предназначенные для работы с газами группы L второго семейства и газами группы P третьего семейства. Применение газов второго семейства осуществляется при тех же условиях, что и для категории I2L. Применение газов третьего семейства осуществляется при тех же условиях, что и для категории I3P.
Категория II2E3B/P: системы, предназначенные для работы с газами группы E второго семейства и газами третьего семейства. Применение газов второго семейства осуществляется при тех же условиях, что и для категории I2E. Применение газов третьего семейства осуществляется при тех же условиях, что и для категории I3B/P.
Категория II2E+3+: системы, предназначенные для работы с газами группы E второго семейства и газами третьего семейства. Применение газов второго семейства осуществляется при тех же условиях, что и для категории I2E+. Применение газов третьего семейства осуществляется при тех же условиях, что и для категории I3+.
Категория II2E+3P: системы, предназначенные для работы с газами группы E второго семейства и газами группы P третьего семейства. Применение газов второго семейства осуществляется при тех же условиях, что и для категории I2E+. Применение газов третьего семейства осуществляется при тех же условиях, что и для категории I3P.
4.2.3 Категория III: системы категории III предназначены для работы с газами трех семейств. Данная категория в основном не используется.
Примечание - Приборы категории III, допущенные к применению в некоторых странах, приведены в приложении A (см.
A.3).
4.3 Классификация систем по способу удаления продуктов сгорания
4.3.1 Общие положения
Системы по способу удаления продуктов сгорания и подаче воздуха для горения подразделяют на несколько типов.
4.3.2 Тип B
Система, предназначенная для соединения с вытяжной трубой, которая удаляет продукты сгорания из помещения, в котором находится система. Воздух для горения поступает непосредственно из помещения. Настоящий стандарт распространяется на следующие типы:
a) тип B5: система типа B без отводного устройства для тяги предназначена для соединения через газоход к устройству вытяжной трубы.
Системы, в которых воздух для горения и продукты сгорания подаются и выводятся механическим способом, делятся на два типа:
b) тип B52: система типа B5, оснащенная вентилятором нижнего потока камеры сгорания/теплообменника (этот тип рассматривается в настоящем стандарте);
c) тип B53: система типа B5, оснащенная вентилятором верхнего потока камеры сгорания/теплообменника (этот тип не рассматривается в настоящем стандарте).
5 Требования к конструкции
5.1.1 Перенастройка на другие газы
Допустимые виды операций для перенастройки систем соответствующих категорий с газа одной группы или семейства на газ другой группы или семейства и/или для адаптации к разным давлениям газоснабжения приводятся ниже для каждой категории.
Рекомендуется выполнять эти операции без отключения системы.
a) Категории I2H, I2L, I2E, I2E+: система без модификации;
b) Категория I3B/P: система без модификации;
c) Категория I3+: замена форсунки или калиброванной насадки, но только для того, чтобы перейти от одной пары давлений к другой (например, от 28 - 30/37 до 50/67 мбар или обратно);
d) Категория I3P: без изменений при перенастройке на другой газ. Для изменяющегося давления необходима замена форсунки и регулировка расхода газа.
5.1.1.2 Категория II
5.1.1.2.1 Категории систем, предназначенных для работы с газами первого и второго семейств
Регулировка расхода газа и, при необходимости, замена форсунки, ограничителя и регулятора.
Регулировка расхода газа для запальной горелки при помощи регулятора или посредством замены форсунки или ограничителя и (если необходимо) полной замены запальной горелки или ее некоторых частей.
Отключение регулятора в соответствии с
5.2.6.
Отключение регулятора(ов) расхода газа в соответствии с
5.2.1 и
5.2.2, если применимо.
Регулировки и замена компонентов необходимы только при переходе от газа первого семейства к газу второго семейства или наоборот.
5.1.1.2.2 Категории систем, предназначенных для работы с газами второго и третьего семейств
Регулировка расхода газа и, при необходимости, замена форсунки, ограничителя и регулятора.
Регулировка расхода газа для запальной горелки при помощи регулятора или посредством замены форсунки или ограничителя и (если необходимо) полной замены запальной горелки или ее некоторых частей.
Отключение регулятора в соответствии с
5.2.6.
Отключение регулятора(ов) расхода газа в соответствии с
5.2.1 и
5.2.2, если применимо. Регулировки и замена компонентов необходимы только:
a) при переходе с газа второго семейства на газ третьего семейства или обратно;
b) при переходе от одной пары давлений бутана/пропана к другой (например, от 28 - 30/37 до 50/67 мбар).
Примечание - Системы категории III, используемые в некоторых странах, приведены в приложении A (см.
A.4.2.3).
5.1.2 Материалы и технология производства
Качество и толщина материалов, используемых в производстве системы (включая POCED) должны быть такими, чтобы:
a) изменения конструкционных и эксплуатационных характеристик не влияли на безопасность системы при нормальных условиях эксплуатации и технического обслуживания;
b) обеспечить достаточный срок службы.
При монтаже систем в соответствии с инструкцией производителя все детали конструкции, включая теплообменник и POCED в приборах типов B4 и B5, должны выдерживать механические, химические и тепловые воздействия, возникающие во время работы при заданных условиях эксплуатации.
В газовых коммуникациях не допускается применять материалы из меди, если их температура превышает 100 °C.
Не следует применять асбест или материалы, содержащие асбест.
Для газовых коммуникаций не допускается применять припои с температурой плавления ниже 450 °C.
5.1.3 Доступность при техническом обслуживании и эксплуатации
Компоненты и элементы управления должны быть расположены так, чтобы регулировка, техническое обслуживание или замена были легкодоступны и выполнялись без демонтажа радиационной трубы. При необходимости, должны быть установлены смотровые люки или съемные панели.
Съемные детали при техническом обслуживании или ремонте должны быть легкодоступными. Правильная установка деталей не должна вызывать затруднений. Возможность неправильной установки и монтажа, которая может вызвать опасность или привести к повреждениям прибора или его устройств регулировки, должна быть исключена.
Те детали системы, которые не снимаются и демонтаж которых может повлиять на безопасность, должны извлекаться только при помощи инструментов.
5.1.4 Средства изоляции
5.1.4.1 Герметичность газовой сети
Отверстия (например, для винтов, болтов), предназначенные для монтажа узлов системы, не должны открываться в газовые каналы. Толщина стенки между отверстиями (включая резьбы) и газовыми каналами должна быть не менее 1 мм.
Герметичность газового тракта и соединений, которые демонтируют при техническом обслуживании на местах, должна обеспечиваться только с помощью механических уплотнений (например, соединения металла с металлом, кольцевые уплотнения или прокладки), исключение составляет уплотняющий компаунд, а именно изоляционная лента, мастика или паста. Герметичность проверяется после каждого демонтажа и сборки.
Уплотняющие компаунды могут использоваться в постоянных резьбовых соединениях. Уплотняющий материал должен сохранять свою эффективность при нормальных условиях эксплуатации.
5.1.4.2 Герметичность сети горения
Герметичность сети горения обеспечивается только механическими соединениями, исключение составляют те детали, которые не демонтируются для текущей профилактики и могут быть соединены мастикой или пастой таким образом, чтобы гарантировать постоянную герметичность при нормальных условиях эксплуатации [см.
8.2.2.1, c)].
5.1.5 Подача воздуха для горения и удаление продуктов сгорания
5.1.5.1 Воздухоприемники
Все отверстия для подачи воздуха в систему должны быть надежно защищены от случайного закрытия. Кроме того, такие отверстия должны быть защищены от попадания шарика диаметром 16 мм, направленного с силой 5 Н. Поперечное сечение воздушных проходов не должно быть регулируемым.
5.1.5.2 Сеть горения
Поперечное сечение сети горения должно регулироваться с помощью одной или нескольких заслонок, чтобы обеспечить корректировку заданных лимитов всасывания в зоне горения, в соответствии с указаниями производителя для правильной работы системы.
Заслонки, которые должны поставляться производителем, должны быть отрегулированы, замкнуты и опломбированы.
При полном закрытии заслонки, не менее 2% площади поперечного сечения трубы должно оставаться открытым в целях вентиляции газов.
5.1.5.3 Выходное устройство газового канала
Выходное устройство газового канала (POCED) должно быть включено в комплект поставки производителя или указано в инструкции производителя. Спецификация должна включать в себя описание канала, включая отводы, конструкционные материалы и основные параметры (например, в длину, диаметр, толщину или глубину вставки).
Производитель должен указать минимальное и максимальное эквивалентное сопротивление. Инструкция производителя должна предоставлять подробную информацию для расчета эквивалентного сопротивления (например, допуски, которые должны быть сделаны для отводов).
Если прибор рассчитан на присоединение к вытяжной трубе с входным отверстием, расположенным в наружной стене, то производитель или поставляет концевой блок для крепления с вытяжной трубой, или указывает тип этого устройства. Устройство защиты от ветра не должно пропускать шар диаметром 16 мм, к которому приложено усилие 5 Н.
Если POCED устанавливается в соответствии с инструкциями производителя так, что его выход (когда любой терминал вместе с прибором, или указанного в инструкции производителя), выходит за пределы внешней поверхности здания более чем на 1,5 м, этот канал не производит какой-либо постоянной деформации при испытаниях под воздействием ветра, см. в EN 1859:2000 (4.3.2).
Входной патрубок горелки должен быть одним из следующих типов:
a) резьбовое соединение, в соответствии с ISO 228-1:2000. В этом случае конец газового входного патрубка должен иметь плоскую кольцевую поверхность не менее 3,0 мм в ширину для размеров резьбы 1/2 и 3/8 и не менее 2,5 мм в ширину для размеров резьбы 1/4, для того, чтобы имелась возможность для вставки уплотнительной шайбы. Более того, при наличии на конце газового входного патрубка резьбы с номинальным размером 1/2, должна быть предусмотрена возможность присоединения датчика с диаметром 12,3 мм на глубину не менее 4,0 мм;
b) резьбовое соединение, в соответствии с EN 10226-1:2004 или EN 10226-2:2005;
c) компрессионный фитинг для медной трубы;
d) прямая трубка не менее 30 мм в длину, с цилиндрическим, гладким и чистым окончанием, для того чтобы подсоединить компрессионный фитинг, как указано в
перечислении c) 5.1.6;
e) фланцевое соединение, в соответствии с ISO 7005-1:1992, ISO 7005-2:1988 или ISO 7005-3:1988.
Примечание - Положения входных патрубков, преобладающих в различных странах, указаны в
A.5.
Газовый входной патрубок должен быть закреплен таким образом, чтобы соединения для подачи газа могли быть обеспечены без нарушения каких-либо элементов управления и газоотводных компонентов системы.
5.1.7 Подтверждение операции
Каждый блок горелки должен иметь средство для наблюдения за пламенем запальной горелки во время пуска и последующей работы. Если это смотровое окно, то оно должно располагаться в зоне высокой температуры, закрываться термостойким стеклом с герметичной термостойкой изоляцией.
Пользователь должен иметь постоянную возможность убедиться, что горелка работает или произошло энергонезависимое/энергозависимое выключение питания там, где:
a) используются зеркала и стекла, их оптические свойства не должны ухудшиться по завершении испытаний, указанных в настоящем стандарте;
b) используются индикаторные лампочки, их назначение должно быть четко зафиксировано на системе, или табличке, или на маркировке согласно
8.1.2. Цепь световой индикации проектируется и монтируется таким образом, чтобы:
1) она указывала, когда пламя горит, и, если это запальная горелка, показывала, что основная горелка работает;
2) любая неполадка в схеме световой индикации не должна влиять на эксплуатацию любого устройства безопасности или нарушать работу системы.
5.1.8 Электрическое оборудование
Электрическое оборудование системы должно быть спроектировано и сконструировано таким образом, чтобы избежать опасности электрического происхождения и должно соответствовать требованиям EN 60335-2-102:2006.
Электронные составные части или системы, входящие в состав прибора, по требованиям электромагнитной совместимости (помехоустойчивости) должны соответствовать EN 298:2003.
При маркировке системы производитель указывает степень защиты системы в соответствии с EN 60529:1992, а также:
a) степень защиты людей от соприкосновения с опасными электрическими составными частями внутри корпуса системы;
b) степень защиты электрического оборудования, расположенного внутри корпуса системы, при попадании воды.
5.1.9 Безопасность работы при колебаниях, отключении и восстановлении вспомогательной энергии
Отключение и последующее возобновление электрического питания в какой-либо момент времени при пуске или работе системы должно вызвать длительную безопасную работу, энергонезависимое выключение питания или защитное отключение, за которым последует автоматический повторный пуск.
Отключение и последующее возобновление электрического питания не должно приводить к снятию энергонезависимого выключения питания, за исключением случаев, когда система предназначена для сброса с помощью выключения и для подачи электроэнергии в систему, например в энергонезависимое выключение питания. Такая перенастройка должна быть возможной, если прерывание и последующее возобновление подачи напряжения не может привести к аварийному состоянию системы.
Примечание - Требования и методы испытаний, касающиеся нормальных и аварийных колебаний вспомогательной энергии, приведены в
6.6.1 d).
5.1.10 Двигатели и вентиляторы
Направление вращения двигателей и вентиляторов должно быть четко обозначено.
Ременная передача должна быть спроектирована или установлена таким образом, чтобы обеспечить безопасность оператора.
Должна быть предусмотрена возможность регулировки натяжения ремня. Регулировку осуществляют с помощью стандартного инструмента.
Двигатели и вентиляторы должны устанавливаться таким образом, чтобы шум и вибрации были минимальными.
Места для смазки (при наличии) должны быть легкодоступными.
5.2 Устройства настройки, регулировки и защиты
Отклонение в работе любого защитного устройства не будет блокировано контрольным устройством.
Система не должна содержать органы управления, которыми пользователь мог бы манипулировать, когда система работает в нормальном режиме.
5.2.2 Регуляторы расхода газа
Системы категорий I2H, I2L, I2E, I2E+, I3B/P, I3P, II2H3B/P, II2H3+, II2H3P, II2L3B/P, II2E3B/P, II2E+3+ и II2E+3P не должны оснащаться устройствами предварительной настройки расхода газа. Однако для категорий систем, оснащенных регулятором давления, за исключением системы категории II2E+3+, может быть предусмотрен регулятор расхода газа, состоящий из регулировочного винта на газовом регуляторе.
Системы категории II1a2H должны иметь регулятор расхода газа для газов первого семейства.
Системы из категории II
2H3+, имеющие регулятор расхода газа, можно вывести из рабочего режима, когда в эти системы будет поступать газ третьего семейства. Это также касается систем из категории II
1a2H, когда в них поступает газ из второго семейства. Системы из категории II
2E+3P, имеющие регулятор расхода газа, можно вывести из рабочего режима полностью или частично (см.
5.2.6), когда в эти системы будет поступать газ из второго семейства.
Регуляторы должны устанавливаться только с помощью инструмента и фиксироваться в рабочем положении.
5.2.3 Устройство для установки рабочего диапазона
Это устройство является необязательным в системе.
Для систем из категории II1a2H регулятор расхода газа и устройство для установки рабочего диапазона может быть одним и тем же приспособлением. Однако, если регулятор расхода газа должен быть опломбирован полностью или частично, когда в систему поступает газ из второго семейства, то регулятор или его опломбированная часть больше не будут использоваться в качестве устройства для установки рабочего диапазона.
5.2.4 Регуляторы подачи воздуха
Использование регуляторов подачи воздуха не разрешается.
5.2.5 Ручное управление
5.2.5.1 Применение
Клапаны, кнопки или электрические выключатели, приводимые в действие вручную, необходимые для настройки и ввода прибора в эксплуатацию, поставляют или устанавливают в соответствии с инструкцией по монтажу производителя, если они не являются составными частями прибора.
5.2.5.2 Ручные клапаны
Ручные клапаны должны иметь поворот на 90°.
Ручные клапаны должны легко приводиться в действие и исключать возможность их ошибочного применения. В рабочем состоянии должны легко различаться положения "ОТКРЫТО" и "ЗАКРЫТО".
Если система оборудована отсечным клапаном, являющимся составной частью системы, то этот клапан должен быть легкодоступным и выдерживать давление, в 1,5 раза превышающее максимальное присоединительное давление.
Ручные клапаны, используемые исключительно для работы в положении "ОТКРЫТО/ЗАКРЫТО", должны фиксироваться в положениях "ОТКРЫТО" и "ЗАКРЫТО".
Регуляторы должны соответствовать EN 88-1:2007.
Если не установлен нулевой регулятор, в системе, работающей с газами первого и второго семейства, подача газа на горелку или на любую запальную горелку контролируется интегральным регулятором, установленным в верхнем потоке автоматических отсечных клапанов, если он не вмонтирован в многофункциональное контрольное устройство.
Для систем, работающих с газом третьего семейства, установка регулятора не является обязательной.
Конструкция и легкий доступ к регулятору должны обеспечивать быструю установку или отключение его после перенастройки на другой газ. Должны быть предприняты меры по предотвращению несанкционированного доступа к устройству.
В системах категорий I2E+, II2E+3+ и II2E+3P допускается установка регулятора давления газа, однако он не должен функционировать в диапазоне пары давлений второго семейства, т.е. от 20 до 25 мбар. При работе систем категорий II2E+3+ и II2E+3P c газами второго семейства при необходимости должно быть предусмотрено полное или частичное отключение регулятора, чтобы приборы не функционировали в диапазоне пары давлений второго семейства, т.е. от 20 до 25 мбар.
5.2.7 Многофункциональные контрольные устройства
Многофункциональные контрольные устройства должны соответствовать EN 126:2004.
5.2.8 Автоматические отсечные клапаны
Автоматические отсечные клапаны должны соответствовать EN 161:2007.
Подача газа к основной горелке должна контролироваться двумя автоматическими отсечными клапанами, присоединяемыми к газовой линии последовательно; при использовании клапанов класса A или класса B, класса A, класса B, класса C или класса J. При использовании клапана класса J должен использоваться сетчатый фильтр, который не пропускает частицу размером 0,2 мм. Фильтр монтируется в верхнем потоке клапана класса J.
Старт подачи газа должен контролироваться автоматическим отсечным клапаном класса A или класса B.
Этот клапан может быть клапаном верхнего потока в подаче газа на основную горелку (клапан класса B), и немедленно подача газа будет осуществляться из нижнего потока этого клапана. Там, где пусковая подача газа контролируется только одним автоматическим отсечным клапаном, тепловая мощность во время розжига не должна превышать 1 кВт или 5% тепловой мощности основной горелки, в зависимости от того, что меньше.
Расположение, представленное на
рисунке 1, дано в качестве примера. Допустимо любое другое расположение с эквивалентным уровнем защиты.
a) Системы с одной запальной горелкой, тепловая мощность
которой не превышает 1 кВт или 5% от тепловой мощности
основной горелки
b) Системы с прямым розжигом основной горелки
BA - запальная горелка; BP - основная горелка
Рисунок 1 - Конфигурация автоматического отсечного клапана
5.2.9 Газовые фильтры
Сетчатый фильтр должен монтироваться на входе любого блока горелки с автоматическим(ими) отсечным(ыми) клапаном(ами), чтобы предотвратить попадание инородного тела. Фильтр может составлять единое целое с автоматическим отсечным клапаном верхнего потока. Максимальный размер отверстия фильтра должен быть не более 1,5 мм, а ячейка фильтра не должна пропускать частицу размером 1 мм.
В газовых сетях с несколькими автоматическими отсечными клапанами монтируется только один сетчатый фильтр при условии, что он обеспечивает адекватную защиту всем клапанам.
На клапанах со срезающим действием (самоочищающиеся) и на клапанах размером 1/2 (или DN 15) или меньше сетчатый фильтр может не устанавливаться.
Если регулятор установлен в верхнем потоке автоматического(их) отсечного(ых) клапана(ов), сетчатый фильтр может монтироваться в верхней части регулятора.
5.2.10 Термостаты
Встроенные механические термостаты должны соответствовать EN 257.
5.2.11 Устройство для пробы воздуха
Каждая система должна быть оснащена устройством для контроля подачи воздуха во время предварительной продувки, розжига и работы горелки [см.
6.6.1 e) и
6.6.2].
На каждом блоке горелки устанавливается сенсор.
Перед запуском системы устройство для пробы воздуха испытывается в среде без притока воздуха. Неудачное испытание не позволит запустить систему.
Сбой в подаче потока воздуха во время предварительной продувки, розжига и работы горелки станет причиной энергонезависимого/энергозависимого выключения питания и защитного отключения. Повторный запуск может произойти только после автоматического возврата.
Система контроля должна быть сконструирована таким образом, чтобы каждые 24 часа датчик давления выполнял не менее одной проверки в состоянии "без воздушного потока".
5.2.12 Автоматическая система контроля горения
5.2.12.1 Общие положения
Каждый блок горелки должен быть оснащен автоматической системой контроля горения, соответствующей EN 298:2003.
5.2.12.2 Устройства с ручным управлением
Ошибочное приведение в действие кнопок, выключателей и т.д. или их неправильная установка не должны влиять на безопасную работу автоматической системы контроля горения.
При проведении испытаний согласно
7.2.1 быстрая установка в положения "включено" и "выключено" всех указанных устройств должна быть безопасной.
5.2.12.3 Предварительная продувка
Непосредственно перед каждой попыткой розжига или открытия автоматических отсечных клапанов, систему необходимо продуть.
В условиях проведения испытаний, описанных в
7.2.2, период продувки должен составлять не менее 10 секунд.
5.2.12.4 Детектор пламени
На каждом блоке горелки детектор пламени должен включать средства для предотвращения энергоснабжения любого газового клапана и устройства розжига, если пламя или условия имитации пламени присутствуют при старте.
В случае проблем с пламенем при эксплуатации, устройство обнаружения пламени должно инициировать одно из следующих действий:
a) энергозависимое выключение питания; или
b) энергонезависимое выключение питания; или
c) одно из следующих условий, если эти попытки не вызывают аварийных состояний:
1) защитное отключение с последующим автоматическим повторным пуском или
2) восстановление искры.
Время закрытия автоматических отсечных клапанов детектором пламени при затухании пламени не должно превышать двух секунд. Данное условие должно быть проверено в условиях испытания, описанных в
7.2.4. Несмотря на это требование, в случае использования системы восстановления искры, это время может быть увеличено для повторного розжига, но не должно превышать время первого защитного отключения.
5.2.12.5 Образование пламени при пуске газа
Пламя пускового газа должно быть образовано основной горелкой или отдельными запальными горелками.
Время первого защитного отключения не должно превышать 20 секунд, защитное время должно быть указано производителем системы и подтверждено испытаниями, описанными в
7.2.3.
Искра розжига (или другие средства розжига) должна быть обесточена до выполнения предварительной продувки и во время или по окончании времени первого защитного отключения.
Автоматический отсечной клапан подачи газа при старте не должен включаться до появления искры розжига (или другого средства розжига).
Если пламя пускового газа не обнаружено по окончании времени первого защитного отключения, должно сработать энергозависимое или энергонезависимое выключение питания.
Автоматические отсечные клапаны основного газового потока не включаются и не подают основной газовый поток на горелку, пока не появится пусковое пламя.
Автоматический отсечной клапан верхнего потока в основной подаче газа может разрешить пусковую подачу газа там, где газ подается из нижнего потока первого основного автоматического отсечного клапана.
5.2.12.6 Прямое образование пламени на основной горелке
Время первого защитного отключения не должно превышать 10 секунд, защитное время должно быть указано производителем системы и подтверждено испытаниями, описанными в
7.2.3.
Искра розжига (или другие средства розжига) должна быть обесточена до выполнения предварительной продувки и во время или по окончании защитного времени.
Если используется устройство розжига с горячей поверхностью, подача энергии на устройство розжига должна осуществляться таким образом, чтобы источник поджига был способен разжечь входящий газ, до открытия газовых клапанов.
Автоматический отсечной клапан подачи газа при старте должен быть обесточен пока искра розжига (или другое средство розжига) находится под напряжением. Если основное пламя не обнаружено по окончании периода розжига, должно сработать энергозависимое или энергонезависимое выключение питания.
5.2.12.7 Выключение
Детектор пламени и устройство для пробы воздуха должны действовать на закрытие автоматических отсечных клапанов в блоке горелок. При выключении, подача энергии на вентиляторы не должна прекращаться до обесточивания автоматических отсечных клапанов. Продувка в данном случае не обязательна.
5.2.12.8 Устройства дистанционного управления
Приборы с дистанционным управлением, которые могут управляться с помощью регулятора температуры или таймера, должны подключаться к электрической сети без нарушения каких-либо внутренних соединений в приборе.
5.3.1 Общие положения
В соответствии с инструкциями производителя, розжиг прибора должен осуществляться с легкодоступного места электрическими и другими подходящими устройствами розжига, которые встроены в систему.
Запальные горелки и устройства розжига должны быть сконструированы таким образом, чтобы избежать уменьшения и исчезновения пламени под воздействием, продуктов сгорания, перегрева, конденсации, коррозии или падающих предметов.
Запальные горелки и устройства розжига и их крепления должны быть сконструированы для правильного расположения в отношении каждой части и горелки, с которыми они эксплуатируются.
5.3.2 Устройство розжига основной горелки
Основная горелка должна оснащаться запальной горелкой или соответствующим устройством прямого розжига.
5.3.3 Запальные горелки
Если для различных газов используют сменные запальные горелки, то они должны быть взаимозаменяемы, легко устанавливаться и иметь соответствующую маркировку. Данные требования распространяются на сменные форсунки. Форсунки должны иметь стойкую маркировку и заменяться только с помощью специального инструмента.
Для предотвращения выключения питания запальной горелки должны быть защищены от проникновения вместе с газом инородных тел.
Площадь поперечного сечения каналов для пламени не должна быть регулируемой.
Горелки должны быть расположены и установлены таким образом, чтобы смещение было невозможным. Возможность демонтажа горелки без инструментов должна быть исключена.
5.5 Диагностические точки давления
5.5.1 Диагностическая точка давления газа
Каждый прибор должен иметь минимум две диагностические точки давления газа. Одна должна быть расположена в верхнем потоке первого контрольного и защитного устройства, вторая - в нижнем потоке последнего контрольного устройства расхода газа. Расположение точек тщательно подбирается, чтобы обеспечить выполнение замеров.
Диагностические точки должны иметь наружный диаметр

и длину не менее 10 мм и для подключения трубки с минимальным внутренним диаметром, не превышающим 1 мм.
5.5.2 Диагностические точки давления воздуха
Кроме того, диагностическая точка давления должна быть установлена для измерения всасывания воздуха в каждый патрубок [см.
8.2.2.1 n)].
Каждая форсунка и съемный ограничитель должны иметь нестираемые средства идентификации. Должна быть обеспечена возможность замены каждой форсунки и ограничителя без необходимости перемещения конструкции с установленного положения. Тем не менее, форсунки должны демонтироваться только с помощью инструментов.
6 Эксплуатационные требования
6.1.1 Герметичность газового тракта
Газовый тракт должен быть герметичным.
Газовый тракт является герметичным, если утечка в соответствии с
7.3.1.1 не превышает 100 см
3/ч независимо от количества компонентов в блоке горелки, включенных последовательно или параллельно.
6.1.2 Герметичность сети горения
Герметичность сети горения в верхнем потоке вентилятора проверяется в соответствии с
6.7.
При испытании в условиях, описанных в
7.3.1.2, темп утечки воздуха с любой части коммуникации для отвода продуктов сгорания, включая POCED, который находится в нижнем потоке вентилятора, не должен превышать 0,10 м
3/ч на кВт от номинальной тепловой мощности.
6.2.1 Номинальная тепловая мощность
При измерении в условиях, описанных в
7.3.2.2, тепловая мощность при номинальном давлении должна составлять +/- 5% номинальной тепловой мощности.
6.2.2 Тепловая мощность пускового газа
При измерении в условиях, описанных в
7.3.2.3, тепловая мощность при номинальном давлении должна составлять +/- 5% тепловой мощности при пуске газа, заявленной производителем.
Однако этот допуск увеличивается до +/- 10% там, где форсунка имеет диаметр 0,5 мм или меньше.
6.2.3 Устройство настройки тепловой мощности
Для приборов, оснащенных устройством настройки тепловой мощности, которое по функциям аналогично устройству предварительной настройки расхода газа, установка в соответствии с
7.3.2.4 должна обеспечивать:
a) настройку номинальной тепловой мощности в пределах +/- 5% от номинальной тепловой мощности, указанной производителем, если устройство настройки тепловой мощности находится в положении, при котором достигается ее максимальное значение;
b) настройку минимальной тепловой мощности в пределах +/- 5% от минимальной тепловой мощности, указанной производителем, если устройство настройки тепловой мощности находится в положении, при котором достигается ее минимальное значение.
6.3 Предельные температуры
6.3.1 Температура боковых стенок и верхней части прибора
При испытании прибора в соответствии с
7.3.3.3.1, температура боковых стенок и верхней части прибора не должна превышать температуру окружающей среды больше, чем на 50 К.
6.3.2 Температура деталей конструкции
| | ИС МЕГАНОРМ: примечание. В официальном тексте документа, видимо, допущена опечатка: пункт 7.3.3.4 отсутствует. | |
При испытаниях прибора в соответствии с
7.3.3.2 и 7.3.3.4 максимальное значение температуры деталей конструкции не должно превышать максимально допустимое значение, указанное производителем.
При испытании прибора в соответствии с
7.3.3.3.1 внешняя температура любой части POCED, установленного в соответствии с инструкцией производителя на расстоянии не менее 25 мм от воспламеняющихся частей здания, не должна превышать температуру окружающей среды больше, чем на 50 К.
Если в соответствии с инструкциями производителя требуется, чтобы POCED был установлен в пределах другого прохода, рукава или изоляции при прохождении через воспламеняющуюся стену или потолок, внешняя температура этого прохода, рукава или изоляции не должна превышать температуру окружающей среды больше, чем на 50 К при условиях, заданных в
7.3.3.3.2.
6.4 Розжиг, перекрестное разжигание и устойчивость пламени
6.4.1 Розжиг и перекрестное разжигание
Правильный и плавный розжиг и перекрестное разжигание должны обеспечиваться при наличии испытательных условий, указанных в
7.3.4.1.1.
Когда скорость газа в любой запальной горелке уменьшается при испытательных условиях, указанных в
7.3.4.1.2, до минимальной, то для того, чтобы поддержать подачу газа на основную горелку, будет обеспечен правильный и плавный розжиг основной горелки без чрезмерного шума.
Там, где газопровод спроектирован таким образом, что газ в запальную горелку поступает из промежутка между газовыми вентилями основной горелки, должна быть гарантия, что розжиг запальной горелки в условиях, описанных в
7.3.4.1.3, не создаст аварийной ситуации.
При испытательных условиях, описанных в
7.3.4.1.4, розжиг любой запальной или основной горелки при прямом розжиге будет безопасным и без чрезмерного шума, если произойдет с задержкой, которая будет на 50% длиннее, чем защитное время, заявленное производителем.
6.4.2 Устойчивость пламени
В условиях испытаний, описанных в
7.3.4.2, пламя должно быть устойчивым. Небольшая тенденция для поднятия пламени в момент розжига является приемлемой, но при нормальной эксплуатации пламя должно быть устойчивым.
При испытании в соответствии с условиями, описанными в
7.3.5, темп не должен отличаться более чем на 7,5% и минус 10% для первого семейства газов, и более чем на +/- 5% для второго и третьего семейства газов, от начальной скорости, полученной при этих условиях.
6.6.1 Все системы (условия безветрия)
При использовании эталонного испытательного газа при условиях, описанных в
7.3.6.2:
a) для испытания N 1, концентрация угарного газа CO в сухих неразбавленных продуктах сгорания не должна превышать 0,1%;
b) для испытания N 2, концентрация угарного газа CO в сухих неразбавленных продуктах сгорания не должна превышать 0,2%;
c) для испытания N 3, концентрация угарного газа CO в сухих неразбавленных продуктах сгорания не должна превышать 0,2%.
При использовании предельного газа с образованием нагара в тех же условиях и эксплуатировании системы в течение 3 циклов по 30 минут во включенном состоянии и 30 минут в выключенном состоянии, на внутренней поверхности радиационной трубы и вентиляторе не будет отложений сажи.
При использовании эталонного испытательного газа при номинальном давлении и напряжении питания, которое изменяется в соответствии с
7.3.6.2:
d) для испытания N 4, концентрация CO в сухих неразбавленных продуктах сгорания не должна превышать 0,2%.
В этих условиях нужно удостовериться, что система осуществляет розжиг и продолжает работать.
При использовании эталонного испытательного газа при номинальном давлении и напряжении вентилятора, которое уменьшается в условиях, описанных в
7.3.6.2:
e) для испытания N 5, концентрация CO в сухих неразбавленных продуктах сгорания не должна превышать 0,2%.
6.6.2 Дополнительные испытания в специальных условиях
При использовании эталонного испытательного газа в условиях, описанных в
7.3.6.3, концентрация CO в сухих неразбавленных продуктах сгорания не должна превышать 0,2%.
В условиях, описанных в
a) 7.3.6.3, в точке выключения увеличение давления на выходе должно быть не менее 0,75 мбар для настенных систем и 0,5 мбар для систем с вертикальным вытяжным каналом.
6.7 Длительная эксплуатация
После испытания системы в условиях, описанных в
7.3.7, должны быть соблюдены следующие требования:
b) при проверке требований
6.7 a) не должно быть существенных отложений сажи, любой деформации или нарушения пламени;
c) на камере сгорания и соединениях вытяжных каналов и т.д. не должно быть признаков утечки продуктов сгорания;
d) на частях системы не должно быть проломов и деформаций, которые могут повлиять на безопасность;
e) не должно быть существенного ухудшения внешней поверхности излучающей трубы, например: отслаивание или чрезмерное окисление;
f) не должно быть признаков коррозии, которая отрицательно влияет на срок службы системы;
g) при осмотре после испытания не должно быть никаких признаков коррозии на выдувном колене или на POCED.
6.8 Измерение окислов азота NOx
Производитель должен обозначить класс NO
x, который применим для системы, в
таблице 2.
Таблица 2
Класс NOx | Максимальная концентрация NOx, мг/кВт·ч |
1 | 260 |
2 | 200 |
3 | 150 |
4 | 100 |
При измерении в соответствии с методом испытания, описанного в
7.4.1, концентрация NO
x в сухих неразбавленных продуктах сгорания должна быть такой, чтобы взвешенное значение NO
x, определенное в соответствии с
7.4.2, не превышало максимальную концентрацию NO
x в классе NO
x, который заявлен производителем.
7.1.1 Параметры эталонных испытательных и предельных газов
Системы разрабатываются для использования газов различного состава. В настоящем стандарте устанавливается соответствие тепловой мощности системы применяемым семействам или группам газов и давлениям, для которых он предназначен, а также возможности его перенастройки при необходимости.
Используемые испытательные газы, испытательные давления и категории системы, указанные в настоящем стандарте, соответствуют EN 437:2003.
Основные параметры эталонных испытательных и предельных газов приведены в
таблицах 6 и
7. Значения параметров, приведенных в
таблице 6, измерены при температуре 15 °C и соответствуют ISO 6976:1995.
7.1.2 Условия подготовки испытательных газов
Состав испытательных газов должен соответствовать
таблице 4. При изготовлении газов должны учитываться следующие положения:
a) отклонение значения числа Воббе применяемого газа должно находиться в пределах +/- 2% (с учетом погрешности измерительных приборов);
b) газы, применяемые для изготовления газовых смесей, должны иметь значения степени чистоты не ниже приведенных в
таблице 3.
Таблица 3
Степень чистоты испытательного газа
Газ | Степень чистоты, % |
Азот (N2) | 99 |
Водород (H2) | 99 |
Метан (CH4) | |
Пропилен (C3H6) | |
Пропан (C3H8) | |
| |
<a> При суммарной концентрации H 2, CO и O 2 менее 1% и при суммарной концентрации N 2 и CO 2 ниже 2%. |
--------------------------------
<*> Могут быть использованы любые смеси изобутана и
n-бутана.
Данные требования не являются обязательными для каждой отдельной составной части смеси газа, так как окончательная смесь соответствует составу, изготовленному из указанных выше составных частей. Для изготовления смеси может использоваться газ, состоящий из нескольких компонентов в определенных пропорциях.
Для газов второго семейства допускается:
c) при испытаниях с эталонными испытательными газами G20 или G25 использовать газ, принадлежащий к группе H, L или E, даже если его состав не соответствует указанным параметрам, при условии, что после добавления пропана или азота отклонение значения числа Воббе окончательной смеси от табличного значения
(таблица 4) находится в пределах +/- 2% от значения для соответствующего эталонного испытательного газа;
d) при изготовлении предельных газов в качестве основного газа вместо метана использовать:
1) природный газ группы H для предельных газов G21, G222 и G23;
2) природный газ групп H, L или E для предельных газов G27 и G231;
3) природный газ группы L для предельного газа G26.
Во всех случаях для окончательной смеси, изготовленной путем добавления пропана или азота, отклонение значения числа Воббе должно находиться в пределах +/- 2% от значения соответствующего предельного газа, приведенного в
таблице 4. Содержание водорода в окончательной смеси должно соответствовать значениям, указанным в
таблице 4.
Таблица 4
Параметры испытательных газов
<a>
(сухой газ при температуре 15 °C и давлении 1013,25 мбар)
Семейство и группа газов | Испытательные газы | Обозначение | Объемная доля | Wi | Hi | Ws | Hs | d |
% | МДж/м3 | МДж/м3 | МДж/м3 | МДж/м3 | |
Газы первого семейства <b> |
Группа A | Эталонный испытательный газ | G110 | CH4 = 26 | | | | | |
Предельный газ для неполного сгорания, появления отрыва пламени | H2 = 50 | 21,76 | 13,95 | 24,75 | 15,87 | 0,411 |
Предельный газ для появления желтых верхушек пламени | N2 = 24 | | | | | |
Предельный газ для неполного сгорания | G112 | CH4 = 17 | | | | | |
H2 = 59 | 19,48 | 11,81 | 22,36 | 13,56 | 0,367 |
N2 = 24 | | | | | |
N2 = 7,5 | | | | | |
Газы второго семейства |
Группа H | Эталонный испытательный газ | G20 | CH4 = 100 | 45,67 | 34,02 | 50,72 | 37,78 | 0,555 |
Газ неполного сгорания | G21 | CH4 = 87 | | | | | |
Предельный газ для появления желтых верхушек пламени | | C3H8 = 13 | 49,60 | 41,01 | 54,76 | 45,28 | 0,684 |
Предельный газ для неполного сгорания | G222 | CH4 = 77 | 42,87 | 28,53 | 47,87 | 31,86 | 0,443 |
Предельный газ для отрыва пламени | | H2 = 23 | | | | | |
| G23 | CH4 = 92,5 | 41,11 | 31,46 | 45,66 | 34,95 | 0,586 |
| | N2 = 7,5 | | | | | |
Группа L | Эталонный испытательный газ | G25 | CH4 = 86 | 37,38 | 29,25 | 41,52 | 32,49 | 0,612 |
Предельный газ для проскока пламени | | N2 = 14 | | | | | |
Газ неполного сгорания | G26 | CH4 = 80 | | | | | |
Предельный газ для появления желтых верхушек пламени | | C3H8 = 7 | 40,52 | 33,36 | 44,83 | 36,91 | 0,678 |
Предельный газ для отрыва пламени | | N2 = 13 | | | | | |
| G27 | CH4 = 82 | 35,17 | 27,89 | 39,06 | 30,98 | 0,629 |
| | N2 = 18 | | | | | |
Группа E | Эталонный испытательный газ | G20 | CH4 = 100 | 45,67 | 34,02 | 50,72 | 37,78 | 0,555 |
Неполное сгорание | G21 | CH4 = 87 | 49,60 | 41,01 | 54,76 | 45,28 | 0,684 |
Появление желтых верхушек пламени | | C3H8 = 13 | | | | | |
Предельный газ для неполного сгорания | G222 | CH4 = 77 | 42,87 | 28,53 | 47,87 | 31,86 | 0,443 |
Предельный газ для отрыва пламени | | H2 = 23 | | | | | |
G231 | CH4 = 85 | 36,82 | 28,91 | 40,90 | 32,11 | 0,617 |
| N2 = 15 | | | | | |
Газы третьего семейства <c> |
Третье семейство и группы 3B/P и 3B | Эталонный испытательный газ | G30 | nC4H10 = 50 | 80,58 | 116,09 | 87,33 | 125,81 | 2,075 |
Предельный газ для неполного сгорания и появления желтых верхушек пламени | C4H10 = 50 | | | | | |
Предельный газ для отрыва пламени | G31 | C3H8 = 100 | 70,69 | 88,00 | 76,84 | 95,65 | 1,550 |
Предельный газ для неполного сгорания | G32 | C3H6 = 100 | 68,14 | 82,78 | 72,86 | 88,52 | 1,476 |
Группа 3P | Эталонный испытательный газ и предельный газ для неполного сгорания, появления желтых верхушек пламени и отрыва пламени | G31 | C3H8 = 100 | 70,69 | 88,00 | 76,84 | 95,65 | 1,550 |
| Предельный газ для проскока пламени и появления желтых верхушек пламени <d> | G32 | C3H6 = 100 | 68,14 | 82,78 | 72,86 | 88,52 | 1,476 |
| | ИС МЕГАНОРМ: примечание. В официальном тексте документа, видимо, допущена опечатка: приложение B.4 и пункт 4 в приложении B отсутствуют. | |
|
<a> Для газов в соответствии с национальными или региональными условиями газоснабжения см. приложение B.4. <b> Для других групп см. приложение B.4. |
7.1.3 Рекомендации по применению испытательных газов
7.1.3.1 Выбор испытательных газов
В других разделах для облегчения проведения испытаний допускается замена эталонного испытательного газа другим газом при условии, что его число Воббе находится в пределах +/- 5% от значения соответствующего эталонного испытательного газа.
Если прибор может работать с газами нескольких групп или семейств, то выбираются испытательные газы с параметрами, приведенными в
таблице 2, в соответствии с
7.1.5.1. В
таблице 8 приведены категории систем и соответствующие им газы.
7.1.3.2 Условия подачи газа и регулировки основной горелки
7.1.3.2.1 Первоначальная регулировка блока горелки
Перед проведением испытаний прибор должен оснащаться деталями (форсункой(ами), соответствующими семейству или группе газов, которые используются с указанными испытательными газами (см.
таблицу 5).
Таблица 5
Теплота сгорания испытательных газов третьего семейства
Обозначение испытательного газа | Hi | Hs |
мДж/кг | мДж/кг |
G30 | 45,65 | 49,47 |
G31 | 46,34 | 50,37 |
G32 | 45,77 | 48,94 |
Устройство предварительной настройки расхода газа настраивают в соответствии с инструкцией производителя для работы с соответствующим(ими) эталонным(ыми) испытательным(ыми) газом(ами)
(7.1.5.1) и давлением(ями) согласно
7.1.4.
Предварительная настройка приборов осуществляется в соответствии с
5.1.1.
7.1.3.2.2 Давления питания
Для испытаний должны применяться минимальное и максимальное давления питания согласно
7.1.4, за исключением тех случаев, когда необходима настройка давления питания в соответствии с
7.1.3.2.3 и
7.1.3.2.4.
Если не оговорено иное, первоначальная регулировка горелки не изменяется.
7.1.3.2.3 Настройка тепловой мощности
При испытаниях, для которых необходима настройка горелки на номинальную или на заданную тепловую мощность, должно быть установлено такое давление на выходе сопел, чтобы значение тепловой мощности находилось в пределах +/- 2% от устанавливаемого значения (с помощью устройства предварительной настройки, регулятора давления газа или настройки присоединительного давления).
При работе прибора с соответствующим(ими) эталонным(ыми) испытательным(ыми) газом(ами) тепловую мощность определяют в соответствии с
7.3.2.
7.1.3.2.4 Корректировка давлений
Если для достижения номинальной тепловой мощности в пределах +/- 2% необходимо использовать давление на входе p, отличающееся от номинального давления pn, то испытания при минимальном pmin и максимальном pmax давлениях следует проводить при скорректированных давлениях p'min и p'max.
Таблица 6
Испытательные газы для категорий систем
Категории систем | Эталонный испытательный газ | Предельный газ с неполным сгоранием | Предельный газ с обратным движением | Предельный газ с подъемом | Коптящий предельный |
I2H | G20 | G21 | G222 | G23 | G21 |
I2L | G25 | G26 | G25 | G27 | G26 |
I2E, I2E+ | G20 | G21 | G222 | G231 | G21 |
I3B/P, I3+ | G30 | G30 | G32 | G31 | G30 |
I3P | G31 | G31 | G32 | G31 | G31, G32 |
I3B | G30 | G30 | G32 | G31 | G30 |
II1a2H | G110, G20 | G21 | G112 | G23 | G21 |
II2H3B/P | | | | | |
II2H3+ | G20, G30 | G21 | G222, G32 | G23, G31 | G30 |
II2H3P | G20, G31 | G21 | G222, G32 | G23, G31 | G31, G32 |
II2L3B/P | G25, G30 | G26 | G32 | G27, G31 | G30 |
II2L3P | G25, G31 | G26 | G32 | G27, G31 | G31, G32 |
II2E3B/P | | | | | |
II2E+3B/P | G20, G30 | G21 | G222, G32 | G231, G31 | G30 |
II2E+3+ | | | | | |
II2E+3P | G20, G31 | G21 | G222, G32 | G231, G31 | G31, G32 |
Примечание - Испытания с предельными газами проводят с тем же соплом и при той же настройке, которые соответствуют эталонному испытательному газу, к группе которого относится предельный газ, применяемый для испытаний. |
Корректировка испытательных давлений рассчитывается по формуле

(1)
где pn - номинальное испытательное давление;
pmin - минимальное испытательное давление;
pmax - максимальное испытательное давление;
p - давление на входе;
p'min - корректируемое минимальное испытательное давление;
p'max - корректируемое максимальное испытательное давление.
7.1.4 Испытательные давления
Испытательные давления (т.е. давления на входном патрубке блока горелки) приведены в
таблицах 7 и
8.
Примечание - Испытательные давления и соответствующие форсунки применяются в соответствии со специальными условиями, указанными в
приложении B, для страны, в которой прибор будет применяться (см.
приложение F и
приложение I для национальных условий).
Таблица 7
Испытательные давления без использования пары давлений
<a>
Индексы категорий систем | Испытательный газ | pn | pmin | pmax |
мбар | мбар | мбар |
Первое семейство: 1A | G110, G112 | 8,0 | 6,0 | 15,0 |
Второе семейство: 2H | G20, G21, G222, G23 | 20,0 | 17,0 | 25,0 |
Второе семейство: 2L | G25, G26, G27 | 25,0 | 20,0 | 30,0 |
Второе семейство: 2E | G20, G21, G222, G231 | 20,0 | 17,0 | 25,0 |
Третье семейство: 3B/P | G30, G31, G32 | | 25,0 | 35,0 |
G30, G31, G32 | 50,0 | 42,5 | 57,5 |
Третье семейство: 3P | G31, G32 | 37,0 | 25,0 | 45,0 |
G31, G32 | 50,0 | 42,5 | 57,5 |
| G30, G31, G32 | 29,0 | 20,0 | 35,0 |
| | ИС МЕГАНОРМ: примечание. В официальном тексте документа, видимо, допущена опечатка: таблица B.4 отсутствует. | |
|
<a> Для газов, применяемых на региональном уровне, в соответствии с таблицей B.4. <b> Системы данной категории могут использоваться без настройки при давлениях питания от 2,8 до 3,0 кПа (от 28 до 30 мбар). <c> Испытания с G31 и G32 осуществляются только при номинальном давлении ( pn = 29 мбар), эти испытательные газы должны быть более интенсивны, чем газы из группы 3B. Это условие распространяется на нормальные вариации подачи газа. |
Таблица 8
Испытательные давления с использованием пары давлений
Индексы категорий приборов | Испытательный газ | pn | pmin | pmax |
мбар | мбар | мбар |
Второе семейство: 2E+ | G20, G21, G222 | 20,0 | | 25,0 |
G231 | | 17,0 | 30,0 |
Третье семейство: 3+ | G30 | | 20,0 | 35,0 |
(28 - 30/37 термопара) | G31, G32 | 37,0 | 25,0 | 45,0 |
Третье семейство: 3+ | G30 | 50,0 | 42,5 | 57,5 |
(пара давлений 50/67) | G31, G32 | 67,0 | 50,0 | 80,0 |
Третье семейство: 3+ | G30 | 112,0 | 60,0 | 140,0 |
(пара давлений 112/148) | G31, G32 | 148,0 | 100,0 | 180,0 |
<a> Распространяется на газы с низшим числом Воббе, испытания при этом давлении не проводят. <c> Системы данной категории могут использоваться без настройки при давлениях от питания 28 до 30 мбар. |
При определенных обстоятельствах производитель системы может указать значение номинального давления системы на выходе, отличное от значений, приведенных в
таблицах 7 и
8. В этих случаях альтернативное давление и соответствующая(ие) форсунка(и) используются для испытания системы и определения значений
pmin и
pmax в соответствии с
7.1.3.2.4.
7.1.5 Методы испытаний
7.1.5.1 Испытания с эталонными испытательными газами
Испытания проводят только с одним из эталонных испытательных газов (см.
7.1.1) для соответствующей категории систем при испытательном давлении согласно
7.1.4. Выбранный эталонный испытательный газ обозначается как "эталонный испытательный газ".
Испытательное давление должно соответствовать давлению, указанному производителем, и блок горелки должен оснащаться соответствующей(ими) форсункой(ами).
Примечание - Испытания, проводимые в соответствии с
7.3.2,
7.3.4 и
7.3.5, проводят с каждым эталонным испытательным газом, применяемым в стране, в соответствии с
приложением A.
Испытания, проводимые в соответствии с
7.3.2,
7.3.4 и
7.3.5, проводят с каждым эталонным испытательным газом, применяемым в стране, в соответствии с
A.3 (приложение A).
7.1.5.2 Испытания с предельными газами
Испытания должны проводиться с предельными газами для соответствующей категории систем (см.
таблицу 6), а также с той же форсункой(ами) и при той же настройке, которые соответствуют группе или семейству эталонного испытательного газа, к которым относится данный предельный газ.
7.1.6 Общие условия проведения испытаний
7.1.6.1 Помещение для проведения испытаний
Прибор устанавливается в хорошо проветриваемом помещении, без сквозняков, с температурой окружающей среды (20 +/- 5) °C. Допускается более широкий диапазон температур при учете его воздействия на результаты испытаний.
7.1.6.2 Удаление продуктов сгорания
Если система оснащена газовым каналом и крепится к стене, то при проведении испытания диаметр газового канала должен быть таким же, как диаметр выходного устройства газового канала, и иметь максимальное эквивалентное сопротивление, заявленное производителем.
Системы с вертикальным газовым каналом испытываются следующим образом:
a) системы с вертикальным выходным устройством газового канала при испытании оснащаются дополнительным вертикальным каналом, который поставляется вместе с прибором или указывается производителем прибора. Этот дополнительный канал должен иметь минимальное эквивалентное сопротивление, указанное в инструкции производителя;
b) системы с горизонтальным выходным устройством газового канала устанавливаются согласно инструкции производителя, в которой указывается максимальная длина горизонтального отрезка и способ подгонки к вертикальному газовому каналу. После этого устанавливается вертикальный газовый канал согласно описанию, приведенному в
7.1.6.2, перечисление a).
Если не оговорено иное, газовый канал будет без изоляции.
7.1.6.3 Испытание установки
Один блок горелки устанавливается на подходящей длине радиационной трубы, материал и размеры которой оговорены в инструкции производителя. Горелка оснащается заслонкой, что позволяет регулировать всасывание в трубе в пределах, заявленных производителем.
Весь узел соединен с вентилятором, который при проведении испытания должен иметь такие же характеристики, как и вентилятор, который производитель заявил для использования в системе.
При необходимости можно установить дополнительные трубы с заслонкой, чтобы смоделировать эффект воздействия других частей системы на испытываемый узел с одной горелкой.
Для удобства проведения испытания установку можно разместить на любой высоте от пола, которая не указана в инструкции производителя, но не влияет на работу системы.
7.1.6.4 Воздействие термостатов
Следует принимать меры, чтобы термостаты или другие устройства регулировки при установке не проникали в газовый тракт и не нарушали его герметичность, за исключением случаев, необходимых для испытаний.
7.1.6.5 Электропитание
При отсутствии других требований прибор подключается к электрической сети с номинальным напряжением.
7.1.6.6 Горелки с установленным рабочим диапазоном
Для горелок, которые спроектированы с установленным рабочим режимом, все испытания проводятся при их максимальной и минимальной номинальной тепловой мощности.
7.2.1 Устройства с ручным управлением (автоматической системы контроля горения)
Система устанавливается согласно
7.1.6 и работает при номинальной тепловой мощности согласно
7.1.3.2.3 с соответствующим эталонным испытательным газом (см.
таблицу 4). Пусковой выключатель 10 раз переключают вручную, каждый раз на 5 секунд.
7.2.2 Предварительная продувка
Необходимо разжечь горелку в соответствии с инструкциями производителя, и измерить промежуток времени между сигналом полного потока воздуха для горения и подачей напряжения на систему розжига.
7.2.3 Время безопасного закрытия
Необходимо перекрыть подачу газа к системе. В соответствии с инструкцией производителя необходимо осуществить розжиг прибора, и измерить промежуток времени между сигналами для закрытия и открытия клапана. Этот промежуток времени сопоставляется с защитным временем, указанным производителем.
Необходимо перекрыть подачу газа к основной горелке при работающей системе. Также измерить промежуток времени между моментом затухания горелки и подачи сигнала для закрытия клапана.
7.3 Безопасность эксплуатации
7.3.1 Герметичность
7.3.1.1 Герметичность газового тракта
Для приборов, которые работают только с газами первого и/или второго семейств, испытания проводят при давлении воздуха на входе прибора 50 мбар, а входной клапан испытывают при давлении воздуха 150 мбар. Для приборов, которые работают с газами третьего семейства, все испытания проводят при давлении воздуха 150 мбар.
Все устройства регулировки блокируют в максимально открытом положении, чтобы избежать повреждений.
Проверку требований
6.1.1 проводят при следующих условиях:
a) все клапаны подачи основного газа последовательно проверяют на герметичность в закрытом положении, при этом все другие клапаны должны быть открыты;
b) все газовые клапаны открывают, форсунки для запальных и основных горелок демонтируют или герметизируют отверстия.
Перекрытие подачи газа к запальным горелкам при испытаниях осуществляется в определенном месте, если конструкцией не предусмотрено перекрытие газовых сетей. В этом случае проводят дополнительные испытания с мыльным раствором для подтверждения того, что при работе запальной горелки при номинальном давлении утечка газа отсутствует.
Для определения утечки используют метод объемного анализа, который позволяет выполнить измерения с точностью 0,01 дм3/ч.
Первый раз испытания проводят при изготовлении прибора, а второй раз - после окончания всех испытаний, указанных в настоящем стандарте. Все герметичные соединения в газовом тракте, демонтаж которых предусмотрен в инструкции производителя по монтажу, демонтируют и монтируют пять раз.
7.3.1.2 Герметичность сети сгорания
Испытание проводится с использованием POCED, которое имеет максимальное эквивалентное сопротивление, указанное в инструкции производителя. Изолируется вход и выход выходного канала. Впускается воздух в выходной канал и фиксируется расход воздуха, когда давление в канале будет эквивалентно максимальному эквивалентному сопротивлению.
Проверяется, что скорость утечки, указанная в
6.1.2, не превышена.
В настоящем стандарте все значения тепловой мощности определяются по значениям объемного расхода газа (
V0) или массового расхода газа (
M0), которые относятся к значениям, установленным при стандартных условиях испытаний с эталонным испытательным газом (сухой газ при температуре 15 °C и давлении 1013,25 мбар. Тепловую мощность по отношению к низшей или высшей теплоте сгорания (
Q0), кВт, вычисляют по
формулам (2) или
(3).
Q0 = 0,278·
M0·
Hi (
или Hs) (2)
или
Q0 = 0,278·
V0·
Hi (
или Hs), (3)
где M0 - массовый расход газа при стандартных условиях, кг/ч;
V0 - объемный расход газа при стандартных условиях, м3/ч;
Hi - низшая теплота сгорания эталонного испытательного газа (сухой газ, 15 °C, 1013,25 мбар)
формула (3), МДж/м
3;
Hs - высшая теплота сгорания эталонного испытательного газа (сухой газ, 1013,25 мбар), МДж/кг,
формула (2) или
(3).
Измерения массового и объемного расхода должны проводиться с эталонным испытательным газом при стандартных условиях, то есть при условии, что сухой газ в помещении при температуре 15 °C и давлении 101,325 кПа (1013,25 мбар).
Если условия испытаний не соответствуют стандартным, то фактически полученные значения массового и объемного расхода корректируют таким образом, чтобы они соответствовали значениям, которые были бы получены, если условия испытаний соответствовали стандартным.
Скорректированный массовый расход M0 определяют с использованием массового расхода M по формуле

(4)
где M0 - скорректированный массовый расход при испытаниях, кг/ч;
M - массовый расход при испытаниях, кг/ч;
pa - атмосферное давление, мбар;
p - давление подачи газа, мбар;
tg - температура газа в точке измерения, °C;
d - плотность сухого газа по отношению к сухому воздуху;
dr - плотность эталонного испытательного газа по отношению к сухому воздуху.
Скорректированный объемный расход V0 определяют с использованием объемного расхода V по формуле

(5)
где V0 - объемный расход при стандартных условиях, м3/ч;
V - объемный расход, полученный при испытаниях, м3/ч;
pa - атмосферное давление, мбар;
p - присоединительное давление газа, мбар;
tg - температура газа в точке измерения, °C;
d - плотность сухого газа по отношению к сухому воздуху;
dr - плотность эталонного испытательного газа по отношению к сухому воздуху.
Скорректированный массовый расход рассчитывают по формуле
M0 = 1,226·V0·d, (6)
где M0 - скорректированный массовый расход при испытаниях, кг/ч;
V0 - объемный расход при стандартных условиях, м3/ч;
d - плотность сухого газа относительно сухого воздуха.
Данные формулы применяют для расчета значений M0 или V0 при стандартных условиях по значениям массового расхода M или объемного расхода V, полученным при испытаниях.
Данные формулы также применяют при использовании сухого испытательного газа.
При применении счетчика влажного газа (заполненного водой) или насыщенного газа значение d (плотность сухого газа по отношению к сухому воздуху) заменяется значением плотности влажного газа dh и вычисляют по формуле

(7)
где pw - давление насыщенного пара испытательного газа при температуре tg, мбар.
7.3.2.2 Номинальная тепловая мощность
Испытания проводят в соответствии с
7.1.4 при давлении, указанном производителем.
На прибор последовательно устанавливают соответствующие форсунки с последующей настройкой согласно
7.1.3.2.1. Тепловую мощность определяют в соответствии с
7.3.2.1 для каждого эталонного испытательного газа.
Испытания прибора проводят в установившемся режиме работы при отключенных термостатах.
Полученную тепловую мощность
Q0 сравнивают с номинальной тепловой мощностью
Qn для проверки выполнения требований
6.2.1.
7.3.2.3 Тепловая мощность пускового газа
Испытания проводятся при указанном производителем номинальном давлении
pn согласно
7.1.4, используя устройство, которое обеспечивает возможность эксплуатации пламени пускового газа.
На блок горелки последовательно устанавливают соответствующие форсунки с последующей настройкой согласно
7.1.3.2.1. Тепловую мощность для эталонных испытательных газов определяют согласно
7.3.2.1 для каждого эталонного испытательного газа.
Измерения проводят непосредственно после воспламенения пускового газа. Значение полученной тепловой мощности сравнивают со значением, указанным производителем, для проверки выполнения требований
6.2.2.
7.3.2.4 Эффективность устройства для установки рабочего диапазона
Эти испытания проводятся согласно
7.3.2.2 для двух крайних положений устройства для установки рабочего давления.
7.3.3 Предельные температуры
7.3.3.1 Температуры стенок и верхней панели
7.3.3.1.1 Оборудование
Оборудование состоит из вертикальных деревянных стенок и горизонтальной верхней панели. Вертикальная стенка не менее 1200 мм в высоту и 1200 мм в ширину. Верхняя панель не менее 1200 мм в глубину и аналогична ширине стенки. Стенка и верхняя панель должны быть покрыты слоем черной матовой краски толщиной 25 мм.
Для настенных систем верхняя панель размещена таким образом, чтобы один край находился напротив поверхности стенки (см.
рисунок 2 a).
a) Расположение для настенных систем
b) Расположение для установок
с большими горизонтальными зазорами
1 - передняя часть стены; 2 - участок около термопары
Рисунок 2 - Установка для измерения температуры
стенок и потолка
Такое расположение не может быть применимо к другим видам установок (например: подвешивание под потолком), если большое горизонтальное расстояние указывается производителем. В этом случае деревянные панели толщиной 25 мм могут быть применены для заполнения пространства между потолочными панелями и стенкой (см.
рисунок 2 b).
Термопары монтируются в каждую панель на расстоянии 100 мм между центрами. Термопары встроены в каждую панель со стороны, удаленной от установки; крепления фиксируются в 3 мм от поверхности деревянных панелей, примыкающих к блоку горелки.
7.3.3.1.2 Процедура
Необходимо установить блок горелки и соединить с оборудованием (см.
7.1.6.3) в соответствии с инструкциями производителя относительно (см.
8.2).
Испытание проводится с испытательным аппаратом, расположенным рядом с деталями установки, которые имеют максимальный эффект нагрева.
Если производитель указывает наличие большого горизонтального зазора, потолочная панель должна быть расположена по центру над деталями установки, которые имеют максимальный эффект нагрева. Любые зазоры между потолочной панелью и стенкой должны быть заполнены, как показано на
рисунке 2 b).
Если инструкции производителя указывают альтернативные методы установки (настенный монтаж, потолочный подвес и т.д.), необходимо повторить испытание с установкой, прикрепленной к аппарату соответственно.
Блок горелки поставляется с одним из эталонных испытательных газов, указанных в
7.1.1, в соответствии с категорией и настройкой по
7.1.3.2.1.
Во время испытания тепловая мощность горелки соответствует номинальной. Все измерения проводятся по достижении термического равновесия. Заслонка узла с горелкой регулируется для обеспечения минимального всасывания, заявленного производителем. Рекомендуется, чтобы для этого испытания система была расположена в помещении с температурой окружающей среды, составляющей примерно 20 °C.
7.3.3.2 Температура деталей конструкции
При испытаниях горелки в соответствии с
7.3.3.1 температуру деталей конструкции измеряют в установившемся режиме работы прибора и после отключения прибора по окончании испытания.
Температура деталей конструкции измеряется с помощью установленных термопар, имеющих спай. Допускается применение термопар, соответствующих EN 60584-1:1995, с погрешностью измерений термоэлектрического напряжения в соответствии с EN 60584-2:1993, класс 2.
Если имеется вероятность повышения температуры на каком-либо электрическом узле (например, автоматическом отсечном клапане), его температуру не измеряют. В этом случае термоэлементы или аналогичные устройства устанавливают для измерения температуры окружающей среды вокруг узла.
Температуру деталей считают удовлетворительной, если выполняется условие формулы
tmeasured <= tmax + tambient - 25 °C, (8)
где tmeasured - максимальная измеренная температура детали, °C;
tmax - максимальная допустимая температура детали, указанная производителем, °C;
tambient - температура окружающей среды, °C.
7.3.3.3 POCED
При проведении испытания прибор устанавливают в соответствии с инструкцией производителя, при этом любая деталь POCED должна располагаться на расстоянии не менее 25 мм от воспламеняющихся частей здания.
Прибор устанавливают в соответствии с
7.1.6.3 и прикрепляют температурные датчики к внешней поверхности POCED, расположенной на расстоянии не менее 25 мм от воспламеняющихся частей здания. Температурные датчики должны использоваться в соответствии с требованиями EN 60584-1:1995 с пределами точности термоэлектрического напряжения - в соответствии с EN 60584-2:1993, класс 2.
Прибор снабжают одним из эталонных газов, указанных в
7.1.1, в зависимости от категории и настраивают в соответствии с требованиями
7.1.3.2.1.
Испытание прибора проводят при номинальной тепловой мощности. Все измерения проводят при установившемся рабочем режиме. Испытания проводят в помещении с температурой окружающей среды около 20 °C.
В конце испытания необходимо проверить, что максимальное повышение температуры POCED не превышает пределов, установленных в
6.3.3.
При проведении испытания прибор устанавливают в соответствии с инструкцией производителя, при этом часть POCED, проходящая через воспламеняющиеся части здания, должна располагаться в коробе, рукаве или изоляции.
Прибор устанавливают в соответствии с
7.1.6.3. Выходной канал, патрубок или изоляция, ограждающие POCED, должны быть оборудованы в соответствии с инструкциями производителя. Выходной канал, патрубок или изоляция должны иметь такие размеры и конструкцию, чтобы при охватывании части POCED длиной 350 мм располагаться к прибору так близко, как позволяют инструкции производителя.
Соединяются спаи термопары с внешней поверхностью выходного канала, патрубка или изоляции, а потом накрывается этот канал, патрубок или изоляция слоем изоляции толщиной 25 мм. Термопары должны отвечать требованиям EN 60584-1:1995, пределы погрешности термоэлектрического напряжения - EN 60584-1:1993 (класс 2).
Прибор снабжают одним из эталонных газов, указанных в
7.1.1, в зависимости от категории и настраивают в соответствии с требованиями
7.1.3.2.1.
Испытание прибора проводят при номинальной тепловой мощности. Все измерения проводят при установившемся рабочем режиме. Испытания проводят в помещении с температурой окружающей среды около 20 °C.
В конце испытания необходимо проверить, что максимальное повышение температуры POCED не превышает пределов, установленных в
6.3.3.
7.3.4 Розжиг, перекрестное разжигание и устойчивость пламени
7.3.4.1 Розжиг и перекрестное разжигание
7.3.4.1.1 Испытания со всеми газами
При отсутствии других указаний испытания проводят как при холодном состоянии прибора, так и в установившемся режиме работы.
Испытания проводятся в соответствии со следующими пунктами:
a) прибор, предназначенный для установки в дымоходе, находящемся в стене, должен крепиться к дымоходу с минимальным и максимальным эквивалентным сопротивлением, указанным производителем;
b) прибор, предназначенный для установки в вертикальном дымоходе, находящемся на крыше, должен крепиться к вертикальному дымоходу с минимальным и максимальным эквивалентным сопротивлением, указанным производителем.
Блок горелок изначально отрегулирован в соответствии с
7.1.3.2.1 и испытаниями, описанными в
перечислениях c) и
d) 7.3.4.2, которые проводятся с установленной заслонкой, отрегулированной таким образом, чтобы обеспечить поочередно максимальные и минимальные эксплуатационные силы, указанные производителем.
c) Испытание 1
Испытание прибора проводят с соответствующими эталонными испытательными и предельными газами (см.
таблицу 6) при номинальном давлении в соответствии с
7.1.4.
За исключением этих условий, проверяется правильность розжига основной или запальной горелок, правильность розжига основной горелки с помощью запальной горелки и перекрестное зажигание различных деталей горелки.
d) Испытание 2
Данное испытание проводят без изменения предварительной настройки основной и запальной горелок. В горелку подают эталонный испытательный газ, давление на входе прибора снижают до 70% номинального давления или до минимального давления согласно
7.1.4. При этом используют меньшее значение.
За исключением этих условий, проверяется правильность розжига основной или запальной горелок, правильность розжига основной горелки с помощью запальной горелки и перекрестное зажигание различных деталей горелки.
e) Испытание 3
Соответствующие предельные газы с подъемом пламени и обратным движением последовательно замещаются газом сравнения без изменения первоначальной настройки основной и запальной горелок. Давление на входе в блок горелки понижается до минимального давления, указанного в
7.1.4.
При этих условиях проверяется правильность розжига основной или запальной горелок, правильность розжига основной горелки с помощью запальной горелки и перекрестное зажигание различных деталей горелки.
7.3.4.1.2 Уменьшение пламени в запальной горелке
Испытание проводится как в холодном состоянии установки, так и при термическом равновесии в условиях безветрия согласно
7.1.6.2.
Первоначальная настройка блока горелки выполняется согласно
7.1.3.2.1. В горелку подаются соответствующие газы сравнения (см.
таблицу 6) при номинальной тепловой мощности.
Потом расход газа в запальной горелке уменьшается до минимума, достаточного, чтобы поддерживать подачу газа в основную горелку.
Необходимое уменьшение расхода газа запальной горелки может быть достигнуто:
a) с помощью регулятора расхода запальной горелки при его наличии; если это невозможно; или
b) с помощью регулятора, вмонтированного с этой целью в систему подачи газа в запальную горелку.
Затем проверяют правильность розжига основной горелки с помощью горелки розжига.
Если запальная горелка имеет несколько выходных отверстий, то для этого испытания все отверстия запальной горелки блокируют, за исключением отверстия, используемого для сенсора пламени.
7.3.4.1.3 Неисправное закрытие газового клапана основной горелки
Испытание проводится как в холодном состоянии установки, так и при термическом равновесии в условиях безветрия согласно
7.1.6.2. Прибор первоначально регулируется в соответствии с
7.1.3.2.1 и поставляется с соответствующими эталонными испытательными газами (см.
таблицу 6) при номинальной тепловой мощности с автоматическим газовым клапаном и открытом автоматическом газовом клапане нижнего потока. Правильность розжига системы проверяется.
7.3.4.1.4 Испытание задержки розжига
Испытание проводится как в холодном состоянии установки, так и при термическом равновесии в условиях безветрия согласно
7.1.6.2 при минимальном всасывании, указанном производителем.
Прибор первоначально регулируется в соответствии см.
7.1.3.2.1 и снабжается соответствующими эталонными газами (см.
таблицу 6) при номинальной тепловой мощности.
Розжиг запальной или основной горелки при прямом розжиге, проверяется. Испытание повторяется, с постепенной задержкой розжига максимум и доводится до максимального значения, которое на 50% продолжительнее защитного времени, заявленного производителем.
Для того чтобы выполнить задержку розжига, обычно требуется установить независимое управление над автоматическими отсечными клапанами для пускового и основного газа и над работой устройства для розжига. Надлежащий монтаж должен обеспечить подачу напряжения, независимую от автоматической системы контроля горения, на соответствующий газовый(ые) клапан(ы) и устройство розжига. В целях безопасности задержка розжига должна увеличиваться поэтапно.
Блок горелки не должен подвергаться повреждениям, которые могут повлиять на его безопасную эксплуатацию.
7.3.4.2 Устойчивость пламени
Испытания проводятся в соответствии со следующими пунктами:
a) прибор, предназначенный для установки с газовым каналом, находящимся в стене, должен крепиться к газовому каналу с минимальным и максимальным эквивалентным сопротивлением, указанным производителем;
b) прибор, предназначенный для установки с газовым каналом, находящимся на крыше, должен крепиться к газовому каналу с минимальным и максимальным эквивалентным сопротивлением, указанным производителем.
Блок горелок изначально отрегулирован в соответствии с
7.1.3.2.1 и испытаниями, описанными в
перечислениях c) и
d) 7.3.4.2, которые проводятся с установленной заслонкой, отрегулированной таким образом, чтобы обеспечить поочередно максимальные и минимальные эксплуатационные силы, указанные производителем.
Без изменения предварительной настройки основной или запальной горелок эталонный испытательный газ последовательно заменяют соответствующим предельным газом для проскока пламени, а давление на входе прибора снижают до минимального значения в соответствии с
7.1.4.
При этих условиях проверяют стабильность пламени.
Без изменения предварительной настройки основной или запальной горелок эталонный испытательный газ последовательно заменяют соответствующими предельными газами для отрыва и проскока пламени, а давление на входе прибора повышают до максимального значения в соответствии с
7.1.4.
При этих условиях проверяют стабильность пламени.
Если блок горелки имеет подходящий регулятор, он корректируется, если необходимо обеспечить номинальную тепловую мощность с эталонным испытательным газом при номинальном давлении, указанном в
7.1.4. Сохраняя первоначальную регулировку, входное давление изменяется между соответствующими минимальными и максимальными клапанами. Испытание проводится для всех эталонных испытательных газов, для которых регулятор не выведен из эксплуатации.
7.3.6.1 Общие положения
Испытания проводятся в соответствии со следующими пунктами:
a) прибор, предназначенный для установки с газовым каналом, находящимся в стене, должен крепиться к газовому каналу с минимальным и максимальным эквивалентным сопротивлением, указанным производителем;
b) прибор, предназначенный для установки с газовым каналом, находящимся на крыше, должен крепиться к газовому каналу с минимальным и максимальным эквивалентным сопротивлением, указанным производителем.
Прибор настраивают на номинальную тепловую мощность в соответствии с
7.1.3.2.3.
Продукты сгорания собираются таким образом, чтобы обеспечить показательный образец без влияния на производительность, а концентрация угарного и углекислого газа должна быть определена.
Концентрация угарного газа CO измеряется с помощью прибора, способного определить концентрацию угарного газа в пределах между объемными частями 5·10-5 и 100·10-5.
Концентрации угарного газа CO и углекислого газа CO2 измеряют с точностью до +/- 6%.
Для всех испытаний проба выполняется, когда установка достигает нагретого состояния при эксплуатации в заданных условиях.
Концентрацию угарного газа CO в сухих неразбавленных продуктах сгорания (нейтральное горение) вычисляют по формуле

(9)
где VCO,N - концентрации CO в сухих неразбавленных продуктах сгорания, %;

- расчетная концентрация CO
2 в сухих неразбавленных продуктах сгорания, %;
VCO,M и

- соответствующие концентрации CO и CO
2 в пробе, выраженные в одинаковых единицах измерения, которые получены при испытаниях.
Значения

(нейтральное горение) приведены для испытательных газов в
таблице 9.
Таблица 9
| | ИС МЕГАНОРМ: примечание. В официальном тексте документа, видимо, допущена опечатка: пункт 7.2.6 отсутствует. | |
Значения

(см. 7.2.6)
Обозначение газа | G110 | G20 | G21 | G25 | G26 | G30 | G31 |
| 7,6 | 11,7 | 12,2 | 11,5 | 11,8 | 14,0 | 13,7 |
Концентрацию CO в сухих неразбавленных продуктах сгорания VCO,N, %, вычисляют по формуле

(10)
где

и
VCO,M - концентрации кислорода и угарного газа в образце, %.
Данную формулу применяют для расчета, если необходима большая точность, чем при расчете концентрации CO2.
7.3.6.2 Условия безветрия
Испытания, описанные в
перечислениях a) -
e) 7.3.6.2, проводятся в условиях безветрия, при этом заслонка узла с блоком горелки регулируется так, чтобы обеспечить попеременное максимальное и минимальное всасывание, указанное производителем, если не указано иное.
Без изменения предварительной настройки горелок прибор, в зависимости от его категории, работает с соответствующими эталонными испытательными газами (см.
таблицу 6), а давление на входе в блок горелки повышают до заданного максимального значения согласно
7.1.4.
b) Испытание N 2
| | ИС МЕГАНОРМ: примечание. В официальном тексте документа, видимо, допущена опечатка: перечисление c) в пункте 7.1.4 отсутствует. | |
Без изменения предварительной настройки горелок прибор в зависимости от его категории работает с соответствующими эталонными испытательными газами (см.
таблицу 6), а давление на входе в блок горелки снижают до номинального или до заданного минимального давления согласно перечислению c)
7.1.4.
c) Испытание N 3
Без изменения предварительной настройки горелок эталонный испытательный газ последовательно заменяют соответствующими предельными газами для неполного сгорания, а давление на входе в блок горелки повышают до заданного максимального значения согласно
7.1.4.
При необходимости коптящие предельные газы последовательно замещаются предельными газами с неполным сгоранием. Блок горелки работает три цикла: 30 мин включено и 30 мин выключено. После испытания установка проверяется на наличие отложений сажи в радиационной трубе и вентиляторе.
d) Испытание N 4
Без изменения предварительной настройки горелок прибор в зависимости от его категории при номинальной тепловой мощности работает с соответствующими эталонными испытательными газами (см.
таблицу 6).
Испытание проводят при минимальном напряжении, составляющем 85% номинального напряжения, а затем при максимальном напряжении, составляющем 110% номинального подаваемого напряжения, указанного производителем.
Без изменения предварительной настройки горелок прибор, в зависимости от его категории, при номинальной тепловой мощности работает с соответствующими эталонными испытательными газами (см.
таблицу 6).
Для этого испытания электропитание на вентилятор подается с помощью подходящего устройства, которое обеспечивает колебания напряжения.
Когда установка работает в условиях термического равновесия, постепенно уменьшают подачу напряжения на вентилятор, пока устройство для пробы воздуха не перекроет подачу газа. Отбирают пробы продуктов сгорания, пока не прекратится подача газа.
Для данного испытания заслонка в узле с горелкой регулируется так, чтобы обеспечить только минимальное всасывание, заявленное производителем.
7.3.6.3 Дополнительные испытания в специальных условиях
Без изменения предварительной настройки горелок прибор в зависимости от его категории работает при номинальной тепловой мощности с соответствующими эталонными испытательными газами (см.
таблицу 6).
Система, предназначенная для использования газового канала с настенным креплением, должна быть испытана при следующих условиях:
a) с установкой, подключенной к газовому каналу с максимальным эквивалентным сопротивлением, указанным производителем, выпускной патрубок перекрывается до полного прекращения подачи воздуха при срабатывании датчика наличия потока воздуха.
Испытание проводится с заслонкой в приборе, настроенной для обеспечения минимального всасывания (т.е. эквивалентного минимальному потоку), указанного производителем;
b) при выведении продуктов сгорания давление в патрубке для отвода продуктов сгорания на 0,5 мбар ниже давления возле выходного отверстия дымовой трубы при минимальном эквивалентном сопротивлении, указанном производителем.
Это испытание проводится с демпфером на приборе скорректированным таким образом, чтобы обеспечить минимальное всасывание (эквивалентное максимальному потоку), заявленному производителем.
Для данного испытания заслонка в узле с горелкой регулируется так, чтобы обеспечить максимальное всасывание (т.е. эквивалентное максимальному расходу), заявленное производителем.
Система, вертикальный газовый канал которой крепится над уровнем крыши, испытывается при следующих условиях:
c) когда установка, подключенная к газовому каналу с максимальным эквивалентным сопротивлением, указанным производителем, выходное устройство газового канала поступательно суживается, пока устройство для пробы воздуха не перекроет газ.
Испытание проводится с заслонкой на приборе, отрегулированной для достижения минимального всасывания (т.е. эквивалентного минимальному потоку), заявленному производителем.
С всасыванием, направленным к выходному устройству газового канала, чтобы давление на выходе установки было на 0,5 мбар ниже давления, создаваемого газовым каналом с минимальным эквивалентным сопротивлением, установленным производителем.
Для данного испытания заслонка в узле с горелкой регулируется так, чтобы обеспечить максимальное всасывание (т.е. эквивалентное максимальному расходу), заявленное производителем.
7.3.7 Длительная эксплуатация
Испытание проводится после проведения всех испытаний, указанных в
7.3.
Установка производится в соответствии с
7.1.6.2 и изначально настроена, как указано в
7.1.3.2.1. Заслонка в узле с горелкой регулируется для минимального всасывания (т.е. обеспечение минимального потока), заявленного производителем.
Испытание проводится с горелкой, поставляемой с одним из соответствующих эталонных испытательных газов (см.
таблицу 6), в зависимости от категории. Давление на входе в блок горелки повышается до максимального давления, указанного в
7.1.4.
Установка работает непрерывно на протяжении 20 часов в условиях перенастройки и соответствия с проверенными условиями, указанными в
6.7.
7.4 Другие загрязняющие вещества
Система должна быть установлена в соответствии с
7.1.6 и присоединена в соответствии с
7.1.6.2.
Для систем, предназначенных для использования газов второго семейства, испытания проводятся с испытательным газом G20, если категория системы является такой, что этот испытательный газ используется как эталонный испытательный газ. Если G20 не используется как эталонный испытательный газ, испытания проводятся с использованием G25.
Для систем, предназначенных для использования всех газов третьего семейства, испытания, проводимые с эталонным испытательным газом G30 и максимальной концентрацией NO
x (см.
таблицу 2), которая умножается на 1,30.
Для систем, предназначенных только для использования пропана, испытания проводятся с эталонным испытательным газом G31 и максимальной концентрацией NOx, которая умножается на 1,20.
Система настраивается на номинальную тепловую мощность.
Измерения NOx проводят при установившемся режиме работы согласно CR 1404:1994.
Измерители влаги не применяются.
Стандартные условия воздуха для горения:
a) температура - 20 °C;
b) относительная влажность H0 - 10 г (H2O)/кг (воздуха).
Если условия испытаний отличаются от стандартных условий, то полученное значение NOx корректируют по формуле

(11)
где NOx,reference - значение NOx, скорректированное с учетом исходных условий, мг/кВт·ч;
NOx,m - концентрация NOx, измеренная при hm и Tm в диапазоне от 50 до 300 мг/кВт·ч, мг/кВт·ч;
Примечание - При измерении NO
x в мг/м
3, необходимо преобразовать в мг/кВт·ч в соответствии с
приложением H.
hm - влажность воздуха во время измерения NOx,m в диапазоне от 5 до 15 кг;
Tm - температура во время измерения NOx,m в диапазоне от 15 °C до 25 °C.
Значения NO
x измеряются в соответствии с
7.4.2.
Проверено, что взвешенное значение NO
x соответствуют значениям
таблицы 10, в зависимости от выбранного класса NO
x.
7.4.2.1 Общие положения
Взвешенная величина измеренных значений NO
x должна быть рассчитана, как указано в
7.4.2.2 -
7.4.2.5, на основе значений, указанных в
таблице 10.
Таблица 10
Частичная тепловая мощность Qpi, % относительно % Qn | Весовой коэффициент Fpi |
70 | 0,15 |
60 | 0,25 |
40 | 0,30 |
20 | 0,30 |
Для систем с номинальным диапазоном Qn, замененным Qa, среднее арифметическое максимальной и минимальной тепловой мощности диапазона указано производителем.
7.4.2.2 Включение и отключение системы
Измеренная концентрация NO
x (возможно скорректированная, как указано в
7.4.1) при номинальной тепловой мощности,
Qn.
7.4.2.3 Системы с несколькими диапазонами
Измеренная концентрация NO
x (возможно скорректированная, как указано в
7.4.1) при частичной тепловой мощности, соответствующая каждому диапазону и взвешенная в соответствии с
таблицей 10.
При необходимости, весовой коэффициент, указанный в
таблице 10, пересчитывается для каждого диапазона, указанного ниже.
Если тепловые мощности двух диапазонов находятся между частичной тепловой мощностью, указанной в
таблице 10, необходимо распределить весовой коэффициент между тепловыми мощностями высокого темпа с помощью формулы

(12)
где Fp,high rate - распределенный весовой коэффициент, высокий темп;
Fpi - долевой коэффициент, соответствующий частичной тепловой мощности Qpi,%;
Qpi,% - частичная тепловая мощность для взвешивания, выраженная в процентах Qn;
Qlow rate,% - расход тепловой мощности, меньше чем Qpi,%;
Qhigh rate,% - расход тепловой мощности, больше чем Qpi,%; и низкий расход по формуле
Fp,low rate = Fpi - Fp,high rate, (13)
где Fpi - весовой коэффициент, соответствующий частичной тепловой мощности Qpi,%;
Fp,low rate - распределенный весовой коэффициент, низкий темп;
Fp,high rate - распределенный весовой коэффициент, высокий темп.
Если тепловые мощности двух диапазонов охватывают больше чем одна частичная тепловая мощность, указанная в
таблице 10, необходимо распределить каждый весовой коэффициент между тепловыми мощностями высокого и низкого расхода, как указано выше.
Взвешенное значение NO
x (NO
x,pond) равно сумме продуктов взвешенных значений NO
x при различных расходах, умноженных на весовой коэффициент, соответствующий
формуле (14).

(14)
где NOx,pond - взвешенное значение NOx, мг/кВт·ч;
NOx,mes high - измеренное (возможно скорректированное) значение NOx высокий расход, мг/кВт·ч;
7.4.2.4 Модулирующие системы, в которых минимальная модулирующая тепловая мощность не превышает 0,20·Qn
Концентрация NO
x измерена (возможно скорректированная, как указано в
7.4.1) при частичной тепловой мощности, указанной в
таблице 10.
Взвешенное значение NOx (NOx,pond) определяется по формуле
NOx,pond = 0,15·NOx,mes(70) + 0,25·NOx,mes(60) +
+ 0,3·NOx,mes(40) + 0,3·NOx,mes(20), (15)
где NOx,pond - взвешенное значение NOx, мг/кВт·ч;
NOx,mes(70) - измеренное (и, возможно, исправленное) значение NOx при тепловой мощности 70%, мг/кВт·ч;
NOx,mes(60) - измеренное (и, возможно, исправленное) значение NOx при тепловой мощности 60%, мг/кВт·ч;
NOx,mes(40) - измеренное (и, возможно, исправленное) значение NOx при тепловой мощности 40%, мг/кВт·ч;
NOx,mes(20) - измеренное (и, возможно, исправленное) значение NOx при тепловой мощности 20%, мг/кВт·ч.
7.4.2.5 Модулирующие системы, в которых минимальная модулирующая тепловая мощность не превышает 0,20·
Qn
Концентрация NO
x измерена (возможно скорректирована, как указано в
7.4.1) при минимальной частоте модуляции и частичной тепловой мощности
Qpi,%, указанной в
таблице 10, которая больше, чем минимальная частота модуляции.
Долевой коэффициент, соответствующий частичной тепловой мощности, указанной в
таблице 10, которая не больше, чем минимальная частота модуляции, добавленная и умноженная на NO
x,mes,Qmin.
Взвешенное значение NOx, NOx,pond определяется по формуле

(16)
где NOx,pond - взвешенное значение NOx, мг/кВт·ч;
NOx,mes - измеренное (возможно скорректированное) значение NOx при частичной тепловой мощности, Qpi,%, большей, чем минимальная скорость модуляции, Qmin,%, мг/кВт·ч;

- измеренное (возможно скорректированное) значение NO
x при минимальной тепловой мощности, мг/кВт·ч;
Qmin,% - минимальный темп модуляции, выраженный в процентах Qn;
Fpi - весовой коэффициент, соответствующий частичной тепловой мощности Qpi,%.
8 Маркировка и инструкции
8.1 Маркировка прибора и упаковки
Системы обозначают в соответствии с:
a) категорией;
b) номинальным входом или диапазоном регулируемого входа;
c) типом газового канала.
Каждый блок горелки оснащают одной или несколькими прочно закрепленными табличками и/или этикетками, на которые наносят хорошо читаемую маркировку. Маркировка должна быть стойкой и содержать следующие данные:
a) наименование и адрес производителя
<*> или фабричный знак;
Примечание - PIN-номер считается фабричным знаком производителя.
--------------------------------
<*> Производитель - это организация или компания, которая несет ответственность за изделие.
b) номинальную тепловую мощность, выраженную в кВт, и, где требуется, диапазон входа для системы с регулируемым входом, исходя из низшей или высшей теплоты сгорания;
c) торговую марку прибора;
d) серийный номер прибора;
e) идентификационный номер продукта;
f) тип газа с указанием давления и/или пары давлений, на которое(ую) настроен блок горелки, с указанием соответствующего индекса категории прибора. Для приборов, перенастраиваемых с одного давления на другое в пределах пары давлений третьего семейства, указывают только давление, соответствующее предварительной настройке прибора;
g) страну(ы) прямого назначения прибора;
h) категорию(и) систем, каждую из которых идентифицируют по отношению к соответствующей(им) стране(ам) прямого назначения;
i) установленное давление для регулируемых систем;
j) вид электропитания, напряжение в вольтах, ток в амперах и максимальную потребляемую мощность в киловаттах для всех предусмотренных условий электропитания;
k) класс NOx системы.
Другая информация не должна наноситься на прибор, если это может привести к неточности в определении категории (категорий) прибора и страны (стран) прямого назначения.
Для систем с регулируемым номинальным выходом на табличке должно быть свободное место, чтобы пользователь мог записать значение входа, которое было установлено при пусконаладке.
Стойкость маркировки должна быть проверена с помощью испытания, описанного в EN 60335-1:2002 (7.14).
8.1.3 Дополнительная маркировка
Блок горелки должен иметь следующую надпись:
"Данная система должна устанавливаться в соответствии с действующей инструкцией по монтажу и работать только в помещении с достаточной вентиляцией. Необходимо изучить инструкцию прежде, чем устанавливать систему и вводить ее в эксплуатацию".
Производитель должен предоставить подходящие таблички и нестираемые метки для прикрепления рядом с любым пользовательским элементом низкого уровня
<*>. Табличка или метка должны быть маркированы инструкциями для безопасной эксплуатации системы, включая освещение и процедуры выключения.
--------------------------------
<*> Низкий уровень означает доступность для пользователя, стоящего на земле.
Постоянные предупреждения об опасности, требующие, чтобы система была отключена, а подача газа обесточена перед эксплуатацией, должны быть установлены в хорошо видимом месте на горелке.
8.1.4 Маркировка упаковки
Маркировка должна содержать следующие данные:
a) тип газа с указанием давления и/или пары давлений, на которое (и/или на которую) настроен прибор с указанием соответствующего индекса категории прибора. Для систем, перенастраиваемых с одного давления на другое в пределах пары давлений третьего семейства, указывают только давление, соответствующее предварительной настройке системы;
b) страну(ы) прямого назначения прибора;
c) категорию(и) систем, каждую из которых идентифицируют по отношению к соответствующей(им) стране(ам) прямого назначения.
Упаковка должна иметь следующую надпись:
"Данная система должна устанавливаться в соответствии с действующей инструкцией по монтажу и работать только в помещении с достаточной вентиляцией. Необходимо изучить, прежде чем устанавливать прибор и вводить его в эксплуатацию".
Другая информация не должна наноситься на систему, если это может привести к неточности определения категории (категорий) прибора и страны (стран) прямого назначения.
8.1.5 Применение символов на приборе и упаковке
8.1.5.1 Электроснабжение
Электрические параметры должны обозначаться в соответствии с EN 60335-1:2002.
8.1.5.2 Тип газа
Для обозначения индексов категорий систем, соответствующих их настройке, должны использоваться символы видов эталонных испытательных газов в соответствии с
таблицей 11.
Таблица 11
Символ типа газа | Соответствующий индекс категории |
| G110 | 1A |
G120 | 1B |
G130 | 1C |
G150 | 1E |
Второе семейство | G20 | 2H, 2E, 2E+, 2Esi <b>, 2Er <b>, 2ELL <b> |
G25 | |
Третье семейство | G30 | |
G31 | |
<a> Если при соответствующей настройке прибор работает с газами различных групп, то должны указываться все эталонные испытательные газы, соответствующие этим группам. <b> При настройке прибора на G20. <c> При настройке прибора на G25. <d> Распространяется только на системы, не требующие перенастройки между G30 и G31, или на системы, которые требуют перенастройки, с предварительной настройкой на G30. <e> Распространяется только на системы, требующие перенастройки между G30 и G31 с предварительной настройкой на G31. <f> Распространяется на системы, требующие перенастройки между G30 и G31. К системе должна прилагаться техническая инструкция, содержащая указания по перенастройке на другой газ и другие значения пары давлений. |
В переходный период в государствах - членах CEN наряду с символами должны использоваться дополнительные средства идентификации, приведенные в
приложении E.
8.1.5.3 Давление подачи газа
Величина давления подачи газа выражается числовым значением с указанием единицы измерения мбар и обозначается символом "p".
8.1.5.4 Страна назначения
Для обозначения наименований стран должны использоваться коды согласно ISO 3166-1:2013.
8.1.5.5 Категория
Категория систем может обозначаться в соответствии с EN 437:2003. При необходимости понятие "категория" обозначается "кат".
8.1.5.6 Прочие данные
Приведенные ниже символы не являются обязательными, но их применение рекомендуется для предотвращения использования нескольких различных обозначений.
8.1.5.6.1 Номинальная тепловая мощность горелки Qn.
8.1.5.6.2 Номинальная тепловая мощность всех горелок системы

.
8.2 Эксплуатационные документы
Эксплуатационные документы должны составляться на официальном(ых) языке(ах), действующем(их) в стране(ах) назначения.
Если эксплуатационные документы составлены на официальном языке, который используют в нескольких странах, то коды стран указывают в соответствии с
8.1.5.4.
Если систему поставляют в страну, не указанную в маркировке системы, то вместе с системой должен поставляться эксплуатационный документ, во введении которого приводится следующий текст:
"Настоящий эксплуатационный документ действует только в стране прямого назначения согласно кодам, приведенным в маркировке. Если код страны назначения отсутствует в маркировке, то при применении прибора в условиях данной страны следует использовать согласованные технические инструкции".
8.2.2 Технические инструкции
8.2.2.1 Технические инструкции по монтажу и установке
Дополнительно к данным, приведенным в
8.1.2, технические инструкции, при необходимости, должны содержать информацию о действии сертификата на прибор в странах, не указанных в маркировке прибора
<*>. При наличии такой информации инструкции должны содержать предупреждение о том, что при перенастройке и монтаже прибора должно обеспечиваться безопасное и правильное применение прибора в этих странах.
--------------------------------
<*> Страна непрямого назначения.
Предупреждение приводится на официальном(ых) языке(ах) для каждой из этих стран. Инструкции должны содержать указания по безопасному и правильному применению составных частей системы в этих странах. Кроме того, инструкции должны указывать, как получить информацию, инструкцию и детали, необходимые для безопасной и правильной эксплуатации в соответствующих странах.
Технические инструкции для установки и регулировки, предназначенные для установки, должны поставляться с системой. Инструкции должны быть четкими и простыми, условия должны быть применимы в обиходе. При необходимости, диаграммы/или фотографии должны дополнять текст.
Технические инструкции должны содержать следующие требования:
"Перед монтажом системы должна быть достигнута согласованность региональных условий газоснабжения (вид газа и давление) с настройкой прибора".
Инструкции должны содержать следующие указания:
a) способ соединения газового канала и установочные регулировки в стране, где будет установлена система (если такие регулировки существуют), а также размеры газового канала для установки в странах, где соответствующие регулировки отсутствуют;
b) конструкция газового канала;
c) способ сборки и, в частности, способ соединения трубчатой(ых) секции(й) с помощью любого изоляционного материала, особенно там, где требуется герметизация;
d) использование и размещение термостатов и других элементов управления;
e) размещение системы, включая минимальные зазоры вокруг системы и POCED, любые изоляции и патрубки, которые требуются, а также минимальная высота крепления над полом, которая должна соответствовать национальным нормативам;
f) метод установки POCED, включающий любые необходимые дополнительные элементы, метод крепления к зданию и условие, подтверждающее, что POCED способен выдержать свой собственный вес;
g) газоотвод, включая максимальное и минимальное эквивалентное сопротивление POCED, позади любого вентилятора
<**>;
h) потери тепла через газоотвод, если требуется (см.
приложение K);
i) требования для горения и вентиляции воздуха;
j) соединения и подача газа и электропитания;
k) процесс пусконаладки системы;
l) средство, с помощью которого можно проверять реле давления в состоянии без расхода воздуха как минимум каждые 24 ч;
m) максимальное число горелок и максимальное давление горелок;
n) минимальные требования к радиационным трубам, используемым в системе;
o) спецификация вентилятора для системы;
p) средство для определения всасывания в каждом патрубке и, где необходимо, установка для этих целей диагностических точек давления;
q) электрическая схема системы;
r) метод утилизации любого конденсата, полученного при эксплуатации системы;
s) диапазон эксплуатационных всасываний, при которых каждый прибор может работать.
--------------------------------
<**> Минимальное и максимальное эквивалентное сопротивление, которое соответствует POCED, поставляемому и указанному производителем с минимальным и максимальным сопротивлением потоку. Следует уделить особое внимание гидравлическому сопротивлению любому оконечному устройству, поставляемым и указанным производителем.
В частности, инструкции должны содержать подробную информацию о регулировке заслонок в патрубках системы. Данный процесс включает средство проверки работы горелки в рабочем диапазоне всасывания.
Инструкции должны включать условия, что система не может быть изменена без консультации с производителем системы.
Производитель системы должен предоставлять всю информацию для планирования системы в целях гарантирования безопасной эксплуатации системы при всех нормальных конфигурациях эксплуатации.
Инструкции должны указывать, что после монтажа установщик должен проверить, при всех возможных конфигурациях нормальной эксплуатации, система функционирует в соответствии с инструкциями производителя.
В дополнение, инструкции установки должны включать полную схему электропроводки для прибора и техническую таблицу данных. Техническая таблица данных должна содержать следующие данные:
t) тепловую мощность горелки;
u) номинальную мощность любой запальной горелки;
v) характеристики используемого газа (например: число Воббе);
w) давление горелки, а для горелки с управляемым регулятором установочное давление, измеренное в верхнем потоке горелки, но в нижнем потоке любого регулятора с учетом свойств используемого газа;
x) размеры форсунки;
y) количество форсунок;
z) размер газового соединения;
aa) размер газового канала;
bb) физические размеры;
cc) вес;
dd) подробные данные об электрическом двигателе;
ee) любые другие технические данные, которые могут требоваться установщиком и инженером, которые вводят прибор в эксплуатацию;
ff) максимальное и минимальное всасывание, при котором горелка должна эксплуатироваться.
Инструкция по установке должна указывать, что отсечной клапан, или клапаны, которые должны быть установлены в непосредственной близости от каждой горелки, которая, в отключенном состоянии, позволяет отсоединение всего горелки или блока управления для технического обслуживания или ремонта.
8.2.2.2 Инструкции по переоборудованию
Инструкции производителя по переоборудованию высылаются по запросу всем квалифицированным специалистам по монтажу.
Компоненты, необходимые для перенастройки на другой вид газа или на другой вид давления, должны поставляться с четкими и подробными инструкциями, относительно изменения компонентов, а также очистки, регулировки и проверки системы.
В дополнение с прибором должна поставляться самоклеящаяся этикетка с указанием характеристик и давления газа, для которого прибор настроен, а также, в случае необходимости, должна быть указана тепловая мощность, установленная при вводе в эксплуатацию.
8.2.3 Инструкция по техническому обслуживанию
Инструкции по техническому обслуживанию и использованию должны поставляться с каждой системой.
Эти инструкции, предназначенные для пользователя, должны предоставлять всю необходимую информацию для безопасного использования системы.
Инструкции должны быть четкими и простыми, а условия должны быть приемлемыми для обычного использования. Везде, где необходимо, текст должен быть дополнен схемами и/или фотографиями. Инструкции должны содержать информацию по безопасной эксплуатации системы, включая процедуры выключения и подачи сигналов.
Инструкции также должны указывать, что для установки системы требуется квалифицированный монтажник и, при возникновении необходимости, перенастройка для использования других газов. Инструкции должны определять рекомендованную частоту периодического обслуживания и необходимость периодической прочистки дымохода в соответствии с правилами страны, в которой система используется. Также, в инструкциях должны быть кратко указаны правила установки (соединения, вентиляции) для страны, в которой система используется.
8.3 Представление информации
Все сведения, указанные в
8.1.1,
8.1.2,
8.1.3,
8.1.4,
8.1.5,
8.2.1,
8.2.2 и
8.2.3, должны быть на языке(ах) страны, в которой устанавливается система. Теплота сгорания может быть низшей или высшей в зависимости от страны назначения.
9 Оценка соответствия POCED и связанных с ними оконечных устройств
Соответствие POCED и связанных с ними оконечных устройств должно быть проверено в процессе:
a) первичных испытаний;
b) заводского технического контроля производителем, в том числе оценку изделия.
Примечание - Требования к POCED и связанных с ними оконечных устройств приведены в соответствующих
таблицах ZB.1 или
ZB.2.
9.2.1 Предварительное типовое испытание
Первичные испытания должны быть выполнены, чтобы показать соответствие требованиям настоящего стандарта. Испытания, ранее выполненные в соответствии с положениями настоящего стандарта (такие же характеристики, метод испытания, процедура отбора образцов, система подтверждения соответствия, прибор и т.д.), могут быть приняты во внимание. Кроме того, первичные испытания должны быть выполнены в начале производства нового POCED и/или терминала, который ему соответствует, или в начале нового способа производства (если это может повлиять на указанные свойства).
Если характеристики основаны на соответствии с другими стандартами изделия (для металлов, включая покрытие, изоляцию, герметик), то их не надо подвергать повторной аттестации при условии, что проектировщик подтверждает обоснованность результатов.
Примечание 2 - Допускается, что продукция с маркировкой СЕ, соответствующая гармонизированным европейским спецификациям, имеет установленные технические характеристики. Тем не менее, это не снимает ответственности с производителя как за качественное изготовление POCED и связанного с ним оконечного устройства в целом, так и его компонентов.
9.2.2 Последующее типовое испытание
Всякий раз, когда в POCED, связанном с ним оконечном устройстве, сырьевом материале, технологическом процессе произошли изменения, которые могут изменить допуски, одну или несколько технических характеристик, а также если сменился поставщик компонентов, типовые испытания повторяются для подтверждения соответствующей характеристики.
9.2.3 Отбор проб для типового испытания
Если не оговорено другое в конкретном методе испытания, указанном в
разделе 7 настоящего стандарта, для типового испытания выбирается POCED и связанное с ним устройство, имеющее минимальное и максимальное эквивалентное сопротивление.
Результаты всех типовых испытаний фиксируются и хранятся производителем до их замены.
9.3 Заводской технический контроль (далее - ЗТК)
9.3.1 Общие положения
Примечание 1 - Система ЗТК, отвечающая требованиям системы менеджмента качества ISO 9001:2008, а также требованиям настоящего стандарта, считается удовлетворяющей вышеуказанным требованиям.
Производитель создает, документирует и обеспечивает функционирование системы ЗТК для подтверждения соответствия произведенной продукции установленным рабочим характеристикам. Система ЗТК должна состоять из технологического процесса, регулярных проверок, испытаний и/или аттестаций, использования результатов для, например, контроля над сырьевыми или другими поступающими материалами или компонентами, оборудованием, производственным процессом и изделием.
Производитель несет ответственность за организацию эффективного внедрения системы заводского технического контроля. Задания и зоны ответственности в организации технического контроля должны документироваться. Данная документация должна постоянно обновляться. На каждом предприятии производитель может передать выполнение производственного процесса лицу, имеющему необходимые полномочия для:
a) определения процедур для подтверждения соответствия изделия на соответствующих этапах;
b) идентификации и регистрации любых фактов несоответствия;
c) определения процедур устранения случаев несоответствия.
Производитель должен подготавливать и актуализировать документы, определяющие ЗТК, который он применяет. Документация для изготовления и испытаний должна быть применима к изделию и процессу производства. Все системы ЗТК должны достигать соответствующего уровня уверенности в соответствии изделия. Это подразумевает следующее:
d) подготовку документированных процедур и инструкций, относящихся к ЗТК, в соответствии с требованиями технических условий;
e) эффективную реализацию этих процедур и инструкций;
f) регистрацию этих операций и их результатов;
g) использование этих результатов для устранения любых отклонений и последствий таких отклонений, работу с фактами несоответствия и, при необходимости, внесение изменений в систему ЗТК для устранения причины несоответствия.
Операции системы ЗТК должны включать в себя полностью или частично следующее:
h) спецификацию и сертификацию сырья и компонентов;
i) точки контроля и испытания, которые должны быть проведены во время производства в соответствии с установленной периодичностью;
j) проверки и испытания, которые должны проводиться на готовой продукции в соответствии с графиком, который может быть зафиксирован в технических спецификациях и скорректирован в зависимости от конкретного изделия и его условий производства.
Примечание 2 - В зависимости от конкретного случая, может потребоваться проведение:
a) операций, указанных в
i) и
j);
b) только операций из
i);
c) только операций из
j).
Действия в
i) указывают не столько на промежуточное состояние продукта, сколько на состояние производственного оборудования и его настройку и снаряжение. Эти точки контроля, испытания и их периодичность устанавливают в зависимости от типа и состава изделия, производственного процесса и его сложности, чувствительности свойств продукта к изменениям в технологических параметрах.
Производитель должен иметь в своем распоряжении установки, оборудование и персонал для проведения необходимых проверок и испытаний. Производитель, а также его представитель, могут выполнить это требование, заключив субподрядный договор с одной или более организациями или лицами, имеющими необходимую квалификацию и оборудование.
Производитель обязан калибровать или проверять и поддерживать контрольно-измерительное или испытательное оборудование в хорошем рабочем состоянии (независимо от того, принадлежит ли ему указанное оборудование) с целью продемонстрировать соответствие продукта его технической спецификации. Оборудование должно использоваться в соответствии со спецификацией или нормативной системой испытаний, на которую ссылается спецификация.
При необходимости проводят мониторинг соответствия промежуточного состояния продукта и основных этапов изготовления продукта.
Данный мониторинг соответствия акцентируют, если необходимо, на продукте на всем протяжении процесса производства, так что потребителям направляют только изделия, прошедшие плановый промежуточный контроль и испытания.
Результаты технических проверок, испытаний или оценок, требующих принятия мер, должны фиксироваться после каждого мероприятия. Меры, принимаемые в случае, когда контрольные значения или критерии не достигнуты, должны фиксироваться.
9.3.2 Оборудование
Все оборудование для взвешивания, измерений и испытаний должно быть прокалибровано и должно проходить регулярную техническую проверку в соответствии с документированными процедурами, графиками и критериями.
9.3.3 Сырье и комплектующие материалы
Спецификации на все входящее сырье и комплектующие материалы должны документироваться в виде схемы проверок с целью обеспечения соответствия системы ЗТК.
9.3.4 Испытания и оценка изделий
Производитель должен установить процедуры контроля над соблюдением заданных значений и характеристики. Пример плана отбора проб ЗТК приведен в
приложении J.
9.3.5 Изделия, не отвечающие требованиям
Производитель должен внедрить процедуры по работе с изделиями, не отвечающими требованиям.
(справочное)
Примечание - Данное приложение не применимо к POCED (вытяжные трубы).
A.1 Общие положения
В каждой стране, где применяется настоящий стандарт, системы могут быть установлены только тогда, когда категория не противоречит национальным условиям данной страны. В качестве примера приведены категории, соответствующие национальным условиям стран ЕС, перечисленные в
таблицах A.1 -
A.7.
A.2 Применяемость приборов по категориям в различных странах
В
таблицах A.1 и
A.2 для информации приведены национальные условия, касающиеся соответствующих настоящему стандарту категорий приборов, реализуемых в различных странах.
Таблица A.1
Применяемость приборов категории I
Страна | I2H | I2L | I2E | I2E+ | I2N | I2R | I3B/P | I3+ | I3P | I3B | I3R |
AT | X | | | | | | X | | | | |
BE | | | | X | | | | X | X | | |
BG | | | | | | | | | | | |
CH | X | | | | | | X | X | X | | |
| | | | | | | | | | | |
CZ | X | | | | | | X | | X | | |
DE | | | X | | | | X | | X | | |
DK | X | | | | | | X | | | | |
| | | | | | | | | | | |
ES | X | | | | | | | X | X | | |
FI | X | | | | | | X | | | | |
FR | | | | X | | | | X | X | | |
GB | X | | | | | | | X | X | | |
GR | X | | | | | | | X | X | | |
HU | X | | | | | | X | | X | X | |
IE | X | | | | | | | X | X | | |
IS | | | | | | | | | | | |
IT | X | | | | | | | X | | | |
| | | | | | | | | | | |
LU | | | X | | | | | | | | |
| | | | | | | | | | | |
| | | | | | | | | | | |
NL | | X | | | | | X | | X | | |
NO | | | | | | | X | | | | |
| | | | | | | | | | | |
PT | X | | | | | | | X | X | | |
RO | | | | | | | | | | | |
SE | X | | | | | | X | | | | |
SI | X | | | | X | X | X | X | X | | X |
| | | | | | | | | | | |
<a> Информация о категориях, которые поставляются новыми членами CEN. <b> Категории для отдельных типов приборов, представленных на территории ЕС, процедура проверки, приложение II, статья 6 Директивы по газовому оборудованию (90/396/EEC) (Нидерланды, необходимо уточнить, если здесь применяется). |
Таблица A.2
Применяемость приборов категории II
Страна | II1a2H | II2H3B/P | II2H3+ | II2H3P | II2H3B | II2L3B/P | II2L3P | II2E3B/P | II2E3+B/P | II2E+3+ | II2E+3P | II2R3R |
AT | | X | | | | | | | | | | |
BE | | | | | | | | | | | | |
BG | | | | | | | | | | | | |
CH | | X | X | X | | | | | | | | |
| | | | | | | | | | | | |
CZ | | X | | X | | | | | | | | |
DE | | | | | | | | X | | | | |
DK | X | X | | | | | | | | | | |
| | | | | | | | | | | | |
ES | | | | X | | | | | | | | |
FI | | X | | | | | | | | | | |
FR | | | | | | | | | | X | X | |
GB | | | X | X | | | | | | | | |
GR | | X | X | X | | | | | | | | |
HU | | X | | X | X | | | | | | | |
IE | | | X | X | | | | | | | | |
IS | | | | | | | | | | | | |
IT | X | | X | | | | | | | | | |
| | | | | | | | | | | | |
LU | | | | | | | | | | | | |
| | | | | | | | | | | | |
| | | | | | | | | | | | |
NL | | | | | | X | X | | | | | |
NO | | | | | | | | | | | | |
| | | | | | | | | | | | |
PT | | | X | X | | | | | | | | |
RO | | | | | | | | | | | | |
SE | X | X | | | | | | | | | | |
SI | | X | X | X | | | | | | | | X |
| | | | | | | | | | | | |
<a> Информация о категориях, которые поставляются членами нового CEN. <b> Для приборов этой категории для группы H газов второго семейства может использоваться воздух и торговые смеси пропана, где высшее число Воббе (при 15 °C и 1013,25 мбар) составляет от 46 до 51,5 МДж/м 3 при том же напряжении питания, без дополнительных испытаний. |
A.3 Давления питания прибора, категории которых приведены в A.2
В
таблице A.3 приведены давления питания прибора категорий согласно
A.2 в различных странах.
Более высокие значения давления (при необходимости) могут быть предоставлены после консультации с поставщиком газа в заинтересованную страну.
Таблица A.3
Номинальные давления питания
Газ | G110 | G20 | G25 | G20 + G25 | G30 | G31 | G30 + G31 |
Давление (мбар) | 8 | 20 | 20 | 25 | Пара 20/25 | 30 28 - 30 | 50 | 30 | 37 | 50 | Пара 28 - 30/37 | Пара 50/67 |
Страна | | | | | | | | | | | | |
AT | | X | | | | | X | | | X | | |
BE | | | | | X | | | | | X | X | X |
BG | | | | | | | | | | | | |
CH | | X | | | | | X | | | X | X | |
| | | | | | | | | | | | |
CZ | | | | | | | | X | X | | | |
DE | | X | X | | | X | X | | | X | | |
DK | X | X | | | | | | X | | | | |
| | | | | | | | | | | | |
ES | | X | | | | X | | | X | X | X | |
FI | | X | | | | X | | X | | | | |
FR | | | | | X | X | X | | X | X | X | |
GB | | | | | | X | | | X | X | X | |
GR | | X | | | | X | | X | X | X | X | |
HU | | | | | | X | X | X | | X | | |
IE | | X | | | | X | | | X | | X | |
IS | | | | | | | | | | | | |
IT | X | X | | | | | | | | | X | |
| | | | | | | | | | | | |
LU | | X | | | | | | | | | | |
| | | | | | | | | | | | |
| | | | | | | | | | | | |
NL | | | | X | | | | X | | X | | |
NO | | | | | | X | | X | | | | |
| | | | | | | | | | | | |
PT | | X | | | | X | | | X | | X | |
RO | | | | | | | | | | | | |
SE | X | X | | | | X | | X | | | | |
SI | | X | | | | X | | | X | | X | |
| | | | | | | | | | | | |
<a> Информация о давлениях питания представляется новым членом CEN. <b> В настоящее время 18 мбар. <c> Для определенных типов промышленных приборов. (CZ уточнить). <d> Для некоторых типов приборов (CZ уточнить). <e> Номинальное давление для этого прибора: 1,75 кПа (17,5 мбар). <f> Давления, равные 25 мбар и 85 мбар. |
A.4 Специальные категории приборов, реализуемые на национальном или региональном уровне
Специальные категории приборов, реализуемые в странах, согласно условиям газоснабжения на национальном или региональном уровне (состав газа и присоединительные давления), приведены в
таблице A.4.
Таблица A.4
Испытательные газы соответствующей категории приборов,
реализуемых на национальном или региональном уровне
Категория | Эталонный испытательный газ | Предельный газ для неполного сгорания | Предельный газ с обратным движением | Предельный газ с подъемом пламени | Коптящий предельный газ | Страна |
I2Esb I2Er | G20, G25 | G21 | G222 | G231 | G21 | FR |
I2E(S)B | G20, G25 | G21 | G222 | G231 | G21 | BE |
I2E(R)B | G20, G25 | G21 | G222 | G231 | G21 | BE |
I2ELL | G20, G25 | G21 | G222 | G231, G271 | G21 | DE |
I2S | G25.1 | G26.1 | G222 | G27.1 | G26.1 | |
I2HS | G20, G25.1 | G21, G26.1 | G222 | G27.1 | G21, G26.1 | |
II2Esi3+ II2Er3+ | G20, G25, G30 | G21 | G222, G32 | G231, G31 | G30 | FR |
II2Esi3P II2Er3P | G20, G25, G31 | G21 | G222, G32 | G231, G271 | G31, G32 | FR |
II2ELL3B/P | G20, G25, G30 | G21, G30 | G222, G32 | G231, G271 | G30 | DE |
II2S3B/P | G25.1, G30 | G26.1, G30 | G32 | G27.1, G31 | G26.1, G30 | |
II2S3P | G25.1, G31 | G26.1, G30 | G32 | G27.1, G31 | G26.1, G31, G32 | |
II2S3B | G25.1, G30 | G26.1, G30 | G32 | G27.1, G31 | G26.1, G30 | |
II2HS3B/P | G20, G25.1, G30 | G21, G26.1, G30 | G222, G32 | G23, G27.1, G31 | G21, G26.1, G30 | |
II2HS3P | G20, G25.1, G31 | G21, G26.1, G30 | G222, G32 | G23, G271, G31 | G21, G26.1, G31, G32 | |
II2HS3B | G20, G25.1, G30 | G21, G26.1, G30 | G222, G32 | G23, G271, G31 | G21, G26.1, G30 | |
III1a2H3B/P | G110, G20, G30 | G21 | G112, G222, G32 | G23, G31 | G30 | DK, IT |
III1c2E+3+ | G130, G20, G30 | G21 | G132, G222, G32 | G231, G31 | G30 | FR |
III1c2E+3P | G130, G20, G31 | G21 | G132, G222, G32 | G231, G31 | G32 | FR |
III1c2Esi3+ | G130, G20 | G21 | G132 | G231 | G30 | FR |
III1c2Er3+ | G25, G30 | | G222, G32 | G31 | | |
III1c2Esi3P | G130, G20 | G21 | G132 | G231 | G32 | FR |
III1c2Er3P | G25, G31 | | G222, G32 | G31 | | |
III1ab2H3B/P | G110, G120, G20, G30 | G21 | G112, G222, G32 | G23, G31 | G30 | SE |
<a> Венгрия для подтверждения выбора. |
A.4.2 Определение специальных категорий
Определение специальных категорий, приведенных в
таблице A.4, соответствует категориям, перечисленным в
4.2. Параметры газов, применяемых на региональном уровне, приведены в
таблице 5.
A.4.2.1 Категория I
A.4.2.1.1 Системы, предназначенные для работы с газами, отнесенными к первому семейству
Категория I1b: системы, предназначенные только для работы с газами группы B, отнесенными к первому семейству (данная категория не используется).
Категория I1c: системы, предназначенные только для работы с газами группы C, отнесенными к первому семейству при установленном присоединительном давлении (данная категория не используется).
Настройка расхода газа при замене газа одной группы газом другой группы, принадлежащих к газам первого семейства или отнесенных к первому семейству, не обязательна.
A.4.2.1.2 Системы, предназначенные для работы с газами второго семейства, и отнесенными к этому семейству газами
Категория I2Esi: системы, предназначенные только для работы с газами группы E второго семейства с сохранением соответствующего давления из пары давлений. Замена одного газа из диапазона Es группы E (с числом Воббе между 44,8 МДж/м3 и 54,7 МДж/м3) газом из диапазона Ei группы E (с числом Воббе между 40,9 МДж/м3 и 44,8 МДж/м3) или обратно требует изменения настройки горелки, замены форсунок, калибровки насадок и настройки устройства контроля воздуха.
Категория I2Er: системы, предназначенные только для работы с газами группы E второго семейства и парой давлений (без настройки прибора). Специальная настройка расхода газа на горелке может осуществляться при замене одного газа из диапазона Es группы E (с числом Воббе между 44,8 МДж/м3 и 54,7 МДж/м3) газом из диапазона Ei группы E (с числом Воббе между 40,9 МДж/м3 и 44,8 МДж/м3). Для обратного перехода на газ из диапазона Es группы E необходимо провести повторную регулировку.
Категория I2LL: системы, предназначенные только для работы с газами группы LL при определенном присоединительном давлении. Если число Воббе используемого газа не превышает 43,7 МДж/м3, то прибор должен настраиваться на его минимальное значение (эта категория не используется).
Категория I2ELL: системы, предназначенные только для работы с газами группы E второго семейства и газами группы LL, отнесенными ко второму семейству. Применение газов группы E второго семейства осуществляется при тех же условиях, что и для категории I2E. Применение газов группы LL второго семейства осуществляется при тех же условиях, что и для категории I2LL.
Категория I2S: системы, предназначенные для работы с газами группы S, отнесенными ко второму семейству, при определенном входном давлении.
Категория I2HS: системы, предназначенные для работы с газами группы H второго семейства и группы S, которые относятся ко второму семейству, при определенном входном давлении. Применение газов группы E второго семейства осуществляется при тех же условиях, что и для категории I2E. Применение газов группы H второго семейства осуществляется при тех же условиях, что и для категории I2H. Применение газов группы S второго семейства осуществляется при тех же условиях, что и для категории I2S.
A.4.2.2 Категория II
A.4.2.2.1 Системы, предназначенные для работы с газами первого семейства или отнесенными к этому семейству газами, и газами второго семейства или отнесенными к этому семейству газами
Категория II1c2H: системы, предназначенные для работы с газами группы C второго семейства и группы H, отнесенными ко второму семейству, при определенном входном давлении. Применение газов второго семейства осуществляется при тех же условиях, что и для категории I1c. Применение газов второго семейства осуществляется при тех же условиях, что и для категории I2H.
A.4.2.2.2 Системы, предназначенные для работы с газами второго семейства или отнесенными к этому семейству газами и газами третьего семейства
Категория II2Esi3+: системы, предназначенные для работы с газами группы E второго семейства и газами третьего семейства. Применение газов второго семейства осуществляется при тех же условиях, что и для категории I2Esi. Применение газов третьего семейства осуществляется при тех же условиях, что и для категории I3+.
Категория II2Esi3P: системы, предназначенные для работы с газами группы E второго семейства и газами группы P третьего семейства. Применение газов второго семейства осуществляется при тех же условиях, что и для категории I2Esi. Применение газов третьего семейства осуществляется при тех же условиях, что и для категории I3P.
Категория II2Er3+: системы, предназначенные для работы с газами группы E второго семейства и газами третьего семейства. Применение газов второго семейства осуществляется при тех же условиях, что и для категории I2Er. Применение газов третьего семейства осуществляется при тех же условиях, что и для категории I3+.
Категория II2Er3P: системы, предназначенные для работы с газами группы E второго семейства и газами группы P третьего семейства. Применение газов второго семейства осуществляется при тех же условиях, что и для категории I2Er. Применение газов третьего семейства осуществляется при тех же условиях, что и для категории I3P.
Категория II2ELL3B/P: системы, предназначенные для работы с газами группы E второго семейства, газами группы L, отнесенными ко второму семейству, а также с газами третьего семейства. Применение газов второго семейства или отнесенных к нему газов, осуществляется при тех же условиях, что и для категории I2ELL. Применение газов третьего семейства осуществляется при тех же условиях, что и для категории I3B/P.
Категория II2S3B/P: системы, предназначенные для работы с газами группы S, отнесенными ко второму семейству, а также с газами третьего семейства. Применение газов, отнесенных ко второму семейству, осуществляется при тех же условиях, что и для категории I2S.
Применение газов третьего семейства осуществляется при тех же условиях, что и для категории I3B/P.
Категория II2S3P: системы, предназначенные для работы с газами группы S, отнесенными ко второму семейству и с газами группы P третьего семейства. Применение газов, отнесенных ко второму семейству, осуществляется при тех же условиях, что и для категории I2S.
Применение газов третьего семейства осуществляется при тех же условиях, что и для категории I3P.
Категория II2S3B: системы, предназначенные для работы с газами группы S, отнесенными ко второму семейству, и с газами группы B третьего семейства. Применение газов, отнесенных ко второму семейству, осуществляется при тех же условиях, что и для категории I2S.
Применение газов третьего семейства осуществляется при тех же условиях, что и для категории I3B.
Категория II2HS3B/P: системы, предназначенные для работы с газами группы H второго семейства, с газами группы S, отнесенными ко второму семейству, а также с газами третьего семейства. Применение газов второго семейства и отнесенных к ним осуществляется при тех же условиях, что и для категории I2HS.
Применение газов третьего семейства осуществляется при тех же условиях, что и для категории I3B/P.
Категория II2HS3P: системы, предназначенные для работы с газами группы H второго семейства, с газами группы S, отнесенными ко второму семейству, а также с газами группы P третьего семейства. Применение газов второго семейства и отнесенных к ним осуществляется при тех же условиях, что и для категории I2HS.
Применение газов третьего семейства осуществляется при тех же условиях, что и для категории I3P.
Категория II2HS3B: системы, предназначенные для работы с газами группы H второго семейства, с газами группы S, отнесенными ко второму семейству, а также с газами группы B третьего семейства. Применение газов второго семейства и отнесенных к ним осуществляется при тех же условиях, что и для категории I2HS.
Применение газов третьего семейства осуществляется при тех же условиях, что и для категории I3B.
Категория III1a2H3B/P: системы, предназначенные для работы с газами группы A первого семейства, газами группы H второго семейства и газами третьего семейства. Применение газов первого семейства осуществляется при тех же условиях, что и для категории I1a. Применение газов второго семейства осуществляется при тех же условиях, что и для категории I2H. Применение газов третьего семейства осуществляется при тех же условиях, что и для категории I3B/P.
Категория III1c2H3B/P: системы, предназначенные для работы с газами группы C первого семейства, газами группы H второго семейства и газами третьего семейства. Применение газов первого семейства осуществляется при тех же условиях, что и для категории I1c. Применение газов второго семейства осуществляется при тех же условиях, что и для категории I2H. Применение газов третьего семейства осуществляется при тех же условиях, что и для категории I3B/P.
Категория III1c2H3+: системы, предназначенные для работы с газами группы C первого семейства, газами группы H второго семейства и газами третьего семейства. Применение газов первого семейства осуществляется при тех же условиях, что и для категории I1c. Применение газов второго семейства осуществляется при тех же условиях, что и для категории I2H. Применение газов третьего семейства осуществляется при тех же условиях, что и для категории I3+.
Категория III1c2H3P: системы, предназначенные для работы с газами группы C первого семейства, газами группы H второго семейства и газами третьего семейства. Применение газов первого семейства осуществляется при тех же условиях, что и для категории I1c. Применение газов второго семейства осуществляется при тех же условиях, что и для категории I2H. Применение газов третьего семейства осуществляется при тех же условиях, что и для категории I3P.
Категория III1c2E+3+: системы, предназначенные для работы с газами группы C первого семейства, газами группы E второго семейства и газами третьего семейства. Применение газов первого семейства осуществляется при тех же условиях, что и для категории I1c. Применение газов второго семейства осуществляется при тех же условиях, что и для категории I2E+. Применение газов третьего семейства осуществляется при тех же условиях, что и для категории I3+.
Категория III1c2E+3P: системы, предназначенные для работы с газами группы C первого семейства, газами группы E второго семейства и газами третьего семейства. Применение газов первого семейства осуществляется при тех же условиях, что и для категории I1c. Применение газов второго семейства осуществляется при тех же условиях, что и для категории I2E+. Применение газов третьего семейства осуществляется при тех же условиях, что и для категории I3P.
Категория III1c2Esi3+: системы, предназначенные для работы с газами группы C первого семейства, газами группы E второго семейства и газами третьего семейства. Применение газов первого семейства осуществляется при тех же условиях, что и для категории I1c. Применение газов второго семейства осуществляется при тех же условиях, что и для категории I2Esi. Применение газов третьего семейства осуществляется при тех же условиях, что и для категории I3+.
Категория III1c2Esi3P: системы, предназначенные для работы с газами группы C первого семейства, газами группы E второго семейства и газами третьего семейства. Применение газов первого семейства осуществляется при тех же условиях, что и для категории I1c. Применение газов второго семейства осуществляется при тех же условиях, что и для категории I2Esi. Применение газов третьего семейства осуществляется при тех же условиях, что и для категории I3P.
Категория III1c2Er3+: системы, предназначенные для работы с газами группы C первого семейства, газами группы E второго семейства и газами третьего семейства. Применение газов первого семейства осуществляется при тех же условиях, что и для категории I1c. Применение газов второго семейства осуществляется при тех же условиях, что и для категории I2Er. Применение газов третьего семейства осуществляется при тех же условиях, что и для категории I3+.
Категория III1c2Er3P: системы, предназначенные для работы с газами группы C первого семейства, газами группы E второго семейства и газами группы P третьего семейства. Применение газов первого семейства осуществляется при тех же условиях, что и для категории I1c. Применение газов второго семейства осуществляется при тех же условиях, что и для категории I2Er. Применение газов третьего семейства осуществляется при тех же условиях, что и для категории I3P.
Категория III1ab2H3B/P: системы, предназначенные для работы с газами группы A и первого семейства, газами группы H второго семейства и газами третьего семейства. Применение газов первого семейства осуществляется при тех же условиях, что и для категории I1a и I1b. Применение газов второго семейства осуществляется при тех же условиях, что и для категории I2H. Применение газов третьего семейства осуществляется при тех же условиях, что и для категории I3B/P.
A.4.3 Регуляторы расхода газа и подачи воздуха, другие регуляторы
Этот раздел включен для того, чтобы дать возможность членам CEN представить информацию, эквивалентную изложенной в
5.2.2,
5.2.3,
5.2.4 и
5.2.6 и имеющую отношение к специальным категориям, по поводу которых они сделали запрос, детали в
A.4.1.
A.4.4 Переход на другие газы
| | ИС МЕГАНОРМ: примечание. Текст дан в соответствии с официальным текстом документа. | |
Требования, установленные в
5.1.1.1, распространяются на специальные категории приборов в соответствии
A.5 Испытательные газы для приборов специальных категорий согласно A.4
Параметры газов, применяемых на национальном или региональном уровне, и соответствующие испытательные газы и испытательные давления приведены в
таблице A.5 (для сухого газа при стандартных условиях).
Смесь газов группы A с газами группы C или E с числом Воббе от 21,1 до 24,8 МДж/м3 относится к газу группы A первого семейства.
Данная смесь должна использоваться без дополнительных испытаний только в приборах, работающих с газами различных категорий, включая газы группы A первого семейства.
Таблица A.5
Испытательные газы, соответствующие местным условиям
| | ИС МЕГАНОРМ: примечание. Сноски в таблице даны в соответствии с официальным текстом документа. | |
Семейство и группа газов | Испытательный газ | Обозначение | Объемная доля, % | WI МДж/м3 | HI МДж/м3 | Ws МДж/м3 | Hs МДж/м3 | d | Испытательное давление, мбар | Страна |
Газы, отнесенные к первому семейству | Группа B | Эталонный испытательный газ для неполного сгорания и коптящего пламени | G120 | H2 = 47 CH4 = 32 N2 = 21 | 24,40 | 15,68 | 27,64 | 17,77 | 0,413 | pn = 8 pmin = 6 pmax = 15 | SE |
Обратное движение | G112 | H2 = 59 CH4 = 17 N2 = 24 | 19,48 | 11,81 | 22,36 | 13,56 | 0,367 |
Группа C | Эталонный испытательный газ (пропан-воздух) | G130 | C3H8 = 26,9 | 22,14 | 23,66 | 24,07 | 25,72 | 1,142 | pn = 8 pmin = 6 pmax = 15 | FR |
Обратное движение | G132 | C3H8 = 13,8 C3H6 = 13,8 | 22,10 | 23,56 | 23,84 | 25,41 | 1,136 |
Газы, отнесенные ко второму семейству | Группа LL | Эталонный испытательный газ | G25 <2> | CH4 = 86 N2 = 14 | 37,38 | 29,25 | 41,52 | 32,49 | 0,612 | pn = 20 pmin = 18 pmax = 25 | DE |
Предельный газ для неполного сгорания и коптящего пламени | G26 | CH4 = 80 C3H8 = 7 N2 = 13 | 40,52 | 33,36 | 44,83 | 36,91 | 0,678 |
Обратное движение | G271 | CH4 = 74 N2 = 26 | 30,94 | 25,17 | 34,36 | 27,96 | 0,662 |
Газы, отнесенные ко второму семейству | Группа S | Эталонный испытательный газ | G25.1 | CH4 = 86 CO2 = 14 | 35,25 | 29,30 | 39,11 | 32,51 | 0,691 | pn = 25 pmin = 20 pmax = 33 или pn = 85 pmin = 73 pmax = 100 | HU |
Предельный газ для неполного сгорания и коптящего пламени | G26.1 | CH4 = 80 C3H8 = 6 CO2 = 14 | 37,61 | 32,60 | 41,58 | 36,04 | 0,751 |
Подъем пламени | G27.1 | CH4 = 82 CO2 = 18 | 32,70 | 27,94 | 36,29 | 31,00 | 0,730 |
Газы, отнесенные к третьему семейству | Область Es группы E | Эталонный испытательный газ | | CH4 = 100 | 45,67 | 34,02 | 50,72 | 37,78 | 0,555 | pn = 20 pmin = 17 pmax = 25 | FR |
Предельный газ для неполного сгорания и коптящего пламени | G21 | CH4 = 87 C3H8= 13 | 49,60 | 41,01 | 54,76 | 45,28 | 0,684 |
Эталонный испытательный газ для обратного движения | G222 | CH4 = 77 H2 = 23 | 42,87 | 28,53 | 47,87 | 31,86 | 0,443 |
Предельный газ для подъема пламени | G26 | CH4 = 80 C3H8 = 7 N2 = 13 | 40,52 | 33,36 | 44,83 | 36,91 | 0,678 |
Область Ei группы E | Эталонный испытательный газ для обратного движения | G25 <2> | CH4 = 86 N2 = 14 | 37,38 | 29,25 | 41,52 | 32,49 | 0,612 | pn = 25 pmin = 20 pmax = 30 |
Предельный газ для неполного сгорания и коптящего пламени | G26 | CH4 = 80 C3H8 = 7 N2 = 13 | 40,52 | 33,36 | 44,83 | 36,91 | 0,678 |
Предельный газ для подъема пламени | G231 | CH4 = 85 N2 = 15 | 36,82 | 28,91 | 40,90 | 32,11 | 0,617 |
<a> Состав воздуха (%): O 2 = 20,95; N 2 = 79,05. <b> Параметры эталонных испытательных газов G20 и G25, см. таблицу 4. |
A.6 Соединения газовых сетей, применяемые в различных странах
В
таблице A.6 приведены национальные особенности, касающиеся применения различных типов газовых соединений согласно
5.1.6.
Таблица A.6
Допустимые входные патрубки
Страна | Системы категории I3+, I3P, I3B, I3B/P | Системы других категорий |
Резьбовые соединения | Другие соединения | Резьбовые соединения | Другие соединения |
EN 10226-1:2004 и EN 10226-2:1995 | ISO 228-1:2000 | EN 10226-1:2004 и EN 10226-2:1995 | ISO 228-1:2000 |
AT | Да | - | Да | Да | - | - |
BE | Да | Да | Да | - | Да | - |
BG | - | - | - | - | - | - |
CH | Да | Да | Да | Да | Да | - |
CY | - | - | - | - | - | - |
CZ | - | - | - | - | - | - |
DE | Да | - | Да | Да | - | - |
DK | Да | Да | Да | - | Да | - |
EE | - | - | - | - | - | - |
ES | - | - | - | - | - | - |
FI | Да | Да | Да | Да | Да | - |
FR | - | Да | Да | - | Да | - |
GB | Да | - | Да | Да | - | Да |
GR | Да | - | Да | Да | - | - |
HU | - | - | - | - | - | - |
IE | Да | - | Да | Да | - | Да |
IS | - | - | - | - | - | - |
IT | Да | - | Да | Да | - | - |
LU | - | - | - | - | - | - |
LV | - | - | - | - | - | - |
MT | - | - | - | - | - | - |
NL | Да | - | - | Да | - | - |
NO | Да | Да | Да | - | - | - |
PL | - | - | - | - | - | - |
PT | Да | Да | Да | Да | Да | Да |
RO | - | - | - | - | - | - |
SE | - | - | - | - | - | - |
SI | Да | Да | Да | Да | Да | Да |
SK | Да | Да | - | Да | Да | - |
A.7 Соединения газового канала в разных странах
В
таблице A.7 представлены национальные условия, обуславливающие диаметр стандартных вытяжных газовых труб.
Таблица A.7
Стандартизованные диаметры труб
Страна | Стандартизованные диаметры труб (наружные), мм |
AT | 60 | 70 | 80 | 90 | 100 | 110| 120 | 130 | 140 | 150 | 160 | 180 | 200 | |
BE | Все приемлемые диаметры |
BG | |
CH | 60 70 80 90 100 110 120 130 150 160 170 180 200 |
CY | |
CZ | |
DE | 60 | 70 | 80 | 90 | 100 | 110 | 120 | 130 | 150 | 200 | |
DK | Диаметры не стандартизированные |
EE | |
ES | |
FI | 90 | 100 | 110 | 130 | 150 | 180 | 200 |
FR | 66 | 83 | 97 | 111 | 125 | 139 | 153 | 167 | 180 | |
GB | 76 | 102 | 127 | 153 | металлические трубы (погрешность 0, -1) |
GR | 60 | 70 | 80 | 90 | 100 | 110 | 120 | 130 | 150 | 180 | 200 | |
HU | I |
IE | 76 | 102 | 127 | 153 | металлические трубы (погрешность 0, -1) |
| 84 | 109 | 137 | 162 | волокнисто-цементные трубы (допуски +/- 3) |
IS | |
IT | 60 | 80 | 100 | 110| 120 | 150| |
LT | |
LU | |
LV | |
MT | |
NL | 60 | 70 | 80 | 90 | 100 | 110 | 130 | 150 | 180 | 200 |
NO | |
PL | |
PT | 60 | 85 | 90 | 95 | 105 | 110 | 115 | 120 | 125 | 130 | 135 | 145 | 155 | 205 | 255 | 305 | 355 |
SE | |
SI | 60 | 70 | 80 | 90 | 100 | 110 | 120 | 130 | 140 | 150 | 160 | 180 | 200 | |
SK | |
(справочное)
B.1 Системы типа D
1 - горелка 1; 2 - горелка 2; 3 - патрубок; 4 - вентилятор
a) Стандартная система D1
1 - заслонка; 2 - общий выходной канал; 3 - газовая труба;
4 - вентилятор; 5 - горелка
b) Стандартная система D2
Рисунок B.1 - Системы типа D
(справочное)
C.1 Преобразование категорий в пределах ограниченного диапазона числа Воббе
| | ИС МЕГАНОРМ: примечание. В официальном тексте документа, видимо, допущена опечатка: пункты 5.2.2.2 и 5.2.2.3 отсутствуют. | |
Любые устройства, принадлежащие к одной категории, могут быть классифицированы как системы, принадлежащие к другой категории, охватывающей более ограниченный диапазон числа Воббе при условии соблюдения и выполнения требований
5.1.1, 5.2.2.2, 5.2.2.3,
5.2.6, и состояние его преобразования соответствует стране (или странам) назначения и что информация, представленная на приборе, соответствует его регулировке.
В принципе, данная эквивалентность признается без подтверждения системы на новые испытания.
Тем не менее, могут быть необходимы дополнительные испытания с помощью давления и испытательных газов, действующих в предполагаемой стране (или странах) назначения:
a) при различном давлении питания в стране (или странах), для которых прибор был испытан от стран предполагаемого назначения; или
b) когда система, оснащенная регуляторами
<*> (опломбированными), была испытана в условиях исходной категории с испытательными газами, отличающимися от страны, где прибор будет продаваться; или
c) когда требования к регуляторам (см.
5.2.6) по отношению к существующей категории отличаются от новой категории.
--------------------------------
<*> В
приложении C слово "регулятор" относится к регуляторам расхода газа и регуляторам с фиксированным выходом для первичной подачи воздуха.
Во всех случаях эти дополнительные тесты - не более, чем указанные в
7.1.5.1.
Пример 1 - Система категории I2E для G20 при 20 мбар может быть квалифицирована как система категории I2H для G20 при 20 мбар без дополнительных испытаний. Однако, если давления различны, испытания, указанные в 7.1.5.1, осуществляются после замены инжекторов, если необходимо.
Однако, если давления разные, то после замены форсунок, при необходимости, проводятся испытания, указанные в
7.1.5.1.
Пример 2 - Система категории I2E+ для G20 при 20 мбар может быть квалифицирована как система категории I2H для G20 при 20 мбар при условии, что она удовлетворяет соответствующим испытаниям, указанным в 7.1.5.1,
после замены форсунок, при необходимости, и после настройки регулятора в соответствии с требованиями 5.2.6.
C.2 Преобразование категорий в пределах одинакового диапазона числа Воббе
Любую систему, принадлежащую к одной категории, можно отнести к другой категории с более ограниченным диапазоном числа Воббе при условии, что требования
5.1.1 -
5.2.3 и
5.2.6 выполнены и состояние перехода соответствует условиям страны (или стран) назначения, а информация о системе подтверждает ее настройку.
В принципе, данная эквивалентность признается без подтверждения прибора на новые испытания. Однако могут понадобиться дополнительные испытания с использованием давлений и испытательных газов, используемых в настоящее время в планируемой стране (или странах) назначения:
a) при различном давлении питания в стране (или странах), для которых система была испытана, от стран предполагаемого назначения; или
b) когда система, оснащенная регуляторами
<**> (опломбированными), была испытана в условиях исходной категории с испытательными газами, отличающимися от газов стран, где прибор будет продаваться; или
c) когда требования к регуляторам (см.
5.2.6) по отношению к существующей категории отличаются от новой категории.
--------------------------------
<**> Если страна назначения Бельгия, следует учитывать специальные местные условия, описанные в
приложении G.
Во всех случаях эти дополнительные тесты - не более, чем указанные в
7.1.5.1.
Примеры
1 Система категории I2E+ может быть квалифицирована как система категории I2Esi или I2Er при условии, что она удовлетворяет испытаниям, указанным в 7.1.5.1, для испытательных давлений и испытательных газов, относящихся к категории I2Esi или I2Er, с соответствующими форсунками и корректировкой. Эти корректировки должны учитывать требования 5.2.6.
2 Система категории I2Esi или I2Er может быть квалифицирована как система категории I2E+ при условии, что она удовлетворяет требованиям, указанным в 7.1.5.1 для испытательных давлений, соответствующих категории I2E+. Кроме того, все регуляторы должны быть закрыты и опломбированы в соответствующих положениях, с учетом требований 5.2.6.
C.3 Преобразование категорий в пределах расширенного диапазона числа Воббе
Система, принадлежащая к одной категории, может быть классифицирована как система другой категории, охватывающей широкий спектр числа Воббе, если она соответствует всем конструктивным требованиям к предлагаемой новой категории.
Кроме того, система должна быть подвержена испытаниям, указанным в
7.1.5.1, с помощью испытуемых газов и давлений для предлагаемой новой категории. В случае необходимости, должны учитываться особые условия, которые приведены в
приложении G.
(справочное)
ВЫЧИСЛЕНИЕ МАССОВОГО РАСХОДА ТОПОЧНЫХ ГАЗОВ
D.1 Массовый расход топочного газа

(D.1)
где Mfg - массовый расход топочного газа, кг/с;

- количество водяного пара, H
2O, кг/м
3;

- количество азота, N
2, кг/м
3;

- количество кислорода, O
2, кг/м
3;

- количество углекислого газа, CO
2, кг/м
3;
Q - измеренная тепловая мощность, кВт;
Hi - низшая теплота сгорания, кВт·ч/м3.
D.2 Количество воздуха в топочном газе
Количество воздуха в топочном газе
L вычисляется по
формуле D.2

(D.2)
где L - количество воздуха в топочном газе, м3/м3;
Lmin - потребление воздуха, м3/м3;
Vat - количество сухого топочного газа, м3/м3;

- расчетное содержание углекислого газа в сухом воздухе без продуктов сгорания, %;

- концентрация углекислого газа, измеренная в образце при испытании внутреннего сгорания, %.
D.3 Коэффициент избытка воздуха в топочном газе 
Коэффициент избытка воздуха

в топочном газе вычисляется по
формуле D.3

(D.3)
где

- коэффициент избытка воздуха в топочном газе;
L - количество воздуха в топочном газе, м3/м3;
Lmin - потребление воздуха, м3/м3.
D.4 Количество водяного пара в топочном газе
Количество водяного пара

в топочном газе вычисляется по
формуле D.4

(D.4)
где

- количество водяного пара в топочном газе, кг/м
3;
Vat - количество сухого топочного газа, м3/м3;
Vaf - количество влажного топочного газа, м3/м3.
D.5 Количество азота в топочном газе
Количество азота

в топочном газе вычисляется по
формуле D.5

(D.5)
где

- количество азота в топочном газе, кг/м
3;

- коэффициент избытка воздуха в топочных газах равен 1;
Lmin - потребление воздуха, м3/м3.
D.6 Количество кислорода в топочном газе
Количество кислорода

в топочном газе вычисляется по
формуле D.6

(D.6)
где

- количество кислорода в топочном газе, кг/м
3;

- коэффициент избытка воздуха в топочных газах равен 1;
Lmin - потребление воздуха, м3/м3.
D.7 Количество сухого топочного газа
Количество сухого топочного газа с коэффициентом избытка воздуха
Vt вычисляется по
формуле D.7

(D.7)
где Vt - количество сухого топочного газа, кг/м3;
Vat - количество сухого топочного газа, м3/м3;

- коэффициент избытка воздуха в топочных газах равен 1;
Lmin - потребление воздуха, м3/м3.
D.8 Количество углекислого газа в топочном газе
Количество углекислого газа

в топочном газе вычисляется по
формуле D.8

(D.8)
где

- количество углекислого газа в топочном газе, кг/м
3;

- количество азота в топочном газе, кг/м
3;

- количество кислорода в топочном газе, кг/м
3;
Vt - количество сухого топочного газа, кг/м3.
Таблица D.1
Характеристики значений для расчетов массового расхода
топочного газа
| | ИС МЕГАНОРМ: примечание. Шапка таблицы дана в соответствии с официальным текстом документа. | |
Газ | Количество топочных газов  , м 3/м 3 |  , % | Потребление воздуха  | Низшая теплота сгорания |
сухой Vat | влажный Vaf | | м3/м3 | Hi, кВт·ч/м3 |
Первое семейство | Группа A (G110) | 3,40 | 4,42 | 7,66 | 3,66 | 4,09 |
Группа b (G120) | 3,82 | 4,93 | 8,37 | 4,16 | 5,59 |
Второе семейство | Группа L/LL (G25) | 7,46 | 9,18 | 11,51 | 8,19 | 8,57 |
Группа H/E (G20) | 8,52 | 10,52 | 11,73 | 9,52 | 9,97 |
Третье семейство | Группа B/P (G30) | 28,45 | 33,45 | 14,06 | 30,95 | 34,39 |
G31 | 21,80 | 25,80 | 13,80 | 23,80 | 25,90 |
(справочное)
ОПРЕДЕЛЕНИЕ ТИПОВ ГАЗА, ИСПОЛЬЗУЕМЫХ В РАЗЛИЧНЫХ СТРАНАХ
Таблица E.1
Средства определения типов газа, используемых
в различных странах
Тип газа | G110 | G120 | G130 | G150 | G20 | G25 | G30 | G31 |
|
AT | | | | | Erdgas | | Flussiggas |
BE | | | | | Aardgas, Gaz naturel | Aardgas, Gaz naturel | Butaan, Butane | Propaan, Propane |
CH | | | Propan-Luft Butan-Luft | | Erdgas H | | Butan | Propan |
CY | | | | | | | | |
CZ | | | | | | | | |
DE | | | | | Erdgas E Wo, (12,0 - 15,7) кВ·ч/м3 | Erdgas LL Wo, (10,0 - 13,1) кВ·ч/м3 | Flussiggas B/P |
Butan | Propan |
DK | Bygas | | | | Naturgas | | F-Gas | F-Gas |
EE | | | | | | | | |
ES | Gas manufacturado | | Aire propanado | Aire metanado | Gas natural | | Butano | Propano |
FI | | | | | Maakaasu, Naturgas | | Butaani, Butan | Propaani, Propan |
| | | Air propane/Air butane | | Gaz naturel Lacq | Gaz naturel Groningue | Butane | Propane |
GB | | | | | Natural Gas | | Butane | Propane |
GR | | | | | Natural Gas | | Butane | Propane |
HU | | | | | | | | HU |
IE | | | | | Natural Gas | | Butane | IE |
IS | | | | | | | | IS |
IT | Gas di  | | | | Gas naturale/Gas metano | | GPL |
LT | | | | | | | | |
LU | | | | | | | | |
LV | | | | | | | | |
MT | | | | | | | | |
NL | | | | | | Aardgas | Butaan | Propaan |
NO | | | | | | | Butan | Propan |
PL | | | | | | | | |
PT | | | | |  Natural | | Butano | Propano |
SE | | | | | | | |
SI | | | | | Zemeljski plin | |  naftni plin (UNP) |
Butan | Propan |
SK | | | | | | | |
| | ИС МЕГАНОРМ: примечание. В официальном тексте документа, видимо, допущена опечатка: пункт E.1.4 отсутствует. | |
|
<1> Значение символа, соответствующего типу газа, должно быть подробно описано в технической инструкции. Если имеется дополнительная маркировка на приборе и упаковке, объясняющая символ, этот текст должен соответствовать описанию, приведенному в таблице. В этом случае должны быть указаны пара давлений и два описания семейства. <2> См. E.1.4 для расшифровки кодов страны. |
(справочное)
ОСОБЫЕ НАЦИОНАЛЬНЫЕ УСЛОВИЯ
F.1 Общие положения
Особые национальные условия, национальный порядок или правила, которые не изменяются в течение длительного промежутка времени (например, климатические условия, условия электрического заземления).
Особые национальные условия включаются в настоящий стандарт.
Для стран, на которые распространяются особые национальные условия, они являются обязательными, а для других стран - информационными.
F.1.1 Бельгия
Приборы категории I2E+, I2E(R)B и I2E(S)B, применяемые в Бельгии, должны пройти испытание на розжиг, перекрестное зажигание и устойчивость пламени с применением предельного газа G231 при минимальном давлении 1,5 кПа (15 мбар).
F.1.2 Италия
Приборы категории I3B/P, II2H3B/P и III1a2H3B/P без регуляторов давления, применяемые в Италии, должны пройти испытания на устойчивость пламени с применением предельного газа G31 при давлении 4,5 кПа (45 мбар).
(справочное)
ПРИМЕР РАСЧЕТА ВЕСОВЫХ КОЭФФИЦИЕНТОВ ДЛЯ СИСТЕМЫ,
ИСПОЛЬЗУЮЩЕЙ НЕСКОЛЬКО ГАЗОВ
G.1 Расход прибора
Расход прибора: 100%, 50% и 30%.
Таблица G.1
Весовой коэффициент Qpi,% и Fpi
Qpi,% (%) | 70 | 60 | 40 | 20 |
Fpi | 0,15 | 0,25 | 0,30 | 0,30 |
G.2 Весовой коэффициент Qpi,% = 20
Qmin равняется 30%, что больше, чем 20%, таким образом Fpi при 20% прибавляется к Fpi при 30%.
Fpi(30%) = 0,3.
G.3 Весовой коэффициент Qpi,% = 40
Qpi,% = 40 должен быть распределен между Qpi,% = 30 (низкий расход) и Qpi,% = 50 (высокий расход).
Высокий расход:
Низкий расход:
Fpi(30%) = Fpi(40%) - Fpi(50%) = 0,3000 - 0,1875 = 0,1125.
G.4 Весовой коэффициент Qpi,% = 60
Qpi,% = 60 должен быть распределен между Qpi,% = 50 (низкий расход) и Qpi,% = 100 (высокий расход).
Высокий расход:
Низкий расход:
Fpi(50%) = Fpi(60%) - Fpi(100%) = 0,2500 - 0,0833 = 0,1667.
G.5 Весовой коэффициент Qpi,% = 70
Qpi,% = 70 должен быть распределен между Qpi,% = 50 (низкий расход) и Qpi,% = 100 (высокий расход).
Высокий расход:
Низкий расход:
Fpi(50%) = Fpi(70%) - Fpi(100%) = 0,1500 - 0,0857 = 0,0643.
G.6 Общий весовой коэффициент
Таблица G.2
Общий весовой коэффициент
Темп | 20% | 40% | 60% | 70% | Общий |
30% | 0,3000 | 0,1125 | - | - | 0,4125 |
50% | - | 0,1875 | 0,1667 | 0,0643 | 0,4185 |
100% | - | - | 0,0833 | 0,0857 | 0,1690 |
Общий | 0,3000 | 0,3000 | 0,2500 | 0,1500 | 1,0000 |
NO
x,pond = 0,4125·NO
x,mes(30%) + 0,4185·NO
x,mes(50%) +
+ 0,1690·NOx,mes(100%). (G.1)
(справочное)
РАСЧЕТ ПРЕОБРАЗОВАНИЙ NOx
H.1 Коэффициенты преобразования эмиссии NOx
Таблица H.1
Пересчет значения эмиссии NOx для газов первого семейства
| G110 |
мг/кВт·ч | мг/МДж |
O2 = 0% | | 1,714 | 0,476 |
| 0,834 | 0,232 |
O2 = 3% | 1 мг/м3 | 2,000 | 0,556 |
1 мг/м3 | 0,974 | 0,270 |
<a> 1 мг/м 3 = 2,054 мг/м 3 и 1 мг/м 3 = 1 см 3/м 3. |
Таблица H.2
Пересчет значения эмиссии NOx для газов второго семейства
| G20 | G25 |
мг/кВт·ч | мг/МДж | мг/кВт·ч | мг/МДж |
O2 = 0% | | 1,764 | 0,490 | 1,797 | 0,499 |
| | 0,859 | 0,239 | 0,875 | 0,243 |
O2 = 3% | 1 мг/м3 | 2,059 | 0,572 | 2,098 | 0,583 |
| 1 мг/м3 | 1,002 | 0,278 | 1,021 | 0,284 |
<a> 1 мг/м 3 = 2,054 мг/м 3 и 1 мг/м 3 = 1 см 3/м 3. |
Таблица H.3
Пересчет значения эмиссии NOx для газов третьего семейства
| G30 | G31 |
мг/кВт·ч | мг/МДж | мг/кВт·ч | мг/МДж |
O2 = 0% | | 1,792 | 0,498 | 1,778 | 0,494 |
| | 0,872 | 0,242 | 0,866 | 0,240 |
O2 = 3% | 1 мг/м3 | 2,091 | 0,581 | 2,075 | 0,576 |
| 1 мг/м3 | 1,018 | 0,283 | 1,010 | 0,281 |
<a> 1 мг/м 3 = 2,054 мг/м 3 и 1 мг/м 3 = 1 см 3/м 3. |
H.2 Преобразование NOx - Расчет
Блок-схема для расчета эмиссии NOx при стандартных условиях мг/мДж, мг/кВт·ч и мг/м3; сухого, с определенным количеством O2.
Анализатор |
| |
(Частично) Отбор образцов с сохранением их естественной влажности |
| |
Остаточный водяной пар |
| |
 и  Выражение измеренного значения через нейтральный топочный сухой газ или |
| |
Преобразование в x %  |
Таблица H.4
Взаимоотношение символов в EN 777-1:2008 и CR 1404:1994
EN 777-1:2008 | CR 1404:1994 | Объяснение |
VCO,M | (CO)m | Измеряют концентрацию в образце, взятом при испытании на сгорание (мг/м3, V/V): |
| (NOx)m |
VNO,M | (NO)m |
| (NO2)m |
| (CO2) | Измеряют концентрацию в образце, взятом при испытании на сгорание (%, V/V) |
| (O2) |
| (CO2)n | Максимальное содержание углекислого газа в сухом воздухе без продуктов сгорания (%, V/V) |
| (O2)md | Коррекция измеренного значения частично сухого (mpd) образца газа (md) с сухим образцом газа |
| (CO2)md |
y | y | Содержание водяного пара в высушенном образце газа (%, V/V) |
x | x | Эталонный уровень O2 в сухом газе (%) (например, 3% O2) |
X1 | X1 | Значение NOx при нейтральных условиях топочного газа при 0% O2 (мг/м3, мг/МДж или мг/кВт·ч) |
X5 | X5 | Значение NOx при x % O2 в сухом газе преобразуется из нейтральных условий сгорания (мг/м3, мг/МДж или мг/кВт·ч) |
(справочное)
НАЦИОНАЛЬНЫЕ УСЛОВИЯ СТРАН, В КОТОРЫХ НАЦИОНАЛЬНЫЕ ОРГАНЫ
ЯВЛЯЮТСЯ АССОЦИИРОВАННЫМИ ЧЛЕНАМИ CEN
Примечание - Это приложение остается в силе, чтобы позволить настоящим ассоциированным членам CEN представить информацию о любых местных условиях. В данное время не получено никакой информации ни от одного ассоциированного государства - члена CEN.
(справочное)
ПРИМЕР ПЛАНОВ ВЫБОРОЧНОГО КОНТРОЛЯ
J.1 План выборочного контроля
J.1.1 Общие положения
В данном примере плана выборочного контроля берутся данные из таблицы, приведенной в ISO 2859-1.
J.1.2 Допустимый уровень качества (ДУК)
В данном примере ДУК определяется в зависимости от особенности качества, которое подвергается контролю. В отношении дефектов, которые классифицируются как основные, план выборочного контроля основан на ДУК 4,0.
Примечание - Ответственность за классификацию дефектов несет лицо, отвечающее за производственный процесс.
J.1.3 Уровень контроля
Уровень контроля определяет взаимоотношения между объемом партии и объемом пробы. В данном примере все поступающие товары подвергаются уровню контроля II.
J.1.4 Нормальный, усиленный и облегченный контроль
В этом примере обычно первоначальной проверке подвергаются все входящие материалы, после чего:
a) если десять последовательных партий были приняты при нормальном контроле, возможен переход на ослабленный контроль. Нормальный контроль возобновляется в случае, если хоть одна партия не пройдет ослабленный контроль;
b) если две из любых пяти последовательных партий были отклонены при нормальном контроле, переходят на усиленный контроль. Нормальный контроль возобновляется в случае, если пять последовательных партий проходят усиленный контроль.
J.1.5 Одноступенчатые, двухступенчатые, многоступенчатые виды планов последовательного отбора проб
Если не указано иное, все входящие материалы подвергают одноступенчатому плану.
J.1.6 Качество партии
После того как установлены четыре первых переменных параметра, в таблицах плана выборочного контроля указывается количество образцов для проверки из любого количества данной партии.
Вся информация относительно уровня контроля должна быть соответствующим образом документирована.
J.2 Уровни контроля и процедур
J.2.1 Поступающий материал
На этом этапе образцы осматривают с использованием ДУК = 2,5 в соответствии с ISO 2859-1, общий уровень контроля II, единый план выборки для нормального контроля и принятия решения о применении усиленного или ослабленного контроля, если это необходимо. Вся заводская документация должна быть проверена на предмет соответствия технической спецификации.
J.2.2 Аспекты внутреннего производственного процесса
Дополнительный контроль всех размеров осуществляют в случае существенных изменений в производственном процессе.
Первый контроль проводится и подтверждается наблюдателем после каждой технологической операции станка. В дальнейшем операторы проводят необходимую проверку размеров из расчета четыре проверки на каждую партию без протоколирования, используя предельный калибр.
В данном примере этот контроль дополняется полной проверкой размеров в начале и конце смены, которую выполняет наблюдатель на линии с помощью измерительных инструментов. В этом случае все результаты вносятся в протокол контроля.
J.2.3 Проверка готовой продукции
a) В конце производственного процесса, каждый прибор должен быть визуально осмотрен на предмет повреждений;
b) На складе, один раз в неделю, инспектор товаров случайным образом выбирает четыре образца определенного ассортимента и предмет полной проверки каждого элемента. Это также должно осуществляться по определенной программе.
(справочное)
ОПРЕДЕЛЕНИЕ ПОТЕРЬ ТЕПЛА, УНОСИМЫХ ВМЕСТЕ С ДЫМОВЫМИ ГАЗАМИ
K.1 Общие условия испытания
K.1.1 Принцип испытания
Потери тепла зданием через вытяжную систему определяются из замеров концентрации CO2 и температуры продуктов сгорания.
K.1.2 Помещение для испытания
Помещение должно иметь достаточную вентиляцию, без сквозняков, которые могут повлиять на производительность прибора. Температура в помещении должна поддерживаться на уровне (20 +/- 5) °C, в ходе испытания не должна отличаться более чем на 2 К.
Система устанавливается в соответствии с
7.1.6 и эксплуатируется в соответствии с инструкциями производителя, с эталонным газом (см.
таблицу 5). За исключением случаев, когда система устанавливается с выходным каналом для продуктов сгорания с максимальным эквивалентным сопротивлением, заявленным производителем.
K.2 Условия испытаний
Система поставляется с эталонным газом(ами), которые соответствуют этой категории и эксплуатируется в пределах +/- 2% от номинальной тепловой мощности.
Концентрация CO2 и температура продуктов сгорания измеряются с помощью подходящего зонда, который состоит из устройства измерения температуры, расположенного в системе отвода дымовых газов после регулятора тяги или в выпускном канале для продуктов сгорания, в зависимости от конфигурации. Частота дискретизации продуктов сгорания для измерения температуры составляет примерно 100 л/ч.
Пробник должен быть использован, как показано на
рисунке K.1, и располагается на 800 мм выше над соединением выходного устройства вытяжки в соответствии с инструкциями производителя.
Примечание - Пробоотборник изготавливается из стали и полируется.
A - стеатитовая трубка с двумя отверстиями, в которые впаяны
провода термопары;
B - три равноудаленных отверстия

в каждом из трех стержней; C - 0,97D, где D - внутренний
диаметр вытяжки
Рисунок K.1 - Пробоотборник
K.3 Процедура испытания
Если система установлена и настроена, как описано в
K.1.3, система работает в течение достаточного времени, чтобы достичь термического равновесия. Затем осуществляются измерения температуры и концентрация CO
2 в продуктах сгорания и в воздухе для горения.
Расход газа измеряется по числу оборотов газового счетчика в течение определенного периода времени, не менее 100 секунд.
K.4 Точность измерений
Измерения осуществляются со следующей точностью.
Таблица K.1
Точность измерений
Количество измерений | Точность измерений |
Температура воздуха для горения | +/- 0,5 °C |
Температура продуктов сгорания | +/- 2,0 °C |
CO2 концентрация воздуха для горения и продукты сгорания | +/- 6,0% от концентрации образца |
Теплота сгорания | +/- 0,5% |
K.5 Расчет потери тепла
Используемые символы:
q1 - теплота сухих продуктов сгорания (процентное содержание тепловыделения на единицу объема газа);
q2 - теплота водяного пара, содержащаяся в продуктах сгорания (процентное содержание тепловыделения на единицу объема газа);
C1 - средняя удельная теплота сухих продуктов сгорания в МДж/(м
3·К) (см.
рисунок K.2);
t1 - средняя температура воздуха для горения в °C;
t2 - средняя температура продуктов сгорания в °C;
Hi - низшая теплота сгорания газа при 1013,25 мбар и 15 °C, при МДж/м3;
Hs - высшая теплота сгорания газа при 1013,25 мбар и 15 °C, при МДж/м3;
Vf - объем сухих продуктов сгорания на одну единицу объема газа в м3.
Vf - рассчитывается от объема CO
2 
, производимого при сгорании одного кубического метра газа (см.
таблицу K.2), и от концентрации CO
2 в продуктах сгорания

.
1 - процент CO2 в продукте сгорания минус процент CO2
в воздухе; 2 - средняя удельная теплоемкость сухих продуктов
сгорания, мДж/м3·К; 3 - температура продуктов сгорания, °C
Рисунок K.2 - Средняя удельная теплота
сухих продуктов сгорания
Таблица K.2
Значения

Обозначение газа | |
G110 | 0,26 |
G120 | 0,32 |
G20 | 1,00 |
G25 | 0,86 |
G30 | 4,00 |
G31 | 3,00 |
Потери тепла q (в %) определяются по формуле
qL = q1 + q2,
где q1 - теплота сухих продуктов сгорания (процент тепла, выделяемого одной единицей объема газа);
q2 - теплота водяного пара, содержащаяся в продуктах сгорания (процент тепла, выделяемого одной единицей объема газа).
(справочное)
РАЗДЕЛЫ ЕВРОПЕЙСКОГО СТАНДАРТА, СООТВЕТСТВУЮЩИЕ
ОСНОВОПОЛАГАЮЩИМ ТРЕБОВАНИЯМ ДИРЕКТИВЫ ЕС
Примечание 1 - Текст настоящего приложения совпадает с текстом
приложения ZA (информационное) "Разделы настоящего Европейского стандарта, соответствующие основополагающим требованиям Директивы ЕС" и приводится как справочное, поскольку действует только для государств - членов ЕС.
Европейский стандарт, на основе которого подготовлен настоящий стандарт, разработан Европейским комитетом по стандартизации (CEN) по поручению комиссии Европейского сообщества и Европейской ассоциации свободной торговли (EFTA) и реализует основополагающие требования Директивы 90/396/EEC "Сближение законодательных актов государств-членов по бытовым приборам на газообразном топливе".
Примечание 2 - К продукции, на которую распространяется европейский стандарт, могут применяться требования других стандартов (документов) и Директив ЕС.
Следующие разделы настоящего стандарта, соответствуют основополагающим требованиям Директивы 90/396/EEC.
Соблюдение данных пунктов настоящего стандарта соответствует специальным основным требованиям директивы и нормативам EFTA.
Таблица ZA.1
Основные требования | Тема | Соответствующие разделы EN 777-1 |
1.1 | Безопасность конструкции и эксплуатации | Весь стандарт |
1.2 | Инструкции и предупредительные надписи | |
1.2.1 | Инструкции по монтажу | 8.2.2.1 |
Вид газа | 8.1.2 |
Давление питания газа | 8.1.2, 8.1.4 |
Свежий воздух: - для горения | 8.1.3, 8.1.4 |
- рассеивание продуктов | 8.1.4, 8.2.2.1 |
Обдуваемые горелки | Не применимо |
1.2.2 | Руководство по эксплуатации | 8.2.1, 8.2.3 |
1.2.3 | Предупредительные надписи по маркировке | 8.1.3, 8.1.4 |
1.3 | Фитинги | 5.2 |
Инструкции | Не применимо |
2.1 | Характеристики материалов | 5.1.2, 6.7 |
2.2 | Свойства материалов | 1 |
3.1.1 | Срок службы | 5.1.2 |
3.1.2 | Конденсация | 6.7, перечисление f) |
3.1.3 | Взрывоопасность | 5.1.2, 5.1.4.1 |
3.1.4 | Проникновение воздуха/воды | 6.1.1 |
3.1.5 | Нормальные колебания электропитания | 5.1.9, 6.6.1, перечисление d) |
3.1.6 | Ненормальные колебания электропитания | 5.1.9, 6.6.1, перечисление d) |
3.1.7 | Аварийные ситуации, связанные с электроэнергией | 5.1.8 |
3.1.8 | Детали под давлением | Не применимо |
3.1.9 | Регулирующие и защитные устройства: | |
- автоматической системы контроля горения газа | 5.2.12.1 |
- многофункциональный контроль | 5.2.7 |
- автоматические отсечные клапаны | 5.2.8, 5.2.12.6 |
- термостат/устройство отсечки | 5.2.10, 5.2.12.7 |
- регуляторы | 5.2.6 |
- устройство для пробы воздуха | 5.2.11, 6.6.1, перечисление e), 6.6.2 |
3.1.10 | Блокировка защитных устройств | 5.2.1 |
3.1.11 | Защита регулятора | 5.2.2 |
3.1.12 | Переключающие и регулирующие устройства | 5.2.5.2 |
3.2.1 | Утечка газа | 5.1.4, 6.1 |
3.2.2 | Газовыделение во время розжига, затухания и повторного розжига | 5.2.7, 5.2.8, 5.2.12 |
3.2.3 | Накопление несгоревшего газа | 5.2.11 |
3.3 | Розжиг: - розжиг, повторный розжиг | 5.2.12.5, 5.2.12.6, 5.3, 6.4 |
- перекрестное зажигание | 5.2.12.5, 5.2.12.6, 5.3.3, 6.4 |
3.4.1 | Устойчивость пламени | 6.4 |
Опасные вещества | 6.6 |
3.4.2 | Утечка продуктов сгорания: | |
- нормальное использование | 5.1.4.2, 8.2.2.1, перечисление c) |
3.4.3 | Утечка продуктов сгорания: | |
- аварийное состояние тяги | 6.6.2 |
3.4.4 | Бытовые системы, не присоединенные к дымоходу или дымовой трубе | Не применимо |
3.5 | Рациональное использование энергии | Не рассматривается в настоящем стандарте (см. "область применения") |
3.6.1 | Температура пола и т.д. | 6.3.1 |
3.6.2 | Температура кнопок/рычагов | Не применимо (см. 5.2.1) |
3.6.3 | Наружные детали | Не применимо |
3.7 | Продукты питания, а также и вода | Не применимо |
(справочное)
РАЗДЕЛЫ ЕВРОПЕЙСКОГО СТАНДАРТА, КАСАЮЩИЕСЯ ПОЛОЖЕНИЙ
ДИРЕКТИВЫ ЕС СТРОИТЕЛЬНОЙ ПРОДУКЦИИ
ZB.1 Область применения и соответствующие характеристики
Примечание 1 - Текст настоящего приложения совпадает с текстом
приложения ZB (информационное) "Разделы настоящего Европейского стандарта, касающиеся положений Директивы ЕС строительной индустрии" и приводится как справочное, поскольку действует только для государств - членов ЕС.
Настоящий стандарт был подготовлен по обязательству M105 "Дымоходы, газовые каналы и специальные изделия" оказываемому CEN Европейской комиссией и Европейской ассоциацией свободной торговли.
Положения настоящего стандарта, приведенные в данном приложении, соответствуют требованиям обязательства, предоставленного в соответствии с ЕС по строительным изделиям
(89/106/EEC).
Соответствие этим разделам дает основание для предположения о пригодности дымоходов, указанных в данном приложении, для использования, предусмотренного в настоящем стандарте; должна быть сделана ссылка на информацию, сопровождающую маркировку CE.
Внимание - Другие требования и другие Директивы ЕС могут применяться к дымоходам, входящим в сферу настоящего стандарта в том случае, если это не влияет на их пригодность к использованию.
Примечания
2 В дополнение к требованиям, касающимся опасных веществ, содержащихся в настоящем стандарте, могут учитываться другие требования, предъявляемые к изделиям, входящим в область его применения (например, действующего Европейского законодательства и национальных законов, правил и административных положений). В целях соответствия положениям Директивы ЕС по строительным изделиям эти требования также должны быть соблюдены.
3 Информационная база европейских и национальных положений по опасным веществам приводится в строительстве сети на EUROPA (доступ через http://ec.europa.eu/enterprise/construction/internal/dangsub/dangmain_en.htm).
Настоящее приложение создает условия для CE-маркировки дымоходов, предназначенных для использования согласно
таблице ZB.1, и представляет соответствующие разделы для применения.
Данное приложение соответствует области применения настоящего стандарта и определяется
таблицами ZB.1 и
ZB.2.
Таблица ZB.1
Область применения и соответствующие требования пунктов
Продукция: Металлическая система POCED, указанная в разделе 1 настоящего стандарта, за исключением терминалов и опор. Предполагаемое использование: POCED с одной и несколькими стенками |
Основные характеристики | Пункты в настоящем стандарте | Уровни и/или классы | Примечания |
Прочность на сжатие | | Нет | Указания производителя |
Реакция на огонь | Нет | Нет | |
Огнестойкость | Нет | Нет | |
Газонепроницаемость/утечка | | Нет | Критерий соответствия/несоответствия |
Гидравлическое сопротивление | | Нет | Указание производителем минимального и максимального эквивалентного сопротивления |
Термическое сопротивление/задание размеров | Нет | Нет | |
| Указания производителя |
Термическое сопротивление удару | Нет | Нет | |
Изгибная прочность на разрыв | | Нет | Критерий соответствия/несоответствия |
| Значение, указанное производителем |
Стойкость к химическим веществам | | Нет | Критерий соответствия/несоответствия |
Коррозийная стойкость | | Нет | Критерий соответствия/несоответствия |
Стойкость к замерзанию и оттаиванию | Нет | Нет | |
<a> Реакция на огонь не применяется к металлическим POCED. <b> Сопротивление коптящему пламени G не применяется к газовым приборам. <c> Изоляция I не применяется к металлическим POCED. Целостность E не применяется к металлическим POCED. <d> Эта характеристика применима к дымоходам бытовых приборов. Работоспособность POCED проверяется при испытании прибора. <e> Эта характеристика относится к строительным материалам, поглощающим воду. Настоящий стандарт распространяется на приборы с металлическими POCED. |
Таблица ZB.2
Область применения и соответствующие требования пунктов
Продукция: Оконченные устройства, указанные в пункте 1 настоящего стандарта Предполагаемое использование: POCED с одной или несколькими стенками |
Основные характеристики | Пункты в настоящем стандарте | Уровни и/или классы | Примечания |
Гидравлическое сопротивление | | Нет | Указания производителя |
Требование к определенной характеристике не применяется в тех государствах-членах, где для этой характеристики нет нормативных положений по предполагаемому использованию изделия. В этом случае производители, размещающие свою продукцию на рынках этих стран, не обязаны ни определять, ни заявлять о рабочем режиме для своих изделий с учетом этой характеристики. В информации, сопровождающей маркировку CE (см.
ZB.3), можно использовать фразу "Рабочий режим не определен". Эту фразу можно использовать там, где данная характеристика ограничивается пороговым уровнем.
ZB.2 Процедура(ы) соответствия [строительной продукции]
ZB.2.1 Система(ы) подтверждения соответствия
Система(ы) подтверждения соответствия POCED, приведенные в
таблицах ZB.1 и
ZB.2 в соответствии с Решением Комиссии 95/467/ЕС от 27 сентября 1995 года, как указано в приложении III мандата для "Дымоходов, газовых каналов и специальных изделий", приведена(ы) в
таблице ZB.3 с учетом области применения и соответствующего уровня(ней) или класса(ов).
Таблица ZB.3
Система(ы) подтверждения соответствия
Продукция | Область применения | Уровень(ни) или класс(ы) | Аттестация системы подтверждения соответствия |
Металлические изделия для дымохода | Дымоходы | Любой | 2+ |
Оконченные устройства | 4 |
Система 2+: См. Директиву 89/106/EEC (CPD) приложение III.2. (ii), первая возможность, в том числе сертификация заводского производственного контроля, одобренная соответствующим органом на основании первичного осмотра организации и заводского производственного контроля, а также непрерывного контроля, оценки и утверждения заводского производственного контроля. |
| | ИС МЕГАНОРМ: примечание. В официальном тексте документа, видимо, допущена опечатка: имеется в виду таблица ZB.1.2, а не ZB.2. | |
Аттестация соответствия POCED в
таблицах ZB.1 и
ZB.1.2 должна основываться на оценке процедур соответствия, указанных в
таблицах ZB.4 и
ZB.5 соответственно, вытекающих из применения разделов настоящего или другого европейского стандарта, упомянутого в данном стандарте.
Таблица ZB.4
Установление требований для подтверждения соответствия
Задачи | Содержание задачи | Оценка соответствия, пункты применения |
Задачи производителя | Контроль производственного процесса (КПП) | Параметры по всем соответствующим характеристикам по таблице ZB.1 | |
Первоначальное типовое испытание, проведенное производителем | | |
Возможное испытание образцов, взятых на производстве | | |
Задачи уполномоченных органов | Сертификации КПП сертификационной организацией на основе: | Первоначальная инспекция завода и проверка КПП | Параметры по всем соответствующим характеристикам по таблице ZB.1 | |
Непрерывное наблюдение, оценка и аттестация КПП | Параметры по всем соответствующим характеристикам по таблице ZB.1 | |
Таблица ZB.5
Распределение задач оценки соответствия
Задачи | Содержание задачи | Оценка соответствия, пункты применения |
Задачи для производителя | Контроль производственного процесса (КПП) | Параметры по всем соответствующим характеристикам по таблице ZB.1 | |
Первоначальное типовое испытание | | |
ZB.2.2 Сертификат ЕС и декларация соответствия
При соблюдении условий настоящего приложения для изделий, сертифицируемых по системе 2+, и последующем утверждении соответствующим органом сертификата, производитель или его представитель на территории ЕЭП подготавливает и хранит декларацию о соответствии, которая дает право производителю наносить CE-маркировку. Эта декларация должна содержать:
- наименование и адрес производителя или его уполномоченного представителя в ЕЭП, а также место производства;
Примечание 1 - Производителем может быть также лицо, ответственное за размещение продукта на рынок ЕЭП, если он берет на себя ответственность за маркировку CE.
- описание изделия (тип, обозначение, использование и т.д.) и экземпляр информации, сопровождающей маркировку CE;
Примечание 2 - Отдельные сведения, необходимые для декларации и уже указанные в информации CE-маркировки, не должны повторяться.
- требования, которым соответствует изделие (например,
приложению ZB настоящего стандарта);
- особые условия, необходимые для использования продукции (например, для применения при определенных условиях);
- номер прилагаемого сертификата КПП;
- фамилия и должность лица, имеющего право подписи декларации от имени производителя или его уполномоченного представителя.
Декларация должна сопровождаться сертификатом ЗТК, составленным уполномоченным органом, который должен содержать, в дополнение к вышеуказанной информации:
- наименование и адрес уполномоченного органа;
- номер сертификата контроля заводского производственного процесса;
- условия и срок действия сертификата, при необходимости;
- фамилия и должность лица, имеющего право подписи сертификата.
Вышеуказанные декларация и сертификат должны быть представлены на государственном языке или языках государства-члена, в котором будет использоваться продукция.
При соблюдении условий настоящего приложения для изделий, сертифицируемых по системе 4, и последующем утверждении соответствующим органом сертификата, производитель или его представитель на территории ЕЭП подготавливает и хранит декларацию соответствия, которая дает право производителю наносить CE-маркировку. Эта декларация должна содержать:
- наименование и адрес производителя или его уполномоченного представителя в ЕС, а также мест производства;
Примечание 3 - Производителем может быть также лицо, ответственное за размещение продукта на рынок ЕЭП, если он берет на себя ответственность за CE-маркировку.
- описание изделия (тип, идентификация, область применения и т.д.) и копию информации к CE-маркировке;
Примечание 4 - Отдельные сведения, необходимые для декларации и уже указанные в информации CE-маркировки, не должны повторяться.
- требования, которым соответствует изделие (например,
приложению ZB настоящего стандарта, и ссылка на отчет(ы) ITT и протоколы контроля заводского производственного процесса (при наличии);
- особые условия, необходимые для использования продукции (например, для применения при определенных условиях);
- фамилия и должность лица, имеющего право подписи декларации от имени производителя или его уполномоченного представителя.
ZB.3 CE-маркировка
Производитель или его уполномоченный представитель, установленный в пределах ЕЭП, несут ответственность за нанесение CE-маркировки.
Символ CE-маркировки должен быть нанесен в соответствии с Директивой 93/68/ЕС и показан на табличке данных прибора. Символ CE должен сопровождаться следующей информацией и может быть указан на табличке данных, упаковке, в инструкции по монтажу прибора или в виде отдельной вставки с пакетом инструкций прибора. При отсутствии возможности представления данной информации с CE-маркировкой, табличкой данных прибора, символ CE будет повторяться в информации (см.
рисунок ZB.1):
- идентификационный номер органа по сертификации (только для продукции систем 2+);
Примечание - Орган по сертификации является "Уполномоченным органом" (уведомление в соответствии CPD), ответственным за сертификат заводского производственного контроля (сертификат КПП).
- наименование или товарный знак и зарегистрированный адрес производителя прибора;
- две последние цифры года, в котором нанесена маркировка;
- номер сертификата ЗТК (при необходимости);
- ссылка на настоящий стандарт.
На
рисунке ZB.1 приведен пример информации, которая должна указываться на изделии, этикетке, упаковке и/или коммерческих документах.
| Маркировка соответствия CE, состоящая из символа "CE", приведенного в соответствии с Директивой 93/68/EEC. Идентификационный номер уполномоченного органа Наименование или торговый знак и юридический адрес производителя Последние две цифры года, в котором была нанесена маркировка Номер сертификата Номер стандарта Описание продукции Информация о характеристиках, не включенных в обозначение или предельные значения для данной продукции (см. таблицу ZB.1) |
AnyCo Ltd, PO Box 21, B-1050 05 01234-CPD-00234 |
EN 777-1: _____ Металлические POCED |
В дополнение к информации, касающейся опасных веществ, упомянутых выше, при необходимости и в соответствующей форме документацию, сопровождающую продукцию, перечисляющей другие законодательные документы относительно опасных веществ, соблюдение которых требуется, вместе с любой информацией, запрошенной тем законодательством. Примечания 1 Европейское законодательство при отсутствии национальных особенностей не упоминается. 2 Нанесение символа CE-маркировки на продукт означает, что она соответствует всем действующим директивам. |
Рисунок ZB.1 - Пример представления информации
о CE-маркировке POCED
(справочное)
СВЕДЕНИЯ О СООТВЕТСТВИИ ССЫЛОЧНЫХ МЕЖДУНАРОДНЫХ СТАНДАРТОВ
МЕЖГОСУДАРСТВЕННЫМ СТАНДАРТАМ
Таблица ДА.1
Обозначение ссылочного и наименование международного стандарта | Степень соответствия | Обозначение и наименование соответствующего межгосударственного стандарта |
EN 88-1:2007 | - | |
EN 126:2004 | IDT | ГОСТ EN 126-2016 "Устройства управления многофункциональные для газовых приборов" |
EN 161:2007 | MOD | ГОСТ 32028-2017 (EN 161:2011+A3:2013) "Клапаны автоматические отсечные для газовых горелок и газовых приборов" |
EN 257:2010 | MOD | ГОСТ 32029-2012 (EN 257:1992) "Термостаты (терморегуляторы) механические для газовых приборов. Общие технические требования и методы испытаний" |
EN 298:2003 | IDT | ГОСТ EN 298-2015 "Автоматические системы контроля горения для горелок и аппаратов, сжигающих газообразное или жидкое топливо" |
EN 437:2003 | - | |
EN 10226-1:2004 | - | |
EN 10226-2:2005 | - | |
EN 60335-1:2002 | IDT | ГОСТ МЭК 60335-1-2008 "Бытовые и аналогичные электрические приборы. Безопасность. Часть 1. Общие требования" |
EN 60335-2-102:2006 | IDT | ГОСТ IEC 60335-2-102-2014 "Бытовые и аналогичные электрические приборы. Безопасность. Часть 2-102. Дополнительные требования к приборам, работающим на газовом, жидком и твердом топливе и имеющим электрические соединения" |
EN 60529:1992 | MOD | ГОСТ 14254-2015 (IEC 60529:2013) "Степени защиты, обеспечиваемые оболочками (Код IP)" |
EN 60584-1:1995 | - | |
EN 60584-2:1993 | - | |
ISO 228-1:2000 | - | |
ISO 3166-1:2013 | MOD | ГОСТ 7.67-2003 (ИСО 3166-1:1997) "СИБИД. Коды названий стран" |
ISO 6976:1995 | - | |
ISO 7005-1:1992 | NEQ | ГОСТ 12816-80 "Фланцы арматуры, соединительных частей и трубопроводов на Pу от 0,1 до 20,0 МПа (от 1 до 200 кгс/см кв.). Общие технические требования" |
ISO 7005-2:1988 | NEQ | ГОСТ 12816-80 "Фланцы арматуры, соединительных частей и трубопроводов на Pу от 0,1 до 20,0 МПа (от 1 до 200 кгс/см кв.). Общие технические требования" |
ISO 7005-3:1988 | - | |
CR 1404:1994 | - | |
<*> Соответствующий межгосударственный стандарт отсутствует. Примечание - В настоящей таблице использованы следующие условные обозначения степени соответствия стандартов: - IDT - идентичные стандарты; - MOD - модифицированные стандарты; - NEQ - неэквивалентные стандарты. |
[1] | EN 416-1:2009 Single burner gas-fired overhead radiant tube heaters for non-domestic use - Part 1: Safety (Нагреватели трубчатые излучающие подвесные с одной газовой горелкой небытового применения. Часть 1. Требования безопасности). |
[2] | EN 125:1991 Flame supervision devices for gas burning appliances - Thermo-electric flame supervision devices (Устройства контроля пламени для газовых приборов. Термоэлектрическая газовая автоматика безопасности). |
[3] | EN 60730-1:2001 Automatic electrical controls for household and similar use - Part 1: General requirements (Устройства управления автоматические электрические бытового и аналогичного назначения. Часть 1. Общие требования). |
[4] | EN 60730-2-1:1997 Automatic electrical controls for household and similar use - Part 2-1: Particular requirements for electrical controls for electrical household appliances (Устройства управления автоматические электрические бытового и аналогичного назначения. Часть 2-1. Частные требования к электрическим устройствам). |
[5] | EN 60730-2-9:2002 Automatic electrical controls for household and similar use - Part 2-9: Particular requirements for temperature sensing controls (Устройства управления автоматические электрические бытового и аналогичного назначения. Часть 2-9. Частные требования к терморегуляторам). |
[6] | CEN/TR 1749:2005 European scheme for the classification of gas appliances according to the method of evacuation of the combustion products (types) (Европейская схема классификации газовых приборов по способу откачивания продуктов горения (типы). |
[7] | ISO 274:1975 Copper tubes of circular section - Dimensions (Трубы медные круглого сечения. Размеры). |
УДК 697:620.9:006.354 | | IDT |
Ключевые слова: системы нагревательные, система контроля, трубчатые газовые радиационные нагреватели, горелка, газы |