Главная // Актуальные документы // ГОСТ (Государственный стандарт)СПРАВКА
Источник публикации
М.: Стандартинформ, 2020
Примечание к документу
Документ включен в
Перечень документов в области стандартизации, в результате применения которых на добровольной основе обеспечивается соблюдение требований Федерального
закона от 22.07.2008 N 123-ФЗ "Технический регламент о требованиях пожарной безопасности" (
Приказ Росстандарта от 13.02.2023 N 318).
Документ включен в
Перечень национальных стандартов, содержащих правила и методы исследований (испытаний) и измерений, в том числе правила отбора образцов, необходимых для применения и исполнения Федерального
закона от 22.07.2008 N 123-ФЗ "Технический регламент о требованиях пожарной безопасности" и осуществления оценки соответствия (
Распоряжение Правительства РФ от 10.03.2009 N 304-р).
Текст данного документа приведен с учетом
поправки, опубликованной в "ИУС", N 1, 2023;
поправки, опубликованной в "ИУС", N 9, 2023.
Документ
введен в действие с 01.10.2021.
Название документа
"ГОСТ 31610.20-1-2020 (ISO/IEC 80079-20-1:2017). Межгосударственный стандарт. Взрывоопасные среды. Часть 20-1. Характеристики веществ для классификации газа и пара. Методы испытаний и данные"
(введен в действие Приказом Росстандарта от 21.10.2020 N 886-ст)
"ГОСТ 31610.20-1-2020 (ISO/IEC 80079-20-1:2017). Межгосударственный стандарт. Взрывоопасные среды. Часть 20-1. Характеристики веществ для классификации газа и пара. Методы испытаний и данные"
(введен в действие Приказом Росстандарта от 21.10.2020 N 886-ст)
агентства по техническому
регулированию и метрологии
от 21 октября 2020 г. N 886-ст
МЕЖГОСУДАРСТВЕННЫЙ СТАНДАРТ
ВЗРЫВООПАСНЫЕ СРЕДЫ
ЧАСТЬ 20-1
ХАРАКТЕРИСТИКИ ВЕЩЕСТВ ДЛЯ КЛАССИФИКАЦИИ ГАЗА И ПАРА.
МЕТОДЫ ИСПЫТАНИЙ И ДАННЫЕ
Explosive atmospheres. Part 20-1. Material characteristics
for gas and vapour classification. Test methods and data
(ISO/IEC 80079-20-1:2017, MOD)
ГОСТ 31610.20-1-2020
(ISO/IEC 80079-20-1:2017)
Дата введения
1 октября 2021 года
Цели, основные принципы и общие правила проведения работ по межгосударственной стандартизации установлены
ГОСТ 1.0 "Межгосударственная система стандартизации. Основные положения" и
ГОСТ 1.2 "Межгосударственная система стандартизации. Стандарты межгосударственные, правила и рекомендации по межгосударственной стандартизации. Правила разработки, принятия, обновления и отмены"
1 ПОДГОТОВЛЕН Автономной некоммерческой национальной организацией "Ex-стандарт" (АННО "Ex-стандарт") на основе собственного перевода на русский язык англоязычной версии стандарта, указанного в
пункте 5
2 ВНЕСЕН Федеральным агентством по техническому регулированию и метрологии
3 ПРИНЯТ Межгосударственным советом по стандартизации, метрологии и сертификации (протокол от 31 августа 2020 г. N 132-П)
За принятие проголосовали:
Краткое наименование страны по МК (ИСО 3166) 004-97 | Код страны по МК (ИСО 3166) 004-97 | Сокращенное наименование национального органа по стандартизации |
Азербайджан | AZ | Азстандарт |
Армения | AM | ЗАО "Национальный орган по стандартизации" Республики Армения |
Беларусь | BY | Госстандарт Республики Беларусь |
Казахстан | KZ | Госстандарт Республики Казахстан |
Киргизия | KG | Кыргызстандарт |
Россия | RU | Росстандарт |
Таджикистан | TJ | Таджикстандарт |
Узбекистан | UZ | Узстандарт |
Украина | UA | Минэкономразвития Украины |
4
Приказом Федерального агентства по техническому регулированию и метрологии от 21 октября 2020 г. N 886-ст межгосударственный стандарт ГОСТ 31610.20-1-2020 (ISO/IEC 80079-20-1:2017) введен в действие в качестве национального стандарта Российской Федерации с 1 октября 2021 г.
5 Настоящий стандарт является модифицированным по отношению к международному стандарту ISO/IEC 80079-20-1:2017 "Взрывоопасные среды. Часть 20-1. Характеристики веществ для классификации газа и пара. Методы испытаний и данные" ("Explosive atmospheres - Part 20-1: Material characteristics for gas and vapour classification - Test methods and data", MOD), включая техническую поправку Cor. 1:2018, путем внесения дополнительных положений, что обусловлено потребностями экономики стран СНГ. Дополнительные положения выделены курсивом. Разъяснение причин их внесения дано во введении.
Сведения о соответствии ссылочных межгосударственных стандартов международным стандартам, использованным в качестве ссылочных в примененном международном стандарте, приведены в дополнительном
приложении ДА
Информация о введении в действие (прекращении действия) настоящего стандарта и изменений к нему на территории указанных выше государств публикуется в указателях национальных стандартов, издаваемых в этих государствах, а также в сети Интернет на сайтах соответствующих национальных органов по стандартизации.
В случае пересмотра, изменения или отмены настоящего стандарта соответствующая информация будет опубликована на официальном интернет-сайте Межгосударственного совета по стандартизации, метрологии и сертификации в каталоге "Межгосударственные стандарты"
Настоящий стандарт является модифицированным по отношению к международному стандарту ISO/IEC 80079-20-1:2017, включая техническую поправку Cor. 1:2018.
Настоящий стандарт содержит руководство по классификации газов и паров и устанавливает метод определения безопасных экспериментальных максимальных зазоров (БЭМЗ) для газо- или паровоздушных смесей при нормальной температуре и давлении (20 °C, 101,3 кПа) для подбора соответствующих групп (подгрупп) оборудования. Настоящий стандарт описывает также метод испытаний для определения температуры самовоспламенения (ТС) для газо- или паровоздушных смесей при атмосферном давлении для выбора соответствующего температурного класса оборудования. Установленные в настоящем стандарте требования обеспечивают вместе со стандартом, устанавливающим общие требования, и стандартами по видам взрывозащиты, безопасность применения оборудования на опасных производственных объектах в газовой, нефтяной, нефтеперерабатывающей и других отраслях промышленности.
В настоящем стандарте
примечания к 3.7 и
4.1 приведены в соответствии с требованиями к группам/подгруппам в
ГОСТ 31610.0 и применены ссылки на идентичные и модифицированные межгосударственные стандарты вместо международных стандартов.
Настоящий стандарт содержит руководство по классификации газов и паров и устанавливает метод определения безопасных экспериментальных максимальных зазоров (БЭМЗ) для газо- или паровоздушных смесей при нормальной температуре и давлении (20 °C, 101,3 кПа) для подбора соответствующих групп (подгрупп) оборудования. Настоящий стандарт описывает также метод испытаний для определения температуры самовоспламенения для газо- или паровоздушных смесей при атмосферном давлении для выбора соответствующего температурного класса оборудования.
Справочные сведения о химических свойствах веществ приведены в
таблице B.1 для помощи при выборе оборудования для взрывоопасных зон. Дополнительные сведения могут быть добавлены на основании результатов, подтвержденных испытаниями.
Для веществ, приведенных в
приложении B, с учетом их характеристик, указано, каким взрывоопасным зонам эти вещества соответствуют и какие группы (подгруппы) оборудования в них допускается применять.
Данные методы допустимо применять для определения БЭМЗ и температуры самовоспламенения газовоздушной инертной смеси или паровоздушной инертной смеси. Однако сведения по инертным воздушным смесям не приведены.
В настоящем стандарте использованы нормативные ссылки на следующие межгосударственные стандарты:
ГОСТ 31610.0 (IEC 60079-0:2011) Взрывоопасные среды. Часть 0. Оборудование. Общие требования
ГОСТ 31610.11 (IEC 60079-11:2011) Взрывоопасные среды. Часть 11. Оборудование с видом взрывозащиты "искробезопасная электрическая цепь "i"
ГОСТ IEC 60079-14 Взрывоопасные среды. Часть 14. Проектирование, выбор и монтаж электроустановок
Примечание - При пользовании настоящим стандартом целесообразно проверить действие ссылочных стандартов и классификаторов на официальном интернет-сайте Межгосударственного совета по стандартизации, метрологии и сертификации (www.easc.by) или по указателям национальных стандартов, издаваемым в государствах, указанных в предисловии, или на официальных сайтах соответствующих национальных органов по стандартизации. Если на документ дана недатированная ссылка, то следует использовать документ, действующий на текущий момент, с учетом всех внесенных в него изменений. Если заменен ссылочный документ, на который дана датированная ссылка, то следует использовать указанную версию этого документа. Если после принятия настоящего стандарта в ссылочный документ, на который дана датированная ссылка, внесено изменение, затрагивающее положение, на которое дана ссылка, то это положение применяется без учета данного изменения. Если ссылочный документ отменен без замены, то положение, в котором дана ссылка на него, применяется в части, не затрагивающей эту ссылку.
В настоящем стандарте приведены следующие термины с соответствующими определениями:
3.1 самовоспламенение (auto-ignition): Реакция, сопровождающаяся появлением четко различимого пламени и (или) взрывом, для которой период индукции воспламенения не превышает 5 мин.
Примечание - Метод испытания приведен в
7.2.2.
3.2 период индукции воспламенения (ignition delay time): Промежуток времени между завершением подачи горючего вещества и воспламенением.
3.3 температура самовоспламенения; ТС (auto-ignition temperature, AIT): Наименьшая температура (поверхности), при которой в указанных условиях происходит воспламенение горючего газа или пара в смеси с воздухом или воздухом/инертным газом.
Примечание - Метод испытания для температуры самовоспламенения приведен в
разделе 7.
3.4 безопасный экспериментальный максимальный зазор; БЭМЗ (maximum experimental safe gap, MESG): Максимальный зазор соединения шириной 25 мм, который предотвращает распространение взрыва в условиях испытаний, заданных в настоящем стандарте.
Примечание - Метод испытания приведен в
разделе 6.
3.5
минимальный воспламеняющий ток; МВТ (minimum ignition current, MIC): Минимальный ток в заданной испытательной цепи, который при испытаниях с использованием искрообразующего механизма согласно
ГОСТ 31610.11 способен воспламенить испытательную смесь.
Примечание - Испытательная цепь приведена в
5.1.6.
3.6 концентрационные пределы распространения пламени; КПРП (flammable limits): Минимальная (нижний концентрационный предел распространения пламени, НКПРП) и максимальная (верхний концентрационный предел распространения пламени, ВКПРП) концентрация горючего газа в смеси с воздухом, при которой возможно воспламенение этой смеси.
Примечания
1 Термин "концентрационные пределы взрываемости" ("explosive limits") используется в европейских нормативных документах по стандартизации и техническому регулированию.
2 Концентрация может выражаться либо в объемных долях, либо в единицах массы на единицу объема.
3.6.1 нижний концентрационный предел распространения пламени; НКПРП (lower flammable limit, LFL): Концентрация горючего газа или пара в воздухе, ниже которой газовая среда не является взрывоопасной.
Примечания
1 Применительно к области Ex-оборудования ранее данный термин назывался "нижний предел взрываемости (НПВ)".
2 Концентрация может выражаться либо в объемных долях, либо в единицах массы на единицу объема.
3.6.2 верхний концентрационный предел распространения пламени; ВКПРП (upper flammable limit, UFL): Концентрация горючего газа или пара в воздухе, выше которой газовая среда не является взрывоопасной.
Примечания
1 Применительно к области Ex-оборудования ранее данный термин назывался "верхний предел взрываемости (ВПВ)".
2 Концентрация может выражаться либо в объемных долях, либо в единицах массы на единицу объема.
3.7 классификация оборудования по группам (equipment grouping): Система классификации оборудования основана на его подразделении в зависимости от взрывоопасной среды, для использования в которой соответствующее оборудование предназначено.
Примечание -
ГОСТ 31610.0 идентифицирует три группы оборудования:
Группа I - оборудование, предназначенное для применения в подземных выработках шахт и их наземных строениях, опасных по рудничному газу и (или) горючей пыли;
Группа II, которая разделена на подгруппы IIA, IIB и IIC, - оборудование, предназначенное для применения во взрывоопасных газовых средах, кроме подземных выработок шахт и их наземных строений, опасных по рудничному газу и (или) горючей пыли;
Группа III, которая разделена на подгруппы IIIA, IIIB и IIIC, - оборудование, предназначенное для применения во взрывоопасных пылевых средах, кроме подземных выработок шахт и их наземных строений, опасных по рудничному газу и (или) горючей пыли.
3.8 температура вспышки (flash point): Минимальная температура жидкости, при которой в регламентированных условиях над ее поверхностью образуются пары в количестве, достаточном для образования воспламеняемой паровоздушной смеси.
3.9 газ (gas): Газообразное состояние вещества, которое не может достичь равновесия с его жидким или твердым состоянием в рассматриваемом диапазоне температур и давлений.
Примечание - Данное определение является упрощенной формой научного определения. Согласно данному определению требуется, чтобы вещество находилось выше точки кипения или точки сублимации при температуре и давлении окружающей среды.
3.10 пар (vapour): Газообразное состояние вещества, которое может достигнуть равновесия с его жидким или твердым состоянием в рассматриваемом диапазоне температур и давлений.
Примечание - Данное определение является упрощенной формой научного определения. Согласно данному определению требуется, чтобы вещество находилось ниже точки кипения или точки сублимации при температуре и давлении окружающей среды.
4 Классификация газов и паров
Оборудование группы I предназначено для применения в подземных выработках шахт и их наземных строениях, опасных по рудничному газу и (или) горючей пыли.
Примечание - Рудничный газ состоит в основном из метана, но часто содержит небольшое количество других газов, таких как азот, диоксид углерода, водород, а иногда этан и оксид углерода. Термины "рудничный газ" и "метан" часто используются в практике горного дела как синонимы.
Оборудование группы II предназначено для применения во взрывоопасных газовых средах, кроме подземных выработок шахт и их наземных строений, опасных по рудничному газу и (или) горючей пыли.
Газы и пары для оборудования группы II классифицируют по БЭМЗ и (или) соотношению их минимальных воспламеняющих токов на подгруппы оборудования IIA, IIB и IIC.
Все горючие вещества классифицируют согласно значениям температуры их воспламенения на температурные классы.
4.2 Классификация согласно безопасным экспериментальным максимальным зазорам (БЭМЗ)
Газы и пары могут быть классифицированы по их БЭМЗ на подгруппы IIA, IIB или IIC, определенные согласно методу, указанному в настоящем стандарте. Для обеспечения сходимости получаемых результатов измерений оборудование для определения БЭМЗ должно иметь строго определенные размеры, чтобы избежать влияния эффекта удаления от соединения на безопасные зазоры.
Примечания
1 Стандартный метод определения БЭМЗ приведен в
6.2, но если соответствующее определение было выполнено только в 8-литровом сферическом сосуде с воспламенением вблизи фланцевого зазора, полученный результат допустимо принять в качестве предварительного.
2 Конструкция испытательного оборудования для определения безопасного зазора, отличающаяся от той, которая используется для определения соответствующей группы оболочки для конкретного газа, может отличаться от конструкции, описанной в настоящем стандарте. Например, могут различаться объем оболочки, ширина соединений, концентрации газа и расстояния между фланцами и любой наружной стенкой или преграждением. Поскольку конструкция зависит от конкретных испытаний, которые будут проводиться, нецелесообразно делать рекомендации по конкретным требованиям к конструкции, однако в большинстве случаев будут использоваться общие принципы и меры предосторожности, изложенные в настоящем стандарте.
3 В
ГОСТ IEC 60079-14 приведены минимальные расстояния удаления от взрывонепроницаемых фланцевых соединений в соответствии с группой оборудования для взрывоопасных зон.
Установлены следующие категории взрывоопасности газов и паров (подгруппы оборудования группы II) в зависимости от БЭМЗ:
IIA - БЭМЗ >= 0,9 мм;
IIB - БЭМЗ более 0,5 мм, но менее 0,9 мм;
IIC - БЭМЗ <= 0,5 мм.
Определение БЭМЗ и соотношение МВТ требуется, когда БЭМЗ более 0,50, но менее 0,55. Тогда подгруппу оборудования определяют по соотношению МВТ.
Примечания
1 Для газов и быстро испаряющихся жидкостей БЭМЗ применяется (или корректируется) при температуре 20 °C.
2 Если необходимо провести определение БЭМЗ при температурах свыше температуры окружающей среды, то используется температура на 5 °C выше значения, которое необходимо для получения соответствующего давления пара, или на 50 °C выше температуры вспышки. Это значение БЭМЗ приведено в
таблице B.1, и классификацию группы оборудования проводят на основе этого результата.
4.3 Классификация согласно минимальным воспламеняющим токам (МВТ)
Газы и пары классифицируют на подгруппы оборудования IIA, IIB или IIC согласно соотношению их минимальных воспламеняющих токов к минимальному воспламеняющему току лабораторного метана. Чистота лабораторного метана не должна быть менее 99,9% по объему.
Примечание - Стандартный метод определения соотношения минимального воспламеняющего тока должен основываться на использовании оборудования, описанного в
ГОСТ 31610.11. Если определения соотношения МВТ проводят на другом оборудовании, их результаты можно принимать лишь условно (в качестве предварительных).
Установлены следующие категории взрывоопасности газов и паров (подгруппы оборудования группы II) в зависимости от соотношения минимального воспламеняющего тока:
IIA - соотношение МВТ более 0,8;
IIB - соотношение МВТ от 0,45 до 0,8 включ.;
IIC - соотношение МВТ менее 0,45.
Определение БЭМЗ и соотношение МВТ требуется, когда МВТ более 0,70, но менее 0,90, или в случае, когда МВТ более 0,40, но менее 0,50. Тогда подгруппу оборудования определяют по соотношению БЭМЗ.
4.4 Классификация согласно сходству химической структуры
Когда газ или пар является членом некоторого гомологического ряда соединений, категория газа или пара может быть определена условно (предварительно) по результатам классификации других соседних членов этого ряда.
Не допускается проводить классификацию согласно сходству химической структуры, если категория одного из соседних членов определена на основе БЭМЗ, а другого - на основе соотношения МВТ.
4.5 Классификация смесей газов
Классификацию смесей газов следует осуществлять только после специального определения БЭМЗ или соотношения МВТ. Одним из методов классификации смеси является определение ее БЭМЗ по формуле Шателье:
где Xi - объемный процент материала i;
MESGi - БЭМЗ материала i.
Данный метод не должен применяться в известных случаях неприменимости принципа Шателье к смесям и/или парам, которые имеют в своем составе:
a) ацетилен или газ, эквивалентный по опасности (например, обладающий свойством саморазложения);
b) кислород или другой сильный окислитель в качестве одного из компонентов;
c) большие концентрации (свыше 5% по объему) монооксида углерода. Из-за возможности получения недостоверно высоких значений БЭМЗ необходимо соблюдать осторожность при испытании смесей из двух компонентов, один из которых является инертным газом, например азотом.
Для смесей с инертным газом, например азотом, в концентрации менее 5% от объема используется БЭМЗ, равный бесконечности. Для смесей с инертным газом, например азотом, в концентрации 5% от объема и более используется БЭМЗ, равный 2.
Примечание - Альтернативный метод, включающий в себя стехиометрическое соотношение, представлен в отчете
[1].
5 Сведения о горючих газах и парах в соответствии с областью применения оборудования
Химические соединения, перечисленные в настоящем стандарте, соответствуют
разделу 4 или имеют физические свойства, близкие к свойствам указанных соединений.
5.1.2 Группа оборудования
Оборудование классифицируется на группы по результату определения БЭМЗ или соотношения МВТ, кроме тех случаев, когда отсутствует табличное значение БЭМЗ или соотношение МВТ. В этом случае группа определяется на основе химического подобия (см.
раздел 4).
Примечание - Если необходимо провести определение БЭМЗ при температурах выше температуры окружающей среды, то используется температура на 5 °C выше значения, которое необходимо для получения соответствующего давления пара, или на 50 °C выше температуры вспышки. Это значение БЭМЗ приведено в
таблице B.1, и классификацию группы оборудования проводят на основе этого результата.
5.1.3 Пределы распространения пламени
Определения проводились несколькими различными методами, но рекомендован метод с низкоэнергетическим воспламенением на дне вертикальной колбы. Значения (объемная концентрация в процентах и отношение массы к объему) приведены в
таблице B.1 приложения B.
При высокой температуре вспышки соединение не образует горючую паровоздушную смесь при нормальной температуре окружающей среды (20 °C). Если для данных соединений присутствуют данные по воспламеняемости, определения проводят при значительно повышенной температуре, при которой возможно образование горючей смеси пара с воздухом.
5.1.4 Температура вспышки
Значение, указанное в
таблице B.1 приложения B, получено при измерении в закрытом тигле. При отсутствии данного значения допускается применять значение в открытом тигле, которое с целью обеспечения идентификации обозначается символом "от". Символ "<" (менее чем) означает, что температура вспышки ниже установленного значения (в градусах Цельсия) и это, возможно, предел измерения применяемого оборудования.
5.1.5 Температурный класс
Таблица 1
Классификация температурного класса в зависимости
от диапазона температур самовоспламенения
Температурный класс | Диапазон температуры самовоспламенения (ТС), °C |
T1 | > 450 |
T2 | 300 < ТС <= 450 |
T3 | 200 < ТС <= 300 |
T4 | 135 < ТС <= 200 |
T5 | 100 < ТС <= 135 |
T6 | 85 < ТС <= 100 |
5.1.6 Минимальный воспламеняющий ток (МВТ)
Искрообразующий механизм для определения МВТ определен в
ГОСТ 31610.11. Искрообразующий механизм должен быть включен в цепь постоянного тока 24 В, содержащую катушку с воздушным сердечником индуктивностью (95 +/- 5) мГн. Ток в этой цепи изменяется вплоть до установления минимального значения, при котором произойдет воспламенение самой легковоспламеняемой концентрации исследуемого газа или пара в воздухе.
5.1.7 Температура самовоспламенения
Значение температуры самовоспламенения зависит от метода проведения испытания. Рекомендованный метод и полученные данные приведены в
разделе 7 и
приложении A.
Если сведения по какому-либо соединению не представлены, то приводят данные, полученные с использованием схожего искрообразующего механизма, например такого, как механизм, указанный в
[2].
Примечание - Результаты, полученные при использовании механизма, описанного в
[2], были представлены в отчете
[3]. Механизм схож с механизмом, используемым Забетакисом. Если нет определения механизмом или схожим механизмом, приводят наименьшее значение, полученное при использовании другого механизма. Более полный список данных по температуре самовоспламенения приведен в
[3].
5.2 Свойства отдельных газов и паров
Коксовый газ - это смесь водорода, монооксида углерода и метана. Если сумма концентраций (объемное соотношение) водорода и монооксида углерода менее чем 75% от общего объема, рекомендуется использовать взрывозащищенное оборудование группы IIB. В остальных случаях рекомендуется применять оборудование группы IIC.
Температура самовоспламенения этилнитрита составляет 95 °C; при более высокой температуре газ подвергается взрывному разложению.
Примечание - Этилнитрит не следует путать с его изомером - нитроэтаном.
5.2.3 БЭМЗ для монооксида углерода
БЭМЗ для монооксида углерода определяется по смеси с насыщенным влагой воздухом при нормальной температуре. При этих условиях в присутствии монооксида углерода должно применяться оборудование группы IIB. Возрастание БЭМЗ может наблюдаться при снижении влажности. Наименьшее значение БЭМЗ (0,65 мм) для монооксида углерода получено в смеси с насыщенным влагой воздухом при молярном отношении монооксида углерода и воды приблизительно 7:1. Присутствие малых количеств углеводородов в смеси монооксида углерода с воздухом снижает значение БЭМЗ. Для этих условий должно применяться оборудование группы IIB.
Промышленный метан, например природный газ, относится к подгруппе оборудования IIA, если он не содержит более 25% водорода. Смесь метана с другими соединениями из подгруппы IIA в любой пропорции классифицируют как подгруппу IIA.
6 Метод проведения испытания для определения безопасного экспериментального максимального зазора
Внутреннюю и внешнюю камеры испытательного оборудования заполняют определенной смесью газа или пара в воздухе при нормальной температуре и давлении (20 °C, 101,3 кПа) и кольцевом зазоре между ними, который должен быть тщательно выверен и гарантированно иметь строго определенное значение. Смесь во внутренней камере воспламеняется, и если присутствует распространение пламени, то оно наблюдается через окна во внешней камере. Безопасный экспериментальный максимальный зазор для газа или пара определяют путем его постепенного уменьшения, пока не будет определено максимальное значение зазора, при котором не происходит воспламенение внешней смеси для любой концентрации газа или пара в воздухе.
Примечание - Исключение делают для веществ, давление паров которых недостаточно, чтобы при нормальной температуре окружающей среды получить смеси необходимых концентраций. Чтобы получить необходимое давление пара для этих веществ, используют температуру на 5 °C выше необходимой или на 50 °C выше температуры вспышки.
6.2 Испытательное оборудование
Оборудование схематично показано на
рисунке 1. Допускается использовать автоматическое устройство, если доказано, что с его использованием получаются такие же результаты, как и с оборудованием с ручным управлением.
a - внутренняя сферическая камера; b - внешняя
цилиндрическая оболочка; c - регулируемая часть
(микрометрический винт); d - выходное отверстие; e - входное
отверстие; f - смотровые окна; g - искровой электрод;
h - нижняя стационарная поверхность зазора; i - верхняя
регулируемая поверхность зазора
Рисунок 1 - Испытательное оборудование
6.2.2 Материалы и механическая прочность
Все оборудование рассчитано на выдерживание максимального давления в 1500 кПа без значимого расширения зазора. Таким образом исключается увеличение зазора при взрыве. Основные элементы испытательной установки и в особенности стенки и фланцы внутренней камеры, а также электроды искрового разрядника следует изготавливать из нержавеющей стали. Для испытания некоторых газов и паров допускается изготавливать основные элементы испытательной установки из других материалов, чтобы избежать коррозии и других химических эффектов. Электроды искрового разрядника не допускается изготавливать из легкого сплава.
Внешняя камера представляет собой цилиндрическую оболочку
b (рисунок 1) диаметром 200 мм и высотой 75 мм.
Внутренняя камера
a (рисунок 1) представляет собой сферическую оболочку объемом 20 см
3. Внутренняя камера расположена в центре внешней камеры.
Две части i и h внутренней камеры смонтированы так, что между плоскими параллельными поверхностями фланцев противоположных краев может быть установлен регулируемый зазор 25 мм. Точная ширина зазора может быть отрегулирована при помощи значений, измеряемых по шкале, выгравированной на верхней части микрометрического винта (c).
Внутренняя камера заполняется газо- или паровоздушной смесью через отверстие
e (рисунок 1). Внешняя камера заполняется смесью через зазор. Входные и выходные отверстия защищены огнепреградителями.
6.2.7 Расположение источника воспламенения
Электрод
g должен быть установлен так, чтобы искра возникала в центре внутренней камеры
a (рисунок 1).
6.3.1 Приготовление газовых смесей
Для получения достоверных результатов при проведении серии испытаний необходимо тщательно следить за стабильностью концентрации смеси. Поток смеси через камеру поддерживают до тех пор, пока концентрации на входе и выходе не сравняются, или следует использовать метод, обеспечивающий эквивалентную надежность.
Для проведения классификации согласно требованиям настоящего стандарта влажность воздуха, используемого для подготовки смеси, не должна превышать 10% относительной влажности воздуха. Более высокие значения влажности могут привести к получению более низких значений БЭМЗ при испытании некоторых веществ.
6.3.2 Температура и давление
Испытания проводят при окружающей температуре (20 +/- 5) °C, за исключением испытаний смесей, где допускается другая температура. Внутри испытательного оборудования устанавливается давление (101,3 +/- 1) кПа.
Примечание - Исключение делают для веществ, давление паров которых недостаточно, чтобы при нормальной температуре окружающей среды получить смеси необходимых концентраций. Чтобы получить необходимое давление пара для этих веществ, используют температуру на 5 °C выше необходимой или на 50 °C выше температуры вспышки.
Устанавливают минимальное значение зазора и проверяют параллельность расположения фланцев. Устанавливают нулевой зазор, при этом прикладываемый крутящий момент должен быть низким (например, усилие, прикладываемое к головке микрометрического винта, должно быть около 10-2 Н).
Воспламенение взрывоопасной смеси во внутренней камере осуществляется с помощью электрической искры, создаваемой путем подачи от высоковольтного трансформатора напряжения примерно 15 кВ при токе короткого замыкания 30 мА. Длительность искрового электрического разряда должна быть установлена на 0,2 с.
6.3.5 Контроль за результатами испытаний
При проведении испытаний наблюдение за воспламенением смеси во внутренней камере осуществляется через зазор. Если внутреннего воспламенения не происходит, то испытание считается недействительным. Воспламенение смеси во внешней камере считается происшедшим, если видно, как пламя от взрыва заполняет весь объем камеры.
6.4 Определение безопасного экспериментального максимального зазора (БЭМЗ)
Как правило, БЭМЗ определяют на незначительно обогащенных испытательных смесях, поэтому рекомендуется начинать со смеси стехиометрического состава.
6.4.2 Предварительные испытания
При заданной концентрации горючего пара или газа в воздухе проводят по два испытания на воспламенение смеси на каждом из зазоров, значения которых последовательно выбирают из промежутка между безопасным и опасным зазорами через интервал в 0,02 мм. На основании результатов определяют наибольший зазор g0, при котором вероятность воспламенения внешнего объема равна 0%, и наименьший зазор g100 с вероятностью воспламенения внешнего объема, равной 100%.
Выполняют несколько серий испытаний для различных концентраций смеси с целью определения пределов изменения зазоров g0 и g100. За наиболее опасную (легковоспламеняемую) смесь принимают ту, для которой получены наименьшие величины указанных зазоров.
6.4.3 Подтверждающие испытания
Подтверждение предварительных результатов выполняют путем 10-кратного повторения испытания на воспламенение при каждом значении зазора, изменяющемся с шагом 0,02 мм между значениями опасного и безопасного зазоров, при концентрации смеси как выше, так и ниже наиболее опасной концентрации, найденной в результате предварительных испытаний.
По полученным результатам определяют минимальные значения g0 и g100.
6.4.4 Воспроизводимость безопасного экспериментального максимального зазора (БЭМЗ)
Наибольшая разница между значениями (g0)min, полученная после серий испытаний, не должна превышать 0,04 мм.
Если все полученные значения находятся в указанном диапазоне, то за табличное принимают такое значение БЭМЗ, для которого разница между (g100)min и (g0)min наименьшая. Для большинства веществ эта разница будет находиться в пределах одного шага регулировки зазора, то есть в пределах 0,02 мм.
Если разница между значениями (g0)min, полученная при различных сериях испытаний, превышает 0,04 мм, то проводящая испытания лаборатория должна повторить свои испытания после подтверждения, что используемая установка позволяет воспроизвести табличное значение для водорода.
В
таблице B.1 приложения B даны значения БЭМЗ (
g0)
min, разница между (
g100)
min и (
g0)
min и самая опасная концентрация, определенная в
6.4.1. Значение БЭМЗ используют для определения подгруппы оборудования.
Значение (g100)min - (g0)min показывает точность табличных значений БЭМЗ.
6.5 Верификация метода определения БЭМЗ
Методика верификации должна использоваться для контроля (поверки) вновь вводимого испытательного оборудования, а также для поверки технических характеристик установленного испытательного оборудования. Установленное испытательное оборудование должно поверяться не реже чем каждые 12 мес или после каждой замены или ремонта его частей. Для вновь вводимого испытательного оборудования необходимо провести эксперименты в соответствии с инструкциями в
6.3 для всех веществ согласно
таблице 2. При продлении срока эксплуатации испытательного сосуда в общем случае достаточно провести контрольное испытание с метаном и водородом.
Таблица 2
Значения для верификации оборудования
Горючее вещество | Диапазон концентрации, объемная доля, % | БЭМЗ, мм | Чистота веществ, мол. % |
Метан | 8,0 - 10,0 | 1,16 | 99,995 |
Пропан | 3,5 - 4,5 | 0,92 | 99,95 |
Водород | 29,0 - 31,0 | 0,30 | 99,999 |
Верификация считается подтвержденной, если полученные значения не будут отличаться более чем на +/- 0,02 мм от значений
таблицы 2. Значения соответствуют температуре окружающей среды (20 +/- 2) °C и давлению окружающей среды (100 +/- 2) кПа.
Запись о соответствии результатов, полученных на испытательном оборудовании, необходимым требованиям верификации вносится в бессрочный протокол (журнал).
Если результаты, полученные при поверке испытательного оборудования, не соответствуют требованиям необходимой верификации, необходимо проверить техническое состояние испытательного оборудования, особенно параллельность плоских поверхностей фланцев. Отклонение от параллельности должно быть менее 0,01 мм для расстояний между 0,3 мм и 1,5 мм. При необходимости следует провести повторную верификацию.
7 Метод проведения испытания для определения температуры самовоспламенения
7.1 Краткое описание метода
Заданный объем вещества, предназначенного для испытания, вводят в нагретую открытую колбу, заполненную воздухом. Содержимое колбы наблюдается до тех пор, пока не произойдет самовоспламенение. Испытание проводят с различными температурами колбы и объемами пробы. Наименьшую температуру колбы, при которой происходит самовоспламенение, принимают в качестве температуры самовоспламенения в воздухе при атмосферном давлении.
7.2 Испытательное оборудование
Традиционно для испытаний используют два типа оборудования: испытательное оборудование IEC (согласно
A.2) и испытательное оборудование DIN (согласно
A.3). Испытательное оборудование IEC отличается тем, что оно имеет дополнительный нагреватель на горловине колбы. Обычно на результаты испытаний это не влияет. Принципы работы испытательного оборудования указаны ниже. Также возможно использовать автоматическую установку.
Испытательное оборудование стенда состоит:
- из испытательной колбы;
- опоры для испытательной колбы;
- точно откалиброванных термопар;
- электрической суховоздушной сушильной печи;
- дозирующего устройства для горючего вещества;
- зеркала для наблюдения за воспламенением;
- таймера;
- оборудования для очистки испытательной колбы.
7.2.2 Испытательная колба и опора
Испытательная колба должна быть конической колбой Эрленмейера с узким горлом вместимостью 200 см
3 из боросиликатного стекла согласно
[4]. Необходимо убедиться, что внутренняя поверхность дна плоская. Для испытаний должна использоваться чистая колба.
Теплопередача через опору колбы Эрленмейера должна быть как можно меньше. Опора, установленная на горловине колбы (при наличии), не должна занимать более (5 +/- 2) мм от высоты горловины колбы Эрленмейера (пример приведен в
приложении A).
При необходимости получения точных сведений о влиянии объема колбы на температуру самовоспламенения необходимо провести дополнительные эксперименты в колбах как большего, так и меньшего объема при сохранении формы этих колб и при условии их изготовления из одинакового материала.
Примечание - Из литературных данных известно, что при увеличении объема происходят уменьшение температуры самовоспламенения и увеличение периода индукции воспламенения. См.
приложение D.
Если температура самовоспламенения испытуемой пробы превышает температуру размягчения боросиликатного стекла, из которого изготовлена колба, или проба может быть причиной повреждения (химической коррозии) колбы, следует использовать кварцевую или металлическую колбу; это должно быть отмечено в протоколе испытаний.
Колба должна быть оснащена по крайней мере одной точно откалиброванной термопарой с максимальным диаметром 1,5 мм и погрешностью измерения 1,5 К или менее. Термопара(ы) должна(ы) быть расположена(ы) таким образом, чтобы плотно прилегать к внешней поверхности колбы на расстоянии (25 +/- 2) мм от дна колбы (см.
приложение A).
Печь должна быть таких размеров, чтобы равномерно прогревать испытательный сосуд. Конструкция печи должна обеспечивать:
1) при закрытии печи плотно прилегающей крышкой и при достижении соответствующего температурного равновесия
- температуры, измеренные в точке расположения термопар и в центре дна колбы Эрленмейера, различаются не более чем на 3 К на всем температурном диапазоне;
- температуры, измеренные в точке расположения термопар и в точке, расположенной на половине высоты по вертикали колбы Эрленмейера, различаются не более чем на 15 К на всем температурном диапазоне;
2) при расположении в печи колбы Эрленмейера с воздухом
- колебания значений температур, измеренных термопарой, не должны превышать 2 К за 6 мин на всем температурном диапазоне.
Испытательный сосуд не должен соприкасаться с внутренними стенками печи. Расстояние между внутренними стенками печи и колбой Эрленмейера должно составлять не менее 4 мм. Испытательный сосуд должен располагаться так, чтобы:
- он полностью находился в печи и печь не перекрывала колбу Эрленмейера более чем на 30 мм;
- он был равномерно прогрет;
- конвекция внутри печи не оказывала влияние на смесь воздуха с горючим веществом, которая образуется внутри колбы Эрленмейера при вводе пробы;
- исключалось попадание внутрь печи (взрывоопасной) смеси воздуха с горючим веществом, которая образуется внутри колбы Эрленмейера при вводе пробы;
- обеспечивалась возможность дозирования горючего вещества и наблюдения за его воспламенением.
Примеры печей, соответствующих требованиям настоящего стандарта, приведены в
приложении A.
7.2.5 Дозирующие устройства
Для жидких проб конструкция дозирующего устройства (например, насос, пипетка, шприц) должна позволять отмерять капли объемом (25 +/- 10) мм3. Примеры, соответствующие данному требованию:
a) прошедший калибровку шприц для подкожных инъекций вместимостью 0,25 см3 или 1 см3 и ценой деления не более 0,01 см3, снабженный антикоррозионной стальной иглой с диаметром отверстия не более 0,15 мм;
b) прошедшая калибровку мерная пипетка вместимостью 1 см3, позволяющая выпустить 1 см3 дистиллированной воды при комнатной температуре в виде 35 - 40 капель.
Для газообразных проб конструкция дозирующего устройства (например, расходомер, насос, шприц) должна позволять отмерять газ с 10%-ной погрешностью при скорости (25 +/- 5) см3/с. Подводящая трубка, которая может быть установлена в испытательной колбе, должна быть соединена (подвижно) с дозирующим устройством.
Следует предусмотреть меры предосторожности против обратного воспламенения. Один из способов, который используют для этих целей, схематически представлен на
рисунке A.9.
Для удобства наблюдения за внутренним объемом колбы на крышке печи на высоте примерно 250 мм над колбой закрепляют зеркало.
Для определения периода индукции воспламенения следует использовать таймер с ценой деления не более 1 с.
7.2.8 Оборудование для продувки воздухом испытательного сосуда
Оборудование (например, насос, пневматический пульверизатор) должно обеспечивать возможность быстрой и полной продувки испытательного сосуда чистым воздухом без примесей масла.
7.2.9 Автоматическое устройство
Применяемое автоматическое устройство (при наличии) должно отвечать всем требованиям согласно
7.2.2 -
7.2.8. При автоматической регистрации пламени должна обеспечиваться надежная регистрация всех видов пламени (в т.ч. бледного и узкого или малого), например термопарой и фотодатчиком. Также должна быть обеспечена возможность визуального наблюдения за пламенем.
7.3 Отбор проб, подготовка и сохранение испытательных образцов
Отбор проб жидких или газообразных продуктов должен осуществляться в соответствии с требованиями национальных/международных стандартов.
Примечание - Примерами соответствующих стандартов могут служить
[5] -
[7].
Пробы следует отбирать или хранить в контейнерах, которые исключают ухудшение свойств или загрязнение проб. Для жидких смесей свободное пространство для пара над пробой не должно превышать 20% от объема контейнера.
Пробы следует хранить при заданной температуре, чтобы исключить какие-либо изменения в их составе.
Если проба состоит из газовой смеси, которая извлечена из контейнера с жидкой фазой, необходимо учитывать, что состав газа и жидкой фазы может отличаться. Рекомендуется извлечь испытательное вещество из жидкой фазы.
7.3.2 Подготовка и сохранение
Требования к компонентам, необходимым для проведения испытания:
a) воздух: воздух должен быть без примесей масла;
b) воздух (смесь только кислорода и азота): концентрация кислорода должна быть в пределах 20,5% - 21,0% от объема. Информация об использовании синтетического воздуха должна быть указана в протоколе испытаний;
c) инертный газ: чистота инертного газа или смеси инертных газов должна быть более или равна 99,8% от объема. Если используется смесь инертных газов, состав этой смеси должен быть указан в протоколе испытаний;
d) проба: Проба должна являться:
1) однородным веществом или
2) смесью веществ или
3) технологической пробой (известного или неизвестного состава).
При использовании однородного вещества или смеси веществ чистота каждого вещества должна быть более или равна 99,8% от объема. При использовании смеси веществ или технологической пробы, состав которой известен, сведения о составе должны быть указаны в протоколе испытаний. При использовании технологической пробы неизвестного состава источник пробы или характеристики пробы должны быть определены, насколько это возможно (например, технологические условия, другие физические свойства или сведения о безопасных характеристиках).
Температуру самовоспламенения определяют при испытании с различными температурами сосуда и объемами пробы.
Перед проведением очередного испытания необходимо убедиться, что:
- испытательный сосуд чистый, сухой, без остатков горения и видимых повреждений внутренней поверхности;
- испытательный сосуд полностью продувают воздухом перед введением очередной пробы;
- температура испытательного сосуда перед введением пробы соответствует требуемой (необходимо учесть, что очистка и продувка могут снизить значения температуры).
Если температуру самовоспламенения определяют в газовоздушной инертной смеси, после каждой очистки испытательного сосуда в среде атмосферного воздуха, этот сосуд необходимо продуть указанной смесью. При этом следует либо обеспечить полную замену среды внутри колбы Эрленмейера, либо выполнять очистку испытательного сосуда инертной смесью перед введением каждой последующей пробы.
7.4.2.1 Жидкие пробы
Если точка кипения исследуемой жидкой пробы соответствует комнатной температуре или близка к ней, должны приниматься меры предосторожности для поддержания температуры системы впрыскивания пробы на уровне, обеспечивающем уверенность, что состояние пробы до ее введения в испытательную колбу не изменится.
Требуемый объем исследуемой пробы вводят в виде капель со скоростью одна или две капли за 1 с (см.
7.2.5) в центр колбы. Затем дозирующее устройство следует быстро извлечь из колбы. Попадание пробы на стенки колбы в процессе впрыскивания должно быть исключено.
7.4.2.2 Газообразные пробы
Дозирующее устройство и подсоединенную подводящую трубку следует продуть в значительном объеме (не менее 10-кратного объема) и затем заполнить газом. Подводящая трубка вводится в центр колбы таким образом, чтобы расстояние от выходного отверстия трубки до дна было (10 +/- 2) мм. Требуемый объем пробы вводят в испытательную колбу порциями объемом (10 +/- 1) мл с постоянной скоростью около 25 мл/с. Заполняющая трубка должна быть затем быстро извлечена из колбы.
7.4.3 Определение температуры самовоспламенения
7.4.3.1 Критерий воспламенения
Появление любого пламени, наблюдаемого в зеркале или регистрируемого фотодатчиком в течение 5 мин, считают воспламенением.
При использовании термопар(ы) критерием воспламенения служит регистрация в течение 5 мин быстрого увеличения температуры не менее чем на 200 К со скоростью 10 К/с.
Примечание - На основе данного критерия обычно наблюдаются высокотемпературные виды пламени. Очень бледные виды пламени (например, от водорода, метана) относятся к высокотемпературным. Однако некоторые вещества или смеси веществ могут гореть холодным пламенем. Информация о явлении холодного пламени приведена в
приложении C.
7.4.3.2 Методика проведения испытания
Для определения температуры самовоспламенения необходимо использовать методику испытаний, приведенную в 7.4.3.3 -
7.4.3.8.
7.4.3.3 Начальная температура
Начиная с 80 °C испытательный сосуд нагревают со скоростью (5 +/- 1) К/мин. При нагревании пробу необходимо вводить по (50 +/- 5) см3 для газообразных проб или по пять капель для жидких проб с шагом по температуре 20 К до возникновения воспламенения. Испытательный сосуд необходимо полностью продуть воздухом перед очередным введением пробы. Температуру сосуда, при которой происходит воспламенение, принимают за начальную температуру.
Начальная температура должна превышать температуру самовоспламенения.
7.4.3.4 Изменение температуры
Нагревают испытательную колбу до начальной температуры. Вводят (50 +/- 5) см3 газообразной пробы или пять капель жидкой пробы. При возникновении воспламенения в течение 5 мин уменьшают температуру испытательной колбы с шагом по температуре (5 +/- 1) К до того, как не будет возникать воспламенение в течение 5 минут после введения одинакового количества пробы. Перед очередным вводом пробы испытательную колбу необходимо полностью продуть воздухом.
7.4.3.5 Изменение объема проб
| | ИС МЕГАНОРМ: примечание. Текст дан в соответствии с официальным текстом документа. | |
При температуре, полученной согласно
7.4.3.4 в условиях отсутствия воспламенения, изменяют количество вводимой пробы [от (50 +/- 5) мл см
3 для газа или пять капель для жидкости] с шагом (10 +/- 1) см
3 для газа или (25 +/- 10) мм
3 для жидкости в обоих направлениях, до момента воспламенения или пока воспламенение не будет гарантированно отсутствовать при данной температуре при любом количестве пробы. Перед очередным вводом пробы испытательную колбу необходимо полностью продуть воздухом.
7.4.3.6 Второе изменение температуры
Выбирают температуру, определенную в
7.4.3.4, и количество испытуемого вещества, определенное в
7.4.3.5 в условиях возникновения воспламенения. Уменьшают температуру испытательного сосуда с шагом (2 +/- 1) К, пока не будет возникать воспламенение в течение 5 мин после каждого введения одинакового количества вещества, определенного согласно
7.4.3.5.
7.4.3.7 Второе изменение пробы
При температуре, определенной в
7.4.3.6, изменяют количество вводимой пробы (начиная с количества в
7.4.3.5 или
7.4.3.6 для повторных испытаний) с шагом (10 +/- 1) см
3 для газов или (25 +/- 10) мм
3 для жидкостей в обоих направлениях до момента воспламенения или пока воспламенение не будет гарантированно отсутствовать при данной температуре при любом количестве пробы. Перед очередным вводом пробы испытательную колбу необходимо полностью продуть воздухом.
7.4.3.8 Повторение испытаний
Испытания согласно
7.4.3.6 и
7.4.3.7 повторяют, пока не будет определена температура, при которой не возникает воспламенение при любом количестве вещества в пробе.
Примечание - Для горючих жидкостей с (начальной) температурой кипения выше определенной температуры воспламенения дополнительная продувка воздухом после ввода пробы горючей жидкости может снизить температуру воспламенения, см.
[8]. С учетом этого продувают (30 +/- 10) см
3 воздуха с большей скоростью для перемешивания слоя пара горючей жидкости, который в данных случаях образуется на дне испытательной колбы.
Записывают наименьшую температуру испытательной колбы, при которой происходит воспламенение (вне зависимости от количества вещества в пробе) и соответствующий период индукции воспламенения.
Последние повторные испытания необходимо повторить дважды.
7.5 Температура самовоспламенения
Наименьшая температура, при которой происходит самовоспламенение при испытаниях согласно
7.4.3.8, уменьшенная на 3% и округленная до следующего 1 °C, должна быть записана как температура самовоспламенения при условии, что результаты соответствуют требованиям объективности результатов
7.6. Также необходимо зарегистрировать соответствующий период индукции самовоспламенения и барометрическое давление.
7.6 Объективность результатов испытаний
Отклонение результатов повторных испытаний с чистыми веществами, полученных одним и тем же оператором и с использованием одного и того же оборудования, не должно превышать +/- 1% среднего значения.
Результаты испытаний с чистыми веществами, полученные в различных лабораториях, не должны различаться более чем на +/- 3% среднего значения.
Примечание - У веществ, воздействие которых может приводить к изменению поверхности колбы во время испытания, значения повторяемости и сходимости соответствующих результатов могут быть больше, чем приведенные ниже.
Регистрационные записи должны содержать идентификационные данные об образце (название, чистоту, источник и/или характеристики смесей или технологической пробы), окислителе (атмосферный или синтетический воздух, состав, степень чистоты, количество добавленного инертного газа), условиях испытаний (температура окружающей среды и атмосферное давление), сведения об использовании автоматического испытательного устройства, тип печи, результаты (температура самовоспламенения и период индукции воспламенения; количество пробы, при которой была определена температура самовоспламенения).
7.8 Верификация метода определения температуры самовоспламенения
Методика верификации должна использоваться для вновь вводимого испытательного оборудования, а также для поверки установленного испытательного оборудования. Установленное испытательное оборудование должно поверяться не реже чем каждые 12 мес или после каждой замены или ремонта его частей. Для вновь вводимого испытательного оборудования необходимо провести эксперименты в соответствии с требованиями
7.3 для всех веществ согласно
таблице 3, начиная испытания при заданной начальной температуре. При продлении срока эксплуатации испытательного сосуда в общем случае достаточно провести контрольное испытание только с одним веществом, выбранным в соответствии с предполагаемым диапазоном температур. Чистота веществ этилена и ацетона, выраженная в молярной доле, должна быть 99,8% или выше, для н-гептана должна быть 99,3% или выше.
Таблица 3
Значения для верификации оборудования
Горючее вещество | Начальная температура, °C | Наименьшая температура для самовоспламенения, °C |
Ацетон | 560 | 528 |
Этилен | 455 | 436 |
н-Гептан | 240 | 221 |
В
таблице 3 приведены соответствующие средние значения самой низкой температуры, достигнутые при проведении межлабораторных испытаний.
Верификацию следует считать выполненной, если полученные значения для самой низкой температуры самовоспламенения не будут отличаться более чем на +/- 3% от значений
таблицы 3. Значения соответствуют температуре окружающей среды (20 +/- 2) °C и давлению окружающей среды (100 +/- 2) кПа.
Запись о соответствии результатов, полученных на испытательном оборудовании, необходимым требованиям верификации вносят в бессрочный протокол (журнал).
Если результаты, полученные при поверке испытательного оборудования, не соответствуют требованиям необходимой верификации, необходимо проверить техническое состояние испытательного оборудования. При необходимости заменить испытательную колбу и провести повторную верификацию.
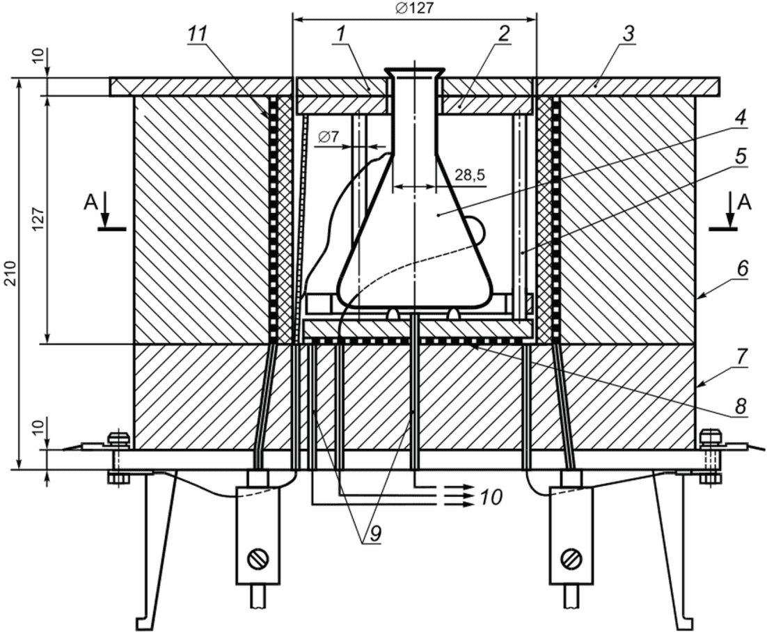
(обязательное)
ИСПЫТАТЕЛЬНОЕ ОБОРУДОВАНИЕ ДЛЯ ОПРЕДЕЛЕНИЯ
ТЕМПЕРАТУРЫ САМОВОСПЛАМЕНЕНИЯ
| | ИС МЕГАНОРМ: примечание. Текст дан в соответствии с официальным текстом документа. | |
Для испытаний согласно
разделу 7 используют испытательное оборудование (печь), сконструированное в соответствии с
A.1 и
A.2.
A.2 Испытательное оборудование (печь) IEC
Испытательное оборудование (печь) IEC схематически изображено на
рисунках A.1 -
A.5.
Примечание - Испытательное оборудование (печь) содержит: цилиндр из огнеупорного материала с внутренним диаметром 127 мм и высотой 127 мм, на наружной поверхности которого намотан равномерно распределенный по высоте электрический нагреватель мощностью 1200 Вт; подходящий огнеупорный изоляционный материал и поддерживающий стальной корпус; крышку в форме кольца и центрирующее кольцо колбы из огнеупорного материала; нагреватели горловины и основания колбы мощностью 300 Вт.
1 - кольцо крышки; 2 - обогреватель горловины; 3 - крышка
из огнеупорного материала; 4 - коническая колба Эрленмейера
вместимостью 200 см3; 5 - керамическая опора;
6 - поддерживающий цилиндр; 7 - электрический тигель печи;
8 - донный нагреватель; 9 - термопары;
10 - к потенциометрам; 11 - основной нагреватель
Рисунок A.1 - Испытательное оборудование (печь) IEC
(сборочный чертеж)
1 - отверстия для ввода проводников термопар
Рисунок A.2 - Сечение A-A (колба не показана)
1 - способ укладки никель-хромового провода диаметром 0,4 мм
и длиной 2,5 м; 2 - паз размером 1,5 x 1,5 мм на боковой
поверхности диска
Рисунок A.3 - Донный нагреватель
(корпус из огнеупорного материала)
Рисунок A.4 - Центрирующее кольцо колбы
(корпус из огнеупорного материала)
1 - способ укладки никель-хромового провода диаметром 0,4 мм
и длиной 4,5 м; 2 - паз размером 1,5 x 1,5 мм на внешней
и внутренней боковых поверхностях кольца
Рисунок А.5 - Обогреватель горловины
(корпус из огнеупорного материала)
Для измерения температуры испытательного оборудования (печи) используют три термопары, расположенные на 25 мм и 50 мм ниже основания нагревателя горловины и под дном колбы, около ее центра.
A.3 Испытательное оборудование (печь) DIN
Испытательное оборудование (печь) DIN схематически показано на
рисунках A.6 -
A.8. Испытательное оборудование содержит резистивный нагреватель мощностью приблизительно 1300 Вт с максимальным током нагрева 6 А.
Примечание - Провод нагревателя диаметром 1,2 мм и длиной 35,8 м из сплава Cr/Al (30/5) намотан по окружности на всю длину керамического цилиндра с шагом 1,2 мм. Нагреватель закреплен с помощью высокотемпературной мастики и покрыт напыляемым термоизолирующим слоем оксида алюминия толщиной 20 мм. Цилиндр из нержавеющей стали вставлен в керамический корпус с минимально возможным зазором. Крышка, закрывающая печь, также изготовлена из нержавеющей стали и поддерживает на весу колбу, расположенную внутри печи. Для этого крышка состоит из верхнего диска, разъемного изоляционного уплотнения и разъемного нижнего диска. Горловину колбы вставляют в крышку с высокотемпературной изоляционной прокладкой и удерживают с помощью сегментов разъемного уплотнения и нижнего диска, которые обеспечивают уплотнение и крепятся к верхнему диску с помощью двух кольцевых гаек.
1 - термопары; 2 - зажимные втулки; 3 - высокотемпературная
изоляция; 4 - верхняя часть крышки; 5 - изоляционное кольцо;
6 - нижняя часть крышки; 7 - теплоизоляция;
8 - нагреватель; 9 - керамическая трубка; 10 - стальной
цилиндр; 11 - высокотемпературная мастика;
12 - контрольные точки; 13 - соединение нагревателя
на напряжение 220 В; 14 - изоляционный диск;
15 - металлическое основание; 16 - термопары
Рисунок A.6 - Испытательное оборудование (печь) DIN
(сборочный чертеж)
1 - верхняя часть крышки; 2 - арматура для термопары
Рисунок A.7 - Крышка стального цилиндра
1 - сегмент нижней части крышки
Рисунок A.8 - Крышка стального цилиндра
1 - огнепреградитель; 2 - предохранительная мембрана
толщиной 1 мм (полимерная пленка); 3 - пластинки
(перегородки) из спеченного стекла (стеклокерамические)
примерно 10 мм на 3 мм; 4 - герметичный шприц; 5 - резервуар
с газом (аванкамера); 6 - надувной резиновый резервуар
Рисунок A.9 - Введение газообразной пробы
Нагреватель может работать от сети переменного или постоянного тока с соответствующими устройствами регулирования напряжения. Максимальный ток нагрева 6 А следует использовать для достижения требуемой температуры в процессе предварительных испытаний. Если применяют систему автоматического управления температурой, периоды нагрева и охлаждения должны быть одинаковы, и, по возможности, только часть тока нагрева должна регулироваться таким способом.
Измерительные термопары устанавливают на внешней поверхности стенок колбы на расстоянии (25 +/- 2) мм от ее дна и в центре нижней поверхности дна.
(справочное)
В настоящем стандарте содержится руководство по классификации оборудования на подгруппы для применения с конкретной газо- или паровоздушной смесью для исключения возможности взрыва от источника воспламенения. Некоторые материалы, например этилнитрит, относительно нестабильны и подвержены самопроизвольному разложению. Список газов и паров, приведенный в
таблице B.1, не является полным.
Таблица B.1
Номер CAS | Название, формула | Относительная плотность (воздух = 1) | Температура плавления, °C | Температура кипения, °C | Температура вспышки, °C | НКПРП, об. доля, % | ВКПРП, об. доля, % | НКПРП, г/м3 | ВКПРП, г/м3 | Температура самовоспламенения, °C | Самая легковоспламеняемая смесь, об. доля, % | БЭМЗ, мм | g100 - g0 | Отношение МВТ | Температурный класс | Группа/подгруппа | Метод классификации |
50-00-0 | Формальдегид (= Метаналь) (= Метиловый альдегид) (= метиленоксид) HCHO | 1,03 | -92 | -6 | 60 | 7,0 | 73,0 | 88 | 920 | 424 | - | 0,57 | - | - | T2 | IIB | |
51-80-9 | N,N,N',N'-Тетраметилдиаминометан (CH3)2NCH2N(CH3)2 | 3,5 | 140 | 84 | < -13 | 1,61 | - | 67 | - | 180 | - | 1,06 | - | - | T4 | IIA | |
57-14-7 | 1,1-Диметилгидразин (CH3)2NNH2 | 2,07 | -58 | 63 | -18 | 2,4 | 20,0 | 60 | 490 | 240 | - | 0,85 | - | - | T3 | IIB | |
60-29-7 | 1,1-Оксибисэтан (= Диэтиловый эфир) (= Диэтилоксид) (= Этиловый эфир) (= Этилоксид) (= Эфир) (CH3CH2)2O | 2,55 | -116 | 35 | -45 | 1,7 | 39,2 | 50 | 1210 | 175 | 3,47 | 0,87 | 0,01 | 0,88 | T4 | IIB | |
62-53-3 | Бензоламин (= Аминобензол) (= Анилин) (= Фениламин) C6H5NH2 | 3,22 | -6 | 184 | 75 | 1,2 | 11,0 | 47 | 425 | 615 | - | - | - | - | T1 | IIA | |
64-17-5 | Этанол (= Спирт) (= Этиловый спирт) CH3CH2OH | 1,59 | -114 | 78 | 12 | 3,1 | 19,0 при 60 °C, 27,7 при 100 °C | 59 | 532 при 100 °C | 400 | 6,5 | 0,89 | 0,02 | 0,88 | T2 | IIB | |
- | - | - | - | - | - | - | - | - | - | 0,9 для этанола в воздухе с водяным паром >= 4% | - | - | - | IIA | - |
64-18-6 | Муравьиная кислота (= Метановая кислота) HCOOH | 1,60 | 8 | 101 | 42 | 18,0 | 57,0 | 344 | 1090 | 525 | - | 1,86 | - | - | T1 | IIA | |
64-19-7 | Уксусная кислота (= Этановая кислота) (= Безводная уксусная кислота) CH3COOH | 2,07 | 17 | 118 | 39 | 4,0 | 19,9 | 100 | 497 | 510 | - | 1,76 | - | 2,67 | T1 | IIA | |
64-67-5 | Серной кислоты диэтиловый эфир (= Диэтилсульфат) (CH3CH2)2SO4 | 5,31 | -25 | 208 | 104 | - | - | - | - | 360 | - | 1,11 | - | - | T2 | IIA | |
67-56-1 | Метан (= Карбинал) (= Метиловый спирт) CH3OH | 1,11 | -98 | 65 | 9 | 6,0 | 36,0 при 60 °C, 50,0 при 100 °C | 80 | 469 при 60 °C, 665 при 100 °C | 440 | 11,0 | 0,92 | 0,03 | 0,82 | T2 | IIA | |
67-63-0 | 2-Пропанол (= Диметилкарбинол) (= Изопропанол) (= Изопропиловый спирт) (= Пропан-2-ол) (CH3)2CHOH | 2,07 | -88 | 83 | 12 | 2,0 | 12,7 | 50 | 320 | 399 | - | 1,00 | - | - | T2 | IIA | |
67-64-1 | 2-Пропанон (= Ацетон) (=  ) (CH3)2CO | 2,00 | -95 | 56 | < -20 | 2,5 | 14,3 при 100 °C | 60 | 345 при 100 °C | 528 | 5,9 | 1,01 | - | 1,00 | T1 | IIA | |
68-12-2 | N,N-Диметилформамид (= Диметилформамид) HCON(CH3)2 | 2,51 | -61 | 153 | 58 | 1,8 | 16,0 | 55 | 486 | 440 | - | 1,08 | - | - | T2 | IIA | |
71-23-8 | 1-Пропанол (= Пропан-1-ол) (= n-пропиловый спирт) CH3CH2CH2OH | 2,07 | -126 | 97 | 15 | 2,1 | 17,5 | 52 | 353 | 385 | - | 0,89 | - | - | T2 | IIB | |
71-36-3 | 1-Бутанол (= n-Бутиловый спирт) (= n-Бутанол) (= Бутиловый спирт) (= 1-Гидроксибутан) (= n-Пропилкарбинол) (= Бутан-1-ол) CH3(CH2)2CH2OH | 2,55 | -89 | 118 | 35 | 1,4 | 12,0 | 43 | 369 | 343 | 115 мг/дм3 | 0,91 | - | - | T2 | IIA | |
71-41-0 | 1-Пентанол (= n-Амиловый спирт) (= n-Бутилкарбинол) (= Пентан-1-ол) (= n-Пентиловый спирт) (= n-Пентанол) CH3(CH2)3CH2OH | 3,03 | -78 | 138 | 42 | 1,06 | 10,5 | 39 | 384 | 320 | 100 мг/дм3 | 0,99 | - | - | T2 | IIA | |
71-43-2 | Бензол (= Фенил гидрид) C6H6 | 2,70 | 6 | 80 | -11 | 1,2 | 8,6 | 39 | 280 | 498 | - | 0,99 | - | 1,00 | T1 | IIA | |
74-82-8 | CH4 | - | -182 | -162 | газ | 4,4 | 17,0 | 29 | 113 | 600 | - | 1,12 | - | 1,00 | T1 | IIA | |
Метан (рудничный газ, см. 5.2.4) CH4 | 0,55 | - | - | газ | 4,4 | 17,0 | 29 | 113 | 595 | 8,2 | 1,14 | 0,11 | - | T1 | I | |
74-84-0 | Этан CH3CH3 | 1,04 | -183 | -86 | газ | 2,4 | 15,5 | 30 | 194 | 515 | 5,9 | 0,91 | 0,02 | 0,82 | T1 | IIA | |
74-85-1 | Этен (= Этилен) CH2=CH2 | 0,97 | -169 | -104 | газ | 2,3 | 36,0 | 26 | 423 | 440 | 6,5 | 0,65 | 0,02 | 0,53 | T2 | IIB | |
74-86-2 | Ацетилен (= Этин) | 0,90 | - | - | газ | 2,3 | 100 | 24 | 1092 | 305 | 8,5 | 0,37 | 0,01 | 0,28 | T2 | IIC | |
74-87-3 | Метилхлорид (= Хлорметан) (= Хлористый метил) CH3Cl | 1,78 | - | -24 | газ | 7,6 | 19,0 | 160 | 410 | 625 | - | 1,00 | - | - | T1 | IIA | |
74-89-5 | Метиламин (= Аминометан) CH3NH2 | 1,00 | -92 | -6 | газ | 4,2 | 20,7 | 55 | 270 | 430 | - | 1,10 | - | - | T2 | IIA | |
74-90-8 | Синильная кислота (= Цианистый водород) (= Формальный анаммонид) (= Синильная кислота) (= Метананитрил) (= Пруссовая кислота) HCN | 0,90 | -13 | 26 | < -20 | 5,4 | 46,0 | 60 | 520 | 538 | 18,4 | 0,80 | 0,02 | - | T1 | IIB | |
74-93-1 | Метантиол (= Меркаптометан) (= Метилмеркаптан) (= Метилсульфгидрат) CH3SH | 1,60 | -126 | 6 | газ | 4,1 | 21,0 | 80 | 420 | 340 | - | 1,15 | - | - | T2 | IIA | |
74-96-4 | Бромэтан (= Этилбромид) (= Бромистый этил) CH3CH2Br | 3,75 | -119 | 38 | - | 6,7 | 11,3 | 306 | 517 | 511 | - | - | - | - | T1 | IIA | |
74-98-6 | Пропан (= Диметилметан) (= Пропил гидрид) CH3CH2CH3 | 1,56 | -188 | -42 | газ | 1,7 | 10,9 | 31 | 200 | 445 | 4,2 | 0,92 | 0,03 | 0,82 | T2 | IIA | |
74-99-7 | Пропин (= Аллилен) (= Метилацетилен) | 1,38 | -103 | -23 | газ | 1,7 | 16,8 | 28 | 280 | 340 | - | - | - | - | T2 | IIB | |
75-00-3 | Хлорэтан (= Этилхлорид) (= Соляной эфир) (= Монохлорэтан) (= Соляной эфир) CH3CH2Cl | 2,22 | -139 | 12 | газ | 3,6 | 15,4 | 95 | 413 | 510 | - | - | - | - | T1 | IIA | |
75-01-4 | Хлорэтен (= Винилхлорид) (= Хлорэтилен) CH2=CHCl | 2,15 | -160 | -14 | газ | 3,6 | 33,0 | 94 | 610 | 415 | 7,3 | 0,99 | 0,04 | - | T2 | IIA | |
75-04-7 | Этиламин (= Аминоэтан) (= Моноэтиламин) C2H5NH2 | 1,50 | -92 | 7 | газ | 3,5 | 14,0 | 66 | 262 | 385 | - | 1,20 | - | - | T2 | IIA | |
75-05-8 | Ацетонитрил (= Этаннитрил) (= Метилцианид) CH3CN | 1,42 | -45 | 82 | 2 | 3,0 | 16,0 | 51 | 275 | 523 | 7,2 | 1,50 | 0,05 | - | T1 | IIA | |
75-07-0 | Этаналь (= Уксусный альдегид) (= Ацетальдегид) (= Этиловый альдегид) CH3CHO | 1,52 | -123 | 20 | -38 | 4,0 | 60,0 | 74 | 1108 | 155 | - | 0,92 | | 0,98 | T4 | IIA | |
75-08-1 | Этантиол (= Этилмеркаптан) (= Этилгидросульфид) (= Меркаптоэтан) CH3CH2SH | 2,11 | -148 | 35 | -48 | 2,8 | 18,0 | 73 | 468 | 295 | - | 0,90 | | 0,9 | T3 | IIA | |
75-15-0 | Углерод дисульфид CS2 | 2,64 | -112 | 46 | -30 | 0,6 | 60,0 | 19 | 1900 | 90 | 8,5 | 0,34 | 0,02 | 0,39 | T6 | IIC | |
75-19-4 | Циклопропан (= Триметилен) | 1,45 | -128 | -33 | газ | 2,4 | 10,4 | 42 | 183 | 500 | - | 0,91 | | 0,84 | T1 | IIA | |
75-21-8 | Оксиран (= Этиленоксид) (= Эпоксиэтан) | 1,52 | -123 | 20 | газ | 2,6 | 100 | 47 | 1848 | 429 | -8 | 0,59 | 0,02 | 0,47 | T2 | IIB | |
75-28-5 | 2-Метилпропан (= Изобутан) (CH3)2CHCH3 | 2,00 | -159 | -12 | газ | 1,3 | 9,8 | 31 | 236 | 460 | - | 0,95 | - | - | T1 | IIA | |
75-29-6 | 2-Хлорпропан (CH3)2CHCl | 2,70 | -117 | 35 | -20 | 2,8 | 10,7 | 92 | 350 | 590 | - | 1,32 | - | - | T1 | IIA | |
75-31-0 | 2-Пропанамин (= Изопропиламин) (= 2-Аминопропан) (= 1-Метилэтиламин) (CH3)2CHNH2 | 2,03 | -101 | 32 | -24 | 2,3 | 8,6 | 55 | 208 | 340 | - | 1,05 | - | - | T2 | IIA | |
75-34-3 | 1,1-Дихлорэтан (= Асимметричный дихлорэтан) (= Этилен хлористый) (= 1.1-Этилидендихлорид) CH3CHCl2 | 3,42 | -98 | 57 | -10 | 5,6 | 16,0 | 230 | 660 | 439 | - | 1,82 | - | - | T2 | IIA | |
75-35-4 | 1,1-Дихлорэтен (= Винилиденхлорид) CH2=CCl2 | 3,40 | -122 | 32 | -18 | 6,5 | 16,0 | 260 | 645 | 530 | 10,5 | 3,91 | 0,08 | - | T1 | IIA | |
75-36-5 | Ацетилхлорид CH3COCl | 2,70 | -112 | 51 | -4 | 5,0 | 19,0 | 157 | 620 | 390 | - | - | - | - | T2 | IIA | |
75-38-7 | 1,1-Дифторэтен (= Винилиденфторид) (= Фтористый винилиден) CH2=CF2 | 2,21 | -144 | -86 | газ | 3,9 | 25,1 | 102 | 665 | 380 | - | 1,10 | - | - | T2 | IIA | |
75-50-3 | Триметиламин (CH3)3N | 2,04 | -117 | 3 | газ | 2,0 | 12,0 | 50 | 297 | 190 | - | 1,05 | - | - | T4 | IIA | |
75-52-5 | Нитрометан (= Нитрокарбол) CH3NO2 | 2,11 | -29 | 101 | 35 | 7,3 | 63,0 | 187 | 1613 | 414 | - | 1,17 | - | 0,92 | T2 | IIA | |
75-56-9 | 2-Метилоксиран (= 1.2-Эпоксипропен) (= Окись пропилена) | 2,00 | -112 | 34 | -37 | 1,9 | 37,0 | 49 | 901 | 430 | 4,55 | 0,70 | 0,03 | - | T2 | IIB | |
75-83-2 | 2,2-Диметилбутан (= Неогексан) (CH3)3CCH2CH3 | 2,97 | -100 | 50 | -48 | 1,0 | 7,0 | 36 | 260 | 405 | - | - | - | - | T2 | IIA | |
75-85-4 | 2-Метил-2-бутанол CH3CH2C(OH)(CH3)2 | 3,03 | -8 | 102 | 18 | 1,4 | 10,2 | 50 | 374 | 392 | - | 1,10 | - | - | T2 | IIA | |
75-86-5 | 2-Гидроксиизобутиронитрил (= Ацетонциангидрин) (= Нитрил альфа-гидроксиизо-масляной кислоты) (= Ацетонциангидрин) (= 2-метиллактонитрил) CH3C(OH)CNCH3 | 2,90 | -20 | 82 | 74 | 2,2 | 12,0 | 78 | 424 | 543 | - | - | - | - | T1 | - | - |
75-89-8 | 2,2,2-Трифторэтанол (= 2,2,2-Трифторэтиловый спирт) CF3CH2OH | 3,45 | -44 | 77 | 30 | 8,4 | 28,8 | 350 | 1195 | 463 | - | 3,00 | - | - | T1 | IIA | |
76-37-9 | 2,2,3,3-Тетрафтор-1-пропанол HCF2CF2CH2OH | 4,55 | -15 | 109 | 43 | - | - | - | - | 437 | - | 1,90 | - | - | T2 | IIA | |
77-73-6 | 3а,4,7,7а-Тетрагидро-4,7-Метано-1n-инден (= Дициклопентадиен) (= Циклопентадиен димер) C10H12 | 4,55 | 33 | 172 | 36 | 0,8 | - | 43 | - | 455 | - | 0,91 | - | - | T1 | IIA | |
77-78-1 | Диметиловый эфир серной кислоты (= Диметилсульфат) (CH3O)2SO2 | 4,34 | -32 | 188 | 83 | - | - | - | - | 449 | - | 1,00 | - | - | T2 | IIA | |
78-10-4 | Тетраэтилортосиликат (= Тетраэтиловый эфир ортокремниевой кислоты) (= Тетраэтилсиликат) (C2H5)4SiO4 | 7,18 | -83 | 169 | 38 | 0,45 | 7,2 | 39 | 623 | 174 | - | - | - | - | T4 | - | - |
78-78-4 | 2-Метилбутан (= Этилдиметилметан) (= Изопентан) (CH3)2CHCH2CH3 | 2,50 | -160 | 28 | -56 | 1,3 | 8,3 | 39 | 249 | 420 | - | 0,98 | - | - | T2 | IIA | |
78-80-8 | 2-Метил-1-бутен-3-ин | 2,28 | -113 | 32 | -54 | 1,4 | | 38 | | 272 | - | 0,78 | - | - | T3 | IIB | |
78-81-9 | 2-Метилпропан-1-амин (= Изобутиламин) (CH3)2CHCH2NH2 | 2,52 | -85 | 66 | -20 | 1,47 | 14,0 при 100 °C | 44 | 425 при 100 °C | 374 | - | 1,15 | - | - | T2 | IIA | |
78-83-1 | 2-Метил-1-пропанол (= Изобутанол) (= Изопропилкарбинол) (= Изобутиловый спирт) (CH3)2CHCH2OH | 2,55 | -108 | +108 | 28 | 1,4 | 11,0 | 43 | 340 | 408 | 105 мг/дм3 | 0,96 | - | - | T2 | IIA | |
78-84-2 | 2-Метилпропаналь (= Изобутаналь) (= Изомасляный альдегид) (CH3)2CHCHO | 2,48 | -65 | 64 | -22 | 1,6 | 11,0 | 47 | 320 | 165 | - | 0,92 | - | - | T4 | IIA | |
78-86-4 | 2-Хлорбутан (= Втор-Бутил-хлорид) CH3CHClCH2CH3 | 3,19 | -140 | 68 | -21 | 2,0 | 8,80 | 77 | 339 | 415 | - | 1,16 | - | - | T2 | IIA | |
78-87-5 | 1,2-Дихлорпропан (= Хлористый пропилен) CH3CHClCH2Cl | 3,90 | -80 | 96 | 15 | 3,4 | 14,5 | 160 | 682 | 557 | - | - | - | - | T1 | IIA | |
78-92-2 | 2-Бутанол (= Втор-бутиловый спирт) (= Бутилен гидрат) (= 2-гидроксибутан) (= Метилэтилкарбинол) CH3CHOHCH2CH3 | 2,55 | -89 | 99 | 24 | 1,7 | 9,8 | 52 | 302 | 406 | - | - | - | - | T2 | IIA | |
78-93-3 | 2-Бутанон (= Этилметилкетон) (= Метил ацетон) (= Метилэтилкетон) CH3CH2COCH3 | 2,48 | -86 | 80 | -10 | 1,5 | 13,4 | 45 | 402 | 404 | 4,8 | 0,9 | 0,02 | 0,92 | T2 | IIA | |
79-09-4 | Пропионовая кислота (= Карбоксиэтан) (= Этилкарбоновая кислота) (= Метилуксусная кислота) CH3CH2COOH | 2,55 | -21 | 141 | 53 | 2,1 | 12,1 | 65 | 372 | 485 | - | 1,10 | - | - | T1 | IIA | |
79-10-7 | 2-пропеновая кислота (= Акриловая кислота) (= Этенкарбоновая кислота) (= Безводная акриловая кислота) CH2=CHCOOH | 2,48 | 13 | 141 | 55 | 2,4 | 8,0 | 72 | - | 406 | - | 0,86 | - | - | T2 | IIB | |
79-20-9 | Метиловый эфир уксусной кислоты (= Метилацетат) (= Метиловый эфир этановой кислоты) (= Метилэтаноат) CH3COOH3 | 2,56 | -99 | 57 | -10 | 3,1 | 16,0 | 95 | 475 | 505 | 208 мг/дм3 | 0,97 | - | 1,08 | T1 | IIA | |
79-22-1 | Метиловый эфир хлоругольной кислоты (= Метилхлорформиат) (= Метоксикарбонилхлорид) CH3OOCCl | 3,30 | -61 | 72 | 10 | 7,5 | 26,0 | 293 | 1020 | 475 | - | 1,20 | - | - | T1 | IIA | |
79-24-3 | Нитроэтан CH3CH2NO2 | 2,58 | -90 | 114 | 27 | 3,4 | - | 107 | - | 412 | - | 0,87 | - | - | T2 | IIB | |
79-29-8 | 2,3-диметилбутан (= Диизопропил) (CH3)2CH(CH3)CH2CH3 | 2,97 | -129 | 58 | < -20 | 1,0 | - | 36 | - | 396 | - | - | - | - | T2 | IIA | |
79-31-2 | 2-метилпропановая кислота (= Изобутановая кислота) (= Диметилуксусная кислота) (CH3)2CHCOOH | 3,03 | -46 | 155 | 58 | 2,0 | 10,0 | 73 | 366 | 443 | - | 1,02 | - | - | T2 | IIA | |
79-38-9 | Трифторхлорэтен (= Хлортрифторэтилен) CF2=CFCl | 4,01 | -157 | -28 | газ | 4,6 | 64,3 | 220 | 3117 | 607 | - | 1,50 | - | - | T1 | IIA | |
80-62-6 | Эфир метиловый метакриловой кислоты (= Метилметакрилат) (= Мономер метакрилата) CH3=CCH3COOCH3 | 3,45 | -48 | 101 | 10 | 1,7 | 12,5 | 71 | 520 | 430 | - | 0,95 | - | - | T2 | IIA | |
91-20-3 | Нафталин (= Белая смола) C10H8 | 4,42 | 80 | 218 | 77 | 0,6 при 150 °C | 5,9 | 29 при 150 °C | 317 | 540 | - | - | - | - | T1 | IIA | |
95-47-6 | 1,2-диметил бензол (= Орто-ксилол) (= О-ксилол) C6H4(CH3)2 | 3,66 | -25 | 144 | 30 | 1,0 | 7,6 | 43 | 335 | 470 | - | 1,09 | - | - | T1 | IIA | |
95-92-1 | 3-Пентанон (= Диэтил кетон) (COOCH2CH3)2 | 5,04 | -41 | 185 | 76 | - | - | - | - | - | - | 0,90 | - | - | - | IIA | |
96-22-0 | 3-Пентанон (CH3CH2)2CO | 3,00 | -42 | 102 | 7 | 1,6 | - | 58 | - | 445 | - | 0,90 | - | - | T2 | IIA | |
96-33-3 | Метиловый эфир акриловой кислоты (= Метоксикарбонилэтилен) (= Метилпропеноат) (= Метилакрилат) CH2=CHCOOCH3 | 3,00 | -75 | 80 | -3 | 1,95 | 16,3 | 71 | 581 | 455 | 5,6 | 0,85 | 0,02 | 0,98 | T1 | IIB | |
96-37-7 | Метилциклопентан | 2,90 | -142 | 72 | < -10 | 1,0 | 8,4 | 35 | 296 | 258 | - | - | - | - | T3 | IIA | |
97-62-1 | Эфир этиловый изомасляной кислоты (= Этилизобутират) (CH3)2CHCOOC2H5 | 4,00 | -88 | 110 | 10 | 1,6 | - | 75 | - | 438 | - | 0,96 | - | - | T2 | IIA | |
97-63-2 | Этил 2-метил-2-пропеноат (= Этил 2-метилакрилат) (= Этилметилакрилат) CH2=CCH3COOCH2CH3 | 3,90 | -75 | 117 | 19 | 1,5 | - | 70 | - | - | - | 1,01 | - | - | - | IIA | |
97-85-8 | 2-Метилпропил-2-метилпропеноат (= Изобутилизобутират) (CH3)2CHCOOCH2CH(CH3)2 | 4,93 | -81 | 147 | 34 | 0,8 | - | 47 | - | 424 | - | 1,00 | - | - | T2 | IIA | |
97-88-1 | Бутиловый эфир метакриловой кислоты (= Бутилметакрилат) CH2=C(CH3)COO(CH2)3CH3 | 4,90 | - | 163 | 53 | 1,0 | 6,8 | 58 | 395 | 289 | - | 0,95 | - | - | T3 | IIA | |
97-95-0 | 2-этилбутанол (= Изогексиловый спирт) CH3CH(CH2CH3)CH2CH2OH | 3,52 | -52 | 149 | 57 | 1,2 | 8,3 | 51 | 352 | 315 | - | - | - | - | T2 | - | - |
97-99-4 | 2-Тетрагидрофурилметанол (= Тетрагидрофурфуриловый спирт) | 3,52 | - | 178 | 70 | 1,5 | 9,7 | 64 | 416 | 280 | - | 0,85 | - | - | T3 | IIB | |
98-00-0 | 2-фуранметанол (= Фурфуриловый спирт) | 3,38 | -31 | 171 | 61 | 1,8 | 16,3 | 70 | 670 | 370 | - | 0,8 | - | - | T2 | IIB | |
98-01-1 | Фуран-2-альдегид (= Фураль) (= Фурфурол) (= 2-Фуральдегид) | 3,30 | -33 | 162 | 60 | 2,1 | 19,3 | 85 | 768 | 316 | - | 0,88 | - | - | T2 | IIB | |
98-82-8 | (1-Метилэтил) бензол (= Кумол) (= изопропилбензол) (= 2-фенилпропан) C6H5CH(CH3)2 | 4,13 | -96 | 152 | 31 | 0,8 | 6,5 | 40 | 328 | 424 | - | 1,05 | - | - | T2 | IIA | |
98-83-9 | (= Изопропенилбензол) (= 1-Метил-1-фенилэтилен) (= 2-фенилпропен) C6H5C(CH3)=CH2 | 4,08 | -23 | 166 | 40 | 0,8 | 11,0 | 39 | 540 | 445 | - | 0,88 | - | - | T2 | IIB | |
98-95-3 | Нитробензол (= Мирбановое масло) C6H5NO2 | 4,25 | 6 | 211 | 88 | 1,4 | 40,0 | 72 | 2067 | 481 | - | 0,94 | - | - | T1 | IIA | |
99-87-6 | 1-Метил-4-изопропилбензол (= р-Цимол) (= р-Изопропилтолуол) CH3C6H4CH(CH3)2 | 4,62 | -68 | 177 | 47 | 0,7 | 5,6 | 39 | 362 | 436 | - | - | - | - | T2 | IIA | |
100-37-8 | 2-Диэтиламиноэтанол (= Диэтиламиноэтанол) (= 2-Диэтиламиноэтиловый спирт) (= N,N-Диэтилэтаноламин) (C2H5)2NCH2CH2OH | 4,0 | -70 | 162 | 60 | - | - | - | - | 320 | - | - | - | - | T2 | IIA | |
100-40-3 | 4-Винилциклогексан (= Винилциклогексан) | 3,72 | -109 | 128 | 15 | 0,8 | - | 35 | - | 257 | - | 0,96 | - | - | T3 | IIA | |
100-41-4 | Этилбензол (= Фенилэтан) C6H5CH2CH3 | 3,66 | -95 | 136 | 15 | 0,8 | 7,8 | 35 | 344 | 431 | - | - | - | - | T2 | IIA | |
100-42-5 | Винилбензол (= Стирол) (= Фенилэтилен) C6H5CH=CH2 | 3,60 | -31 | 145 | 30 | 1,0 | 8,0 | 42 | 350 | 490 | - | - | - | 1,21 | T1 | IIA | |
100-43-6 | 4-Винилпиридин (= 4-Этенилпиридин) (= у-Винилпиридин) | 3,62 | - | 171 | 43 | 1,1 | - | 47 | - | 501 | - | 0,95 | - | - | T1 | IIA | |
100-44-7 | (Хлорметил) бензол (= Бензилхлорид) (= Толилхлорид) C6H5CH2Cl | 4,36 | -39 | 179 | 60 | 1,1 | - | 55 | - | 585 | - | - | - | - | T1 | IIA | |
100-52-7 | Бензальдегид C6H5CHO | 3,66 | -26 | 179 | 64 | 1,4 | - | 62 | - | 192 | - | - | - | - | T4 | IIA | |
100-69-6 | 2-Винилпиридин (= 2-Этенилпиридин) | 3,62 | -50 | 159 | 35 | 1,2 | - | 51 | - | 482 | - | 0,96 | - | - | T1 | IIA | |
103-09-3 | 2-Этилгексиловый эфир уксусной кислоты (= 2-Этилгексилацетат) CH3COOCH2CH(C2H5)C4H9 | 5,94 | -93 | 199 | 44 | 0,8 | 8,1 | 57 | 580 | 335 | - | 0,88 | - | - | T2 | IIB | |
103-11-7 | 2-Этилгексиловый эфир проп-2-еновой кислоты (= 2-Этилгексил-2-пропеноат) (= 2-Этилгексилакрилат) CH2=CHCOO(CH2)4CH3 | 6,36 | -90 | 214 | 82 | 0,7 | 8,2 | 54 | 628 | 252 | - | - | - | - | T3 | - | - |
104-76-7 | 2-этил-1-гексанол CH3(CH2)3CH(CH2CH3)CH2OH | 4,5 | -76 | 182 | 73 | 0,9 | 9,7 | 49 | 525 | 288 | - | - | - | - | T3 | - | - |
105-45-3 | Метиловый эфир 3-оксобутановой кислоты (= Метиловый эфир уксусной кислоты) (= 1-Метоксибутан-1,3-дион) (= Метилацетоацетат) CH3COOCH2COCH3 | 4,00 | -80 | 170 | 62 | 1,3 | 14,2 | 62 | 685 | 280 | - | 0,85 | - | - | T3 | IIB | |
105-46-4 | Уксусно-втор-бутиловый эфир (= Втор-бутилацетат) (= Втор-бутиловый эфир уксусной кислоты) (= 1-метилпропилацетат) CH3COOCH(CH3)CH2CH3 | 4,00 | -99 | 112 | -18 | 1,3 | 7,5 | 63 | 362 | 422 | - | - | - | - | T2 | - | - |
105-48-6 | Изопропиловый эфир монохлоруксусной кислоты (= Изопропилхлорацетат) (= Пропан-2-ил 2-хлорацетат) ClCH2COOCH(CH3)2 | 4,71 | - | 151 | 42 | 1,6 | - | 89 | - | 426 | - | 1,24 | - | - | T2 | IIA | |
105-54-4 | Этиловый эфир масляной кислоты (= Этилбутаноат) (= Этилбутират) CH3CH2CH2COOCH2CH3 | 4,00 | -93 | 121 | 21 | 1,4 | - | 66 | - | 435 | - | 0,92 | - | - | T2 | IIA | |
105-58-8 | Угольной кислоты диэтиловый эфир (= Диэтилкарбонат) (CH3CH2O)2CO | 4,07 | -43 | 126 | 24 | 1,4 | 11,7 | 69 | 570 | 450 | - | 0,83 | - | - | T2 | IIB | |
106-35-4 | 3-Гептанон (= Этилбутилкетон) CH3CH2CO[CH2]3CH3 | 3,94 | -38 | 298 | 37 | 1,1 | 7,3 | 52 | 346 | 410 | - | - | - | - | T2 | - | - |
106-42-3 | 1,4-Диметилбензол (= р-Ксилол) C6H4(CH3)2 | 3,66 | 13 | 138 | 25 | 0,9 | 7,6 | 42 | 335 | 535 | - | 1,09 | - | - | T1 | IIA | |
106-46-7 | 1,4-Дихлорбензол (= Пара-дихлорбензол) C6H4Cl2 | 5,07 | 53 | 174 | 66 | 2,2 | 9,2 | 134 | 564 | 648 | - | - | - | - | T1 | IIA | |
106-58-1 | 1,4-Диметилпиперазин NH(CH3)CH2CH2NH(CH3)CH2CH2 | 3,93 | -1 | 131 | 21,5 | 1,0 | - | 47 | - | 199 | - | 1,00 | - | - | T4 | IIA | |
106-89-8 | (Хлорметил) оксиран (= Эпихлоргидрин) (= 1-Хлор-2,3-эпоксипропан) OCH2CHCH2Cl | 3,19 | -48 | 116 | 28 | 2,3 | 34,4 | 86 | 1325 | 385 | - | 0,74 | - | - | T2 | IIB | |
106-92-3 | ((2-Пропенилокси)метил)оксиран (= Аллил 2,3-эпоксипропиловый эфир) (= 1-Аллилокси-2,3-эпоксипропан) (= Аллилглицидиловый эфир) CH2=CH-CH2-O-CHCH2CH2O | 3,94 | -100 | 154 | 45 | - | - | - | - | 249 | - | 0,70 | - | - | T3 | IIB | |
106-96-7 | 3-Бром-1-пропин (= Пропаргилбромид) | 4,10 | -61 | 89 | 10 | 3,0 | - | 150 | - | 324 | - | - | - | - | T2 | - | - |
106-97-8 | n-Бутан (= Водородистый бутил) (= Диэтил) (= Метилэтилметан) CH3(CH2)2CH2 | 2,05 | -138 | -1 | Газ | 1,4 | 9,3 | 33 | 225 | 372 | 3,2 | 0,98 | 0,02 | 0,94 | T2 | IIA | |
106-98-9 | 1-Бутен (= n-Бутилен) (= Этилэтилен) CH2=CHCH2CH3 | 1,93 | -185 | -6 | Газ | 1,6 | 10,0 | 38 | 235 | 345 | - | 0,94 | - | - | T2 | IIA | |
106-99-0 | 1,3-Бутадиен (= Бутадиен) (= Дивинил) (= Эритрен) (= Винилэтилен) CH2=CHCH=CH2 | 1,87 | -109 | -5 | Газ | 1,4 | 16,3 | 31 | 365 | 420 | 3,9 | 0,79 | 0,02 | 0,76 | T2 | IIB | |
107-00-6 | Бутин-1 (= Этилацетилен) | 1,86 | -125 | 8 | Газ | - | - | - | - | - | - | 0,71 | - | - | - | IIB | |
107-02-8 | 2-Пропеналь (ингибированный) (= Альдегид акриловой кислоты) (= Пропеналь) (= Акролеин) CH2=CHCHO | 1,93 | -88 | 52 | -18 | 2,8 | 31,8 | 65 | 741 | 217 | - | 0,72 | - | - | T3 | IIB | |
107-05-1 | 3-Хлор-1-пропен (= Аллилхлорид) (= 1-Хлор-2-пропен) (= 3-Хлорпропилен) CH2=CHCH2Cl | 2,64 | -136 | 45 | -32 | 2,9 | 11,2 | 92 | 357 | 390 | - | 1,17 | | 1,33 | T2 | IIA | |
107-06-2 | 1,2-Дихлорэтан (= Хлористый этилен) (= Этиленхлорид) CH2ClCH2Cl | 3,42 | -36 | 84 | 13 | 6,2 | 16,0 | 255 | 654 | 438 | 9,5 | 1,80 | 0,05 | - | T2 | IIA | |
107-07-3 | Этиленхлоргидрин (= 2-Хлорэтанол) (= 2-Хлорэтиловый спирт) CH2ClCH2OH | 2,78 | -68 | 128 | 55 | 4,9 | 16,0 | 164 | 535 | 425 | - | - | - | - | T2 | IIA | |
107-10-8 | 1-Пропанамин (= 1-Аминопропан) CH3(CH2)2NH2 | 2,04 | -83 | 49 | -37 | 2,0 | 10,4 | 49 | 258 | 318 | - | 1,13 | - | - | T2 | IIA | |
107-13-1 | 2-пропененитрил (= Акрилонитрил) (= Цианэтилен) (= Цианистый винил) CH2=CHCN | 1,83 | -82 | 77 | -5 | 2,8 | 28,0 | 64 | 620 | 480 | 7,1 | 0,87 | 0,02 | 0,78 | T1 | IIB | |
107-15-3 | 1,2-Диаминоэтан (= Этилендиамин) (= Диметилендиамин) NH2CH2CH2NH2 | 2,07 | 8 | 116 | 33 | 2,5 | 16,5 | 64 | 396 | 385 | - | 1,18 | - | - | T2 | IIA | |
107-18-6 | 2-Пропен-1-ол (= Аллиловый спирт) (= Пропенол) (= Аллильный спирт) (= Винилкарбинол) CH2=CHCH2OH | 2,00 | -129 | 97 | 21 | 2,5 | 18,0 | 61 | 438 | 378 | - | 0,84 | - | - | T2 | IIB | |
107-19-7 | 2-Пропин-1-ол (= Проп-2-ин-1-ол) (= Пропаргиловый спирт) | 1,89 | -48 | 115 | 33 | 2,4 | - | 55 | - | 346 | - | 0,58 | - | - | T2 | IIB | |
107-20-0 | Хлорацетальдегид (= 2-Хлорэтаналь) ClCH2CHO | 2,69 | - | - | 88 (водный раствор 40%) | 5,7 | 18,4 | 186 | 600 | - | - | - | - | - | - | - | - |
107-30-2 | Метоксихлорметан (= Хлорметилметиловый эфир) (= Хлордиметиловый эфир) (= Хлорметоксиметан) (= Диметилхлор эфир) (= Метилхлорметиловый эфир) CH3OCH2Cl | 2,78 | -104 | 59 | -8 | - | - | - | - | - | - | 1,00 | - | - | - | IIA | |
107-31-3 | Метиловый эфир муравьиной кислоты (= Метилформиат) (= Муравьиная кислота) HCOOCH3 | 2,07 | -100 | 32 | -20 | 5,0 | 23,0 | 125 | 580 | 525 | - | 0,94 | - | - | T1 | IIA | |
108-01-0 | 2-(Диметиламино)этанол (CH3)2NC2H4OH | 3,03 | -40 | 131 | 39 | - | - | - | - | 220 | - | - | - | - | T3 | IIA | |
108-03-2 | 1-Нитропропан CH3CH2CH2NO2 | 3,10 | -108 | 132 | 35 | 2,2 | - | 82 | - | 420 | - | 0,84 | - | - | T2 | IIB | |
108-05-4 | Этениловый эфир уксусной кислоты (= Винилацетат) (= Ацетоксиэтилен) CH3COOCH=CH2 | 3,00 | -100 | 72 | -7 | 2,6 | 13,4 | 93 | 478 | 385 | 4,75 | 0,94 | 0,02 | - | T2 | IIA | |
108-10-1 | 4-Метил-2-пентанон (= Гексон) (= Изопропилацетон) (= Изобутилметилкетон) (CH3)2CHCH2COCH3 | 3,45 | -80 | 116 | 16 | 1,2 | 8,0 | 50 | 336 | 475 | - | 1,01 | - | - | T1 | IIA | |
108-11-2 | 4-Метил-2-пентанол (= Метилизобутилкарбинол) (= Метиламиловый спирт) (CH3)2CHCH2CHOHCH3 | 3,50 | -60 | 133 | 37 | 1,14 | 5,5 | 47 | 235 | 334 | - | 1,01 | - | - | T2 | IIA | |
108-18-9 | N-(1-Метилэтил)-2-пропанамин (= Диизопропиламин) ((CH3)2CH)2NH | 3,48 | -61 | 82 | -20 | 1,2 | 8,5 | 49 | 358 | 285 | - | 1,02 | - | - | T3 | IIA | |
108-20-3 | 2,2-оксибиспропан (= Диизопропиловый эфир) (= 2-изопропоксипропан) ((CH3)2CH)2O | 3,52 | -86 | 69 | -28 | 1,0 | 21,0 | 45 | 900 | 405 | 2,6 | 0,94 | 0,06 | - | T2 | IIA | |
108-21-4 | Изопропилацетат (= Изопропиловый эфир уксусной кислоты) (= Уксусноизопропиловый эфир) (= 1-Метилэтиловый эфир уксусной кислоты) (= 2-Пропилацетат) CH3COOCH(CH3)2 | 3,51 | -17 | 90 | 1 | 1,7 | 8,1 | 75 | 340 | 425 | - | 1,05 | - | - | T2 | IIA | |
108-24-7 | Ацетангидрид (= Ангидрит уксусной кислоты) (= Уксусный оксид) (= Ацетилоксид) (= Этановый ангидрид) (CH3CO)2O | 3,52 | -73 | 140 | 49 | 2,0 | 10,3 | 85 | 437 | 316 | - | 1,23 | - | - | T2 | IIA | |
108-38-3 | 1,3-Диметилбензол (= Мета-ксилол) C6H4(CH3)2 | 3,66 | -48 | 139 | 25 | 1,0 | 7,0 | 44 | 309 | 465 | - | 1,09 | - | - | T1 | IIA | |
108-62-3 | 2,4,6,8-Тетраметил-1,3,5,7-Тетроксокан (= Метальдегид) (C2H4O)4 | 6,10 | 246 | ./. | 36 | - | - | - | - | - | - | - | - | - | - | IIA | |
108-67-8 | 1,3,5-Триметилбензол (= Мезитилен) CHC(CH3)CHC(CH3)CHC(CH3) | 4,15 | -45 | 165 | 44 | 0,8 | 7,3 | 40 | 365 | 499 | - | 0,98 | - | - | T1 | IIA | |
108-82-7 | 2,6-Диметил-4-гептанол (= Диизобутилкарбинол) ((CH3)2CHCH2)2CHOH | 4,97 | -65 | 176 | 75 | 0,7 | 6,10 | 42 | 370 | 290 | - | 0,93 | - | - | T3 | IIA | |
108-87-2 | Метилциклогексан (= Гексагидротолуол) CH3CH(CH2)4CH2 | 3,38 | -127 | 101 | -4 | 1,0 | 6,70 | 41 | 275 | 250 | - | - | - | - | T3 | IIA | |
108-88-3 | Метилбензол (= Толуол) (= Фенил-метан) C6H5CH3 | 3,20 | -95 | 111 | 4 | 1,0 | 7,8 | 39 | 299 | 530 | - | 1,06 | - | - | T1 | IIA | |
108-89-4 | 4-Метилпиридин (= у-Пиколин) NCHCHC(CH3)CHCH2 | 3,21 | 3 | 145 | 43 | 1,1 | 7,8 | 42 | 296 | 534 | - | 1,12 | - | - | T1 | IIA | |
108-90-7 | Хлорбензол (= Фенилхлорид) (= Монохлорбензол) C6H5Cl | 3,88 | -45 | 132 | 28 | 1,3 | 11,0 | 61 | 514 | 593 | - | - | - | - | T1 | IIA | |
108-91-8 | Циклогексиламин (= Аминоциклогексан) (= Аминогексагидробензол) (= Гексагидроанилин) (= Гексагидробензоламин) | 3,42 | -18 | 134 | 27 | 1,1 | 9,4 | 45 | 387 | 275 | - | - | - | - | T3 | IIA | |
108-93-0 | Циклогексанон (= Циклогексиловый спирт) (= Гексагидрофенол) (= Гексалин) | 3,45 | 24 | 161 | 61 | 1,2 | 11,1 | 50 | 460 | 300 | - | - | - | - | T3 | IIA | |
108-94-1 | Циклогексанон (= Анон) (= Циклогексил кетон) (= Пимелинкетон) CH2(CH2)4CO | 3,38 | -26 | 156 | 43 | 1,3 | 9,4 | 53 | 386 | 419 | 3,0 | 0,95 | 0,03 | - | T2 | IIA | |
108-95-2 | Фенол (= Карболовая кислота) (= Гидроксибензол) (= Моногидроксибензол) (= Монофенол) (= Оксибензол) C6H5OH | 3,24 | 41 | 182 | 75 | 1,3 | 9,5 | 50 | 370 | 595 | - | - | - | - | T1 | IIA | |
108-99-6 | 3-Метилпиридин | 3,21 | -18 | 144 | 43 | 1,4 | 8,1 | 53 | 308 | 537 | - | 1,14 | - | - | T1 | IIA | |
109-06-8 | 2-Метилпиридин NC(CH3)CHCHCHCH | 3,21 | -70 | 128 | 27 | 1,2 | - | 45 | - | 533 | - | 1,08 | - | - | T1 | IIA | |
109-55-7 | N,N-Диметил-1,3-диаминопропан (= 3-Диметиламинопропиламин) (= 1-Амино-3-диметиламинопропан) (CH3)2N(CH2)3NH2 | 3,52 | -70 | 134 | 26 | 1,2 | - | 50 | - | 219 | - | 0,95 | - | - | T3 | IIA | |
109-60-4 | Пропиловый эфир уксусной кислоты (= n-Пропилацетат) (= 1-Ацетоксипропан) (=n-пропиловый эфир уксусной кислоты) CH3COOH2CH2CH3 | 3,50 | -92 | 102 | 10 | 1,7 | 8,0 | 70 | 343 | 430 | 135 мг/дм3 | 1,04 | - | - | T2 | IIA | |
109-65-9 | 11-Бромбутан (= n-Бромистый бутил) CH3(CH2)2CH2Br | 4,72 | -112 | 102 | 13 | 2,5 | 6,6 | 142 | 376 | 265 | - | - | - | - | T3 | IIA | |
109-66-0 | n-Пентан CH3(CH2)3CH3 | 2,48 | -130 | 36 | -40 | 1,1 | 8,7 | 33 | 260 | 243 | 2,55 | 0,93 | 0,02 | 0,97 | T3 | IIA | |
109-69-3 | 1-Хлорбутан (= n-Бутил хлорид) (= n-Пропилкарбинил хлорид) CH3(CH2)2CH2Cl | 3,20 | -123 | 78 | -12 | 1,8 | 10,0 | 69 | 386 | 245 | - | 1,06 | - | - | T3 | IIA | |
109-73-9 | 1-Аминобутан (= n-Бутиламин) CH3(CH2)3NH2 | 2,52 | -50 | 78 | -12 | 1,7 | 9,8 | 49 | 286 | 312 | - | 0,92 | - | 1,13 | T2 | IIA | |
109-79-5 | 1-Бутантиол (= Бутантиол) (= n-Бутилмеркаптан) (= n-Бутантиол (= 1-меркаптобутан) CH3(CH2)3SH | 3,10 | -116 | 98 | 2 | 1,4 | 11,3 | 52 | 423 | 272 | - | - | - | - | T3 | - | - |
109-86-4 | 2-Метоксиэтанол (= Монометиловый эфир этиленгликоля) CH3OCH2CH2OH | 2,63 | -86 | 104 | 39 | 1,8 | 20,6 | 57 | 651 | 285 | - | 0,85 | - | - | T3 | IIB | |
109-87-5 | Диметоксиметан (= Метилаль) (= Диметилацеталь формальдегид) (= Диметилформаль) (= 2,4-Диоксапентан) CH2(OCH3)2 | 2,60 | -105 | 43 | -21 | 2,2 | 19,9 | 71 | 630 | 235 | - | 0,86 | - | - | T3 | IIB | |
109-89-7 | н-Этиленамин (= Диэтамин) (= Диэтиламин) (C2H5)2NH | 2,53 | -50 | 56 | -23 | 1,7 | 10,1 | 50 | 306 | 312 | - | 1,15 | - | - | T2 | IIA | |
109-94-4 | Этиловый эфир муравьиной кислоты (= Этилформиат) HCOOCH2CH3 | 2,55 | -80 | 54 | -20 | 2,7 | 16,5 | 87 | 497 | 440 | - | 0,91 | - | - | T2 | IIA | |
109-95-5 или 8013-58-9 (действуют оба номера) | Этиловый эфир азотистой кислоты (= Этилнитрит: см. 5.2.2) | 2,60 | | 17 | -35 | 3,0 | 50,0 | 94 | 1555 | 95 | 270 мг/дм3 | 0,96 | - | - | T6 | IIA | |
109-99-9 | Тетрагидрофуран (= 1,4-Эпоксибутан) (= Оксолан) (= Оксацикпопентан) (= Тетраметилен оксид) | 2,49 | -108 | 64 | -14 | 1,5 | 12,4 | 46 | 370 | 230 | - | 0,87 | - | - | T3 | IIB | |
110-00-9 | Фуран (= Дивинилен оксид) (= Фурфуран) (= Оксациклопентадиен) | 2,30 | -86 | 32 | < -20 | 2,3 | 14,3 | 66 | 408 | 390 | - | 0,68 | - | - | T2 | IIB | |
110-01-0 | Тетрагидротиофен (Тетраметилен сульфид) (= Тиолан) (= Тиофан) (= Тиоциклопентан) | 3,04 | -96 | 121 | 13 | 1,1 | 12,3 | 42 | 450 | 200 | - | 0,99 | - | - | T4 | IIA | |
110-02-1 | Тиофен (= Дивинилен сульфид) (= Тиоциклопентадиен) (= Тиофуран) | 2,90 | -36 | 84 | -9 | 1,50 | 12,5 | 50 | 435 | 395 | - | 0,91 | - | - | T2 | IIA | |
110-05-4 | Бис(1,1-диметилэтил) пероксид (= Ди-трет-бутилпероксид) (CH3)3COOC(CH3)3 | 5,0 | -40 | 110 | 4 | 0,74 | 100 | 45 | 6073 | 170 | - | 0,84 | - | - | T4 | IIB | |
110-43-0 | 2-Гептанон (= 1-Метилгексаналь) (= 2-Оксогептан) (= Амил метил кетон) (= Бутилацетон) CH3CO(CH2)4CH3 | 3,94 | -35 | 151 | 39 | 1,1 | 7,9 | 52 | 378 | 305 | - | - | - | - | T2 | IIA | |
110-54-3 (n-гексан) | Гексан (смесь изомеров) (= Гексил гидрид) CH3(CH2)4CH3 | 2,97 | - | - | -22 | 1,0 | 8,9 | 35 | 319 | 225 | 2,5 | 0,93 | 0,02 | 0,88 | T3 | IIA | |
110-62-3 | 1-Пентаналь (= Амиловый альдегид) (= Валериановый альдегид) CH3(CH2)3CHO | 2,97 | -92 | 103 | 6 | 1,4 | 9,5 | 50 | - | 206 | - | - | - | - | T3 | - | - |
110-71-4 | 1,2-Диметоксиэтан (= Моноглим) (= Этиленгликоля диметиловый эфир) (= Диметилгликоль) (= 2,5-Диоксагексан) CH3O(CH2)2OCH3 | 3,10 | -58 | 84 | -6 | 1,6 | 10,4 | 60 | 390 | 197 | - | 0,72 | - | - | T4 | IIB | |
110-80-5 | 2-Этоксиэтанол (= Этилцеллозольв) (= Этиловый эфир этиленгликоля) (= Моноэтиловый эфир этиленгликоля) CH3CH2OCH2CH2OH | 3,10 | -100 | 135 | 40 | 1,7 | 15,7 | 64 | 588 | 235 | - | 0,78 | - | - | T3 | IIB | |
110-82-7 | Циклогексан (= Гексагидробензол) (= Гексаметилен) | 2,83 | 7 | 81 | -17 | 1,0 | 8,0 | 35 | 280 | 244 | 90 мг/дм3 | 0,94 | - | - | T3 | IIA | |
110-83-8 | Циклогексан (= Тетрагидробензол) | 2,90 | -104 | 83 | -17 | 1,1 | 8,3 | 37 | 283 | 244 | - | 0,94 | - | 0,97 | T3 | IIA | |
110-86-1 | Пиридин (= Азин) (= Азобензол) C5H5N | 2,73 | -42 | 116 | 18 | 1,7 | 12,4 | 56 | 407 | 482 | - | - | - | - | T1 | IIA | |
110-88-3 | 1,3,5-Триоксан (= Триоксиметилен) | 3,11 | 62 | 115 | 45 | 3,2 | 29,0 | 121 | 1096 | 410 | - | 0,75 | - | - | T2 | IIB | |
110-91-8 | Морфолин (= Диэтиленоксимид) (= Диэтиленимидооксид) (= Тетрагидро-1,4-оксазин) | 3,00 | -5 | 129 | 33 | 1,4 | 15,2 | 51 | 550 | 275 | - | 0,92 | - | - | T3 | IIA | |
110-96-3 | 2-Метил-N-(2-метилпропил)-1-пропанамин (= Диизобутиламин) ((CH3)2CHCH2)2NH | 4,45 | -70 | 139 | 26 | 0,8 | 3,60 | 42 | 190 | 256 | - | 1,12 | - | - | T3 | IIA | |
111-15-9 | Этилцеллозольва ацетат (= 2-Этоксиэтилацетат) (= Моноэтилэфирацетат этиленгликоля) (= Ацетат моноэтилового эфира гликоля) CH3COOCH2CH2OCH2CH3 | 4,56 | -62 | 156 | 51 | 1,2 | 12,7 | 66 | 697 | 380 | - | 0,97 | - | 0,53 | T2 | IIA | |
111-27-3 | 1-Гексанол (= Амилкарбинол) (= Гексиловый спирт) (= 1-Гидрогексан) (= Пентилкарбинол) CH3(CH2)4CH2OH | 3,50 | -45 | 157 | 60 | 1,1 | 11,8 | 47 | 502 | 280 | 3,0 | 0,85 | 0,06 | - | T3 | IIB | |
111-43-3 | 1,1-Оксибиспропан (= Дипропиловый эфир) (= 1-пропокси-пропан) CH3(CH2)2O | 3,53 | -122 | 90 | < -5 | 1,18 | - | 50 | - | 175 | - | - | - | - | T4 | IIB | |
111-49-9 | Азепан | 3,41 | -37 | От 135 до 137 | 23 | - | - | - | - | 279 | - | 1,00 | - | - | T3 | IIA | |
111-65-9 | n-Октан CH3(CH2)6CH3 | 3,93 | -57 | 126 | 13 | 0,8 | 6,5 | 38 | 308 | 206 | 1,94 | 0,94 | 0,02 | - | T3 | IIA | |
111-69-3 | 1,4-Дицианобутан (= Адипонитрил) (= Тетраметилен цианид) NC(CH2)4CN | 1,00 | 2 | 295 | 93 | 1,70 | 5,0 | 76 | 225 | 550 | - | - | - | - | T1 | - | - |
111-70-6 | Гептан-1-ол (= Гексилкарбинол) (= Гептиловый спирт) (= Энантовый спирт) (= 1-гидроксигептан) CH3(CH2)5CH2OH | 4,03 | -34 | 175 | 60 | 0,9 | - | 43 | - | 275 | - | 0,94 | - | - | T3 | IIA | |
111-76-2 | 2-Бутоксиэтанол (= Монобутиловый эфир этиленгликоля) (= Бутилцеллозольв) (= Бутилгликоль) CH3(CH2)3O(CH2)2OH | 4,1 | -75 | 171 | 61 | 1,1 | 12,7 | 54 | 623 | 238 | - | - | - | - | T3 | - | - |
111-84-2 | Нонан (= Нонил гидрид) CH3(CH2)7CH2 | 4,43 | -51 | 151 | 30 | 0,7 | 5,6 | 37 | 301 | 205 | - | - | - | - | T3 | IIA | |
111-87-5 | 1-Октанол (= Каприловый спирт) (= Гептилкарбинол) (= 1-Гидроксиоктан) (= n-Октиловый спирт) CH3(CH2)6CH2OH | 4,50 | -60 | 195 | 81 | 0,9 | 7,0 | 49 | 379 | 270 | - | 1,05 | - | - | T3 | IIA | |
111-90-0 | 2-(2-Этоксиэтокси)этанол (= Моноэтиловый эфир диэтиленгликоля) (= 3,6-диоксаоктан-1-ол) CH3CH2OCH2CH2OCH2CH2OH | 4,62 | От -80 до -76 | 202 | 94 | 1,3 | - | 73 | - | 190 | - | 0,94 | - | - | T4 | IIA | |
112-07-2 | 2-Бутоксиэтил ацетат (= Этилен гликоль монобутиловый эфир ацетат) C4H9O(CH2)2OCOCH3 | 5,52 | 64 | 192 | 71 | 0,9 | 8,9 | 60 | 592 | 340 | - | - | - | - | T2 | - | - |
112-30-1 | 1-Деканоль (= Дециловый спирт) CH3(CH2)9OH | 5,30 | 7 | 230 | 82 | 0,7 | 5,5 | 46 | 361 | 288 | - | - | - | - | T3 | - | - |
112-34-5 | 2-(2-Бутоксиэтокси) этанол (= Бутилдигликоль) (= Диэтиленгликоля монобутиловый эфир) CH3(CH2)3OCH2CH2OCH2CH2OH | 5,59 | -68 | 231 | > 100 | 0,85 | - | 58 | - | 225 | - | 1,11 | - | - | T3 | IIA | |
112-41-4 | 1-Додецен CH3(CH2)9CH=CH2 | 5,80 | -32 | 213 | 77 | 0,6 | - | 42 | - | 225 | - | - | - | - | T3 | - | - |
112-58-3 | 1,1-Оксибигексан (= Дигексиловый эфир) (CH3(CH2)5)2O | 6,43 | -43 | 227 | 75 | - | - | - | - | 187 | - | - | - | - | T4 | IIA | |
115-07-1 | Пропен (= Метилэтилен) (= Пропилен) CH2=CHCH3 | 1,50 | -185 | -48 | Газ | 2,0 | 11,1 | 35 | 194 | 455 | 4,8 | 0,91 | 0,02 | - | T1 | IIA | |
115-10-6 | Оксибисметан (= Метиловый эфир) (= Диметиловый эфир) (= Метоксиметан) (CH3)2O | 1,59 | -142 | -25 | Газ | 2,7 | 32,0 | 51 | 610 | 240 | 7,0 | 0,84 | 0,06 | - | T3 | IIB | |
115-11-7 | 2-Метил-1-пропен (= 1,1-диметилэтилен) (= Изобутилен) (= Изобутен) (= 2-Метилпропен) (CH3)2C=CH2 | 1,93 | -140 | -7 | Газ | 1,6 | 10,0 | 37 | 235 | 483 | - | 1,00 | - | - | T1 | IIA | |
116-14-3 | Тетрафторэтилен CF2=CF2 | 3,40 | -143 | -76 | Газ | 10,0 | 59,0 | 420 | 2245 | 255 | - | 0,60 | - | - | T3 | IIB | |
121-44-8 | Триэтиламин (CH3CH2)3N | 3,50 | -115 | 89 | -8 | 1,2 | 8,0 | 51 | 339 | 215 | - | - | - | - | T3 | IIA | |
121-69-7 | N,N-диэтилбензоламин (= N,N-диметиланилин) C6H3(CH3)2NH2 | 4,17 | 2 | 194 | 62 | 1,2 | 7,0 | 60 | 350 | 370 | - | - | - | - | T2 | - | - |
123-05-7 | 2-Этилгексаналь (= 2-Этилгексальдегид) CH3CH(CH2CH3)(CH2)3CHO | 4,4 | -50 | 163 | 42 | 0,9 | 7,2 | - | - | 185 | - | - | - | - | T4 | - | - |
123-38-6 | 1-Пропаналь (= Пропионовый альдегид) CH3CH2CHO | 2,00 | -81 | 49 | < -26 | 2,0 | - | 47 | - | 175 | - | 0,86 | - | - | T4 | IIB | |
123-42-2 | 4-Гидрокси-4-метил-2-пентанон (= Диацетоновый спирт) (= 2-Метил-2-пентанол-4-он) CH3COCH2C(CH3)2OH | 4,00 | -47 | 166 | 58 | 1,8 | 6,9 | 88 | 336 | 680 | - | | - | - | T1 | IIA | |
123-51-3 | 3-Метил-1-бутанол (= Изоамиловый спирт) (CH3)2CH(CH2)2OH | 3,03 | -117 | 131 | 42 | 1,3 | 10,5 | 47 | 385 | 339 | - | 1,06 | - | - | T2 | IIA | |
123-54-6 | 2,4-Пентадион (= Ацетилацетон) CH3COCH2COCH3 | 3,50 | -23 | 140 | 34 | 1,7 | - | 71 | - | 340 | 3,3 | 0,95 | 0,15 | - | T2 | IIA | |
123-63-7 | 2,4,6-Триметил-1,3,5-триоксан (= р-Ацетальдегид) (= Парацетальдегид) (= Паральдегид) OCH(CH3)OCH(CH3)OCH(CH3) | 4,56 | 12 | 124 | 27 | 1,3 | - | 72 | - | 235 | - | 1,01 | - | - | T3 | IIA | |
123-72-8 | 1-Бутаналь (= Бутиральдегид) (= Масляный альдегид) CH3CH2CH2CHO | 2,48 | -97 | 75 | -12 | 1,7 | 12,5 | 51 | 378 | 205 | - | 0,92 | - | - | T3 | IIA | |
123-86-4 | Бутиловый эфир уксусной кислоты (= n-Бутилацетат) (= Бутилацетат) CH3COOCH2(CH2)2CH3 | 4,01 | -77 | 127 | 22 | 1,2 | 8,5 | 58 | 408 | 390 | 130 мг/дм3 | 1,04 | - | 1,08 | T2 | IIA | |
123-91-1 | 1,4-Диоксан (= Диэтилендиоксид) | 3,03 | 10 | 101 | 11 | 1,4 | 22,5 | 51 | 813 | 375 | 4,75 | 0,70 | 0,02 | 0,19 | T2 | IIB | |
124-13-0 | Октаналь (= Октиловый альдегид) CH3(CH2)6CHO | 4,42 | 12 до 15 | 171 | 52 | - | - | - | - | 200 | - | - | - | - | T4 | IIA | |
124-18-5 (n-декан) | Декан (смесь изомеров) C10H22 | 4,90 | - | - | 46 | 0,7 | 5,6 | 41 | 332 | 235 | 120 мг/дм3 | 1,05 | - | - | T3 | IIA | |
124-40-3 | n-Метилметанамин (= Диметиламин) (CH3)2NH | 1,55 | -92 | 7 | газ | 2,8 | 14,4 | 53 | 272 | 400 | - | 1,15 | - | - | T2 | IIA | |
126-99-8 | 2-Хлорбутадиен-1,3 (= Хлоропрен) CH2=CClCH=CH2 | 3,0 | - | 60 | -29 | 1,9 | 20,0 | 70 | 735 | 320 | - | - | - | - | T2 | - | - |
138-86-3 | Дипентен CH3CCHCH2CH(C(CH3)= =CH2)CH2CH2 | 4,66 | -89 | 175 | 43 | 0,7 | 6,1 | 39 | 348 | 237 | - | 1,18 | - | - | T3 | IIA | |
140-88-5 | Этиловый эфир 2-пропеновой кислоты (= Этиловый эфир акриловой кислоты) (= Этилакрилат) CH2=CHCOOCH2CH3 | 3,45 | -75 | 100 | 9 | 1,4 | 14,0 | 59 | 588 | 350 | 4,3 | 0,86 | 0,04 | - | T2 | IIB | |
141-32-2 | Бутиловый эфир 2-Пропеноевой кислоты (ингибированный) (= n-Бутилакрилат) (= Бутиловый эфир акриловой кислоты) CH2=CHCOOC4H9 | 4,41 | -65 | 148 | 38 | 1,2 | 9,9 | 63 | 527 | 268 | - | 0,88 | - | - | T3 | IIB | |
141-43-5 | 2-Аминоэтанол (= Этаноламин) (= Бета-аминоэтиловый спирт) (= 2-Гидроксиэтиламин) (= Моноэтаноламин) NH2CH2CH2OH | 2,10 | 10 | 172 | 85 | - | - | - | - | 410 | - | - | - | - | T2 | IIA | |
141-78-6 | Этиловый эфир уксусной кислоты (= Этилацетат) (= Этил ацетат) CH3COOCH2CH3 | 3,04 | -83 | 77 | -4 | 2,0 | 12,8 | 73 | 470 | 470 | 4,7 | 0,99 | 0,04 | - | T1 | IIA | |
141-79-7 | 4-Метил-3-пентен-2-он (= Мезитилоксид) (CH3)2CCHCOCH3 | 3,78 | -59 | 130 | 24 | 1,6 | 7,2 | 64 | 289 | 306 | - | 0,93 | - | - | T2 | IIA | |
141-97-9 | Этиловый эфир 3-оксобутановой кислоты (= Этиловый эфир ацетоуксусной кислоты) (= 1-Этоксибутан-1,3-дион) (= Этилацетоацетат) CH3COCH2COOCH2CH3 | 4,50 | -44 | 180 | 65 | 1,0 | 9,5 | 54 | 519 | 350 | - | 0,96 | - | - | T2 | IIA | |
142-29-0 | Циклопентен | 2,30 | -135 | 46 | < -22 | 1,48 | - | 41 | - | 309 | - | 0,96 | - | - | T2 | IIA | |
142-82-5 (n-гептан) | Гептан (смесь изомеров) C7H16 | 3,46 | -91 | 98 | -7 | 0,85 | 6,7 | 35 | 281 | 204 | 2,3 | 0,91 | 0,02 | 0,88 | T3 | IIA | |
142-84-7 | n-Пропил-1-пропиламин (= Дипропиламин) (CH3CH2CH2)2NH | 3,48 | -40 | 105 | 4 | 1,2 | 9,1 | 50 | 376 | 260 | - | 0,95 | - | - | T3 | IIA | |
142-96-1 | 1,1-Оксибисбутан (= Дибутиловый эфир) (= 1-Бутоксибутан) (CH3(CH2)3)2O | 4,48 | -95 | 141 | 25 | 0,9 | 8,5 | 48 | 460 | 175 | 2,6 | 0,86 | 0,02 | - | T4 | IIB | |
151-56-4 | Этиленимин (= Аминоэтилен) (= Азиридин) CH3CH2N | 1,5 | -71 | 55 | -11 | 3,3 | 54,8 | 59 | 980 | 320 | - | - | - | 0,48 | T2 | IIB | |
287-23-0 | Циклобутан (= Тетраметилен) | 1,93 | -91 | 13 | Газ | 1,8 | - | 42 | - | - | - | - | - | - | - | IIA | |
287-92-3 | Циклопентан (= Пентаметилен) | 2,40 | -94 | 49 | -37 | 1,4 | - | 41 | - | 320 | - | 1,01 | - | - | T2 | IIA | |
291-64-5 | Циклогептан | 3,39 | -8 | 119 | 6 | 1,1 | 6,7 | 44 | 275 | - | - | - | - | - | - | IIA | |
300-62-9 | (+-)-Альфа-Метилбензолэтанамин (= Бензедрин) (= 1-Фенил-2-аминопропан) C6H5CH2CH(NH2)CH3 | 4,67 | - | 200 | < 100 | - | - | - | - | - | - | - | - | - | - | IIA | |
350-57-2 | 1,1,2,2-Тетрафторэтоксибензол C6H5OCF2CF2H | 6,70 | - | От 152 до 162 | 47 | 1,6 | - | 126 | - | 483 | - | 1,22 | - | - | T1 | IIA | |
359-11-5 | Трифторэтилен CF2=CFH | 2,83 | - | -51 | ./. | 15,3 | 27,0 | 502 | 904 | 319 | - | 1,40 | - | - | T2 | IIA | |
420-46-2 | 1,1,1-Трифторэтан (= Метилфтороформ) CF3CH3 | 2,90 | -111 | -47 | ./. | 6,8 | 17,6 | 234 | 605 | 714 | - | 2,00 | - | - | T1 | IIA | |
461-53-0 | Бутирилфторид CH3(CH2)2COF | 3,10 | - | 66 | < -14 | 2,6 | - | 95 | - | 440 | - | 1,14 | - | - | T2 | IIA | |
463-58-1 | Сернистый карбанол COS | 2,07 | -139 | -50 | Газ | 6,5 | 28,5 | 160 | 700 | 209 | - | 1,35 | - | - | T3 | IIA | |
493-02-7 | Декалин | 4,76 | -30 | 187 | 54 | 0,7 | 4,9 | 40 | 284 | 288 | - | - | - | - | T3 | IIA | |
504-60-9 | 1,3-Пентадиен (= Пиперилен) CH2=CH-CH=CH-CH3 | 2,34 | - | 41 | < -31 | 1,2 | 9,4 | 35 | 261 | 361 | - | 0,97 | - | - | T2 | IIA | |
507-20-0 | 2-Метил-2-хлорпропан (CH3)3CCl | 3,19 | -27 | 51 | < -18 | - | - | - | - | 541 | - | 1,40 | - | - | T1 | IIA | |
513-35-9 | 2-Метил-2-бутен (= Амилен) (= Триметилэтилен) (CH3)2C=CHCH3 | 2,40 | -134 | 38 | -53 | 1,3 | 6,6 | 37 | 189 | 290 | - | 0,96 | - | - | T3 | IIA | |
513-36-0 | 2-Метил-1-хлорпропан (CH3)2CHCH2Cl | 3,19 | -131 | 69 | < -14 | 2,0 | 8,8 | 75 | 340 | 416 | - | 1,25 | - | - | T2 | IIA | |
526-73-8 | 1,2,3-Триметилбензол (= Гемимелплитол) | 4,15 | -26 | 176 | 51 | 0,8 | 7,0 | - | - | 470 | - | - | - | - | T1 | IIA | |
534-22-5 | 2-Метилфуран | 2,83 | -89 | 64 | < -16 | 1,4 | 9,70 | 47 | 325 | 318 | - | 0,95 | - | - | T2 | IIA | |
536-74-3 | Фенилацетилен (= Этинилбензол) | 3,52 | -45 | 142 | 41 | - | - | - | - | 420 | - | 0,86 | - | - | T2 | IIB | |
540-54-5 | 1-Хлорпропан CH3CH2CH2Cl | 2,70 | -123 | 47 | -32 | 2,4 | 11,1 | 78 | 365 | 520 | - | - | - | - | T1 | IIA | |
540-59-0 | 1,2-Дихлорэтен (= Ацетилен дихлорид) (= Симметричный дихлорэтилен) ClCH=CHCl | 3,55 | -57 | От 48 до 60 | -10 | 9,7 | 12,8 | 391 | 516 | 440 | - | 3,91 | - | - | T2 | IIA | |
540-67-0 | Этилметиловый эфир (= Метоксиэтан) CH3OCH2CH3 | 2,10 | -139 | 7 | Газ | 2,0 | 10,1 | 50 | 255 | 190 | - | - | - | - | T4 | IIB | |
540-84-1 | 2,2,4-Триметилпентан (= Изооктан) (CH3)2CHCH2C(CH3)3 | 3,90 | -107 | 99 | -12 | 0,7 | 6,0 | 34 | 284 | 413 | 2 | 1,04 | 0,04 | - | T2 | IIA | |
540-88-5 | 1,1-Диметилэтиловый эфир уксусной кислоты (= Трет-бутил ацетат) (= Трет-бутиловый эфир уксусной кислоты) CH3COOC(CH3)3 | 4,00 | - | 97 | 1 | 1,3 | 7,3 | 63 | 352 | 435 | - | - | - | - | T2 | - | - |
542-92-7 | 1,3-циклопентадиен | 2,30 | -97 | 40 | -50 | - | - | - | - | 465 | - | 0,99 | - | - | T1 | IIA | |
544-01-4 | Диизопентиловый эфир (CH3)2CH(CH2)2O(CH2)2CH(CH3)2 | 5,45 | -96 | 173 | 44 | 1,27 | - | 104 | - | 185 | - | 0,92 | - | - | T4 | IIA | |
554-14-3 | 2-Метилтиофен | 3,40 | -63 | 113 | -1 | 1,3 | 6,5 | 52 | 261 | 433 | - | 1,15 | - | - | T2 | IIA | |
557-99-3 | Ацетилфторид CH3COF | 2,14 | -84 | 21 | < -17 | 5,6 | 19,9 | 142 | 505 | 434 | - | 1,54 | - | - | T2 | IIA | |
563-47-3 | 2-Метил-3-хлорпропен CH2=C(CH3)CH2Cl | 3,12 | -80 | 72 | -16 | 2,1 | - | 77 | - | 476 | - | 1,16 | - | - | T1 | IIA | |
583-48-2 | 3,4-Диметилгексан CH3CH2CH(CH3)CH(CH3)CH2CH3 | 3,87 | | 118 | 2 | 0,8 | 6,5 | 38 | 310 | 305 | - | | - | - | T2 | IIA | |
590-01-2 | Бутиловый эфир пропионовой кислоты (= Пропановая кислота, бутиловый эфир) (= Бутилпропаноат) (= Бутилпропионат) C2H5COOC4H9 | 4,48 | -90 | 146 | 38 | 1,0 | 7,7 | 53 | 409 | 405 | - | 0,93 | - | - | T2 | IIA | |
590-18-1 | Цис-2-бутен CH3CH=CHCH3 | 1,93 | -139 | 4 | газ | 1,6 | 10,0 | 40 | 228 | 325 | - | 0,89 | - | - | T2 | IIB | |
590-86-3 | 3-Метилбутаналь (= Изопентанал) (= Изо-валеральдегид) (= 3-метилбутиральдегид) (CH3)2CHCH2CHO | 2,97 | -51 | 92 | -5 | 1,3 | 13 | 47 | 465 | 207 | - | 0,98 | - | - | T3 | IIA | |
591-78-6 | 2-Гексанон (= Гексан-2-он) (= Метилбутилкетон) CH3CO(CH2)3CH3 | 3,46 | -56 | 128 | 23 | 1,2 | 9,4 | 50 | 392 | 420 | - | 0,98 | - | - | T2 | IIA | |
591-87-7 | Пропенилацетат (= Аллиловый эфир уксусной кислоты) (= Аллилацетат) CH2=CHCH2OOCCH3 | 3,45 | 103 | - | 13 | 1,7 | 10,1 | 69 | 420 | 348 | - | 0,96 | - | - | T2 | IIA | |
592-77-8 | 2-Гептен CH3(CH2)3CH=CHCH3 | 3,40 | -109 | 98 | < 0 | - | - | - | - | 263 | - | 0,97 | - | - | T3 | IIA | |
598-61-8 | Метилциклобутан | 2,41 | - | 36 | - | - | - | - | - | - | - | - | - | - | - | IIA | |
623-36-9 | 2-Метил-2-пентеналь CH3CH2CHC(CH3)COH | 3,78 | -94 | 136 | 30 | 1,46 | - | 58 | - | 206 | - | 0,84 | - | - | T3 | IIB | |
624-83-9 | Метилизоцианат (= Метиловый эфир изоциановой кислоты) CH3NCO | 1,96 | - | 38 | -35 | 5,3 | 26,0 | 123 | 605 | 517 | - | 1,21 | - | - | T1 | IIA | |
625-55-8 | 1-Метилэтиловый эфир муравьиной кислоты (= Изопропилформиат) (= Изопропиловый эфир муравьиной кислоты) (= 1-Метилэтилформиат) HCOOCH(CH3)2 | 3,03 | - | 68 | < -6 | - | - | - | - | 469 | - | 1,10 | - | - | T1 | IIA | |
626-38-0 | 1-Метилбутиловый эфир уксусной кислоты (= Втор-амилацетат) (= 1-Метилбутилацетат) (= 2-Пентанол ацетат) (= 2-Пентиловый эфир уксусной кислоты) CH3COOCH(CH3)(CH2)2CH3 | 4,50 | - | 134 | 23 | 1,1 | 7,5 | 60 | 406 | - | - | - | - | - | - | IIA | |
628-63-7 | Пентиловый эфир уксусной кислоты (= n-Амилацетат) (= Амиловый эфир уксусной кислоты) (= 1-Пентанол ацетат) (= Пентилацетат) (= Пентиловый эфир уксусной кислоты) (= Первичный амилацетат) CH3COO(CH2)4CH3 | 4,48 | -71 | 149 | 25 | 1,0 | 7,5 | 55 | 387 | 360 | 110 мг/дм3 | 1,02 | - | - | T2 | IIA | |
629-14-1 | 1,2-Диэтоксиэтан CH3CH2O(CH2)2OCH2CH3 | 4,07 | -74 | 122 | 16 | - | - | - | - | 170 | - | 0,81 | - | - | T4 | IIB | |
630-08-0 | Углерод оксид насыщенный при 18 °C (см. 5.2.3) CO | 0,97 | - | - | Газ | 10,9 | 74,0 | 126 | 870 | 607 | 40,8 | 0,84 | 0,03 | - | T1 | IIB | |
645-62-5 | 2-Этил-2-гексаналь CH3CH(CH2CH3)=CH(CH2)2CH3 | 4,34 | - | 175 | 40 | - | - | - | - | 184 | - | 0,86 | - | - | T4 | IIB | |
646-06-0 | 1,3-Диоксолан (= Гликолформаль) (= Формальдегид этиленацеталь) (= Этиленгликоль формальный) | 2,55 | -26 | 74 | -5 | 2,3 | 30,5 | 70 | 935 | 245 | - | - | - | - | T3 | IIB | |
674-82-8 | 4-Метилен-2-оксетанон (= Ацетил кетен) (= Бут-3-ен-3-олид) (= Дикетен) | 2,90 | -7 | 127 | 33 | - | - | - | - | 262 | - | 0,84 | - | - | T3 | IIB | |
677-21-4 | 3,3,3-Трифтор-1-пропен CF3CH=CH2 | 3,31 | - | -29 | ./. | 4,7 | - | 184 | - | 490 | - | 1,75 | - | - | T1 | IIA | |
693-65-2 | 1,1-Оксибиспентан (= Дипентиловый эфир) (CH3(CH2)4)2O | 5,45 | -69 | 180 | 57 | - | - | - | - | 171 | - | - | - | - | T4 | - | - |
760-23-6 | 3,4-Дихлор-1-бутен CH2=CHCHClCH2Cl | 4,31 | -51 | 123 | 31 | 1,3 | 7,2 | 66 | 368 | 469 | - | 1,38 | - | - | T1 | IIA | |
764-48-7 | 2-Винилоксиэтанол CH2=CH-OCH2CH2OH | 3,04 | - | 143 | 52 | - | - | - | - | 250 | - | 0,86 | - | - | T3 | IIB | |
765-43-5 | 1-Циклопропил этанон (= Ацетилциклопропан) (= Циклопропил метил кетон) | 2,90 | -68 | 114 | 15 | 1,7 | - | 58 | - | 452 | - | 0,97 | - | - | T1 | IIA | |
814-68-6 | Акрилоилхлорид (= Хлорангидрид акриловой кислоты) (= Пропеноилхлорид) CH2CHCOCl | 3,12 | - | 74 | -8 | 2,68 | 18,0 | 220 | 662 | 463 | - | 1,06 | - | - | T1 | IIA | |
872-05-9 | 1-Децен CH2CH(CH2)7CH3 | 4,84 | -66 | 172 | 47 | 0,55 | 5,7 | 32 | 332 | 235 | - | - | - | - | T3 | - | - |
920-46-7 | 2 Метакрилоилхлорид (= Хлорангидрид метакриловой кислоты) CH2CCH3COCl | 3,60 | -60 | От 99 до 102 | 17 | 2,5 | - | 106 | - | 510 | - | 0,94 | - | - | T1 | IIA | |
926-57-8 | 1,3-Дихлор-2-бутен CH3CCl=CHCH2Cl | 4,31 | - | 126 | 27 | - | - | - | - | 469 | - | 1,31 | - | - | T1 | IIA | |
994-05-8 | 2-Метокси-2-метил-бутан (= Метил-трет-амиловый эфир) (CH3)2C(OCH3)CH2CH3 | 3,50 | -80 | 86 | < -14 | 1,18 | - | 50 | - | 345 | - | 1,01 | - | - | T2 | IIA | |
1120-56-5 | Метиленциклобутан | 2,35 | -135 | 42 | < 0 | 1,25 | 8,6 | 35 | 239 | 352 | - | 0,76 | - | - | T2 | IIB | |
1122-03-8 | 4,4,5-Триметил-1,3-диоксан | 4,48 | - | - | 35 | - | - | - | - | 284 | - | 0,90 | - | - | T3 | IIA | |
1300-73-8 | Ксилидин (смесь изомеров) C6H3(CH3)2NH2 | От 4,17 до 4,2 | - | - | От 90 до 98 | 1,0 | 7,0 | 50 | 355 | От 500 до 545 | - | - | - | - | T1 | - | - |
1319-77-3 (о-крезол) | Крезол (смесь изомеров) CH3C6H4OH | 3,73 | - | - | 81 | 1,1 | - | 50 | - | 557 | - | - | - | - | T1 | IIA | |
1333-74-0 | Водород H2 | 0,07 | -259 | -253 | Газ | 4,0 | 77,0 | 3,4 | 63 | 560 | 27 | 0,29 | 0,01 | 0,25 | T1 | IIC | |
1498-64-2 | О-Этилдихлортиофосфат C2H5OPSCl2 | 7,27 | - | - | 75 | - | - | - | - | 234 | - | 1,20 | - | - | T3 | IIA | |
1634-04-4 | трет-Бутоксиметан 2-Метил-2-метоксипропан (= трет-Бутилметиловый эфир) (= трет-Бутоксиметан) CH3OC(CH3)3 | 3,03 | -109 | 55 | -27 | 1,5 | 8,4 | 54 | 310 | 385 | - | 1,00 | - | - | T2 | IIA | |
1640-89-7 | Этилциклопентан | 3,40 | -138 | 103 | < 5 | 1,05 | 6,8 | 42 | 280 | 262 | - | - | - | - | T3 | IIA | |
1678-91-7 | Этилциклогексан | 3,87 | -113 | 132 | < 24 | 0,9 | 6,6 | 42 | 310 | 238 | - | - | - | - | T3 | IIA | |
1712-64-7 | 1-Метилэтиловый эфир азотной кислоты (= Изопропилнитрат) (= Изопропиловый эфир азотной кислоты) (= Пропанолнитрат) (CH3)2CHONO2 | 3,62 | - | 101 | 11 | 2,0 | 100 | 75 | 3738 | 175 | - | - | - | - | T4 | IIB | |
1719-53-5 | Дихлордиэтилдисилан (= Диэтилдихлорсилан) (C2H5)2SiCl2 | 5,42 | -96 | 130 | 24 | 3,4 | - | 233 | - | - | - | 0,45 | - | - | - | IIC | |
1738-25-6 | 3-(Диметиламино) пропионитрил (CH3)2NHCH2CH2CN | 3,38 | -43 | 170 | 50 | 1,57 | - | 62 | - | 317 | - | 1,14 | - | - | T2 | IIA | |
2032-35-1 | 2-Бром-1,1-диэтоксиэтан (CH3CH2O)2CHCH2Br | 7,34 | - | От 170 до 172 | 57 | - | - | - | - | 175 | - | 1,00 | - | - | T4 | IIA | |
2426-08-6 | Бутилглицидиловый эфир (= 2,3-Эпоксипропил бутиловый эфир) | 4,48 | - | 165 | 44 | - | - | - | - | 215 | - | 0,78 | - | - | T3 | IIB | |
2673-15-6 | 2,2,3,3,4,4,5,5-Октафтор-1,1-Диметил-1-пентанол H(CF2CF2)2C(CH3)2OH | 8,97 | - | - | 61 | - | - | - | - | 465 | - | 1,50 | - | - | T1 | IIA | |
2993-85-3 | 2,2,3,3,4,4,5,5,6,6,7,7-Додекафторгептилметакрилат CH2=C(CH3)COOCH2(CF2)6H | 9,93 | - | 197 | ./. | 1,6 | - | 185 | - | 390 | - | 1,46 | - | - | T2 | IIA | |
3583-47-9 | 1.4-Дихлор-2,3 эпоксибутан (= 2,3-Бис(хлорметил)оксиран) | 2,0 | - | - | - | 1,9 | 8,5 | 111 | 498 | - | - | 1,07 | - | 0,98 | - | IIA | |
4170-30-3 | 2-Бутеналь (= Кротоновый альдегид) (= Пропиленальдегид) CH3CH=CHCHO | 2,41 | -75 | 102 | 8 | 2,1 | 16,0 | 62 | 466 | 230 | - | 0,81 | - | - | T3 | IIB | |
4806-61-5 | Этилциклобутан | 2,90 | -147 | 71 | < -16 | 1,2 | 7,7 | 42 | 272 | 212 | - | - | - | - | T3 | IIA | |
5870-82-6 | 1,1,3-Триэтоксибутан (CH3CH2O)2CHCH2CH(CH3CH2O)CH3 | 6,56 | - | - | 33 | 0,78 | 5,8 | 60 | 451 | 165 | - | 0,95 | - | - | T4 | IIA | |
5891-21-4 | 5-Хлор-2-пентанон CH3CO(CH2)3Cl | 4,16 | - | 172 | 61 | 2,0 | - | 98 | - | 440 | - | 1,10 | - | - | T2 | IIA | |
7383-71-3 | 2.2.3.3-Тетрафторпропилакрилат (= 2,2,2,3-тетрафторпропиловый эфир акриловой кислоты) CH2=CHCOOCH2CF2CF2H | 6,41 | - | 135 | 45 | 2,4 | - | 182 | - | 357 | - | 1,18 | - | - | T2 | IIA | |
7397-62-8 | Бутилгидроксиацетат (= Бутилгликолят) (= Бутил-2-гидроксиацетат) HOCH2COO(CH2)3CH3 | 4,45 | -26 | 187 | 61 | - | - | - | - | - | 4,2 | 0,88 | 0,02 | - | - | IIB | |
7664-41-7 | Аммиак (= Безводный аммиак) NH3 | 0,59 | -78 | -33 | Газ | 15,0 | 33,6 | 107 | 240 | 630 | 24,5 | 3,18 | - | 6,85 | T1 | IIA | |
7783-06-4 | Сульфид водорода (= Сероводородная кислота) (= Канализационный газ) (= Сернистый водород) H2S | 1,19 | -88 | -60 | Газ | 4,0 | 45,5 | 57 | 650 | 260 | - | 0,83 | - | - | T3 | IIB | |
8006-61-9 | Газолин (= Моторное топливо) (= Газоконденсатный бензин) (= Бензин) | 3,0 | - | - | -46 | 1,4 | 7,6 | - | - | 280 | - | - | - | - | T3 | - | - |
8006-64-2 | Терпентинное масло | - | От -50 до -60 | От 154 до 170 | 35 | 0,8 | - | - | - | 253 | - | - | - | - | T3 | IIA | |
8008-20-6 | Керосин (= Дизельное топливо N 1) (= Нефтяное топливо N 1) | - | - | - | От 38 до 72 | 0,7 | 5,0 | - | - | 210 | - | - | - | - | T3 | IIA | |
17639-76-8 | Метил-2-метоксипропинат CH3CH(CH3O)COOCH3 | 4,06 | - | 42 при 200 мбар | 48 | 1,2 | - | 58 | - | 211 | - | 1,07 | - | - | T3 | IIA | |
20260-76-8 | 2-Метил-5-винилпиридин | 4,10 | - | - | 61 | - | - | - | - | 520 | - | 1,30 | - | - | T1 | IIA | |
25377-83-7 | Октен (смесь изомеров) C8H16 | 3,66 | - | - | -18 | 0,9 | 5,9 | 42 | 270 | 230 | - | 0,95 | - | - | T3 | IIA | |
25639-42-3 | Метилциклогексанол (смесь изомеров) (= Фенолгексагидрометил) (= Гексагидрокрезол) C7H13OH | 3,93 | -50 | От 155 до 180 | 68 | - | - | - | - | 295 | - | - | - | - | T3 | IIA | |
26519-91-5 | Метилциклопентадиен-1,3 | 2,76 | - | 73 | < -18 | 1,3 | 7,6 | 43 | 249 | 432 | - | 0,92 | - | - | T2 | IIA | |
29553-26-2 | 1,1-Диметил-2,2,3,3-тетра-фтор-1-пропанол HCF2CF2C(CH3)2OH | 5,51 | - | - | 35 | - | - | - | - | 447 | - | 1,42 | - | - | T2 | IIA | |
30525-89-4 | Параформальдегид (= Полиоксиметилен) (= Полимеризованный формальдегид) (= Полиформальдегид) Поли(CH2O) | - | - | - | 70 | 7,0 | 73,0 | - | - | 380 | - | 0,57 | - | - | T2 | IIB | |
34590-94-8 | (2-Метоксиметилэтокси)-пропанол (= Монометиловый эфир дипропиленгликоля) H3COC3H6OC3H6OH | 5,11 | -80 | 209 | 74 | 1,1 | 10,9 | 69 | - | 270 | - | - | - | - | T3 | - | - |
35158-25-9 | 2-Изопропил-5-метил-2-гексеналь (CH3)2CH-C(CHO)CHCH2CH(CH3)2 | 5,31 | - | 181 | - | - | - | - | - | 188 | - | > 1,0 | - | - | T4 | IIA | |
45102-52-1 | 2,2,3,3-Тетрафторпропилметакрилат CH2=C(CH2)COOCH2CF2CF2H | 6,90 | - | 70 при 68 мбар | - | 1,9 | - | 155 | - | 389 | - | 1,18 | - | - | T2 | IIA | |
68476-34-6 | Дизельное топливо N 2 (= Нефтяное топливо N 2) | - | - | - | От 52 до 96 | 0,6 | 6,5 | - | - | От 254 до 285 | - | - | - | - | T3 | - | - |
Нет CAS | 1-Метокси-2,2,2-трифтор-1-хлорэтан CF3CHClOCH3 | 5,12 | - | - | 4 | 8,0 | - | 484 | - | 430 | - | 2,80 | - | - | T2 | IIA | |
Нет CAS | | - | - | - | Газ | - | - | - | - | - | - | - | - | - | - | IIB или IIC | |
Нет CAS | Дизельное топливо-6 | - | - | - | От 66 до 132 | - | - | - | - | - | - | - | - | - | - | - | - |
Нет CAS | 4-Метилентетрагидропиран | 3,78 | - | - | 2 | 1,5 | - | 60 | - | 255 | - | 0,89 | - | - | T3 | IIB | |
Нет CAS | 2-Метил-3,5-гексадиен-2-ол CH2=CHC=CHC(OH)(CH3)2 | 3,79 | - | - | 24 | - | - | - | - | 347 | - | 1,14 | - | - | T2 | IIA | |
Нет CAS | Водяной газ Смесь CO +/- H2 | - | - | - | - | - | - | - | - | - | - | - | - | - | T1 | IIC | |
При использовании данных настоящего стандарта следует учитывать, что все данные получены при экспериментальных испытаниях, и, следовательно, на них оказали влияние состояние и точность контрольно-измерительного оборудования и методические погрешности. В частности, некоторые данные были определены при температуре выше температуры окружающей среды, так чтобы пар находился в пределах воспламеняемости. Изменение температуры при определении повлияет на результаты определения; например, уменьшение нижних концентрационных пределов распространения пламени и безопасного экспериментального максимального зазора произойдет с увеличением температуры и/или давления; увеличение верхних концентрационных пределов распространения пламени произойдет с увеличением температуры и/или давления. Соответственно, приведенные данные подлежат проверке и актуализации по мере появления новых сведений в обновляемой базе данных (см.
библиографию).
В таблице приведены:
a) регистрационный номер CAS (chemical abstract system - система кодирования реферативного журнала);
b) название (= синонимы) и формула;
c) плотность пара по воздуху, отн. единицы;
d) температура плавления;
e) температура кипения;
f) температура вспышки;
g) концентрационные пределы распространения пламени;
h) температура самовоспламенения;
i) наиболее легко воспламеняемая смесь;
j) БЭМЗ;
k) g100 - g0;
l) соотношение МВТ;
m) температурный класс;
n) группа/подгруппа оборудования;
p) метод классификации.
Значение буквы для каждого газа:
a - классифицировано согласно определению БЭМЗ;
b - классифицировано согласно соотношению МВТ;
c - определены БЭМЗ и соотношение МВТ;
d - классифицировано по сходству химической структуры (предварительная классификация).
Символ "./." означает, что для некоторых свойств значение невозможно установить на основе физических и химических свойств.
Концентрационные пределы распространения пламени установлены как объемная доля газа или пара во всей опытной смеси (газовоздушной смеси) или весовая концентрация (масса газа или пара во всем объеме опытной смеси).
Рассчитать НКПРП (ВКПРП) для весовой концентрации можно по формуле (LFLm - НКПРП на основе массы газа или пара во всем объеме опытной смеси, кг/м3)
где LFLv - НКПРП на основе объемной доли газа или пара во всей опытной смеси, объемный процент, %;
M - молярная/молекулярная масса опытной смеси, кг/кмоль;
pa - нормальное атмосферное давление (101,3 кПа);
Ta - нормальная температура окружающей среды (293 К);
R - универсальная газовая постоянная (8314 Дж/кмоль-1К-1).
(справочное)
ОПРЕДЕЛЕНИЕ ХОЛОДНОГО ПЛАМЕНИ
В
приложении C приведена процедура проверки для определения веществ, температура воспламенения которых может быть значительно ниже в закрытом сосуде.
Температура самовоспламенения некоторых веществ, в основном сложных эфиров с короткой цепью, кетонов и некоторых эфиров, определенная по методике
7.4 в открытой колбе Эрленмейера при атмосферном давлении (от 98 кПа до 103 кПа), может значительно отличаться (до 200 К) от температуры воспламенения, измеренной в закрытом сосуде аналогичного объему при аналогичном давлении (100 кПа).
Опытным путем было доказано, что у подобных веществ возникает прозрачное пламя голубого цвета, сопровождающееся умеренно резким возрастанием температуры не более чем на 150 К (холодное пламя) в открытой колбе Эрленмейера при температурах, близких к температурам воспламенения в закрытом сосуде.
Подобные вещества могут быть определены по методике, приведенной далее. Колба Эрленмейера оснащается дополнительной термопарой диаметром 0,5 мм (
T2 на
рисунке C.1) и измерительным устройством, постоянно отслеживающим изменение температуры во время испытания. Данная термопара должна проходить через горловину рядом с краем колбы Эрленмейера и оканчиваться примерно в 10 мм над дном колбы.
Рисунок C.1 - Дополнительная термопара для определения
холодного пламени
После проведения испытаний согласно
7.4.3.4 -
7.4.3.8 температуру печи уменьшают с шагом от 10 до 20 К, пока не будет достигнута разница 250 °C с температурой самовоспламенения, определенной согласно
7.4, или температура вспышки не будет составлять около 85 °C. Для каждого изменения температуры количество вещества изменяется согласно
7.4.3.6. Температура, регистрируемая
T2, при дополнительных изменениях вносится в протокол. Увеличение температуры от 50 до 150 К со скоростью увеличения температуры от 20 К/с до 30 К/с означает возникновение холодного пламени. Рекомендуется предусмотреть выполнение дополнительных шагов измерения на протяжении всего температурного диапазона, чтобы не пропустить температуру возникновения холодного пламени (область определения), поскольку некоторые вещества имеют так называемый отрицательный температурный коэффициент
(рисунок C.2).
Рисунок C.2 - "Отрицательный температурный коэффициент"
на примере маслянобутилового эфира
(справочное)
ЗАВИСИМОСТЬ ТЕМПЕРАТУРЫ САМОВОСПЛАМЕНЕНИЯ ОТ ОБЪЕМА
На
рисунке D.1 показана зависимость температуры самовоспламенения от объема.
| - | | | - | диэтиловый эфир, см. [9]; |
| - | | | - | |
| - | ангидрид изомасляной кислоты, см. [11]; | | - | |
| - | этандиол (этиленгликоль), см. [9]; | | - | |
| - | уксусная кислота, см. [9]; | | - | |
| - | | | - | |
(справочное)
СВЕДЕНИЯ О СООТВЕТСТВИИ ССЫЛОЧНЫХ МЕЖГОСУДАРСТВЕННЫХ
СТАНДАРТОВ МЕЖДУНАРОДНЫМ СТАНДАРТАМ, ИСПОЛЬЗОВАННЫМ
В КАЧЕСТВЕ ССЫЛОЧНЫХ В ПРИМЕНЕННОМ МЕЖДУНАРОДНОМ СТАНДАРТЕ
Таблица ДА.1
Обозначение ссылочного межгосударственного стандарта | Степень соответствия | Обозначение и наименование ссылочного международного стандарта |
| MOD | IEC 60079-0:2011 "Взрывоопасные среды. Часть 0. Оборудование. Общие требования" |
| MOD | IEC 60079-11:2011 "Взрывоопасные среды. Часть 11. Оборудование с видом взрывозащиты "i" |
| IDT | prIEC 60079-14 "Взрывоопасные среды. Часть 14. Проектирование, выбор и монтаж электроустановок" |
Примечание - В настоящей таблице использованы следующие условные обозначения степени соответствия стандартов: - IDT - идентичные стандарты; - MOD - модифицированные стандарты. |
| E. Brandes and T. Redeker: Maximum experimental safe gap of binary and ternary mixtures, Journal de Physique (Proceedings), Vol 12, No. 7, p. 207, 2002 (Е. Брандес и Т. Редекер "Максимальный экспериментальный безопасный зазор двухкомпонентных и трехкомпонентных смесей", Журнал по физике (практика) том 12, N 7, стр. 207, 2002) |
| ASTM (ASTM 659) Standard Test Method for Autoignition Temperature of Chemicals (Американское общество по испытанию материалов 659. Метод стандартных испытаний температуры самовоспламенения химических веществ) |
| C.J. Hilado and S.W. Clark: Auto-ignition temperatures of organic chemicals. Chemical Engineering. Sept. 4. 1972, p. 75 et seq (К. Дж. Гайлейдо и С.В. Кларк. Температуры самовоспламенения органических химических веществ. Химическое машиностроение. Сентябрь, 4, 1972, стр. 75) |
| ISO 1773:1997 Laboratory glassware - Narrow-necked boiling flasks (Посуда лабораторная стеклянная. Узкогорлые колбы для кипячения) |
| ISO 3170:2004 Petroleum liquids - Manual sampling (Нефтепродукты жидкие. Ручной отбор проб) |
[6] | ISO 3171:1988 Petroleum liquids - Automatic pipeline sampling (Нефтепродукты жидкие. Автоматический отбор проб из трубопроводов) |
| ISO 15528:2013 Paints, varnishes and raw materials for paints and varnishes - Sampling (Материалы лакокрасочные и сырье для них. Отбор проб) |
| Gutte, F. Journal. Volume. 111 A method for the determination of a concerning safety regulations justifiable ignition temperature of liquids, especially oils, following the pattern of the standard DIN 51794; Germany: 1995. p. 203 - 207 (Гутте Ф. Том журнала 111. Метод определения соответствующих подтвержденных значений температур воспламенений жидкостей, особенно масел, по стандарту DIN 51794, Германия, стр. 203 - 207) |
| N. Setchkin: J. of Research NBS 53 (1954), p. 49 - 66 (Н. Сечкин. Научно-исследовательская работа 53 (1954), стр. 49 - 66) |
| T.J. Snee. J.F. Griffiths: Combustion and Flame 75 (1989), p. 381 - 395 (Т.Дж. Снии, Дж.Ф. Грифис: Воспламенение и горение 75 (1989), стр. 381 - 395) |
| R.D. Coffee: 13* Loss Prevention Symposium AlChE (1979), p. 74 - 82 (Р.Д. Кофи: 13-й симпозиум по охране труда и имущества AlChE (1979), стр. 74 - 82) |
УДК 621.3.002.5:006.354 | | MOD |
Ключевые слова: оборудование, взрывоопасная смесь, горючие пары, характеристики взрывоопасных смесей, безопасный экспериментальный максимальный зазор, температура самовоспламенения |