Главная // Актуальные документы // ГОСТ Р (Государственный стандарт)
СПРАВКА
Источник публикации
М.: ФГБУ "РСТ", 2022
Примечание к документу
Документ введен в действие с 01.01.2023.

Название документа
"ГОСТ Р ИСО 11199-1-2022. Национальный стандарт Российской Федерации. Средства вспомогательные для ходьбы, управляемые обеими руками. Требования и методы испытаний. Часть 1. Ходунки"
(утв. и введен в действие Приказом Росстандарта от 06.06.2022 N 452-ст)

"ГОСТ Р ИСО 11199-1-2022. Национальный стандарт Российской Федерации. Средства вспомогательные для ходьбы, управляемые обеими руками. Требования и методы испытаний. Часть 1. Ходунки"
(утв. и введен в действие Приказом Росстандарта от 06.06.2022 N 452-ст)


Содержание


Утвержден и введен в действие
Приказом Федерального агентства
по техническому регулированию
и метрологии
от 6 июня 2022 г. N 452-ст
НАЦИОНАЛЬНЫЙ СТАНДАРТ РОССИЙСКОЙ ФЕДЕРАЦИИ
СРЕДСТВА ВСПОМОГАТЕЛЬНЫЕ ДЛЯ ХОДЬБЫ,
УПРАВЛЯЕМЫЕ ОБЕИМИ РУКАМИ
ТРЕБОВАНИЯ И МЕТОДЫ ИСПЫТАНИЙ
ЧАСТЬ 1
ХОДУНКИ
Assistive products for walking manipulated by both arms.
Requirements and test methods. Part 1. Walking frames
(ISO 11199-1:2021, IDT)
ГОСТ Р ИСО 11199-1-2022
ОКС 11.180.10
Дата введения
1 января 2023 года
Предисловие
1 ПОДГОТОВЛЕН Федеральным государственным бюджетным учреждением "Российский институт стандартизации" (ФГБУ "РСТ") на основе собственного перевода на русский язык англоязычной версии стандарта, указанного в пункте 4
2 ВНЕСЕН Техническим комитетом по стандартизации ТК 381 "Технические средства и услуги для инвалидов и других маломобильных групп населения"
3 УТВЕРЖДЕН И ВВЕДЕН В ДЕЙСТВИЕ Приказом Федерального агентства по техническому регулированию и метрологии от 6 июня 2022 г. N 452-ст
4 Настоящий стандарт идентичен международному стандарту ИСО 11199-1:2021 "Средства вспомогательные для ходьбы, управляемые обеими руками. Требования и методы испытаний. Часть 1. Ходунки" (ISO 11199-1:2021 "Assistive products for walking manipulated by both arms - Requirements and test methods - Part 1: Walking frames", IDT).
При применении настоящего стандарта рекомендуется использовать вместо ссылочных международных стандартов соответствующие им межгосударственные и национальные стандарты, сведения о которых приведены в дополнительном приложении ДА
5 ВЗАМЕН ГОСТ Р ИСО 11199-1-2015
Правила применения настоящего стандарта установлены в статье 26 Федерального закона от 29 июня 2015 г. N 162-ФЗ "О стандартизации в Российской Федерации". Информация об изменениях к настоящему стандарту публикуется в ежегодном (по состоянию на 1 января текущего года) информационном указателе "Национальные стандарты", а официальный текст изменений и поправок - в ежемесячном информационном указателе "Национальные стандарты". В случае пересмотра (замены) или отмены настоящего стандарта соответствующее уведомление будет опубликовано в ближайшем выпуске ежемесячного информационного указателя "Национальные стандарты". Соответствующая информация, уведомление и тексты размещаются также в информационной системе общего пользования - на официальном сайте Федерального агентства по техническому регулированию и метрологии в сети Интернет (www.rst.gov.ru)
Предисловие к ИСО 11199-1
Международная организация по стандартизации (ИСО) является всемирной федерацией национальных органов по стандартизации (комитеты - члены ИСО). Работа по подготовке международных стандартов обычно ведется через технические комитеты ИСО. Каждый комитет - член ИСО, проявляющий интерес к тематике, по которой учрежден технический комитет, имеет право быть представленным в этом комитете. Международные организации, государственные и негосударственные, имеющие связи с ИСО, также принимают участие в работе. ИСО тесно сотрудничает с Международной электротехнической комиссией (МЭК) по всем вопросам стандартизации в области электротехники.
Процедуры, используемые для разработки настоящего стандарта, и процедуры, предусмотренные для его дальнейшего ведения, описаны в Директивах ИСО/МЭК, часть 1. В частности, отмечены различные критерии утверждения, требуемые для различных типов документов ИСО. Проект настоящего стандарта разработан в соответствии с редакционными правилами Директив ИСО/МЭК, часть 2 (см. www.iso.org/directives).
Ряд элементов данного документа может быть предметом патентных прав. Международная организация ИСО не должна нести ответственность за идентификацию таких прав, частично или полностью. Сведения о патентных правах, идентифицированных при разработке стандарта, будут указаны во введении и/или в перечне полученных ИСО объявлениях о патентном праве (см. www.iso.org/patents).
Любое торговое наименование, использованное в настоящем стандарте, является информацией, предоставляемой для удобства пользователей, а не свидетельством в пользу того или иного товара или той или иной компании.
Для пояснения значений конкретных терминов и выражений ИСО, относящихся к оценке соответствия, а также информацию о соблюдении Международной организацией ИСО принципов Всемирной торговой организации (ВТО) по техническим барьерам в торговле (ТБТ) см. в следующем унифицированном локаторе ресурса (URL): www.iso.org/iso/foreword.html.
Настоящий стандарт подготовлен Техническим комитетом ИСО/ТК 173 "Вспомогательные технические средства для лиц с ограничениями жизнедеятельности", совместно с Техническим комитетом CEN/TC 293 Европейского комитета по стандартизации (CEN), "Вспомогательные технические средства и доступность для лиц с ограничениями жизнедеятельности" в соответствии с Соглашением о техническом сотрудничестве между ИСО и CEN (Венское соглашение).
Настоящее второе издание отменяет и заменяет предыдущее первое издание (ИСО 11199-1:1999) после технического пересмотра с внесением следующих основных изменений:
- подраздел 3.1 изменен в соответствии с ИСО 9999;
- добавлен раздел 6 по общим требованиям к вспомогательным средствам для ходьбы.
Перечень всех частей ИСО 11199 см. на веб-сайте ИСО.
Любые отзывы или вопросы, касающиеся настоящего стандарта, можно направлять в национальный орган по стандартизации пользователя. Полный перечень таких органов представлен на веб-странице www.iso.org/members.html.
Введение
Ходунки можно использовать, если человеку необходима помощь при передвижении. Они обеспечивают устойчивость при ходьбе и стоянии и снижают риск падения. Предназначены для поддержки пользователя внутри рамы, принимая на себя весь вес его тела.
1 Область применения
Настоящий стандарт устанавливает требования и методы испытания ходунков без дополнительных приспособлений, используемых в качестве вспомогательных средств для ходьбы, управляемых обеими руками, если иное не определено процедурой конкретного испытания. Настоящий стандарт также устанавливает требования безопасности, эргономики, эффективности и информации, представляемой изготовителем, в том числе к маркировке и оформлению надписей.
Требования и испытания основаны на опыте повседневного использования ходунков в качестве вспомогательных средств для ходьбы пользователем максимальной массы, указанной изготовителем. Настоящий документ распространяется на ходунки, предназначенные для пользователя массой не менее 35 кг.
2 Нормативные ссылки
В настоящем стандарте использованы нормативные ссылки на следующие стандарты [для датированных ссылок применяют только указанное издание ссылочного стандарта, для недатированных - последнее издание (включая все изменения)]:
ISO 8191-2, Furniture - Assessment of ignitability of upholstered furniture - Part 2: Ignition source: match-flame equivalent (Мебель. Оценка воспламеняемости мягкой мебели. Часть 2. Источник возгорания - пламя спички)
ISO 10993-1, Biological evaluation of medical devices - Part 1: Evaluation and testing within a risk management process (Изделия медицинские. Оценка биологического действия. Часть 1. Оценка и исследования в процессе менеджмента риска)
ISO 13732-1, Ergonomics of the thermal environment - Methods for the assessment of human responses to contact with surfaces - Part 1: Hot surfaces (Эргономика термальной среды. Методы оценки реакции человека при контакте с поверхностями. Часть 1. Горячие поверхности)
ISO 14971, Medical devices Application of risk management to medical devices (Изделия медицинские. Применение менеджмента риска к медицинским изделиям)
ISO 15223-1, Medical devices Symbols to be used with information to be supplied by the manufacturer - Part 1: General requirements (Изделия медицинские. Символы, применяемые в документации, предоставляемой производителем. Часть 1. Основные требования)
ISO 20417, Medical devices Information to be supplied by the manufacturer (Изделия медицинские. Информация, поставляемая изготовителем)
ISO 24415-1, Tips for assistive products for walking - Requirements and test methods - Part 1: Friction of tips (Наконечники вспомогательных устройств для ходьбы. Требования и методы испытания. Часть 1. Трение наконечников)
ISO 7000, Graphical symbols for use on equipment - Registered symbols (Графические символы, наносимые на оборудование. Зарегистрированные символы)
EN 614-1+A1, Safety of machinery - Ergonomic design principles - Part 1: Terminology and general principles (Безопасность машин и механизмов. Эргономические принципы проектирования. Часть 1. Терминология и основные принципы)
3 Термины и определения
В настоящем стандарте применены следующие термины с соответствующими определениями:
Терминологические базы данных ИСО и МЭК для использования в стандартизации можно найти по следующим адресам:
- Онлайн-платформа для просмотра файлов ИСО: https://www.iso.org/obp;
- Электропедия МЭК: http://www.electropedia.org/.
3.1 тормоз (brake): Устройство для замедления или остановки движения ходунков за счет контактного трения.
3.2 передняя контрольная точка рукоятки (front handgrip reference point): Точка на верхней поверхности рукоятки, расположенная на расстоянии 30 мм от переднего конца длины рукоятки.
Примечание - См. рисунок 1.
1 - задняя контрольная точка рукоятки; 2 - передняя
контрольная точка рукоятки; 3 - длина рукоятки;
4 - ширина рукоятки; 5 - направление вперед
Рисунок 1 - Узлы ходунков
3.3 рукоятка (handgrip): Часть ходунков, за которую обычно держатся рукой при использовании ходунков.
Примечание - См. рисунок 1.
3.4 длина рукоятки (handgrip length): Размер рукоятки, измеренный в месте расположения руки.
Примечание 1 - См. рисунок 1.
Примечание 2 - Если неясно, где именно находится передний или задний конец рукоятки, за длину рукоятки принимают полную длину рукоятки, которая может поддерживать массу пользователя.
3.5 ширина рукоятки (handgrip width): Наружный размер рукоятки, измеренный горизонтально в точке с наибольшей шириной в месте расположения руки.
Примечание - См. рисунок 1.
3.6 поручень (handle): Часть ходунка, на которой закреплена рукоятка.
3.7 максимальная масса пользователя (maximum user mass): максимально допустимая масса человека, использующего изделие, в килограммах (кг).
Примечание - Максимальную массу пользователя указывает изготовитель ходунков.
3.8 максимальная ширина (maximum width): Максимальный наружный размер ходунков при максимально настроенной высоте, измеренный горизонтально под прямым углом к направлению движения, при нормальном использовании ходунков.
Примечание - См. рисунок 3.
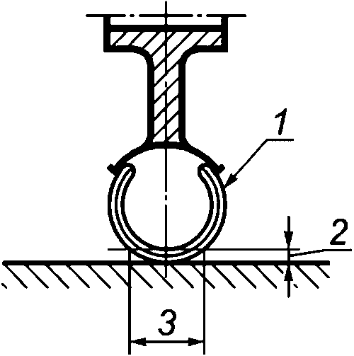
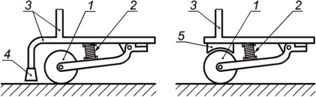
3.9 парковочный тормоз (parking brake): Тормозная система, предназначенная для удержания ходунков в неподвижном состоянии на земле после использования.
3.10 пневматический тормоз (pressure brake): Ходовой тормоз, который срабатывает при приложении вертикальной нагрузки к рукояткам или опорным точкам ходунков.
Примечание - См. рисунок 2.
1 - колесо; 2 - пружина; 3 - рама; 4 - резиновый наконечник
(тормоз); 5 - тормозная накладка
Рисунок 2 - Два типа нажимного тормоза
с техническими данными
3.11 задняя контрольная точка рукоятки (rear handgrip reference point): Точка на верхней поверхности рукоятки, расположенная на расстоянии 30 мм от заднего конца длины рукоятки.
Примечание 1 - См. рисунок 1.
Примечание 2 - Если рукоятка выступает за пределы поручня, измерение проводят от конца поручня.
3.12 шагающие ходунки (reciprocal walking frame): Ходунки, в которых поручень движется параллельно одновременно, поочередно с шагом идущего, имитируя шаги.
3.13 рабочий тормоз (running brake): Тормоз, который приводится в действие пользователем во время ходьбы, и где эффект торможения пропорционально зависит от приложенной силы нажатия.
3.14 наконечник (tip): Часть ходунков, которая соприкасается с землей.
3.15 диаметр разворота (turning diameter): Диаметр наибольшего круга, описываемого ходунками при максимальных настройках, когда ходунки поворачиваются на 360° вокруг своей центральной вертикальной оси.
Примечание - См. рисунок 3.
1 - ширина между поручнями; 2 - высота; 3 - ширина;
4 - диаметр разворота; 5 - длина
Рисунок 3 - Габаритные размеры ходунков
3.16 ходунки (walking frame): Рама, которую человек поднимает для перемещения и которая позволяет поддерживать полную массу тела, а также сохранять устойчивость и равновесие при ходьбе или стоянии с рукоятками, без опор для предплечий и с четырьмя наконечниками или двумя наконечниками и двумя роликами/колесами.
Примечание 1 - См. рисунок 4.
Примечание 2 - Классификационная группа 12 06 03 в соответствии с ИСО 9999.
Примечание 3 - Два и более ролика/колеса, используемые для одного положения оси шарнира, считают одним роликом/колесом. Ролик/колесо с нажимным тормозом считают наконечником.
Примечание 4 - Примеры ходунков включают жесткие или шарнирные ходунки, вспомогательные приспособления для ходьбы с двумя колесами в сочетании с двумя стойками с резиновыми амортизаторами/наконечниками.
1 - направление вперед; 2 - передние опоры; 3 - связующие
элементы; 4 - рукоятка; 5 - направление назад; 6 - задние
опоры; 7 - механизм регулирования высоты; 8 - наконечники
Рисунок 4 - Пример ходунков
3.17 ширина колеса (wheel width): Максимальный размер шины колеса, измеренный в пределах 5 мм от пешеходной поверхности при отсутствии нагрузки на ходунки.
Примечание - См. рисунок 5.
1 - шина; 2 - расстояние от 0 мм до 5 мм от пешеходной
поверхности; 3 - ширина колеса
Рисунок 5 - Измерение ширины колеса
4 Оборудование для испытаний
4.1 Средства для приложения силы с точностью +/- 5% и скоростью приложения менее 1 Н/с.
4.2 Средства для измерения силы с точностью +/- 5% и шагом 1 Н.
4.3 Средства для измерения расстояния в диапазоне от 0 м до 3 м с точностью +/- 5 мм или +/- 2%, в зависимости от того, что больше.
4.4 Средства для измерения углов с точностью +/- 0,5.
4.5 Средства для измерения крутящего момента с точностью +/- 5% и шагом 1 Нм в диапазоне от 0,5 Нм до 10 Нм.
4.6 Контрольная плоскость достаточного размера и жесткости, чтобы поддерживать ходунки во время испытания таким образом, чтобы вся поверхность находилась между двумя воображаемыми параллельными плоскостями, находящимися на расстоянии 5 мм. Контрольная плоскость может быть регулируемой или фиксированной.
Примечание 1 - Допускается использовать деревянный или стальной каркас с фанерной поверхностью.
Примечание 2 - Как правило, достаточно контрольной поверхности размером 1,5 м x 2 м.
4.7 Стопорные устройства достаточной высоты, чтобы предотвратить перемещение ходунков во время испытания, не мешая испытанию или ходункам.
4.8 Оборудование для измерения давления воздуха с точностью +/- 5%.
5 Условия испытаний
При проведении испытаний должны выполняться следующие условия:
a) испытания проводят при температуре окружающей среды (21 +/- 5) °C;
b) регулируемые детали ходунков устанавливают в наиболее неблагоприятное положение в соответствии с инструкциями изготовителя, если иное не указано в методике испытания;
c) поворотные колеса располагают так же, как и при движении ходунков вперед, если в методике испытания не указано иное;
d) поручни должны быть расположены на максимальном расстоянии и под максимальными углами для того, чтобы обеспечить наиболее неблагоприятную конфигурацию, указанную изготовителем, если в методике испытания не указано иное. Если продольная осевая линия поручня и направление движения вперед параллельны, то угол равен 0°. Значение угла всегда следует протоколировать;
e) рабочий тормоз и парковочный тормоз не включают, если это не указано в методике испытания;
f) все отклонения от нормы, например поломка, при каждом испытании регистрируют отдельно от отклонений при последующих испытаниях;
g) во время испытаний на устойчивость не допускается скольжение или качение ходунков до воспроизведения наклона. Используемые средства не должны влиять на результаты испытаний. Если ходунки менее устойчивы с меньшей регулировкой высоты, то испытывают наименее устойчивое положение;
h) если изготовитель предлагает альтернативные приспособления для поручней в качестве дополнительного оборудования, то при испытании ходунков обеспечивают наличие всех вариантов для того, чтобы обеспечить возможность испытания ходунков в наименее благоприятной конфигурации (например, с удлиненными поручнями);
i) перед испытанием ходунки проверяют на соответствие требованиям настоящего документа. Любые очевидные дефекты протоколируют для того, чтобы впоследствии не зарегистрировать их в качестве дефектов, вызванных испытаниями;
j) испытания ходунков проводят в такой последовательности:
- измерения;
- устойчивость;
- тормоза;
- рукоятки;
- резиновые наконечники;
- статическая прочность ходунков;
- статическая прочность стоек;
- выносливость.
6 Общие требования и методы испытаний
6.1 Анализ рисков
Оценку безопасности ходунков проводит изготовитель посредством выявления опасностей и оценки связанных с ними рисков по методикам, указанным в ИСО 14971. При необходимости дополнительно может использоваться ИСО 12100.
Если ходунки предназначены изготовителем для использования в сочетании с другими устройствами, то изготовитель должен выполнить оценку рисков.
Примечание 1 - В случае определенных видов ограничений дееспособности может потребоваться более высокий уровень безопасности оборудования, используемого для компенсации последствий таких ограничений дееспособности.
Примечание 2 - Более подробную информацию об опасности, вызывающей риск, см. в приложении A.
6.2 Разборные ходунки
Если предполагается, что ходунки могут быть разобраны для хранения или транспортировки, то необходимо исключить возможность появления опасных факторов в результате неправильной повторной сборки. Состояние опасности проверяют посредством разборки и повторной сборки ходунков в соответствии с инструкциями изготовителя.
Крепежные элементы, которые необходимо ослаблять или снимать для разборки, не должны быть одноразовыми.
Примечание - К одноразовым крепежным элементам, помимо прочего, относятся самоконтрящиеся гайки/винты, шурупы для дерева и самонарезающие винты. Болты являются примером крепежных элементов, которые допускается использовать более одного раза.
6.3 Крепежные элементы
Все несущие крепежные элементы должны быть самоблокирующимися или снабжены фиксирующим устройством для предотвращения случайного отсоединения.
6.4 Масса пользователя/пределы нагрузки
Максимальную массу пользователя указывает изготовитель. Допустимую нагрузку несущих элементов указывает изготовитель.
6.5 Требования к конструкции
Ходунки должны быть рассчитаны на маневренность при использовании в помещении, вне помещения или для обоих типов применения.
При использовании в помещении на ровной поверхности:
- ширина шагающих ходунков при возвратно-поступательном перемещении должна быть не менее 90% максимальной ширины;
- диаметр переднего колеса должен быть не менее 75 мм и
- ходунки должны быть оснащены парковочным тормозом на двух колесах. Резиновые наконечники считаются таким парковочным тормозом.
При использовании вне помещения:
- диаметр переднего колеса должен быть не менее 180 мм;
- ширина колеса должна быть не менее 22 мм и
- ходунки должны быть оснащены тормозом на двух колесах. Пользователь должен иметь возможность управления тормозом во время ходьбы. Резиновые наконечники считаются таким парковочным тормозом.
6.6 Тормоза
6.6.1 Требования
При проведении испытаний в соответствии с методом испытаний, описанном в 6.6.2, не допускается перемещение ходунков более чем на 10 мм за 1 мин.
В случае снижения эффективности тормоза из-за износа необходимо предусмотреть средства компенсации износа.
Действия по складыванию, раскладыванию или регулировке не должны оказывать отрицательного воздействия на эффективность тормоза. Если после регулировки ходунков необходима регулировка тормозов, то для этого не должны требоваться инструменты (например, регулировка по высоте).
6.6.2 Метод испытаний
Все тормоза испытывают одновременно. Если какое-либо устройство управления тормозом действует на оба колеса (центральные тормоза), каждое устройство управления тормозом испытывают отдельно.
Ходунки помещают наконечниками и колесами на контрольную плоскость, указанную в 4.6. Ходунки устанавливают таким образом, чтобы линия, проходящая через оси колеса/наконечника, была параллельна оси наконечника контрольной плоскости +/- 3°. Нагрузку прилагают вертикально к ходункам в средней точке линии, соединяющей передние контрольные точки рукоятки на двух рукоятках.
При массе пользователя 100 кг нагрузка должна составлять (500 +/- 10) Н. Если максимальная масса пользователя, указанная для ходунков, отличается от массы пользователя в 100 кг, то нагрузка должна составлять 5,0 Н на каждый килограмм максимальной массы пользователя +/- 2%. Нагрузка должна составлять не менее (175 +/- 3,5) Н.
Тормоза включают, приложив усилие, указанное в таблице 3, к каждому устройству управления тормозом по всей длине рукоятки. Плоскость наклоняют на угол 6°, для того чтобы проверить эффективность торможения при движении вперед (см. рисунок 7). Трение между тормозящими колесами и верхней поверхностью плоскости должно быть таким, чтобы колеса не скользили. Снимают ограничители. Оставляют ходунки на 1 мин. Если колеса поворачиваются, то протоколируют время, за которое ходунки перемещаются на 10 мм.
6.7 Рукоятка
Ширина рукоятки должна быть не менее 20 мм и не более 50 мм. Ширину проверяют путем измерения.
Примечание - Данное требование не распространяется на анатомические рукоятки.
Рукоятка жестко крепится на поручне ходунков.
6.8 Секция опоры и наконечник
В случае отсутствия колеса секция опоры должна оканчиваться наконечником, рассчитанным на предотвращение его прокалывания секцией опоры при использовании ходунков по назначению изготовителя.
При отсутствии колеса наконечник должен быть заменяемым.
При отсутствии колеса наконечник не должен вызывать обесцвечивание поверхности ходьбы.
Часть наконечника, которая контактирует с поверхностью ходьбы, должна иметь диаметр не менее 35 мм.
Резиновый наконечник надежно крепится к опоре ходунков.
Резиновый наконечник должен соответствовать требованиям ИСО 24415-1.
7 Материалы
7.1 Общие положения
Используемые в ходунках материалы не должны оставлять меток или царапин.
Материалы ходунков не должны вызывать обесцвечивание кожи или одежды при нормальном использовании ходунков.
Изготовители должны, по возможности, использовать материалы, которые можно переработать для дальнейшего использования. В инструкции по эксплуатации следует указать, какие детали могут быть переработаны.
7.2 Воспламеняемость
Риск воспламенения, который может повлиять на безопасность пользователя, должен быть оценен изготовителем в рамках анализа рисков. Детали, для которых определена опасность воспламенения, должны пройти испытания в соответствии с ИСО 8191-2. Остаточные риски следует указывать в инструкции.
7.3 Биосовместимость и токсичность
Материалы ходунков, которые соприкасаются с телом человека, должны быть оценены на биосовместимость в соответствии с ИСО 10993-1.
При оценке следует учитывать предполагаемое использование и контакты с лицами, участвующими в обслуживании пользователя. Вспомогательные средства должны быть спроектированы и изготовлены таким образом, чтобы свести к минимуму риски, связанные с утечкой веществ из вспомогательного средства. Особое внимание следует уделять веществам, которые являются канцерогенными, мутагенными или токсичными для репродукции, а также другим особо опасными веществам (SVHC).
Результаты оценки включают в анализ рисков (см. 6.1).
7.4 Инфекционное и микробное загрязнение
7.4.1 Общие положения
Ходунки и их вспомогательные детали должны быть рассчитаны на чистку для того, чтобы предотвратить перекрестное заражение.
7.4.2 Чистка и дезинфекция
Метод и подходящие чистящие и/или дезинфицирующие материалы должны быть описаны в информации, предоставляемой изготовителем.
ИС МЕГАНОРМ: примечание.
В официальном тексте документа, видимо, допущена опечатка: п. B.1 отсутствует.
Примечание - Информацию см. в B.1.
ИС МЕГАНОРМ: примечание.
В официальном тексте документа, видимо, допущена опечатка: п. B.2 отсутствует.
Если ходунки предназначены для чистки с помощью автоматических моющих систем или ручных систем струйной мойки или чистки паром, то характеристики методики чистки, такие как температура, давление, расход и значение pH раствора для чистки/полоскания, должны быть включены в инструкцию по применению. По возможности, на ходунках ставят маркировку соответствующих символов, обозначающих метод чистки. Примеры маркировки и пример испытаний ходунков, предназначенных для автоматической мойки, см. в B.2.
7.5 Коррозионная стойкость
Оценку риска коррозии, влияющей на безопасность пользователя или обслуживающего персонала, выполняют в рамках анализа рисков (см. 6.1). Вспомогательные приспособления для ходьбы, подверженные риску коррозии, должны быть в достаточной степени защищены от коррозии.
Допускается использовать испытание в солевом тумане в соответствии с ИСО 9227 в течение 72 ч.
8 Попадание жидкостей
Если в какие-либо полости или корпус может случайно попасть жидкость, то она должна вытекать через дренажные отверстия.
Опасности, которые могут быть вызваны попаданием жидкостей, оценивают при анализе рисков (см. 6.1).
Примечание - Опасности могут заключаться в риске коррозии или распространения бактерий.
Проверяют, имеется ли возможность выхода жидкости из корпуса или любых полостей при таком же обращении, что и при нормальном использовании изделия. По возможности изделие наклоняют в разные стороны, чтобы убедиться в этом.
9 Температура деталей, соприкасающихся с кожей человека
В результате анализа рисков (см. 6.1) выявляют опасные факторы и оценивают риски, связанные с температурой поверхности деталей, которые могут касаться кожи человека во время использования изделия по назначению.
При анализе рисков используют следующее:
a) ожидаемый диапазон температур окружающей среды при предполагаемом использовании и предполагаемом неправильном использовании.
Примечание - Эти температуры могут включать прямое воздействие солнечных лучей, сильного холода, нахождения в сауне и т.д.;
b) эргономические данные о допустимых температурах контактных поверхностей в соответствии с ИСО 13732-1;
c) использование ходунков людьми с нечувствительной кожей (т.е. не ощущающей тепло) и/или поврежденной кожей: в этом случае максимальная температура не должна превышать 41 °C при измерении в соответствии с методами испытаний, приведенными в ИСО 13732-1; за исключением следующих случаев:
1) если изготовитель не может выполнить это требование без ухудшения предполагаемых характеристик ходунков, то каждое изделие должно снабжаться предупреждением, указывающим, какие поверхности могут достигать более высокой температуры, чем указанная выше, и описанием мер предосторожности, необходимых для компенсации повышенного риска, и
2) если изготовитель не может выполнить требование к температуре поверхности, причины должны быть указаны в технической документации.
10 Безопасность подвижных деталей
10.1 Сдавливание
Если предназначение не может быть достигнуто без такого риска, как риск сдавливания (например, сгибание протеза конечности в локте или колене), то:
a) любые подвижные детали, представляющие угрозу безопасности, должны быть снабжены защитными ограждениями, которые можно снять только с помощью инструмента, или
b) зазор между открытыми частями ходунков, которые движутся относительно друг друга, должен поддерживаться во всем диапазоне движения на уровне меньше минимального или больше максимального значения, указанного в таблице 1.
Таблица 1
Безопасные расстояния между подвижными деталями
Во избежание
Безопасное расстояние для взрослых
Безопасное расстояние для детей <a>
защемления пальцев
менее 8 мм или более 25 мм
менее 4 мм или более 25 мм
защемления ног
менее 35 мм или более 120 мм
менее 25 мм или более 120 мм
защемления головы
менее 120 мм или более 300 мм
менее 60 мм или более 300 мм
защемления гениталий
менее 8 мм или более 75 мм
менее 8 мм или более 75 мм
<a> В том числе для взрослых ростом менее 146 мм или массой менее 40 кг, или индексом BMI менее 17.
Эти измерения выполняют до и после любых соответствующих испытаний на прочность, выносливость и ударную прочность.
Для подвижных деталей, которые могут вызвать сдавливание, изготовители должны учитывать, какие детали/части тела подвержены риску. Для применения надлежащих безопасных расстояний необходимо указать пользователя/группу пользователей.
10.2 Механический износ
Детали, подверженные механическому износу, который может привести к угрозе безопасности, должны быть доступны для осмотра, если они не предназначены для замены при периодическом обслуживании, указанном изготовителем.
11 Предотвращение защемления частей тела человека
11.1 Отверстия и зазоры
Отверстия и зазоры между неподвижными деталями, которые доступны пользователю и/или обслуживающему персоналу во время использования ходунков по назначению, должны соответствовать требованиям таблицы 2.
Таблица 2
Безопасные расстояния между неподвижными деталями
Во избежание
Безопасное расстояние для взрослых
Безопасное расстояние для детей <a>
защемления пальцев
менее 8 мм или более 25 мм
менее 5 мм или более 12 мм
защемления ног
менее 35 мм или более 100 мм
менее 25 мм или более 45 мм
защемления головы
менее 120 мм или более 250 мм
менее 60 мм или более 250 мм
защемления гениталий
менее 8 мм или более 75 мм
менее 8 мм или более 75 мм
<a> В том числе для взрослых ростом менее 146 мм или массой менее 40 кг, или индексом BMI менее 17.
Эти измерения выполняют до и после любых соответствующих испытаний на прочность, выносливость и ударную прочность.
Если предназначение ходунков не может быть выполнено без исключения опасности, вызванной размером отверстий и зазором между неподвижными деталями, то соответствующее предупреждение и инструкции по безопасному использованию ходунков должны быть включены в руководство по эксплуатации.
Для неподвижных деталей, которые могут стать причиной защемления, изготовители должны учитывать те части тела, которые подвергаются риску. Предупреждение и инструкции по безопасной эксплуатации вспомогательного приспособления для ходьбы должны быть представлены в руководстве по эксплуатации.
Конструкция деталей, ограничивающих отверстие или зазор, должна учитывать усилия, которые могут быть приложены при нормальной эксплуатации.
Примечание - Усилие может вызвать расширение отверстия/зазора. Впоследствии это может привести к повреждению (см. таблицу 2).
11.2 V-образные отверстия
Нижний предел не применяется к отверстиям в форме замочной скважины или V-образным отверстиям. При осмотре ходунков на предмет наличия возможных мест защемления частей тела следует принимать во внимание любую гибкость/эластичность прилегающих деталей.
12 Механизмы для складывания, регулировки и блокировки
12.1 Общие положения
Механизмы для складывания и регулировки могут представлять опасность в том случае, если части тела могут попадать в зазор между деталями и защемляться при закрытии зазора.
Если ходунки включают механизмы для складывания и/или регулировки, то они должны соответствовать требованиям раздела 10 и раздела 11.
Если ходунки регулируются по высоте, то шаг регулировки не должен превышать 25 мм.
При использовании регуляторы должны быть прочно закреплены.
Максимально допустимое удлинение должно быть четко маркировано.
После испытания на выносливость (см. 17.3) механизмы для складывания/регулировки должны работать надлежащим образом в соответствии с назначением изготовителя.
Складывающиеся ходунки должны блокироваться в рабочем положении после раскладывания.
12.2 Механизмы для складывания
Во избежание опасности защемления частей тела при складывании ходунков необходимо убедиться в следующем:
- ходунки должны быть оснащены средствами защиты пользователя от опасности защемления и/или сдавливания; или
- зазор между открытыми частями ходунков, которые перемещаются относительно друг друга, должен поддерживаться во всем диапазоне движения на уровне меньше минимального или больше максимального значения, указанного в таблице 1; или
- если предназначение ходунков не может быть достигнуто без такой опасности, как сдавливание, то в руководстве по эксплуатации должно быть предупреждение и инструкции по безопасному обращению с ходунками.
При наличии защитных ограждений конструкция ограждения должна учитывать усилия, которые могут прилагаться при нормальной эксплуатации.
12.3 Механизмы блокировки
Механизмы блокировки должны надежно блокироваться в любой фиксированной рабочей конфигурации ходунков. Ходунки также должны надежно фиксироваться в сложенном состоянии, если они представляют опасность для пользователя или обслуживающего персонала. Ходунки должны быть защищены от случайного открытия механизма блокировки.
13 Ручки для подъема и переноски
13.1 Общие положения
Изготовителям следует принимать во внимание национальные и прочие требования, по которым для испытаний могут требоваться другие контрольные нагрузки.
Если ходунки или их части имеют массу 10 кг и более и их предполагаемое назначение заключается в том, чтобы их можно было переносить или обращаться с ними в соответствии с инструкциями изготовителя, то они должны:
a) иметь одну или несколько ручек, размещенных удобным образом, которые позволяют переносить ходунки или их часть двум и более лицам, либо быть снабжены подходящими устройствами для перемещения (например, ручками, подъемными проушинами);
b) либо в руководстве по эксплуатации должны быть указаны точки, за которые ходунки или их часть можно безопасно поднимать, и описано, как с ними обращаться во время подъема, сборки и/или переноски. По возможности, на ходунках или их комплектующих деталях должна быть маркировка, указывающая, где их можно безопасно поднимать и/или как с ними можно обращаться во время сборки и/или переноски.
13.2 Требование
Если ходунки оснащены ручками или рукоятками, то они не должны отсоединяться от ходунков, а после испытаний в соответствии с 13.3 на них не должно быть никаких остаточных деформаций, трещин и других признаков повреждения.
После завершения испытаний ходунки должны работать в соответствии с назначением, указанным изготовителем.
13.3 Метод испытаний
Если ходунки оснащены одной ручкой или рукояткой или если ходунки можно легко переносить или поднимать за одну из нескольких ручек или рукояток, то усилие при переноске или подъеме определяют для каждой ручки или рукоятки.
Если ходунки оснащены несколькими ручками или рукоятками, то усилие при переноске или подъеме в соответствии с назначением определяют для каждой ручки или рукоятки.
Для каждой ручки или рукоятки определяют усилие, необходимое для переноски ходунков в соответствии с назначением с допуском +/- 3%. Если предусмотрено более одного способа переноски, то определяют максимальное усилие.
Во время следующего испытания ходунки удерживают, ограничивая их подъем или перемещение. К каждой ручке или рукоятке прилагают усилие, в два раза превышающее определенное выше значение, с допуском +/- 3%, которое равномерно распределяется по длине (70 +/- 5) мм в центре ручки или рукоятки, без толчков (см. рисунок 6).
1 - ходунки; 2 - ограничители; 3 - контрольное усилие
Рисунок 6 - Испытание ручки для переноски (пример)
Усилие прилагают в течение не менее 60 с.
Снимают усилие и ограничители и проверяют ходунки на наличие повреждений и удовлетворительной работы.
14 Поверхности, углы и кромки
Если иное не требуется для предполагаемой функции ходунков, то все доступные кромки, углы и поверхности должны быть гладкими, без заусенцев и острых краев.
Если иное не требуется для предполагаемой функции, то у ходунков не должно быть выступающих частей. По возможности, необходимые выступающие части должны иметь защиту для предотвращения травм и/или повреждений.
15 Статическая устойчивость
15.1 Требования к статической устойчивости
При испытании на устойчивость при движении вперед (15.2.2) угол отклонения контрольной плоскости от горизонтали в точке наклона ходунков должен составлять не менее 10,0°.
При испытании на устойчивость при движении назад (15.2.3) угол отклонения контрольной плоскости от горизонтали в точке наклона ходунков должен составлять не менее 7,0°.
При испытании на боковую устойчивость (15.2.4) угол отклонения контрольной плоскости от горизонтали в точке наклона ходунков должен составлять не менее 3,5°.
Признано, что шагающие ходунки не могут соответствовать такому требованию к боковой устойчивости. Следовательно, изготовитель должен оценить анализ рисков, связанных с отсутствием устойчивости, и дать соответствующие рекомендации и предупреждения по ограничениям для использования. По меньшей мере, шагающие ходунки должны отвечать требованиям к устойчивости в фиксированном нейтральном положении.
15.2 Метод испытания на статическую устойчивость
15.2.1 Общие требования
Ходунки испытывают в наименее устойчивой конфигурации, как описано в разделе 5.
15.2.2 Испытание на статическую устойчивость при движении вперед
Испытание на статическую устойчивость при движении вперед проводят следующим образом.
Ходунки размещают наконечниками и/или колесами на контрольной плоскости, которая может отклоняться от горизонтали таким образом, чтобы осевая линия шарниров была параллельна линии, соединяющей наконечники и/или колеса передних стоек, и под прямым углом к нормальному направлению движения при использовании ходунков (см. рисунок 7). Нагрузочное усилие прикладывают к ходункам вертикально. Линия нагружения должна оставаться вертикальной и проходить через середину линии, соединяющей передние контрольные точки на двух рукоятках.
1 - усилие; 2 - передняя контрольная точка рукоятки;
3 - угол наклона
Рисунок 7 - Схема нагружения для испытания на статическую
устойчивость при движении вперед
Прикладывают статическое усилие, равное (250 +/- 5) Н. Контрольную плоскость наклоняют и протоколируют максимальный угол контрольной плоскости в точке наклона ходунков. Погрешность измерений не должна превышать +/- 0,5°.
15.2.3 Испытание на статическую устойчивость при движении назад
Испытание на статическую устойчивость при движении назад проводят следующим образом.
Ходунки размещают наконечниками и/или колесами на контрольной плоскости, которая может отклоняться от горизонтали таким образом, чтобы осевая линия шарниров была параллельна линии, соединяющей наконечники и/или колеса задних стоек, и под прямым углом к нормальному направлению движения при использовании ходунков (см. рисунок 8). Нагрузочное усилие прикладывают к ходункам вертикально. Линия нагружения должна оставаться вертикальной и проходить через середину линии, соединяющей задние контрольные точки на двух рукоятках.
1 - усилие; 2 - задняя контрольная точка рукоятки;
3 - угол наклона
Рисунок 8 - Схема нагружения для испытания на статическую
устойчивость при движении назад
Прикладывают статическое усилие, равное (250 +/- 5) Н. Контрольную плоскость наклоняют и протоколируют максимальный угол контрольной плоскости в точке наклона ходунков. Погрешность измерений не должна превышать +/- 0,5°.
15.2.4 Испытание на боковую статическую устойчивость
Испытание на боковую статическую устойчивость проводят следующим образом.
Ходунки размещают наконечниками и/или колесами на контрольной плоскости, которая может отклоняться от горизонтали таким образом, чтобы осевая линия шарниров была параллельна линии, соединяющей наконечники и/или колеса передней и задней стойки на той стороне ходунков, где находится нагружаемая рукоятка (см. рисунок 9). Нагрузочное усилие прикладывают к ходункам вертикально в точке на середине между передней и задней контрольной точкой рукоятки, ближайшей к шарнирам наклонной контрольной плоскости.
1 - усилие; 2 - угол наклона
Рисунок 9 - Схема нагружения для испытания
на боковую статическую устойчивость
Прикладывают статическое усилие, равное (250 +/- 5) Н. Плоскость наклоняют и протоколируют максимальный угол плоскости в точке наклона ходунков. Погрешность измерений не должна превышать +/- 0,5°. Если ходунки не симметричны, то испытание на боковую устойчивость проводят по указанной методике на обеих рукоятках и в качестве боковой устойчивости ходунков протоколируют меньшее полученное значение.
16 Статическая прочность
16.1 Статическая прочность ходунков
16.1.1 Общие требования
Ходунки испытывают в наихудших условиях, как описано в разделе 5.
16.1.2 Требования к статической прочности ходунков
После испытания на деталях ходунков не допускается наличие трещин или повреждений (16.1.3).
16.1.3 Метод испытания ходунков на статическую прочность
Испытание на статическую прочность ходунков проводят следующим образом.
Ходунки размещают стационарно наконечниками и/или колесами на контрольной плоскости. Усилие нагрузки прикладывают к ходункам вертикально, как показано на рисунке 10.
1 - усилие; 2 - задняя контрольная точка рукоятки
Рисунок 10 - Схема нагружения для испытания ходунков
на статическую прочность и выносливость
Прикладывают усилие нагрузки, равное (1500 +/- 30) Н. Если максимальная масса пользователя, указанная для ходунков, отличается от стандартной максимальной массы пользователя но 100 кг, прикладывают усилие 15,0 Н на килограмм максимальной массы пользователя +/- 2%. Нагрузка должна составлять не менее (525 +/- 10,5) Н.
Усилие прикладывают постепенно в течение не менее 2 с до максимального значения. Такое максимальное усилие сохраняют в течение не менее 5 с.
16.2 Статическая прочность стоек с наконечником
16.2.1 Общие требования
Ходунки испытывают в наихудших условиях, как описано в разделе 5.
16.2.2 Требования к статической прочности стоек с наконечником
После испытания на стойках ходунков не допускается наличие трещин, повреждений или остаточной деформации более 15 мм, измеренной на конце стойки (16.2.3).
16.2.3 Метод испытания стоек с наконечником на статическую прочность
Испытание на статическую прочность стоек с наконечником проводят следующим образом.
Усилие нагрузки прикладывают поочередно к каждой из стоек ходунков. Усилие нагрузки прикладывают под прямым углом к опоре в точке, отстоящей на 10 мм от нижнего конца стойки, и направляют к центру ходунков. Для этого снимают резиновый наконечник и в трубку, составляющую нижнюю часть стойки, вставляют плотно прилегающую заглушку не более чем на 100 мм. Заглушка должна выступать более чем на 10 мм за пределы стойки, чтобы воспринимать усилие нагрузки.
Испытываемую стойку опирают как можно ближе к нижней связи на стороне захвата рукоятки и в точке рядом с верхом ходунков (см. рисунок 11).
1 - усилие; 2 - опоры
Рисунок 11 - Схема нагружения для испытания стоек ходунков
на статическую прочность
Прикладывают усилие нагрузки, равное (300 +/- 6) Н. Усилие прикладывают постепенно в течение не менее 2 с до максимального значения. Такое максимальное усилие сохраняют в течение не менее 5 с.
17 Испытание на выносливость
17.1 Общие требования
Ходунки испытывают в наихудших условиях, как описано в разделе 5.
17.2 Требование к выносливости
После испытания на частях ходунков не допускается наличие трещин или повреждений, а также ослабление крепежного механизма (см. 17.3).
17.3 Метод испытаний на выносливость
Испытание ходунков на выносливость проводят следующим образом.
Ходунки размещают стационарно наконечниками и/или колесами на контрольной плоскости. Усилие нагрузки прикладывают к ходункам вертикально, как показано на рисунке 10. Линия нагружения должна проходить через середину линии, соединяющей задние контрольные точки на двух рукоятках.
Прилагают циклическое усилие, равное (800 +/- 16) Н. Если максимальная масса пользователя, указанная для ходунков, отличается от стандартной максимальной массы пользователя в 100 кг, то прикладывают усилие 8 Н на килограмм максимальной массы пользователя +/- 2%. Нагрузка должна составлять не менее (280 +/- 5,6) Н.
Время приложения нагрузки должно составлять не менее 1 с.
Число циклов должно составлять 200 000.
Поскольку колеса не нагружены при вращении, вращение колес во время испытания на выносливость не требуется.
18 Принципы эргономики
Вспомогательное средство для ходьбы проектируют в соответствии с эргономическими принципами, изложенными в ЕН 614-1+A1, с учетом особых потребностей человека с ограниченными возможностями, для которого предназначено такое вспомогательное средство.
Вспомогательное средство для ходьбы может использоваться не только тем, для кого оно в первую очередь предназначено, но и обслуживающим персоналом. Принципы эргономики, изложенные в ЕН 614-1+A1, должны распространяться на все причастные лица.
Рукоятки, ручки и педали должны соответствовать функциональной анатомии пользователя в соответствии с предполагаемым применением и следующим требованиям:
a) расстояние между любой ручкой (частью, предназначенной для захвата), требующей рабочего усилия более 10 Н, и любой частью конструкции вспомогательного средства должно быть не менее 35 мм;
b) расстояние между любой верхней поверхностью педали (в ее рабочем положении) и любой другой частью вспомогательного средства должно иметь вертикальный зазор до пальца ноги не менее 75 мм;
c) диаметр любых рабочих рукояток и/или ручек, для которых требуется рабочее усилие более 10 Н, должен составлять от 19 мм до 43 мм;
d) педали (опрокидывающее устройство) вспомогательных устройств, работающих в положении стоя, должны располагаться на высоте не более 300 мм над поверхностью пола;
e) органы ручного управления вспомогательных устройств, работающих в положении стоя, должны располагаться на высоте от 800 мм до 1 200 мм над поверхностью пола;
f) рукоятки, которые необходимо толкать и/или тянуть, должны располагаться на высоте не менее 900 мм;
g) органы управления ходунков, управляемых из сидячего положения, предназначенные для использования человеком в сидячем положении, должны находиться в пределах досягаемости пользователя;
h) рабочие усилия или крутящие моменты, требуемые для тех частей ходунков, которые предназначены для управления пальцами, кистями/руками или ногами, не должны превышать значения, указанные в таблице 3.
Таблица 3
Рабочие усилия
Управление
Усилие/крутящий момент
с помощью пальца
5 Н
с помощью кисти/руки (толкать)
60 Н
с помощью кисти/руки (тянуть)
40 Н
с помощью ноги
300 Н
поворотом
1,9 Нм
поворотом поверхности сиденья
60 Н
19 Упаковка
Опасные факторы, которые могут быть вызваны ненадлежащей защитной упаковкой, оценивают при анализе рисков (см. 6.1).
Примечание - Руководство см. в приложении B.
20 Информация, предоставляемая изготовителем
20.1 Общие положения
Информация, предоставляемая изготовителем, включает данные в инструкциях по применению и/или на этикетке.
Информация, применимая к вспомогательным средствам и предоставляемая с ними, должна соответствовать требованиям ИСО 20417.
Любые средства предоставления информации со вспомогательным средством должны учитывать предполагаемых пользователей, условия применения и любые вопросы, характерные для отдельного типа вспомогательного средства, которые необходимы для безопасного и эффективного использования ходунков.
Особое внимание следует уделять доступности информации пользователя, особенно инструкций по эксплуатации и дизайну этикеток, а также дизайну и представлению предупреждений.
Кроме того, изготовитель должен предоставить информацию в инструкции по эксплуатации в двух отдельных разделах: информация пользователя и информация по обслуживанию, как указано в 20.2 и 20.3. Эти разделы могут быть представлены в виде отдельных печатных документов или в иной форме и на иных носителях для удовлетворения потребностей отдельных пользователей или обслуживающего персонала.
Более подробные сведения по подготовке инструкций смотри в МЭК/IEEE 82079-1.
20.2 Информация, маркируемая на изделии
На каждые ходунки наносят четкую и несмываемую маркировку, содержащую следующую информацию:
a) обозначение, наименование и/или номер модели изготовителя;
b) максимальная масса пользователя;
c) наименование или торговая марка и адрес изготовителя или уполномоченного представителя в соответствии с местными требованиями;
d) год и месяц изготовления;
e) максимальная безопасная рабочая нагрузка (маркируется на принадлежностях);
f) максимально допустимый угол между продольной осью поручня и направлением движения, если поручни имеют боковое регулирование;
g) (при отсутствии механического ограничителя) максимальное удлинение при регулировании высоты;
h) всю информацию по возможности указывают в виде пиктограмм, соответствующих требованиям ИСО 7000 и ИСО 15223-1.
20.3 Руководство по эксплуатации
Руководство по эксплуатации ходунков должно включать следующее:
a) сведения о том, как получить информацию пользователя в формате, подходящем для использования лицами с нарушениями зрения, чтения или когнитивных способностей;
b) описание предполагаемого применения и предполагаемой среды;
c) предполагаемый пользователь;
d) максимальная масса пользователя;
e) максимальная безопасная рабочая нагрузка для несущих принадлежностей;
f) минимальная и максимальная высота ходунков;
g) инструкции по обслуживанию (если применимо);
h) если ходунки предназначены для чистки, то описание метода чистки и подходящие чистящие материалы, включая меры предосторожности, необходимые для предотвращения коррозии (если применимо);
i) если ходунки предназначены для дезинфекции, то описание метода дезинфекции и подходящие материалы, включая меры предосторожности, необходимые для предотвращения коррозии (если применимо);
j) габаритные размеры (ширина, длина и высота) ходунков, выраженные в миллиметрах, и их масса, выраженная в килограммах, в состоянии готовности к применению и, если применимо, в сложенном или разобранном состоянии;
k) масса, выраженная в килограммах, если ходунки допускается разбирать или если масса любой их съемной детали превышает 10 кг;
l) если ходунки предполагается использовать в сочетании с другими изделиями, то изготовитель должен указать такие изделия и необходимые меры безопасности;
m) перечень принадлежностей, съемных частей и материалов, которые по определению изготовителя предназначены для использования с ходунками;
n) указание о том, можно ли сложить или разобрать ходунки для облегчения хранения или транспортировки, и как это сделать;
o) для обеспечения уникального идентификационного номера вспомогательного средства на ходунках указывают местоположение и тип идентификационного номера/слова;
p) любые регулировки или настройки, необходимые перед использованием ходунков, и информация о том, как регулировки или настройки влияют на ходунки;
q) информация о возможностях регулировки и квалификации, необходимой для выполнения таких регулировок;
r) инструкции по эксплуатации всех органов управления;
s) инструкции по разборке и повторной сборке ходунков или любых съемных частей;
t) положения точек, в которых можно брать комплектующие детали для безопасного перемещения и обработки, и/или способ обращения во время разборки, сборки или переноски;
u) предупреждение, если температура поверхности может повыситься/понизиться при воздействии внешних источников тепла (например, солнечный свет, внешняя среда);
v) если предполагаемое назначение ходунков не может быть достигнуто без опасных факторов (например, отверстия, V-образное отверстие), то указывают предупреждение и инструкции по безопасному применению вспомогательного средства;
w) если предполагаемое назначение ходунков не может быть достигнуто без опасных факторов, связанных с подвижными деталями (например, защемление), то указывают предупреждение и инструкции по безопасной эксплуатации ходунков;
x) указание о том, как получить информацию по гарантии.
20.4 Протокол испытаний
В протоколе испытаний указывают, по меньшей мере, следующую информацию:
a) уникальный номер протокола;
b) наименование и адрес организации, проводившей испытания, при необходимости - номер аккредитации;
c) дату оформления протокола испытаний;
d) ссылку на ИСО 11199-1:2021;
e) наименование и адрес изготовителя ходунков;
f) описание образца, включая товарный знак изготовителя или продавца, модель или тип, серийный номер и любые установленные варианты или принадлежности;
g) источник образца;
h) температуру окружающей среды, при которой проводилось каждое испытание;
i) фотографию образца, оборудованного так же, как во время испытания;
j) результаты испытаний, в том числе записи по обслуживанию (при наличии);
k) заявление о том, соответствует ли испытанный образец всем применимым требованиям ИСО 11199-1:2021, и перечень всех невыполненных требований;
l) любые отклонения от стандартной методики испытаний.
Приложение A
(справочное)
ОПАСНЫЕ ФАКТОРЫ, УЧИТЫВАЕМЫЕ ПРИ РАЗРАБОТКЕ ИЗДЕЛИЙ
A.1 Общие положения
Ниже описаны опасные факторы, которые предположительно имеются на ходунках (см. ИСО 14971). Однако в ИСО 11199-1 не рассмотрены все опасные факторы, вследствие чего и другие опасности, которые будут замечены, также следует принимать во внимание.
A.2 Опасности и опасные факторы, которые предполагаются для вспомогательных средств общего назначения
Ниже представлены примеры таких опасностей и опасных факторов. Данный перечень не является исчерпывающим:
a) лица, использующие вспомогательные средства, во многих случаях являются пожилыми людьми или лицами с ограниченными возможностями, а также эти изделия использует обслуживающий персонал;
b) опасность, возникающая в зависимости от обстоятельств, таких как место использования, состояние земли, пола, температура, влажность и т.д.;
c) возможное загрязнение изделий жидкостями тела человека;
d) опасность, возникающая из-за сочетания других изделий, например зазор между поручнями и рамами. Опасность из-за несоответствующего сочетания с другими изделиями;
e) риск, связанный с ненадлежащим отображением и инструкцией, например сложным объяснением, нечетким объяснением и непонятными формулировками;
f) недостаточные инструкции по обслуживанию;
g) спецификация с недостаточной информацией;
h) недостаточные инструкции по проверке перед использованием;
i) наличие конструкции, где получает травмы обслуживающий персонал;
j) предсказуемое ненадлежащее использование, основанное на предыдущем опыте;
k) непреднамеренное движение пользователя или обслуживающего персонала;
l) риск в результате самопроизвольной модификации, выполненной пользователями или собственниками;
m) недостаточность предоставления информации о сроке службы, проверке и обслуживании изделий.
A.3 Опасности, связанные с эргономическими факторами разных пользователей
Для различных пользователей с ухудшенным функциональным статусом, например пожилых людей или людей с ограниченными возможностями, учитывают следующие эргономические факторы:
a) непреднамеренное движение из-за пониженной подвижности, мышечной или физической силы;
b) непреднамеренное движение по управлению изделиями из-за пониженной физической силы;
c) непреднамеренное движение из-за пониженной способности сохранения устойчивости и предотвращения падения;
d) ненормальное движение из-за снижения умственных способностей и способности запоминания;
e) непреднамеренное движение из-за недостаточного сбора информации в результате ухудшенной способности распознавания цвета, слуха и тактильной чувствительности;
f) ненормальное движение в результате неправильной идеи, ошибочного суждения или небрежности.
A.4 Опасности в результате механического повреждения, недостаточного обслуживания и/или старения
Могут быть следующие опасности:
a) опасности, возникающие в результате случайного повреждения изделия, или
b) опасности, возникающие в результате ненадлежащего или недостаточного обслуживания или плохой проверки после обслуживания.
Приложение B
(справочное)
ОБЩИЕ РЕКОМЕНДАЦИИ
Подраздел 7.2 - Воспламеняемость
При рассмотрении огнестойкости ходунков изготовители должны учитывать, что люди с ограниченными возможностями могут подвергаться большему риску, чем здоровые люди, поскольку они, как правило, не могут эвакуироваться в случае пожара.
Опасные факторы, которые следует принимать во внимание, включают:
- материалы для курящих;
- источники открытого огня и другие обогреватели;
- электростатические разряды.
Особое внимание требуется в случае, если ходунки могут использоваться рядом с легковоспламеняющимися веществами или в сочетании с ними.
Подраздел 7.4.2 - Чистка и дезинфекция
Ходунки должны легко чиститься и не должны содержать элементов, которые будут удерживать пыль, жидкость и/или загрязненные материалы, за исключением случаев, когда предусмотренная функция ходунков заключается в удержании таких материалов.
Для ходунков, которые могут контактировать с биологическими жидкостями, должна быть предусмотрена возможность многократной дезинфекции доступными дезинфицирующими средствами без повреждения ходунков.
Если изготовитель указывает, что ходунки пригодны для машинной стирки в автоматической моющей системе, то после испытания они должны работать в нормальном режиме.
Отклонения от методики испытаний, касающиеся цикла испытаний, температуры, времени и чистящих жидкостей, должны быть указаны в файле менеджмента рисков изготовителя.
Настоящий метод испытаний представляет собой базовую методику дезинфекции ходунков в стиральной машине.
Соответствие проверяют следующими испытаниями:
a) если иное не указано изготовителем, детали и технологические крышки, которые можно снимать/открывать без использования инструмента, следует снимать/открывать следующим образом:
1) выполнить предварительную температурную обработку в течение 10 дней при температуре (65 +/- 2) °C или при максимальном значении нормативной температуры хранения, если она выше;
2) затем ходунки необходимо выдерживать при комнатной температуре не менее 16 ч;
b) выполнить пятьдесят циклов испытаний в соответствии с методикой, описанной изготовителем в инструкции по применению, или состоящих из следующих действий:
1) промывка в течение 2 мин водой температурой 70 °C, уровнем pH от 5 до 8, содержащей 0,5% чистящего и дезинфицирующего раствора, указанного изготовителем;
2) полоскание в течение 20 с водой температурой 85 °C, уровнем pH от 5 до 8, содержащей 0,2% чистого ополаскивающего раствора в соответствии с данными изготовителя;
3) охлаждение в течение 10 мин при температуре окружающей среды 20 °C.
Используют следующие критерии приемки.
Ходунки должны функционировать в соответствии с предполагаемым назначением в следующие сроки непосредственно после циклов испытаний:
- 5 мин (+/- 1 мин) после циклов испытаний;
- 60 мин (+/- 5 мин) после циклов испытаний;
- 24 ч (+/- 30 мин) после циклов испытаний.
Раздел 18 - Принципы эргономики
Люди с ограниченными возможностями могут страдать от слабости и отсутствия контроля над своими конечностями. Для облегчения работы определенной функции, а также для предотвращения случайных операций необходимо учитывать определенные эргономические критерии: рекомендуется минимальный порог рабочего усилия, прикладываемого пользователем; размер, положение и расстояние между механизмами управления должны быть подходящими. Пользователь должен получать обратную связь от механизма (например, свет, щелчок, звук и т.д.) для того, чтобы убедиться в том, что он действительно сработал.
Раздел 19 - Упаковка
Упаковка ходунков предназначена для обеспечения соответствующей защиты от повреждений, порчи или загрязнения во время хранения и транспортировки к месту использования. В связи с этим следует учитывать различные формы хранения и виды транспортировки, которые могут встречаться, и проверять эффективность упаковки.
Приложение ДА
(справочное)
СВЕДЕНИЯ О СООТВЕТСТВИИ ССЫЛОЧНЫХ МЕЖДУНАРОДНЫХ СТАНДАРТОВ
МЕЖГОСУДАРСТВЕННЫМ И НАЦИОНАЛЬНЫМ СТАНДАРТАМ
Таблица ДА.1
Обозначение ссылочного международного стандарта
Степень соответствия
Обозначение и наименование соответствующего национального стандарта
ISO 8191-2
-
ISO 10993-1
IDT
ГОСТ ISO 10993-1-2011 "Изделия медицинские. Оценка биологического действия медицинских изделий. Часть 1. Оценка и исследования"
ISO 13732-1
IDT
ГОСТ Р ИСО 13732-1-2015 "Эргономика термальной среды. Методы оценки реакции человека при контакте с поверхностями. Часть 1. Горячие поверхности"
ISO 14971
IDT
ГОСТ ISO 14971-2011 "Изделия медицинские. Применение менеджмента риска к медицинским изделиям"
ISO 15223-1
IDT
ГОСТ Р ИСО 15223-1-2020 "Изделия медицинские. Символы, применяемые при маркировании медицинских изделий, на этикетках и в сопроводительной документации. Часть 1. Основные требования"
ISO 20417
-
ISO 24415-1
IDT
ГОСТ Р ИСО 24415-1-2015 "Наконечники вспомогательных средств для ходьбы. Требования и методы испытания. Часть 1. Трение наконечников"
ISO 7000
-
EN 614-1+A1
IDT
ГОСТ Р ЕН 614-1-2003 "Безопасность оборудования. Эргономические принципы конструирования. Часть 1. Термины, определения и общие принципы"
<*> Соответствующий национальный стандарт отсутствует. До его принятия рекомендуется использовать перевод на русский язык данного международного стандарта. Перевод данного стандарта находится в Федеральном информационном фонде стандартов.
Примечание - В настоящей таблице использовано следующее условное обозначение степени соответствия стандартов:
- IDT - идентичные стандарты.
БИБЛИОГРАФИЯ
[1]
ISO 9999
Assistive products for persons with disability - Classification and terminology (Вспомогательные средства для людей с ограничениями жизнедеятельности. Классификация и терминология)
[2]
ISO 11199-3:2005
Walking aids manipulated by both arms - Requirements and test methods - Part 3: Walking tables (Вспомогательные технические средства для облегчения ходьбы, управляемые двумя руками. Технические требования и методы испытания. Часть 3. Ходунки с опорой на предплечье)
[3]
ISO 12100
Safety of machinery - General principles for design - Risk assessment and risk reduction (Безопасность машин. Общие принципы конструирования. Оценка рисков и снижение рисков)
[4]
IEC/IEEE 82079-1
Preparation of information for use (instructions for use) of products - Part 1: Principles and general requirements (Подготовка информации пользователя продукции (инструкций по применению). Часть 1. Принципы и общие требования)
[5]
ISO 9227
Corrosion tests in artificial atmospheres - Salt spray tests (Испытание на коррозию в искусственной атмосфере. Испытания в соляном тумане)
УДК 615.418.3.001.4:006.354
ОКС 11.180.10
Ключевые слова: средства вспомогательные для ходьбы, управляемые обеими руками, ходунки, типоразмеры, требования, методы испытания