Главная // Актуальные документы // ГОСТ Р (Государственный стандарт)СПРАВКА
Источник публикации
М.: ФГБУ "РСТ", 2022
Примечание к документу
Документ
введен в действие с 01.03.2023.
Название документа
"ГОСТ Р 70213-2022. Национальный стандарт Российской Федерации. Оптика и фотоника. Объективы для оптико-электронных систем. Методы измерений распределения освещенности (облученности) по полю изображения и коэффициента виньетирования"
(утв. и введен в действие Приказом Росстандарта от 13.07.2022 N 614-ст)
"ГОСТ Р 70213-2022. Национальный стандарт Российской Федерации. Оптика и фотоника. Объективы для оптико-электронных систем. Методы измерений распределения освещенности (облученности) по полю изображения и коэффициента виньетирования"
(утв. и введен в действие Приказом Росстандарта от 13.07.2022 N 614-ст)
Утвержден и введен в действие
Приказом Федерального агентства
по техническому регулированию
и метрологии
от 13 июля 2022 г. N 614-ст
НАЦИОНАЛЬНЫЙ СТАНДАРТ РОССИЙСКОЙ ФЕДЕРАЦИИ
ОПТИКА И ФОТОНИКА
ОБЪЕКТИВЫ ДЛЯ ОПТИКО-ЭЛЕКТРОННЫХ СИСТЕМ
МЕТОДЫ ИЗМЕРЕНИЙ РАСПРЕДЕЛЕНИЯ ОСВЕЩЕННОСТИ (ОБЛУЧЕННОСТИ)
ПО ПОЛЮ ИЗОБРАЖЕНИЯ И КОЭФФИЦИЕНТА ВИНЬЕТИРОВАНИЯ
Optics and photonics. Lenses for optical electronic
systems. Relative irradiance in the image field
and vignetting coefficient measurement methods
ГОСТ Р 70213-2022
Дата введения
1 марта 2023 года
1 РАЗРАБОТАН Федеральным государственным унитарным предприятием "Научно-исследовательский институт физической оптики, оптики лазеров и информационных оптических систем Всероссийского научного центра "Государственный оптический институт им. С.И. Вавилова" (ФГУП "НИИФООЛИОС ВНЦ "ГОИ им. С.И. Вавилова")
2 ВНЕСЕН Техническим комитетом по стандартизации ТК 296 "Оптика и фотоника"
3 УТВЕРЖДЕН И ВВЕДЕН В ДЕЙСТВИЕ Приказом Федерального агентства по техническому регулированию и метрологии от 13 июля 2022 г. N 614-ст
4 ВВЕДЕН ВПЕРВЫЕ
Правила применения настоящего стандарта установлены в статье 26 Федерального закона от 29 июня 2015 г. N 162-ФЗ "О стандартизации в Российской Федерации". Информация об изменениях к настоящему стандарту публикуется в ежегодном (по состоянию на 1 января текущего года) информационном указателе "Национальные стандарты", а официальный текст изменений и поправок - в ежемесячном информационном указателе "Национальные стандарты". В случае пересмотра (замены) или отмены настоящего стандарта соответствующее уведомление будет опубликовано в ближайшем выпуске ежемесячного информационного указателя "Национальные стандарты". Соответствующая информация, уведомление и тексты размещаются также в информационной системе общего пользования - на официальном сайте Федерального агентства по техническому регулированию и метрологии в сети Интернет (www.rst.gov.ru)
Настоящий стандарт распространяется на объективы для оптико-электронных систем:
- работающие из бесконечности (предмет в бесконечности, изображение на конечном расстоянии);
- проекционные и микрообъективы (предмет и изображение на конечном расстоянии);
- микрообъективы, скорректированные на длину тубуса "бесконечность" (предмет на конечном расстоянии, изображение в бесконечности);
- коллиматорные (предмет на конечном расстоянии, изображение в бесконечности).
Настоящий стандарт устанавливает методы измерений распределения освещенности (облученности) по полю изображения, падения освещенности и коэффициента виньетирования в ультрафиолетовой (от 0,25 до 0,38 мкм), видимой (от 0,38 до 0,78 мкм) и инфракрасной (от 0,78 до 15 мкм) областях спектра.
Примечание - Точных границ излучения видимой области спектра не существует, так как они зависят от значения энергетического потока, достигающего сетчатки глаза, и восприимчивости наблюдателя. Нижнюю границу, как правило, принимают между значениями 0,36 и 0,40 мкм, а верхнюю - между 0,76 и 0,83 мкм. В настоящем стандарте границы излучения приняты равными 0,38 и 0,78 мкм.
Настоящий стандарт допускается применять к телескопическим системам (см.
5.4.4).
В настоящем стандарте использованы нормативные ссылки на следующие стандарты:
ГОСТ 8.654 Государственная система обеспечения единства измерений. Фотометрия. Термины и определения
ГОСТ 7427 Геометрическая оптика. Термины, определения и буквенные обозначения
ГОСТ 7601 Физическая оптика. Термины, буквенные обозначения и определения основных величин
ГОСТ 20828 Объективы. Методы измерения диаметра входного зрачка
ГОСТ 24724 Объективы для кино- и фотоаппаратов. Метод определения коэффициента рассеяния
ГОСТ Р 8.568 Государственная система обеспечения единства измерений. Аттестация испытательного оборудования. Основные положения
ГОСТ Р 8.654 Государственная система обеспечения единства измерений. Требования к программному обеспечению средств измерений. Основные положения
ГОСТ Р 8.674 Государственная система обеспечения единства измерений. Общие требования к средствам измерений и техническим системам, и устройствам с измерительными функциями
ГОСТ Р 8.678 Государственная система обеспечения единства измерений. Формы оценки соответствия технических систем и устройств с измерительными функциями установленным требованиям
ГОСТ Р 8.745/ISO/TR 14999-2:2005 Государственная система обеспечения единства измерений. Оптика и фотоника. Интерференционные измерения оптических элементов и систем. Часть 2. Измерения и методика оценки результатов
ГОСТ Р 58566-2019 Оптика и фотоника. Объективы для оптико-электронных систем. Методы испытаний
ГОСТ Р 70038 Оптика и фотоника. Объективы для оптико-электронных систем. Методы измерений фокусного расстояния
Примечание - При пользовании настоящим стандартом целесообразно проверить действие ссылочных стандартов в информационной системе общего пользования на официальном сайте Федерального агентства по техническому регулированию и метрологии в сети Интернет или по ежегодному информационному указателю "Национальные стандарты", который опубликован по состоянию на 1 января текущего года, и по выпускам ежемесячного информационного указателя "Национальные стандарты" за текущий год. Если заменен ссылочный стандарт, на который дана недатированная ссылка, то рекомендуется использовать действующую версию этого стандарта с учетом всех внесенных в данную версию изменений. Если заменен ссылочный стандарт, на который дана датированная ссылка, то рекомендуется использовать версию этого стандарта с указанным выше годом утверждения (принятия). Если после утверждения настоящего стандарта в ссылочный стандарт, на который дана датированная ссылка, внесено изменение, затрагивающее положение, на которое дана ссылка, то это положение рекомендуется применять без учета данного изменения. Если ссылочный стандарт отменен без замены, то положение, в котором дана ссылка на него, рекомендуется применять в части, не затрагивающей эту ссылку.
В настоящем стандарте применены термины по ГОСТ 7427, ГОСТ 7601,
ГОСТ 8.654, а также следующие термины с соответствующими определениями:
3.1
распределение освещенности [облученности] по полю изображения E (x, y): Зависимость относительной освещенности (облученности) от координат точки поля в пространстве изображений (или пространстве предметов) оптической системы. |
3.2
падение освещенности [облученности] : Снижение относительной освещенности (облученности) на краях поля изображения (поля предмета) оптической системы из-за влияния закона косинусов, аберраций, виньетирования, неравномерности пропускания и дисторсии. Примечание - Падение освещенности  в точке поля ( x, y) характеризуется разностью [1 - E( x, y)]. |
3.3
виньетирование : Изменение площади действующей части входного зрачка оптической системы вследствие экранирования действующих пучков лучей, образующих изображение внеосевой точки поля зрения, диафрагмой оптической системы, не являющейся апертурой. |
3.4
коэффициент виньетирования : Отношение площади действующей части входного зрачка оптической системы для заданного угла поля  к площади входного зрачка оптической системы для центра углового поля. |
3.5 коэффициент экранирования KD: Отношение площади действующей части проекции входного зрачка объектива, экранированного вследствие конструктивных особенностей объектива, к площади входного зрачка объектива без экранирования.
4.1 Метод измерений распределения освещенности (облученности) по полю изображения объектива основан на определении освещенности (в относительных единицах) фотоэлектрическим способом в центре поля и в различных точках поля при изображении объективом равномерного яркого фона. Измерение освещенности (облученности) в различных точках поля проводят в фокальной плоскости испытуемого объектива при его полном относительном отверстии или диафрагменном числе, установленным в технической документации (ТД) на объектив.
Падение освещенности

в точке поля (
x,
y) характеризуется разностью [1 -
E(
x,
y)].
4.2 Метод измерений виньетирования основан на определении коэффициента

.
Падение освещенности в изображении внеосевой точки вследствие виньетирования характеризуется разностью

.
4.3 При проведении измерений должны быть обеспечены следующие условия, если иные не указаны в ТД на испытуемый объектив и применяемую аппаратуру:
- температура воздуха в помещении - (25 +/- 10) °C;
- относительная влажность воздуха от 45% до 80% (при температуре воздуха 20 °C);
- атмосферное давление от 86,6 до 106,6 кПа.
Перед началом измерений объективы должны быть выдержаны в указанных условиях не менее 2 ч, если условия хранения и транспортирования объективов от них отличались.
4.4 Измерения проводят в спектральной области, указанной в ТД на испытуемый объектив, с применением источников и приемников излучения, а также оптических элементов измерительной установки (в том числе светофильтров) с соответствующими спектральными характеристиками.
4.5 Средства измерений, их составные части и программное обеспечение, стандартные образцы, средства контроля и испытательное оборудование, эталоны единиц величин должны обеспечивать возможность проведения мониторинга, измерений параметров и характеристик процессов и продукции в заданных условиях и диапазонах измерений с необходимой точностью и соответствовать требованиям ТД.
4.6 Средства измерений должны быть поверены или откалиброваны.
4.7 Эталоны единиц величин должны быть аттестованы.
4.8 Стандартные образцы должны иметь утвержденный тип и соответствовать установленному сроку службы.
4.9 Испытательное оборудование должно быть аттестовано в соответствии с
ГОСТ Р 8.568, средства измерений, используемые в составе испытательного оборудования, должны быть поверены.
4.10 Средства контроля и индикаторы, являющиеся техническими средствами, должны быть проверены на соответствие эксплуатационной документации.
4.11 Программное обеспечение средств измерений должно соответствовать требованиям
ГОСТ Р 8.654.
4.12 Технические системы и устройства с измерительными функциями должны соответствовать требованиям
ГОСТ Р 8.674 и
ГОСТ Р 8.678.
5 Методы измерений распределения освещенности (облученности) по полю изображения
5.1 Требования к аппаратуре
5.1.1 Измерение распределения освещенности (облученности) по полю изображения проводят на установках, принципиальные схемы которых приведены на
рисунке 1.
5.1.2 Измерения проводят с применением одной из следующих установок:
- коллиматорной установки, включающей в себя коллиматорный объектив и фокальный узел, состоящий из источника излучения, конденсора, матовой плоскопараллельной пластины, и, при необходимости, коллиматорной диафрагмы (для объективов, работающих из бесконечности) [см.
рисунок 1, а)];
- установки с фотометрическим шаром или полусферой [см.
рисунок 1, б)];
- установки с предметным узлом, состоящей из источника излучения, конденсора, матовой плоскопараллельной пластины и, при необходимости, предметной диафрагмы [см.
рисунок 1, в)], устанавливаемой на конечном расстоянии от испытуемого объектива;
- установки с экраном (площадкой равномерной яркости) [см.
рисунок 1, г)], размещенной на конечном расстоянии от испытуемого объектива.
а) Схема коллиматорной установки
б) Схема установки с фотометрическим шаром или полусферой
в) Схема установки с предметным узлом
г) Схема установки с экраном (площадкой равномерной яркости)
1 - единое амортизационное основание; 2 - фокальный узел;
3 - коллиматор; 4 - объективодержатель; 5 - поворотное
устройство со станиной и продольными направляющими;
6 - анализирующий узел; 7 - трехкоординатное устройство;
8 - регистрирующая аппаратура; 9 - фотометрический шар
или полусфера; 10 - предметный узел; 11 - осветитель типа
"экран" (площадка равномерной яркости); L - расстояние
между осветителем типа "экран" и испытуемым объективом;
A, Ai - положения осветителя, соответствующие центральной
и крайней точкам линейного поля испытуемого объектива
в пространстве предметов; Y - половина линейного поля
объектива в пространстве предметов;

- угол
разворота осветителя типа "экран"
Рисунок 1 - Принципиальные схемы установок для измерений
распределения освещенности (облученности)
по полю изображения
5.1.3 В качестве источников излучения применяют:
- лампу накаливания, галогенную лампу, лазерный или светодиодный источник - для видимого диапазона спектра;
- ксеноновую лампу, лазерный или светодиодный источник - для ультрафиолетового диапазона спектра;
- излучатель из карбида кремния (глобар), керамический излучатель, абсолютно черное тело (источник излучения в виде модели черного тела), лазерный или светодиодный источник излучения - для инфракрасного диапазона спектра.
Примечание - Допускается применять другие источники излучения, если они обеспечивают требуемый диапазон спектра в соответствии с ТД на объектив.
5.1.4 Фокусное расстояние коллиматорного объектива должно превышать фокусное расстояние испытуемого объектива не менее чем в 3 раза.
Измерения фокусного расстояния коллиматорного объектива проводят в соответствии с ГОСТ Р 70038 с относительной погрешностью не более 0,2% либо не более значения, заданного в ТД на коллиматорный объектив.
Линзовые и зеркально-линзовые коллиматорные объективы должны быть изготовлены из материалов, прозрачных в области спектра испытуемого объектива.
5.1.5 Среднеквадратическая деформация волнового фронта коллиматорного объектива должна быть не более

в пределах светового диаметра коллиматорного объектива (область ахроматизации испытуемого объектива должна находиться внутри области ахроматизации коллиматорного объектива), где

- рабочая длина волны испытуемого объектива, мкм. Измерения проводят по ГОСТ Р 8.745.
Допускается использовать коллиматорный объектив с большей среднеквадратической деформацией волнового фронта, если она незначительно влияет на суммарную погрешность определения требуемой характеристики, установленной в ТД на испытуемый объектив.
5.1.6 При использовании коллиматорной установки [см.
рисунок 1, а)] в качестве осветителя диаметр матовой плоскопараллельной пластины (или диаметр коллиматорной диафрагмы, установленной перед матовой плоскопараллельной пластиной большего диаметра), расположенной в фокальной плоскости коллиматорного объектива, должен удовлетворять
формулам (1),
(2).
При использовании круглой измерительной диафрагмы анализирующего узла диаметр матовой плоскопараллельной пластины dкк (или диаметр коллиматорной диафрагмы, установленной перед матовой плоскопараллельной пластиной большего диаметра) вычисляют по формуле

, (1)
где d - диаметр измерительной диафрагмы анализирующего узла, мм;
f'к.о - фокусное расстояние коллиматорного объектива, мм;
f'и.о - фокусное расстояние испытуемого объектива, мм.
При использовании прямоугольной измерительной диафрагмы анализирующего узла диаметр матовой плоскопараллельной пластины dкп (или диаметр коллиматорной диафрагмы, установленной перед матовой плоскопараллельной пластиной большего диаметра) вычисляют по формуле

, (2)
где h - высота прямоугольной измерительной диафрагмы анализирующего узла, мм.
5.1.7 При использовании предметного узла в качестве осветителя [см.
рисунок 1, в)] диаметр матовой плоскопараллельной пластины (или диаметр предметной диафрагмы, установленной перед матовой плоскопараллельной пластиной большего диаметра), расположенной на конечном расстоянии от испытуемого объектива, должен удовлетворять
формулам (3),
(4).
При использовании круглой измерительной диафрагмы анализирующего узла диаметр матовой плоскопараллельной пластины dпк (или диаметр предметной диафрагмы, установленной перед матовой плоскопараллельной пластиной большего диаметра), расположенной на конечном расстоянии от испытуемого объектива, вычисляют по формуле

, (3)
где

- линейное (поперечное) увеличение испытуемого объектива, измеренное по ГОСТ Р 58566-2019
(пункт 11.3).
При использовании прямоугольной измерительной диафрагмы анализирующего узла диаметр матовой плоскопараллельной пластины dпп (или диаметр предметной диафрагмы, установленной перед матовой плоскопараллельной пластиной большего диаметра), расположенной на конечном расстоянии от испытуемого объектива, вычисляют по формуле

. (4)
5.1.8 При использовании в качестве осветителя площадки равномерной яркости (экрана) [см.
рисунок 1, г)] или фотометрического шара (полусферы) [см.
рисунок 1, б)], установленных на конечном расстоянии
L от испытуемого объектива, их диаметры должны удовлетворять
формулам (5),
(6).
При использовании круглой измерительной диафрагмы анализирующего узла диаметр площадки равномерной яркости (экрана) или фотометрического шара (полусферы) dэк вычисляют по формуле

, (5)
где
Dи.о - диаметр входного зрачка испытуемого объектива (расчетный или измеренный по ГОСТ 20828 или
ГОСТ Р 58566), мм.
При использовании прямоугольной измерительной диафрагмы анализирующего узла диаметр площадки равномерной яркости (экрана) или фотометрического шара (полусферы) dэп вычисляют по формуле

. (6)
Примечания
1 Расстояние L устанавливают в ТД на испытуемый объектив. Рекомендуемый угловой размер площадки равномерной яркости, видимый из центра испытуемого объектива, не более 6°.
2 Другие требования к фотометрическому шару или полусфере - по ГОСТ 24724.
5.1.9 Неравномерность яркости осветителя в плоскости выходного отверстия не должна превышать:
- 3%, если в установке не предусмотрена возможность вращения испытуемого объектива вокруг вертикальной оси;
- 10%, если в установке предусмотрена возможность вращения испытуемого объектива вокруг вертикальной оси.
Пучок лучей от осветителя должен обеспечивать заполнение входного зрачка испытуемого объектива.
5.1.10 В осветителе типа "экран" (площадка равномерной яркости) должна быть предусмотрена возможность перемещения испытуемого объектива перпендикулярно к оптической оси с погрешностью не более
dэк/20 или
dэп/20 и поворота вокруг вертикальной оси, проходящей через точку А, с погрешностью не более 1° [см.
рисунок 1, г)].
5.1.11 Конденсор должен быть установлен таким образом, чтобы изображение излучающего тела источника излучения в рабочей области спектра испытуемого объектива проецировалось на коллиматорную или предметную диафрагму. При использовании линзового конденсора в инфракрасной или ультрафиолетовой области спектра проводят предварительную юстировку в видимой области спектра, а затем конденсор перемещают вдоль оптической оси на расчетное значение для освещения диафрагмы в рабочей области спектра испытуемого объектива.
Апертурный угол конденсора должен превышать апертурный угол коллиматорного объектива (при испытаниях из бесконечности) или испытуемого объектива (при испытаниях с конечного расстояния на конечное) не менее чем в 1,2 раза.
При использовании лазерного источника излучения фокусное расстояние конденсора f'конд вычисляют по формуле

, (7)
где dп - диаметр пучка лучей лазерного источника излучения, мм.
5.1.12 Коллиматорная диафрагма должна быть совмещена с фокальной плоскостью коллиматорного объектива для рабочего диапазона спектра испытуемого объектива с относительной погрешностью не более 0,05% значения фокусного расстояния коллиматорного объектива.
Предметная диафрагма должна быть совмещена с предметной плоскостью испытуемого объектива в рабочем диапазоне спектра так, чтобы отклонение от расчетного линейного увеличения испытуемого объектива не превышало 0,5%.
5.1.13 Допуск перпендикулярности опорного торца объективодержателя к оптической оси коллиматорного объектива должен быть 1'.
5.1.14 При необходимости объективодержатель должен обеспечивать возможность вращения испытуемого объектива вокруг оптической оси на 360° для установки требуемой ориентировки. Допускается возможность вращения испытуемого объектива вокруг вертикальной оси.
5.1.15 В станине с продольными направляющими должны быть предусмотрены раздельные подвижки вдоль оптической оси. Станина должна обеспечивать возможность установки и независимого перемещения объективодержателя и трехкоординатного устройства с анализирующим узлом вдоль оптической оси испытуемого объектива и закрепления их в заданном положении таким образом, чтобы вертикальная ось поворотного устройства находилась в плоскости входного зрачка испытуемого объектива или вблизи указанной плоскости.
При подготовке установки к измерениям необходимо проводить контроль заполнения входного зрачка испытуемого объектива при развороте поворотного устройства на полевые углы.
5.1.16 Трехкоординатное устройство, предназначенное для перемещения анализирующего узла в трех взаимно перпендикулярных направлениях, должно обеспечивать перемещение:
- вдоль оптической оси с регистрацией линейных перемещений с абсолютной погрешностью не более +/- 0,01 мм;
- поперек оптической оси с регистрацией линейных перемещений на любом участке, соответствующем линейному полю испытуемого объектива в пространстве изображений, с абсолютной погрешностью не более +/- 0,01 мм.
5.1.17 Трех- или двухкоординатное устройство, предназначенное для перемещения предметного узла в трех или двух взаимно перпендикулярных направлениях, должно обеспечивать возможность перемещения:
- вдоль оптической оси с регистрацией линейных перемещений с абсолютной погрешностью не более +/- 0,01 мм;
- поперек оптической оси с регистрацией линейных перемещений на любом участке, соответствующем линейному полю испытуемого объектива в пространстве предметов, с абсолютной погрешностью не более +/- 0,01 мм.
5.1.18 Допуск параллельности направляющих поперечного перемещения анализирующего узла и предметного узла опорному торцу объективодержателя должен быть 0,01 мм на участке размером не менее размера линейного поля испытуемого объектива в пространстве изображений или в пространстве предметов, в зависимости от схемы измерений.
Допуск параллельности в угловой мере должен составлять угол

, образованный опорным торцом объективодержателя и направляющими поперечного перемещения приемника излучения, вычисляемый по формуле

, (8)
где

- рабочая длина волны испытуемого объектива, мкм;

- угловое поле испытуемого объектива в пространстве предметов, градусы.
5.1.19 Абсолютная погрешность угломерного устройства для поворотного устройства должна быть в пределах от 2
" до 10
".
В качестве угломерного устройства допускается применять преобразователи угловых перемещений или автоколлиматор (автоколлимационный теодолит) с плоским автоколлимационным зеркалом.
Допускается проводить измерения углов поворота испытуемого объектива с большей погрешностью, если она незначительно влияет на суммарную погрешность определения требуемой характеристики, установленной в ТД на испытуемый объектив.
5.1.20 Варианты исполнения анализирующего узла:
а) одноэлементный приемник излучения с измерительной диафрагмой;
б) матричный приемник излучения с микрообъективом;
в) матричный приемник излучения с микрообъективом и тубусной линзой.
5.1.21 При использовании матричных приемников излучения применяют проекционную систему, состоящую из микрообъектива или микрообъектива с тубусной линзой.
Проекционная система должна удовлетворять следующим требованиям:
- апертурный угол микрообъектива в пространстве предметов должен превышать апертурный угол испытуемого объектива в пространстве изображений не менее чем в 1,2 раза;
- микрообъектив и тубусная линза должны быть ахроматизованы и иметь исправленные аберрации в рабочей области спектра.
5.1.22 В анализирующий узел с одноэлементным приемником излучения устанавливают диафрагму с отверстием круглой или прямоугольной формы (см.
рисунок 2).
Примечание - Допускается устанавливать матовую плоскопараллельную пластину между диафрагмой и приемником излучения.
1 - измерительная диафрагма; 2 - фоточувствительная
поверхность приемника излучения; d - диаметр круглой
измерительной диафрагмы; a - ширина прямоугольной
измерительной диафрагмы; b - расстояние между измерительной
диафрагмой и фоточувствительной поверхностью приемника
излучения;

- угол фаски отверстия диафрагмы;
c - глубина отверстия диафрагмы
Рисунок 2 - Схема анализирующего узла с одноэлементным
приемником излучения
5.1.23 Конструктивные размеры измерительной диафрагмы выбирают из приведенных ниже:
-
c <= 0,01
d;
b <= 0,5
d;

- для отверстий круглой формы диаметром
d >= 0,5 мм;
-
c <= 0,01
a;
b <= 0,3
a;

- для отверстий прямоугольной формы шириной
a >= 1 мм и высотой
h >= 3 мм.
Плоскость диафрагмы должна быть параллельна посадочному торцу объективодержателя с погрешностью не более 1°.
5.1.24 Диаметры d (ширину a) отверстия измерительной диафрагмы для одноэлементного приемника излучения и входного зрачка микрообъектива для матричного приемника излучения выбирают из значений от 0,5 до 4 мм, в зависимости от максимального значения линейного поля 2y'max испытуемого объектива в пространстве изображений:
- если 2y'max <= 100 мм, то d(a) составляет от 0,5 до 2 мм;
- в остальных случаях вычисляют из соотношения d(a) <= 2y'max/100.
Примечание - Конкретные значения диаметра или ширины диафрагм устанавливают в ТД на испытуемый объектив.
5.1.25 Ширину h, мм, и высоту w, мм, чувствительной площадки одноэлементного приемника излучения вычисляют по формулам:
h >= 1,5[
h'k + 2
m·tg(
u')]; (9)

, (10)
где h'k - высота (длина) изображения коллиматорной (или предметной) щелевой диафрагмы, мм;
m - расстояние от измерительной диафрагмы до чувствительного слоя приемника излучения, мм;
u' - апертурной угол испытуемого объектива, градусы.
Примечание - Расстояние m от измерительной диафрагмы до чувствительного слоя приемника излучения определяют в соответствии с конструкторской документацией на установку или косвенными методами линейных измерений.
При необходимости использования приемника излучения с размерами чувствительной площадки менее вычисляемых по
формулам (9),
(10) применяют проекционный объектив, который устанавливают между измерительной диафрагмой и приемником излучения. При этом измерительную диафрагму устанавливают в предметную плоскость проекционного объектива, а чувствительный слой приемника излучения - в плоскость изображения проекционного объектива.
Проекционный объектив должен удовлетворять следующим требованиям:
- апертурный угол проекционного объектива в пространстве предметов должен превышать апертурный угол испытуемого объектива в пространстве изображений не менее чем в 1,2 раза;
- площадь пятна рассеяния проекционного объектива должна быть менее площади чувствительного слоя приемника излучения.
5.1.26 В качестве одноэлементных приемников излучения применяют:
- селеновый фотоэлемент, германиевый и кремниевый фотодиоды, фотоэлектронный умножитель - для видимого диапазона спектра;
- фотоэлектронный умножитель - для ультрафиолетового диапазона спектра;
- пироэлектрические приемники, фоторезисторы на основе поликристаллического сульфида свинца (PbS), селенида свинца (PbSe), на основе сплава кадмий-ртуть-теллур (HgCdTe) - для инфракрасного диапазона спектра.
В качестве матричных приемников излучения используют ПЗС- и КМОП-матрицы, микроболометрические матрицы на основе сплава кадмий-ртуть-теллур (HgCdTe).
Примечание - Допускается применять другие приемники излучения, если они обеспечивают требуемый диапазон спектра в соответствии с ТД на объектив.
5.1.27 Динамический диапазон одноэлементного приемника излучения должен быть не менее 100.
Разрядность аналого-цифрового преобразователя матричного приемника излучения должна быть не менее 12 бит.
5.1.28 При работе с одноэлементным приемником излучения без модулятора фоточувствительная поверхность приемника должна быть защищена от попадания постороннего излучения. При использовании модулятора его устанавливают в фокальном узле, предметном узле, между фотометрическим шаром. Привод модулятора осуществляют синхронным электродвигателем. Частоту модуляции определяют в соответствии с паспортными данными приемника излучения.
Примечание - Допускается вместо модулятора использовать аппаратуру с импульсным режимом измерений. В этом случае сигнал на источник излучения подается от импульсного генератора и фиксируется осциллографом, подключенным к приемнику излучения.
5.1.29 Система "приемник излучения - измерительный прибор" должна быть проверена на линейность характеристики "излучение - сигнал" (пропорциональность сигнала на выходе приемника излучения освещенности на фоточувствительной поверхности приемника излучения).
Относительная погрешность, обусловленная нелинейностью системы, - не более 2%.
Если отклонение от линейности превышает 2%, необходимо составить таблицу или график поправок и ввести соответствующие поправки в формулу для определения относительной освещенности.
Таблица или график должны быть приложены к паспорту на установку.
Методы проверки линейности системы "фотоприемник - измерительный прибор" приведены в
приложении А.
5.1.30 Приемник излучения должен быть проверен на отступление от закона косинуса, т.е. на пропорциональность отсчетов по измерительному прибору косинусу угла между направлением падающих лучей и нормалью к поверхности диафрагмы анализирующего узла.
Если отступление от закона косинуса превышает 2%, то необходимо составить таблицу или график поправок и в формулу для определения относительной освещенности ввести соответствующие поправки.
Таблица или график поправок должны быть приложены к паспорту на установку.
Метод проверки приемника излучения на отступление от закона косинуса приведен в
приложении Б.
5.1.31 При проведении измерений должны быть установлены все дополнительные оптические элементы или их имитаторы, предусмотренные расчетом оптических величин объектива.
5.1.32 Фильтр, выделяющий рабочую область спектра, допускается устанавливать как перед предметной или коллиматорной диафрагмой, так и между измерительной диафрагмой и приемником излучения. При работе с лазерным источником излучения фильтр не применяют.
5.1.33 Регистрирующая аппаратура состоит из блоков усиления и преобразования сигнала, аналого-цифровых преобразователей, средств измерений, средств контроля, испытательного оборудования, программного обеспечения.
Примечание - В качестве средств измерений допускается применять преобразователи линейных перемещений, индикаторы, преобразователи угловых перемещений, теодолиты, мультиметры, селективные вольтметры, осциллографы, источники излучения в виде модели черного тела.
5.1.34 Питание источников и приемников излучения должно быть стабилизировано. Нестабильность питающего напряжения не должна быть более +/- 0,5% при изменении напряжения сети на +/- 10%.
5.1.35 Метод обеспечивает измерение распределения освещенности (облученности) по полю изображения с относительной погрешностью:
- не более +/- 3% при относительной освещенности не менее 0,4 отн. ед.
- не более +/- 5% при относительной освещенности не менее 0,2 отн. ед.
Примечание - Допустимые погрешности определения распределения освещенности (облученности) по полю изображения устанавливают в ТД на испытуемый объектив и установку.
5.2 Подготовка к измерениям
5.2.1 Включают аппаратуру не менее чем за 30 мин до начала измерений.
5.2.2 Испытуемый объектив устанавливают в объективодержатель таким образом, чтобы пучок лучей от осветителя заполнял входной зрачок испытуемого объектива, а входной зрачок был расположен вблизи оси вращения поворотного устройства.
Примечание - При необходимости диафрагму объектива устанавливают в соответствии с диафрагменным числом, установленным в ТД на объектив.
5.2.3 Анализирующий узел устанавливают в плоскости изображения испытуемого объектива с точностью +/- 2 мм.
5.2.4 Анализирующий узел устанавливают в плоскость, близкую к плоскости наилучшей установки (плоскости наилучшего изображения). С этой целью проводят перемещение анализирующего узла в трех взаимно перпендикулярных направлениях до получения максимального сигнала на выходе приемника излучения.
5.3 Проведение измерений
5.3.1 Входной зрачок испытуемого объектива перекрывают непрозрачным экраном, измеряют значение сигнала
u0 на выходе приемника излучения, пропорционального шумовой составляющей излучения, поступающей на приемник излучения в центре поля изображения испытуемого объектива.
5.3.2 Непрозрачный экран убирают, снимают отсчет
U0 на выходе приемника излучения, пропорциональный освещенности (облученности) в центре поля изображения испытуемого объектива.
5.3.3 Измерения по
5.3.1,
5.3.2 повторяют не менее трех раз.
5.3.4 Поворотное устройство с испытуемым объективом разворачивают на углы

, соответствующие угловому полю в пространстве предметов (при измерениях из бесконечности) [см.
рисунок 1, а),
б)], или перемещают предметный узел на расстояние +/-
Yi, соответствующее линейному полю в пространстве предметов (при измерениях с конечного расстояния) [см.
рисунок 1, б),
в)].
5.3.5 Анализирующий узел перемещают по поперечным направляющим от центра углового (при измерениях из бесконечности) [см.
рисунок 1, а),
б)] или линейного (при измерениях с конечного расстояния [см.
рисунок 1, б),
в)] поля в пространстве предметов испытуемого объектива на расстояние
y'i, вычисляемое по формулам:

; (11)

. (12)
5.3.6 При использовании осветителя типа "экран" [см.
рисунок 1, г)] поворотное устройство разворачивают на углы

, а анализирующий узел перемещают на расстояние
y'i. При этом осветитель перемещают на расстояние +/-
Yi и разворачивают на угол

, которые вычисляют по формулам:

; (13)

, (14)
где L - расстояние между осветителем типа "экран" и испытуемым объективом.
5.3.7 Входной зрачок испытуемого объектива перекрывают непрозрачным экраном, измеряют значение сигнала ui на выходе приемника излучения, пропорционального шумовой составляющей излучения, поступающей на приемник излучения в i-й точке поля изображения испытуемого объектива.
5.3.8 Непрозрачный экран убирают и снимают отсчет
Ui на выходе приемника излучения, пропорциональный освещенности (облученности) в
i-й точке поля изображения испытуемого объектива.
5.3.9 Измерения повторяют по
5.3.4 -
5.3.8 не менее трех раз.
Примечания
1 Измерения распределения освещенности (облученности) рекомендуется проводить не менее чем в пяти точках по полю изображения объектива с расстоянием между точками не более 0,25y'i, если иное не установлено в ТД на объектив.
2 Для объектива с переменным фокусным расстоянием распределение освещенности (облученности) по полю изображения необходимо измерять при значениях фокусных расстояний, установленных в ТД на объектив.
5.4 Обработка результатов
5.4.1 Средние арифметические значения результатов измерений определяют по
5.3.1 -
5.3.3 (
U0 -
u0)
ср и по
5.3.4 -
5.3.9 (
Ui -
ui)
ср.
5.4.2 Относительную освещенность (облученность) по полю изображения Ei в заданной точке поля испытуемого объектива вычисляют по формуле

, (15)
где

,

- поправочные коэффициенты, соответствующие значениям (
Ui -
ui)
ср и (
U0 -
u0)
ср - (см.
рисунок А.3);
K - поправочный коэффициент, учитывающий отступление от закона косинуса для полевого угла, соответствующего
y'i (см.
приложение Б).
5.4.3 Падение освещенности (облученности)

в заданной точке поля изображения объектива вычисляют по формуле

. (16)
5.4.4 Значение распределения освещенности по полю изображения регистрируют в протоколе и оформляют в свободной форме в виде таблицы или графиков, на которых по оси абсцисс откладывают расстояния от центральной точки до заданной точки поля в миллиметрах (или в градусах, соответствующих данной точке углового поля в пространстве предметов), а по оси ординат значения относительной освещенности.
Примечания
1 Относительную освещенность (облученность) и падение освещенности (облученности) допускается выражать в процентах.
2 В установках с алгоритмической коррекцией допускается не использовать поправочные коэффициенты линейности системы "приемник излучения - измерительный прибор" и на отступление от закона косинуса.
3 Определение распределения освещенности телескопических систем допускается проводить по схеме с использованием коллиматора (см.
рисунок 1) со следующими дополнениями:
- проводят измерение распределения освещенности фокусирующего объектива (объектива образца сравнения, технологического объектива), диафрагмированного до светового диаметра телескопической системы и работающего в диапазоне спектра испытуемой телескопической системы;
- перед фокусирующим объективом устанавливают испытуемую телескопическую систему и измеряют распределение освещенности системы, состоящей из фокусирующего объектива и испытуемой телескопической системы. По результатам измерений возможно сделать вывод о допустимом падении освещенности испытуемой телескопической системы.
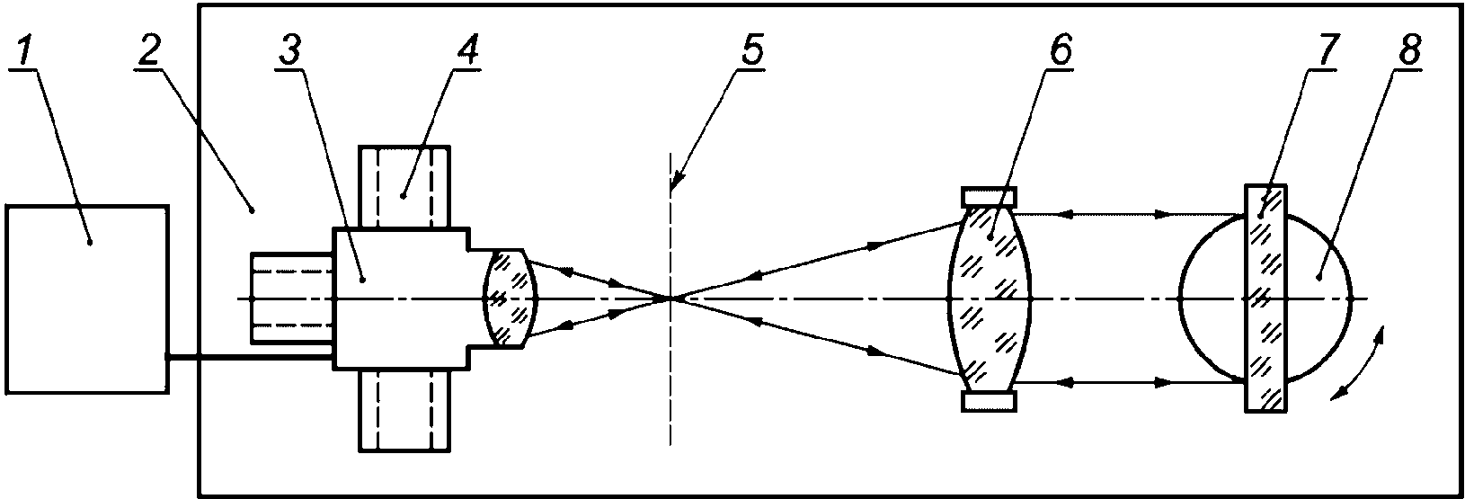
6 Метод измерений коэффициента виньетирования
6.1 Требования к аппаратуре
6.1.1 Измерение коэффициента

объективов проводят в обратном ходе лучей на установке с матричным приемником излучения (см.
рисунок 3) или установке с автоколлимационной схемой (см.
рисунок 4).
1 - единое амортизационное основание; 2 - фокальный узел;
3 - двух- или трехкоординатное устройство; 4 - плоскость
изображения; 5 - испытуемый объектив с объективодержателем;
6 - матричный приемник излучения;
7 - регистрирующая аппаратура
Рисунок 3 - Схема установки с матричным приемником излучения
для измерений коэффициента виньетирования
1 - регистрирующая аппаратура; 2 - единое амортизационное
основание; 3 - интерферометр; 4 - двух- или трехкоординатное
устройство; 5 - плоскость изображения испытуемого объектива;
6 - испытуемый объектив с объективодержателем; 7 - плоское
автоколлимационное зеркало; 8 - поворотное устройство
Рисунок 4 - Автоколлимационная схема установки
для измерений коэффициента виньетирования
6.1.2 Апертурный угол конденсора и объектива интерферометра должен превышать задний апертурный угол испытуемого объектива не менее чем в 1,2 раза.
6.1.3 Диаметр диафрагмы

, устанавливаемой в фокальной плоскости испытуемого объектива, вычисляют по формуле

, (17)
где l - расстояние от объектива до приемника излучения, мм.
6.1.4 Погрешность совмещения диафрагмы с фокальной плоскостью испытуемого объектива должна быть не более 0,05% значения фокусного расстояния испытуемого объектива. Погрешность определения значений f'и.о и Dи.о не должна быть более 5%, значения l - не более 15%.
6.1.5 Трех- или двухкоординатное устройство, предназначенное для перемещения фокального узла или интерферометра в трех или двух взаимно перпендикулярных направлениях, должно обеспечивать возможность перемещения:
- вдоль оптической оси с регистрацией линейных перемещений с абсолютной погрешностью не более +/- 0,01 мм;
- поперек оптической оси с регистрацией линейных перемещений на любом участке, соответствующем линейному полю испытуемого объектива в пространстве изображений, с абсолютной погрешностью не более +/- 0,01 мм.
6.1.6 Допуск параллельности направляющих поперечного перемещения фокального узла и/или интерферометра опорному торцу объективодержателя должен составлять 0,01 мм на участке размером не менее линейного поля испытуемого объектива в пространстве изображений или быть не более вычисленного по
формуле (8).
6.1.7 В качестве матричных приемников излучения используют ПЗС- и КМОП-матрицы, микроболометрические матрицы на основе сплава кадмий-ртуть-теллур (HgCdTe).
6.1.8 Матричный приемник излучения должен быть установлен параллельно опорной поверхности объективодержателя. Погрешность установки матричного приемника излучения - не более 1'.
6.1.9 Размер фоточувствительной площадки матричного приемника излучения по наименьшей стороне должен быть больше диаметра входного зрачка испытуемого объектива.
6.1.10 Вместо матричного приемника излучения допускается использовать цифровую камеру, если диаметр входного зрачка объектива камеры больше диаметра входного зрачка испытуемого объектива.
6.1.11 Среднеквадратическая деформация волнового фронта плоского автоколлимационного зеркала (см.
рисунок 2) должна быть не более

в пределах светового диаметра испытуемого объектива, где

- рабочая длина волны испытуемого объектива, мкм. Измерения проводят по ГОСТ Р 8.745.
6.1.12 Допуск параллельности опорного торца объективодержателя к плоскому автоколлимационному зеркалу должен быть 1'.
6.1.13 Требования к абсолютной погрешности угломерного устройства - по
5.1.19.
6.1.14 Остальные требования к узлам установок - по
5.1.31 -
5.1.34.
6.1.15 Методы, приведенные в настоящем разделе, применяют для измерений коэффициента

с относительной погрешностью не более +/- 3%.
Примечание - Допустимые погрешности определения коэффициента

устанавливают в ТД на испытуемый объектив и установку.
6.2 Подготовка к измерениям
6.2.1 Включают аппаратуру не менее чем за 30 мин до начала измерений.
6.2.2 Испытуемый объектив устанавливают в объективодержатель в обратном ходе лучей - первой линзой к матричному приемнику излучения или плоскому автоколлимационному зеркалу.
Примечание - Положение плоского автоколлимационного зеркала относительно объективодержателя допускается контролировать автоколлимационным теодолитом или автоколлиматором.
6.2.3 Диафрагму осветителя или предметную точку объектива интерферометра устанавливают в фокальную плоскость испытуемого объектива.
6.3 Проведение измерений
6.3.1 Диафрагму осветителя или предметную точку интерферометра совмещают с плоскостью наилучшего изображения испытуемого объектива.
6.3.2 Достигают четкого изображения входного зрачка объектива для центра углового поля объектива в пространстве предметов на выходе матричного приемника излучения (см.
рисунок 3) или интерферометра (см.
рисунок 4).
6.3.3 Изображение входного зрачка объектива регистрируют в памяти компьютера в виде графического файла.
6.3.4 Измерения по
6.3.2,
6.3.3 повторяют не менее трех раз.
6.3.5 Диафрагму перемещают в плоскости наилучшего изображения объектива в заданную точку поля +/-
Yi и получают изображение действующей части входного зрачка (см.
рисунок 3), или разворачивают поворотное устройство с плоским автоколлимационным зеркалом на углы

(см.
рисунок 4), соответствующие угловому полю в пространстве предметов, и перемещают интерферометр по поперечным направляющим до получения изображения действующей части входного зрачка.
6.3.6 Изображение входного зрачка объектива регистрируют в памяти компьютера в виде графического файла.
6.3.7 Измерения по
6.3.5,
6.3.6 повторяют не менее трех раз.
6.4 Обработка результатов
6.4.1 Вычисляют усредненные значения площади входного зрачка
S0 для центра углового поля объектива в пространстве предметов и площади действующей части входного зрачка

для угла

на краю углового поля объектива в пространстве предметов как произведение числа пикселей в графических файлах, составляющих входной зрачок испытуемого объектива, и площади одного пикселя.
6.4.2 Коэффициент

объектива для заданной угловой точки поля

в пространстве предметов вычисляют по формуле

. (18)
6.4.3 Виньетирование, характеризуемое значением уменьшения относительной освещенности (облученности) в заданной точке поля изображения объектива вычисляют по формуле

. (19)
6.4.4 Результаты измерений и вычислений виньетирования и коэффициента

оформляют в свободной форме и регистрируют в протоколе.
Примечания
1 Допускается выражать виньетирование и коэффициент

в процентах.
2 Для линзовых объективов с угловым полем в пространстве предметов не более 10°, работающих как с конечного расстояния, так и из бесконечности, допускается вместо коэффициента

измерять коэффициент

в прямом ходе лучей через диаметр входного зрачка с учетом требований ГОСТ 20828 и
ГОСТ Р 58566. В этом случае коэффициент

вычисляют по формуле

, (20)
где

- диаметр входного зрачка объектива для внеосевой точки поля, мм;
D0 - диаметр входного зрачка объектива для центра поля объектива, мм.
3 Если объектив в составе оптико-электронной системы экранирован вследствие конструктивных особенностей объектива, то дополнительно допускается провести измерение коэффициента KD и вычислить его по формуле
KD = Sэк/S0, (21)
где Sэк - площадь действующей части входного зрачка объектива, экранированного вследствие конструктивных особенностей объектива, мм2;
S0 - площадь входного зрачка объектива без экранирования.
4 Для объективов видимой области спектра допускается в схеме на
рисунке 3 заменять матричный приемник излучения экраном. В этом случае на прозрачный экран укрепляют лист миллиметровой бумаги и зарисовывают проекцию входного зрачка испытуемого объектива. Затем, с помощью планиметра или подсчетом площади, зарисованной на миллиметровой бумаге, определяют площадь проекции входного зрачка для центра поля зрения испытуемого объектива
S0, мм
2, и площадь действующей части входного зрачка

для угла

на краю углового поля объектива в пространстве предметов. Коэффициент

вычисляют по
формуле (19).
7 Оформление результатов измерений
7.1 Результаты измерений оформляют в виде протокола по форме, принятой на предприятии, проводившем измерения.
7.2 В протоколе указывают следующие сведения:
- полное и сокращенное наименование предприятия, проводившего измерения;
- дату проведения измерений;
- основание и цель проведения измерений;
- тип и номер основных средств измерений и вспомогательных устройств;
- данные об условиях проведения измерений (параметры окружающей среды или другие параметры, указанные в ТД);
- идентификационные данные образцов, характеристики которых подвергались измерениям;
- результаты измерений.
В конце протокола должны быть указаны должности, фамилии, инициалы, а также должны быть подписи всех сотрудников, проводивших измерения и обработку их результатов.
(справочное)
МЕТОДЫ ПРОВЕРКИ ЛИНЕЙНОСТИ СИСТЕМЫ "ПРИЕМНИК
ИЗЛУЧЕНИЯ - ИЗМЕРИТЕЛЬНЫЙ ПРИБОР"
А.1 Общие положения
Систему "приемник излучения - измерительный прибор" проверяют на линейность, т.е. пропорциональность фототока освещенности на фоточувствительной поверхности приемника излучения.
Измерение освещенности на фоточувствительной поверхности приемника излучения рекомендуется проводить одним из следующих методов:
- с использованием набора нейтральных образцовых светофильтров;
- с измерением расстояния до источника излучения на установке (оптической скамье).
Питание источника излучения осуществляют от сети стабилизированного напряжения с точностью стабилизации +/- 0,05% при изменении напряжения сети на +/- 10%.
А.2 Метод с использованием набора нейтральных образцовых светофильтров
Между источником и приемником излучения поочередно устанавливают нейтральные образцовые светофильтры с коэффициентом светопропускания

, снимают показания
Ni измерительного прибора и строят график (см.
рисунок А.1), на котором по оси абсцисс откладывают значения светопропускания
Ti нейтральных образцовых светофильтров, а по оси ординат - показания
Ni измерительного прибора.
Рисунок А.1 - График зависимости показаний измерительного
прибора от коэффициента пропускания
А.3 Метод с измерением расстояния до источника излучения
Проверку на установке (оптической скамье) выполняют с соблюдением всех правил фотометрических измерений. На фоточувствительную поверхность приемника излучения, установленную перпендикулярно к оси падающего пучка, направляют излучение от источника излучения. Изменяя расстояние
r между источником и приемником излучения, снимают ряд показаний
Ni измерительного прибора, при этом угловой размер источника излучения, видимый из точки расположения фотоприемника, не должен превышать 2° - 3°. По полученным результатам строят график (см.
рисунок А.2), на котором по оси абсцисс откладывают значения 1/
ri2, а по оси ординат - показания
Ni измерительного прибора.
Рисунок А.2 - График зависимости показаний измерительного
прибора от квадрата обратного расстояния между
источником и приемником излучения
А.4 Обработка результатов
Точку А, соответствующую максимальному показанию измерительного прибора, соединяют с началом координат. Величина

характеризует непропорциональность показаний измерительного прибора освещенности на фоточувствительной поверхности приемника излучения. На основании графиков (см.
рисунки А.1,
А.2) составляют таблицу поправок или строят график поправочных коэффициентов (см.
рисунок А.3), на котором по оси абсцисс откладывают значения по показаниям измерительного прибора, а по оси ординат - поправки

(средние арифметические значения результатов 10 измерений).
Рисунок А.3 - График зависимости поправочных коэффициентов
от показаний измерительного прибора
(справочное)
МЕТОД ПРОВЕРКИ ПРИЕМНИКА ИЗЛУЧЕНИЯ НА ОТСТУПЛЕНИЕ
ОТ ЗАКОНА КОСИНУСА
Приемник излучения проверяют на отступление от закона косинуса, т.е. пропорциональность фототока косинусу угла между направлением падающих лучей и нормалью к поверхности диафрагмы приемника излучения

.
Плоскость диафрагмы совмещают с вертикальной осью вращения поворотного устройства. На фоточувствительную поверхность приемника излучения направляют излучение от источника излучения, угловой размер которого не превышает 2° - 3°. Поверхность диафрагмы приемника излучения устанавливают перпендикулярно к оси падающего пучка с погрешностью не более 30'. Положение поворотного устройства при этом принимают за нулевое.
Питание источника света осуществляют от сети стабилизированного напряжения с точностью стабилизации +/- 1%.
По измерительному прибору снимают отсчеты:
E0 (поворотное устройство находится в нулевом положении) и

(поворотное устройство развернуто на угол

).
Поправочный коэффициент K вычисляют по формуле

. (Б.1)
Строят график (или оформляют таблицу) поправок, на котором по оси абсцисс откладывают углы поворота устройства, а по оси ординат - поправки K (средние арифметические значения результатов 10 измерений).
УДК 681.7.067.2:006.354 | |
Ключевые слова: оптика и фотоника, объективы для оптико-электронных систем, освещенность, облученность, виньетирование, распределение освещенности по полю изображения, распределение облученности по полю изображения, падение освещенности, падение облученности, коэффициент виньетирования |