Главная // Актуальные документы // ГОСТ Р (Государственный стандарт)СПРАВКА
Источник публикации
М.: ФГБУ "Институт стандартизации", 2023
Примечание к документу
Документ
введен в действие с 01.08.2024 с правом досрочного применения.
Название документа
"ГОСТ Р 52063-2023. Национальный стандарт Российской Федерации. Нефтепродукты жидкие. Определение группового углеводородного состава методом флуоресцентной индикаторной адсорбции"
(утв. и введен в действие Приказом Росстандарта от 10.07.2023 N 500-ст)
"ГОСТ Р 52063-2023. Национальный стандарт Российской Федерации. Нефтепродукты жидкие. Определение группового углеводородного состава методом флуоресцентной индикаторной адсорбции"
(утв. и введен в действие Приказом Росстандарта от 10.07.2023 N 500-ст)
Утвержден и введен в действие
агентства по техническому
регулированию и метрологии
от 10 июля 2023 г. N 500-ст
НАЦИОНАЛЬНЫЙ СТАНДАРТ РОССИЙСКОЙ ФЕДЕРАЦИИ
НЕФТЕПРОДУКТЫ ЖИДКИЕ
ОПРЕДЕЛЕНИЕ ГРУППОВОГО УГЛЕВОДОРОДНОГО СОСТАВА
МЕТОДОМ ФЛУОРЕСЦЕНТНОЙ ИНДИКАТОРНОЙ АДСОРБЦИИ
Liquid petroleum products. Determination of hydrocarbon
types by fluorescent indicator adsorption method
ГОСТ Р 52063-2023
Дата введения
1 августа 2024 года
с правом досрочного применения
1 ПОДГОТОВЛЕН Федеральным государственным бюджетным учреждением "Российский институт стандартизации" (ФГБУ "Институт стандартизации"), Техническим комитетом по стандартизации 31 "Нефтяные топлива и смазочные материалы" на основе собственного перевода на русский язык англоязычной версии стандарта, указанного в
пункте 4
2 ВНЕСЕН Техническим комитетом по стандартизации ТК 31 "Нефтяные топлива и смазочные материалы"
3 УТВЕРЖДЕН И ВВЕДЕН В ДЕЙСТВИЕ
Приказом Федерального агентства по техническому регулированию и метрологии от 10 июля 2023 г. N 500-ст
4 Настоящий стандарт является модифицированным по отношению к стандарту АСТМ Д1319-20а "Стандартный метод определения группового углеводородного состава в жидких нефтепродуктах флуоресцентной индикаторной адсорбцией)" (ASTM D1319-20a "Standard test method for hydrocarbon types in liquid petroleum products by fluorescent indicator adsorption", MOD) путем включения дополнительных положений, фраз, слов, ссылок, которые выделены в тексте курсивом, а также исключения:
- информации о моделях и поставщике аппаратуры;
- пункта 3.1.2;
- пункта 7.2.1.1;
- примечания 7;
- ссылок на исследовательские отчеты АСТМ;
- приложения X1.
Стандарт АСТМ разработан подкомитетом Д02.04.0С "Жидкостная хроматография" комитета Д02 "Нефтепродукты и смазочные материалы" Американского общества по испытаниям и материалам (АСТМ).
Наименование настоящего стандарта изменено относительно наименования указанного стандарта АСТМ для приведения в соответствие с ГОСТ Р 1.5-2012
(пункт 3.5)
Правила применения настоящего стандарта установлены в статье 26 Федерального закона от 29 июня 2015 г. N 162-ФЗ "О стандартизации в Российской Федерации". Информация об изменениях к настоящему стандарту публикуется в ежегодном (по состоянию на 1 января текущего года) информационном указателе "Национальные стандарты", а официальный текст изменений и поправок -
в ежемесячном информационном указателе "Национальные стандарты". В случае пересмотра (замены) или отмены настоящего стандарта соответствующее уведомление будет опубликовано в ближайшем выпуске ежемесячного информационного указателя "Национальные стандарты". Соответствующая информация, уведомление и тексты размещаются также в информационной системе общего пользования -
на официальном сайте Федерального агентства по техническому регулированию и метрологии в сети Интернет (www.rst.gov.ru)
1.1 Настоящий стандарт устанавливает метод определения объемной доли типов углеводородов флуоресцентной индикаторной адсорбцией в жидких нефтепродуктах, выкипающих до температуры 315 °C. Пробы, содержащие темноокрашенные компоненты, мешающие регистрации хроматографических зон, данным методом не анализируют.
Примечание - Для образцов, содержащих менее
1% об. олефиновых углеводородов, применяют другие методы испытания,
например см. [1].
1.2 Настоящий стандарт предназначен для анализа полностью выкипающих нефтепродуктов. Анализ результатов исследований показал, что показатели прецизионности не применимы к узким нефтяным фракциям, выкипающим при температуре примерно 315 °C. Такие образцы не элюируются должным образом, что приводит к разбросу результатов.
1.3 Требования настоящего стандарта применяют в т.ч. при проведении испытаний автомобильных топлив для двигателей с искровым зажиганием, таких как автомобильные бензины, содержащие/не содержащие оксигенаты - спирты и эфиры [например, метил-трет-бутиловый эфир (МТБЭ), этанол], в которых бензин является основным компонентом по объему.
1.4 Возможность применения настоящего стандарта для анализа продуктов, получаемых из угля, сланца или битуминозных песков, не установлена; показатели прецизионности к таким продуктам не применимы.
1.5 Показатели прецизионности метода установлены в
таблицах 3 и
4.
1.5.1 В
таблице 3 приведены показатели прецизионности для топлив, не содержащих кислородсодержащих компонентов, в диапазонах концентраций углеводородов: ароматических - от 5,0% об. до 99,0% об.; олефиновых - от 1,0% об. до 55,0% об.; насыщенных - от 1,0% об. до 95,0% об. в нефтяных фракциях, выкипающих до 315 °C. Указанные значения могут быть применимы/не применимы для автомобильных бензинов, в состав которых входят антидетонационные присадки, содержащие свинец.
1.5.2 Показатели прецизионности в
таблице 4 получены по результатам анализа межлабораторных испытаний автомобильных бензинов для двигателей с искровым зажиганием, содержащих/не содержащих кислородсодержащие компоненты [например, метил-
трет-бутиловый эфир (МТБЭ), этанол] и применимы только в диапазонах концентраций углеводородов: ароматических - от 13,0% об. до 40,0% об.; олефиновых - от 4,0% об. до 33,0% об.; насыщенных - от 45,0% об. до 68,0% об.
1.5.3 Для автомобильных бензинов, используемых в двигателях с искровым зажиганием, не содержащих кислородсодержащих компонентов, за пределами допустимых диапазонов концентраций, указанных в
таблице 4, можно использовать показатели прецизионности, приведенные в
таблице 3, в соответствующих диапазонах концентраций.
1.6 Кислородсодержащие присадки [метанол, этанол, метил-
трет-бутиловый эфир (МТБЭ), трет-амилметиловый эфир (ТАМЕ), этил-
трет-бутиловый эфир (ЭТБЭ)] не препятствуют определению группового состава в концентрациях, обычных для товарных продуктов. Такие кислородсодержащие присадки не обнаруживают настоящим методом, т.к. они элюируются со спиртовым десорбентом. Другие кислородсодержащие соединения следует проверять индивидуально. Результаты анализа образцов с кислородсодержащими присадками должны быть скорректированы при окончательной обработке.
1.7 Следует соблюдать осторожность при обращении с ртутью и ртутьсодержащими продуктами.
1.8 Значения, указанные в единицах СИ, считают стандартными. В круглых скобках приведены значения для справки.
1.9 В настоящем стандарте не предусмотрено рассмотрение всех вопросов обеспечения безопасности, связанных с его применением. Пользователь настоящего стандарта несет ответственность за установление соответствующих правил по технике безопасности и охране здоровья персонала, а также определяет целесообразность применения законодательных ограничений перед его использованием.
Особые меры предосторожности указаны в
разделе 7, подразделах 8.1 и
10.5.
В настоящем стандарте использованы нормативные ссылки на следующие стандарты:
ГОСТ 2177 (ИСО 3405-
88) Нефтепродукты. Методы определения фракционного состава
ГОСТ 2517 Нефть и нефтепродукты. Методы отбора проб
ГОСТ 31873 Нефть и нефтепродукты. Методы ручного отбора проб
ГОСТ 32338 Бензины. Определение МТБЭ, ЭТБЭ, ТАМЭ, ДИПЭ, метанола, этанола и трет-бутанола методом инфракрасной спектроскопии
ГОСТ 32595 Топливо авиационное для газотурбинных двигателей Джет А-1 (Jet A-1). Технические условия
ГОСТ 33900 Бензин. Определение содержания оксигенатов методом газовой хроматографии с селективным детектированием по кислороду пламенно-ионизационным детектором
ГОСТ EN 13132 Нефтепродукты жидкие. Бензин неэтилированный. Определение органических кислородсодержащих соединений и общего содержания органически связанного кислорода методом газовой хроматографии с использованием переключающихся колонок
ГОСТ Р 57036 Нефтепродукты. Определение фракционного состава при атмосферном давлении
Примечание - При пользовании настоящим стандартом целесообразно проверить действие ссылочных стандартов в информационной системе общего пользования - на официальном сайте Федерального агентства по техническому регулированию и метрологии в сети Интернет или по ежегодному информационному указателю "Национальные стандарты", который опубликован по состоянию на 1 января текущего года, и по выпускам ежемесячного информационного указателя "Национальные стандарты" за текущий год. Если заменен ссылочный стандарт, на который дана недатированная ссылка, то рекомендуется использовать действующую версию этого стандарта с учетом всех внесенных в данную версию изменений. Если заменен ссылочный стандарт, на который дана датированная ссылка, то рекомендуется использовать версию этого стандарта с указанным выше годом утверждения (принятия). Если после утверждения настоящего стандарта в ссылочный стандарт, на который дана датированная ссылка, внесено изменение, затрагивающее положение, на которое дана ссылка, то это положение рекомендуется применять без учета данного изменения. Если ссылочный стандарт отменен без замены, то положение, в котором дана ссылка на него, рекомендуется применять в части, не затрагивающей эту ссылку.
В настоящем стандарте применены термины и определения по ГОСТ 26098, а также следующие термины с соответствующими определениями:
3.1 ароматические углеводороды (aromatics): Сумма моноциклических и полициклических ароматических углеводородов, ароматических олефинов, некоторых диенов, соединений, содержащих серу и азот, или высококипящих кислородсодержащих соединений (за исключением МТБЭ, ТАМЕ, ЭТБЭ), в объемных процентах.
3.2 олефиновые углеводороды (олефины) (olefins): Сумма олефинов, циклоалкенов и некоторых диенов в объемных процентах.
3.3 насыщенные углеводороды (saturates): Сумма алканов и циклоалканов в объемных процентах.
Вводят примерно 0,75 см3 образца в специальную стеклянную адсорбционную колонку, заполненную активированным силикагелем; небольшой слой силикагеля должен содержать смесь флуоресцентных красителей. После адсорбции образца на силикагеле добавляют в колонку спирт для десорбции образца. В соответствии со своей адсорбционной способностью углеводороды разделяются на ароматические, олефиновые и насыщенные. Вместе с разделением углеводородов разных типов происходит распределение флуоресцентного индикатора с образованием селективно окрашенных зон насыщенных, олефиновых и ароматических углеводородов, видимых в ультрафиолетовом излучении. Вычисляют объемную долю каждой группы углеводородов по длине окрашенных зон.
5 Назначение и применение
Суммарная объемная доля насыщенных, олефиновых и ароматических углеводородов является важным фактором при оценке качества нефтяных фракций, используемых как компоненты компаундирования бензина и сырье для каталитического риформинга. Результат определения также существенен для характеристики нефтяных фракций и продуктов каталитического риформинга, термического и каталитического крекинга, используемых при компаундировании моторных и авиационных топлив, соответствующих,
например, приводимым в ГОСТ 32595.
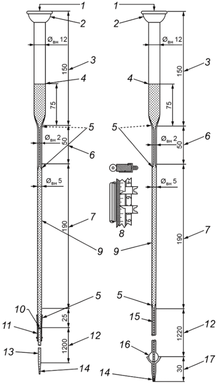
6.1 Колонки адсорбционные
Колонки адсорбционные представляют собой стеклянные трубки, состоящие из секции загрузки с капиллярной шейкой, секции разделения и аналитической секции. Трубки для адсорбционных колонок могут быть как с точным диаметром, так и со стандартной толщиной стенок аналитической секции (см.
рисунок 1). В
таблице 1 указаны размеры и предельные отклонения размеров колонок.
|
a - колонка со стандартной толщиной стенок | b - колонка с прецизионным диаметром |
1 - нагнетательный газ; 2 - сферический шлиф 28/12;
3 - загрузочная секция; 4 - уровень, до которого набивают
силикагель; 5 - длинный конус; 6 - шейка; 7 - секция
разделения; 8 - устройство измерения длины зон
(необязательное); 9 - окрашенный силикагель; 10 - кончик
трубки наружным диаметром 3,5 мм, внутренним диаметром 2 мм;
11 - виниловая трубка внутренним диаметром 3,3 мм;
12 - аналитическая секция; 13 - трубка со стандартной
стенкой, наружным диаметром 3,0 мм, внутренним диаметром
1,5 мм; 14 - конец трубки, вытянутый в тонкий капилляр;
15 - прецизионная капиллярная трубка внутренним диаметром
от 1,60 до 1,65 мм; 16 - сферический шлиф 12/2;
17 - кончик трубки
Рисунок 1 - Адсорбционные колонки с аналитической секцией
со стандартной толщиной стенок (a)
и прецизионным диаметром (b)
Таблица 1
Размеры колонок и предельные отклонения
Секция колонки | Размеры адсорбционной колонки, мм |
со стандартной толщиной стенок | с прецизионным диаметром |
Загрузочная: | | |
внутренний диаметр | 12 +/- 2 | 12 +/- 2 |
набивка силикагеля до уровня | примерно 75 | примерно 75 |
общая длина | 150 +/- 5 | 150 +/- 5 |
Шейка: | | |
внутренний диаметр | 2,0 +/- 0,5 | 2,0 +/- 0,5 |
общая длина | 50 +/- 5 | 50 +/- 5 |
Секция разделения: | | |
внутренний диаметр | 5,0 +/- 0,5 | 5,0 +/- 0,5 |
общая длина | 190 +/- 5 | 190 +/- 5 |
Длинная конусная секция ниже секции разделения: | | |
наружный диаметр кончика | 3,5 +/- 0,5 | - |
внутренний диаметр кончика | 2,0 +/- 0,5 | - |
общая длина | 25 +/- 2 | - |
Аналитическая: | | |
внутренний диаметр | 1,5 +/- 0,5 | 1,60 - 1,65 |
общая длина | 1200 +/- 30 | 1200 +/- 30 |
Наконечник: | | |
общая длина | - | 30 +/- 5 |
6.1.1 Внутренний диаметр аналитической секции колонки при использовании трубки должен быть от 1,60 до 1,65 мм. При проверке диаметра трубки с помощью столбика ртути отклонение длины 100 мм столбика ртути не должно превышать 0,3 мм в любой части аналитической секции. Для обеспечения герметичности разных частей колонки используют длинные конусные соединения вместо соединений с упорным заплечиком. Силикагель удерживается в колонке маленьким кусочком стекловаты, расположенным между шаром и чашкой сферического соединения 12/2, закрывающим выход из аналитической секции колонки. Кончик колонки, присоединенный к чашке сферического соединения 12/2, должен иметь внутренний диаметр 2 мм. Закрепляют шар и чашку сферического соединения друг с другом таким образом, чтобы кончик колонки во время набивки и при проведении испытаний не отклонялся от прямой линии с аналитической секцией. Для соединения нижней части разделительной секции колонки (которая может иметь квадратное сечение) с одноразовым концом аналитической секции диаметром 3 мм допускается использовать товарные соединители компрессионного типа при условии, что их внутренняя геометрия аналогична рассматриваемым частям колонки и обеспечивает плавный переход внутренних диаметров друг в друга для обеих стеклянных частей колонки. Такие же товарные соединители компрессионного типа допускается использовать на кончике аналитической части диаметром 3 мм, имеющем вплавленный пористый держатель силикагеля.
6.1.2 Допускается использовать адсорбционную колонку со стандартной толщиной стенок трубки
(рисунок 1 a). При использовании такой трубки в качестве аналитической секции колонки следует выбирать трубку постоянного внутреннего диаметра и обеспечивать герметичность соединения секции разделения и аналитической секции. Трубку со стандартной толщиной стенок не калибруют, но проверяют наружный диаметр обычным штангенциркулем по всей длине трубки. При отклонении измеренного диаметра от заданного на 0,5 мм и более трубку не используют, т.к. в этом случае возможно изменение внутреннего диаметра трубки. Для удержания силикагеля в аналитической секции колонки готовят конец трубки, вытягивая его до тонкого капилляра. Другой конец аналитической секции колонки соединяют с секцией разделения с использованием виниловой трубки длиной (30 +/- 5) мм и убеждаются в том, что обе стеклянные секции соприкасаются друг с другом. Для обеспечения герметичности соединения стеклянной трубки аналитической секции и виниловой трубки верхний конец стеклянной трубки нагревают до тех пор, пока он не станет достаточно горячим для расплавления виниловой трубки, и затем надевают на него виниловую трубку. Герметичность соединения можно обеспечить другим способом, надевая виниловую трубку на стеклянную трубку и плотно обматывая ее мягкой проволокой. Для соединения нижней части разделительной секции колонки (которая может иметь квадратное сечение) с аналитической секцией диаметром 3 мм допускается использовать товарные соединители компрессионного типа при условии, что их внутренняя геометрия аналогична рассматриваемым частям колонки и обеспечивает плавный переход внутренних диаметров друг в друга для обеих стеклянных частей колонки. Такие же товарные соединители компрессионного типа допускается использовать на кончике аналитической части диаметром 3 мм, имеющем вплавленный пористый держатель силикагеля.
6.1.3 Альтернативное подсоединение подачи нагнетательного газа приведено на
рисунке 2. Размеры и требования к адсорбционной колонке не меняются.
1 - рукав подачи газа; 2 - резьбовая крышка с отверстием
и цилиндрической круглой резьбой GL 25; 3 - штуцер
с круговым зубцом для рукава; 4 - адаптер внутренним
диаметром 17 мм, подходящий для уплотнения;
5 - уплотнительное кольцо круглого сечения из витона
V-70-016; 6 - круглая резьба для стеклянных изделий
номинальным размером 25 мм
Примечание -
Другие размеры и требования к адсорбционной колонке приведены на рисунке 1 и в таблице 1.
Рисунок 2 - Адсорбционная колонка с типичным резьбовым
подсоединением подачи нагнетательного газа
6.2 Устройство измерения длины окрашенных зон
Границы окрашенных зон отмечают на стеклянной колонке стеклографом, а длину зоны измеряют линейкой, располагая колонку горизонтально. Допускается измерять длину зон, закрепив линейку рядом с колонкой и установив на линейку четыре подвижных металлических индикаторных зажима (см.
рисунок 1) для маркировки границ зон и измерения длины каждой зоны.
6.3 Источник ультрафиолетового излучения
Применяют источник излучения с длиной волны преимущественно 365 нм, состоящий из одного или двух блоков длиной 915 или 1220 мм, установленных вертикально вдоль колонки. Регулируют источник излучения для получения наилучшей флуоресценции.
6.4 Электровибратор для отдельной колонки или стенда, на котором закреплено несколько колонок.
6.5 Шприц вместимостью 1 см3 с ценой деления 0,01 или 0,02 см3 и длиной иглы не менее 100 мм.
6.6 Регуляторы давления, поддерживающие и регулирующие давление подачи газа в диапазоне от 0 до 103 кПа.
6.7 Устройство измерения времени.
6.8 Допускается использовать аппаратуру, отличную от указанной, с характеристиками не хуже установленных настоящим стандартом и обеспечивающую получение достоверных результатов определения.
7.1 Силикагель
Силикагель должен соответствовать требованиям, приведенным в
таблице 2. Перед применением сушат силикагель в плоском лабораторном сосуде при температуре 175 °C в течение 3 ч. Переносят высушенный горячий силикагель в герметичный (воздухонепроницаемый) сосуд и хранят, защищая от попадания атмосферной влаги.
Примечания
1 Допускается использовать силикагель с характеристиками, отличными от указанных в таблице 2, обеспечивающий получение достоверных результатов определения.
2 Установлено, что силикагель из разных партий может вызывать затухание границ олефиновых углеводородов, что также может повлиять на прецизионность результатов.
Таблица 2
Наименование | Значение |
Поверхностная площадь <a>, м 2/г | От 430 до 530 |
pH 5%-ной водной суспензии <b> | От 5,5 до 7,0 |
Потери при прокаливании при температуре 955 °C, % масс. | От 4,5 до 10,0 |
Содержание железа в виде Fe2O3, сухая основа, ppm, не более | 50 |
Массовая доля частиц, %, не более, оставшихся на сите <c>: | |
60 (250 мкм) | 0,0 |
80 (180 мкм) | 1,2 |
100 (150 мкм) | 5,0 |
прошедших сквозь сито N 200 (75 мкм) | 15,0 |
<a> Поверхностную площадь силикагеля определяют по [2]. <b> Показатель pH силикагеля определяют следующим образом: калибруют pH-метр по стандартным буферным растворам с pH 4 и pH 7. Помещают 5 г образца силикагеля в стакан вместимостью 250 см 3, добавляют 100 см 3 деионизированной воды, перемешивают суспензию на магнитной мешалке в течение 20 мин и определяют pH, используя калиброванный pH-метр. <c> Подробные требования к указанным ситам (см. [3]). |
7.2 Гель с красителем (флуоресцентным индикатором)
Силикагель стандартный, окрашенный смесью перекристаллизованного красителя (допускается использование любого красителя, обеспечивающего проведение определения по настоящему методу; примером красителя может быть Petrol Red AB4) и порций олефиновых и ароматических красителей, очищенных способом хроматографической адсорбции, осажденной на силикагель. Окрашенный силикагель хранят в защищенном от света и влаги месте в условиях и сроках, определенных его производителем. Рекомендуется хранить силикагель в атмосфере азота, в которой окрашенный силикагель может храниться не менее пяти лет. При необходимости небольшие порции окрашенного силикагеля переносят в рабочий сосуд меньшей вместимости, из которого силикагель отбирают для анализа.
7.3 Спирт изоамиловый (3-метил-1-бутанол) чистотой не менее 99%.
7.4 Спирт изопропиловый (2-пропанол) чистотой не менее 99%.
7.5 Газ нагнетательный
Воздух (или азот, о.с.ч.), подаваемый в верхнюю часть колонки под давлением, регулируемым по манометру, в диапазоне от 0 до 103 кПа.
7.6 Ацетон, квалификации ч.д.а., без осадка.
7.7 Растворы буферные, pH 4 и 7.
7.8 Допускается использовать реактивы и материалы, отличные от указанных, с характеристиками не хуже установленных настоящим стандартом и обеспечивающие получение достоверных результатов определения.
Отбирают представительную пробу
по ГОСТ 2517 или ГОСТ 31873. Контейнер с пробой нефтепродуктов, которые можно отнести к группе 2 или ниже по испаряемости согласно ГОСТ Р 57036 или ГОСТ 2177, до испытаний хранят при температуре ниже 4 °C.
Устанавливают аппаратуру в затемненном помещении или в камере для облегчения наблюдения за границами окрашенных зон. При проведении нескольких одновременных определений собирают аппаратуру, состоящую из источника ультрафиолетового излучения, стойки для крепления колонок и системы газовых коллекторов с приспособлениями для подсоединения необходимого числа колонок.
10.1 Перед началом испытания следует убедиться в том, что колонка плотно набита силикагелем до соответствующего уровня в загрузочной секции, включая нужное количество окрашенного силикагеля (от 3 до 5 мм), добавленного после заполнения секции разделения примерно наполовину (см.
примечание).
Примечание - Одним из способов подготовки колонки к анализу является свободное подвешивание колонки с помощью зажима, находящегося непосредственно под сферическим шлифом загрузочной секции. При вибрации по всей длине колонки через стеклянную воронку добавляют в загрузочную секцию силикагель до тех пор, пока секция разделения не заполнится наполовину. Выключают вибратор и добавляют слой окрашенного силикагеля толщиной от 3 до 5 мм,
затем сверху добавляют еще один слой неокрашенного силикагеля толщиной от 3 до 5 мм. Вновь включают вибратор и добавляют силикагель до тех пор, пока плотно набитый в колонке силикагель не заполнит загрузочную секцию примерно на 75 мм. Во время вибрации протирают колонку по всей длине влажной салфеткой. Это способствует лучшей набивке колонки за счет снятия статического электричества. После завершения заполнения колонки продолжают вибрацию колонки еще не менее 4 мин. Допускается заполнять одновременно несколько колонок, установив их на стойке, к которой подсоединен электрический вибратор.
10.2 Заполненную колонку присоединяют к собранной в затемненном помещении или камере испытательной аппаратуре, а при использовании стационарной измерительной линейки прикрепляют ее к нижнему концу колонки.
10.3 Охлаждают пробы, отнесенные к группе по испаряемости 2 или ниже по
ГОСТ Р 57036 или ГОСТ 2177, и шприц до температуры ниже 4 °C. Отбирают шприцем образец объемом (0,75 +/- 0,03) см
3 и вводят в загрузочную секцию примерно на 30 мм ниже поверхности силикагеля.
10.4 Заполняют загрузочную секцию изопропиловым спиртом до шлифа. Подсоединяют колонку к газовому коллектору и в течение (2,5 +/- 0,5) мин подают газ под давлением (14 +/- 2) кПа, продвигая фронт жидкости вниз по колонке. Повышают давление до (34 +/- 2) кПа еще на (2,5 +/- 0,5) мин, а затем регулируют его таким образом, чтобы общее время продвижения образца составило примерно 1 ч. Обычно для образцов бензина необходимо давление газа в диапазоне от 28 до 69 кПа, для топлив для реактивных двигателей - от 69 до 103 кПа. Давление газа зависит от плотности набивки колонки силикагелем и молекулярной массы образца. Как правило, оптимальное время продвижения образца 1 ч, однако для образцов с высокой молекулярной массой может потребоваться более длительное время.
10.5 После продвижения красной зоны, соответствующей смеси ароматических углеводородов со спиртом, примерно на 350 мм в аналитическую секцию колонки снимают первую серию показаний, быстро отмечая границы зон каждого типа углеводородов, наблюдаемые в ультрафиолетовом излучении в следующей последовательности. Для нефлуоресцирующей зоны насыщенных углеводородов отмечают край фронта загружаемого образца и точку, в которой флуоресценция желтым цветом впервые достигает своей максимальной интенсивности; для верхнего конца второй зоны (или зоны олефинов) отмечают точку, в которой наблюдается первая интенсивная флуоресценция голубого цвета; для верхнего конца третьей зоны (или зоны ароматических углеводородов) отмечают верхний конец первой зоны красноватого или коричневого цвета. Определение расположения границ зон приведено на
рисунке 3. При испытании бесцветных дистиллятов граница зоны смеси ароматических углеводородов со спиртом четко определяется красным кольцом красителя. Примеси, присутствующие в продуктах крекинга (крекированного топлива), часто затемняют это красное кольцо, придавая ему коричневую окраску, длина которой меняется, но ее можно рассматривать как часть зоны ароматических углеводородов, за исключением тех случаев, когда отсутствует зона голубой флуоресценции; в таком случае коричневое или красноватое кольцо рассматривают как часть следующей различимой зоны, находящейся в колонке ниже. В некоторых образцах топлива с оксигенатами может появиться другая красная зона на несколько сантиметров выше красноватой или коричневой границы зоны смеси ароматических углеводородов со спиртом (см.
рисунок 4). Этой зоной следует пренебречь. Отмечая зоны, необходимо избегать касания колонки руками. Если границы зон отмечены индикаторными зажимами, записывают результаты измерений.
Примечание - Первая зона желтой флуоресценции определена как центр желтой полосы флуоресценции с минимальной интенсивностью.
1 - верхняя часть колонки; 2 - красное кольцо; 3 - зона
ароматических углеводородов; 4 - первая интенсивная голубая
флуоресценция; 5 - зона олефинов; 6 - первая интенсивная
желтая флуоресценция; 7 - зона насыщенных углеводородов;
8 - фронт элюирования чистой жидкости;
9 - нижняя часть колонки
Рисунок 3 - Схема идентификации хроматографических границ
1 - верхняя часть колонки; 2 - дополнительное красное
кольцо; 3 - красно-коричневое кольцо; 4 - зона ароматических
углеводородов; 5 - первая интенсивная голубая флуоресценция;
6 - зона олефинов; 7 - первая интенсивная желтая
флуоресценция; 8 - зона насыщенных углеводородов;
9 - фронт элюирования чистой жидкости;
10 - нижняя часть колонки
Рисунок 4 - Схема идентификации хроматографических
границ для образцов топлив с оксигенатами
10.6 После продвижения образца еще не менее чем на 50 мм вниз по колонке снимают вторую серию показаний, отмечая зоны в обратном описанному в
10.5 порядке для сведения к минимуму ошибок, обусловленных продвижением вперед границ окрашенных зон во время снятия показаний. Если отметка окрашенных зон сделана стеклографом, для следующей серии измерений можно использовать другой цвет и длину каждой зоны измерять в конце испытания, располагая аналитическую часть колонки горизонтально на столе. Если границы зон отмечали индикаторными зажимами, записывают результаты измерений.
10.7 Ошибочные результаты могут быть обусловлены неправильной набивкой колонки силикагелем или неполным элюированием углеводородов спиртом. Для колонок с прецизионным диаметром неполное элюирование можно определить по суммарной длине нескольких зон, которая для удовлетворительного анализа должна быть не менее 500 мм. Для колонки со стандартной толщиной стенок указанный выше критерий длины нескольких зон не применяют, т.к. внутренний диаметр аналитической части у всех колонок разный.
Примечание - Для улучшения элюирования образцов, содержащих значительное количество соединений, выкипающих при температуре выше 204 °C, вместо изопропилового спирта рекомендуется использовать изоамиловый спирт.
10.8 Сбрасывают давление газа, отсоединяют колонку. Для извлечения отработанного силикагеля из колонки с прецизионным диаметром переворачивают ее над сливом и вставляют в широкий конец колонки медицинскую трубку N 19 достаточной длины со срезанным под углом 45° концом. Противоположный конец трубки через отрезок медной трубки наружным диаметром 6 мм с использованием резиновой трубки соединяют с водопроводным краном и промывают сильной струей воды. Затем колонку промывают ацетоном, не содержащим осадка, и сушат струей воздуха.
11.1 Для каждой серии измерений вычисляют концентрацию ароматических Cа, олефиновых Cо и насыщенных Cs углеводородов, % об., с точностью до 0,1% об. по следующим формулам:

(1)

(2)

(3)
где Lа - длина зоны ароматических углеводородов, мм;
Lо - длина зоны олефиновых углеводородов, мм;
Ls - длина зоны насыщенных углеводородов, мм;
L - сумма Lа + Lо + Ls, мм.
Определяют средние арифметические значения соответствующих концентраций каждого типа углеводородов и регистрируют, как указано в
12.1. При необходимости корректируют результат (по большему значению) таким образом, чтобы сумма объемных долей типов углеводородов составляла 100%.
11.2
Формулы (1) -
(3) используют при вычислении концентраций углеводородов на основе образца, не содержащего оксигенатов. Они корректны только для образцов, состоящих исключительно из углеводородов. Для образцов с кислородсодержащими компонентами (см.
1.6) полученные результаты скорректировать по формуле

(4)
где C' - концентрация типа углеводородов в анализируемом образце, % об.;
C - концентрация типа углеводородов на основе образца, не содержащего оксигенаты, % об.;
Определяют соответствующие средние арифметические значения вычисленных концентраций каждого типа углеводородов
C' и регистрируют, как указано в
12.2. При необходимости корректируют результаты по большему значению
C' таким образом, чтобы сумма трех компонентов
C' плюс
B была равна 100%.
12.1 Для образцов, состоящих исключительно из углеводородов (не содержащих оксигенатов), регистрируют средние арифметические значения концентраций типов углеводородов с точностью до 0,1% об., вычисленные по
формулам (1) -
(3).
12.2 Для образцов, содержащих оксигенаты, регистрируют средние арифметические значения скорректированных концентраций типов углеводородов в анализируемом образце
C' с точностью до 0,1% об., вычисленные по
формуле (4). Поскольку общее содержание оксигенатов в образце в объемных процентах не измеряют и по настоящему стандарту не вычисляют, а определяют по
ГОСТ EN 13132,
ГОСТ 33900,
ГОСТ 32338 (см.
[4]) или аналогичному методу [см. переменную
B в
формуле (4)], регистрировать общее содержание оксигенатов по настоящему стандарту не требуется.
Используют нижеприведенные критерии при оценке приемлемости результатов определения (с 95%-ной доверительной вероятностью).
13.1 Повторяемость
Расхождение результатов испытаний, полученных последовательно одним и тем же оператором на одном и том же оборудовании при постоянных рабочих условиях на идентичном испытуемом материале в течение длительного интервала времени при нормальном и правильном проведении испытания, не должно превышать значений, указанных в
таблицах 3 или
4, более чем в одном случае из 20.
Расхождение двух единичных и независимых результатов, полученных разными операторами в разных лабораториях на идентичном испытуемом материале в течение длительного интервала времени при нормальном и правильном проведении испытания, не должно превышать значений, указанных в
таблицах 3 или
4, более чем в одном случае из 20.
Таблица 3
Повторяемость и воспроизводимость для образцов,
не содержащих оксигенатов
В объемных процентах
Тип углеводорода | Объемная доля | Повторяемость | Воспроизводимость |
Ароматические | 5,0 | 0,7 | 1,5 |
15,0 | 1,2 | 2,5 |
25,0 | 1,4 | 3,0 |
35,0 | 1,5 | 3,3 |
45,0 | 1,6 | 3,5 |
50,0 | 1,6 | 3,5 |
55,0 | 1,6 | 3,5 |
65,0 | 1,5 | 3,3 |
75,0 | 1,4 | 3,0 |
85,0 | 1,2 | 2,5 |
95,0 | 0,7 | 1,5 |
99,0 | 0,3 | 0,7 |
Олефиновые | 1,0 | 0,4 | 1,7 |
3,0 | 0,7 | 2,9 |
5,0 | 0,9 | 3,7 |
10,0 | 1,2 | 5,1 |
15,0 | 1,5 | 6,1 |
20,0 | 1,6 | 6,8 |
25,0 | 1,8 | 7,4 |
30,0 | 1,9 | 7,8 |
35,0 | 2,0 | 8,2 |
40,0 | 2,0 | 8,4 |
45,0 | 2,0 | 8,5 |
50,0 | 2,1 | 8,6 |
55,0 | 2,0 | 8,5 |
Насыщенные | 1,0 | 0,3 | 1,1 |
5,0 | 0,8 | 2,4 |
15,0 | 1,2 | 4,0 |
25,0 | 1,5 | 4,8 |
35,0 | 1,7 | 5,3 |
45,0 | 1,7 | 5,6 |
50,0 | 1,7 | 5,6 |
55,0 | 1,7 | 5,6 |
65,0 | 1,7 | 5,3 |
75,0 | 1,5 | 4,8 |
85,0 | 1,2 | 4,0 |
95,0 | 0,3 | 2,4 |
Таблица 4
Повторяемость и воспроизводимость для образцов
топлив для двигателей с искровым зажиганием,
содержащих/не содержащих оксигенаты
В объемных процентах
Тип углеводорода | Обобщенный диапазон результатов испытаний | Повторяемость | Воспроизводимость |
Ароматические | 9,3 - 43,7 | 1,3 | 3,7 |
| 2,1 - 39,7 | 0,26X0,6 | 0,82X0,6 |
Насыщенные | 40,8 - 72,2 | 1,5 | 4,2 |
<a> X - среднее арифметическое значение двух определений для углеводорода конкретного типа; каждый из этих результатов должен находиться в диапазонах, указанных в таблице 5. <b> Несколько примеров, вычисленных для концентрации олефинов (% об.) по формулам, приведенным выше: |
Концентрация | Повторяемость | Воспроизводимость |
4,0 | 0,6 | 1,9 |
10,0 | 1,0 | 3,3 |
20,0 | 1,6 | 4,9 |
30,0 | 2,0 | 6,3 |
33,0 | 2,1 | 6,6 |
Таблица 5
Допустимые диапазоны для результатов испытаний
углеводородов различных типов
Объемная доля углеводорода конкретного типа, % об. | Минимальное среднее значение <a> | Максимальное среднее значение <a> | Rмин | Rмакс | Обобщенный диапазон результатов испытаний (см. таблицу 4) <b> |
Общее содержание ароматических углеводородов (см. таблицу 4) в диапазоне достоверных отчетных результатов испытаний | 13,0 | 40,0 | 3,7 | 3,7 | 9,3 - 43,7 |
Общее содержание олефинов (см. таблицу 4) в диапазоне достоверных отчетных результатов испытаний | 4,0 | 33,0 | 1,9 | 6,7 | 2,1 - 39,7 |
Общее содержание насыщенных углеводородов (см. таблицу 4) в диапазоне достоверных отчетных результатов испытаний | 45,0 | 68,0 | 4,2 | 4,2 | 40,8 - 72,2 |
<a> Рабочий диапазон метода: - верхний ожидаемый предел содержания, оцениваемый с использованием максимального среднего выборочного значения, полученного при межлабораторных исследованиях (ILS); - нижний ожидаемый предел содержания, оцениваемый с использованием минимального среднего выборочного значения, полученного при межлабораторных исследованиях (ILS). <b> Достоверный диапазон результатов испытаний: из-за различий в процедуре испытаний результаты в пределах этого диапазона считают обоснованными для отчета и применения формул для оценки показателей прецизионности ( R и r): - верхний предел: максимальное среднее выборочное значение, полученное при межлабораторных исследованиях (ILS) + R - максимальное среднее выборочное значение, полученное при межлабораторных исследованиях по [5]; - нижний предел: минимальное среднее выборочное значение, полученное при межлабораторных исследованиях (ILS) - R - минимальное среднее значение, полученное при межлабораторных исследованиях (ILS) по [5]. Примечание - Из-за различий в условиях испытаний результаты в пределах указанных ниже диапазонов можно считать достоверными при предоставлении отчета и применении формул для прецизионности согласно [5]. |
13.3 Значения повторяемости и воспроизводимости, приведенные в
таблице 3, используют только для образцов неэтилированного топлива с конечной температурой кипения ниже 315 °C, не содержащих оксигенатов.
13.4 Таблицу 4 следует использовать для оценки показателей повторяемости и воспроизводимости результатов испытаний автомобильного топлива (бензина) для двигателей с искровым зажиганием, содержащего/не содержащего оксигенаты в указанных диапазонах их концентраций. Для автомобильного топлива для двигателей с искровым зажиганием, не содержащего кислорода, вне пределов допустимых результатов испытаний по определению диапазона концентраций, указанного в
таблице 4, можно использовать показатели прецизионности, приведенные в
таблице 3 (в пределах соответствующих диапазонов концентраций).
Примечание - Прецизионность, указанная в
таблице 4, установлена с использованием топлив для двигателей с искровым зажиганием с кислородсодержащими компонентами и с компонентами, не содержащими кислород. Для определения оксигенатов в межлабораторных испытаниях для определения прецизионности, указанной в
таблице 4, применяли методы испытаний по
ГОСТ 33900 (см. также
[4])
.
| АСТМ Д2710 | Метод определения бромного числа углеводородов нефти потенциометрического титрования |
ASTM D2710 | (Test method for bromine index of petroleum hydrocarbons by electrometric titration) |
| АСТМ Д3663 | Стандартный метод определения поверхностной площади катализаторов и их носителей |
ASTM D3663 | (Standard test method for surface area of catalysts and catalyst carriers) |
| АСТМ Е11 | Стандартная спецификация на проволочную ткань для испытательных сит и испытательные сита |
ASTM E11 | (Standard specification for woven wire test sieve cloth and test sieves) |
| АСТМ Д4815 | Метод определения MTBE, ETBE, TAME, DIPE, третичного амилового спирта и спиртов от C1 до C4 в бензине с газовой хроматографией |
ASTM D4815 | (Test method for determination of MTBE, ETBE, TAME, DIPE, tertiary-amyl alcohol and C1 to C4 alcohols in gasoline by gas chromatography) |
| АСТМ Д6300 | Практика определения показателей прецизионности и систематической погрешности для их использования в методах испытаний нефтепродуктов, жидких топлив и смазочных материалов |
ASTM D6300 | (Practice for determination of precision and bias data for use in test methods for petroleum products, liquid fuels and lubricants) |
УДК 665.6:546.22.06:006.354 | |
Ключевые слова: жидкие нефтепродукты, групповой углеводородный состав, метод флуоресцентной индикаторной адсорбции |