Главная // Актуальные документы // ГОСТ Р (Государственный стандарт)СПРАВКА
Источник публикации
М.: ФГБУ "Институт стандартизации", 2023
Примечание к документу
Документ
введен в действие с 01.03.2024.
Название документа
"ГОСТ Р 70626-2023. Национальный стандарт Российской Федерации. Оптика и фотоника. Микроскопы. Основные элементы конструкции. Размеры"
(утв. и введен в действие Приказом Росстандарта от 11.10.2023 N 1111-ст)
"ГОСТ Р 70626-2023. Национальный стандарт Российской Федерации. Оптика и фотоника. Микроскопы. Основные элементы конструкции. Размеры"
(утв. и введен в действие Приказом Росстандарта от 11.10.2023 N 1111-ст)
Утвержден и введен в действие
Приказом Федерального
агентства по техническому
регулированию и метрологии
от 11 октября 2023 г. N 1111-ст
НАЦИОНАЛЬНЫЙ СТАНДАРТ РОССИЙСКОЙ ФЕДЕРАЦИИ
ОПТИКА И ФОТОНИКА
МИКРОСКОПЫ
ОСНОВНЫЕ ЭЛЕМЕНТЫ КОНСТРУКЦИИ.
РАЗМЕРЫ
Optics and photonics. Microscopes.
Basic structural elements. Dimensions
ГОСТ Р 70626-2023
Дата введения
1 марта 2024 года
1 РАЗРАБОТАН Федеральным государственным унитарным предприятием "Научно-исследовательский институт физической оптики, оптики лазеров и информационных оптических систем Всероссийского научного центра "Государственный оптический институт им. С.И. Вавилова" (ФГУП "НИИФООЛИОС ВНЦ "ГОИ им. С.И. Вавилова") и Акционерным обществом "ЛОМО" (АО "ЛОМО")
2 ВНЕСЕН Техническим комитетом по стандартизации ТК 296 "Оптика и фотоника"
3 УТВЕРЖДЕН И ВВЕДЕН В ДЕЙСТВИЕ Приказом Федерального агентства по техническому регулированию и метрологии от 11 октября 2023 г. N 1111-ст
4 ВВЕДЕН ВПЕРВЫЕ
Правила применения настоящего стандарта установлены в статье 26 Федерального закона от 29 июня 2015 г. N 162-ФЗ "О стандартизации в Российской Федерации". Информация об изменениях к настоящему стандарту публикуется в ежегодном (по состоянию на 1 января текущего года) информационном указателе "Национальные стандарты", а официальный текст изменений и поправок - в ежемесячном информационном указателе "Национальные стандарты". В случае пересмотра (замены) или отмены настоящего стандарта соответствующее уведомление будет опубликовано в ближайшем выпуске ежемесячного информационного указателя "Национальные стандарты". Соответствующая информация, уведомление и тексты размещаются также в информационной системе общего пользования - на официальном сайте Федерального агентства по техническому регулированию и метрологии в сети Интернет (www.rst.gov.ru)
Настоящий стандарт распространяется на микроскопы и устанавливает размеры основных элементов конструкции микроскопа (далее - элементы), взаимосвязанных друг с другом оптически и механически и предназначенных для формирования изображений. Настоящий стандарт устанавливает размеры следующих элементов:
- объектива, окуляра и тубусной линзы;
- резьбы, предназначенной для соединения объектива и револьверной головки;
- взаимозаменяемых окуляров и соответствующих им тубусов, применяемых для визуального наблюдения;
- тубусных вставок и пазов для них.
Размеры окулярной резьбы - по ГОСТ 5359.
Стандарт не распространяется на объективы и тубусы измерительных, стереоскопических и специальных (высокотемпературных, люминесцентных, контактных) микроскопов.
В настоящем стандарте использованы нормативные ссылки на следующие стандарты:
ГОСТ 5359 Резьба окулярная для оптических приборов. Профиль и размеры
ГОСТ 7427 Геометрическая оптика. Термины, определения и буквенные обозначения
ГОСТ 8724 Основные нормы взаимозаменяемости. Резьба метрическая. Диаметры и шаги
ГОСТ 16093 Основные нормы взаимозаменяемости. Резьба метрическая. Допуски. Посадки с зазором
ГОСТ 16967 Основные нормы взаимозаменяемости. Резьба метрическая для приборостроения. Диаметры и шаги
ГОСТ 28489 Микроскопы световые. Термины и определения
ГОСТ Р 70039 Оптика и фотоника. Характеристики оптических систем. Термины и определения
Примечание - При пользовании настоящим стандартом целесообразно проверить действие ссылочных стандартов в информационной системе общего пользования - на официальном сайте Федерального агентства по техническому регулированию и метрологии в сети Интернет или по ежегодному информационному указателю "Национальные стандарты", который опубликован по состоянию на 1 января текущего года, и по выпускам ежемесячного информационного указателя "Национальные стандарты" за текущий год. Если заменен ссылочный стандарт, на который дана недатированная ссылка, то рекомендуется использовать действующую версию этого стандарта с учетом всех внесенных в данную версию изменений. Если заменен ссылочный стандарт, на который дана датированная ссылка, то рекомендуется использовать версию этого стандарта с указанным выше годом утверждения (принятия). Если после утверждения настоящего стандарта в ссылочный стандарт, на который дана датированная ссылка, внесено изменение, затрагивающее положение, на которое дана ссылка, то это положение рекомендуется применять без учета данного изменения. Если ссылочный стандарт отменен без замены, то положение, в котором дана ссылка на него, рекомендуется применять в части, не затрагивающей эту ссылку.
В настоящем стандарте применены термины по
ГОСТ 7427,
ГОСТ 28489 и
ГОСТ Р 70039, а также следующие термины с соответствующими определениями:
3.1 высота объектива l1: Расстояние между плоскостью объекта (без покровного стекла) и опорной плоскостью объектива в воздушной среде в рабочем положении микроскопа.
3.2 механическая длина тубуса l4: Расстояние между опорными плоскостями тубуса под объектив и окуляр с учетом изменения этого расстояния при введении в наблюдательную систему (после объектива) оптических деталей, изменяющих длину хода лучей.
Примечания
2 Как правило, механическая длина тубуса составляет 160 мм.
3 При применении объективов, которые скорректированы на бесконечность, механическую длину тубуса микроскопа допускается рассматривать как параметр, значение которого соответствует бесконечности.
3.3 расстояние между объективом и плоскостью изображения l2: Расстояние между опорной плоскостью объектива (револьверной головки микроскопа) и плоскостью изображения в воздушной среде в рабочем положении микроскопа.
Примечания
2 Как правило, расстояние между объективом и изображением составляет 150 мм или равно бесконечности.
3.4
расстояние между объективом и тубусной линзой
: Расстояние между опорной плоскостью объектива и опорной плоскостью тубусной линзы.
Примечание - Расстояние между объективом и тубусной линзой зависит от оптической и механической конструкции микроскопа и имеет существенное значение при его изготовлении.
3.5 расстояние между окуляром и плоскостью изображения l3: Расстояние между опорной плоскостью окуляра и плоскостью, на которую осуществляется фокусировка окуляра.
Примечания
2 Передняя фокальная плоскость окуляра совпадает с плоскостью, на которую осуществляется фокусировка окуляра, совпадающей с плоскостью получаемого в итоге действительного изображения.
3 Расстояние между опорной плоскостью окуляра и передней фокальной плоскостью окуляра представляет собой один из тех размеров, которые принимают во внимание при соединении друг с другом различных элементов микроскопа. Как правило, значение этого параметра составляет 10 мм.
4 Примеры размеров, относящихся к фокусировке микроскопа и зависящих от толщины покровного стекла, приведены в
приложении А.
3.6 расстояние между тубусной линзой и плоскостью изображения lNTL: Расстояние между плоскостью изображения и опорной плоскостью тубусной линзы (опорной плоскостью насадки).
Примечание - Расстояние между тубусной линзой и плоскостью изображения не нормируется, оно зависит от оптической и механической конструкции микроскопа и имеет существенное значение при его изготовлении.
3.7 тубусная линза: Линза, устанавливаемая между объективом и окуляром в оптических системах, скорректированных на бесконечность, и предназначенная для перепроектирования изображения, сформированного объективом, из бесконечности в фокальную плоскость окуляра.
3.8 фокусное расстояние тубусной линзы fNTL: Фокусное расстояние, непосредственно связанное с увеличением и фокусным расстоянием тех объективов, которые предназначены для эксплуатации с данной тубусной линзой.
4.1 Номинальные размеры и предельные отклонения основных элементов формирования изображения
4.1.1 Номинальные размеры и предельные отклонения основных элементов формирования изображения должны соответствовать схеме, приведенной на
рисунке 1 или
2, и значениям, установленным в
таблице 1.
1 - опорная плоскость окулярной трубки;
2 - плоскость изображения; 3 - опорная плоскость окуляра;
4 - опорная плоскость объектива; 5 - опорная плоскость
револьверной головки, к которой присоединяют объектив;
6 - плоскость объекта
Рисунок 1 - Схема опорных плоскостей и расстояний
до изображения при механической длине тубуса 160 мм
1 - опорная плоскость окулярной трубки;
2 - плоскость изображения; 3 - опорная плоскость окуляра;
4 - тубусная линза; 5 - опорная плоскость объектива;
6 - опорная плоскость револьверной головки микроскопа,
к которой присоединяют объектив; 7 - плоскость объекта
Рисунок 2 - Схема опорных плоскостей и расстояний
до изображения для оптической системы, скорректированной
на бесконечность
Таблица 1
Номинальные размеры и предельные отклонения основных
элементов формирования изображения
Параметр | Особенности системы, формирующей изображение | Обозначение | Номинальное значение/диапазон, мм | Числовая апертура | Предельное отклонение, мм |
| Механическая длина тубуса - 160 или 190 мм, оптическая система скорректирована на бесконечность | l1 | | - | - |
45 | <= 0,4 | +0,01 -0,02 |
> 0,4 | -0,01 |
45 + 15k (k = -1, 0, 1, 2, 3, 4) | <= 0,1 | +/- 0,2 |
> 0,1 - <= 0,25 | +/- 0,06 |
> 0,25 - <= 0,45 | +/- 0,03 |
> 0,45 | +/- 0,01 |
Расстояние между объективом и плоскостью изображения | Механическая длина тубуса: | l2 | | | |
- 160 мм; | 150 | - | +/- 0,5 |
- 190 мм | 180 | | |
Оптические системы скорректированы на бесконечность (изображение формируется при наличии тубусной линзы) <4> | l2 | | - | - |
Фокусное расстояние тубусной линзы <5> | Оптическая система скорректирована на бесконечность | fNTL | 150 <= fNTL <= 250 | - | - |
Расстояние между окуляром и плоскостью изображения | Механическая длина тубуса - 160 мм или 190 мм, оптическая система скорректирована на бесконечность | l3 | -10 | - | +/- 0,2 |
-13 | - | +/- 0,5 |
+5 | - | +/- 0,3 |
Механическая длина тубуса | Механическая длина тубуса: | l4 | | | |
- 160 мм; | 160 | - | +/- 0,5 |
- 190 мм | 190 | | |
<1> Высоту объектива выбирают в зависимости от конструкции микроскопа. <2> Значения параметра l1 применяют к объективам только в том случае, если на поверхности исследуемого объекта отсутствует покровное стекло. Если поверхность объекта накрыта покровным стеклом, то параметр l1 определяют с учетом виртуального перемещения объекта, обусловленного применением покровного стекла. Таким образом высоту объектива с учетом толщины покровного стекла lCG, мм, вычисляют по формуле lCG = l1 + t( n - 1)/ n, (1) где t - толщина покровного стекла (дна лабораторной посуды), мм; n - коэффициент преломления покровного стекла. <3> Не применяют при разработке новых микроскопов. <4> В оптических системах, которые скорректированы на бесконечность, основное изображение при любых условиях формируется совместно объективом и тубусной линзой. <5> Фокусное расстояние "стандартной" тубусной линзы зависит от конструкции оптической системы, применяемой в микроскопе. При этом значение фокусного расстояния должно быть в диапазоне 150 мм <= fNTL <= 250 мм. Примечания 1 Значения параметров, относящихся к системе формирования изображений, скорректированной на бесконечность, применяемые конкретными изготовителями, приведены в приложении Б. 2 Информация, предоставляемая изготовителем основных элементов конструкции микроскопа и изготовителем микроскопа, приведена в приложении В. |
Примечания
1 Как правило, в целях обеспечения возможности коррекции аберрации в микроскопе применяют сочетание окуляра, объектива и тубусной линзы одного типа, так как при совместном использовании объектива, полученного от одного изготовителя, и тубусной линзы или окуляра, полученной(го) от другого изготовителя, в процессе определения оптического увеличения микроскопа и/или другой его характеристики могут быть получены результаты с существенной погрешностью. Если номинальные размеры и предельные отклонения элементов соответствуют значениям, установленным в настоящем стандарте, и при этом элементы получены от разных изготовителей, то при определении характеристик микроскопа также могут быть получены результаты с существенной погрешностью.
2 В целях изменения положения и/или увеличения изображения микроскопы, как правило, оснащены встроенными призмами и линзами. Микроскоп должен быть такой конструкции, чтобы при применении объективов и тубусных линз, соответствующих настоящему стандарту, обеспечивалось выполнение следующего условия: формируемое основное изображение должно быть расположено на 10 мм ниже опорной плоскости окулярной трубки, предназначенной для установки окуляра.
4.1.2 Размеры и предельные отклонения резьбы различных типов для соединения объектива и револьверной головки микроскопа приведены в
приложении Г.
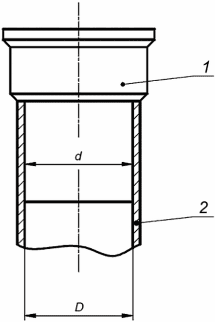
4.2 Присоединительные номинальные размеры и предельные отклонения объективов с тубусами микроскопов
Присоединительные номинальные размеры и предельные отклонения объективов с тубусами микроскопов должны соответствовать значениям, указанным в
таблице 2 и на
рисунке 3.
Таблица 2
Присоединительные номинальные размеры и предельные
отклонения объективов с тубусами микроскопов
В миллиметрах
d | d1 | | l1, не менее |
Номинальный размер | Предельное отклонение | Номинальный размер | Предельное отклонение |
болта | гайки |
| | 19,0 | -0,330 | 4,8 | 3,0 |
| 6g | 6H | 26,0 | 5,5 | 4,0 |
|
М42 x 0,75 по ГОСТ 16967 | 6g | 6H | 41,0 | -0,390 |
|
<*> Данный параметр приведен в качестве справочной информации. |
1 - объектив; 2 - тубус
--------------------------------
<*> Данный параметр приведен в качестве справочной информации.
Примечание - Конструкция элементов, приведенных на рисунке, не является обязательной.
Рисунок 3 - Присоединительные номинальные размеры
и предельные отклонения объективов с тубусами микроскопов
4.3 Размеры резьбы для объективов
4.3.1 Для объективов микроскопов следует применять дюймовую резьбу диаметром 4/5", с шагом 1/36" и углом профиля 55°.
4.3.2 Основные размеры резьбы для соединения объективов с другими элементами микроскопов должны соответствовать значениям, указанным в
таблице 3 и на
рисунке 4.
Таблица 3
Основные размеры резьбы для соединения объективов
с другими элементами микроскопов
В миллиметрах
Размер резьбы | Наружный диаметр | Средний диаметр | Внутренний диаметр | Зазор по профилю Z |
Внутренней | max | D | | D2 | 19,952 | D1 | 19,452 | 0,05 |
min | 20,320 | 19,868 | 19,416 |
Наружной | max | d | 20,270 | d2 | 19,818 | d1 | 19,366 |
min | 20,144 | 19,734 | |
<*> Размер резьбы не регламентируется. |
Шаг резьбы P = 0,706 мм; глубина резьбы H2 = 0,452 мм; рабочая высота профиля резьбы H1 = 0,427 мм; высота исходного треугольника H = 0,96049P, мм.
Рисунок 4 - Основные размеры резьбы для соединения
объективов с другими элементами микроскопов
4.3.3 Пример условного обозначения резьбы для соединения объективов с другими элементами микроскопов:
ОБ 4/5" x 1/36" по ГОСТ Р 70626-2023
4.4 Присоединительные номинальные размеры и предельные отклонения окуляров с тубусами микроскопов и насадок на них
4.4.1 Присоединительные номинальные размеры и предельные отклонения окуляров с тубусами микроскопов и насадок на них должны соответствовать значениям, указанным в
таблице 4 и на
рисунке 5.
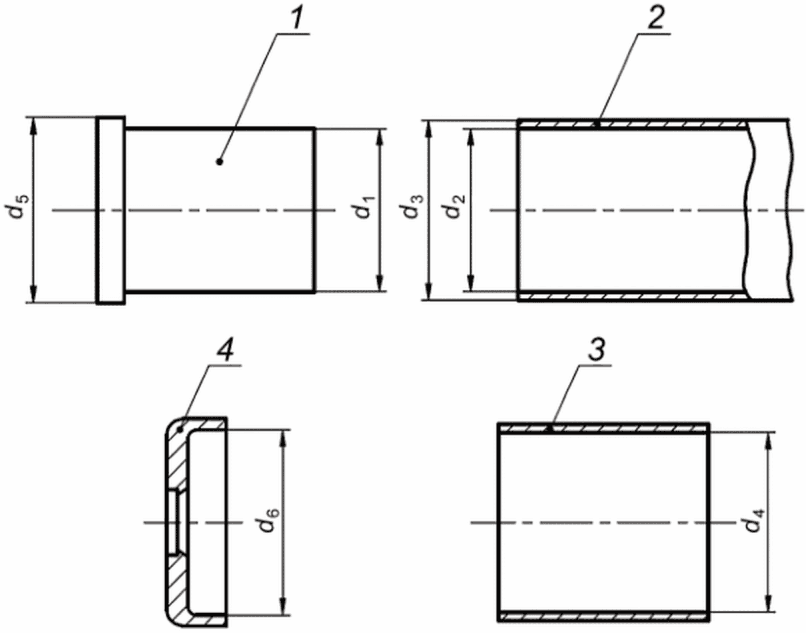
Таблица 4
Присоединительные номинальные размеры и предельные
отклонения окуляров с тубусами микроскопов и насадок на них
В миллиметрах
Диаметр | Номинальный размер | Предельное отклонение |
d1 | 23,2 | |
30,0 |
d2 | 23,2 | H8(+0,033) |
30,0 |
d3 | 25,0 | h11(-0,13) |
33,0 | h11(-0,16) |
d4 | 25,0 | |
33,0 | |
d5 | 28,0 | h12(-0,21) |
34,0 | h12(-0,25) |
d6 | 28,0 | |
34,0 | |
Примечание - Размеры указаны с учетом покрытия. |
1 - окуляр; 2 - тубус микроскопа; 3 - насадка на тубус;
4 - насадка на окуляр
Примечание - Конструкция элементов, приведенных на рисунке, не является обязательной.
Рисунок 5 - Присоединительные номинальные размеры окуляров
с тубусами микроскопов и насадок на них
4.4.2 Номинальные размеры и предельные отклонения диаметров окуляров и тубусов приведены в
приложении Д.
4.5 Присоединительные размеры тубусных вставок и пазов для них
4.5.1 В настоящем стандарте установлены размеры тубусных вставок и пазов для них с целью обеспечения взаимозаменяемости вспомогательных элементов микроскопов, изготовленных на разных предприятиях, например светофильтров, поляризаторов, компенсаторов и др.
4.5.2 Присоединительные размеры тубусных вставок и пазов для них указаны на
рисунках 6 и
7.
Рисунок 6 - Присоединительные размеры тубусных вставок
1 - базовая поверхность; 2 - глубина ориентирующей выемки;
3 - контактные пружины; 4 - ориентирующая поверхность
Рисунок 7 - Присоединительные размеры пазов
для тубусных вставок
4.5.3 Если требуется точная установка тубусной вставки, то со стороны вставки (см.
рисунок 6) должны быть предусмотрены контактные пружины.
Контактные пружины следует утапливать сверху до поверхности вставки и заподлицо с пазом.
(справочное)
ПРИМЕРЫ ОПРЕДЕЛЕНИЯ РАЗМЕРОВ, ОТНОСЯЩИХСЯ К ФОКУСИРОВКЕ
МИКРОСКОПА И ЗАВИСЯЩИХ ОТ ТОЛЩИНЫ ПОКРОВНОГО СТЕКЛА
Примеры определения размеров, относящихся к фокусировке микроскопа и зависящих от толщины покровного стекла, приведены на
рисунке А.1 и в
таблице А.1.
|
а) Определение параметра l1 (исследуемый объект без покровного стекла) | б) Определение параметра l1 (исследуемый объект с покровным стеклом) | в) Определение параметра l1 (исследуемый объект находится внутри лабораторной посуды) |
Рисунок А.1 - Примеры определения размеров, относящихся
к фокусировке микроскопа и зависящих от толщины
покровного стекла
Таблица А.1
Примеры определения размеров, относящихся к фокусировке
микроскопа и зависящих от толщины покровного стекла
Исследуемый объект без покровного стекла, где t = 0 мм [см. рисунок А.1, а)] | Исследуемый объект с покровным стеклом, где t = 0,17 мм (толщина покровного стекла), n = 1,5 [см. рисунок А.1, б)] | Исследуемый объект, находящийся внутри лабораторной посуды, где t = 1,5 мм (толщина дна лабораторной посуды), n = 1,5 [см. рисунок А.1, в)] |
lCG = l1 | | |
|
(справочное)
ЗНАЧЕНИЯ ПАРАМЕТРОВ, ОТНОСЯЩИХСЯ К СИСТЕМЕ ФОРМИРОВАНИЯ
ИЗОБРАЖЕНИЯ, СКОРРЕКТИРОВАННОЙ НА БЕСКОНЕЧНОСТЬ
В зависимости от оптических и механических характеристик разрабатываемых микроскопов некоторые изготовители применяют различные значения параметров, относящихся к системе формирования изображения, скорректированной на бесконечность. В
таблице Б.1 приведены номинальные размеры параметров
l1,
l2,
l3 и
fNTL, применяемые конкретными изготовителями. Также см.
рисунок 2.
Таблица Б.1
Значения параметров
l1,
l2,
l3 и
fNTL, применяемые
конкретными изготовителями
В миллиметрах
Параметр | Наименование изготовителя |
Leica Camera AG | Nikon Corporation | Olympus Corporation | Carl Zeiss AG |
Высота объектива l1 | 45 | 45 или 60 | 45 | 45 |
Расстояние между объективом и плоскостью изображения l2 | | | | |
Расстояние между окуляром и плоскостью изображения l3 | 10 | 10 | 10 | 10 |
Фокусное расстояние тубусной линзы fNTL | 200 | 200 | 180 | 164,5 |
(справочное)
ИНФОРМАЦИЯ, ПРЕДОСТАВЛЯЕМАЯ ИЗГОТОВИТЕЛЕМ ОСНОВНЫХ ЭЛЕМЕНТОВ
КОНСТРУКЦИИ МИКРОСКОПА И ИЗГОТОВИТЕЛЕМ МИКРОСКОПА
В.1 Информация, предоставляемая изготовителем основных элементов конструкции микроскопа
В целях обеспечения возможности коррекции аберрации в микроскопе изготовителю элементов рекомендуется предоставлять значения следующих параметров:
- расстояние между тубусной линзой и плоскостью изображения lNTL;
- расстояние между объективом и тубусной линзой

.
Параметры, предоставляемые изготовителем элементов и необходимые для сборки микроскопа, приведены на
рисунке В.1.
1 - опорная плоскость объектива; 2 - опорная плоскость
тубусной линзы; 3 - плоскость изображения
Рисунок В.1 - Параметры, предоставляемые изготовителем
элементов и необходимые для сборки микроскопа
В.2 Информация, предоставляемая изготовителем микроскопа
Изготовитель микроскопа предоставляет пользователю изготовленного им оптического прибора следующие данные:
- наружные размеры оправы тубусной линзы;
- способ установки тубусной линзы (например, посредством применения резьбы и т.д.);
- сведения о резьбе, примененной в объективе, с которым соединена оправа тубусной линзы;
- положение опорной плоскости.
(обязательное)
РАЗМЕРЫ И ПРЕДЕЛЬНЫЕ ОТКЛОНЕНИЯ РЕЗЬБЫ РАЗЛИЧНЫХ ТИПОВ
ДЛЯ СОЕДИНЕНИЯ ОБЪЕКТИВА И РЕВОЛЬВЕРНОЙ ГОЛОВКИ МИКРОСКОПА
Размеры и предельные отклонения резьбы различных типов для соединения объектива и револьверной головки микроскопа представлены в
таблицах Г.1 -
Г.6 и на
рисунках Г.1 и
Г.2.
Таблица Г.1
Основные параметры резьбы различных типов
Параметр | Обозначение параметра | Дюймовая резьба типа RMS | Дюймовая резьба типа W26 | Метрическая резьба типа М25 | Метрическая резьба типа М27 | Метрическая резьба типа М32 |
Угол профиля резьбы, градус | | 55 | 55 | 60 | 60 | 60 |
Шаг резьбы, мм | P | 0,706 | 0,706 | 0,750 | 0,750 | 0,750 |
Высота исходного треугольника резьбы, мм | H | 0,678 | 0,678 | 0,650 | 0,650 | 0,650 |
Номинальный диаметр, мм | D | 20,320 | 26,000 | 25,000 | 27,000 | 32,000 |
Таблица Г.2
Размеры и предельные отклонения дюймовой резьбы типа RMS
В миллиметрах
Размеры резьбы | Наружный диаметр | Средний диаметр | Внутренний диаметр | Зазор между внутренней и наружной резьбой | Предельное отклонение | Допуск | Выступающая часть резьбы |
Внутренней | max | D | 20,396 | D2 | 19,944 | D1 | 19,492 | Не менее 0,046 | Не более 0,198 | +0,076 | 0,076 | - |
min | 20,320 | 19,868 | 19,416 | 0,000 | - |
Наружной | max | d | 20,274 | d2 | 19,822 | d1 | 19,370 | -0,046 | 0,076 | 5,000 |
min | 20,198 | 19,746 | 19,294 | -0,122 | - |
Таблица Г.3
Размеры и предельные отклонения дюймовой резьбы типа W26
В миллиметрах
Размеры резьбы | Наружный диаметр | Средний диаметр | Внутренний диаметр | Зазор между внутренней и наружной резьбой | Предельное отклонение | Допуск | Выступающая часть резьбы |
Внутренней | max | D | - | D2 | 25,660 | D1 | 25,300 | Не менее 0,060 | Не более 0,220 | +0,204 | 0,100 | - |
min | 26,000 | 25,580 | 25,200 | +0,104 | - |
Наружной | max | d | 25,930 | d2 | 25,520 | d1 | 25,070 | -0,070 | 0,100 | 5,000 |
min | 25,830 | 25,440 | 24,940 | -0,170 | - |
Таблица Г.4
Размеры и предельные отклонения метрической резьбы типа М25
В миллиметрах
Размеры резьбы | Наружный диаметр | Средний диаметр | Внутренний диаметр | Зазор между внутренней и наружной резьбой | Предельное отклонение | Допуск | Выступающая часть резьбы |
Внутренней | max | D | - | D2 | 24,659 | D1 | 24,378 | Не менее 0,022 | Не более 0,279 | +0,190 | 0,190 | - |
min | - | 24,513 | 24,188 | 0,000 | - |
Наружной | max | d | 24,978 | d2 | 24,491 | d1 | - | -0,022 | 0,140 | 5,000 |
min | 24,838 | 24,380 | - | -0,162 | - |
Таблица Г.5
Размеры и предельные отклонения метрической резьбы типа М27
В миллиметрах
Размеры резьбы | Наружный диаметр | Средний диаметр | Внутренний диаметр | Зазор между внутренней и наружной резьбой | Предельное отклонение | Допуск | Выступающая часть резьбы |
Внутренней | max | D | - | D2 | 26,660 | D1 | 26,378 | Не менее 0,022 | Не более 0,281 | +0,190 | 0,190 | - |
min | - | 26,513 | 26,188 | 0,000 | - |
Наружной | max | d | 24,978 | d2 | 26,491 | d1 | - | -0,022 | 0,140 | 4,500 |
min | 24,838 | 26,379 | - | -0,162 | - |
Таблица Г.6
Размеры и предельные отклонения метрической резьбы типа М32
В миллиметрах
Размеры резьбы | Наружный диаметр | Средний диаметр | Внутренний диаметр | Зазор между внутренней и наружной резьбой | Предельное отклонение | Допуск | Выступающая часть резьбы |
Внутренней | max | D | - | D2 | 31,663 | D1 | 31,378 | Не менее 0,022 | Не более 0,286 | +0,190 | 0,190 | - |
min | - | 31,513 | 31,188 | 0,000 | - |
Наружной | max | d | 31,978 | d2 | 31,491 | d1 | - | -0,022 | 0,140 | 5,000 |
min | 31,838 | 31,377 | - | -0,162 | - |
1 - тубус и револьверная головка, с которой соединены
объектив и другие элементы микроскопа; 2 - выступающая
часть резьбы; 3 - объектив; 4 - внутренняя резьба;
5 - наружная резьба
Рисунок Г.1 - Элементы микроскопа и размеры дюймовой резьбы
типов RMS и W26
1 - тубус и револьверная головка, с которой соединены
объектив и другие элементы микроскопа; 2 - выступающая
часть резьбы; 3 - объектив; 4 - внутренняя резьба;
5 - наружная резьба
Рисунок Г.2 - Элементы микроскопа и размеры метрической
резьбы типов М25, М27 и М32
(обязательное)
НОМИНАЛЬНЫЕ РАЗМЕРЫ И ПРЕДЕЛЬНЫЕ ОТКЛОНЕНИЯ
ДИАМЕТРОВ ОКУЛЯРОВ И ТУБУСОВ
Номинальные размеры и предельные отклонения диаметров окуляров и тубусов представлены в
таблице Д.1 и на
рисунке Д.1.
Таблица Д.1
Номинальные размеры и предельные отклонения диаметров
окуляров и тубусов
Параметр | Обозначение | Номинальный размер, мм | Предельное отклонение |
Диаметр тубуса | D | 23,2 или 30,0 | F8 |
Диаметр окуляра | d | 23,2 или 30,0 | h8 |
1 - окуляр; 2 - тубус
Рисунок Д.1 - Диаметры окуляров и тубусов
УДК 535.823:535.824:681.723:006:354 | |
Ключевые слова: оптика и фотоника, микроскопы, основные элементы конструкции, размеры |