Главная // Актуальные документы // ГОСТ Р (Государственный стандарт)
СПРАВКА
Источник публикации
М.: Стандартинформ, 2014
Примечание к документу
Документ утратил силу с 1 декабря 2015 года в связи с изданием Приказа Росстандарта от 26.11.2014 N 1818-ст. Взамен введен в действие ГОСТ EN 795-2014.

Документ введен в действие с 1 декабря 2013 года.
Название документа
"ГОСТ Р ЕН 795-2012. Национальный стандарт Российской Федерации. Система стандартов безопасности труда. Средства индивидуальной защиты от падения с высоты. Анкерные устройства. Общие технические требования. Методы испытаний"
(утв. и введен в действие Приказом Росстандарта от 29.11.2012 N 1610-ст)

"ГОСТ Р ЕН 795-2012. Национальный стандарт Российской Федерации. Система стандартов безопасности труда. Средства индивидуальной защиты от падения с высоты. Анкерные устройства. Общие технические требования. Методы испытаний"
(утв. и введен в действие Приказом Росстандарта от 29.11.2012 N 1610-ст)


Содержание


Утвержден и введен в действие
Приказом Федерального
агентства по техническому
регулированию и метрологии
от 29 ноября 2012 г. N 1610-ст
НАЦИОНАЛЬНЫЙ СТАНДАРТ РОССИЙСКОЙ ФЕДЕРАЦИИ
СИСТЕМА СТАНДАРТОВ БЕЗОПАСНОСТИ ТРУДА
СРЕДСТВА ИНДИВИДУАЛЬНОЙ ЗАЩИТЫ ОТ ПАДЕНИЯ С ВЫСОТЫ.
АНКЕРНЫЕ УСТРОЙСТВА
ОБЩИЕ ТЕХНИЧЕСКИЕ ТРЕБОВАНИЯ. МЕТОДЫ ИСПЫТАНИЙ
Occupational safety standards system. Personal protective
equipment against falls from a height. Anchor devices.
General technical requirements. Test methods
EN 795/A1:2000
Protection against falls from a height - Anchor devices -
Requirements and testing; Amendment A1
(IDT)
ГОСТ Р ЕН 795-2012
ОКС 13.340.60
ОКП 87 8680
Дата введения
1 декабря 2013 года
Предисловие
1. Подготовлен Рабочей группой подкомитета ПК 7 Технического комитета по стандартизации средств индивидуальной защиты ТК 320 "СИЗ" на основе аутентичного перевода на русский язык указанного в пункте 4 европейского регионального стандарта, который выполнен ФГУП "Стандартинформ".
2. Внесен Техническим комитетом по стандартизации средств индивидуальной защиты ТК 320 "СИЗ".
3. Утвержден и введен в действие Приказом Федерального агентства по техническому регулированию и метрологии от 29 ноября 2012 г. N 1610-ст.
ИС МЕГАНОРМ: примечание.
Текст, выделенный двумя вертикальными линиями, расположенными на полях слева от текста, в официальном тексте документа, в электронной версии документа отмечен знаком "&", расположенными на полях справа от текста, - знаком "#".
4. Настоящий стандарт идентичен европейскому региональному стандарту ЕН 795/А1-2000 "Защита от падения с высоты. Устройства анкерного крепления. Требования и испытания" (EN 795/A1:2000 "Protection against falls from a height - Anchor devices - Requirements and testing"), включая Изменение А1 (Amendment A1). Изменение к указанному европейскому региональному стандарту, принятое после его официальной публикации, внесено в текст настоящего стандарта и выделено двумя вертикальными линиями, расположенными на полях соответственно слева на четных страницах и справа на нечетных страницах от его текста, а обозначение и год принятия изменения приведены в скобках после соответствующего текста.
При применении настоящего стандарта рекомендуется использовать вместо ссылочных европейских региональных и международных стандартов соответствующие им национальные стандарты Российской Федерации, сведения о которых приведены в дополнительном Приложении ДА.
Наименование настоящего стандарта изменено относительно наименования указанного европейского регионального стандарта для приведения в соответствие с ГОСТ Р 1.5 (пункт 3.5).
5. Введен впервые.
Правила применения настоящего стандарта установлены в ГОСТ Р 1.0-2012 (раздел 8). Информация об изменениях к настоящему стандарту публикуется в ежегодном (по состоянию на 1 января текущего года) информационном указателе "Национальные стандарты", а официальный текст изменений и поправок - в ежемесячном информационном указателе "Национальные стандарты". В случае пересмотра (замены) или отмены настоящего стандарта соответствующее уведомление будет опубликовано в ближайшем выпуске ежемесячного информационного указателя "Национальные стандарты". Соответствующая информация, уведомление и тексты размещаются также в информационной системе общего пользования - на официальном сайте Федерального агентства по техническому регулированию и метрологии в сети Интернет (gost.ru).
1. Область применения
Настоящий стандарт устанавливает общие технические требования, методы испытаний, инструкции по применению, форму маркировки анкерных устройств, предназначенных исключительно для применения со средствами индивидуальной защиты (СИЗ) от падения с высоты.
Настоящий стандарт не применяется к крюкам или мосткам, удовлетворяющим требованиям ЕН 517 и ЕН 516, а также к стационарным точкам анкерного крепления, которые являются частью основной конструкции.
2. Нормативные ссылки
В настоящем стандарте использованы нормативные ссылки на следующие стандарты:
ЕН 354 Средства индивидуальной защиты от падения с высоты. Стропы (EN 354, Personal protective equipment against falls from a height - Lanyards)
ЕН 355 Средства индивидуальной защиты от падения с высоты. Поглотители энергии (EN 355, Personal protective equipment against falls from a height - Energy absorbers)
ЕН 360 Средства индивидуальной защиты от падения с высоты. Стопорные устройства втягивающего типа (EN 360, Personal protective equipment against falls from a height - Retractable type fall arresters)
ЕН 362 Средства индивидуальной защиты от падения с высоты. Соединительные элементы (EN 362, Personal protective equipment against falls from a height - Connectors)
ЕН 364:1992 Средства индивидуальной защиты от падения с высоты. Методы испытаний (EN 364:1992, Personal protective equipment against falls from a height - Test methods)
ЕН 365 Средства индивидуальной защиты от падения с высоты. Общие требования для инструкций по использованию, сохранению в рабочем состоянии, периодическому осмотру, ремонту, маркировке и упаковке (EN 365, Personal protective equipment against falls from a height - General requirements for instructions for use, maintenance, periodic examination, repair, marking and packaging)
ЕН 516 Оснащение вспомогательное для кровельных работ. Устройства доступа (EN 516, Prefabricated accessories for roofing - Installations for roof access - Walkways, treads and steps)
ЕН 517 Оснащение вспомогательное сборное для кровельных работ. Крюки предохранительные (EN 517, Prefabricated accessories for roofing - Roof safety hooks)
ИСО 1140 Канаты полиамидные. Технические условия (ISO 1140, Ropes - Polyamide - Specification).
3. Термины и определения
В настоящем стандарте применены следующие термины с соответствующими определениями:
3.1. Анкерное устройство (anchor device): элемент или ряд элементов или компонентов, который включает точку или точки анкерного крепления.
3.2. Элемент (element): часть компонента или подсистемы.
Примечание. Канаты, тканая лента, соединения, фитинги и анкерные линии являются примерами элементов.
3.3. Компонент (component): часть системы, которая поставляется изготовителем в готовом для продажи виде с упаковкой, маркировкой и инструкцией по применению.
Примечание. Страховочные привязи и стропы являются примерами компонентов системы.
3.4. Точка анкерного крепления (anchor point): элемент, к которому средство индивидуальной защиты может быть присоединено после монтажа анкерного устройства.
3.5. Структурный анкер (structural anchor): элемент или элементы, закрепленные на длительное время к сооружению (зданию) с тем, чтобы к ним можно было присоединять анкерное устройство или средство индивидуальной защиты.
3.6. Концевой структурный анкер (extremity structural anchor): структурный анкер на каждом конце гибкой анкерной линии.
3.7. Структурный промежуточный анкер (intermediate structural anchor): структурный анкер, который может быть дополнительно необходим между концевыми структурными анкерами.
3.8. Анкерная линия (anchor line): гибкий канат или трос между структурными анкерами, к которому можно присоединять средство индивидуальной защиты.
3.9. Анкерная направляющая (anchor rail): жесткая направляющая линия между структурными анкерами, к которой можно присоединять средство индивидуальной защиты.
3.10. Мобильная анкерная точка (mobile anchor point): дополнительная подвижная анкерная точка крепления на анкерной линии или анкерной направляющей, к которой может быть присоединено средство индивидуальной защиты от падения с высоты.
3.11. Концевой ограничитель (end stop): устройство, не позволяющее точке мобильного анкерного крепления или средству индивидуальной защиты непреднамеренно отсоединяться от анкерного устройства.
3.12. Присоединение (attachment): строп, амортизатор или другое устройство, присоединенные к точке мобильного анкерного крепления на гибкой анкерной линии и функционирующие согласно инструкции производителя.
3.13. Классы
3.13.1. Класс A
3.13.1.1. Класс A1 (class A1): включает структурные анкеры для крепления к вертикальным, горизонтальным и наклонным поверхностям, например стенам, стойкам, перемычкам (см. рисунок 1).
1 - структурный анкер; 2 - точка анкерного крепления
Рисунок 1. Класс A1. Примеры структурных анкеров,
предназначенных для крепления к вертикальным,
горизонтальным и наклонным поверхностям
3.13.1.2. Класс A2 (class A2): включает структурные анкеры для крепления к наклонным крышам (см. рисунок 2).
1 - структурный анкер; 2 - точка анкерного крепления
Рисунок 2. Класс A2. Примеры структурных анкеров,
предназначенных для крепления к наклонным крышам
3.13.2. Класс B (class B): включает переносные временные анкерные устройства (см. рисунок 3).
2 - точка анкерного крепления
Рисунок 3. Класс B. Примеры переносных временных
анкерных устройств
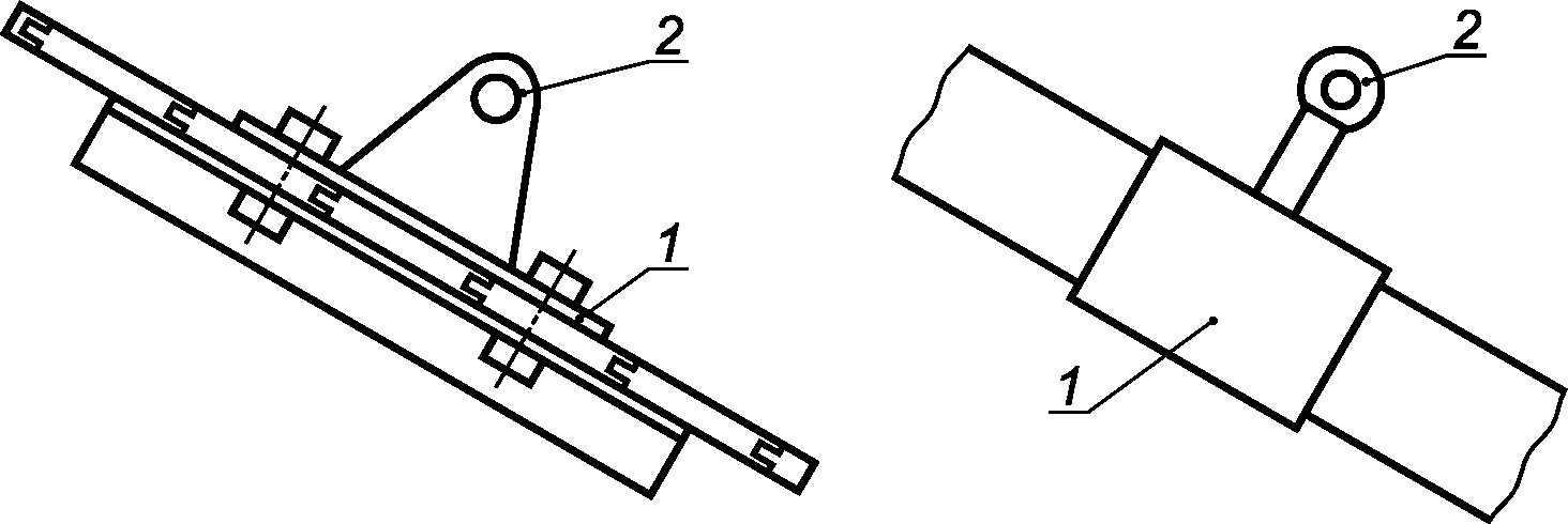
3.13.3. Класс C (class C): включает анкерные устройства, использующие гибкие горизонтальные анкерные линии (см. рисунок 4).
Примечание. В настоящем стандарте под горизонтальной линией понимается анкерная линия, которая может отклоняться от горизонтали не более чем на 15°.
1 - концевой структурный анкер;
2 - промежуточный структурный анкер;
3 - точка мобильного анкерного крепления;
4 - анкерная линия
Рисунок 4. Класс C. Примеры анкерных устройств,
содержащих гибкие горизонтальные анкерные линии
3.13.4. Класс D (class D): включает анкерные устройства, использующие жесткие горизонтальные анкерные направляющие (см. рисунок 5).
1 - жесткая направляющая анкерного крепления;
2 - точка мобильного анкерного крепления
Рисунок 5. Класс D. Примеры анкерных устройств,
использующих горизонтальную жесткую анкерную направляющую
3.13.5. Класс E (class E): включает анкерные устройства с противовесом для применения на горизонтальных поверхностях (см. рисунок 6).
Примечание. Горизонтальная поверхность, на которой устанавливаются анкерные устройства с противовесом, может отклоняться от горизонтали не более чем на 5°.
1 - точка анкерного крепления
Рисунок 6. Класс E. Примеры анкерных устройств
с противовесом
4. Требования
4.1. Требования к испытательной аппаратуре и оборудованию
4.1.1. Требования к оборудованию для статических испытаний
Оборудование и приборы для проведения испытания на статическую прочность должны соответствовать требованиям ЕН 364 (пункт 4.1).
4.1.2. Требования к аппаратуре для динамических испытаний
4.1.2.1. Аппаратура измерения силы для общих применений
Аппаратура для испытания на динамическую прочность должна соответствовать требованиям ЕН 364 (пункты 4.4 - 4.6).
4.1.2.2. Аппаратура измерения силы для горизонтальных анкерных линий
Аппаратура измерения силы для горизонтальных анкерных линий должна быть способной измерять значения силы от 2 до 40 кН. Во всех других отношениях она должна соответствовать требованиям ЕН 364 (пункт 4.4.2).
4.2. Общие требования к анкерным устройствам
Анкерные устройства, точка(и) фиксированного или мобильного анкерного крепления должны быть сконструированы для подсоединения средства индивидуальной защиты так, чтобы при правильном присоединении индивидуального средства защиты оно не могло бы отсоединиться в непреднамеренных случаях.
Если анкерное устройство включает в себя более одного элемента, то конструктивное решение должно быть таким, чтобы исключалась возможность неправильной сборки узла из этих элементов, если сами элементы не связаны непосредственно друг с другом.
Открытые кромки или углы должны иметь закругление по радиусу не менее 0,5 мм или иметь фаски под углом 45°.
Все металлические части анкерных устройств должны соответствовать требованиям защиты от коррозии ЕН 362 (пункт 4.5).
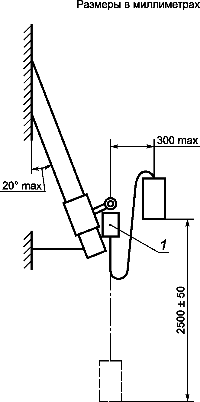
Анкерные устройства с противовесом не следует применять в случаях, когда расстояние до края крыши менее 2500 мм (см. рисунок 7).
Рисунок 7. Предельное расстояние до края крыши
для анкерного устройства с противовесом
Анкерные устройства с противовесом не следует применять, когда существует риск возникновения условий для образования инея или обледенения.
4.3. Особые требования к устройствам анкерного крепления
4.3.1. Класс A
4.3.1.1. Класс A1. Испытания типа для анкерных устройств, которые по своему назначению должны быть прикреплены к вертикальным, горизонтальным и наклонным поверхностям
Статическое испытание должно быть проведено по 5.2.1 с приложением силы 10 кН по направлению возможного действия такой силы во время эксплуатации. Силу следует прикладывать в течение 3 мин. Анкерное устройство должно выдерживать воздействие приложенной силы.
Проверка динамической прочности должна быть выполнена по 5.3.2. Сброс испытательного груза должен быть остановлен.
4.3.1.2. Класс A2. Испытания типа для анкерных устройств, которые по назначению должны быть прикреплены к наклонным поверхностям
Статическое испытание должно быть проведено по 5.2.2 с приложением силы 10 кН по направлению возможного действия такой силы во время эксплуатации. Силу следует прикладывать в течение 3 мин. Анкерное устройство должно выдерживать воздействие приложенной силы.
Проверка динамической прочности должна быть выполнена по 5.3.3. Сброс испытательного груза должен быть остановлен.
4.3.2. Класс B. Испытания типа для переносных анкерных устройств
Статическое испытание должно быть проведено по 5.2.3 с приложением силы 10 кН по направлению возможного действия такой силы во время эксплуатации. Силу следует прикладывать в течение 3 мин. Анкерное устройство должно выдерживать воздействие приложенной силы.
Проверка динамической прочности должна быть выполнена по 5.3.2. Сброс испытательного груза должен быть остановлен.
4.3.3. Класс C. Анкерные устройства, содержащие гибкие анкерные линии
4.3.3.1. Общие положения
Конструкцией упомянутых выше устройств должно быть предусмотрено исключение непреднамеренного отсоединения мобильного анкерного крепления, например они должны быть снабжены концевыми ограничителями.
Если мобильное анкерное крепление снабжено устройством присоединения, то его конструкцией должно быть предусмотрено отсоединение или присоединение только при выполнении не менее двух последовательных и продуманных ручных действий.
Для устройств, содержащих горизонтальные анкерные линии в виде канатов, лент или проволочных канатов, минимальная прочность на разрыв каната или ленты должна быть не менее чем в два раза больше максимального линейного натяжения в канате или ленте. Значение натяжения определяют при остановке падения путем испытания или вычисления. Такие устройства следует конструировать с использованием методов расчетов и критериев, доказанных производителем, по 4.3.3.3. (Этот принцип должен быть применен в случае, когда инструкции производителя допускают одновременное использование устройства двумя рабочими или группой рабочих).
Все другие нагруженные элементы анкерной линии (например, стойки структурных анкеров, опоры, болты и т.д.), которые обеспечивают крепление линии к главному опорному сооружению, должны выдерживать двойную силу, возникающую в таких элементах или компонентах в результате максимального линейного натяжения во время остановки падения с высоты или во время удержания.
При этом все расчеты должны быть выполнены квалифицированным инженером.
Если конструкция устройств с использованием гибкой горизонтальной анкерной линии вызывает необходимость креплений, выходящих за рамки требований ЕН 354, ЕН 355 и ЕН 360, то такие крепления должны соответствовать требованиям 4.3.3.2 - 4.3.3.4.
4.3.3.2. Испытание типа. Статическая прочность
Характерные образцы анкерной линии, линейной оснастки и оконечных устройств (например, обжимные соединения) должны проходить статическое испытание по методике 5.2.4 под действием силы, которая в 1,5 раза больше допустимого значения, рассчитанного производителем. Силу следует прикладывать в течение 3 мин.
Образцы должны выдерживать эту силу.
4.3.3.3. Испытание типа. Динамическая характеристика
Производитель обязан доказать на ряде испытаний по 5.3.4.2, что при надлежащем выборе системы из систем разной длины и разной длины пролетов (включающих оснастку для поворота на 90°, если она является частью устройства) линейное натяжение и провисание не изменяются более чем на +/- 20% от значения, установленного производителем методом прогнозирования.
4.3.3.4. Испытание типа. Динамическая прочность
ИС МЕГАНОРМ: примечание.
В официальном тексте документа, видимо, допущена опечатка: п. 5.3.4.3 отсутствует.
Одно из устройств, отвечающих требованию 4.3.3.3, должно быть отобрано для проведения испытания на динамическую прочность в соответствии с 5.3.4.3. Устройство не должно отпускать испытательный груз.
4.3.4. Класс D. Испытания типа для анкерных устройств, содержащих жесткие горизонтальные анкерные линии
Статическое испытание должно быть проведено по 5.2.5 с приложением силы 10 кН по направлению возможного действия такой силы во время эксплуатации. Силу следует прикладывать в течение 3 мин. Анкерное устройство должно выдерживать воздействие приложенной силы.
Проверка динамической прочности должна быть выполнена по 5.3.5. Сброс испытательного груза должен быть остановлен.
Если инструкция производителя допускает одновременное использование устройства двумя рабочими или группой рабочих, то статическое испытание должно быть проведено по 5.2.5 с приложением силы 10 кН при использовании устройства одним рабочим. Прилагаемую силу увеличивают на 1 кН для каждого дополнительного рабочего (например, для трех рабочих приложенная сила должна составлять 10 кН + 1 кН + 1 кН = 12 кН).
Силу следует прикладывать в течение 3 мин. Анкерное устройство должно выдерживать эту силу.
4.3.5. Класс E. Испытание типа для анкерных устройств с противовесом
#При испытании по 5.3.6 анкерные устройства класса E не должны отпускать испытательный груз. Испытание необходимо повторить для каждого критического направления, в котором может быть приложена сила остановки падения с высоты. По желанию производителя для каждого испытания могут быть использованы новые анкерные устройства.
Смещение L центра массы анкерного устройства крепления с противовесом не должно превышать 1000 мм.
Смещение H должно быть измерено спустя 3 мин после испытания на падение, оно не должно превышать 1000 мм (см. рисунок 12). Испытание должно быть проведено при каждом состоянии крыши и на каждом типе поверхности крыши, для которой производитель заявляет пригодность своего анкерного крепления (A1:2000).#
5. Методы испытаний
5.1. Принцип
Выбранное анкерное устройство должно быть испытано путем приложения силы в ожидаемом направлении возникновения усилий при эксплуатации. Конфигурация для испытания должна быть в соответствии с инструкциями производителя, включая предварительное натяжение в случае необходимости, чтобы создать наихудшие условия испытания для каждого типа анкерного устройства.
5.2. Методы проверки статической прочности
5.2.1. Класс A1. Анкерные устройства
Устанавливают анкерное устройство согласно его монтажным инструкциям в образце типовой конструкции, в которой оно используется по назначению (рисунок 8 показывает минимальный размер образца кирпичной кладки).
Рисунок 8. Минимальный размер кирпичной кладки
Устанавливают оборудование и приборы для проверки статической прочности (см. 4.1.1), чтобы приложить тест-силу в направлении или направлениях использования анкерного устройства во время эксплуатации, и определяют точку анкерного крепления для приложения статической испытательной нагрузки, установленной в 4.3.1.1. Наблюдают, как анкерное устройство выдерживает силу.
5.2.2. Класс A2. Анкерные устройства
Устанавливают анкерное устройство согласно его монтажным инструкциям в образце типовой конструкции, для которой это устройство предназначено по заявлению производителя.
Устанавливают оборудование и приборы для проверки статической прочности (см. 4.1.1), чтобы приложить силу в направлении использования анкерного крепления во время эксплуатации, и определяют точку анкерного крепления для приложения статической испытательной нагрузки, установленной в 4.3.1.2. Наблюдают как анкерное устройство выдерживает силу.
5.2.3. Класс B. Анкерные устройства
Устанавливают приспособление и приборы для проверки статической прочности (см. 4.1.1), чтобы приложить тест-силу в направлении использования анкерного крепления во время эксплуатации, и определяют анкерную точку для приложения статической испытательной нагрузки, установленной в 4.3.2.
Наблюдают, как анкерное устройство выдерживает силу и остается устойчивым.
5.2.4. Класс C. Анкерные устройства
Устанавливают образец анкерной линии с оснасткой и оконечными устройствами на оборудовании для проверки статической прочности (см. 4.1.1) и прикладывают к анкерной линии статическую нагрузку, установленную в 4.3.3.2.
Наблюдают, как проверяемый узел в сборе выдерживает силу.
5.2.5. Класс D. Анкерные устройства
Устанавливают образец анкерной направляющей со структурными анкерами на оборудовании для проверки статической прочности (см. 4.1.1) и прикладывают силу, установленную в 4.3.4, к точке мобильного анкерного крепления в статически наиболее неблагоприятных точках крепления.
Наблюдают, как испытуемый узел в сборе выдерживает силу.
5.3. Методы проведения динамических испытаний
5.3.1. Общие положения
Строп, необходимый для испытаний анкерных устройств классов A и B, должен представлять собой скрученный из трех прядей полиамидный (нейлоновый) канат диаметром 12 мм, соответствующий требованиям ИСО 1140. На каждом конце стропа должна быть петля длиной (75 +/- 10) мм, заделанная сращиванием пяти полных переплетений. Эффективная длина стропа, измеренная при натяжении силой (40 +/- 5) Н, должна быть (2000 +/- 50) мм.
5.3.2. Классы A1 и B. Анкерные устройства
Закрепляют один конец стропа для испытаний с помощью соединительного элемента к проверяемому анкерному устройству, а другой конец (также с помощью соединительного элемента) - к испытательному грузу массой 100 кг.
На расстоянии не более 300 мм по горизонтали от точки анкерного крепления с помощью устройства быстрого расцепления поддерживают твердый испытательный груз таким образом, чтобы после освобождения он смог свободно падать на расстояние (2500 +/- 50) мм, прежде чем строп начнет сдерживать это падение.
Отпускают испытательный груз в падение и наблюдают процесс остановки этого груза. (Когда проверяют анкерное устройство класса B, тогда также наблюдают за устойчивостью этого устройства).
5.3.3. Класс A2. Анкерные устройства
Крепят анкерное устройство в соответствии с инструкциями для его установки под углом не более 20° относительно вертикали к образцу материала сооружения, для которого это устройство предназначено (см. рисунок 9). Крепят один конец стропа для испытаний с помощью соединительного элемента к проверяемому анкерному устройству, а другой конец (также с помощью соединительного элемента) - к испытательному грузу массой 100 кг.
1 - устройство измерения силы
Рисунок 9. Проверка динамической характеристики анкерных
устройств, закрепляемых на наклонных крышах
На расстоянии не более 300 мм по горизонтали от точки анкерного крепления с помощью устройства быстрого расцепления поддерживают твердый испытательный груз таким образом, чтобы после освобождения он мог свободно падать на расстояние (2500 +/- 50) мм, прежде чем строп начнет сдерживать это падение.
Отпускают испытательный груз в свободное падение и наблюдают процесс остановки этого груза.
5.3.4. Класс C. Анкерные устройства
Для проверки этих устройств потребуется цепной строп, который должен соответствовать требованиям ЕН 364 (пункт 5.3.4.1.1).
5.3.4.1. Метод проверки динамической характеристики
Устанавливают каждое анкерное устройство в соответствии с инструкциями производителя. Рядом с концевым структурным анкером и на одной линии с анкерной линией крепят датчик натяжения с устройством измерения силы по 4.1.2.2 (см. рисунок 10).
1 - датчик натяжения; 2 - устройство измерения силы;
3 - цепной строп; 4 - угловая секция анкерной линии
Рисунок 10. Проверка динамической характеристики
анкерных устройств класса C
Если анкерная линия имеет поворот не менее чем на 90°, то второе устройство измерения силы по 4.1.2.2 крепят у другого концевого структурного анкера.
Присоединяют один конец цепного стропа через аппаратуру измерения силы (см. 4.1.2.1) к точке мобильного анкерного крепления, а другой конец цепного стропа - к испытательному грузу массой 100 кг.
Располагают точку мобильного анкерного крепления в центре испытуемого пролета (посередине между структурными анкерами).
Поднимают испытательный груз, чтобы обеспечить достаточную энергию падения для развития в цепном стропе пиковой силы остановки падения не менее 6 кН. На расстоянии не более 300 мм по горизонтали от точки мобильного анкерного крепления удерживают испытательный груз с помощью устройства быстрого расцепления.
Отпускают испытательный груз и измеряют пиковую силу в анкерной линии и отклонение этой линии (с помощью быстродействующего видео или другого подходящего средства) в точке мобильного анкерного крепления в момент пиковой удерживающей силы, измеренной в цепном стропе. Эти данные используют для проверки заявлений производителя в отношении своего устройства по 4.3.3.3. Компоненты можно заменять между испытаниями.
5.3.4.2. Проверка динамической прочности
Применяют метод проверки по 5.3.4.2, но испытательный груз поднимают на высоту, которая обеспечивает достаточную энергию падения, чтобы развить в цепном стропе пиковую силу остановки падения не менее 12 кН. Сила 12 кН может быть распределена между двумя точками мобильных анкерных креплений, но расстояние между ними должно быть минимально необходимым для проведения испытания. Падение испытательного груза должно быть остановлено.
5.3.5. Класс D. Анкерные устройства
5.3.5.1. Устанавливают анкерное устройство с жесткой горизонтальной направляющей согласно инструкциям производителя для проверки динамической прочности.
Крепят один конец стропа для испытаний (см. 5.3) посредством соединительного элемента в точке мобильного анкера, а другой конец (также с помощью соединительного элемента) - к испытательному грузу массой 100 кг.
Располагают мобильную анкерную точку в центре испытательного пролета (посередине между структурными анкерами).
На расстоянии не более 300 мм по горизонтали от точки анкерного крепления с помощью устройства быстрого расцепления поддерживают твердый испытательный груз таким образом, чтобы после освобождения он мог свободно падать на расстояние (2500 +/- 50) мм, прежде чем строп начнет сдерживать это падение (см. рисунок 11).
1 - устройство измерения силы
Рисунок 11. Проверка динамической прочности на анкерных
устройствах с жесткой горизонтальной направляющей
Отпускают испытательный груз в свободное падение и наблюдают процесс остановки этого груза.
5.3.5.2. Повторяют проверку динамической прочности при расположении мобильной анкерной точки крепления у промежуточного структурного анкера.
5.3.5.3. Повторяют проверку динамической прочности при расположении мобильной анкерной точки крепления у концевого структурного анкера.
5.3.6. Класс E. Анкерные устройства с противовесом
#Для проведения динамического испытания потребуется проволочный канат диаметром 8 мм.
Устанавливают анкерное устройство согласно инструкции по его монтажу на типичных образцах, чтобы продемонстрировать надежность каждой комбинации типов строительных материалов, для которых производитель заявляет пригодность своих анкерных устройств. Поверхность смоделированной крыши, применяемой на испытаниях, должна быть мокрой. До сборки анкерного устройства с противовесом на испытательной поверхности и не более чем за 1 ч до начала испытания испытательную поверхность поливают водой температурой от 10 °C до 25 °C; расход воды 0,5 дм32.
Присоединяют проволочный канат к испытательному грузу массой 100 кг и прокладывают канат через шкивы, показанные на рисунке 12. Шкивы должны иметь минимальный диаметр 100 мм. Крепят проволочный канат на устройстве анкерного крепления с противовесом.#
Рисунок 12. Проверка динамической характеристики
на устройствах анкерного крепления с противовесом
#Поднимают испытательный груз на (2500 +/- 50) мм и не более 300 мм по горизонтали от радиуса шкива P, удерживают испытательный груз с помощью устройства быстрого расцепления.
После сборки и позиционирования до сброса испытательного груза необходимо полить испытательную поверхность водой температурой от 10 °C до 25 °C; расход воды 0,5 дм32.
Отпускают испытательный груз в свободное падение в течение 2 мин после второго полива поверхности водой и измеряют значения смещения L и H (A1:2000).#
6. Маркировка
&Маркировка должна соответствовать ЕН 365, а текст должен быть на языке(ах) страны назначения. Дополнительно к соответствию ЕН 365 маркировка должна включать в себя следующее.
Для анкерных устройств классов C и E производитель или монтажный подрядчик должны четко маркировать на самом анкерном устройстве и вблизи него следующие параметры:
a) максимальное число прикрепленных рабочих;
b) необходимость в использовании амортизаторов энергии;
c) требования к просвету над землей.&
7. Информация, предоставляемая производителем
&Инструкции по использованию должны быть предоставлены на языке(ах) страны назначения и должны соответствовать требованиям ЕН 365. Должно быть включено заявление производителя о том, что анкерные устройства испытаны по методу настоящего стандарта и, если не заявлено иное, что их следует применять для индивидуального использования с амортизатором, отвечающим требованиям ЕН 355.&
#Дополнительно указывают следующее:
a) для анкерных устройств класса C (в которых применены гибкие горизонтальные анкерные линии) инструкции по использованию должны включать в себя значение максимальной силы, которая может быть допустимой на концевых и структурных промежуточных анкерах;
b) для анкерных устройств класса E (с противовесом) необходимо, чтобы инструкции по использованию содержали следующие указания:
- анкерные устройства с противовесом не применяют в тех случаях, когда существует риск образования инея или обледенения,
- по использованию анкерных устройств с противовесом в тех случаях, когда имеется загрязнение поверхности крыши и/или анкерного устройства нефтью, смазкой и т.д. или наростом водорослей,
- по типам поверхности крыши, на которой может применяться анкерное устройство (т.е. тех поверхностей, на которых испытания анкерных устройств прошли успешно),
- анкерные устройства с противовесом не следует устанавливать на участках, на которых скапливается вода,
- в том случае, когда анкерные устройства с противовесом предполагается использовать на крыше, которая покрывается каменной крошкой, необходимо все свободные камешки удалить (например, с помощью жесткой метлы) до начала сборки анкерного устройства;
c) для анкерных устройств класса E (с противовесом) необходимо, чтобы в инструкциях по использованию содержались сообщения:
- о потенциальных опасностях, которые возникают при комбинировании анкерных устройств с противовесом и устройств втягивающего типа (ЕН 360), которые не проверялись совместно как полная система остановки при падении с высоты,
- о потенциальных опасностях, которые возникают при комбинировании анкерных устройств с противовесом и стропов с амортизатором (ЕН 355), которые не проверялись совместно как полная система остановки при падении с высоты,
- что в случае, когда пользователи намереваются комбинировать любое СИЗ от падения с высоты и анкерные устройства с противовесом, то им следует обращаться за консультацией к производителю этих СИЗ (A1:2000).#
8. Инструкции по монтажу
Производитель должен предоставлять инструкции по монтажу анкерных устройств. Монтажники должны быть уверены в пригодности основных материалов, на которых устанавливают структурные анкеры.
Приложение A
(справочное)
РЕКОМЕНДАЦИИ ПО МОНТАЖУ
A.1. Общие положения
Если анкерное устройство используют исключительно для средства индивидуальной защиты, то его следует четко маркировать пиктограммой или другой видимой и понятной маркировкой на самом анкерном устройстве или вблизи него.
&Анкерные устройства применяют только в тех системах остановки падения с высоты, которые имеют силу торможения не более 6 кН на анкерном устройстве (A1:2000).&
A.2. Класс A1. Анкерные устройства, предназначенные для закрепления на вертикальных, горизонтальных и наклонных поверхностях
Для креплений в стальных или деревянных сооружениях конструктивное решение и монтаж анкера проверяет квалифицированный инженер путем вычислений способности анкера выдерживать силу, применяемую при испытании типа.
&Для креплений в других строительных материалах монтажник должен оценивать пригодность каждого отдельного структурного анкера (см. 3.5) после его установки в этот материал путем приложения тяговой силы 5 кН в осевом направлении, чтобы подтвердить прочность крепления. Структурный анкер должен выдерживать силу не менее 15 с (A1:2000).&
A.3. Анкерные устройства, предназначенные для закрепления на наклонных крышах
Для креплений в стальных или деревянных сооружениях конструктивное решение и монтаж анкера проверяет квалифицированный инженер путем вычислений способности анкера выдерживать силу, применяемую при испытании типа.
Для креплений в других строительных материалах монтажник должен оценивать пригодность путем выполнения испытания на образце соответствующего материала. Образец должен удовлетворять требованиям 4.3.1.2, предъявляемым при испытаниях типа.
A.4. Класс B. Переносные временные анкерные устройства
Должное внимание следует уделять оценке пригодности переносных временных анкерных устройств и соответствующих креплений для применения, в котором их предполагается использовать. Пригодность любого монтажа анкерного устройства оценивает квалифицированный инженер.
A.5. Анкерные устройства, содержащие гибкие анкерные линии
Для устройств, содержащих горизонтальные анкерные линии из текстильного каната, ленты или проволочного каната, минимальная прочность на разрыв каната или ленты должна быть не менее чем в два раза больше максимального линейного натяжения в упомянутом канате или ленте. Характеристика прочности относится к спланированной остановке падения, которую для упомянутых выше устройств определяют при испытаниях или путем вычислений.
Такие устройства следует конструировать с использованием расчетных методов и критериев производителя. Сами методы расчета и критерии следует обосновывать в соответствии с 4.3.3.3.
Если возможно, то анкерное устройство следует монтировать на сооружениях, которые позволяют это устройство проверять. Если практически невозможно подвергнуть основную опорную конструкцию воздействию испытательных сил, то все применяемые в устройстве концевые и промежуточные структурные анкеры должны заранее показать свою способность выдерживать двойную максимальную прогнозируемую силу. С помощью расчетов, сделанных квалифицированным инженером, следует проверить, что основная опорная конструкция с концевыми и промежуточными структурными анкерами будет выдерживать такие силы.
Если проверка расчетным путем невозможна, например, в случаях, когда механические свойства монтажных материалов неизвестны, то монтажнику следует проверить их пригодность путем установки анкерного устройства на таком материале и убедиться в соблюдении испытательных требований, изложенных в 4.3.3.
Для креплений во всех материалах каждый концевой или промежуточный структурный анкер (после его монтажа) подвергают испытанию на вытягивание, чтобы подтвердить прочность крепления. При этом испытании следует приложить силу, равную 5 кН, которую структурный анкер должен выдерживать не менее 15 с.
Если установка содержит секции анкерной линии под углом более 15° относительно горизонтали, то монтажнику следует убедиться в том, что структурный анкер рассчитан выдерживать силы, которые могут возникать в анкерной линии в случае остановки падения с высоты, и что высота падения минимальна.
Монтажнику следует также убедиться в том, что высота, требуемая или необходимая для остановки падения рабочего, не превышает высоту, имеющуюся на монтажном участке.
A.6. Анкерные устройства, содержащие жесткие анкерные линии
Для креплений в стальных или деревянных сооружениях конструктивное решение и монтаж анкерного устройства должен проверять квалифицированный инженер путем вычислений способности анкера выдерживать силу, применяемую при испытании типа.
Для креплений в других строительных материалах монтажник должен оценивать пригодность путем выполнения испытания на образце соответствующего материала. Образец должен удовлетворять требованиям 4.3.4, предъявляемым при испытаниях типа. После этого каждый структурный анкер, смонтированный в этом материале, подвергают воздействию осевой тяговой силы, равной 5 кН, чтобы подтвердить прочность крепления.
Структурный анкер должен выдерживать силу не менее 15 с.
Монтажнику следует также убедиться в том, что высота, требуемая или необходимая для остановки падения рабочего, не превышает высоту, имеющуюся на монтажном участке.
A.7. Класс E. Анкерные устройства с противовесом
Анкерные устройства с противовесом, заполняемым водой, следует снимать с эксплуатации в случае возникновения утечки.
#Приложение B
Исключено (A1:2000).#
Приложение ДА
(справочное)
СВЕДЕНИЯ О СООТВЕТСТВИИ ССЫЛОЧНЫХ ЕВРОПЕЙСКИХ РЕГИОНАЛЬНЫХ
И МЕЖДУНАРОДНЫХ СТАНДАРТОВ ССЫЛОЧНЫМ НАЦИОНАЛЬНЫМ СТАНДАРТАМ
РОССИЙСКОЙ ФЕДЕРАЦИИ
Таблица ДА.1
Обозначение ссылочного европейского регионального и международного стандарта
Степень соответствия
Обозначение и наименование соответствующего национального стандарта
ИС МЕГАНОРМ: примечание.
В официальном тексте документа, видимо, допущена опечатка: стандарт имеет номер ГОСТ Р ЕН 354-2010, а не ГОСТ Р ЕН 354-2008.
ЕН 354
IDT
ГОСТ Р ЕН 354-2008 "Система стандартов безопасности труда. Средства индивидуальной защиты от падения с высоты. Стропы. Общие технические требования. Методы испытаний"
ЕН 355
IDT
ГОСТ Р ЕН 355-2008 "Система стандартов безопасности труда. Средства индивидуальной защиты от падения с высоты. Амортизаторы. Общие технические требования. Методы испытаний"
ЕН 360
IDT
ГОСТ Р ЕН 360-2008 "Система стандартов безопасности труда. Средства индивидуальной защиты от падения с высоты. Средства защиты от падения втягивающего типа. Общие технические требования. Методы испытаний"
ЕН 362
IDT
ГОСТ Р ЕН 362-2008 "Система стандартов безопасности труда. Средства индивидуальной защиты от падения с высоты. Соединительные элементы. Общие технические требования. Методы испытаний"
ЕН 364:1992
MOD
ГОСТ Р 12.4.206-99 "Система стандартов безопасности труда. Средства индивидуальной защиты от падения с высоты. Методы испытаний"
ИС МЕГАНОРМ: примечание.
В официальном тексте документа, видимо, допущена опечатка: стандарт имеет номер ГОСТ Р ЕН 365-2010, а не ГОСТ Р ЕН 365-2011.
ЕН 365
IDT
ГОСТ Р ЕН 365-2011 "Система стандартов безопасности труда. Средства индивидуальной защиты от падения с высоты. Основные требования к инструкции по применению, периодической проверке, обслуживанию, ремонту, маркировке и упаковке"
ЕН 516
-
ЕН 517
-
ИСО 1140
-
<*> Соответствующий национальный стандарт отсутствует. До его утверждения рекомендуется использовать переводы на русский язык данного европейского регионального и международного стандартов. Переводы данного европейского регионального и международного стандартов находятся в Федеральном информационном фонде технических регламентов и стандартов.
Примечание. В настоящей таблице использованы следующие условные обозначения степени соответствия стандартов:
- IDT - идентичные стандарты;
- MOD - модифицированные стандарты.