Главная // Актуальные документы // ГОСТ Р (Государственный стандарт)СПРАВКА
Источник публикации
В данном виде документ опубликован не был.
Первоначальный текст документа опубликован в издании
М.: Стандартинформ, 2009.
Информацию о публикации документов, создающих данную редакцию, см. в справке к этим документам.
Примечание к документу
Документ включен в
Перечень документов в области стандартизации, в результате применения которых на добровольной основе обеспечивается соблюдение требований Федерального
закона от 22.07.2008 N 123-ФЗ "Технический регламент о требованиях пожарной безопасности" (
Приказ Росстандарта от 14.07.2020 N 1190).
Документ включен в
Перечень документов в области стандартизации, в результате применения которых на добровольной основе обеспечивается соблюдение требований Федерального
закона от 22.07.2008 N 123-ФЗ "Технический регламент о требованиях пожарной безопасности" (
Приказ Росстандарта от 03.06.2019 N 1317).
Документ включен в
Перечень документов в области стандартизации, в результате применения которых на добровольной основе обеспечивается соблюдение требований Федерального
закона от 22.07.2008 N 123-ФЗ "Технический регламент о требованиях пожарной безопасности" (
Приказ Росстандарта от 17.04.2019 N 832).
Документ включен в
Перечень документов в области стандартизации, в результате применения которых на добровольной основе обеспечивается соблюдение требований Федерального
закона от 22.07.2008 N 123-ФЗ "Технический регламент о требованиях пожарной безопасности" (
Приказ Росстандарта от 16.04.2014 N 474).
Документ включен в
Перечень национальных стандартов и сводов правил, в результате применения которых на добровольной основе обеспечивается соблюдение требований Федерального
закона от 22.07.2008 г. N 123-ФЗ "Технический регламент о требованиях пожарной безопасности" (
Приказ Ростехрегулирования от 30.04.2009 N 1573).
Документ включен в
Перечень национальных стандартов, содержащих правила и методы исследований (испытаний) и измерений, в том числе правила отбора образцов, необходимых для применения и исполнения Федерального
закона от 22.07.2008 N 123-ФЗ "Технический регламент о требованиях пожарной безопасности" и осуществления оценки соответствия (
Распоряжение Правительства РФ от 10.03.2009 N 304-р).
Изменение N 1, утв. Приказом Росстандарта от 09.07.2014 N 729-ст, введено в действие с 1 ноября 2014 года.
Название документа
"ГОСТ Р 53295-2009. Национальный стандарт Российской Федерации. Средства огнезащиты для стальных конструкций. Общие требования. Метод определения огнезащитной эффективности"
(утв. Приказом Ростехрегулирования от 18.02.2009 N 71-ст)
(ред. от 09.07.2014)
"ГОСТ Р 53295-2009. Национальный стандарт Российской Федерации. Средства огнезащиты для стальных конструкций. Общие требования. Метод определения огнезащитной эффективности"
(утв. Приказом Ростехрегулирования от 18.02.2009 N 71-ст)
(ред. от 09.07.2014)
Утвержден и введен в действие
от 18 февраля 2009 г. N 71-ст
НАЦИОНАЛЬНЫЙ СТАНДАРТ РОССИЙСКОЙ ФЕДЕРАЦИИ
СРЕДСТВА ОГНЕЗАЩИТЫ ДЛЯ СТАЛЬНЫХ КОНСТРУКЦИЙ
ОБЩИЕ ТРЕБОВАНИЯ.
МЕТОД ОПРЕДЕЛЕНИЯ ОГНЕЗАЩИТНОЙ ЭФФЕКТИВНОСТИ
Fire retardant compositions for steel constructions.
General requirement. Method for determining
fire retardant efficiency
ГОСТ Р 53295-2009
| | Список изменяющих документов Росстандарта от 09.07.2014 N 729-ст) | |
(в ред.
Изменения N 1, утв. Приказом Росстандарта от 09.07.2014 N 729-ст)
Дата введения
1 января 2010 года
с правом досрочного применения
Цели и принципы стандартизации в Российской Федерации установлены Федеральным
законом от 27 декабря 2002 г. N 184-ФЗ "О техническом регулировании", а правила применения национальных стандартов Российской Федерации -
ГОСТ Р 1.0-2004 "Стандартизация в Российской Федерации. Основные положения".
1. Разработан ФГУ ВНИИПО МЧС России.
2. Внесен Техническим комитетом по стандартизации ТК 274 "Пожарная безопасность".
3 Утвержден и введен в действие
Приказом Федерального агентства по техническому регулированию и метрологии от 18 февраля 2009 г. N 71-ст.
4. Введен впервые.
Информация об изменениях к настоящему стандарту публикуется в ежегодно издаваемом информационном указателе "Национальные стандарты", а текст изменений и поправок - в ежемесячно издаваемых информационных указателях "Национальные стандарты". В случае пересмотра (замены) или отмены настоящего стандарта соответствующее уведомление будет опубликовано в ежемесячно издаваемом информационном указателе "Национальные стандарты". Соответствующая информация, уведомление и тексты размещаются также в информационной системе общего пользования - на официальном сайте Федерального агентства по техническому регулированию и метрологии в сети Интернет.
Настоящий стандарт является нормативным документом по пожарной безопасности в области стандартизации и устанавливает общие требования к средствам огнезащиты для стальных конструкций, а также метод определения огнезащитной эффективности этих средств.
Настоящий стандарт не распространяется на определение пределов огнестойкости строительных конструкций с огнезащитой.
Соблюдение требований настоящего стандарта рекомендуется при разработке нормативно-технической документации на данные средства огнезащиты и при их сертификации.
В настоящем стандарте использованы нормативные ссылки на следующие стандарты:
ГОСТ 6616-94. Преобразователи термоэлектрические. Общие технические условия
ГОСТ 8239-89 (СТ СЭВ 2209-80). Двутавры стальные горячекатаные. Сортамент
ГОСТ 26020-83. Двутавры стальные горячекатаные с параллельными гранями полок. Сортамент
ГОСТ 27772-88. Прокат для строительных стальных конструкций. Общие технические условия
(ссылка введена
Изменением N 1, утв. Приказом Росстандарта от 09.07.2014 N 729-ст)
| | ИС МЕГАНОРМ: примечание. В официальном тексте документа, видимо, допущена опечатка: ГОСТ 28246-2006 имеет название "Материалы лакокрасочные. Термины и определения". | |
(ссылка введена
Изменением N 1, утв. Приказом Росстандарта от 09.07.2014 N 729-ст)
ГОСТ 30247.0-94 (ИСО 834-75). Конструкции строительные. Методы испытаний на огнестойкость. Общие требования
ГОСТ 30247.1-94. Конструкции строительные. Методы испытаний на огнестойкость. Несущие и ограждающие конструкции
(ссылка введена
Изменением N 1, утв. Приказом Росстандарта от 09.07.2014 N 729-ст)
ГОСТ Р 53293-2009. Пожарная опасность веществ и материалов. Материалы, вещества и средства огнезащиты. Идентификация методами термического анализа
(ссылка введена
Изменением N 1, утв. Приказом Росстандарта от 09.07.2014 N 729-ст)
Примечание. При пользовании настоящим стандартом целесообразно проверить действие ссылочных стандартов в информационной системе общего пользования - на официальном сайте Федерального агентства по техническому регулированию и метрологии в сети Интернет или по ежегодно издаваемому информационному указателю "Национальные стандарты", который опубликован по состоянию на 1 января текущего года, и по соответствующим ежемесячно издаваемым информационным указателям, опубликованным в текущем году. Если ссылочный стандарт заменен (изменен), то при пользовании настоящим стандартом следует руководствоваться заменяющим (измененным) стандартом. Если ссылочный стандарт отменен без замены, то положение, в котором дана ссылка на него, применяется в части, не затрагивающей эту ссылку.
В настоящем стандарте применены следующие термины с соответствующими определениями:
3.1. Огнезащита: технические мероприятия, направленные на повышение огнестойкости и (или) снижение пожарной опасности зданий, сооружений, строительных конструкций.
3.2. Средство огнезащиты: огнезащитный состав или материал, обладающий огнезащитной эффективностью и предназначенный для огнезащиты различных объектов.
3.3. Огнезащитный состав: вещество или смесь веществ, обладающих огнезащитной эффективностью и предназначенных для огнезащиты различных объектов.
3.4. Огнезащитная эффективность: показатель эффективности средства огнезащиты, который характеризуется временем в минутах от начала огневого испытания до достижения критической температуры (500 °C) стандартным образцом стальной конструкции с огнезащитным покрытием и определяется методом, изложенным в
разделе 5 настоящего стандарта.
3.5. Огнезащитная обработка: нанесение (монтаж) средства огнезащиты на поверхность объекта огнезащиты в целях повышения огнестойкости.
3.6. Конструктивная огнезащита: способ огнезащиты строительных конструкций, основанный на создании на обогреваемой поверхности конструкции теплоизоляционного слоя средства огнезащиты. К конструктивной огнезащите относятся толстослойные напыляемые составы, штукатурки, облицовка плитными, листовыми и другими огнезащитными материалами, в том числе на каркасе, с воздушными прослойками, а также комбинация данных материалов, в том числе с тонкослойными вспучивающимися покрытиями. Способ нанесения (крепления) огнезащиты должен соответствовать способу, описанному в протоколе испытаний на огнестойкость и в проекте огнезащиты.
(п. 3.6 в ред.
Изменения N 1, утв. Приказом Росстандарта от 09.07.2014 N 729-ст)
3.7. Комбинированный способ огнезащиты: сочетания различных способов огнезащитной обработки.
3.8. Объект огнезащиты: конструкция или изделие, подвергаемые обработке средством огнезащиты в целях снижения их пожарной опасности и (или) повышения огнестойкости.
3.9. Огнезащитное покрытие: слой, полученный в результате нанесения (монтажа) средства огнезащиты на поверхность объекта огнезащиты.
3.10. Приведенная толщина металла: отношение площади поперечного сечения металлической конструкции к периметру ее обогреваемой поверхности.
3.11. Гарантийный срок хранения (годности): время, в течение которого средство огнезащиты (отдельные его составляющие) может храниться или быть использовано для огнезащитной обработки конструкций без снижения огнезащитной эффективности и гарантийного срока эксплуатации.
3.12. Гарантийный срок эксплуатации: время, в течение которого гарантируется эксплуатация средства огнезащиты с заданной огнезащитной эффективностью.
3.13. Тонкослойное вспучивающееся огнезащитное покрытие (огнезащитная краска): способ огнезащиты строительных конструкций, основанный на нанесении на обогреваемую поверхность конструкции специальных красок или лакокрасочных систем по
ГОСТ 28246, предназначенных для повышения предела огнестойкости строительных конструкций и обладающих огнезащитной эффективностью. Принцип действия огнезащитной краски (лакокрасочной системы) основан на химической реакции, активируемой при воздействии пожара, в результате которой толщина огнезащитного покрытия многократно увеличивается, образуя на обогреваемой поверхности конструкции теплоизоляционный слой, защищающий конструкцию от нагревания.
(п. 3.13 введен
Изменением N 1, утв. Приказом Росстандарта от 09.07.2014 N 729-ст)
4.1. Средства огнезащиты для стальных конструкций должны иметь техническую документацию (технические условия, технологические регламенты, паспорта), разработанную производителем и зарегистрированную в установленном порядке.
4.2. Техническая документация должна содержать следующие документально подтвержденные показатели и характеристики средств огнезащиты:
(в ред.
Изменения N 1, утв. Приказом Росстандарта от 09.07.2014 N 729-ст)
- группу огнезащитной эффективности;
- расход для определенной группы огнезащитной эффективности;
- толщину огнезащитного покрытия для определенной группы огнезащитной эффективности;
- плотность (объемную массу) средства огнезащиты;
- сведения по технологии нанесения: способы подготовки поверхности, виды и марки грунтов, клеящих составов, количество слоев, условия сушки, способы крепления и порядок изготовления (монтажа);
- виды и марки дополнительных (защитных, декоративных) поверхностных слоев средства огнезащиты;
- гарантийный срок и условия хранения средства огнезащиты;
- мероприятия по технике безопасности и пожарной безопасности при хранении средства огнезащиты и производстве работ;
- гарантийный срок и условия эксплуатации (предельные значения влажности, температуры окружающей среды и т.п.);
- возможность и периодичность замены или восстановления в зависимости от условий эксплуатации.
4.3. Проектирование и производство работ по огнезащите конструкций должны осуществляться организациями, имеющими лицензию на данные виды деятельности.
4.4. Группа огнезащитной эффективности средств огнезащиты определяется в соответствии с
п. 5.5.3 настоящего стандарта.
4.5. Испытания по определению огнезащитной эффективности средств огнезащиты должны проводиться в специализированной организации, имеющей соответствующую аккредитацию.
4.6. Одновременно с испытаниями по определению огнезащитной эффективности проводятся контрольные испытания в соответствии с
разделом 6 настоящего стандарта.
4.7. Необходимо предусмотреть возможность восстановления средств огнезащиты в течение гарантийного срока эксплуатации и (или) замены после окончания этого срока, устанавливаемого производителем в соответствии с технической документацией.
4.8. Не допускается применение средств огнезащиты на объектах, расположенных в местах, где отсутствует возможность замены или восстановления (реставрации) средств огнезащиты.
4.9. При использовании дополнительного (защитного, декоративного) поверхностного слоя для средства огнезащиты огнезащитные характеристики следует определять с учетом этого слоя.
4.10. Показатели и характеристики средств огнезащиты, за исключением группы огнезащитной эффективности, определяются разработчиком технической документации, и за их точность он несет установленную законодательством ответственность.
4.11. При научно-техническом обосновании по инициативе заказчика на добровольной основе могут быть проведены дополнительные испытания в соответствии с методом, изложенным в
разделе 5, по расширенной программе на образцах колонн различной формы сечения, с различной приведенной толщиной металла. Целью проведения данных испытаний является построение обобщенной зависимости толщины огнезащитного покрытия от приведенной толщины металла для различных значений времени достижения предельного состояния конструкции с конкретным средством огнезащиты. При построении указанных зависимостей допускается применять метод линейной интерполяции для заданного постоянного параметра (приведенная толщина металла, толщина огнезащитного покрытия, время) при наличии не менее трех экспериментально установленных значений двух других параметров. При этом экстраполяция не допускается.
(п. 4.11 в ред.
Изменения N 1, утв. Приказом Росстандарта от 09.07.2014 N 729-ст)
4.12. Упаковка, условия хранения и транспортирования средств огнезащиты должны обеспечивать их огнезащитные свойства в течение установленного срока годности.
4.13. Не допускается применение средств огнезащиты на неподготовленных (или подготовленных с нарушениями требований технической документации на эти средства) поверхностях объектов защиты.
5. Метод определения огнезащитной эффективности
5.1. Сущность метода заключается в определении времени от начала теплового воздействия на опытный образец до наступления предельного состояния этого образца.
5.2. Оборудование для испытаний
5.2.1. Оборудование включает в себя:
- установку для огневых испытаний малогабаритных образцов стержневых конструкций;
- приспособления для установки образца;
- систему измерения и регистрации параметров, включая оборудование для проведения кино-, фото- или видеосъемок.
5.2.2. Основные размеры и схемы установки приведены на
рисунке А.1 (Приложение А).
5.2.3. Требования к системе подачи и сжигания топлива, системам измерения и регистрации параметров, температурному режиму в установке - по
ГОСТ 30247.0.
5.3. Образцы для испытаний
5.3.1. Для проведения испытаний изготавливаются два одинаковых образца.
5.3.2. В качестве образцов, на которые наносится (монтируется) средство огнезащиты, должны использоваться стальные колонны двутаврового сечения профиля N 20 по
ГОСТ 8239 или профиля N 20Б1 по
ГОСТ 26020. Высота образца (1700 +/- 10) мм. Приведенная толщина металла стальной колонны определяется непосредственно перед каждым испытанием.
5.3.3. Средство огнезащиты наносится (монтируется) на образцы в соответствии с технической документацией (зачистка поверхности стальных образцов, тип грунтовки, количество и толщина наносимого слоя и т.д.) в присутствии специалистов, проводящих испытания.
Примечание. Перед нанесением средства огнезащиты должна быть проведена его идентификация. Экспериментальная идентификация средства огнезащиты (огнезащитного состава) проводится с помощью аппаратуры термического анализа в соответствии с
ГОСТ Р 53293.
(в ред.
Изменения N 1, утв. Приказом Росстандарта от 09.07.2014 N 729-ст)
5.3.4. Влажность средства огнезащиты должна быть динамически уравновешенной с окружающей средой с относительной влажностью (60 +/- 15)% при температуре (20 +/- 10) °C.
5.4. Подготовка и проведение испытаний
5.4.2. Подготовка к проведению испытаний включает в себя расстановку термоэлектрических преобразователей (термопар) в печи и на образце, проверку и отладку систем подачи и сжигания топлива, приборов, установку опытного образца в печи.
5.4.3. Перед испытаниями проводятся контрольные измерения фактической толщины нанесенного на образцы средства огнезащиты (для огнезащитных составов, штукатурок и пр.). Измерение толщины покрытия проводится не менее чем в десяти точках по периметру обогреваемой поверхности двутавра, с шагом не более 500 мм по высоте образца. За результат принимается среднее арифметическое значение результатов всех измерений. При этом среднее квадратическое отклонение

должно составлять не более 20% от результата измерений. Оценка и пример вычисления среднего квадратического отклонения результата измерений даны в
Приложении Д.
(в ред.
Изменения N 1, утв. Приказом Росстандарта от 09.07.2014 N 729-ст)
Погрешность измерения не должна превышать +/- 0,02Т, где Т - измеряемая толщина покрытия, мм.
(в ред.
Изменения N 1, утв. Приказом Росстандарта от 09.07.2014 N 729-ст)
5.4.4. Температура металла опытного образца измеряется с помощью термоэлектрических преобразователей (термопар) (класс допуска 2 по
ГОСТ 6616), изготовленных из провода диаметром не более 0,75 мм. Термопары на образце устанавливаются методом зачеканивания в количестве трех штук: в среднем сечении образца на стенку двутавра и на внутренние поверхности полок двутавра. Схема расстановки термопар представлена на
рисунке А.2 (Приложение А).
5.4.5. Температура металла испытываемого образца определяется как среднее арифметическое значение показаний термопар, расположенных в установленных местах.
5.4.6. В процессе проведения испытаний регистрируются следующие показатели:
- время наступления предельного состояния образца;
- поведение средства огнезащиты (вспучивание, обугливание, отслоение, появление трещин, выделение дыма, продуктов горения и т.д.);
- изменение температуры металла опытного образца.
5.4.7. Испытания проводятся без статической нагрузки, при четырехстороннем тепловом воздействии до наступления предельного состояния опытного образца.
5.4.8. За предельное состояние принимается достижение металлом опытного образца критической температуры, равной 500 °C (среднее значение по показаниям трех термопар).
5.5. Оценка результатов испытаний
5.5.1. За результат испытания одного образца принимается время (в минутах) наступления предельного состояния этого образца.
5.5.2. Огнезащитная эффективность средства огнезащиты для стальных конструкций определяется как среднее арифметическое значение результатов испытаний двух образцов. При этом максимальные и минимальные значения результатов испытаний образцов не должны отличаться друг от друга более чем на 20% (от большего значения). Если значения результатов испытаний отличаются друг от друга более чем на 20%, должно быть проведено дополнительное испытание, а огнезащитную эффективность следует определять как среднее арифметическое двух меньших значений.
Примечание. При определении огнезащитной эффективности средства огнезащиты не учитываются результаты испытаний образцов стальных колонн, проводимых по расширенной программе по
4.11, с формой сечения, отличной от указанной в
5.3.2. В этом случае допускается испытывать по одному образцу колонны для каждого значения приведенной толщины металла, а в отчете по испытаниям следует указывать время достижения критической температуры опытного образца.
(примечание введено
Изменением N 1, утв. Приказом Росстандарта от 09.07.2014 N 729-ст)
При определении огнезащитной эффективности средства огнезащиты на добровольной основе могут быть проведены следующие дополнительные испытания:
- огневое испытание образца стальной колонны или горизонтальной балки, с учетом приложения к ним статической нагрузки, в соответствии с методами, изложенными в
Приложениях Б и
В;
- огневое испытание образца стальной колонны с тонкослойным вспучивающимся огнезащитным покрытием (краской) при температурном режиме медленно развивающегося (тлеющего) пожара, в соответствии с методом, изложенным в
Приложении Г.
(абзацы введены
Изменением N 1, утв. Приказом Росстандарта от 09.07.2014 N 729-ст)
5.5.3. Огнезащитная эффективность средств огнезащиты в зависимости от наступления предельного состояния подразделяется на 7 групп:
- 1-я группа - не менее 150 мин;
- 2-я группа - не менее 120 мин;
- 3-я группа - не менее 90 мин;
- 4-я группа - не менее 60 мин;
- 5-я группа - не менее 45 мин;
- 6-я группа - не менее 30 мин;
- 7-я группа - не менее 15 мин.
При определении группы огнезащитной эффективности средств огнезащиты результаты испытаний с показателями менее 15 мин не рассматриваются.
6. Контрольный метод испытаний средств огнезащиты
6.1. Сущность метода
6.1.1. Контрольный метод испытаний средств огнезащиты используется при проверке их огнезащитной эффективности в процессе производства этих средств, а также в рамках проведения инспекционного контроля в период действия сертификата соответствия при их поставках крупными партиями (из расчета требуемой массы средства огнезащиты на 1000 м2 поверхности металлоконструкции и более).
(в ред.
Изменения N 1, утв. Приказом Росстандарта от 09.07.2014 N 729-ст)
6.1.2. Сущность метода заключается в тепловом воздействии на опытный образец и определении времени от начала теплового воздействия до наступления предельного состояния опытного образца.
6.2. Образцы для испытаний
6.2.1. Для проведения испытаний изготавливается один образец.
6.2.2. В качестве образца используется стальная пластина размером 600 x 600 x 5 мм с нанесенным на нее средством огнезащиты. Допустимые отклонения по ширине и длине стальной пластины не должны превышать +/- 5 мм, а по толщине +/- 0,5 мм.
6.2.3. Необогреваемая поверхность опытного образца должна иметь теплоизоляцию из материала с термическим сопротивлением не менее 1,9 м2 x °C/Вт и толщиной не менее 100 мм.
6.2.4. Состав, толщина, технология нанесения средств огнезащиты (механизированный способ нанесения или вручную), качество стальной поверхности, на которую наносится покрытие (неокрашенная очищенная поверхность или поверхность, загрунтованная лакокрасочными покрытиями) должны быть идентичными составу, толщине и технологии нанесения, применявшимся при испытаниях по оценке огнезащитной эффективности средств огнезащиты для стальных конструкций.
6.3. Проведение испытаний
6.3.2. Испытания проводятся на установке для теплофизических исследований и испытаний малогабаритных фрагментов плоских конструкций и отдельных узлов их стыковых сопряжений и закреплений. Основные размеры и схема установки приведены на
рисунке А.3 (Приложение А).
6.3.3. Требования к испытательному оборудованию и средствам измерений, температурный режим - по
ГОСТ 30247.0.
6.3.4. Температура на поверхности образца измеряется с помощью термопар (класс допуска 2 по
ГОСТ 6616), изготовленных из провода диаметром не более 0,75 мм, которые устанавливаются методом зачеканивания на необогреваемую поверхность образца в количестве трех штук. Одна из термопар устанавливается в центре образца, а две другие - по диагонали на расстоянии (200 +/- 5) мм от центра.
6.3.5. Температура металла испытываемого образца рассчитывается как среднее арифметическое значение показаний термопар, расположенных в установленных местах.
6.3.6. В процессе проведения испытаний регистрируются следующие показатели:
- время наступления предельного состояния;
- изменение температуры в печи;
- поведение средства огнезащиты (вспучивание, обугливание, отслоение, выделение дыма, продуктов горения и т.д.);
- изменение температуры на необогреваемой поверхности опытного образца.
6.3.7. Испытания проводятся до наступления предельного состояния опытного образца.
6.3.8. За предельное состояние принимается достижение металлом опытного образца критической температуры, равной 500 °C (среднее значение по показаниям трех термопар).
6.4. Оценка результатов испытаний
6.4.1. За результат принимается время достижения образцом предельного состояния.
6.4.2. Результаты последующих испытаний не должны отличаться от результатов испытаний контрольного образца более чем на 20% в сторону уменьшения времени достижения предельного состояния.
6.5. Протокол испытаний
6.5.1. Результаты испытаний оформляются в виде протокола, который является приложением к отчету об испытаниях по оценке огнезащитной эффективности средства огнезащиты для стальных конструкций.
6.5.2. Протокол должен содержать:
- наименование организации, проводившей испытания;
- наименование организации-заказчика;
- наименование средства огнезащиты, сведения об изготовителе, товарный знак и маркировку средства огнезащиты с указанием технической документации;
- дату изготовления средства огнезащиты;
- способ нанесения и толщину слоя огнезащиты;
- дату проведения испытаний;
- наименование нормативного документа на методы проведения испытаний;
- визуальные наблюдения при испытании;
- эскизы и описание испытанных образцов, данные о контрольных измерениях состояния образцов, об эксплуатационных свойствах покрытий и перечень допущенных при изготовлении образца отклонений от требований технических документов на конструкцию;
- контролируемые параметры, результаты их обработки и оценки;
- заключение о группе огнезащитной эффективности средства огнезащиты;
- срок действия протокола.
Соблюдение требований техники безопасности - по
ГОСТ 30247.0.
(обязательное)
УСТАНОВКИ ДЛЯ ПРОВЕДЕНИЯ ИСПЫТАНИЙ
1 - огневая камера; 2 - кладка печи;
3 - нагревательный канал форсунки; 4 - форсунка;
5 - дымовой канал; 6 - вытяжной зонт; 7 - свод печи;
8 - испытываемый образец; 9 - воздуховод;
10 - термопара; 11 - смотровой люк
Рисунок А.1. Установка для огневых испытаний
малогабаритных образцов стержневых конструкций
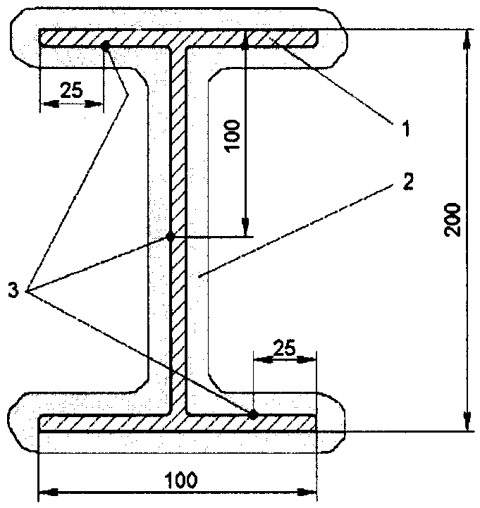
1 - двутавр N 20; 2 - огнезащитное покрытие;
3 - термоэлектрические преобразователи (термопары)
Рисунок А.2. Схема расстановки
термоэлектрических преобразователей в среднем сечении
на поверхности опытного образца
1 - форсунка; 2 - нагревательный канал форсунки;
3 - термопара; 4 - вкладыш; 5 - испытываемый образец;
6 - дымовой канал; 7 - кладка печи;
8 - огневая камера; 9 - разборная часть кладки
Рисунок А.3. Установка для теплофизических исследований
и испытаний на огнестойкость малогабаритных фрагментов
плоских конструкций и отдельных узлов их стыковых
сопряжений и закреплений
(рекомендуемое)
МЕТОД ОГНЕВОГО ИСПЫТАНИЯ СТАЛЬНОЙ КОЛОННЫ
С ОГНЕЗАЩИТОЙ ПРИ ВОЗДЕЙСТВИИ НАГРУЗКИ
Росстандарта от 09.07.2014 N 729-ст)
Б.1. Общие положения
Настоящий метод применяется для проведения огневого испытания стальной колонны с нанесенным средством огнезащиты при воздействии на нее статической нагрузки.
Целью испытания является получение экспериментальных данных о влиянии напряженно-деформированного состояния стальной конструкции <1> на огнезащитную эффективность средства огнезащиты.
--------------------------------
<1> Для проведения данных испытаний нагрузка, форма образца, способ опирания и марка стали подобраны так, чтобы расчетная критическая температура колонны, при которой произойдет ее обрушение или достижение предельных деформаций, составляла не менее 500 °C. Таким образом, при одинаковом прогреве конструкций время достижения предельного состояния колонны под нагрузкой должно быть не менее, чем при испытаниях колонны без нагрузки.
Настоящий метод не распространяется на определение пределов огнестойкости стальных конструкций с огнезащитой.
Б.2. Стендовое оборудование
Принципиальная схема установки для огневых испытаний стальной колонны при воздействии нагрузки приведена на рисунке Б.1.
1 - огневая камера печи; 2 - опытный образец стальной
колонны; 3 - шарнирная опора; 4 - нагружающее устройство;
5 - верхние и нижние опорные элементы, обеспечивающие
работу системы нагружения опытного образца; 6 - устройство
для жесткого защемления опытного образца; 7 - теплоизоляция
Рисунок Б.1. Принципиальная схема установки для огневых
испытаний стальной колонны под нагрузкой
Установка должна быть оснащена огневой камерой, нагружающим и опорным устройствами, обеспечивающими нагружение образца в соответствии с его расчетной схемой.
Б.3. Образцы для испытаний
Б.3.1. Для проведения испытаний с приложением нагрузки изготавливается один образец колонны.
Б.3.2. В качестве образца, на который наносится (монтируется) средство огнезащиты, используется стальная колонна с формой профиля в соответствии с
5.3.2 настоящего стандарта и высотой (3000 +/- 10) мм. Приведенная толщина металла стальной колонны определяется непосредственно перед каждым испытанием.
Образец колонны должен быть оснащен опорными пластинами толщиной (10 +/- 1) мм для установки в нагружающее устройство с жестким защемлением образца с одной стороны и шарниром с другой стороны.
Колонна должна быть выполнена из конструкционной стали С255 по
ГОСТ 27772.
Б.3.3. Нанесение (монтаж) средства огнезащиты производится до установки образца в нагружающее устройство в соответствии с
5.3.3,
5.3.4 настоящего стандарта.
Б.4. Подготовка и проведение испытаний
Б.4.1. Подготовка и проведение испытаний - в соответствии с
5.4 настоящего стандарта (за исключением
5.4.7,
5.4.8).
Б.4.2. В процессе проведения испытаний регистрируется деформация опытного образца.
Б.4.3. Испытания образца проводятся с приложением статической нагрузки при четырехстороннем тепловом воздействии. Величина нагрузки должна быть равной (30,0 +/- 1,5) т. Испытание нагруженного опытного образца проводится при условии вертикального сжатия с шарнирным опиранием с одной стороны и жестким защемлением с другой стороны колонны. Испытания проводятся до наступления предельного состояния опытного образца.
Б.4.4. За предельное состояние образца принимается достижение предельно допустимой вертикальной деформации, определяемой по
ГОСТ 30247.1.
Б.5. Оценка результатов испытания
Б.5.1. За результат испытания принимается время (в минутах) от начала теплового воздействия до наступления предельного состояния образца.
Б.5.2. По результату испытаний нагруженного опытного образца колонны посредством огнезащиты проводится сравнительный анализ с результатами испытаний колонны без нагрузки, проведенных по
разделу 5 настоящего стандарта.
Если значение результата испытания нагруженного опытного образца отличается от среднего арифметического значения результатов испытаний опытных образцов, испытанных без нагрузки, более чем на 20% в меньшую сторону, то среднее арифметическое значение результатов испытаний двух образцов колонн без нагрузки принимается равным результату испытания под нагрузкой.
(рекомендуемое)
МЕТОД ОГНЕВОГО ИСПЫТАНИЯ СТАЛЬНОЙ БАЛКИ
С ОГНЕЗАЩИТОЙ ПРИ ВОЗДЕЙСТВИИ НАГРУЗКИ
Росстандарта от 09.07.2014 N 729-ст)
В.1. Общие положения
Настоящий метод применяется для проведения огневого испытания стальной балки с нанесенным средством огнезащиты при воздействии на нее статической нагрузки.
Целью испытания является получение экспериментальных данных о влиянии напряженно-деформированного состояния стальной конструкции <1> на огнезащитную эффективность средства огнезащиты.
--------------------------------
<1> Для проведения данных испытаний нагрузка, форма образца, способ опирания и марка стали подобраны так, чтобы расчетная критическая температура балки, при которой произойдет ее обрушение или достижение предельных деформаций, составляла не менее 500 °C. Таким образом, при одинаковом прогреве конструкций время достижения предельного состояния балки под нагрузкой должно быть не менее, чем при испытаниях балки без нагрузки.
Настоящий метод не распространяется на определение пределов огнестойкости стальных конструкций с огнезащитой.
В.2. Стендовое оборудование
Принципиальная схема установки для огневых испытаний стальной балки при воздействии нагрузки приведена на рисунке В.1. Установка должна быть оснащена огневой камерой, нагружающим и опорными устройствами, обеспечивающими нагружение образца в соответствии с его расчетной схемой.
1 - огневая камера печи; 2 - опытный образец
стальной балки; 3 - шарнирно-неподвижная опора;
4 - шарнирно-подвижная опора
Рисунок В.1. Принципиальная схема установки для огневых
испытаний стальных балок под нагрузкой и без нагрузки
В.3. Образцы для испытаний
В.3.1. Для проведения испытаний изготавливаются два одинаковых образца балки: один для испытаний под нагрузкой, другой для испытаний без нагрузки.
В.3.2. В качестве образца, на который наносится (монтируется) средство огнезащиты, используется стальная балка с формой профиля в соответствии с 5.3.2 настоящего стандарта и длиной (3200 +/- 10) мм. Приведенная толщина металла стальной балки определяется непосредственно перед каждым испытанием.
Образец балки для испытаний под нагрузкой должен быть оснащен опорными устройствами (упорами) для ее установки в нагружающее устройство, обеспечивающими шарнирно-подвижное и шарнирно-неподвижное опирание балки по концам, а также ее устойчивость.
Балка должна быть выполнена из конструкционной стали С255 по
ГОСТ 27772.
В.3.3. Нанесение (монтаж) средства огнезащиты производится до установки образца в нагружающее устройство в соответствии с
5.3.3,
5.3.4 настоящего стандарта.
В.4. Подготовка и проведение испытаний
В.4.1. Подготовка и проведение испытаний - в соответствии с
5.4 настоящего стандарта (за исключением
5.4.7,
5.4.8).
В.4.2. В процессе проведения испытаний регистрируется деформация опытного образца.
В.4.3. Испытания образца проводятся при трехстороннем тепловом воздействии с приложением статической нагрузки по двухточечной схеме в каждой трети длины пролета. Длина пролета должна составлять (3000 +/- 10) мм. Величина нагрузки должна быть равной (7,00 +/- 0,35) т. Испытания проводятся до наступления предельного состояния опытного образца.
В.4.4. За предельное состояние образца принимается достижение предельно допустимой деформации для балок, определяемой по
ГОСТ 30247.1.
В.5. Оценка результатов испытания
В.5.1. За результат испытания принимается время (в минутах) от начала теплового воздействия до наступления предельного состояния образца.
В.5.2. По результату испытаний нагруженного опытного образца балки со средством огнезащиты проводится сравнительный анализ с результатами испытаний балки без нагрузки, проведенных по
разделу 4 настоящего стандарта.
Если значение результата испытания нагруженного опытного образца балки отличается от результата испытания образца, испытанного без нагрузки, более чем на 20% в меньшую сторону, то среднее арифметическое значение результатов испытаний двух образцов колонн, проведенных по
разделу 5 настоящего стандарта, уменьшается пропорционально на величину, равную разнице результатов испытаний балок под нагрузкой и без нагрузки.
(рекомендуемое)
МЕТОД ОГНЕВОГО ИСПЫТАНИЯ СТАЛЬНЫХ КОНСТРУКЦИЙ
С ТОНКОСЛОЙНЫМИ ВСПУЧИВАЮЩИМИСЯ ОГНЕЗАЩИТНЫМИ
ПОКРЫТИЯМИ (КРАСКАМИ) ПРИ ТЕМПЕРАТУРНОМ РЕЖИМЕ
МЕДЛЕННО РАЗВИВАЮЩЕГОСЯ (ТЛЕЮЩЕГО) ПОЖАРА
Росстандарта от 09.07.2014 N 729-ст)
Г.1. Общие положения
Настоящий метод применяется для проведения огневого испытания стальной колонны с нанесенным средством огнезащиты при воздействии на нее температурного режима тлеющего пожара (smouldering fire).
Целью испытания является получение экспериментальных данных о влиянии температурного режима медленно развивающегося (тлеющего) пожара на огнезащитную эффективность огнезащитных вспучивающихся красок.
Настоящий метод не применяется для проведения огневых испытаний стальных конструкций с конструктивной огнезащитой.
Настоящий метод не распространяется на определение пределов огнестойкости стальных конструкций с огнезащитой.
Г.2. Метод испытания
Г.2.1. Стендовое оборудование - согласно
5.2 настоящего стандарта.
Г.2.2. Для проведения испытаний изготавливается один образец стальной колонны в соответствии с
5.3 настоящего стандарта.
Г.2.3. Подготовка и проведение испытаний стальных колонн с огнезащитными красками при температурном режиме тлеющего пожара идентичны методу, изложенному в
5.4 настоящего стандарта, за исключением температурного режима, воздействующего на конструкцию.
Температурная кривая тлеющего пожара характеризуется следующей зависимостью:

при 0 < t < 21; (Г.1)

при t > 21, (Г.2)
где T - температура в печи, соответствующая времени t, °C;
t - время, исчисляемое от начала испытания, мин.
Температура в печи до начала теплового воздействия

должна быть (20 +/- 10) °C.
Г.2.4. Допустимое процентное отклонение

средней измеренной температуры в печи от значения T, вычисленного по формулам (Г.1), (Г.2), определяется в процентах при условии:
а) 15% для 5 мин < t <= 10 мин;
б) [15 - 0,5(t - 10)]% для 10 мин < t <= 30 мин;
в) [5 - 0,083(t - 30)]% для 30 мин < t <= 40 мин
следующим образом

, (Г.3)
где A - площадь диаграммы, ограниченная фактической кривой температура-время в камере сгорания;

- площадь диаграммы, ограниченная установленной кривой температура-время;
t - время, мин.
Все участки диаграмм измеряются одинаковым способом, а именно путем суммирования участков с промежутком не более 1 мин, причем суммирование начинается с t = 0.
После первых 10 мин испытания температура, зарегистрированная любым термоэлектрическим элементом испытательной печи, не должна отклоняться от соответствующей температуры заданного графика зависимости температуры от времени более чем на 100 °C.
Для опытных образцов, обладающих высокой горючестью, отклонение более чем на 100 °C от установленного графика зависимости температуры от времени допустимо лишь на промежуток времени, не превышающий 10 мин, при условии, что такого рода отклонение объясняется внезапным воспламенением значительного количества горючих материалов, которые повышают общую температуру в камере сгорания.
Г.2.5. Продолжительность огневого воздействия при испытаниях должна составлять 40 мин.
Г.3. Оценка результатов испытания
Оценка характеристик огнезащитного состава производится путем сравнения результатов испытаний колонн, проведенных по стандартной кривой (обязательные испытания в соответствии с
разделом 5 настоящего стандарта) и кривой тлеющего пожара (согласно данному приложению).
Результаты показаний всех термопар (среднего арифметического по показаниям трех термопар), полученные при каждом испытании, должны быть записаны в табличном виде и отображены графически, как показано на рисунке Г.1. Далее графически определяются показатели

и

для обоих испытаний.
Результаты испытаний для тестируемого огнезащитного материала, проведенные в соответствии со стандартной температурной кривой, принимаются действительными при условии, если

.
A - температура, °C; B - время, мин; 1 - стандартная
температурная кривая; 2 - кривая тлеющего пожара;
3 - средняя температура на образце при воздействии
по стандартной температурной кривой; 4 - средняя
температура на образце при воздействии
по кривой тлеющего пожара
Рисунок Г.1. Графическое отображение результатов испытаний
колонн, проведенных по стандартной кривой
и кривой тлеющего пожара
(обязательное)
ОЦЕНКА И ПРИМЕР ВЫЧИСЛЕНИЯ СРЕДНЕГО КВАДРАТИЧЕСКОГО
ОТКЛОНЕНИЯ РЕЗУЛЬТАТА ИЗМЕРЕНИЙ
Росстандарта от 09.07.2014 N 729-ст)
Д.1. Оценка среднего квадратического отклонения

результата измерений производится по формуле

, (Д.1)
где n - число измерений;

- i-е измерение, мм;

- результат измерений (среднее арифметическое
значение результатов всех измерений), мм. (Д.2)
Д.2. Пример вычисления среднего квадратического отклонения результата измерений
Проведено 5 наблюдений над нормально распределенной величиной

. Результаты наблюдений приведены в таблице Д.1.
Таблица Д.1
Номер наблюдения i | Полученный результат  , мм |
1 | 1,05 |
2 | 1,15 |
3 | 0,92 |
4 | 0,91 |
5 | 0,98 |
Определяем:

.
Согласно формуле (Д.2) имеем:

.
Определяем:
Согласно формуле (Д.1) имеем:

.
Определяем среднее квадратическое отклонение в процентном выражении:

.
Среднее квадратическое отклонение в процентном выражении составило 10% от результата измерений (среднее арифметическое значение результатов всех измерений).