Главная // Актуальные документы // ПриказСПРАВКА
Источник публикации
ИУС "Национальные стандарты", N 11, 2014
Примечание к документу
Документ
введен в действие с 1 ноября 2014 года.
Название документа
"Изменение N 1 ГОСТ Р 53295-2009 "Средства огнезащиты для стальных конструкций. Общие требования. Метод определения огнезащитной эффективности"
(утв. и введено в действие Приказом Росстандарта от 09.07.2014 N 729-ст)
"Изменение N 1 ГОСТ Р 53295-2009 "Средства огнезащиты для стальных конструкций. Общие требования. Метод определения огнезащитной эффективности"
(утв. и введено в действие Приказом Росстандарта от 09.07.2014 N 729-ст)
Утверждено и введено в действие
агентства по техническому
регулированию и метрологии
от 9 июля 2014 г. N 729-ст
ИЗМЕНЕНИЕ N 1 ГОСТ Р 53295-2009
"СРЕДСТВА ОГНЕЗАЩИТЫ ДЛЯ СТАЛЬНЫХ КОНСТРУКЦИЙ.
ОБЩИЕ ТРЕБОВАНИЯ. МЕТОД ОПРЕДЕЛЕНИЯ
ОГНЕЗАЩИТНОЙ ЭФФЕКТИВНОСТИ"
Дата введения
1 ноября 2014 года
Содержание. Наименование Приложения Б изложить в новой редакции:
"Приложение Б (рекомендуемое). Метод огневого испытания стальной колонны с огнезащитой при воздействии нагрузки";
дополнить наименованиями Приложений В, Г, Д:
"Приложение В (рекомендуемое). Метод огневого испытания стальной балки с огнезащитой при воздействии нагрузки
Приложение Г (рекомендуемое). Метод огневого испытания стальных конструкций с тонкослойными вспучивающимися огнезащитными покрытиями (красками) при температурном режиме медленно развивающегося (тлеющего) пожара
Приложение Д (обязательное). Оценка и пример вычисления среднего квадратического отклонения результата измерений".
"
ГОСТ 27772-88. Прокат для строительных стальных конструкций. Общие технические условия
| | ИС МЕГАНОРМ: примечание. В официальном тексте документа, видимо, допущена опечатка: ГОСТ 28246-2006 имеет название "Материалы лакокрасочные. Термины и определения". | |
ГОСТ 30247.1-94. Конструкции строительные. Методы испытаний на огнестойкость. Несущие и ограждающие конструкции
ГОСТ Р 53293-2009. Пожарная опасность веществ и материалов. Материалы, вещества и средства огнезащиты. Идентификация методами термического анализа".
"3.6. Конструктивная огнезащита: способ огнезащиты строительных конструкций, основанный на создании на обогреваемой поверхности конструкции теплоизоляционного слоя средства огнезащиты. К конструктивной огнезащите относятся толстослойные напыляемые составы, штукатурки, облицовка плитными, листовыми и другими огнезащитными материалами, в том числе на каркасе, с воздушными прослойками, а также комбинация данных материалов, в том числе с тонкослойными вспучивающимися покрытиями. Способ нанесения (крепления) огнезащиты должен соответствовать способу, описанному в протоколе испытаний на огнестойкость и в проекте огнезащиты".
"3.13. Тонкослойное вспучивающееся огнезащитное покрытие (огнезащитная краска): способ огнезащиты строительных конструкций, основанный на нанесении на обогреваемую поверхность конструкции специальных красок или лакокрасочных систем по
ГОСТ 28246, предназначенных для повышения предела огнестойкости строительных конструкций и обладающих огнезащитной эффективностью. Принцип действия огнезащитной краски (лакокрасочной системы) основан на химической реакции, активируемой при воздействии пожара, в результате которой толщина огнезащитного покрытия многократно увеличивается, образуя на обогреваемой поверхности конструкции теплоизоляционный слой, защищающий конструкцию от нагревания".
"4.11. При научно-техническом обосновании по инициативе заказчика на добровольной основе могут быть проведены дополнительные испытания в соответствии с методом, изложенным в разделе 5, по расширенной программе на образцах колонн различной формы сечения, с различной приведенной толщиной металла. Целью проведения данных испытаний является построение обобщенной зависимости толщины огнезащитного покрытия от приведенной толщины металла для различных значений времени достижения предельного состояния конструкции с конкретным средством огнезащиты. При построении указанных зависимостей допускается применять метод линейной интерполяции для заданного постоянного параметра (приведенная толщина металла, толщина огнезащитного покрытия, время) при наличии не менее трех экспериментально установленных значений двух других параметров. При этом экстраполяция не допускается".
"Погрешность измерения не должна превышать +/- 0,02Т, где Т - измеряемая толщина покрытия, мм".
"Примечание. При определении огнезащитной эффективности средства огнезащиты не учитываются результаты испытаний образцов стальных колонн, проводимых по расширенной программе по 4.11, с формой сечения, отличной от указанной в 5.3.2. В этом случае допускается испытывать по одному образцу колонны для каждого значения приведенной толщины металла, а в отчете по испытаниям следует указывать время достижения критической температуры опытного образца.
При определении огнезащитной эффективности средства огнезащиты на добровольной основе могут быть проведены следующие дополнительные испытания:
- огневое испытание образца стальной колонны или горизонтальной балки, с учетом приложения к ним статической нагрузки, в соответствии с методами, изложенными в Приложениях Б и В;
- огневое испытание образца стальной колонны с тонкослойным вспучивающимся огнезащитным покрытием (краской) при температурном режиме медленно развивающегося (тлеющего) пожара, в соответствии с методом, изложенным в Приложении Г".
Подпункт 6.1.1 после слов "а также" дополнить словами: "в рамках проведения инспекционного контроля в период действия сертификата соответствия".
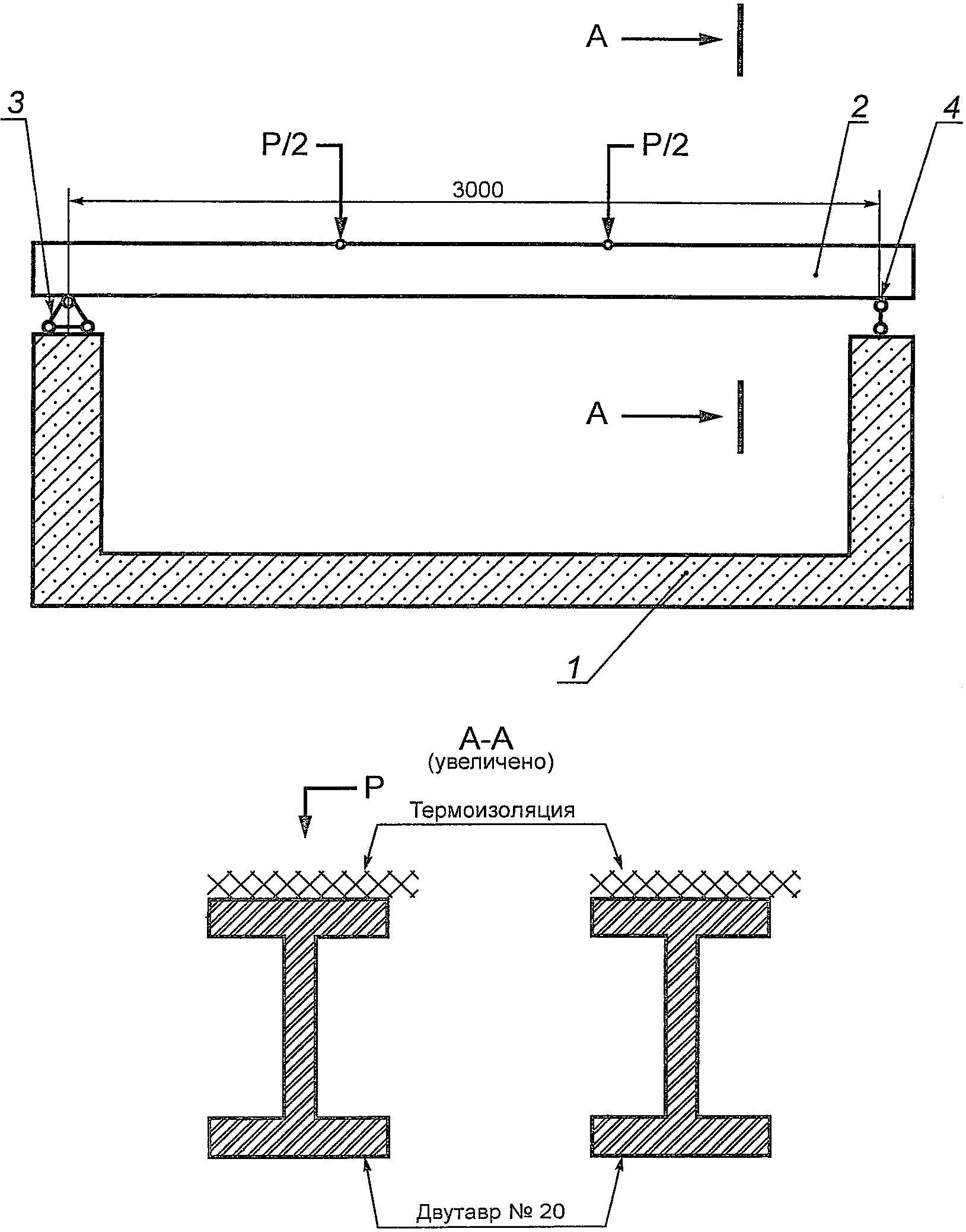
"Приложение Б
(рекомендуемое)
МЕТОД ОГНЕВОГО ИСПЫТАНИЯ СТАЛЬНОЙ КОЛОННЫ
С ОГНЕЗАЩИТОЙ ПРИ ВОЗДЕЙСТВИИ НАГРУЗКИ
Б.1. Общие положения
Настоящий метод применяется для проведения огневого испытания стальной колонны с нанесенным средством огнезащиты при воздействии на нее статической нагрузки.
Целью испытания является получение экспериментальных данных о влиянии напряженно-деформированного состояния стальной конструкции <1> на огнезащитную эффективность средства огнезащиты.
--------------------------------
<1> Для проведения данных испытаний нагрузка, форма образца, способ опирания и марка стали подобраны так, чтобы расчетная критическая температура колонны, при которой произойдет ее обрушение или достижение предельных деформаций, составляла не менее 500 °C. Таким образом, при одинаковом прогреве конструкций время достижения предельного состояния колонны под нагрузкой должно быть не менее, чем при испытаниях колонны без нагрузки.
Настоящий метод не распространяется на определение пределов огнестойкости стальных конструкций с огнезащитой.
Б.2. Стендовое оборудование
Принципиальная схема установки для огневых испытаний стальной колонны при воздействии нагрузки приведена на рисунке Б.1.
1 - огневая камера печи; 2 - опытный образец стальной
колонны; 3 - шарнирная опора; 4 - нагружающее устройство;
5 - верхние и нижние опорные элементы, обеспечивающие
работу системы нагружения опытного образца; 6 - устройство
для жесткого защемления опытного образца; 7 - теплоизоляция
Рисунок Б.1. Принципиальная схема установки для огневых
испытаний стальной колонны под нагрузкой
Установка должна быть оснащена огневой камерой, нагружающим и опорным устройствами, обеспечивающими нагружение образца в соответствии с его расчетной схемой.
Б.3. Образцы для испытаний
Б.3.1. Для проведения испытаний с приложением нагрузки изготавливается один образец колонны.
Б.3.2. В качестве образца, на который наносится (монтируется) средство огнезащиты, используется стальная колонна с формой профиля в соответствии с 5.3.2 настоящего стандарта и высотой (3000 +/- 10) мм. Приведенная толщина металла стальной колонны определяется непосредственно перед каждым испытанием.
Образец колонны должен быть оснащен опорными пластинами толщиной (10 +/- 1) мм для установки в нагружающее устройство с жестким защемлением образца с одной стороны и шарниром с другой стороны.
Колонна должна быть выполнена из конструкционной стали С255 по
ГОСТ 27772.
Б.3.3. Нанесение (монтаж) средства огнезащиты производится до установки образца в нагружающее устройство в соответствии с 5.3.3, 5.3.4 настоящего стандарта.
Б.4. Подготовка и проведение испытаний
Б.4.1. Подготовка и проведение испытаний - в соответствии с 5.4 настоящего стандарта (за исключением 5.4.7, 5.4.8).
Б.4.2. В процессе проведения испытаний регистрируется деформация опытного образца.
Б.4.3. Испытания образца проводятся с приложением статической нагрузки при четырехстороннем тепловом воздействии. Величина нагрузки должна быть равной (30,0 +/- 1,5) т. Испытание нагруженного опытного образца проводится при условии вертикального сжатия с шарнирным опиранием с одной стороны и жестким защемлением с другой стороны колонны. Испытания проводятся до наступления предельного состояния опытного образца.
Б.4.4. За предельное состояние образца принимается достижение предельно допустимой вертикальной деформации, определяемой по
ГОСТ 30247.1.
Б.5. Оценка результатов испытания
Б.5.1. За результат испытания принимается время (в минутах) от начала теплового воздействия до наступления предельного состояния образца.
Б.5.2. По результату испытаний нагруженного опытного образца колонны посредством огнезащиты проводится сравнительный анализ с результатами испытаний колонны без нагрузки, проведенных по разделу 5 настоящего стандарта.
Если значение результата испытания нагруженного опытного образца отличается от среднего арифметического значения результатов испытаний опытных образцов, испытанных без нагрузки, более чем на 20% в меньшую сторону, то среднее арифметическое значение результатов испытаний двух образцов колонн без нагрузки принимается равным результату испытания под нагрузкой".
Стандарт дополнить приложениями - В - Д:
"Приложение В
(рекомендуемое)
МЕТОД ОГНЕВОГО ИСПЫТАНИЯ СТАЛЬНОЙ БАЛКИ
С ОГНЕЗАЩИТОЙ ПРИ ВОЗДЕЙСТВИИ НАГРУЗКИ
В.1. Общие положения
Настоящий метод применяется для проведения огневого испытания стальной балки с нанесенным средством огнезащиты при воздействии на нее статической нагрузки.
Целью испытания является получение экспериментальных данных о влиянии напряженно-деформированного состояния стальной конструкции <1> на огнезащитную эффективность средства огнезащиты.
--------------------------------
<1> Для проведения данных испытаний нагрузка, форма образца, способ опирания и марка стали подобраны так, чтобы расчетная критическая температура балки, при которой произойдет ее обрушение или достижение предельных деформаций, составляла не менее 500 °C. Таким образом, при одинаковом прогреве конструкций время достижения предельного состояния балки под нагрузкой должно быть не менее, чем при испытаниях балки без нагрузки.
Настоящий метод не распространяется на определение пределов огнестойкости стальных конструкций с огнезащитой.
В.2. Стендовое оборудование
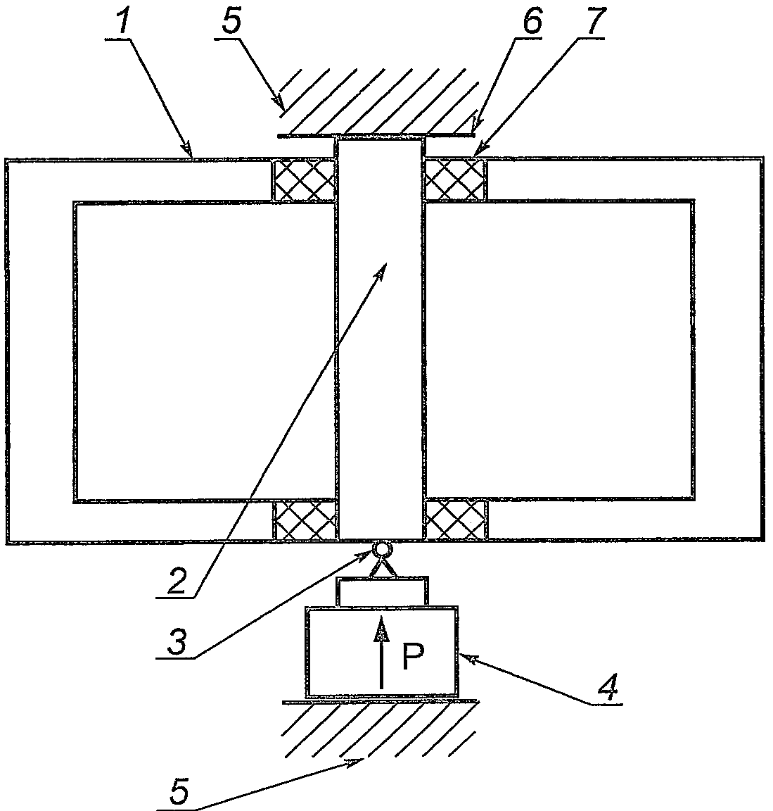
Принципиальная схема установки для огневых испытаний стальной балки при воздействии нагрузки приведена на рисунке В.1. Установка должна быть оснащена огневой камерой, нагружающим и опорными устройствами, обеспечивающими нагружение образца в соответствии с его расчетной схемой.
1 - огневая камера печи; 2 - опытный образец
стальной балки; 3 - шарнирно-неподвижная опора;
4 - шарнирно-подвижная опора
Рисунок В.1. Принципиальная схема установки для огневых
испытаний стальных балок под нагрузкой и без нагрузки
В.3. Образцы для испытаний
В.3.1. Для проведения испытаний изготавливаются два одинаковых образца балки: один для испытаний под нагрузкой, другой для испытаний без нагрузки.
В.3.2. В качестве образца, на который наносится (монтируется) средство огнезащиты, используется стальная балка с формой профиля в соответствии с 5.3.2 настоящего стандарта и длиной (3200 +/- 10) мм. Приведенная толщина металла стальной балки определяется непосредственно перед каждым испытанием.
Образец балки для испытаний под нагрузкой должен быть оснащен опорными устройствами (упорами) для ее установки в нагружающее устройство, обеспечивающими шарнирно-подвижное и шарнирно-неподвижное опирание балки по концам, а также ее устойчивость.
Балка должна быть выполнена из конструкционной стали С255 по
ГОСТ 27772.
В.3.3. Нанесение (монтаж) средства огнезащиты производится до установки образца в нагружающее устройство в соответствии с 5.3.3, 5.3.4 настоящего стандарта.
В.4. Подготовка и проведение испытаний
В.4.1. Подготовка и проведение испытаний - в соответствии с 5.4 настоящего стандарта (за исключением 5.4.7, 5.4.8).
В.4.2. В процессе проведения испытаний регистрируется деформация опытного образца.
В.4.3. Испытания образца проводятся при трехстороннем тепловом воздействии с приложением статической нагрузки по двухточечной схеме в каждой трети длины пролета. Длина пролета должна составлять (3000 +/- 10) мм. Величина нагрузки должна быть равной (7,00 +/- 0,35) т. Испытания проводятся до наступления предельного состояния опытного образца.
В.4.4. За предельное состояние образца принимается достижение предельно допустимой деформации для балок, определяемой по
ГОСТ 30247.1.
В.5. Оценка результатов испытания
В.5.1. За результат испытания принимается время (в минутах) от начала теплового воздействия до наступления предельного состояния образца.
В.5.2. По результату испытаний нагруженного опытного образца балки со средством огнезащиты проводится сравнительный анализ с результатами испытаний балки без нагрузки, проведенных по разделу 4 настоящего стандарта.
Если значение результата испытания нагруженного опытного образца балки отличается от результата испытания образца, испытанного без нагрузки, более чем на 20% в меньшую сторону, то среднее арифметическое значение результатов испытаний двух образцов колонн, проведенных по разделу 5 настоящего стандарта, уменьшается пропорционально на величину, равную разнице результатов испытаний балок под нагрузкой и без нагрузки.
Приложение Г
(рекомендуемое)
МЕТОД ОГНЕВОГО ИСПЫТАНИЯ СТАЛЬНЫХ КОНСТРУКЦИЙ
С ТОНКОСЛОЙНЫМИ ВСПУЧИВАЮЩИМИСЯ ОГНЕЗАЩИТНЫМИ
ПОКРЫТИЯМИ (КРАСКАМИ) ПРИ ТЕМПЕРАТУРНОМ РЕЖИМЕ
МЕДЛЕННО РАЗВИВАЮЩЕГОСЯ (ТЛЕЮЩЕГО) ПОЖАРА
Г.1. Общие положения
Настоящий метод применяется для проведения огневого испытания стальной колонны с нанесенным средством огнезащиты при воздействии на нее температурного режима тлеющего пожара (smouldering fire).
Целью испытания является получение экспериментальных данных о влиянии температурного режима медленно развивающегося (тлеющего) пожара на огнезащитную эффективность огнезащитных вспучивающихся красок.
Настоящий метод не применяется для проведения огневых испытаний стальных конструкций с конструктивной огнезащитой.
Настоящий метод не распространяется на определение пределов огнестойкости стальных конструкций с огнезащитой.
Г.2. Метод испытания
Г.2.1. Стендовое оборудование - согласно 5.2 настоящего стандарта.
Г.2.2. Для проведения испытаний изготавливается один образец стальной колонны в соответствии с 5.3 настоящего стандарта.
Г.2.3. Подготовка и проведение испытаний стальных колонн с огнезащитными красками при температурном режиме тлеющего пожара идентичны методу, изложенному в 5.4 настоящего стандарта, за исключением температурного режима, воздействующего на конструкцию.
Температурная кривая тлеющего пожара характеризуется следующей зависимостью:

при 0 < t < 21; (Г.1)

при t > 21, (Г.2)
где T - температура в печи, соответствующая времени t, °C;
t - время, исчисляемое от начала испытания, мин.
Температура в печи до начала теплового воздействия

должна быть (20 +/- 10) °C.
Г.2.4. Допустимое процентное отклонение

средней измеренной температуры в печи от значения T, вычисленного по формулам (Г.1), (Г.2), определяется в процентах при условии:
а) 15% для 5 мин < t <= 10 мин;
б) [15 - 0,5(t - 10)]% для 10 мин < t <= 30 мин;
в) [5 - 0,083(t - 30)]% для 30 мин < t <= 40 мин
следующим образом

, (Г.3)
где A - площадь диаграммы, ограниченная фактической кривой температура-время в камере сгорания;

- площадь диаграммы, ограниченная установленной кривой температура-время;
t - время, мин.
Все участки диаграмм измеряются одинаковым способом, а именно путем суммирования участков с промежутком не более 1 мин, причем суммирование начинается с t = 0.
После первых 10 мин испытания температура, зарегистрированная любым термоэлектрическим элементом испытательной печи, не должна отклоняться от соответствующей температуры заданного графика зависимости температуры от времени более чем на 100 °C.
Для опытных образцов, обладающих высокой горючестью, отклонение более чем на 100 °C от установленного графика зависимости температуры от времени допустимо лишь на промежуток времени, не превышающий 10 мин, при условии, что такого рода отклонение объясняется внезапным воспламенением значительного количества горючих материалов, которые повышают общую температуру в камере сгорания.
Г.2.5. Продолжительность огневого воздействия при испытаниях должна составлять 40 мин.
Г.3. Оценка результатов испытания
Оценка характеристик огнезащитного состава производится путем сравнения результатов испытаний колонн, проведенных по стандартной кривой (обязательные испытания в соответствии с разделом 5 настоящего стандарта) и кривой тлеющего пожара (согласно данному приложению).
Результаты показаний всех термопар (среднего арифметического по показаниям трех термопар), полученные при каждом испытании, должны быть записаны в табличном виде и отображены графически, как показано на рисунке Г.1. Далее графически определяются показатели

и

для обоих испытаний.
Результаты испытаний для тестируемого огнезащитного материала, проведенные в соответствии со стандартной температурной кривой, принимаются действительными при условии, если

.
A - температура, °C; B - время, мин; 1 - стандартная
температурная кривая; 2 - кривая тлеющего пожара;
3 - средняя температура на образце при воздействии
по стандартной температурной кривой; 4 - средняя
температура на образце при воздействии
по кривой тлеющего пожара
Рисунок Г.1. Графическое отображение результатов испытаний
колонн, проведенных по стандартной кривой
и кривой тлеющего пожара
Приложение Д
(обязательное)
ОЦЕНКА И ПРИМЕР ВЫЧИСЛЕНИЯ СРЕДНЕГО КВАДРАТИЧЕСКОГО
ОТКЛОНЕНИЯ РЕЗУЛЬТАТА ИЗМЕРЕНИЙ
Д.1. Оценка среднего квадратического отклонения

результата измерений производится по формуле

, (Д.1)
где n - число измерений;

- i-е измерение, мм;

- результат измерений (среднее арифметическое
значение результатов всех измерений), мм. (Д.2)
Д.2. Пример вычисления среднего квадратического отклонения результата измерений
Проведено 5 наблюдений над нормально распределенной величиной

. Результаты наблюдений приведены в таблице Д.1.
Таблица Д.1
Номер наблюдения i | Полученный результат  , мм |
1 | 1,05 |
2 | 1,15 |
3 | 0,92 |
4 | 0,91 |
5 | 0,98 |
Определяем:

.
Согласно формуле (Д.2) имеем:

.
Определяем:
Согласно формуле (Д.1) имеем:

.
Определяем среднее квадратическое отклонение в процентном выражении:

.
Среднее квадратическое отклонение в процентном выражении составило 10% от результата измерений (среднее арифметическое значение результатов всех измерений)".