Главная // Актуальные документы // ГОСТ Р (Государственный стандарт)СПРАВКА
Источник публикации
М.: Стандартинформ, 2005
Примечание к документу
Документ утратил силу с 01.07.2023 в связи с изданием
Приказа Росстандарта от 22.11.2022 N 1330-ст. Взамен введен в действие
ГОСТ Р МЭК 60627-2022.
Отдельные положения данного документа включены в
Перечень стандартов, в результате применения которых на добровольной основе полностью или частично обеспечивается соблюдение соответствия медицинских изделий Общим
требованиям безопасности и эффективности медицинских изделий, требованиям к их маркировке и эксплуатационной документации на них (
Рекомендация Коллегии Евразийской экономической комиссии от 04.09.2017 N 17).
Документ
введен в действие с 01.07.2006.
Название документа
"ГОСТ Р МЭК 60627-2005. Национальный стандарт Российской Федерации. Оборудование для получения рентгеновских диагностических изображений. Характеристики отсеивающих растров общего назначения и маммографических отсеивающих растров"
(утв. и введен в действие Приказом Ростехрегулирования от 26.10.2005 N 266-ст)
"ГОСТ Р МЭК 60627-2005. Национальный стандарт Российской Федерации. Оборудование для получения рентгеновских диагностических изображений. Характеристики отсеивающих растров общего назначения и маммографических отсеивающих растров"
(утв. и введен в действие Приказом Ростехрегулирования от 26.10.2005 N 266-ст)
Утвержден и введен в действие
агентства по техническому
регулированию и метрологии
от 26 октября 2005 г. N 266-ст
НАЦИОНАЛЬНЫЙ СТАНДАРТ РОССИЙСКОЙ ФЕДЕРАЦИИ
ОБОРУДОВАНИЕ ДЛЯ ПОЛУЧЕНИЯ
РЕНТГЕНОВСКИХ ДИАГНОСТИЧЕСКИХ ИЗОБРАЖЕНИЙ
ХАРАКТЕРИСТИКИ ОТСЕИВАЮЩИХ РАСТРОВ ОБЩЕГО НАЗНАЧЕНИЯ
И МАММОГРАФИЧЕСКИХ ОТСЕИВАЮЩИХ РАСТРОВ
Diagnostic X-ray imaging equipment. Characteristics
of general purpose and mammographic anti-scatter grids
IEC 60627:2001
Diagnostic X-ray imaging equipment - Characteristics
of general purpose and mammographic anti-scatter grids
(IDT)
ГОСТ Р МЭК 60627-2005
Дата введения
1 июля 2006 года
Цели и принципы стандартизации в Российской Федерации установлены Федеральным
законом от 27 декабря 2002 г. N 184-ФЗ "О техническом регулировании", а правила применения национальных стандартов Российской Федерации -
ГОСТ Р 1.0-2004 "Стандартизация в Российской Федерации. Основные положения"
1 ПОДГОТОВЛЕН Государственным учреждением науки "Всероссийский научно-исследовательский и испытательный институт медицинской техники" (ГУН ВНИИИМТ) на основе собственного аутентичного перевода стандарта, указанного в
пункте 4
2 ВНЕСЕН Техническим комитетом по стандартизации ТК 411 "Аппараты и оборудование для лучевой терапии, диагностики и дозиметрии"
3 УТВЕРЖДЕН И ВВЕДЕН В ДЕЙСТВИЕ
Приказом Федерального агентства по техническому регулированию и метрологии от 26 октября 2005 г. N 266-ст
4 Настоящий стандарт идентичен международному стандарту МЭК 60627:2001 "Оборудование для получения рентгеновских диагностических изображений. Характеристики отсеивающих растров общего назначения и маммографических отсеивающих растров" (IEC 60627:2001 "Diagnostic X-ray imaging equipment - Characteristics of general purpose and mammographic anti-scatter grids").
При применении настоящего стандарта рекомендуется использовать вместо ссылочных международных стандартов соответствующие им национальные стандарты Российской Федерации, сведения о которых приведены в дополнительном
приложении C
5 ВВЕДЕН ВПЕРВЫЕ
Информация об изменениях к настоящему стандарту публикуется в ежегодно издаваемом информационном указателе "Национальные стандарты", а текст изменений и поправок - в ежемесячно издаваемых информационных указателях "Национальные стандарты". В случае пересмотра (замены) или отмены настоящего стандарта соответствующее уведомление будет опубликовано в ежемесячно издаваемом информационном указателе "Национальные стандарты". Соответствующая информация, уведомление и тексты размещаются также в информационной системе общего пользования - на официальном сайте национального органа Российской Федерации по стандартизации в сети Интернет
Настоящий стандарт является прямым применением международного стандарта МЭК 60627:2001 "Оборудование для получения рентгеновских диагностических изображений. Характеристики отсеивающих растров общего назначения и маммографических отсеивающих растров", подготовленного Техническим комитетом МЭК 62 "Изделия медицинские электрические".
В настоящем стандарте использованы следующие шрифтовые выделения:
- для терминов, определенных в
пункте 3.3, - прописные буквы;
- для методов испытаний - курсив.
Настоящий стандарт распространяется на растры общего назначения и маммографические растры. Для проведения указанных в стандарте измерений необходимо специализированное оборудование, обеспечивающее тщательный контроль условий испытаний.
1 Область применения и ограничения
Настоящий стандарт устанавливает термины, определения и обозначения характеристик ОТСЕИВАЮЩИХ РАСТРОВ, используемых в оборудовании, предназначенном для получения диагностических изображений, с целью улучшения их контраста за счет уменьшения на ПОВЕРХНОСТИ ПРИЕМНИКА ИЗОБРАЖЕНИЯ вредного РАССЕЯННОГО ИЗЛУЧЕНИЯ, возникающего в теле ПАЦИЕНТА.
Настоящий стандарт распространяется только на ЛИНЕЙНЫЕ РАСТРЫ.
Так как в маммографии используют только НАПРАВЛЕННЫЕ РАСТРЫ, настоящий стандарт ограничивается рассмотрением НАПРАВЛЕННЫХ МАММОГРАФИЧЕСКИХ ОТСЕИВАЮЩИХ РАСТРОВ.
Настоящий стандарт не предназначен для применения при АРБИТРАЖНЫХ ИСПЫТАНИЯХ.
Настоящий стандарт не рассматривает однородность характеристик по полю растра.
Настоящий стандарт предназначен для применения при определении характеристик ОТСЕИВАЮЩИХ РАСТРОВ в условиях испытаний, которые обычно не совпадают с условиями применения их ПОЛЬЗОВАТЕЛЕМ.
В настоящем стандарте использованы нормативные ссылки на следующие международные стандарты:
МЭК 60417-1:2000 Графические символы для использования на аппаратах. Часть 1. Внешний вид и применение
МЭК 60417-2:1998 Графические символы для использования на аппаратах. Часть 2. Оригинальные символы
МЭК 606-1:1988 Аппаратура электрическая медицинская. Часть 1: Общие требования к безопасности
МЭК 60788:1984 Радиология медицинская. Терминология
МЭК 61223-1:1993 Оценка и контроль эксплуатационных параметров в отделениях (кабинетах) рентгенодиагностики Часть 1: Общие требования
МЭК 61267:1994 Медицинская диагностическая рентгеновская аппаратура. Параметры излучения, необходимые для определения характеристик
3.1 Степень обязательности требований
В настоящем стандарте использованы следующие вспомогательные термины:
"должен" - соответствие требованиям стандарта обязательно;
"рекомендуется" - соответствие требованиям стандарта рекомендовано, но не обязательно;
"может" - используют для описания допустимых путей достижения соответствия требованиям стандарта или избежания необходимости ему следовать;
"указанный" - используют для обозначения определенных данных, приведенных в настоящем стандарте или в стандартах, на которые даны ссылки, обычно относящихся к конкретным условиям работы и испытаний или к значениям, по которым определяют соответствие;
"нормативный" - используют для обозначения конкретной информации содержащейся в СОПРОВОДИТЕЛЬНЫХ ДОКУМЕНТАХ, представленных ИЗГОТОВИТЕЛЕМ, или других документах, поставляемых с устройством и в основном касающихся его назначения, характеристик, условий эксплуатации и исследований на соответствие.
3.2 Использование терминов
В настоящем стандарте используют термины по МЭК 601-1, МЭК 60788 и
3.3. В тексте они выделены прописными буквами.
Примечание - Если термин, по стандартам, приведенным выше, не является нормативным, в тексте он обозначен строчными буквами.
Перечень определяемых терминов, используемых в настоящем стандарте, приведен в
приложении B.
Примечание - Некоторые определения, приведенные в настоящем стандарте, отличаются от приведенных в международном стандарте МЭК 60788.
В настоящем стандарте применены следующие термины с соответствующими определениями:
3.3.1
ОТСЕИВАЮЩИЙ РАСТР (ANTI-SCATTER GRID): Устройство, размещаемое перед входной ПЛОСКОСТЬЮ ПРИЕМНИКА ИЗОБРАЖЕНИЯ, для уменьшения попадающего на эту поверхность РАССЕЯННОГО ИЗЛУЧЕНИЯ и повышения, таким образом, контраста РЕНТГЕНОВСКОГО ИЗОБРАЖЕНИЯ, представляющее собой фиксированную периодическую структуру из материалов с различным ОСЛАБЛЕНИЕМ РЕНТГЕНОВСКОГО ИЗЛУЧЕНИЯ.
3.3.2
ЛИНЕЙНЫЙ РАСТР (LINEAR GRID): ОТСЕИВАЮЩИЙ РАСТР, состоящий из ламелей высокого поглощения и из промежутков между ними низкого поглощения, расположенных параллельно по всей длине.
3.3.3
ПАРАЛЛЕЛЬНЫЙ РАСТР (PARALLEL GRID): ЛИНЕЙНЫЙ РАСТР, в котором плоскости поглощающих ламелей параллельны друг другу и перпендикулярны к входной поверхности.
3.3.4
НАПРАВЛЕННЫЙ РАСТР (FOCUSED GRID): ЛИНЕЙНЫЙ РАСТР, в котором плоскости поглощающих ламелей сходятся на ФОКУСНОМ РАССТОЯНИИ в прямую линию.
3.3.5
ТРАПЕЦИЕВИДНЫЙ РАСТР (TAPERED GRID): ЛИНЕЙНЫЙ РАСТР, в котором высота поглощающих ламелей уменьшается по мере увеличения расстояния между поглощающими ламелями и ИСТИННОЙ ЦЕНТРАЛЬНОЙ ЛИНИЕЙ. Уменьшение происходит симметрично по отношению к ИСТИННОЙ ЦЕНТРАЛЬНОЙ ЛИНИИ.
3.3.6
ПЕРЕКРЕСТНЫЙ РАСТР (CROSS-GRID): ОТСЕИВАЮЩИЙ РАСТР, состоящий из двух ЛИНЕЙНЫХ РАСТРОВ, соединенных таким образом, что направления их поглощающих ламелей образуют некоторый угол.
3.3.6.1
ОРТОГОНАЛЬНЫЙ ПЕРЕКРЕСТНЫЙ РАСТР (ORTHOGONAL CROSS-GRID): ПЕРЕКРЕСТНЫЙ РАСТР, в котором направления поглощающих ламелей образуют угол 90°.
3.3.6.2
НЕОРТОГОНАЛЬНЫЙ ПЕРЕКРЕСТНЫЙ РАСТР (OBLIQUE CROSS-GRID): ПЕРЕКРЕСТНЫЙ РАСТР, в котором направления поглощающих ламелей образуют угол, не равный 90°.
3.3.7
СТАЦИОНАРНЫЙ РАСТР (STATIONARY GRID): ОТСЕИВАЮЩИЙ РАСТР, который при использовании неподвижен относительно ПУЧКА ИЗЛУЧЕНИЯ.
3.3.8
ДВИЖУЩИЙСЯ РАСТР (MOVING GRID): ОТСЕИВАЮЩИЙ РАСТР, используемый в ПРИСПОСОБЛЕНИЯХ, обеспечивающих подвижность ОТСЕИВАЮЩЕГО РАСТРА для устранения изображения поглощающих ламелей и связанной с этим потерей информации при прохождении ПУЧКА ИЗЛУЧЕНИЯ.
3.3.9
МАММОГРАФИЧЕСКИЙ ОТСЕИВАЮЩИЙ РАСТР (MAMMOGRAPHIC ANTI-SCATTER GRID): НАПРАВЛЕННЫЙ РАСТР, специально предназначенный для маммографии.
Примечание - В настоящем стандарте термин "ОТСЕИВАЮЩИЙ РАСТР общего назначения" используется при описании любого ОТСЕИВАЮЩЕГО РАСТРА, не предназначенного для маммографии.
3.3.10 Геометрические характеристики
3.3.10.1
ОТНОШЕНИЕ РАСТРА (GRID RATIO)
r: Отношение высоты поглощающих ламелей к промежутку между ними в центре ЛИНЕЙНОГО РАСТРА.
3.3.10.2
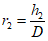
ФОКУСНОЕ РАССТОЯНИЕ (FOCUSING DISTANCE)
f0, см: Расстояние между входной поверхностью НАПРАВЛЕННОГО РАСТРА и линией, в которой сходятся продолжения проекций поглощающих ламелей растра.
Примечание - Следует различать термины "ФОКУСНОЕ РАССТОЯНИЕ", "расстояние ФОКУСНОЕ ПЯТНО - РАСТР", "расстояние ФОКУСНОЕ ПЯТНО - пленка".
3.3.10.3
ПРЕДЕЛЫ ПРИМЕНЕНИЯ РАСТРА (APPLICATION LIMITS)
f1, f2, см: Нижняя (
f1) и верхняя (
f2) границы расстояния от ФОКУСНОГО ПЯТНА до входной поверхности НАПРАВЛЕННОГО или ПАРАЛЛЕЛЬНОГО РАСТРА, между которыми возможно получение качественной радиографической информации.
Примечание - Подробное описание определения ПРЕДЕЛОВ ПРИМЕНЕНИЯ изложено в
приложении A.
3.3.10.4
ИСТИННАЯ ЦЕНТРАЛЬНАЯ ЛИНИЯ (TRUE CENTRAL LINE):
- для ПАРАЛЛЕЛЬНОГО РАСТРА: Линия на входной поверхности в направлении поглощающих ламелей, проходящая через центр поверхности растра;
- для НАПРАВЛЕННОГО РАСТРА: Линия, перпендикулярная к входной поверхности растра, представляющая собой проекцию линии, в которой сходятся продолжения поглощающих ламелей;
- для ТРАПЕЦИЕВИДНОГО РАСТРА: Линия на входной поверхности растра в направлении поглощающих ламелей, лежащая по центру относительно структуры растра.
Примечание - ПЕРЕКРЕСТНЫЙ РАСТР имеет две ИСТИННЫЕ ЦЕНТРАЛЬНЫЕ ЛИНИИ.
3.3.10.5
ОБОЗНАЧЕНИЕ ЦЕНТРАЛЬНОЙ ЛИНИИ (CENTRAL LINE INDICATION): Маркировка на входной поверхности ЛИНЕЙНОГО РАСТРА, которая предназначена для указания положения и направления ИСТИННОЙ ЦЕНТРАЛЬНОЙ ЛИНИИ.
Примечание - В большинстве случаев эта маркировка совпадает с геометрическим центром внутренней поверхности ламелей.
3.3.10.6
ЧАСТОТА ЛАМЕЛЕЙ (STRIP FREQUENCY)
N, см-1: Число поглощающих ламелей на единицу длины в ЛИНЕЙНОМ РАСТРЕ.
Примечание - Этот термин заменяет прежний термин "ЛАМЕЛИ НА САНТИМЕТР".
3.3.11 Физические характеристики
3.3.11.1
ПРОЗРАЧНОСТЬ РАСТРА ДЛЯ ПЕРВИЧНОГО ИЗЛУЧЕНИЯ (TRANSMISSION OF PRIMARY RADIATION)
Tp: Характеристика, рассчитываемая как отношение ИЗМЕРЕННОГО ЗНАЧЕНИЯ дозы или мощности дозы ПЕРВИЧНОГО ИЗЛУЧЕНИЯ при наличии растра в ПУЧКЕ ИЗЛУЧЕНИЯ к соответствующему значению при его отсутствии. Измерения проводятся в одинаковых условиях.
3.3.11.2
ПРОЗРАЧНОСТЬ РАСТРА ДЛЯ РАССЕЯННОГО ИЗЛУЧЕНИЯ (TRANSMISSION OF SCATTERED RADIATION)
TS: Характеристика, рассчитываемая как отношение ИЗМЕРЕННОГО ЗНАЧЕНИЯ дозы или мощности дозы РАССЕЯННОГО ИЗЛУЧЕНИЯ при наличии растра в ПУЧКЕ ИЗЛУЧЕНИЯ к соответствующему значению при его отсутствии. Измерения проводятся в одинаковых условиях.
3.3.11.3
ПРОЗРАЧНОСТЬ РАСТРА ДЛЯ СУММАРНОГО ИЗЛУЧЕНИЯ (TRANSMISSION OF TOTAL RADIATION)
Tt: Характеристика, рассчитываемая как отношение ИЗМЕРЕННОГО ЗНАЧЕНИЯ дозы или мощности дозы СУММАРНОГО ИЗЛУЧЕНИЯ при наличии растра в ПУЧКЕ ИЗЛУЧЕНИЯ, к соответствующему значению при его отсутствии. Измерения проводятся в одинаковых условиях.
3.3.11.4
СЕЛЕКТИВНОСТЬ РАСТРА (GRID SELECTIVITY)
: Характеристика ОТСЕИВАЮЩЕГО РАСТРА, рассчитываемая как отношение ПРОЗРАЧНОСТИ РАСТРА ДЛЯ ПЕРВИЧНОГО ИЗЛУЧЕНИЯ к ПРОЗРАЧНОСТИ РАСТРА ДЛЯ РАССЕЯННОГО ИЗЛУЧЕНИЯ. Измерения проводятся в одинаковых условиях.
3.3.11.5
КОЭФФИЦИЕНТ УЛУЧШЕНИЯ КОНТРАСТА (CONTRAST IMPROVEMENT RATIO)
K: Характеристика ОТСЕИВАЮЩЕГО РАСТРА, рассчитываемая как отношение ПРОЗРАЧНОСТИ РАСТРА ДЛЯ ПЕРВИЧНОГО ИЗЛУЧЕНИЯ к ПРОЗРАЧНОСТИ РАСТРА ДЛЯ СУММАРНОГО ИЗЛУЧЕНИЯ. Измерения проводятся в одинаковых условиях.
3.3.11.6
КОЭФФИЦИЕНТ УВЕЛИЧЕНИЯ ЭКСПОЗИЦИИ (GRID EXPOSURE FACTOR)
B: Характеристика отсеивающего растра, рассчитываемая как отношение ИЗМЕРЕННОГО ЗНАЧЕНИЯ дозы или мощности дозы СУММАРНОГО ИЗЛУЧЕНИЯ при наличии ОТСЕИВАЮЩЕГО РАСТРА в ПУЧКЕ ИЗЛУЧЕНИЯ к соответствующим значениям при его отсутствии. Измерения проводятся в одинаковых условиях.
3.3.12 Другие термины
3.3.12.1
ДЕЦЕНТРАЦИЯ НАПРАВЛЕННОГО РАСТРА (DECENTRING OF A FOCUSED GRID): Расстояние от ФОКУСНОГО ПЯТНА РЕНТГЕНОВСКОЙ ТРУБКИ до плоскости, перпендикулярной к входной поверхности растра, проходящей через ИСТИННУЮ ЦЕНТРАЛЬНУЮ ЛИНИЮ НАПРАВЛЕННОГО РАСТРА.
3.3.12.2
ДЕФОКУСИРОВКА НАПРАВЛЕННОГО РАСТРА (DEFOCUSING OF A FOCUSED GRID): Разность между расстоянием от ФОКУСНОГО ПЯТНА РЕНТГЕНОВСКОЙ ТРУБКИ до входной поверхности НАПРАВЛЕННОГО РАСТРА и ФОКУСНЫМ РАССТОЯНИЕМ этого растра.
| | ИС МЕГАНОРМ: примечание. Применение на добровольной основе разд. 4 - 6 обеспечивает соблюдение соответствия медицинских изделий Общим требованиям безопасности и эффективности медицинских изделий, требованиям к их маркировке и эксплуатационной документации на них (Рекомендация Коллегии Евразийской экономической комиссии от 04.09.2017 N 17). | |
4 Конструкция ОТСЕИВАЮЩИХ РАСТРОВ
ОТСЕИВАЮЩИЙ РАСТР обычно состоит из полос (ламелей) материала высокого поглощения шириной
d и высотой
h, расположенных на равном расстоянии друг от друга
D (рисунок 1).
Высота ламелей h бывает постоянной по всей площади ОТСЕИВАЮЩЕГО РАСТРА либо уменьшается в ТРАПЕЦИЕВИДНОМ РАСТРЕ к краям от наибольшей высоты, обозначаемой h0.
Примечание - D и d измеряют на входной поверхности растра.
Промежутки между ламелями обычно заполняют материалом низкого поглощения. Растр может иметь обрамление и защитное покрытие от механических повреждений для обеспечения необходимой прочности.
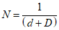
ЧАСТОТУ ЛАМЕЛЕЙ определяют по формуле

. (1)
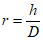
ОТНОШЕНИЕ РАСТРА определяют по формулам:
для ПАРАЛЛЕЛЬНОГО РАСТРА и НАПРАВЛЕННОГО РАСТРА

; (2)
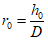
для ТРАПЕЦИЕВИДНОГО РАСТРА

; (3)
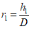
для ПЕРЕКРЕСТНОГО РАСТРА

, (4)

. (5)
Буквы без дополнительных обозначений относятся к ЛИНЕЙНЫМ РАСТРАМ. Обозначение "нуль" относится к величине ИСТИННОЙ ЦЕНТРАЛЬНОЙ ЛИНИИ. Обозначения "1" и "2" относятся к величинам ЛИНЕЙНЫХ РАСТРОВ, формирующих ПЕРЕКРЕСТНЫЙ РАСТР.
5 Измерение и определение физических характеристик
5.1 Метод и установка для измерений
5.1.1 Определение физических характеристик
По настоящему стандарту ПРОНИКНОВЕНИЕ ИЗЛУЧЕНИЯ должно определяться как отношение двух ИЗМЕРЕННЫХ ЗНАЧЕНИЙ, полученных с помощью устройств, описанных в 5.1.2.
5.1.2 Измерительные устройства
ДЕТЕКТОР ИЗЛУЧЕНИЯ должен состоять из ЛЮМИНЕСЦЕНТНОГО ЭКРАНА и фотодетектора (рисунок 2). ЛЮМИНЕСЦЕНТНЫЙ ЭКРАН должен быть изготовлен из кальцийвольфраматного люминофора и желательно, чтобы он был защищен от света.
Нагрузка люминофора должна быть:
a) для ОТСЕИВАЮЩИХ РАСТРОВ общего применения (75 +/- 10) мг·см-2;
b) для МАММОГРАФИЧЕСКИХ ОТСЕИВАЮЩИХ РАСТРОВ (32 +/- 2) мг·см-2.
Диаметр измеряемого поля должен быть (6,0 +/- 0,5) мм.
Яркость ЛЮМИНЕСЦЕНТНОГО ЭКРАНА должна измеряться фотодетектором, предпочтительно фотоэлектронным умножителем.
ДОПОЛНИТЕЛЬНАЯ ФИЛЬТРАЦИЯ между ОТСЕИВАЮЩИМ РАСТРОМ и излучающим слоем ЛЮМИНЕСЦЕНТНОГО ЭКРАНА должна быть не более (в эквивалентной толщине алюминия):
a) для ОТСЕИВАЮЩИХ РАСТРОВ общего назначения - 0,5 мм Al;
b) для МАММОГРАФИЧЕСКИХ ОТСЕИВАЮЩИХ РАСТРОВ - 0,1 мм Al.
Величина эквивалентной фильтрации указана для качества используемого излучения.
Чтобы убедиться, что темновой ток и прямое ИЗЛУЧЕНИЕ на фотодетектор не оказывают влияния на результат измерений, должны быть проведены следующие проверки.
Установка должна быть такой, как описано в 5.2.2, за исключением того, что экран, ограничивающий ИЗЛУЧЕНИЕ, и ОТСЕИВАЮЩИЙ РАСТР должны быть удалены. ИЗМЕРЕННЫЕ ЗНАЧЕНИЯ сигнала детектора должны быть получены при засвечивании детектора излучением ЛЮМИНЕСЦЕНТНОГО ЭКРАНА и в отсутствии этой засветки.
Отношение этих значений не должно превышать 0,002.
Примечание - Постоянное значение темнового тока ДЕТЕКТОРА ИЗЛУЧЕНИЯ может быть вычтено из ИЗМЕРЕННЫХ ЗНАЧЕНИЙ.
5.1.3 ФАНТОМЫ
a) Для ОТСЕИВАЮЩИХ РАСТРОВ общего назначения ФАНТОМ, используемый при определении ПРОЗРАЧНОСТИ РАСТРА ДЛЯ ПЕРВИЧНОГО ИЗЛУЧЕНИЯ и ПРОЗРАЧНОСТИ РАСТРА ДЛЯ РАССЕЯННОГО ИЗЛУЧЕНИЯ - по 8.3 МЭК 61267. Этот ФАНТОМ должен представлять собой контейнер с водой. Контейнер должен иметь:
- внешние размеры сторон (300 +/- 1) мм и высоту (200 +/- 1) мм;
- крышку, основание и стенки, изготовленные из полиметилметакрилата (ПММА) толщиной (10 +/- 2) мм или из другого материала, имеющего такое же ОСЛАБЛЕНИЕ;
- внутреннее пространство, заполненное водой.
Примечание 1 - При выполнении УСЛОВИЙ УЗКОГО ПУЧКА вышеописанный ФАНТОМ может быть заменен идентичным ФАНТОМОМ с меньшими внешними размерами. Эквивалентность ФАНТОМОВ должна быть проверена.
Примечание 2 - Альтернативой вышеописанному ФАНТОМУ может являться ФАНТОМ из эквивалентного воде материала ("твердая вода"), имеющий те же размеры контейнера. Эквивалентность ФАНТОМОВ должна быть проверена.
b) Для МАММОГРАФИЧЕСКИХ ОТСЕИВАЮЩИХ РАСТРОВ ФАНТОМ, используемый при определении ПРОЗРАЧНОСТИ РАСТРА ДЛЯ ПЕРВИЧНОГО ИЗЛУЧЕНИЯ и ПРОЗРАЧНОСТИ РАСТРА ДЛЯ РАССЕЯННОГО ИЗЛУЧЕНИЯ, должен быть блоком из ПММА плотностью (5,95 +/- 0,10) г·см-2 и с поперечным сечением квадратной формы со сторонами 150 мм. Это соответствует толщине примерно 50 мм (см. рисунок 3b).
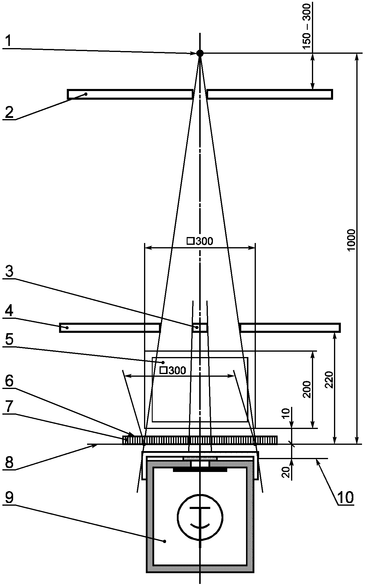
a) Для ОТСЕИВАЮЩИХ РАСТРОВ общего назначения установка для измерения приведена на рисунке 3a (ФАНТОМ расположен вверху - УСЛОВИЯ УЗКОГО ПУЧКА) и рисунок 4a (ФАНТОМ расположен внизу - УСЛОВИЯ ШИРОКОГО ПУЧКА).
Положения ФОКУСНОГО ПЯТНА, ОТСЕИВАЮЩЕГО РАСТРА общего назначения и измеряемого поля в установках одинаковы. Они определяются конструкцией установки при расположении ФАНТОМА внизу.
Установка для измерения - по МЭК 61267 для получения КАЧЕСТВА ИЗЛУЧЕНИЯ RQN и RQB, за исключением следующих изменений:
- один и тот же ФАНТОМ может быть использован в обеих установках;
- несколько изменено положение ДИАФРАГМЫ;
- диаметр ПУЧКА ИЗЛУЧЕНИЯ в УСЛОВИЯХ УЗКОГО ПУЧКА должен быть 8 мм;
- экран, ограничивающий ПУЧОК ИЗЛУЧЕНИЯ, добавляется для некоторых измерений в ШИРОКОМ ПУЧКЕ.
Расстояние между ФОКУСНЫМ ПЯТНОМ и плоскостью ОТСЕИВАЮЩЕГО РАСТРА общего назначения должно быть (100 +/- 1) см, даже если ФОКУСНОЕ РАССТОЯНИЕ НАПРАВЛЕННОГО РАСТРА не равно 100 см. В описанной геометрии результаты измерений не зависят от ФОКУСНОГО РАССТОЯНИЯ f0.
ДИАФРАГМЫ и экран для ПЕРВИЧНОГО ИЗЛУЧЕНИЯ, показанные на рисунках 3a и 4a, должны быть изготовлены из свинца толщиной 
.
При всех измерениях ОТСЕИВАЮЩИЙ РАСТР общего назначения должен быть зафиксирован так, чтобы ИСТИННАЯ ЦЕНТРАЛЬНАЯ ЛИНИЯ, определенная по ОБОЗНАЧЕНИЮ ЦЕНТРАЛЬНОЙ ЛИНИИ, находилась выше центра измеряемого поля. Входная плоскость растра должна быть перпендикулярна с точностью +/- 0,2° к плоскости, проходящей от ФОКУСНОГО ПЯТНА до центральной линии, определенной по ОБОЗНАЧЕНИЮ ЦЕНТРАЛЬНОЙ ЛИНИИ.
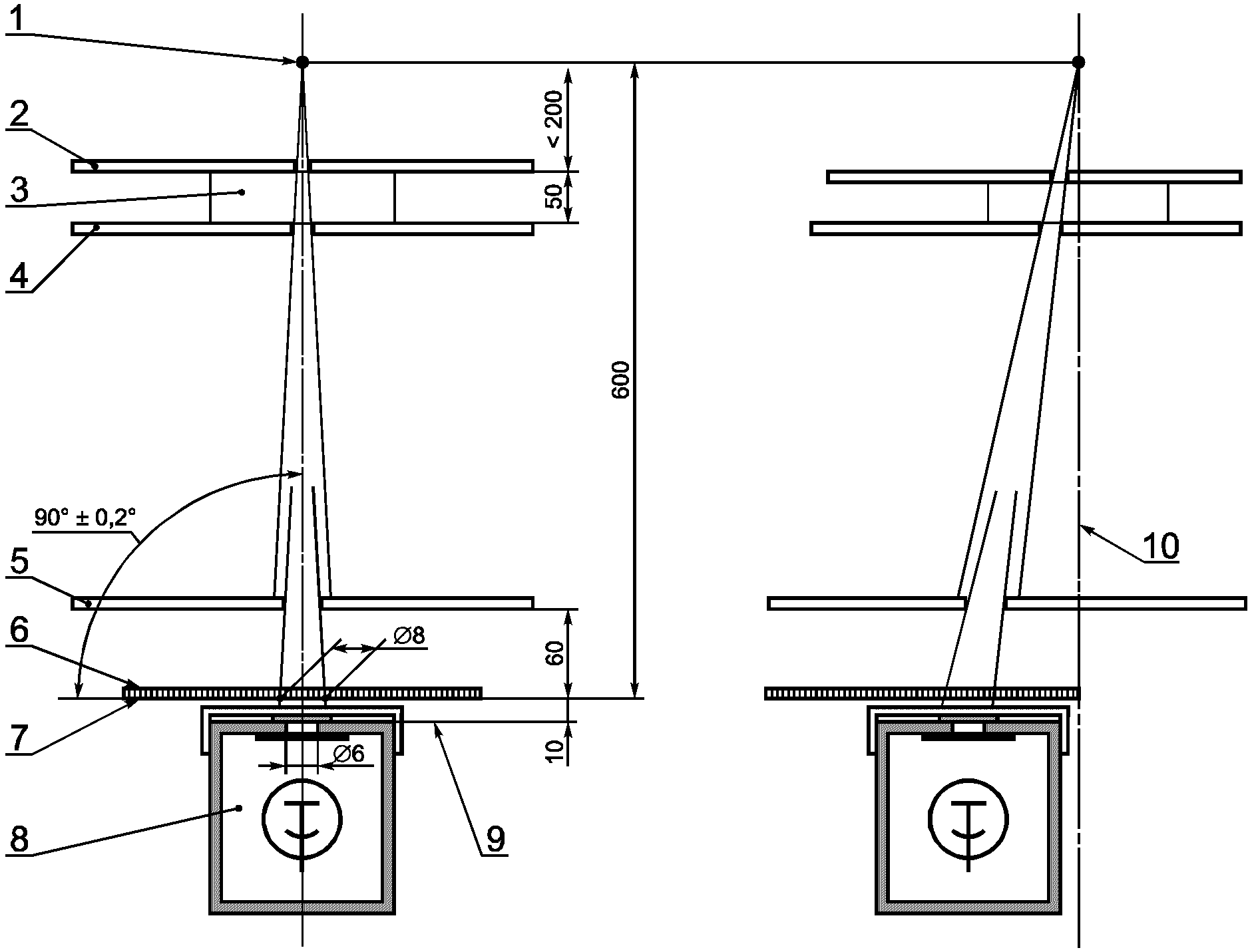
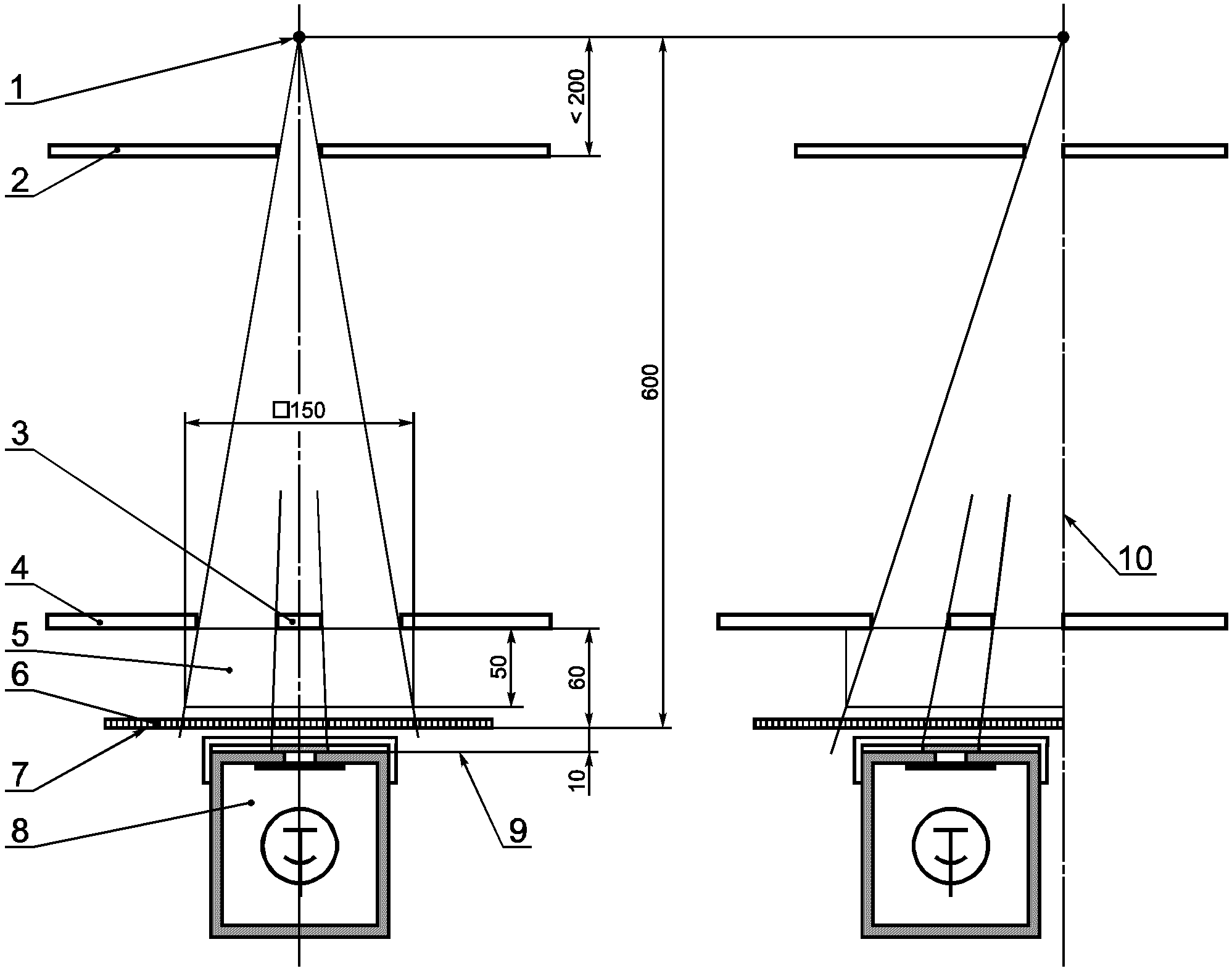
b) Для МАММОГРАФИЧЕСКОГО ОТСЕИВАЮЩЕГО РАСТРА установка для измерения приведена на рисунке 3b (ФАНТОМ расположен вверху - УСЛОВИЯ УЗКОГО ПУЧКА) и на рисунке 4b (ФАНТОМ расположен внизу - УСЛОВИЯ ШИРОКОГО ПУЧКА).
Расположение ФОКУСНОГО ПЯТНА, МАММОГРАФИЧЕСКОГО ОТСЕИВАЮЩЕГО РАСТРА и измеряемого поля в установках одинаковое. Оно определяется конструкцией при условии расположения ФАНТОМА внизу.
Для измерения при расположении МАММОГРАФИЧЕСКОГО ОТСЕИВАЮЩЕГО РАСТРА на предназначенном для него месте и ФАНТОМА, расположенного внизу, ФОКУСНОЕ ПЯТНО, центр нижней поверхности ФАНТОМА и центр измеряемого поля должны находиться в одной плоскости. Вертикаль от ФОКУСНОГО ПЯТНА до нижней поверхности ФАНТОМА должна делить пополам одну из сторон ФАНТОМА.
Внутренняя поверхность МАММОГРАФИЧЕСКОГО ОТСЕИВАЮЩЕГО РАСТРА должна быть параллельна верхней поверхности ФАНТОМА. Центральная линия растра, представляющая собой ОБОЗНАЧЕНИЕ ЦЕНТРАЛЬНОЙ ЛИНИИ, должна быть параллельна краю ФАНТОМА. Край растра, прилегающий к грудной клетке, по возможности, должен быть ориентирован так, чтобы находиться на вертикали, которая рассекает ФАНТОМ на две равные части.
МАММОГРАФИЧЕСКИЙ ОТСЕИВАЮЩИЙ РАСТР должен быть расположен так, чтобы вертикаль от ФОКУСНОГО ПЯТНА до верхней части ФАНТОМА пересекала входную поверхность растра по центральной линии, представляющей собой ОБОЗНАЧЕНИЕ ЦЕНТРАЛЬНОЙ ЛИНИИ. Входная поверхность растра должна быть перпендикулярна с точностью +/- 0,2° к плоскости между ФОКУСНЫМ ПЯТНОМ и ОБОЗНАЧЕНИЕМ ЦЕНТРАЛЬНОЙ ЛИНИИ.
Расстояние между ФОКУСНЫМ ПЯТНОМ и плоскостью держателя МАММОГРАФИЧЕСКОГО ОТСЕИВАЮЩЕГО РАСТРА должно быть равно (60 +/- 0,5) см, даже если ФОКУСНОЕ РАССТОЯНИЕ растра не равно 60 см.
В описанной геометрии результаты измерений не зависят от ФОКУСНОГО РАССТОЯНИЯ f0.
Приведенные выше условия измерений могут быть изменены для одной из следующих конкретных ситуаций:
- растр меньше, чем ФАНТОМ;
- растр должен быть расположен так, чтобы ФОКУСНОЕ ПЯТНО, центр растра и центр поля измерения были соосны;
- линии растра параллельны краю растра, прилегающего к грудной клетке;
- растр должен быть расположен так, чтобы компенсировать децентрацию.
Угол должен быть выбран таким, чтобы поглощающие ламели, находящиеся над полем измерения, были направлены на ФОКУСНОЕ ПЯТНО. Наклон должен быть достигнут увеличением или уменьшением расстояния края растра от ОБОЗНАЧЕНИЯ ЦЕНТРАЛЬНОЙ ЛИНИИ.
Примечание - Практически бывает необходим сдвиг только на несколько миллиметров.
ДИАФРАГМЫ и экран для ПЕРВИЧНОГО ИЗЛУЧЕНИЯ, показанные на рисунках 3b и 4b, должны быть изготовлены из свинца толщиной 
.
Установка с ФАНТОМОМ, расположенным вверху (УСЛОВИЯ УЗКОГО ПУЧКА), должна быть такой, как описано выше, за исключением того, что ФАНТОМ располагается ближе к РЕНТГЕНОВСКОЙ ТРУБКЕ, а ИЗЛУЧЕНИЕ проходит через центр ФАНТОМА. В этом случае ПУЧОК ИЗЛУЧЕНИЯ должен быть ограничен, как описано в 5.2.1 (рисунок 3b).
5.1.5 КАЧЕСТВО ИЗЛУЧЕНИЯ
a) Для ОТСЕИВАЮЩИХ РАСТРОВ общего назначения измерения должны проводиться при УСЛОВИЯХ ИЗЛУЧЕНИЯ RQN 6 и RQB 6 в соответствии с МЭК 61267.
Если ОТСЕИВАЮЩИЙ РАСТР общего назначения предназначен для использования при низких энергиях, дополнительные измерения должны быть проведены при УСЛОВИЯХ ИЗЛУЧЕНИЯ RQN 3 и RQB 3.
Если ОТСЕИВАЮЩИЙ РАСТР общего назначения предназначен для использования при высоких энергиях, дополнительные измерения могут быть проведены при УСЛОВИЯХ ИЗЛУЧЕНИЯ RQN 9 и RQB 9.
Примечание 1 - Должна быть выбрана РЕНТГЕНОВСКАЯ ТРУБКА, имеющая малое АФОКАЛЬНОЕ ИЗЛУЧЕНИЕ. Использование РЕНТГЕНОВСКОЙ ТРУБКИ, имеющей большое суммарное АФОКАЛЬНОЕ ИЗЛУЧЕНИЕ, может несколько увеличить ПРОЗРАЧНОСТЬ РАСТРА ДЛЯ РАССЕЯННОГО ИЗЛУЧЕНИЯ.
Примечание 2 - Характеристики, указанные на ОТСЕИВАЮЩИХ РАСТРАХ общего назначения или приведенные в СОПРОВОДИТЕЛЬНЫХ ДОКУМЕНТАХ (6.4), получены при RQN 6 и RQB 6.
b) Для МАММОГРАФИЧЕСКИХ ОТСЕИВАЮЩИХ РАСТРОВ, измерения должны быть проведены при АНОДНОМ НАПРЯЖЕНИИ (28 +/- 1) кВ, полученном от РПУ ПОСТОЯННОГО НАПРЯЖЕНИЯ.
МИШЕНЬ АНОДА РЕНТГЕНОВСКОЙ ТРУБКИ должна быть изготовлена из молибдена, окно РЕНТГЕНОВСКОЙ ТРУБКИ - из бериллия, ДОПОЛНИТЕЛЬНАЯ ФИЛЬТРАЦИЯ должна осуществляться молибденом толщиной (0,030 +/- 0,002) мм.
5.1.6 Постоянство источника
ПАРАМЕТР НАГРУЗКИ РЕНТГЕНОВСКОЙ ТРУБКИ должен контролироваться таким образом, чтобы влияние разброса МОЩНОСТИ ФЛУЕНСА ЭНЕРГИИ на точность каждого индивидуального измерения было меньше +/- 0,5%.
5.2 Физические характеристики
5.2.1 Измерение ПРОЗРАЧНОСТИ РАСТРА ДЛЯ ПЕРВИЧНОГО ИЗЛУЧЕНИЯ Tp
Два измерения, требуемые для определения ПРОЗРАЧНОСТИ РАСТРА ДЛЯ ПЕРВИЧНОГО ИЗЛУЧЕНИЯ, должны быть сделаны в УСЛОВИЯХ УЗКОГО ПУЧКА:
- с ФАНТОМОМ и ОТСЕИВАЮЩИМ РАСТРОМ, расположенными, как описано в 5.1.4, и показанными на рисунках 3a или 3b соответственно;
- без ОТСЕИВАЮЩЕГО РАСТРА, но при тех же условиях.
В плоскости держателя ОТСЕИВАЮЩЕГО РАСТРА диаметр пучка должен быть 8 мм.
ПРОЗРАЧНОСТЬ РАСТРА ДЛЯ ПЕРВИЧНОГО ИЗЛУЧЕНИЯ Tp определяют как отношение ИЗМЕРЕННЫХ ЗНАЧЕНИЙ с ОТСЕИВАЮЩИМ РАСТРОМ и без него.
5.2.2 Измерение ПРОЗРАЧНОСТИ РАСТРА ДЛЯ РАССЕЯННОГО ИЗЛУЧЕНИЯ Ts
Два измерения, требуемые для определения ПРОЗРАЧНОСТИ РАСТРА ДЛЯ РАССЕЯННОГО ИЗЛУЧЕНИЯ, должны быть сделаны в УСЛОВИЯХ ШИРОКОГО ПУЧКА:
- с ФАНТОМОМ и ОТСЕИВАЮЩИМ РАСТРОМ, расположенными, как описано в 5.1.4, и показанными на рисунках 4a и 4b соответственно;
- без ОТСЕИВАЮЩЕГО РАСТРА, но при тех же условиях.
a) Для ОТСЕИВАЮЩЕГО РАСТРА общего назначения ПУЧОК ИЗЛУЧЕНИЯ должен быть отрегулирован размером 275 x 275 мм в плоскости входной поверхности ФАНТОМА, даже если растр имеет меньший размер.
b) Для МАММОГРАФИЧЕСКОГО ОТСЕИВАЮЩЕГО РАСТРА ПУЧОК ИЗЛУЧЕНИЯ должен быть отрегулирован размером 150 x 150 мм в плоскости входной поверхности ФАНТОМА, даже если растр имеет меньший размер.
ФОКАЛЬНОЕ ИЗЛУЧЕНИЕ должно быть исключено с помощью экрана для ПЕРВИЧНОГО ИЗЛУЧЕНИЯ, расположенного на расстоянии не более 5 мм от входной поверхности ФАНТОМА, чтобы убрать все ФОКАЛЬНОЕ ИЗЛУЧЕНИЕ в направлении измеряемого поля, как описано в 5.1.2.
Диаметр экрана для ПЕРВИЧНОГО ИЗЛУЧЕНИЯ должен быть:
a) для ОТСЕИВАЮЩЕГО РАСТРА общего назначения - (6,0 +/- 0,2) мм;
b) для МАММОГРАФИЧЕСКОГО ОТСЕИВАЮЩЕГО РАСТРА - (6,5 +/- 0,1) мм.
Экран для ПЕРВИЧНОГО ИЗЛУЧЕНИЯ должен быть вставлен так, чтобы сигнал детектора был минимальным.
ПРОЗРАЧНОСТЬ РАСТРА ДЛЯ РАССЕЯННОГО ИЗЛУЧЕНИЯ определяют как отношение ИЗМЕРЕННЫХ ЗНАЧЕНИЙ с ОТСЕИВАЮЩИМ РАСТРОМ и без него.
5.2.3 Измерение ПРОЗРАЧНОСТИ РАСТРА ДЛЯ СУММАРНОГО ИЗЛУЧЕНИЯ Tt
Два измерения, требуемые для определения ПРОЗРАЧНОСТИ РАСТРА ДЛЯ СУММАРНОГО ИЗЛУЧЕНИЯ, должны выполняться в том же порядке, как описано в 5.2.2, но без упомянутого экрана для ПЕРВИЧНОГО ИЗЛУЧЕНИЯ.
ПРОЗРАЧНОСТЬ РАСТРА ДЛЯ СУММАРНОГО ИЗЛУЧЕНИЯ Tt определяют как отношение ИЗМЕРЕННЫХ ЗНАЧЕНИЙ с ОТСЕИВАЮЩИМ РАСТРОМ и без него.
5.2.4 Расчет СЕЛЕКТИВНОСТИ РАСТРА 
СЕЛЕКТИВНОСТЬ РАСТРА следует определять по следующей формуле

.
(6)
5.2.5 Расчет КОЭФФИЦИЕНТА УЛУЧШЕНИЯ КОНТРАСТА K
КОЭФФИЦИЕНТ УЛУЧШЕНИЯ КОНТРАСТА следует определять по следующей формуле

.
(7)
5.2.6 Расчет КОЭФФИЦИЕНТА УВЕЛИЧЕНИЯ ЭКСПОЗИЦИИ B
КОЭФФИЦИЕНТ УВЕЛИЧЕНИЯ ЭКСПОЗИЦИИ следует определять по следующей формуле

.
(8)
5.2.7 Точность измерений
a) Для ОТСЕИВАЮЩИХ РАСТРОВ общего назначения общая погрешность определения ПРОЗРАЧНОСТИ РАСТРА ДЛЯ ПЕРВИЧНОГО ИЗЛУЧЕНИЯ, ПРОЗРАЧНОСТИ РАСТРА ДЛЯ РАССЕЯННОГО ИЗЛУЧЕНИЯ и ПРОЗРАЧНОСТИ РАСТРА ДЛЯ СУММАРНОГО ИЗЛУЧЕНИЯ не должна превышать 2,0% (достоверность - 95%).
Если эти требования выполняются, СЕЛЕКТИВНОСТЬ ОТСЕИВАЮЩЕГО РАСТРА будет определена с точностью +/- 3,0%, КОЭФФИЦИЕНТ УЛУЧШЕНИЯ КОНТРАСТА - +/- 3,0% и КОЭФФИЦИЕНТ УВЕЛИЧЕНИЯ ЭКСПОЗИЦИИ - +/- 2,0%.
b) Для МАММОГРАФИЧЕСКОГО ОТСЕИВАЮЩЕГО РАСТРА общая погрешность определения ПРОЗРАЧНОСТИ РАСТРА ДЛЯ РАССЕЯННОГО ИЗЛУЧЕНИЯ и ПРОЗРАЧНОСТИ РАСТРА ДЛЯ СУММАРНОГО ИЗЛУЧЕНИЯ не должна превышать 1% (достоверность - 95%).
Если эти требования выполняются, СЕЛЕКТИВНОСТЬ ОТСЕИВАЮЩЕГО РАСТРА будет определена с точностью +/- 1,5%, КОЭФФИЦИЕНТ УЛУЧШЕНИЯ КОНТРАСТА - +/- 1,5%, и КОЭФФИЦИЕНТ УВЕЛИЧЕНИЯ ЭКСПОЗИЦИИ - +/- 1%.
6 Требования к ОТСЕИВАЮЩИМ РАСТРАМ
6.1 Точность изготовления
6.1.1 ЧАСТОТА ЛАМЕЛЕЙ
Значение ЧАСТОТЫ ЛАМЕЛЕЙ должно быть в пределах +/- 10%, в том числе для значения, приведенного в
6.4.2.3.
6.1.2 ОТНОШЕНИЕ РАСТРА
Значение ОТНОШЕНИЯ РАСТРА должно быть в пределах +/- 10%, в том числе для значения, приведенного в
6.4.2.4.
6.2 Определение ПРЕДЕЛОВ ПРИМЕНЕНИЯ для ПАРАЛЛЕЛЬНЫХ и НАПРАВЛЕННЫХ РАСТРОВ
ПРЕДЕЛЫ ПРИМЕНЕНИЯ определяют как расстояния от ФОКУСНОГО ПЯТНА до растра, при которых достигается ПРОЗРАЧНОСТЬ РАСТРА ДЛЯ ПЕРВИЧНОГО ИЗЛУЧЕНИЯ на границах эффективной поверхности растра, наиболее удаленных от ИСТИННОЙ ЦЕНТРАЛЬНОЙ ЛИНИИ, составляющие:
a) для ОТСЕИВАЮЩИХ РАСТРОВ общего назначения - 60%;
| | ИС МЕГАНОРМ: примечание. Нумерация перечислений дана в соответствии с официальным текстом документа. | |
б) для МАММОГРАФИЧЕСКИХ ОТСЕИВАЮЩИХ РАСТРОВ - 80%.
Значения должны быть рассчитаны по эталонному растру (ОТСЕИВАЮЩЕМУ РАСТРУ правильной геометрической формы) при условии, что проникновение ИЗЛУЧЕНИЯ через поглощающие ламели отсутствует (см.
приложение A).
Примечание - ПРЕДЕЛЫ ПРИМЕНЕНИЯ рассчитывают только для СТАЦИОНАРНЫХ РАСТРОВ. Если в ДВИЖУЩЕМСЯ РАСТРЕ используют НАПРАВЛЕННЫЙ РАСТР, практические ПРЕДЕЛЫ ПРИМЕНЕНИЯ должны быть рассчитаны с учетом движения растра
(приложение A).
6.3 Точность характеристик
6.3.1 СЕЛЕКТИВНОСТЬ РАСТРА
Значение СЕЛЕКТИВНОСТИ РАСТРА, приведенное как требование в
6.4.4.4, должно быть в пределах:
a) для ОТСЕИВАЮЩЕГО РАСТРА общего назначения - +/- 10%;
b) для МАММОГРАФИЧЕСКОГО ОТСЕИВАЮЩЕГО РАСТРА - +/- 5%, вычисляемое по
5.2.4.
6.3.2 КОЭФФИЦИЕНТ УЛУЧШЕНИЯ КОНТРАСТА
Значение КОЭФФИЦИЕНТА УЛУЧШЕНИЯ КОНТРАСТА, приведенное как требование в
6.4.4.5., должно быть в пределах:
a) для ОТСЕИВАЮЩЕГО РАСТРА общего назначения - +/- 10%;
b) для МАММОГРАФИЧЕСКОГО ОТСЕИВАЮЩЕГО РАСТРА - +/- 5%, вычисляемое по
5.2.5.
6.3.3 КОЭФФИЦИЕНТ УВЕЛИЧЕНИЯ ЭКСПОЗИЦИИ
Значение КОЭФФИЦИЕНТА УВЕЛИЧЕНИЯ ЭКСПОЗИЦИИ РАСТРА, приведенное как требование в
6.4.4.6, должно быть в пределах:
a) для ОТСЕИВАЮЩЕГО РАСТРА общего назначения - +/- 10%;
b) для МАММОГРАФИЧЕСКОГО ОТСЕИВАЮЩЕГО РАСТРА - +/- 10%, вычисляемое по
5.2.6.
6.4 Маркировка и СОПРОВОДИТЕЛЬНЫЕ ДОКУМЕНТЫ
6.4.1 СОПРОВОДИТЕЛЬНЫЕ ДОКУМЕНТЫ, относящиеся к растру или устройству для размещения растра, должны содержать данные об определенном ОТСЕИВАЮЩЕМ РАСТРЕ или серии, или типе растров, соответствующих данному растру. СОПРОВОДИТЕЛЬНЫЕ ДОКУМЕНТЫ должны гарантированно идентифицировать определенный ОТСЕИВАЮЩИЙ РАСТР или относящиеся к нему серии или типы растров.
6.4.2 ЛИНЕЙНЫЙ РАСТР должен содержать следующую маркировку.
Примеры:
6.4.2.1 Наименование или торговую марку предприятия-ИЗГОТОВИТЕЛЯ или поставщика.
6.4.2.2 ОБОЗНАЧЕНИЕ МОДЕЛИ или ТИПА (номер типа) или СЕРИЙНЫЙ НОМЕР в соответствии с требованиями
6.4.1.
6.4.2.3 ЧАСТОТУ ЛАМЕЛЕЙ (см
-1) -
N 40.
6.4.2.4 ОТНОШЕНИЕ РАСТРА (для ПЕРЕКРЕСТНОГО РАСТРА оба ОТНОШЕНИЯ РАСТРА) -
r 12.
6.4.2.5 ОБОЗНАЧЕНИЕ ЦЕНТРАЛЬНОЙ ЛИНИИ (для ПЕРЕКРЕСТНОГО РАСТРА оба ОБОЗНАЧЕНИЯ ЦЕНТРАЛЬНЫХ ЛИНИЙ).
6.4.2.6 Геометрические условия
a) ОТСЕИВАЮЩИЙ РАСТР общего назначения должен иметь маркировку центра эффективной поверхности растра, если он не совпадает с геометрическим центром растра.
b) МАММОГРАФИЧЕСКИЙ ОТСЕИВАЮЩИЙ РАСТР должен иметь маркировку, которая четко идентифицирует сторону растра, прилегающую к грудной клетке, когда это необходимо.
6.4.3 НАПРАВЛЕННЫЙ РАСТР в дополнение к
6.4.2 должен содержать следующую маркировку.
6.4.3.1 ФОКУСНОЕ РАССТОЯНИЕ (см) -
f0 90.
6.4.3.2 Индикацию входной поверхности
Должна быть гарантия, что входная поверхность растра может быть идентифицирована, например, с помощью графических символов N 5337 или N 5338 для РЕНТГЕНОВСКИХ ТРУБОК по МЭК 60417-1, МЭК 60417-2.
6.4.4 Следующие обозначения должны быть на растре или в СОПРОВОДИТЕЛЬНЫХ ДОКУМЕНТАХ на растр или на устройство для размещения растра.
Примеры:
6.4.4.1 ПРЕДЕЛЫ ПРИМЕНЕНИЯ (см) -
f1 76,
f2 110.
6.4.4.2 Химическое обозначение материала поглощающих ламелей - Pb.
6.4.4.3 ПРОЗРАЧНОСТЬ РАСТРА ДЛЯ ПЕРВИЧНОГО ИЗЛУЧЕНИЯ - Tp 0,75.
6.4.4.4 СЕЛЕКТИВНОСТЬ РАСТРА -

7,1.
6.4.4.5 КОЭФФИЦИЕНТ УЛУЧШЕНИЯ КОНТРАСТА -
K 3,1.
6.4.4.6 КОЭФФИЦИЕНТ УВЕЛИЧЕНИЯ ЭКСПОЗИЦИИ -
B 4,1.
a) Для ОТСЕИВАЮЩИХ РАСТРОВ общего назначения величины Tp, Z, K и B, определенные для УСЛОВИЙ ИЗЛУЧЕНИЯ RQN 3 и RQB 3, должны обозначаться "U 50", для УСЛОВИЙ ИЗЛУЧЕНИЯ RQN 6 и RQB 6 - "U 80" и при УСЛОВИЯХ ИЗЛУЧЕНИЯ RQN 9 и RQB 9 - "U 120".
Примечание - Если величины даны только при RQN 6 и RQB 6 обозначение "U 80" может быть исключено.
b) Для МАММОГРАФИЧЕСКИХ ОТСЕИВАЮЩИХ РАСТРОВ специальные требования не предъявляют.
6.4.4.7 Максимальное отклонение в миллиметрах между ОБОЗНАЧЕНИЕМ ЦЕНТРАЛЬНОЙ ЛИНИИ И ИСТИННОЙ ЦЕНТРАЛЬНОЙ ЛИНИЕЙ.
6.4.4.8 Обозначение используемого внутреннего материала, которое может быть ограничено указанием, что это - органический материал или металл.
6.4.4.9 Обозначение материала, используемого для защитных покрытий, которое может быть ограничено указанием, что это - органический материал или металл.
6.4.5 Если любая из маркировок, требуемых в
6.4.2.3,
6.4.2.4 и
6.4.3.1, расшифрована в ОБОЗНАЧЕНИИ МОДЕЛИ или ТИПЕ, или обозначении серии, нет необходимости повторять эти маркировки на ОТСЕИВАЮЩЕМ РАСТРЕ. Однако они должны быть даны в СОПРОВОДИТЕЛЬНЫХ ДОКУМЕНТАХ на растры или устройства для размещения растров.
6.4.6 Не должно быть маркировок на ОТСЕИВАЮЩИХ РАСТРАХ, используемых внутри устройств для получения рентгенографических изображений.
6.4.7 Если достижимая точность любого параметра ниже требуемой настоящим стандартом, ее следует указать в СОПРОВОДИТЕЛЬНЫХ ДОКУМЕНТАХ на растр или устройство для размещения растра.
6.5 Определение соответствия
Соответствие ОТСЕИВАЮЩЕГО РАСТРА настоящему стандарту указывают следующим образом:
ПАРАЛЛЕЛЬНЫЙ РАСТР МЭК 60627:2001
НАПРАВЛЕННЫЙ РАСТР МЭК 60627:2001
ПЕРЕКРЕСТНЫЙ РАСТР МЭК 60627:2001
МАММОГРАФИЧЕСКИЙ ОТСЕИВАЮЩИЙ РАСТР МЭК 60627:2001
Рисунок 1 - Конструкция ОТСЕИВАЮЩИХ РАСТРОВ
1 - ЛЮМИНЕСЦЕНТНЫЙ ЭКРАН; 2 - свинцовое стекло; 3 - крышка;
4 - выходная плоскость ЛЮМИНЕСЦЕНТНОГО ЭКРАНА;
5 - фотодетектор
Рисунок 2 - ДЕТЕКТОР ИЗЛУЧЕНИЯ
1 - ФОКУСНОЕ ПЯТНО; 2, 4, 5 - ДИАФРАГМА; 3 - ФАНТОМ;
6 - входная поверхность; 7 - ОТСЕИВАЮЩИЙ РАСТР;
8 - плоскость держателя; 9 - ДЕТЕКТОР ИЗЛУЧЕНИЯ;
10 - выходная плоскость ЛЮМИНЕСЦЕНТНОГО ЭКРАНА
Рисунок 3a - Установка для измерения ОТСЕИВАЮЩЕГО РАСТРА
общего назначения в УСЛОВИЯХ УЗКОГО ПУЧКА
(определение ПРОЗРАЧНОСТИ РАСТРА ДЛЯ ПЕРВИЧНОГО ИЗЛУЧЕНИЯ)
1 - ФОКУСНОЕ ПЯТНО; 2, 4, 5 - ДИАФРАГМА; 3 - ФАНТОМ;
6 - ОТСЕИВАЮЩИЙ РАСТР; 7 - плоскость держателя; 8 - ПРИЕМНИК
ИЗЛУЧЕНИЯ; 9 - выходная плоскость ЛЮМИНЕСЦЕНТНОГО ЭКРАНА;
10 - сторона, прилегающая к грудной клетке
Рисунок 3b - Установка для измерения МАММОГРАФИЧЕСКОГО
ОТСЕИВАЮЩЕГО РАСТРА в условиях УЗКОГО ПУЧКА
(определение ПРОЗРАЧНОСТИ РАСТРА ДЛЯ ПЕРВИЧНОГО ИЗЛУЧЕНИЯ)
1 - ФОКУСНОЕ ПЯТНО; 2, 4 - ДИАФРАГМА; 3 - свинцовый экран
для ПЕРВИЧНОГО ИЗЛУЧЕНИЯ; 5 - ФАНТОМ; 6 - входная
поверхность; 7 - ОТСЕИВАЮЩИЙ РАСТР; 8 - плоскость держателя;
9 - ДЕТЕКТОР ИЗЛУЧЕНИЯ; 10 - выходная плоскость
ЛЮМИНЕСЦЕНТНОГО ЭКРАНА
Рисунок 4a - Установка для измерения ОТСЕИВАЮЩЕГО РАСТРА
общего назначения в УСЛОВИЯХ ШИРОКОГО ПУЧКА
(определение ПРОЗРАЧНОСТИ РАСТРА ДЛЯ РАССЕЯННОГО ИЗЛУЧЕНИЯ)
1 - ФОКУСНОЕ ПЯТНО; 2, 4 - ДИАФРАГМА; 3 - свинцовый экран
для ПЕРВИЧНОГО ИЗЛУЧЕНИЯ; 5 - ФАНТОМ; 6 - ОТСЕИВАЮЩИЙ РАСТР;
7 - плоскость держателя; 8 - ДЕТЕКТОР ИЗЛУЧЕНИЯ;
9 - выходная плоскость ЛЮМИНЕСЦЕНТНОГО ЭКРАНА;
10 - сторона, прилегающая к грудной клетке
Рисунок 4b - Установка для измерения МАММОГРАФИЧЕСКОГО
ОТСЕИВАЮЩЕГО РАСТРА В УСЛОВИЯХ ШИРОКОГО ПУЧКА
(определение ПРОЗРАЧНОСТИ РАСТРА ДЛЯ РАССЕЯННОГО ИЗЛУЧЕНИЯ)
(обязательное)
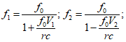
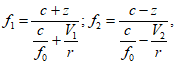
РАСЧЕТ ПРЕДЕЛОВ ПРИМЕНЕНИЯ РАСТРА
В соответствии с
6.4.4.1 настоящего стандарта для НАПРАВЛЕННЫХ РАСТРОВ и ПАРАЛЛЕЛЬНЫХ РАСТРОВ необходимы обозначения ПРЕДЕЛОВ ПРИМЕНЕНИЯ. Требования для определения ПРЕДЕЛОВ ПРИМЕНЕНИЯ приведены в
6.2.
При применении метода по
[1] и
[2] ПРЕДЕЛЫ ПРИМЕНЕНИЯ рассчитывают по следующим формулам:
- для центрированных НАПРАВЛЕННЫХ РАСТРОВ

(A.1)
- для децентрированных НАПРАВЛЕННЫХ РАСТРОВ

(A.2)
где c - расстояние от ИСТИННОЙ ЦЕНТРАЛЬНОЙ ЛИНИИ до границы эффективной поверхности;
f0 - ФОКУСНОЕ РАССТОЯНИЕ;
f1 - нижний ПРЕДЕЛ ПРИМЕНЕНИЯ;
f2 - верхний ПРЕДЕЛ ПРИМЕНЕНИЯ;
r - ОТНОШЕНИЕ РАСТРА;
V1 - потеря ПРОЗРАЧНОСТИ ДЛЯ ПЕРВИЧНОГО ИЗЛУЧЕНИЯ при нижнем ПРЕДЕЛЕ ПРИМЕНЕНИЯ;
V2 - потеря ПРОЗРАЧНОСТИ ДЛЯ ПЕРВИЧНОГО ИЗЛУЧЕНИЯ при верхнем ПРЕДЕЛЕ ПРИМЕНЕНИЯ;
z - величина ДЕЦЕНТРАЦИИ НАПРАВЛЕННОГО РАСТРА.
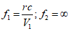
Формула для определения нижнего ПРЕДЕЛА ПАРАЛЛЕЛЬНОГО РАСТРА
f1 может быть выведена из
(A.1).
Верхний ПРЕДЕЛ ПРИМЕНЕНИЯ РАСТРА f2 для ПАРАЛЛЕЛЬНОГО РАСТРА - бесконечность. ПРЕДЕЛЫ ПРИМЕНЕНИЯ ДЛЯ ПАРАЛЛЕЛЬНОГО РАСТРА поэтому будут следующими

. (A.3)
ПРЕДЕЛЫ ПРИМЕНЕНИЯ даны в сантиметрах.
Нецелые значения f1 должны быть увеличены до следующего целого числа.
Нецелые значения f2 должны быть уменьшены до целого предыдущего числа.
Примечание 1 - Для ОТСЕИВАЮЩИХ РАСТРОВ общего назначения
V1 и
V2 равны 0,4 в соответствии с
6.2, перечисление a).
Примечание 2 - Для МАММОГРАФИЧЕСКИХ ОТСЕИВАЮЩИХ РАСТРОВ
V1 и
V2 равны 0,2 в соответствии
6.2, перечисление b).
(обязательное)
В настоящем приложении для каждого термина указан соответствующий пункт раздела даны "Термины и определения" настоящего стандарта или обозначение термина по МЭК 60788 (МР-....). Знаками "+", "-" и буквой "с" обозначен производный термин без определения, термин без определения и сокращенный термин.
АРБИТРАЖНЫЕ ИСПЫТАНИЯ | МЭК 61223-1, 3.2.4 |
АНОД | МР-22-06 |
АНОДНОЕ НАПРЯЖЕНИЕ | МР-36-02 |
АФОКАЛЬНОЕ ИЗЛУЧЕНИЕ | МР-11-11 |
| |
ДВИЖУЩИЙСЯ РАСТР | |
ДЕТЕКТОР ИЗЛУЧЕНИЯ | МР-51-01 |
ДЕФОКУСИРОВКА НАПРАВЛЕННОГО РАСТРА | |
ДЕЦЕНТРАЦИЯ НАПРАВЛЕННОГО РАСТРА | |
ДИАФРАГМА | МР-37-29 |
ДОПОЛНИТЕЛЬНАЯ ФИЛЬТРАЦИЯ | МР-13-47 |
| |
ИЗГОТОВИТЕЛЬ | МР-85-03 |
ИЗЛУЧЕНИЕ | МР-11-01 |
ИЗМЕРЕННОЕ ЗНАЧЕНИЕ | МР-73-08 |
ИСТИННАЯ ЦЕНТРАЛЬНАЯ ЛИНИЯ | |
| |
КАЧЕСТВО ИЗЛУЧЕНИЯ | МЭК 61267, 3.3.7 |
КОЭФФИЦИЕНТ УЛУЧШЕНИЯ КОНТРАСТА | |
КОЭФФИЦИЕНТ УВЕЛИЧЕНИЯ ЭКСПОЗИЦИИ | |
| |
ЛИНЕЙНЫЙ РАСТР | |
ЛЮМИНЕСЦЕНТНЫЙ ЭКРАН | МР-32-30 |
| |
МАММОГРАФИЧЕСКИЙ ОТСЕИВАЮЩИЙ РАСТР | |
МИШЕНЬ | МР-20-08 |
МОЩНОСТЬ ФЛУЕНСА ЭНЕРГИИ | МР-13-05 |
| |
НАПРАВЛЕННЫЙ РАСТР | |
НЕОРТОГОНАЛЬНЫЙ ПЕРЕКРЕСТНЫЙ РАСТР | |
| |
ОБОЗНАЧЕНИЕ МОДЕЛИ ИЛИ ТИПА | NG 2.12.2 |
ОБОЗНАЧЕНИЕ ЦЕНТРАЛЬНОЙ ЛИНИИ | |
ОРТОГОНАЛЬНЫЙ ПЕРЕКРЕСТНЫЙ РАСТР | |
ОСЛАБЛЕНИЕ | МР-12-08 |
ОТНОШЕНИЕ РАСТРА | |
ОТСЕИВАЮЩИЙ РАСТР | |
| |
ПАРАЛЛЕЛЬНЫЙ РАСТР | |
ПАРАМЕТР НАГРУЗКИ | МР-36-01 |
ПАЦИЕНТ | МР-62-03 |
ПЕРВИЧНОЕ ИЗЛУЧЕНИЕ | МР-11-06 |
ПЕРЕКРЕСТНЫЙ РАСТР | |
ПЛОСКОСТЬ ПРИЕМНИКА ИЗОБРАЖЕНИЯ | МР 37-15 |
ПОВЕРХНОСТЬ ПРИЕМНИКА ИЗОБРАЖЕНИЯ | МР-37-16 |
ПОЛЬЗОВАТЕЛЬ | МР-85-01 |
ПРЕДЕЛЫ ПРИМЕНЕНИЯ РАСТРА | |
ПРИСПОСОБЛЕНИЕ | МР-83-06 |
ПРОЗРАЧНОСТЬ РАСТРА ДЛЯ ПЕРВИЧНОГО ИЗЛУЧЕНИЯ | |
ПРОЗРАЧНОСТЬ РАСТРА ДЛЯ РАССЕЯННОГО ИЗЛУЧЕНИЯ | |
ПРОЗРАЧНОСТЬ РАСТРА ДЛЯ СУММАРНОГО ИЗЛУЧЕНИЯ | |
ПРОНИКНОВЕНИЕ | МР-12-10 |
ПУЧОК ИЗЛУЧЕНИЯ | МР-37-05 |
| |
РАССЕЯННОЕ ИЗЛУЧЕНИЕ | МР-11-13 |
РЕНТГЕНОВСКОЕ ИЗОБРАЖЕНИЕ | МР-32-01 |
РЕНТГЕНОВСКАЯ ТРУБКА | МР-22-03 |
РПУ ПОСТОЯННОГО НАПРЯЖЕНИЯ | МР-21-06 |
| |
СЕЛЕКТИВНОСТЬ РАСТРА | |
СЕРИЙНЫЙ НОМЕР | NG 2.12.9 |
СОПРОВОДИТЕЛЬНЫЕ ДОКУМЕНТЫ | МР-82-01 |
СТАЦИОНАРНЫЙ РАСТР | |
| |
ТРАПЕЦИЕВИДНЫЙ РАСТР | |
| |
УСЛОВИЯ ИЗЛУЧЕНИЯ | МЭК 61267, 3.3.6 |
УСЛОВИЯ УЗКОГО ПУЧКА | МР-37-23 |
УСЛОВИЯ ШИРОКОГО ПУЧКА | МР-37-25 |
| |
ФАНТОМ | МР-54-01 |
ФОКАЛЬНОЕ ИЗЛУЧЕНИЕ | МР-11-10 |
ФОКУСНОЕ ПЯТНО | МР-20-13с |
ФОКУСНОЕ РАССТОЯНИЕ | |
| |
ЧАСТОТА ЛАМЕЛЕЙ | |
| |
ШИРОКИЙ ПУЧОК | МР-37-24 |
(справочное)
СВЕДЕНИЯ О СООТВЕТСТВИИ НАЦИОНАЛЬНЫХ СТАНДАРТОВ
РОССИЙСКОЙ ФЕДЕРАЦИИ ССЫЛОЧНЫМ МЕЖДУНАРОДНЫМ СТАНДАРТАМ
Таблица C.1
Обозначение ссылочного международного стандарта | Обозначение и наименование соответствующего национального стандарта |
МЭК 601-1:1988 | ГОСТ Р 50267.0-92 (МЭК 601-1-88) Изделия медицинские электрические. Часть 1. Общие требования безопасности |
МЭК 878:1984 | ГОСТ Р МЭК 878-95 Графические символы, наносимые на медицинские электрические изделия |
МЭК 60417-1:2000 | |
МЭК 60417-2:1998 | |
МЭК 61223-1:1993 | |
МЭК 61267:1994 | |
<*> Соответствующий национальный стандарт отсутствует. До его утверждения рекомендуется использовать перевод на русский язык данного международного стандарта. Перевод данного международного стандарта находится в Федеральном информационном фонде технических регламентов и стандартов. |
| W. Hondius Boldingh. Quality and choice of Potter-Bucky grids, part 4, Focus grids distance limits, Acta Radiologica Vol. 55, p. 225, 1961 |
| ICRU Handbook 89,111.C |
УДК 621.86.616-073.7:006.354 | | | |
Ключевые слова: оборудование, рентгеновские диагностические изображения, характеристики, отсеивающие растры общего назначения, отсеивающие растры маммографические |