Главная // Актуальные документы // ГОСТ Р (Государственный стандарт)СПРАВКА
Источник публикации
М.: Стандартинформ, 2007
Примечание к документу
Документ утратил силу с 1 июля 2013 года в связи с изданием
Приказа Росстандарта от 09.10.2012 N 474-ст. Взамен введен в действие
ГОСТ 31481-2012.
Документ включен в
Перечень стандартов, содержащих правила и методы исследований (испытаний) и измерений, в том числе правила отбора образцов, необходимые для применения и исполнения требований технического
регламента Таможенного союза "О безопасности зерна" (ТР ТС 015/2011) и осуществления оценки (подтверждения) соответствия продукции (
Решение Комиссии Таможенного союза от 09.12.2011 N 874).
Документ
введен в действие с 1 января 2008 года.
Название документа
"ГОСТ Р 52698-2006. Национальный стандарт Российской Федерации. Комбикорма, комбикормовое сырье. Метод определения остаточных количеств хлорорганических пестицидов"
(утв. и введен в действие Приказом Ростехрегулирования от 27.12.2006 N 475-ст)
"ГОСТ Р 52698-2006. Национальный стандарт Российской Федерации. Комбикорма, комбикормовое сырье. Метод определения остаточных количеств хлорорганических пестицидов"
(утв. и введен в действие Приказом Ростехрегулирования от 27.12.2006 N 475-ст)
Утвержден и введен в действие
агентства по техническому
регулированию и метрологии
от 27 декабря 2006 г. N 475-ст
НАЦИОНАЛЬНЫЙ СТАНДАРТ РОССИЙСКОЙ ФЕДЕРАЦИИ
КОМБИКОРМА, КОМБИКОРМОВОЕ СЫРЬЕ
МЕТОД ОПРЕДЕЛЕНИЯ ОСТАТОЧНЫХ КОЛИЧЕСТВ
ХЛОРОРГАНИЧЕСКИХ ПЕСТИЦИДОВ
Mixed fodders, rawstuff for mixed fodders.
Method for determining the residual quantities
of chlorine-organic pesticides
ГОСТ Р 52698-2006
Группа С14
ОКС 65.120
ОКСТУ 9209
Дата введения
1 января 2008 года
Цели и принципы стандартизации в Российской Федерации установлены Федеральным
законом от 27 декабря 2002 г. N 184-ФЗ "О техническом регулировании", а правила применения национальных стандартов Российской Федерации -
ГОСТ Р 1.0-2004 "Стандартизация в Российской Федерации. Основные положения".
1. Разработан Научно-исследовательским институтом прикладной и экспериментальной экологии Федерального государственного образовательного учреждения высшего профессионального образования "Кубанский государственный аграрный университет" (ФГОУ ВПО "Кубанский ГАУ").
2. Внесен Техническим комитетом по стандартизации ТК 4 "Комбикорма, белково-витаминные добавки, премиксы".
3. Утвержден и введен в действие
Приказом Федерального агентства по техническому регулированию и метрологии от 27 декабря 2006 г. N 475-ст.
4. Введен впервые.
Информация об изменениях к настоящему стандарту публикуется в ежегодно издаваемом информационном указателе "Национальные стандарты", а текст изменений и поправок - в ежемесячно издаваемых информационных указателях "Национальные стандарты". В случае пересмотра (замены) или отмены настоящего стандарта соответствующее уведомление будет опубликовано в ежемесячно издаваемом информационном указателе "Национальные стандарты". Соответствующая информация, уведомление и тексты размещаются в информационной системе общего пользования - на официальном сайте Федерального агентства по техническому регулированию и метрологии в сети Интернет.
Настоящий стандарт распространяется на комбикорма и комбикормовое сырье и устанавливает метод определения остаточных количеств хлорорганических пестицидов: альфа-изомера гексахлорциклогексана (

-ГХЦГ), гамма-изомера гексахлорциклогексана (

-ГХЦГ), 4,4'-дихлордифенилтрихлорэтана (ДДТ) и его метаболитов: 4,4'-дихлордифенилдихлорэтана (ДДД) и 4,4'-дихлордифенилдихлорэтилена (ДДЭ) с применением газожидкостной хроматографии.
Диапазоны измеряемых концентраций и минимально детектируемые количества определяемых соединений представлены в таблице 1.
Диапазоны измерения концентраций хлорорганических пестицидов
Наименование соединения | Диапазон измеряемых концентраций, мг/кг | Минимально детектируемые количества, нг |
 -ГХЦГ | 0,001 - 0,1 | 0,001 |
 -ГХЦГ | 0,001 - 0,1 | 0,001 |
ДДД | 0,007 - 0,2 | 0,06 |
ДДЭ | 0,007 - 0,1 | 0,06 |
ДДТ | 0,007 - 0,4 | 0,06 |
В настоящем стандарте использованы нормативные ссылки на следующие стандарты:
ГОСТ Р ИСО 5725-6-2002 Точность (правильность и прецизионность) методов и результатов измерений. Часть 6. Использование значений точности на практике
ГОСТ Р 51419-99 (ИСО 6498-98) Корма, комбикорма, комбикормовое сырье. Подготовка испытуемых проб
ГОСТ Р 51652-2000 Спирт этиловый ректификованный из пищевого сырья. Технические условия
ГОСТ 12.1.004-91 Система стандартов безопасности труда. Пожарная безопасность. Общие требования
ГОСТ 12.1.005-86 Система стандартов безопасности труда. Общие санитарно-гигиенические требования к воздуху рабочей зоны
ГОСТ 12.1.007-76 Система стандартов безопасности труда. Вредные вещества. Классификация и общие требования безопасности
ГОСТ 12.1.030-81 Система стандартов безопасности труда. Электробезопасность. Защитное заземление, зануление
ГОСТ 1770-74 Посуда мерная лабораторная стеклянная. Цилиндры, мензурки, колбы, пробирки. Общие технические условия
ГОСТ 4166-76 Реактивы. Натрий сернокислый. Технические условия
ГОСТ 4220-75 Реактивы. Калий двухромовокислый. Технические условия
ГОСТ 9147-80 Посуда и оборудование лабораторные фарфоровые. Технические условия
ГОСТ 9293-74 Азот газообразный и жидкий. Технические условия
ГОСТ 12026-76 Бумага фильтровальная лабораторная. Технические условия
ГОСТ 13979.0-86 Жмыхи, шроты и горчичный порошок. Правила приемки и методы отбора проб
ГОСТ 25336-82 Посуда и оборудование лабораторные стеклянные. Типы, основные параметры и размеры
ГОСТ 29227-91 (ИСО 835-1-81) Посуда лабораторная стеклянная. Пипетки градуированные. Часть 1. Общие требования.
Примечание. При пользовании настоящим стандартом целесообразно проверить действие ссылочных стандартов в информационной системе общего пользования - на официальном сайте Федерального агентства по техническому регулированию и метрологии в сети Интернет или по ежегодно издаваемому информационному указателю "Национальные стандарты", который опубликован по состоянию на 1 января текущего года, и по соответствующим ежемесячно издаваемым информационным указателям, опубликованным в текущем году. Если ссылочный стандарт заменен (изменен), то при пользовании настоящим стандартом следует руководствоваться заменяющим (измененным) стандартом. Если ссылочный стандарт отменен без замены, то положение, в котором дана ссылка на него, применяется в части, не затрагивающей эту ссылку.
4. Метод определения остаточных количеств
хлорорганических пестицидов
4.1. Сущность метода
Метод основан на экстракции и очистке экстрактов хлорорганических пестицидов из анализируемой пробы способом дистилляции водяным паром на аппарате для экстракции и очистки экстрактов пестицидов (АПЛ) и количественном определении на газовом хроматографе, оснащенном детектором постоянной скорости рекомбинации (ДПР) или детектором захвата электронов (ДЭЗ).
4.2. Средства измерений, вспомогательное оборудование, реактивы и материалы
4.2.1. Весы лабораторные по
ГОСТ 24104 с пределом допускаемой абсолютной погрешности однократного взвешивания не более +/- 0,01 г.
4.2.2. Весы лабораторные по
ГОСТ 24104 с пределом допускаемой абсолютной погрешности однократного взвешивания не более +/- 0,0001 г.
4.2.3. Газовый хроматограф, оснащенный детектором захвата электронов (ДЭЗ) или детектором постоянной скорости рекомбинации (ДПР).
4.2.4. Аппарат для экстракции и очистки экстрактов пестицидов (АПЛ) по
[2] (см.
Приложение А).
4.2.5. Испаритель вакуумный ротационный ИР-1М по
[3].
4.2.6. Установка для перегонки органических растворителей, состоящая из круглодонной колбы вместимостью 1 дм3, дефлегматора длиной 30 см и диаметром 2 см, приемной колбы вместимостью 250 см3, аллонжа и водяной бани или колбонагревателя с температурой нагрева от 40 °C до 80 °C, снабженных регулятором температуры.
4.2.7. Шкаф сушильный по
[4].
4.2.8. Холодильник бытовой, обеспечивающий температуру холодильной камеры 2 °C - 10 °C.
4.2.9. Микрошприц МШ-10 вместимостью 0,01 см3 по
[5].
4.2.10. Колбонагреватель по
[6].
4.2.11. Баня масляная или глицериновая.
4.2.12. Колонки хроматографические стеклянные для газового хроматографа длиной 1,0 м, диаметром 3 мм и длиной 1,5 м, диаметром 3 мм.
4.2.13. Насадки для колонок: 5% OV-17 на хроматоне N-AW-DMCS (0,16 - 0,20 мм) или 3% OV-210 на хроматоне N-супер (0,125 - 0,16 мм), или 5% SE-30 на хроматоне N-AW-DMCS (0,16 - 0,20 мм).
4.2.14. Колбы перегонные К-1-250-29/32 по
ГОСТ 25336.
4.2.16. Колбы мерные 2-50-2; 2-100-2 по
ГОСТ 1770.
4.2.18. Колба коническая Кн-1-250-29/32 по
ГОСТ 25336.
4.2.19. Цилиндры мерные 1-50, 1-100 по
ГОСТ 1770.
4.2.20. Пробирки с притертыми пробками градуированные вместимостью 5 см3 и 10 см3 по
ГОСТ 1770.
4.2.21. Воронки делительные ВД-100-29/32, ВД-500-29/32 по
ГОСТ 25336.
4.2.24. Стаканы фарфоровые вместимостью 1200 см3 по
ГОСТ 9147.
4.2.25. Бумага фильтровальная лабораторная по
ГОСТ 12026.
4.2.26. Кислота серная по
ГОСТ 4204, х.ч., плотностью 1,84 г/см3.
4.2.28. Натрий сернокислый безводный по
ГОСТ 4166, ч.
4.2.30. Эфир диэтиловый (Этоксиэтан) по
[7].
4.2.31. Спирт этиловый ректификованный из пищевого сырья по
ГОСТ Р 51652.
4.2.32. Стандартные образцы (ГСО) состава хлорорганических пестицидов: ДДТ, ДДД, ДДЭ,

-ГХЦГ и

-ГХЦГ или вещества гарантированной чистоты с содержанием основного вещества не менее 90%.
4.2.33. Азот газообразный и жидкий по
ГОСТ 9293.
4.2.35. Калий двухромовокислый по
ГОСТ 4220, х.ч.
Допускается применение других средств измерений и вспомогательного оборудования с метрологическими и техническими характеристиками не хуже, а реактивов по качеству не ниже указанных.
4.3. Подготовка к анализу
Н-гексан (2/3 объема отгонной колбы) по
4.2.27 перегоняют с помощью установки по
4.2.6, отбрасывая первую и последнюю порции отгона. Чистоту полученного н-гексана определяют с помощью газового хроматографа по
4.2.3. Для этого в коническую колбу по
ГОСТ 25336 вместимостью 50 см3 помещают 10 см3 полученного н-гексана и упаривают его до объема ~ 3 см3 на колбонагревателе по
4.2.10 при температуре 65 °C в токе воздуха или азота по
4.2.33. Остаток экстракта переносят в градуированную пробирку по
ГОСТ 1770 вместимостью 10 см3 и упаривают до объема 1 см3. Полученный экстракт анализируют в условиях хроматографирования пробы (см.
таблицу 5). Н-гексан считают очищенным и пригодным для анализа при условии отсутствия на хроматограмме пиков, мешающих определению хлорорганических пестицидов.
4.3.2. Приготовление хромовой смеси
Для приготовления хромовой смеси в фарфоровый стакан по
4.2.24 помещают 50 г калия двухромовокислого по
4.2.35 и осторожно приливают по частям, тщательно перемешивая, 1 дм3 концентрированной серной кислоты по
4.2.26. Хромовую смесь хранят в сосуде из стекла. Срок хранения хромовой смеси неограничен.
4.3.3. Подготовка газового хроматографа
4.3.3.1. Подготовка хроматографической колонки
Сухую стеклянную колонку по
4.2.12, предварительно промытую хромовой смесью, приготовленной по
4.3.2, этиловым спиртом по
ГОСТ Р 51652, затем диэтиловым эфиром по
4.2.30, заполняют насадкой по
4.2.13 с помощью вакуумного или водоструйного насоса по
4.2.23. При этом набивку колонки периодически уплотняют, постукивая по колонке деревянной палочкой. Установленную в термостате хроматографическую колонку перед работой кондиционируют в следующем режиме: 2 ч при 100 °C; 2 ч при 150 °C; 4 ч при 200 °C; 4 ч при 220 °C. При кондиционировании колонка должна быть отключена от детектора. Кондиционирование следует проводить при смене колонки, а также после длительных перерывов в работе. По окончании кондиционирования колонку охлаждают, подсоединяют к детектору и выводят хроматограф на рабочий режим.
4.3.3.2. Подготовку хроматографа к работе проводят в соответствии с инструкцией по эксплуатации.
4.3.4. Приготовление рабочих растворов хлорорганических пестицидов
4.3.4.1. Приготовление основных рабочих и промежуточных растворов хлорорганических пестицидов
Основные рабочие растворы определяемых хлорорганических пестицидов с массовой концентрацией (100 +/- 0,5) мг/дм3 приготавливают весовым способом отдельно для каждого хлорорганического пестицида путем растворения навески, содержащей 10 мг основного вещества, с точностью 0,1 мг в мерной колбе по
ГОСТ 1770 вместимостью 100 см3, в н-гексане, приготовленном по
4.3.1. Из основных растворов готовят промежуточные рабочие растворы массовых концентраций: 1 мг/дм3 (раствор 1), 0,1 мг/дм3 (раствор 2) и 0,01 мг/дм3 (раствор 3), перенося пипеткой в мерные колбы вместимостью 100 см3 соответственно 1 и 0,1 см3 основного раствора хлорорганического пестицида. Для приготовления промежуточного раствора 3 с содержанием 0,01 мг/дм3 в мерную колбу вместимостью 100 см3 переносят 1 см3 промежуточного раствора 1 и доводят до метки н-гексаном.
Все промежуточные растворы хранят в стеклянных флаконах с притертой пробкой или в герметично закрывающихся флаконах, снабженных пробками с тефлоновыми прокладками при температуре от 2 °C до 10 °C в течение 6 мес.
Перед приготовлением шкалы градуировочных растворов все растворы хлорорганических пестицидов выдерживают при комнатной температуре не менее 20 мин.
4.3.4.2. Приготовление шкалы градуировочных растворов
В пробирках с притертыми пробками по
4.2.20 вместимостью 5 см3 готовят шкалу градуировочных растворов для каждого хлорорганического пестицида (см.
таблицы 2,
3,
4).
Градуировочные растворы хранят не более двух недель в стеклянных флаконах с притертой пробкой или в герметично закрывающихся флаконах, снабженных пробками с тефлоновыми прокладками при температуре от 2 °C до 10 °C.
Перед использованием все растворы хлорорганических пестицидов выдерживают при комнатной температуре не менее 20 мин.
Шкала градуировочных растворов для

-ГХЦГ и ДДЭ
Характеристика раствора | Номер градуировочного раствора |
1 | 2 | 3 | 4 | 5 | 6 | 7 | 8 |
Объем промежуточного раствора 3, см3 | 1 | 2 | 5 | - | - | - | - | - |
Объем промежуточного раствора 2, см3 | - | - | - | 1 | 2 | 3 | | |
Объем н-гексана, см3 | 4 | 3 | 0 | 4 | 3 | 2 | 1 | 0 |
Массовая концентрация хлорорганического пестицида в полученном градуировочном растворе, мг/дм3 | 0,002 | 0,004 | 0,01 | 0,01 | 0,04 | 0,06 | | |
Масса хлорорганического пестицида в  хроматографируемой пробы  | 0,01 | 0,02 | 0,05 | 0,1 | 0,2 | 0,3 | | |
|
Шкала градуировочных растворов для

-ГХЦГ
Характеристика раствора | Номер градуировочного раствора |
1 | 2 | 3 | 4 | 5 | 6 | 7 |
Объем промежуточного раствора 3, см3 | 3 | 5 | - | - | - | - | - |
Объем промежуточного раствора 2, см3 | - | - | 1 | 2 | 3 | 4 | 5 |
Объем н-гексана, см3 | 2 | 0 | 4 | 3 | 2 | 1 | 0 |
Массовая концентрация хлорорганического пестицида в полученном градуировочном растворе, мг/дм3 | 0,006 | 0,01 | 0,02 | 0,04 | 0,06 | 0,08 | 0,1 |
Масса хлорорганического пестицида в  хроматографируемой пробы  | 0,03 | 0,05 | 0,1 | 0,2 | 0,3 | 0,4 | 0,5 |
Шкала градуировочных растворов для ДДТ и ДДД
Характеристика раствора | Номер градуировочного раствора |
1 | 2 | 3 | 4 | 5 | 6 | 7 | 8 |
Объем промежуточного раствора 2, см3 | | 1 | 2 | 3 | 4 | 5 | - | - |
Объем промежуточного раствора 1, см3 | - | - | - | - | - | - | 1 | |
Объем н-гексана, см3 | 4,5 | 4 | 3 | 2 | 1 | 0 | 4 | 3 |
Массовая концентрация хлорорганического пестицида в полученном градуировочном растворе, мг/дм3 | | 0,02 | 0,04 | 0,06 | 0,08 | 0,1 | 0,2 | |
Масса хлорорганического пестицида в  хроматографируемой пробы  | | 0,1 | 0,2 | 0,3 | 0,4 | 0,5 | 1 | |
|
4.3.5. Установление градуировочной характеристики
В испаритель хроматографа микрошприцем по
4.2.9 вводят

каждого градуировочного раствора (см.
таблицы 2,
3,
4). Каждый раствор хроматографируют дважды, рассчитывая среднее значение площади пика определяемого хлорорганического пестицида на хроматограмме. Затем строят градуировочный график (используя метод наименьших квадратов), откладывая по оси абсцисс (X) массу определяемого хлорорганического пестицида (m) в градуировочном растворе, а по оси ординат (Y) - усредненные площади пиков определяемого хлорорганического пестицида. Получают градуировочный график, описываемый уравнением
Y = AX, (1)
где A - относительный градуировочный коэффициент, который используют при вычислении результатов.
Градуировку хроматографа проводят один раз в 6 мес, а также при замене хроматографической колонки или реактивов.
Проверку стабильности работы хроматографа проводят перед анализом серии проб по результатам хроматографирования одного из градуировочных растворов. Градуировочную характеристику считают стабильной в случае, если полученное значение концентрации градуировочного раствора отличается от аттестованного значения концентрации градуировочного раствора не более чем на 10%. Перечень показателей, по которым проводят контроль, устанавливают в лаборатории.
Если условие стабильности градуировочной характеристики не выполняется для одного градуировочного раствора, необходимо выполнить повторное измерение этого градуировочного раствора с целью исключения неудовлетворительного результата измерения.
Если градуировочная характеристика нестабильна, выясняют и устраняют причины нестабильности и повторяют контроль с использованием других градуировочных растворов для градуировки, предусмотренных методикой. При повторном обнаружении отклонения результатов от градуировочной характеристики строят новый градуировочный график.
Компоненты идентифицируют по абсолютным значениям времени удерживания.
4.3.6. Установление поправочного коэффициента
Поправочный коэффициент

, учитывающий потери при пробоподготовке, обязательно устанавливают при внедрении методики в лаборатории для каждого определяемого хлорорганического пестицида. Для установления поправочного коэффициента используют метод стандартной добавки.
Значение добавки должно составлять от 50% до 150% от содержания определяемого хлорорганического пестицида в исходной пробе. Если содержание определяемого хлорорганического пестицида в исходной пробе меньше нижней границы диапазона измерений, то значение добавки должно в 2 - 3 раза превышать нижнюю границу диапазона измерений.
Параллельно проводят анализ исходной пробы, поступившей в лабораторию, без добавки и со стандартной добавкой

определяемых хлорорганических пестицидов, включая все стадии пробоподготовки. Получают две концентрации для каждого из определяемых хлорорганических пестицидов:

(в пробе без стандартной добавки) и

(в пробе со стандартной добавкой). Значение поправочного коэффициента для каждого из хлорорганических пестицидов в каждой i-й пробе рассчитывают по формуле

. (2)
Описанную процедуру повторяют не менее 5 раз для каждой i-й пробы. Общее число проб, взятых для установления поправочного коэффициента, должно быть не менее 8 - 10. Поправочный коэффициент

для каждого хлорорганического пестицида рассчитывают как среднеарифметическое значение полученных коэффициентов

. Значение поправочного коэффициента для каждого определяемого хлорорганического пестицида должно быть не менее 0,6.
Поправочный коэффициент проверяют при смене оператора, партии реактивов путем анализа образцов для контроля (см.
6.1.2). При получении удовлетворительных результатов контроля используют ранее установленный

. В случае получения отрицательных результатов контроля

устанавливают заново.
4.3.7. Подготовку проб к анализу проводят в соответствии с требованиями
ГОСТ Р 51419.
4.4. Проведение анализа
4.4.1. Подготовка аппарата для экстракции и очистки экстрактов хлорорганических пестицидов (АПЛ) и проведение экстракции
Аппарат для экстракции и очистки экстрактов хлорорганических пестицидов (АПЛ) - в соответствии с
Приложением А.
Перед началом работы все шлифованные поверхности конусов и кранов АПЛ промывают дистиллированной водой по
ГОСТ 6709.
Навеску измельченного и подготовленного к анализу комбикорма или комбикормового сырья массой 10 г помещают в круглодонную колбу со шлифом вместимостью 250 см3 по
ГОСТ 25336, затем добавляют 100 см3 дистиллированной воды и осторожно по стенкам колбы вливают 5 см3 концентрированной серной кислоты. Содержимое колбы осторожно круговыми движениями перемешивают, охлаждая под струей холодной водопроводной воды, чтобы температура в колбе не поднималась выше 35 °C.
Колбу с содержимым оставляют на 5 мин, после чего в нее приливают 2 см3 н-гексана приготовленного по
4.3.1, и соединяют с аппаратом АПЛ, к керну трехходового крана подсоединяют приемную пробирку со шлифом вместимостью 10 см3 для предотвращения потерь через трехходовой кран. К нижнему штуцеру холодильника при помощи шлангов подсоединяют холодную водопроводную воду. Верхний штуцер также при помощи шланга подсоединяют к сливной раковине.
Через верхний шлиф конденсатора заливают дистиллированную воду до уровня сливной трубки. Туда же добавляют 2 см3 н-гексана по
4.3.1. Верхний шлиф конденсатора закрывают пробкой и ставят аппарат с круглодонной колбой на включенную масляную (глицериновую) баню или колбонагреватель, температура которых должна быть отрегулирована таким образом, чтобы кипение в колбе было равномерным без толчков и перебросов.
Для обеспечения равномерного кипения без толчков и перебросов необходимо внести в круглодонную колбу предварительно промытые и прокаленные стеклянные шарики.
Необходимо следить за уровнем конденсата в аппарате и не допускать его переброса обратно в круглодонную колбу. Для этого излишек конденсата периодически сливают с помощью трехходового крана в делительную воронку вместимостью 100 см3.
По истечении 1 ч работы аппарата с момента начала кипения содержимого отгонной колбы аппарат снимают с источника нагрева. После 10 мин охлаждения аппарата на воздухе содержимое конденсатора сливают в ту же делительную воронку, куда сливали излишек конденсата, используя для этого трехходовой кран. Водную фазу из делительной воронки сливают в коническую колбу, а гексановый слой переносят в круглодонную (отгонную) колбу вместимостью 50 см3, пропустив через слой сернокислого безводного натрия.
Водную фазу вновь помещают в делительную воронку и экстрагируют 5 - 8 см3 н-гексана, а также гексановую фракцию переносят в ту же круглодонную (отгонную) колбу, пропуская через слой сернокислого безводного натрия.
Гексановый экстракт упаривают на водяной бане (температура не выше 35 °C) с использованием ротационного испарителя до объема 0,3 - 0,5 см3, а затем досуха на воздухе или в токе азота.
Сухой остаток растворяют 1 см3 н-гексана, и аликвоту из этого объема хроматографируют на газовом хроматографе.
4.4.2. Условия хроматографирования

гексанового экстракта вводят микрошприцем в испаритель газового хроматографа и анализируют в условиях, указанных в таблице 5.
Условия газохроматографического разделения
хлорорганических пестицидов на различных колонках
Наименование показателя | Колонка 1 | Колонка 2 | Колонка 3 |
Насадка колонки | 5% OV-17 на хроматоне N-AW-DMCS (0,16 - 0,20 мм) | 3% OV-210 на хроматоне N-супер (0,125 - 0,160 мм) | 5% SE-30 на хроматоне N-AW-DMCS (0,16 - 0,20 мм) |
Длина колонки (см) и внутренний диаметр(мм) | 100 x 3 | 100 x 3 | 100 x 3 | 100 x 3 | 150 x 3 |
Температура колонки, °C | 170 | 210 | 160 | 190 | 190 |
Температура испарителя, °C | 220 | 220 | 220 | 220 | 210 |
Температура детектора, °C | 230 | 230 | 230 | 230 | 230 |
Скорость потока газа-носителя, см3/мин | 40 | 40 | 35 | 35 | 60 |
Объем вводимой пробы, см3 | | | | | |
Время удерживания хлорорганических пестицидов |
 -ГХЦГ | 3 мин 10 с | - | 3 мин 15 с | - | 1 мин 20 с |
 -ГХЦГ | 5 мин 32 с | - | 4 мин 22 с | - | 2 мин 10 с |
ДДЭ | - | 4 мин 03 с | - | 4 мин 37 с | 7 мин 53 с |
ДДД | - | 6 мин 03 с | - | 6 мин 56 с | 10 мин 51 с |
ДДТ | - | 7 мин 26 с | - | 11 мин 42 с | 14 мин 00 с |
4.4.3. Обработка химической посуды после проведения анализа
В круглодонную колбу помещают водно-ацетоновую смесь в соотношении 5:1, подсоединяют колбу к аппарату АПЛ и кипятят в течение 15 - 20 мин. Затем круглодонную колбу отсоединяют и АПЛ тщательно промывают дистиллированной водой. Всю вспомогательную стеклянную посуду промывают ацетоном по
ГОСТ 2603, а затем дистиллированной водой.
4.5. Обработка результатов анализа
4.5.1. Концентрацию остаточных количеств хлорорганических пестицидов X, мг/кг, в анализируемой пробе вычисляют в соответствии с градуировочными графиками, с учетом потерь при пробоподготовке по формуле

, (3)
где

- масса определяемого хлорорганического пестицида, найденная по градуировочному графику, мг,

- общий объем раствора, из которого взята аликвота для хроматографирования, дм3;

- масса навески анализируемой пробы, г;

- объем аликвоты, вводимой в хроматограф, дм3;

- поправочный коэффициент, учитывающий потери при пробоподготовке.
4.5.2. Вычисления проводят до третьего десятичного знака. Окончательный результат округляют до второго десятичного знака.
4.5.3. За окончательный результат анализа принимают среднеарифметическое значение результатов двух параллельных определений.
Расхождение между параллельными определениями не должно превышать предела повторяемости r. Предел повторяемости для всех определяемых хлорорганических пестицидов составляет 20%.
4.5.4. При получении результатов анализа в двух лабораториях за окончательный результат принимают среднеарифметическое значение результатов анализа, полученных в двух лабораториях. Расхождение между результатами анализа в двух лабораториях не должно превышать предела воспроизводимости R. Предел воспроизводимости для всех определяемых хлорорганических пестицидов составляет 40%.
Значения показателей точности, повторяемости и воспроизводимости представлены в таблице 6.
Наименование соединения | Показатель повторяемости  ,% | Показатель воспроизводимости  , % | Показатель точности (при вероятности P = 0,95)  , % |
 -ГХЦГ | 7 | 14 | 30 |
 -ГХЦГ |
ДДД |
ДДЭ |
ДДТ |
Примечание. Систематическая составляющая погрешности незначима.
5. Оформление результатов анализа
Результат анализа X, мг/кг, в документах, предусматривающих его использование, может быть представлен в виде:

, мг/кг, P = 0,95,
где

- показатель точности с принятой вероятностью P = 0,95, вычисляемый по формуле

, (4)
где

- значение показателя точности по
таблице 6.
Допускается результат анализа в документах, выдаваемых лабораторией, представлять в виде

, мг/кг, P = 0,95, при условии

, где

- значение характеристики погрешности результатов измерений, установленное при реализации методики в лаборатории и обеспечиваемое контролем стабильности результатов измерений.
6. Контроль качества результатов измерений
6.1. Контроль качества результатов измерений при реализации методики в лаборатории
6.1.1. Общие положения
Контроль качества результатов измерений при реализации методики в лаборатории предусматривает:
- контроль исполнителем процедуры выполнения измерений на основе оценки приемлемости результатов в условиях повторяемости;
- контроль исполнителем процедуры выполнения измерений на основе оценки погрешности измерений при реализации отдельной контрольной процедуры;
- контроль стабильности результатов измерений на основе контроля стабильности среднеквадратического отклонения (СКО) повторяемости, СКО промежуточной (внутрилабораторной) прецизионности и погрешности.
Проверку стабильности осуществляют с применением контрольных карт Шухарта по
ГОСТ Р 50779.42.
Периодичность контроля исполнителем процедуры выполнения анализа на основе оценки погрешности измерений при реализации отдельной контрольной процедуры, а также реализуемые процедуры контроля стабильности результатов измерений регламентируют в Руководстве по качеству лаборатории.
Проверку приемлемости результатов измерений, полученных в условиях повторяемости (сходимости) и воспроизводимости, осуществляют по
ГОСТ Р ИСО 5725-6.
6.1.2. Контроль исполнителем процедуры выполнения измерений
Контроль исполнителем процедуры выполнения измерений проводят с использованием образцов для контроля. В качестве таких образцов применяют (в порядке понижения приоритетности) стандартные образцы состава анализируемой продукции; образцы, для которых содержание анализируемых компонентов установлено на основании межлабораторного сличительного эксперимента; образцы, многократно проанализированные в лаборатории данным методом.
Сравнивают результат контрольной процедуры

с нормативом контроля K. Результат контрольной процедуры вычисляют по формуле

, (5)
где C - опорное (аттестованное) значение, мг/кг;
X - результат определения содержания пестицидов в образце для контроля, мг/кг.
В качестве норматива контроля K принимают значение характеристики погрешности измерений, установленное в лаборатории при реализации методики (

, мг/кг); если эти значения еще не установлены (например, при освоении методики), то вместо

используют значение

. Качество контрольной процедуры признают удовлетворительным, если

. При невыполнении неравенства
(2) процедуру контроля повторяют. При повторном неудовлетворительном результате находят и устраняют причины, приводящие к неудовлетворительным результатам.
6.2. Оценка приемлемости результатов, получаемых в условиях воспроизводимости
Расхождение между результатами, полученными в двух лабораториях, не должно превышать предела воспроизводимости.
При выполнении этого условия приемлемы оба результата анализа, и в качестве окончательного может быть использовано их среднее значение.
При превышении предела воспроизводимости могут быть использованы методы оценки приемлемости результатов измерений согласно ГОСТ Р ИСО 5725-6
(раздел 5).
7. Требования к квалификации оператора
К выполнению анализа и обработке его результатов допускают специалиста, имеющего высшее или среднее специальное образование или опыт работы в химической лаборатории, прошедшего соответствующий инструктаж, освоившего метод в процессе обучения и получившего удовлетворительные результаты при оперативном контроле процедуры измерений.
8. Условия выполнения анализа
При выполнении анализа в лаборатории должны быть соблюдены следующие условия:
температура воздуха . . . . . . . . . . . . . . . . . (20 +/- 5) °C
влажность воздуха при температуре 25 °C . . . . . . . не более 80%
напряжение питания . . . . . . . . . . . . . . . . . от 198 до 242 В
частота переменного тока . . . . . . . . . . . . . . (50 +/- 1) Гц.
9. Требования безопасности
При выполнении анализа необходимо соблюдать требования техники безопасности при работе с химическими реактивами по
ГОСТ 12.1.007, требования электробезопасности по
ГОСТ 12.1.030, а также требования, изложенные в технических документах на используемое оборудование и средства измерений.
Помещение должно соответствовать требованиям пожаробезопасности по
ГОСТ 12.1.004.
Содержание вредных веществ в воздухе не должно превышать допустимых значений по ГОСТ 12.1.005.
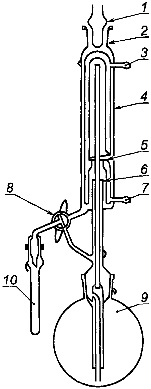
(обязательное)
АППАРАТ АПЛ ДЛЯ ЭКСТРАКЦИИ И ОЧИСТКИ ЭКСТРАКТОВ
ПЕСТИЦИДОВ ПЕРЕГОНКОЙ С ВОДЯНЫМ ПАРОМ
1 - пробка; 2 - верхний шлиф конденсатора;
3 - верхний штуцер (слив воды); 4 - конденсатор;
5 - максимальный уровень конденсата; 6 - уровень
сливной трубки; 7 - нижний штуцер (вход воды);
8 - трехходовой кран; 9 - круглодонная колба
со шлифом; 10 - приемная пробирка со шлифом
| | Унифицированные правила отбора проб сельскохозяйственной продукции, продуктов питания и объектов окружающей среды для определения микроколичеств, пестицидов, утвержденные Минздравом СССР 21.08.79 |
| ТУ 25-2054.0033-89 | Аппарат АПЛ для экстракции и очистки экстрактов пестицидов перегонкой с водяным паром |
| ТУ 25-1173-84 | Испаритель вакуумный ротационный ИР-1М |
| ТУ 64-1-1411-76 | Шкаф сушильный |
| ТУ 25-03-2152-76 | Микрошприц МШ-10 |
| ТУ 3468-002-44330709-2004 | Колбонагреватели марки ЛАБ-КН |
| ТУ 2600-001-43852015-2002 | Реактивы. Диэтиловый эфир (Этоксиэтан) |