Главная // Актуальные документы // ГОСТ Р (Государственный стандарт)СПРАВКА
Источник публикации
М.: ФГБУ "Институт стандартизации", 2023
Примечание к документу
Документ утратил силу в связи с изданием
Приказа Росстандарта от 20.12.2023 N 1601-ст.
Документ
введен в действие с 01.03.2024.
Название документа
"ГОСТ Р 70554-2022. Национальный стандарт Российской Федерации. Пек каменноугольный. Диэлектрический метод определения массовой доли веществ, нерастворимых в хинолине"
(утв. и введен в действие Приказом Росстандарта от 14.12.2022 N 1500-ст)
"ГОСТ Р 70554-2022. Национальный стандарт Российской Федерации. Пек каменноугольный. Диэлектрический метод определения массовой доли веществ, нерастворимых в хинолине"
(утв. и введен в действие Приказом Росстандарта от 14.12.2022 N 1500-ст)
Утвержден и введен в действие
по техническому регулированию
и метрологии
от 14 декабря 2022 г. N 1500-ст
НАЦИОНАЛЬНЫЙ СТАНДАРТ РОССИЙСКОЙ ФЕДЕРАЦИИ
ПЕК КАМЕННОУГОЛЬНЫЙ
ДИЭЛЕКТРИЧЕСКИЙ МЕТОД ОПРЕДЕЛЕНИЯ
МАССОВОЙ ДОЛИ ВЕЩЕСТВ, НЕРАСТВОРИМЫХ В ХИНОЛИНЕ
Coal-pitch. Dielectric method for the determination
of mass fraction of substances insoluble in quinoline
ГОСТ Р 70554-2022
Дата введения
1 марта 2024 года
1 РАЗРАБОТАН Акционерным обществом "Восточный научно-исследовательский углехимический институт" (АО "ВУХИН")
2 ВНЕСЕН Техническим комитетом по стандартизации ТК 395 "Кокс и продукты коксохимии"
3 УТВЕРЖДЕН И ВВЕДЕН В ДЕЙСТВИЕ
Приказом Федерального агентства по техническому регулированию и метрологии от 14 декабря 2022 г. N 1500-ст
4 ВВЕДЕН ВПЕРВЫЕ
Правила применения настоящего стандарта установлены в статье 26 Федерального закона от 29 июня 2015 г. N 162-ФЗ "О стандартизации в Российской Федерации". Информация об изменениях к настоящему стандарту публикуется в ежегодном (по состоянию на 1 января текущего года) информационном указателе "Национальные стандарты", а официальный текст изменений и поправок - в ежемесячном информационном указателе "Национальные стандарты". В случае пересмотра (замены) или отмены настоящего стандарта соответствующее уведомление будет опубликовано в ближайшем выпуске ежемесячного информационного указателя "Национальные стандарты". Соответствующая информация, уведомление и тексты размещаются также в информационной системе общего пользования - на официальном сайте Федерального агентства по техническому регулированию и метрологии в сети Интернет (www.rst.gov.ru)
Настоящий стандарт распространяется на каменноугольный пек, получаемый при переработке каменноугольной смолы, и устанавливает метод определения массовой доли веществ, нерастворимых в хинолине

, диэлектрическим методом.
Диапазон измерения массовой доли веществ, нерастворимых в хинолине, от 5% до 14%.
Метод основан на зависимости диэлектрической проницаемости от содержания веществ, нерастворимых в хинолине

, в каменноугольном пеке.
В настоящем стандарте использованы нормативные ссылки на следующие стандарты:
ГОСТ 400 Термометры стеклянные для испытаний нефтепродуктов. Технические условия
ГОСТ 3306 Сетки с квадратными ячейками из стальной рифленой проволоки. Технические условия
ГОСТ 5445 Продукты коксования химические. Правила приемки и методы отбора проб
ГОСТ 6613 Сетки проволочные тканые с квадратными ячейками. Технические условия
ГОСТ 9880 Толуол каменноугольный и сланцевый. Технические условия
ГОСТ 10200 Пек каменноугольный электродный. Технические условия
ГОСТ 25336 Посуда и оборудование лабораторные стеклянные. Типы, основные параметры и размеры
ГОСТ ISO 4035 Гайки шестигранные низкие с фаской (тип 0). Классы точности A и B
ГОСТ Р 53228 Весы неавтоматического действия. Часть 1. Метрологические и технические требования. Испытания
Примечание - При пользовании настоящим стандартом целесообразно проверить действие ссылочных стандартов в информационной системе общего пользования - на официальном сайте Федерального агентства по техническому регулированию и метрологии в сети Интернет или по ежегодному информационному указателю "Национальные стандарты", который опубликован по состоянию на 1 января текущего года, и по выпускам ежемесячного информационного указателя "Национальные стандарты" за текущий год. Если заменен ссылочный стандарт, на который дана недатированная ссылка, то рекомендуется использовать действующую версию этого стандарта с учетом всех внесенных в данную версию изменений. Если заменен ссылочный стандарт, на который дана датированная ссылка, то рекомендуется использовать версию этого стандарта с указанным выше годом утверждения (принятия). Если после утверждения настоящего стандарта в ссылочный стандарт, на который дана датированная ссылка, внесено изменение, затрагивающее положение, на которое дана ссылка, то это положение рекомендуется применять без учета данного изменения. Если ссылочный стандарт отменен без замены, то положение, в котором дана ссылка на него, рекомендуется применять в части, не затрагивающей эту ссылку.
3.2 Подготовка проб - в соответствии с требованиями
ГОСТ 10200. Из средней лабораторной пробы пека с размером частиц менее 3 мм отбирают фракцию крупностью от 1 до 3 мм и фракцию менее 0,25 мм.
Первую фракцию крупностью от 1 до 3 мм используют для определения емкости ячейки с пробой пека диэлектрическим методом.
Вторую фракцию крупностью не более 0,25 мм используют для определения массовой доли веществ, нерастворимых в хинолине, в соответствии с
ГОСТ 10200 для определения градуировочной характеристики.
4 Аппаратура, посуда и реактивы
Установка для определения веществ, нерастворимых в хинолине, в комплект которой входят:
- измеритель емкости от 10 до 100 пФ (частота 103 Гц) класса точности не ниже 1;
- ячейка (см.
рисунок 1), состоящая из двух плоскопараллельных дисковых электродов. Допускается использовать ячейки других конструкций с теми же метрологическими характеристиками;
1 - электрод; 2 - шаблон N 1; 3 - шаблон N 2; 4 - плита
М20 x 1,5; 10 - плита верхняя; 11 - втулка;
12 - направляющая; 13 - контакт; 14 - винт М3 x 8,58
Рисунок 1 - Ячейка для определения веществ, нерастворимых
в хинолине
- шаблон N 2 (без отверстия) (см.
рисунок 2). Допускается использование одного шаблона диаметром (55 +/- 0,5) мм, соответствующего шаблону, изображенному на
рисунке 2, или шаблона N 1 с прокладкой из любого материала толщиной 0,1 мм;
1 - шаблон N 1; 2 - шаблон N 2
- весы лабораторные общего назначения по
ГОСТ Р 53228 с пределом взвешивания не более 200 г, не ниже II класса точности с ценой деления шкалы 0,01 г или другие с аналогичными метрологическими характеристиками;
- шкаф сушильный электрический, обеспечивающий нагрев до 160 °C;
- термометр ртутный стеклянный с диапазоном измерения от 0 °C до 200 °C и ценой деления 1 °C по
ГОСТ 400 или термометр типа ТЛ2 N 4 ТУ 25.2021.003;
- шпатель или другое приспособление из некорродирующего материала для взятия навески;
- ступка фарфоровая с пестиком вместимостью 250 см3 или другой измельчитель, не загрязняющий пробу при истирании;
- скальпель;
- тестер или контрольная лампа;
- вентилятор бытовой;
- холодильник бытовой с морозильной камерой.
Допускается применение других средств измерения с метрологическими характеристиками и оборудования с техническими характеристиками не хуже, а также реактивов по качеству, не ниже указанных в настоящем стандарте.
5.1.1 Ячейку собирают в соответствии с
рисунком 1 и устанавливают межэлектродное расстояние (1,5 мм) следующим образом: на нижнюю плиту кладут три шаблона N 1 (с отверстиями), электрод в сборе с верхней плитой устанавливают на шаблоны таким образом, чтобы направляющие вошли в отверстие нижней плиты. Опорные болты (
6) верхней плиты не должны при этом касаться нижней плиты.
Присоединив один контакт тестера или контрольной лампы к нижней плите и касаясь вторым концом поочередно каждого из трех опорных болтов, последовательно заворачивают все три болта до момента касания с нижней плитой, что обнаруживается тестером или контрольной лампой по появлению электрического контакта. После установки каждого опорного болта затягивают контргайку (5).
По окончании сборки ячейки все три опорных болта должны иметь электрический контакт с нижней плитой.
Для проверки параллельности устанавливают шаблоны N 2 или шаблоны N 1 с прокладкой. При этом все три болта не должны иметь электрического контакта с нижней плитой. При наличии контакта установку болтов повторяют.
5.1.2 Ячейку настраивают каждый раз после перерыва в работе или не реже одного раза в неделю при работе установки.
Межэлектродное расстояние в ячейке контролируют по величине емкости пустой ячейки по
5.3.
Шаблоны и прокладки проверяют микрометром. Их толщину измеряют по всему периметру в трех точках не менее чем по три раза в каждой точке. Отклонение результатов каждого измерения от номинального значения толщины шаблона или прокладки должно находиться в пределах +/- 0,03 мм.
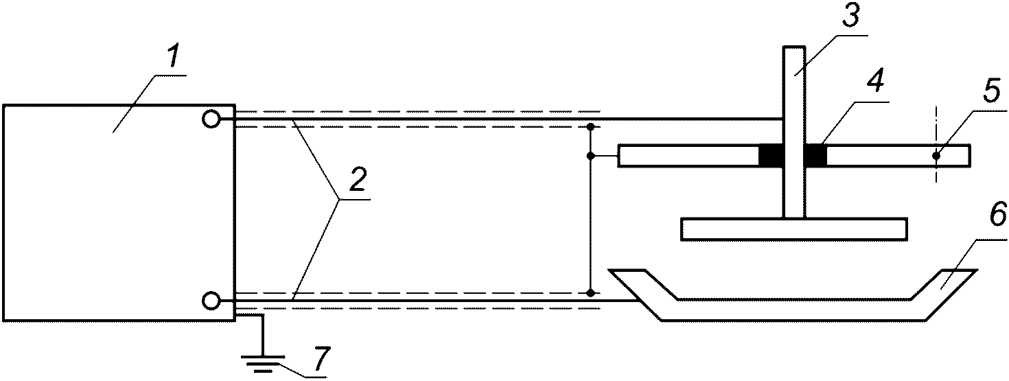
5.2 Подготовка установки к измерениям
Установку для измерения емкости собирают по схеме в соответствии с
рисунком 3.
1 - измеритель емкости; 2 - экранированные провода;
3 - верхний электрод; 4 - изоляционная прокладка;
5 - верхняя плита ячейки; 6 - нижний электрод (нижняя
плита); 7 - заземление измерителя емкости
Рисунок 3 - Подготовка установки к измерениям
Ячейку подключают к измерителю емкости экранированными проводами. При проведении измерений провод, который подключают к нижней плите, отмечают меткой. Экраны проводов подключают к верхней плите.
5.3 Измерение емкости пустой ячейки
Включают измеритель емкости согласно инструкции к прибору, прогревают его в течение 15 - 20 мин, подключают пустую настроенную ячейку к клеммам прибора, как указано в
5.2, и измеряют емкость пустой ячейки. За результат принимают среднеарифметическое результатов трех измерений при условии, что расхождение между ними не будет превышать 0,5 пФ. Если это условие не выполняется, проводят повторную настройку ячейки по
5.1.
Емкость пустой ячейки измеряют каждый раз перед проведением анализа.
Емкости разных ячеек должны находиться в интервале от 12 до 16 пФ. Если это условие не выполняется, необходимо провести повторную настройку ячейки.
5.4 При анализе проб пека можно использовать несколько ячеек с разными геометрическими параметрами, поэтому результаты измерений необходимо привести к емкости пустой ячейки с определенным межэлектродным расстоянием.
Приведенную емкость ячейки с анализируемой пробой пека (Cп) в пикофарадах вычисляют по формуле

, (1)
где C1 - емкость ячейки с пеком, приведенная к температуре опыта и определяемая по формуле
C1 = C2 + (t0 - t)·0,17, (2)
где C2 - емкость ячейки с анализируемой пробой пека, полученная непосредственно при измерении, пФ;
t0 - температура, при которой была определена градуировочная характеристика, °C;
t - температура, при которой проведено измерение емкости ячейки с анализируемой пробой пека, °C;
0,17 - поправочный коэффициент, пФ/°C;
11,58 - расчетная емкость пустой ячейки с определенными геометрическими параметрами (расстояние между электродами - 1,5 мм, диаметр электродов - 50 мм), пФ;
C - емкость пустой ячейки, используемой при измерении.
Приведенные емкости ячеек с пеком используют для определения градуировочной характеристики и анализа проб пека.
5.5 Измерение емкости ячейки с пеком
5.5.1 Фракцию от 1 до 3 мм пробы пека (см.
3.2) используют для определения емкости. Для этого берут навеску пека массой 9,0 г, переносят на нижнюю плиту ячейки, выравнивают и уплотняют поверхность шпателем.
Плиту с пеком устанавливают в сушильный шкаф, предварительно нагретый до температуры (160 +/- 5) °C. Температуру в шкафу, контролируют термометром, ртутный резервуар которого должен быть расположен на уровне плиты. Верхнюю плиту помещают под вентилятор. По секундомеру определяют время выдержки. Оно будет складываться из времени расплавления образца пека до образования гладкой поверхности и термовыдержки от 5 до 10 мин. Общее время пребывания ячейки в сушильном шкафу должно быть не более 30 мин.
Плиту с пеком вынимают из шкафа, устанавливают на ровную горизонтальную поверхность и сразу же опускают верхнюю плиту ячейки на расплавленный пек. Следят, чтобы все три опорных болта касались нижней плиты ячейки. Устанавливают ячейку с пеком под вентилятор и охлаждают до температуры (25 +/- 5) °C в течение 30 - 40 мин.
Охлажденную ячейку с пеком подключают к клеммам прибора, как указано в
5.2 и измеряют ее емкость (
C2). За результат принимают среднеарифметическое результатов трех измерений, при условии, что расхождение между ними не будет превышать 1 пФ. Если расхождение превышает 1 пФ, то необходимо проверить правильность подключения ячейки к прибору.
Затем ячейку открывают. Если она не открывается без дополнительных усилий (например, без постукивания молотком по ребру нижней плиты), эксперимент следует повторить.
Измерение для каждой пробы пека повторяют дважды, начиная с измерения емкости пустой ячейки (см.
5.3) и взятия навески.
5.5.2 После измерения ячейку очищают от пека и готовят следующую пробу к испытаниям.
Для очистки нижней плиты ее предварительно охлаждают в морозильной камере бытового холодильника в течение 20 - 30 мин, затем очищают скальпелем. Верхнюю плиту протирают тампоном, смоченным толуолом.
Допускается применять другие способы очистки ячеек от пека или меры, предотвращающие прилипание пека к металлу, если они не влияют на результаты измерения.
5.6 Определение градуировочных характеристик
Для определения градуировочных характеристик используют не менее пяти проб пека крупностью не более 0,25 мм с массовой долей веществ, нерастворимых в хинолине, наиболее характерных для каждого предприятия. При этом разница между минимальным и максимальным значениями не должна превышать 3%.
В каждой пробе пека определяют массовую долю веществ, нерастворимых в хинолине (
a1),
ГОСТ 10200 и соответствующую ей емкость (
C2) по
5.5, которую затем пересчитывают на приведенную емкость (
Cп) по
5.4. Проводят не менее двух параллельных определений.
Для всех проб пека определяют среднее арифметическое значение массовой доли веществ, нерастворимых в хинолине

, и приведенной емкости

и вычисляют коэффициент
a уравнения градуировочной характеристики по формуле

, (3)
где

- среднеарифметическое значение массовой доли веществ, нерастворимых в хинолине, %;
b - коэффициент, установленный экспериментально и равный 0,435;

- среднеарифметическое значение приведенной емкости, пФ.
Допускается находить среднее арифметическое значение массовой доли веществ, нерастворимых в хинолине

, и приведенной емкости

, проводя десять параллельных определений из одной пробы пека.
Допускается находить коэффициенты
a и
b по нескольким пробам пека методом наименьших квадратов, как указано в
приложении А. При этом число определений должно быть не менее десяти, а интервал значений массовой доли веществ, нерастворимых в хинолине, в пеке может быть более 3%.
Коэффициенты градуировочной характеристики проверяют не реже одного раза в шесть месяцев.
Навеску пека массой 9 г анализируют, как указано в
5.5.
Измеряют емкость ячейки (
C2) с пробой пека и вычисляют по ней приведенную емкость (
Cп), как указано в
5.4, и по найденной емкости определяют массовую долю веществ, нерастворимых в хинолине.
7.1 Массовую долю веществ, нерастворимых в хинолине a1, в процентах вычисляют по формуле
a1 = b·Cп + a, (4)
где
b - коэффициент, равный 0,435 или определенный в соответствии с
5.6;
Cп - приведенная емкость ячейки с пеком, рассчитанная в соответствии с
5.4, пФ;
a - градуировочный коэффициент, (см.
5.6).
Результат измерения вычисляют до первого десятичного знака.
7.2 За результат анализа принимают среднеарифметическое результатов двух параллельных определений, допускаемые расхождения между которыми в одной лаборатории не должны превышать 0,7% - при массовой доле веществ, нерастворимых в хинолине, до 10% включительно; 1,0% - при массовой доле веществ, нерастворимых в хинолине, более 10%.
7.3 Допускаемая абсолютная суммарная погрешность результата анализа +/- 0,35% при массовой доле веществ, нерастворимых в хинолине, до 10% включительно и +/- 0,5% при массовой доле более 10% при доверительной вероятности 0,95.
Результат анализа округляют до целого числа.
(рекомендуемое)
ОПРЕДЕЛЕНИЕ КОЭФФИЦИЕНТОВ a И b МЕТОДОМ НАИМЕНЬШИХ КВАДРАТОВ
По экспериментальным данным, см.
5.6, определяют коэффициенты
a и
b по формулам

(А.1)

, (А.2)
где m - число опытов, проведенных при определении градуировочной характеристики;
a1i - массовая доля веществ, нерастворимых в хинолине, определяемая по
ГОСТ 10200, %;
Cпi - приведенная емкость ячейки с пеком, см.
5.4.
Суммирование во всех случаях проводится от 1 до m.
УДК 662.749.2.001.4:006.354 | |
Ключевые слова: пек каменноугольный, диэлектрический метод определения массовой доли веществ, вещества, нерастворимые в хинолине |