Главная // Актуальные документы // ГОСТ Р (Государственный стандарт)СПРАВКА
Источник публикации
М.: ФГБУ "РСТ", 2022
Примечание к документу
Документ утратил силу с 01.09.2022 в связи с изданием
Приказа Росстандарта от 25.05.2022 N 372-ст. Взамен введен в действие
ГОСТ 34809-2021.
Документ
введен в действие с 15.03.2022.
Название документа
"ГОСТ Р 59887-2021. Национальный стандарт Российской Федерации. Легкорельсовые транспортные средства. Общие технические требования. Методы проверки"
(утв. и введен в действие Приказом Росстандарта от 25.11.2021 N 1601-ст)
"ГОСТ Р 59887-2021. Национальный стандарт Российской Федерации. Легкорельсовые транспортные средства. Общие технические требования. Методы проверки"
(утв. и введен в действие Приказом Росстандарта от 25.11.2021 N 1601-ст)
Утвержден и введен в действие
агентства по техническому
регулированию и метрологии
от 25 ноября 2021 г. N 1601-ст
НАЦИОНАЛЬНЫЙ СТАНДАРТ РОССИЙСКОЙ ФЕДЕРАЦИИ
ЛЕГКОРЕЛЬСОВЫЕ ТРАНСПОРТНЫЕ СРЕДСТВА
ОБЩИЕ ТЕХНИЧЕСКИЕ ТРЕБОВАНИЯ.
МЕТОДЫ ПРОВЕРКИ
Lightrail transport. General technical requirements.
Test methods
ГОСТ Р 59887-2021
Дата введения
15 марта 2022 года
1 ПОДГОТОВЛЕН Открытым акционерным обществом "Научно-исследовательский институт автомобильного транспорта" (ОАО "НИИАТ") совместно с Федеральным государственным бюджетным учреждением "Российский институт стандартизации" (ФГБУ "РСТ")
2 ВНЕСЕН Техническим комитетом по стандартизации ТК 315 "Автомобильный и городской электрический транспорт"
3 УТВЕРЖДЕН И ВВЕДЕН В ДЕЙСТВИЕ
Приказом Федерального агентства по техническому регулированию и метрологии от 25 ноября 2021 г. N 1601-ст
4 ВВЕДЕН ВПЕРВЫЕ
Правила применения настоящего стандарта установлены в статье 26 Федерального закона от 29 июня 2015 г. N 162-ФЗ "О стандартизации в Российской Федерации". Информация об изменениях к настоящему стандарту публикуется в ежегодном (по состоянию на 1 января текущего года) информационном указателе "Национальные стандарты", а официальный текст изменений и поправок - в ежемесячном информационном указателе "Национальные стандарты". В случае пересмотра (замены) или отмены настоящего стандарта соответствующее уведомление будет опубликовано в ближайшем выпуске ежемесячного информационного указателя "Национальные стандарты". Соответствующая информация, уведомление и тексты размещаются также в информационной системе общего пользования - на официальном сайте Федерального агентства по техническому регулированию и метрологии в сети Интернет (www.rst.gov.ru)
Настоящий стандарт распространяется на вновь изготавливаемые легкорельсовые транспортные средства (далее - ЛТС), предназначенные для движения на линиях городского электрифицированного транспорта шириной колеи 1000 мм, 1435 мм и 1524 (1520) мм с питанием от однопроводной контактной сети в соответствии с ГОСТ 6962.
В настоящем стандарте использованы нормативные ссылки на следующие стандарты:
ГОСТ 9.032 Единая система защиты от коррозии и старения. Покрытия лакокрасочные. Группы, технические требования и обозначения
ГОСТ 9.410 Единая система защиты от коррозии и старения. Покрытия полимерные порошковые. Типовые технологические процессы
ГОСТ 12.1.006 Система стандартов безопасности труда. Электромагнитные поля радиочастот. Допустимые уровни на рабочих местах и требования к проведению контроля
ГОСТ 12.1.026 Система стандартов безопасности труда. Шум. Определение шумовых характеристик источников шума в свободном звуковом поле над звукоотражающей плоскостью. Технический метод
ГОСТ 12.1.044 (ИСО 4589-84) Система стандартов безопасности труда. Пожаровзрывоопасность веществ и материалов. Номенклатура показателей и методы их определения
ГОСТ 2582 Машины электрические вращающиеся тяговые. Общие технические условия
ГОСТ 5257 Бандажи черновые из углеродистой стали для подвижного состава трамвая. Технические условия
ГОСТ 6143 Заготовка осевая для трамвайных вагонов. Технические условия
ГОСТ 6144 Оси трамвайных вагонов. Технические условия
ГОСТ 6962 Транспорт электрифицированный с питанием от контактной сети. Ряд напряжений
ГОСТ 9219 Аппараты электрические тяговые. Общие технические требования
ГОСТ 14254 Степени защиты, обеспечиваемые оболочками (Код IP)
ГОСТ 15150 Машины, приборы и другие технические изделия. Исполнения для различных районов. Категории, условия эксплуатации, хранения и транспортирования в части климатических факторов внешней среды
ГОСТ 17516.1 Изделия электротехнические. Общие требования в части стойкости к механическим внешним воздействующим факторам
ГОСТ 20304 Манекены посадочные трехмерный и двухмерный. Конструкция, основные параметры и размеры
ГОСТ 25712 Бандажи чистые для вагонов трамвая. Технические условия
ГОСТ 29205 Совместимость технических средств электромагнитная. Радиопомехи индустриальные от электротранспорта. Нормы и методы испытаний
ГОСТ 30804.4.3 (IEC 61000-4-3:2006) Совместимость технических средств электромагнитная. Устойчивость к радиочастотному электромагнитному полю
ГОСТ 31319 (ЕН 14253:2003) Вибрация. Измерение общей вибрации и оценка ее воздействия на человека. Требования к проведению измерений на рабочих местах
ГОСТ 31192.2 (ИСО 5349-2:2001) Вибрация. Измерение локальной вибрации и оценка ее воздействия на человека. Часть 2. Требования к проведению измерений на рабочих местах
ГОСТ 32565 Стекло безопасное для наземного транспорта. Общие технические условия
| | ИС МЕГАНОРМ: примечание. В официальном тексте документа, видимо, допущена опечатка: стандарт имеет номер ГОСТ ИСО 8041-2006, а не ГОСТ ИСО 804. | |
ГОСТ ИСО 804 Вибрация. Воздействие вибрации на человека. Средства измерений
Примечание - При пользовании настоящим стандартом целесообразно проверить действие ссылочных стандартов в информационной системе общего пользования - на официальном сайте Федерального агентства по техническому регулированию и метрологии в сети Интернет или по ежегодному информационному указателю "Национальные стандарты", который опубликован по состоянию на 1 января текущего года, и по выпускам ежемесячного информационного указателя "Национальные стандарты" за текущий год. Если заменен ссылочный стандарт, на который дана недатированная ссылка, то рекомендуется использовать действующую версию этого стандарта с учетом всех внесенных в данную версию изменений. Если заменен ссылочный стандарт, на который дана датированная ссылка, то рекомендуется использовать версию этого стандарта с указанным выше годом утверждения (принятия). Если после утверждения настоящего стандарта в ссылочный стандарт, на который дана датированная ссылка, внесено изменение, затрагивающее положение, на которое дана ссылка, то это положение рекомендуется применять без учета данного изменения. Если ссылочный стандарт отменен без замены, то положение, в котором дана ссылка на него, рекомендуется применять в части, не затрагивающей эту ссылку.
В настоящем стандарте применены следующие термины с соответствующими определениями:
3.1 аварийное торможение: Торможение, выполняемое тормозной системой трамвая без дополнительного управляющего воздействия водителя трамвая при отказе одного или нескольких тормозов.
3.2 аварийно-принудительное торможение: Осуществляется в случаях срабатывания устройства безопасности, при воздействии на рукоятки (кнопки) "СТОП" в ЛТС и в случае разрыва сцепки при работе ЛТС по СМЕ или в случае разрыва узла сочленения сочлененного ЛТС. Режим аварийно-принудительного торможения, обеспечивается совместным действием двух или более тормозных систем с автоматической подачей песка под колеса ЛТС.
3.3 автономный ход: Передвижение и торможение ЛТС (управляемое водителем) при отсутствии (отключении) напряжения в контактной сети.
3.4 бандаж: Стальное кольцо фасонного профиля, поверхность катания которого предназначена для перемещения по рельсам, надеваемое в горячем состоянии или напрессованное на колесные центры ЛТС.
3.5 безопасность ЛТС: Состояние, характеризуемое совокупностью параметров конструкции ЛТС, обеспечивающих отсутствие недопустимого риска, связанного с возможностью причинения вреда и (или) нанесения ущерба.
3.6 бортовая сеть: Цепи ЛТС, гальванически связанные с бортовыми аккумуляторными батареями.
3.7 буксировка: Перемещение неисправного или отключенного ЛТС другим ЛТС или специальным колесным транспортным средством.
3.8 вентиляция: Обеспечение воздухообмена в кабине водителя и пассажирском салоне или служебном помещении ЛТС.
3.9 вибрация: Механические колебания частей ЛТС, способные оказывать воздействие на водителя и пассажиров.
3.10 габаритная длина: Расстояние между обеими вертикальными плоскостями, перпендикулярными среднему продольному сечению транспортного средства, касательными к ее передней и задней наружным поверхностям, без учета проекций, образуемых: устройствами непрямого обзора; контурными огнями; сцепными устройствами.
3.11 габаритная высота: Расстояние между обеими горизонтальными плоскостями, одна из которых расположена на УГР, вторая является касательной к верхней части ЛТС.
3.12 габаритная ширина: Расстояние между плоскостями, перпендикулярными к плоскости пола и параллельными продольной оси ЛТС, касательными к наиболее выступающим точкам правого и левого бортов кузова. Ширина габаритная не включает наружные устройства непрямого обзора, декоративный продольный профиль.
3.13 грузовое легкорельсовое транспортное средство: ЛТС, предназначенное только для перевозки грузов или для перевозки грузов и служебного персонала.
3.14 звуковая сигнализация: Звуковой сигнал (звонок), предупреждающий об опасности, движении ЛТС задним ходом, движении ЛТС автономным ходом.
3.15 кабина водителя ЛТС: Часть ЛТС для размещения рабочего места водителя с необходимыми сигнальными приборами и органами управления.
3.16 клиренс: Расстояние от УГР до самой низко расположенной точки ЛТС (кроме рельсовых тормозов и предохранительного устройства).
3.17 колесная пара: Составная часть ЛТС, воспринимающая нагрузку от ЛТС и направляющая движение ЛТС по рельсам.
3.18 кондиционирование: Обеспечение регулируемого охлаждения воздуха в кабине водителя, пассажирском салоне или служебном помещении.
3.19 крэш-система: Устройство ЛТС, направленное на снижение риска травмирования пассажиров и водителя (в случае аварийного столкновения ЛТС с препятствием) путем уменьшения ускорения ЛТС при аварийном столкновении за счет поглощения кинетической энергии объектов аварийного столкновения с помощью контролируемой необратимой деформации конструкций, не являющихся элементами несущей конструкции кузова.
3.20 кузов ЛТС: Несущая часть ЛТС для размещения пассажиров, грузов или специального оборудования.
3.21 легкорельсовое транспортное средство; (ЛТС): Рельсовое транспортное средство с допустимой осевой массой не более 14 тонн.
3.22 моторное легкорельсовое транспортное средство: ЛТС, способное передвигаться своим ходом и в составе поезда (в том числе по СМЕ).
3.23 специальное легкорельсовое транспортное средство: ЛТС, предназначенное для выполнения различного вида работ (снегоочиститель, учебный, для перевозки служебного персонала и т.д.).
3.24 наружные световые приборы: Устройства для освещения рельсового пути, а также устройства световой сигнализации.
| | ИС МЕГАНОРМ: примечание. Текст дан в соответствии с официальным текстом документа. | |
3.25 несамоходное легкорельсовое транспортное средство несамоходное: ЛТС, способное передвигаться только в составе поезда.
3.26 обзорность: Свойство ЛТС, определяемое совокупностью конструктивных параметров кабины, параметров компоновки рабочего места водителя, обеспечивающих условия восприятия водителем визуальной информации, необходимой для безопасного и эффективного управления ЛТС.
3.27 орган управления: Конструктивный элемент ЛТС, на который воздействует водитель для изменения режимов функционирования ЛТС или его частей.
3.28 отопление: Регулируемое повышение и поддержание на заданном уровне температуры воздуха в пассажирском помещении и кабине водителя.
3.29 пассажирская (служебная) дверь: Дверь, предназначенная для входа и выхода пассажиров.
3.30 пассажирское легкорельсовое транспортное средство: ЛТС, предназначенное для перевозки пассажиров.
3.31 плавность хода: Характеристика ходовых качеств ЛТС. Зависит от интенсивности и спектрального состава колебаний/вибрации кузова ЛТС, измеряется в баллах.
3.32 поезд: Сцепленный состав ЛТС с одним или несколькими действующими самоходными ЛТС.
3.33 системы безопасности ЛТС: Системы ЛТС, обеспечивающие безопасность ЛТС при неисправности системы управления.
3.34 система многих единиц; (СМЕ): Совместная синхронная работа нескольких ЛТС в режимах тяги и торможения в составе поезда с управлением из кабины водителя головного ЛТС.
3.35 служебное торможение: Регулируемое торможение, выполняемое для снижения скорости или остановки ЛТС, осуществляемое за счет электродинамического торможения. При необходимости дотормаживание до остановки производится механическими тормозами в автоматическом режиме.
3.36 сочлененное легкорельсовое транспортное средство: ЛТС, состоящее из двух или более жестких секций, соединенных узлами сочленения.
3.37 стояночный тормоз: Тормоз, обеспечивающий неподвижность ЛТС на уклоне.
3.38 токоприемник: Тяговый электрический аппарат, предназначенный для создания подвижного электрического контакта с контактной сетью и подачи питания на электрооборудование ЛТС.
3.39 торможение: Управляемое замедление движения ЛТС.
3.40 тормоз: Оборудование, основной функцией которого является вызов торможения.
3.41 устройство безопасности: Коммутационное устройство в виде педали или кнопки, установленное в кабине водителя, одной из основных функций которого является включение принудительного торможения.
3.42 устройство непрямого обзора: Устройство, предназначенное для обеспечения видимости объектов, находящихся сзади, сбоку, впереди или внутри ЛТС (в том числе зеркало, устройства видеонаблюдения, другие технические средства, обеспечивающие водителя необходимой для безопасного управления ЛТС информацией об элементах окружающей обстановки, находящихся вне поля прямого обзора).
3.43 устройство световой сигнализации: Устройство, испускающее или отражающее свет для подачи визуальной информации о присутствии, идентификации ЛТС и (или) изменении направления его движения. ЛТС, предназначенные для эксплуатации в замкнутых системах, могут не оснащаться устройствами световой сигнализации.
3.44 экстренное торможение: Торможение, необходимое для предельно быстрой остановки ЛТС, осуществляемое совместным действием всех тормозных систем с автоматической подачей песка под колеса ЛТС и подачей звукового сигнала (звонка).
3.45 электробезопасность: Параметр ЛТС или его составной части, характеризующий уровень угрозы для здоровья человека и животных с точки зрения поражения электрическим током.
4 Общие технические требования
4.1 Основные габаритные размеры ЛТС должны соответствовать следующим значениям:
а) габаритная длина ЛТС определяется в зависимости от конкретных условий эксплуатации, в том числе от длины посадочных площадок;
б) габаритная ширина ЛТС, не более .......................... 2 550 мм;
Примечание - Допускается увеличение размера на 50 мм за счет брызговиков и других мягких элементов с любой стороны кузова. Допускается отклонение при изготовлении ЛТС для использования на самостоятельном и обособленном рельсовом пути по согласованию с заказчиком.
в) габаритная высота ЛТС, с опущенным токоприемником,
не более ........................................................ 3 900 мм.
Высота верхней точки оборудования, расположенного на крыше,
не более ........................................................ 3 700 мм.
4.2 Клиренс при максимальной технической массе и новых бандажах должен быть не менее 110 мм.
4.3 Размеры кузова ЛТС и конструкция тележек при соответствии параметров пути установленным требованиям должны обеспечивать зазор безопасности между ЛТС и опорой контактной сети, расположенной в междупутье, - не менее 300 мм; между ЛТС (при отсутствии опор контактной сети в междупутье) или ЛТС и другим видом транспорта как на прямых, так и на кривых участках пути - не менее 550 мм, в т.ч. при проходе минимальных радиусов кривых рельсовых путей:
- на перегонах .................................................. 25 м;
- разворотных кольцах, в узлах, на служебных путях и на путях,
расположенных на территории депо и заводов .......................... 20 м.
По требованию заказчика допускается разработка и изготовление ЛТС для эксплуатации на путях с радиусами кривых менее указанных. При этом безопасность таких ЛТС должна обеспечиваться правилами их эксплуатации.
Должен быть произведен расчет устойчивости от опрокидывания ЛТС в кривой.
4.4 Для пассажирских ЛТС несущие металлоконструкции должны быть рассчитаны на нагрузки:
- номинальную - от массы пассажиров, сидящих на местах для сидения и стоящих пассажиров из расчета 5 человек на 1 м2 площади пола для стоящих пассажиров;
- максимальную - от массы пассажиров, сидящих на местах для сидения и стоящих пассажиров из расчета 10 человек на 1 м2 площади пола для стоящих пассажиров.
Оценка прочности элементов каркаса кузова, узлов сочленения, рам тележек проводится путем сравнения расчетных напряжений с допустимыми для используемых материалов.
Для всех остальных расчетов (тяговые, тормозные, нагрузки на ось, воздухообмен) принимают нагрузки:
- номинальная - от массы пассажиров, сидящих на местах для сидения и стоящих пассажиров из расчета пять человек на 1 м2 площади пола для стоящих пассажиров;
- максимальная - от массы пассажиров, сидящих на местах для сидения и стоящих пассажиров из расчета восемь человек на 1 м2 площади пола для стоящих пассажиров.
Примечание - Средняя масса пассажира - 70 кг.
Для грузовых ЛТС расчет проводится по максимальной грузоподъемности, для специальных ЛТС расчет проводится по максимальным нагрузкам от специального оборудования.
4.5 Максимальная статическая нагрузка от колесной пары ЛТС на рельсы не должна превышать 137 кН. Для трамваев максимальная статическая нагрузка от колесной пары на рельсы не должна превышать 98 кН.
4.6 Кузов ЛТС должен иметь опорные поверхности, обеспечивающие возможность его подъема домкратами или другими средствами, в том числе при сходе с рельс или при неисправной тележке.
4.7 Подготовка к сварке сборочных единиц и деталей, выполнение сварочных работ, марки применяемых материалов, методы сварки, а также качество швов и соединений должно соответствовать нормативно-технической документации на изготовление сварных конструкций.
4.8 Окраска ЛТС - по рабочим чертежам. Внешний вид лакокрасочных покрытий видимых поверхностей - по
ГОСТ 9.032. Полимерное порошковое покрытие в соответствии с
ГОСТ 9.410. Допускается возможность иных видов покрытия при обеспечении необходимой защиты от коррозии и сохранности в течение срока службы ЛТС.
4.9 ЛТС должны быть приспособлены для работы в одиночку. Допускается разработка ЛТС, предназначенных для работы по СМЕ в составе поезда из двух и более единиц.
4.10 Оборудование ЛТС должно соответствовать условиям эксплуатации в соответствии с
ГОСТ 15150 и
ГОСТ 17516.1.
4.11 Система торможения ЛТС должна обеспечивать функции служебного и экстренного торможения.
Длина тормозного пути ЛТС с номинальной нагрузкой при торможении на прямолинейном горизонтальном участке пути с уклоном не более +/- 0,3% на сухих и чистых рельсах со скорости 40 км/ч, при "холодных" тормозных механизмах, не более:
- при служебном торможении ...................................... 60 м;
- при экстренном торможении ..................................... 30 м.
Система аварийного торможения с номинальной нагрузкой, на горизонтальном и прямом участке, на чистых и сухих рельсах должна обеспечивать тормозной путь со скорости 40 км/ч не более 100 м.
4.12 В ЛТС должны быть установлены песочницы с дистанционным управлением и электрическим подогревом песка. При экстренном и аварийном торможении песок подается на рельсы автоматически.
4.13 При любом положении органов управления движением ЛТС режим торможения должен быть приоритетным.
4.14 Стояночный тормоз ЛТС должен обеспечивать на чистых и сухих рельсах неподвижное состояние ЛТС при максимальной технической массе на уклоне 0,09 (9%).
4.15 Скорость изменения ускорения при пуске и замедлении при служебном
торможении, не более .............................................

.
4.16 Одиночное ЛТС и в составе поезда по СМЕ, при максимальной технической массе должны преодолевать прямолинейные участки пути с продольным уклоном 0,09 (9%) протяженностью 1 000 м.
4.17 ЛТС должно быть оборудовано сцепными устройствами. Сцепные устройства должны обеспечивать необходимую прочность. На ЛТС должны быть предусмотрены специальные устройства для взаимной буксировки ЛТС.
4.18 В случае разрыва сцепного устройства при работе ЛТС по СМЕ (узла сочленения в сочлененных ЛТС) должно быть обеспечено торможение и остановка каждого ЛТС.
4.19 ЛТС должно быть оборудовано специальным устройством, исключающим попадание под колесо любого предмета размером более 100 x 100 x 100 мм, находящимся на поверхности головок рельс.
4.20 Электрическая схема управления тяговым электроприводом пассажирского ЛТС (поезда) не должна допускать начало движения ЛТС с остановки даже при одной не полностью закрытой служебной дверью (допускается открытая передняя и задняя двери в маневровых режимах).
4.21 Оси колесных пар ЛТС должны соответствовать требованиям по прочности, отклонениям формы, размерам, отсутствию дефектов ГОСТ 6144. Механические свойства, ударная вязкость и остаточное напряженное состояние металла колес, осей и бандажей, балок тележек ЛТС, а также их крепление должны обеспечивать их механическую безопасность в течение назначенного срока службы. Механические свойства и требования к дефектам осевых заготовок ЛТС должны соответствовать
ГОСТ 6143.
4.22 Профиль бандажей колес (цельнокатаных колес) ЛТС должен соответствовать ГОСТ 25712, механические свойства металла бандажей (колес) должны соответствовать
ГОСТ 5257. Бандажи должны быть подрессорены (подрезинены) относительно оси колесной пары.
4.23 ЛТС должно быть оборудовано устройством звуковой сигнализации. Звуковой сигнальный прибор должен иметь акустические (спектральное распределение звуковой энергии, уровень акустического давления) и механические характеристики, которые позволяют предупреждать участников движения об опасности. Максимальная величина уровня звука должна быть не менее 90 дБ(А) и не более 100 дБ(А).
4.24 ЛТС должно быть оборудовано следующими устройствами наружного освещения и световой сигнализации:
- дневным ходовым огнем;
- фарами с огнями дальнего и ближнего света;
- фарами (фарой) заднего хода;
- указателями поворота (передние, боковые, задние);
- сигналами торможения;
- передними и задними габаритными огнями;
- передними и задними контурными огнями;
- боковыми габаритными огнями совмещенными со светоотражателями;
- задним светоотражательным устройством не треугольной формы;
- задним противотуманным огнем.
Необходимо наличие аварийного сигнала, получаемого в результате одновременной работы всех указателей поворота.
Допускается дополнительно установка передних противотуманных фар. На панели приборов в кабине водителя должны отображаться контрольные сигналы включения фары дальнего света, указателей поворота, сигналов торможения, аварийного сигнала, габаритных огней.
4.25 Кабина водителя пассажирского ЛТС (при наличии) должна быть отделена от пассажирского помещения перегородкой с запирающейся дверью. ЛТС должно быть оборудовано противоугонной системой.
4.26 Лобовое стекло кабины водителя должно быть оборудовано стеклоочистителем (стеклоочистителями) и стеклоомывателем (стеклоомывателями).
4.27 Кабина водителя ЛТС (при наличии) должна быть оборудована устройствами непрямого обзора, обеспечивающими четкую видимость того, что находится сзади, сбоку или впереди ЛТС в пределах полей обзора водителя. Поля обзора должны обеспечиваться установкой двух внешних зеркал (по одному с каждой стороны); внешние зеркала для наблюдения должны устанавливаться на высоте не менее двух метров над УГР. Поле обзора внешнего зеркала заднего вида с левой стороны ЛТС должно быть таким, чтобы водитель мог видеть по крайней мере часть ровной и горизонтальной дороги шириной пять метров, ограниченную плоскостью, параллельной средней продольной вертикальной плоскости и пересекающей самую крайнюю точку трамвая со стороны водителя трамвая от горизонта до расстояния 30 м позади окулярных точек водителя. Кроме того, водитель ЛТС должен иметь возможность видеть дорогу по ширине одного метра, ограниченной плоскостью, параллельной средней продольной вертикальной плоскости и проходящей через самую крайнюю точку трамвая начиная с четырех метров позади вертикальной плоскости, проходящей через окулярные точки водителя.
Поле обзора внешнего зеркала заднего вида с правой стороны ЛТС: должно быть таким, чтобы водитель трамвая мог видеть по крайней мере часть ровной и горизонтальной дороги шириной пять метров, ограниченную с правой стороны плоскостью, параллельной средней продольной вертикальной плоскости и пересекающей самую крайнюю точку ЛТС с правой стороны от горизонта до расстояния тридцать метров позади окулярных точек водителя. Кроме того, водитель ЛТС должен иметь возможность видеть дорогу по ширине один метр, ограниченной плоскостью, параллельной средней продольной вертикальной плоскости и проходящей через самую крайнюю точку трамвая начиная с четырех метров позади вертикальной плоскости, проходящей через окулярные точки водителя.
Для обеспечения видимости водителем пассажирского помещения, особенно в зоне дверей, должны быть установлены зеркала или система видеонаблюдения.
4.28 Обзорность через лобовое и боковые стекла кабины, ограниченная полем зрения водителя равным 180°, в горизонтальной плоскости при направлении линии взора с места водителя параллельно средней продольной плоскости ЛТС должна обеспечивать возможность и условия восприятия водителем визуальной информации, необходимой для управления ЛТС.
Обзорность с места водителя определяется (см.
рисунок 1):
- размерами и расположением нормативных зон А и Б переднего окна;
- степенью очистки нормативных зон А и Б ветрового стекла;
- непросматриваемыми зонами, создаваемыми стойками переднего окна;
- непросматриваемыми зонами в нормативном поле обзора П.
1 - граница прозрачной части левого бокового окна; 2 - левая
боковая стойка переднего окна; 3 - контур очистки ветрового
стекла; 4 - граница нормативной зоны А; 5 - граница
нормативной зоны Б; 6 - граница прозрачной части ветрового
стекла; 7 - правая боковая стойка переднего окна;
8 - граница прозрачной части правого бокового окна;
9 - следы от плоскостей, являющихся границами нормативного
поля обзора П
Рисунок 1 - Расположение нормативных зон
А и
Б переднего
окна и нормативного поля обзора П
Размеры и расположение нормативных зон
А и
Б переднего окна определяются углами, значения которых представлены в
таблице 1.
Таблица 1
Размеры и расположение нормативных зон
А и
Б
Зона | Нормативный угол, градусы, не менее |
Вверх | Вниз | Влево | Вправо |
А | 9 | 15 | 20 | 20 |
Б | 10 | 21 | 22 | + |
Примечание - Знак "+" (плюс) означает, что правая граница нормативной зоны Б симметрична левой границе относительно средней продольной плоскости ЛТС.
Расстояние между границами прозрачной части переднего окна и нормативной зоной Б по всему контуру должно быть не менее 25 мм.
Степень очистки нормативных зон
А и
Б представлены в
таблице 2.
Таблица 2
Степени очистки нормативных зон
А и
Б
Конструкция переднего окна | Нормативная зона, %, не менее |
А | Б |
Без средней стойки | 100 | 80 |
Со средней стойкой | 100 | 70 |
Угловые величины непросматриваемых зон, образуемые стойками переднего окна, не должны превышать, градусы:
- боковой - 7;
- средней - 4.
Стекла в кабине водителя должны соответствовать
ГОСТ 32565. В ЛТС должен быть обеспечен обогрев лобового и боковых стекол кабины водителя. ЛТС должно быть оснащено устройствами видеофиксации прямого обзора дорожной обстановки и рабочего места водителя.
4.29 Сиденье водителя ЛТС должно иметь возможность регулирования высоты, продольного положения, угла наклона спинки и подушки, жесткости подвески в зависимости от массы водителя.
4.30 В кабине водителя ЛТС и пассажирском помещении не должно быть коммутационной аппаратуры, работающей под напряжением контактной сети и электрооборудования с высоким (выше 40 В) напряжением, доступного для случайного прикосновения водителя или пассажиров.
4.31 На пульте управления в кабине водителя ЛТС или на отдельном щитке должна быть отражена текущая информация:
- о незакрытых служебных дверях;
- наличии и величине напряжения в контактной сети;
- наличии и величине силового тока;
- заряде/разряде аккумуляторной батареи;
- включении тормозных систем, указателя поворота, габаритных огней, дальнего света фар и аварийной сигнализации;
- скорости движения ЛТС;
- давлении в напорной и тормозной гидравлической или пневматической системе (при наличии).
ЛТС должны иметь диагностику и сигнализацию о неисправностях оборудования, обеспечивающие безопасность эксплуатации.
4.32 Конструкция (поверхность) пульта управления ЛТС должна исключать возникновение бликов, являющихся помехой для восприятия информации водителем.
4.33 В кабине водителя ЛТС должно быть установлено устройство безопасности, включающее аварийно-принудительное торможение.
4.34 Пассажирские ЛТС должны оборудоваться местами для инвалидов, в том числе в креслах-колясках, устройствами для их входа и выхода, сигнальными приспособлениями, средствами связи и сигнализацией при необходимости приведения в действие этих устройств.
4.35 В пассажирском ЛТС должно быть установлено устройство для аварийной остановки ЛТС, у каждой служебной двери должно быть установлено устройство для аварийного открывания дверей, а также кнопка визуальной или звуковой сигнализации водителю о необходимости открывания дверей. Устройство должно обеспечивать сигнализацию и при работе ЛТС по СМЕ.
4.36 Планировка пассажирского салона, расположение сидений и поручней, размеры проходов, конструкция привода дверей в пассажирских ЛТС должны соответствовать требованиям безопасности и обеспечивать возможность безопасной эвакуации пассажиров при авариях, а именно:
пассажирские сиденья (включая откидные) и пространство для сидящих пассажиров:
- минимальная ширина подушки сиденья, измеренная в центре этого места для сидения, должна составлять не менее 40 см;
- минимальная глубина подушки сиденья должна составлять 35 см;
- высота подушки сиденья 40 - 50 см;
- расстояние между сиденьями не менее 65 см;
- расстояние от середины индивидуального или места двойного сиденья до стенки трамвая должно составлять не менее 25 см;
- расстояние между серединами двойных сидений пассажиров должно составлять не менее 45 см.
Поручни и опоры для рук должны иметь надлежащую прочность, спроектированы и установлены таким образом, чтобы исключить возможность нанесения повреждения пассажирам.
Сечение поручней и опор для рук должно быть таким, чтобы пассажир мог легко ухватиться за них и крепко держаться. Длина любого поручня должна быть не менее 10 см, для того, чтобы на нем могла поместиться кисть руки. Любой размер этого сечения должен быть не менее 2 см и не более 4,5 см.
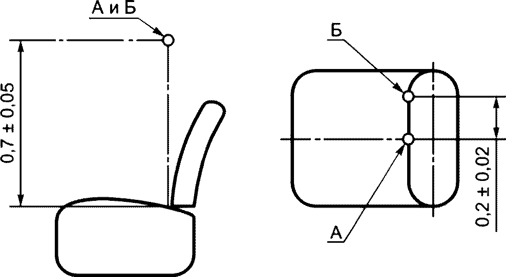
Поручни и опоры для рук должны быть предусмотрены в достаточном количестве для каждого участка пола, предназначенного для стоящих пассажиров. Это условие считается выполненным, если для всех возможных положений испытательного устройства, изображенного в
приложении В, его подвижная рука достигает по крайней мере до двух поручней или опоры для рук. Для каждого местоположения стоящего пассажира один из двух требуемых поручней или опор для рук должен быть расположен на высоте не более 150 см над уровнем пола в данном месте.
В зоне стояния пассажиров, которая не отделена сиденьями от боковых и задней стенок ЛТС, должны быть предусмотрены горизонтальные поручни, установленные параллельно стенкам на высоте 80 - 150 см от пола.
Проходы в ЛТС должны быть спроектированы и выполнены так, чтобы обеспечить свободное перемещение контрольного устройства, состоящего из двух соосных цилиндров и перевернутого усеченного конуса между ними и имеющего следующие размеры (см):
- диаметр нижнего цилиндра - 45;
- диаметр верхнего цилиндра - 55;
- высота нижнего цилиндра - 90;
- высота верхнего цилиндра - 50;
- общая высота - 190.
В чрезвычайных обстоятельствах на неподвижном ЛТС каждая служебная дверь с механическим приводом должна открываться изнутри (и в незапертом состоянии снаружи) при помощи специальных органов управления, которые функционируют независимо от всех других органов управления, в том числе при обесточивании электроприводов дверей.
В ЛТС должны быть предусмотрены аварийные выходы, которые должны равномерно размещаться вдоль длины ЛТС. В качестве аварийных выходов могут быть использованы окна, которые имеют легко разбиваемое безопасное стекло.
4.37 Электрические цепи управления, сигнализации и освещения ЛТС должны получать электроэнергию от собственной бортовой установки, состоящей из аккумуляторных батарей и зарядного агрегата (преобразователя, генератора). При питании от контактной сети электрические цепи управления, сигнализации и освещения должны быть работоспособны при обрыве клеммы аккумуляторной батареи. Зарядный агрегат должен быть способен возобновлять свою работу после исчезновения и повторного появления напряжения в контактной сети.
4.38 Все электрические соединения ЛТС должны быть выполнены по двухпроводной схеме. Допускается использование каркаса кузова и рамы тележки ЛТС для заземления устанавливаемого оборудования при наличии электрического соединения, рассчитанного на максимально возможный ток, между каркасом кузова и рамой тележки с устройством заземления. Должно быть обеспечено электрическое соединение колесного центра (ступицы) и бандажей и между заземляющими устройствами колесных пар.
4.39 Электрическое оборудование ЛТС должно быть защищено от коротких замыканий и перегрузок.
4.40 Аппараты защиты электрических цепей ЛТС должны обеспечивать селективное отключение поврежденных участков. В любой электрической цепи ЛТС при использовании только одного аппарата защиты, он должен быть установлен в провод положительной полярности.
4.41 Тяговые электрические аппараты должны соответствовать требованиям
ГОСТ 9219. Тяговые электродвигатели должны соответствовать требованиям
ГОСТ 2582. Изоляция смонтированного на ЛТС электрического оборудования, проводов и кабелей должна выдерживать испытательное напряжение высоковольтных цепей - 2500 В; цепи 400 В переменного тока - 2000 В; цепи 230 В переменного тока - 1750 В; низковольтные цепи - 750 В.
4.42 Защита от грозовых перенапряжений на ЛТС осуществляется разрядниками закрытого типа.
4.43 Электрическое оборудование ЛТС, за исключением токоприемника, разрядников, силовых резисторов и дросселей, должно иметь защиту от попадания пыли и влаги на внутренние поверхности корпусов, изоляционные элементы и токоведущие части электрооборудования в соответствии с
ГОСТ 14254. Должна быть обеспечена защита всех электрических устройств от пыли и сплошного обрызгивания.
4.44 В камере (отсеке) для аккумуляторных батарей ЛТС должна обеспечиваться естественная вентиляция. Ящики для аккумуляторов, корпуса элементов и поддоны должны быть изготовлены из негорючего или трудногорючего материала, их конструкция должна исключать возможность возникновения короткого замыкания между элементами батареи в случае вытекания электролита. Аккумуляторные батареи и подключаемые провода должны быть надежно закреплены.
4.45 Управление подъемом и опусканием токоприемника должно осуществляться из кабины водителя ЛТС. При установке на ЛТС привода с дистанционным управлением подъемом и опусканием токоприемника должна быть предусмотрена возможность аварийного опускания, опускания токоприемника вручную. Должно быть установлено устройство, исключающее самопроизвольный подъем токоприемника из опущенного состояния. Рабочий диапазон высоты токоприемника от УГР 4,2 - 6,0 м.
4.46 Монтаж электрического оборудования и проводов должен быть выполнен в соответствии с требованиями к внутреннему монтажу электрических изделий и с учетом технических условий на конкретную модель ЛТС.
4.47 При движении ЛТС в режиме автономного хода не должно происходить глубокого разряда аккумуляторных батарей.
4.48 Провода на напряжение контактной сети и провода на напряжение бортовой сети должны прокладываться раздельно на расстоянии не менее 250 мм друг от друга.
4.49 Кабельные каналы для жгутов электрической проводки изготавливаются из негорючего или трудногорючего материала в соответствии с
ГОСТ 12.1.044. Каналы должны быть защищены от попадания воды и пыли внутрь.
Прокладка жгутов проводов и кабелей должна осуществляться без натяжения, каждый провод или кабель должны иметь запас по длине для двукратного закрепления нового наконечника.
4.50 Кабели и провода, расположенные под полом ЛТС (вне кабельных каналов или труб) должны быть защищены оболочкой от воды и воздействия слабых растворов кислот и щелочей. Кабели и провода, расположенные на крыше ЛТС (вне кабельных каналов или труб), должны быть защищены оболочкой от воды и солнечной радиации.
4.51 Величина сопротивления изоляции электрических цепей ЛТС при включении всех машин и аппаратов при нормальных значениях климатических факторов внешней среды на сухом и чистом рельсовом пути, должна быть, не менее:
- между кузовом и электрическими цепями с напряжением контактной сети,
230 В или 400 В переменного тока ................................. 1,5 МОм;
- между электрическими цепями с напряжением контактной сети и цепями с
напряжением бортовой сети ........................................ 1,5 МОм;
- между кузовом и электрическими цепями с напряжением бортовой
сети ............................................................. 1,0 МОм.
4.52 Показатель плавности хода пассажирского ЛТС при установившейся скорости и номинальной нагрузке не более 3,5.
4.53 Требования к системе отопления:
- системы отопления кабины водителя и пассажирского салона должны быть независимыми;
- система отопления должна обеспечивать в кабине водителя во время движения ЛТС температуру не менее плюс 10 °C при температуре наружного воздуха минус 25 °C;
- система отопления должна обеспечивать на стоянке при закрытых дверях порожнего ЛТС средний перепад температур снаружи и внутри пассажирского салона ЛТС - не менее 20 °C;
- разность температур, измеренных на высоте от 0,1 до 1,8 м от уровня пола в различных точках пассажирского салона не более 8 °C;
- температура наружных поверхностей воздуховодов должна быть не выше плюс 70 °C.
4.54 Максимальный уровень внутреннего шума в кабине водителя при движении ЛТС со скоростью 40 км/ч не должен превышать 75 дБА. Максимальный уровень шума в пассажирском помещении, а также внешнего (наружного) шума, при движении ЛТС со скоростью 40 км/ч не должен превышать 80 дБА. При этих условиях уровни звукового давления в октавных полосах частот не должны превышать значений предельного спектра.
4.55 Уровень индустриальных радиопомех, создаваемых ЛТС, не должен превышать норм, установленных
ГОСТ 29205.
4.56 Кабина водителя и пассажирский салон (пассажирского ЛТС) должны быть оборудованы системой вентиляции. При наличии в конструкции ЛТС системы кондиционирования и выполнения ею требований, предъявляемых к системе вентиляции, допускается не оборудовать кабину водителя отдельной системой вентиляции.
4.57 Система вентиляции при самостоятельной работе или работе в составе системы отопления или кондиционирования должна обеспечить подачу наружного воздуха из расчета на одного человека, не менее:
- в кабину водителя ...........................................

;
- в помещение для пассажиров ..................................

.
4.58 При температуре внешней среды выше плюс 17 °C подаваемый в кабину водителя воздух не должен нагреваться более чем на 2 °C относительно температуры внешней среды.
4.59 Система вентиляции должна обеспечивать подвижность воздуха в кабине в зоне головы и пояса водителя, а также в пассажирском помещении в пределах от 0,5 до 1,5 м/с. При этом перепад между температурой наружного воздуха и температурами в кабине водителя и в пассажирском помещении, в зоне головы водителя (пассажира) при температуре окружающего воздуха плюс 25 °C не должен превышать 3 °C.
4.60 Требования к системе кондиционирования:
- не допускается в составе кондиционеров, а также холодильного оборудования, применяемых на ЛТС, использование озоноразрушающих хладагентов;
- скорость воздушного потока на выходе из системы кондиционирования не должна превышать 12 м/с, а температура воздуха должна быть не ниже 0 °C;
- скорость воздуха в зоне головы водителя (пассажиров) при работе системы кондиционирования не должна превышать 0,5 м/с;
- температура наружных поверхностей воздуховодов для холодного воздуха должна быть не менее 15 °C.
4.61 В пассажирских ЛТС освещенность в пассажирском салоне должна составлять:
- не менее 100 лк - в местах расположения сидений на уровне 0,86 м от пола;
- не менее 10 лк - в зоне подножек на уровне пола.
Равномерность распределения освещенности салона должна быть не менее 0,5 (отношение величины минимальной освещенности к максимальной).
В пассажирском ЛТС должно быть предусмотрено запасное освещение пассажирского салона. Освещенность в проходе и на площадках и подножках должна быть не менее 10 лк.
4.62 ЛТС должен иметь аварийные крэш-системы для защиты обслуживающего персонала и (или) пассажиров в той части конструкции, где это необходимо.
4.63 ЛТС должен быть оборудован бортовыми системами безопасности. Сбой системы управления при исправной работе бортовых устройств безопасности не должен приводить к нарушению безопасности ЛТС.
4.64 Допустимые значения общей и локальной вибрации на местах водителя и пассажиров должны соответствовать
[1].
4.65 Нормы допустимых значений электромагнитных полей на местах водителя ЛТС и пассажиров должны соответствовать
[1] и
ГОСТ 30804.4.3 (IEC 61000-4-3:2006).
4.66 Комплектность ЛТС.
4.66.1 Формуляр на ЛТС.
4.66.2 Комплект запасных частей, инструмента и принадлежностей, входящий в состав формуляра.
4.66.3 Руководство по эксплуатации.
4.66.4 Паспорта на комплектующие, согласно формуляру.
4.66.5 Руководство по эксплуатации комплекта тягового электрооборудования.
4.66.6 Комплект электромонтажных схем.
Перечень документации и количество экземпляров определяется заводом-изготовителем и может отличаться от перечня, приведенного в данном пункте.
4.67 Маркировка
Каждому ЛТС присваивается заводской порядковый номер.
На фирменной табличке, которая устанавливается на перегородке кабины водителя, наносится наименование производителя и модели ЛТС, месяц и год выпуска, заводской порядковый номер ЛТС, основные характеристики (для пассажирских - масса снаряженного ЛТС, количество сидячих мест, а также количество пассажиров при максимальной и номинальной пассажировместимости (8 и 5 чел./м2) и количество мест, предусмотренных для людей в инвалидных колясках; для грузовых - грузоподъемность, объем перевозимых грузов; для специальных ЛТС - основные характеристики специального оборудования, например длина и диаметр щетки снегоочистителя, размеры отвала).
Заводской порядковый номер ЛТС дублируется на раме кузова (в передней части) ударным способом.
5.1 Метод измерения габаритных размеров
5.1.1 Длина ЛТС (по кузову)
ЛТС без нагрузки (порожний) располагается на ровном и прямом участке пути, уровень головки рельса совпадает с уровнем полотна. К наиболее выступающему габариту в передней части кузова прикладываем уровень и опускаем вертикаль на полотно (одна часть прямой уровня касается самой выступающей части кузова с передней стороны, другая часть опирается на полотно, выставляем по уровню вертикаль) получаем точку A, через точку A используя уровень (2 м) проводим перпендикулярную прямую к направлению рельса (для получения угла 90° используем шаблон 100 x 100 x 50 мм) и выносим ее за внешний габарит по ширине ЛТС, получаем точку B. Замеряем расстояние от внешнего края рельса до точки B. Устанавливаем шаблон 100 x 100 x 50 мм в точке B. В задней части кузова проделываем те же операции, что и в передней части кузова получаем точку C и на прямой перпендикулярной рельсам от внешнего края рельса откладываем расстояние полученное ранее (от внешнего края рельса до точки B) получаем точку B1. В точке B1 устанавливаем шаблон. Лазерным дальномером измеряем расстояние от точки B до точки B1 (между двумя шаблонами). Расстояние BB1 - длина ЛТС.
5.1.2 Ширина ЛТС (по кузову)
ЛТС располагается на ровном и прямом участке пути, уровень головки рельса совпадает с уровнем полотна. К наиболее выступающему габариту боковой части кузова (в районе передней стойки) прикладывается уровень (2 м) и опускается вертикаль на полотно рельсового пути (одна часть прямой уровня касается самой выступающей боковой части кузова, другая часть опирается на полотно), определяется точка A.
В точке A устанавливается шаблон 100 x 100 x 50 мм. С другой стороны ЛТС проводятся те же операции в районе передней стойки (стойки симметричны относительно продольной оси ЛТС), определяется точка A1. В точке A1 устанавливается второй шаблон 100 x 100 x 50 мм. Лазерным дальномером измеряется расстояние от точки A до точки A1 (между двумя шаблонами). Расстояние AA1 - ширина ЛТС. Замеры производятся в передней, средней и задней частях ЛТС.
5.1.3 Высота ЛТС с несъемными частями от головки рельса
ЛТС располагается на ровном и прямом участке пути, уровень головки рельса совпадает с уровнем полотна 1, высокое напряжение отключено. Один человек находится на крыше ЛТС и прикладывает уровень (2 м) к самой высокой несъемной части ЛТС (один конец уровня касается самой высокой несъемной части другой выносится за габарит ЛТС по ширине). По уровню (2 м) выставляется горизонталь. Второй человек, находясь внизу, совмещает уровень (1 м) с лазерным дальномером, выставляет вертикаль (луч лазера должен попасть на верхний уровень (2 м) и делает замер лазерным дальномером от полотна до вынесенного конца уровня (2 м)) - высота ЛТС с несъемными частями от головки рельса.
5.1.4 Высота ЛТС со сложенным токоприемником от головки рельса
ЛТС располагается на ровном и прямом участке пути, уровень головки рельса совпадает с уровнем полотна
<1>, высокое напряжение отключено. Методика измерений аналогична
пункту 5.1.3, только уровень (2 м) располагается по касательной к наивысшей точке сложенного токоприемника.
--------------------------------
<1> Если головка рельса находится ниже уровня полотна, то необходимо замерить это расстояние и прибавить его к полученному результату, если головка рельса находится выше уровня полотна, то это расстояние надо отнять от полученного результата. Для того, чтобы замерить это расстояние надо к точке установки лазерного дальномера приложить уровень в направлении рельса и установить по уровню горизонталь. В точке пересечения уровня и рельса замерить рулеткой расстояние между головкой рельса и плоскостью уровня, это расстояние прибавить к замеренной высоте ЛТС. Если уровень головки рельса находится выше полотна, то уровень прикладывается к головке рельса и горизонталь проводится к точке расположения лазерного дальномера при замере высоты, расстояние замеряется от данной точки до плоскости уровня. Полученное расстояние надо отнять от измеренной высоты ЛТС.
5.1.5 Неопределенность измерений
Неопределенность измерений не более 2 мм.
5.2 Метод проведения прочностного расчета
Расчет на прочность металлоконструкций кузова ЛТС должен быть выполнен методом конечных элементов (МКЭ) с использованием системы трехмерного проектирования.
Расчет элементов кузовов ЛТС на прочность проводится по допускаемым напряжениям и запасам устойчивости. Для отдельных элементов кузова должны дополнительно выполняться расчеты на сопротивление усталости при установленном количестве циклов.
Расчет на прочность металлоконструкций кузова ЛТС проводится по допускаемым предельным нагрузкам при следующих условиях:
- максимальная вертикальная статическая нагрузка при максимальной нагрузке ЛТС;
- вывода неисправного порожнего ЛТС с линии вспомогательным ЛТС;
- аварийный наезд ЛТС на препятствие;
- подъем ЛТС вместе с тележками за переднюю или заднюю часть при сходе с рельсов, для сочлененных ЛТС подъем средней части с тележкой при сходе с рельсов с использованием подъемного приспособления;
- подъем ЛТС вместе с тележками под опоры, предусмотренные для подъема домкратами, размещенными по диагонали;
- подъем вместе с тележками краном.
Расчет кузова в эксплуатационном режиме осуществляется по величине напряжений, не превышающих предел выносливости при установленном количестве циклов. Расчет проводится для следующих режимов движения ЛТС с расчетной номинальной полезной нагрузкой:
- разгон ЛТС до конструкционной скорости или торможение с этой скорости при движении в кривой;
- трогание с места, торможение с малой скорости до остановки.
Расчет тележек должен проводиться при максимальной нагрузке в режимах разгона ЛТС до конструкционной скорости или торможение с этой скорости при движении в кривой и трогания с места, торможения с малой скорости до остановки.
Оценка прочности элементов каркаса кузова, узла сочленения, элементов тележек проводится путем сравнения расчетных напряжений с допустимыми.
Нормы для расчета механической части ЛТС приведены в
приложении А.
5.3 Метод прочностных испытаний
После определения опасных сечений (максимальных напряжений) в металлоконструкциях кузова и тележек в расчете на прочность, должна быть произведена экспериментальная проверка соответствия прочностных показателей кузова ЛТС в заданных условиях эксплуатации путем установки измерительных датчиков в наиболее нагруженных точках каркаса кузова с указанием в конструкторской документации места установки и ориентации датчиков. При проведении прочностных испытаний осуществляется измерение относительных деформаций в наиболее напряженных сечениях металлоконструкции рамы ЛТС. При проведении динамических испытаний измеряют величину динамических относительных деформаций, возникающих при движении в ЛТС с заданной нагрузкой с различными скоростями на характерных участках пути. По величине относительных деформаций определяют напряжение в металлоконструкциях.
5.4 Метод проверки соответствия электрооборудования ЛТС условиям эксплуатации
5.4.1 Для проверки соответствия электрооборудования ЛТС условиям эксплуатации в соответствии с
ГОСТ 15150 проводятся лабораторные испытания:
- на холодостойкость методом выдержки электрооборудования в термокамере при заданной температуре;
- теплостойкость методом выдержки электрооборудования в термокамере при заданной температуре;
- влагостойкость методом выдержки электрооборудования во влагокамере при заданной относительной влажности.
До начала испытаний на холодостойкость и теплостойкость проводят функциональные испытания, измерения сопротивления изоляции, после завершения каждого испытания повторно проводят функциональные испытания, с последующей выдержкой при нормальной температуре в 4 часа также проводят функциональные испытания.
До начала испытаний на влагостойкость проводят функциональные испытания, измерения сопротивления изоляции, после завершения испытаний повторно проводят функциональные испытания, измерения сопротивления изоляции, после выдержки в нормальных условиях в течение 10 часов также проводят функциональные испытания, измерения сопротивления изоляции.
5.4.2 Для проверки соответствия электрооборудования ЛТС условиям эксплуатации в соответствии с
ГОСТ 17516.1 проводятся следующие испытания:
- на прочность при воздействии синусоидальных вибраций;
- прочность при воздействии механических ударов одиночного действия.
При испытании на прочность при воздействии синусоидальных вибраций электрооборудование должно быть жестко закреплено на платформе вибростенда в эксплуатационном положении, испытывают в обесточенном состоянии. После завершения испытаний проводят осмотр на наличие повреждений. До начала испытаний и после завершения испытаний повторно проводят функциональные испытания.
Испытания на прочность на воздействие механических ударов одиночного действия проводят на копре в обесточенном состоянии, электрооборудование должно быть жестко закреплено на плите копра, испытания проводят путем воздействия ударов поочередно в каждом из противоположных направлений только в вертикальном и одном горизонтальном направлениях при пиковом ударном ускорении. После завершения испытаний проводится осмотр на наличие повреждений. До начала испытаний и после завершения испытаний повторно проводят функциональные испытания.
5.4.3 Метод проверки на степени защиты, обеспечиваемые оболочками, в соответствии с
ГОСТ 14254.
5.5 Метод проверки системы торможения
5.5.1 Тормозные свойства ЛТС при служебном (электродинамическом) торможении проверяют при следующих условиях:
- на горизонтальном прямом участке пути (уклон не более 0,3%), сухих и чистых рельсах;
- номинальной нагрузке.
5.5.2 Перед проверкой предварительно размещают на ЛТС, ориентируют, закрепляют и включают прибор для проверки тормозных систем в соответствии с инструкцией изготовителя прибора.
5.5.3 ЛТС разгоняют до нормативной скорости движения 40 +/- 2 км/ч и выполняют торможение при максимальной установке контроллера торможения, фиксируя с помощью прибора начало торможения и изменение замедления ЛТС от начала торможения до остановки.
5.5.4 Фиксируют следующие параметры: начало торможения, скорость ЛТС V, пройденный путь S, замедление b, временной интервал t.
Определяют параметры: тормозной путь, среднее установившееся замедление, среднее замедление за период торможения.
5.5.5 Тормозные свойства ЛТС при совместном действии электродинамического, механического и рельсового тормоза (экстренном торможении) проверяют аналогично методике, изложенной в
пунктах 5.5.1 -
5.5.4.
5.5.6 Проверку удержания ЛТС на уклоне 9% стояночным механическим тормозом проводят путем прямого измерения динамометром усилия тяги необходимого для начала движения, заторможенного ЛТС. Измеренное усилие должно быть больше скатывающей силы ЛТС с максимальной нагрузкой на уклоне 9%.
5.5.7 Неопределенность измерений
Значения неопределенности измерений, не более:
- скорости 0,1 км/ч;
- замедления 1%;
- длины тормозного пути 1%;
- времени торможения 0,1 с;
- тормозного усилия 0,5%.
5.6 Метод проверки бандажей колес (цельнокатаных колес)
5.6.1 Метод проверки профиля наружной поверхности бандажей колес (цельнокатаных колес) в соответствии с ГОСТ 25712.
5.6.2 Метод проверки механических свойств бандажей в соответствии с
ГОСТ 5257.
5.7 Метод проверки звукового сигнала
5.7.1 ЛТС испытывают без полезной нагрузки.
5.7.2 ЛТС должен располагаться на ровном с уклоном не более 0,3% и прямом участке пути, расположенном на открытом пространстве радиусом около 50 метров.
5.7.3 Испытания проводят при следующих климатических условиях:
- отсутствии атмосферных осадков;
- атмосферном давлении - 1013 гПа (760 мм рт. ст.), допустимое отклонение +/- 5%;
- температуры окружающего воздуха - от минус 10 до плюс 30 °C;
- скорости ветра - не более 5 м/с;
- относительной влажности до 80%.
5.7.4 Напряжение в бортовой сети в соответствии с
ГОСТ 9219.
5.7.5 Проводится измерение максимальной величины уровня звука при включении звукового сигнала, измеряется снаружи на расстоянии 7 м от передней части ЛТС. При измерении уровень акустического давления окружающего шума и шума ветра должен быть на 10 дБ(А) ниже измеряемого звука.
5.7.6 Неопределенность измерений
Неопределенность измерений не более 1 дБ(А).
5.8 Метод проверки установки устройств наружного освещения и световой сигнализации
Проверка установки устройств наружного освещения и световой сигнализации на ЛТС заключается в визуальной проверке наличия и соответствия устройств требованиям
пункта 4.24.
5.9 Метод проверки установки приборов непрямого обзора
Поля обзора определяют на порожнем ЛТС.
Проводится определение точки
R (контрольной точки сиденья) в соответствии с ГОСТ 20304. Основные размеры объемного механизма для определения точки
R указаны на
рисунке Б.2 в приложении Б.
Расположение осей в соответствии с
рисунком Б.1 в приложении Б.
Координаты точки "H" и величина фактического угла наклона туловища, установленные при помощи объемного механизма определения точки "H" сравнивают соответственно с координатами точки "R" и величиной конструктивного угла наклона туловища, указанными заводом-изготовителем.
Относительное положение точки "R" и точки "H" и соотношение между конструктивным углом наклона туловища и фактическим углом наклона туловища считают удовлетворительными для рассматриваемого места для сидения, если точка "H", определенная ее координатами, находится в пределах квадрата, горизонтальные и вертикальные стороны которого, равные 50 мм, имеют диагонали, пересекающиеся в точке "R", и если фактический угол наклона туловища не отличается от конструктивного угла наклона туловища более чем на 5°.
Поля обзора устанавливают на основе амбинокулярного обзора, причем глаза водителя находятся в "окулярных точках", определенных как две точки, удаленные друг от друга на 65 мм и расположенные вертикально на расстоянии 635 мм над точкой "R", обозначающей сиденье водителя трамвая. Соединяющая их прямая линия проходит перпендикулярно вертикальной продольной средней плоскости трамвая. Центр сегмента, соединяющего обе окулярные точки, находится на вертикальной продольной плоскости, которая должна проходить через центр сиденья водителя трамвая, определенного заводом-изготовителем.
5.10 Метод проверки обзорности с места водителя
5.10.1 Проводится определение точки
R аналогично
пункту 5.9.
5.10.2 Проводится определение точек
V и
P. Значения величин

и

в зависимости от угла наклона туловища:
Угол наклона туловища, градусы |  , мм |  , мм | Угол наклона туловища, градусы |  , мм |  , мм |
5 | -186 | 28 | 23 | -17 | 5 |
6 | -176 | 27 | 24 | -9 | 2 |
7 | -167 | 27 | 25 | 0 | 0 |
8 | -157 | 26 | 26 | 9 | -3 |
9 | -147 | 26 | 27 | 17 | -5 |
10 | -137 | 25 | 28 | 26 | -8 |
11 | -128 | 24 | 29 | 34 | -11 |
12 | -118 | 23 | 30 | 43 | -14 |
13 | -109 | 22 | 31 | 51 | -17 |
14 | -99 | 21 | 32 | 59 | -21 |
15 | -90 | 20 | 33 | 67 | -24 |
16 | -81 | 18 | 34 | 76 | -28 |
17 | -71 | 17 | 35 | 84 | -31 |
18 | -62 | 15 | 36 | 92 | -35 |
19 | -53 | 13 | 37 | 100 | -39 |
20 | -44 | 11 | 38 | 107 | -43 |
21 | -35 | 9 | 39 | 115 | -47 |
22 | -26 | 7 | 40 | 123 | -52 |
Примечание -  и  - величины, характеризующие, соответственно, продольное и вертикальное смещения условного положения глаз водителя относительно контрольной точки посадки R в зависимости от угла наклона туловища водителя. |
Значения

- в зависимости от величины продольной регулировки сиденья приведены в
таблице 4 (размеры в мм).
Продольная регулировка сиденья | |
До 108 | 0 |
Св. 108 до 120 включ. | -13 |
Св. 120 до 132 включ. | -22 |
Св. 132 до 145 включ. | -32 |
Св. 145 до 158 включ. | -42 |
Св. 158 | -48 |
Примечание -  - величина, характеризующая продольное смещение условного положения глаз водителя относительно контрольной точки посадки R в зависимости от продольной регулировки сиденья для нормального управления. |
Из точек
V1 и
V2 (
рисунок Б.4 приложение Б) на ветровое стекло наносят границы нормативной зоны
A. Верхняя граница определяется пересечением полуплоскости, проведенной через ось
Y, проходящую через точку
V1 под нормативным углом "вверх" по отношению к горизонтальной плоскости
X(
YZ), с поверхностью переднего окна.
Нижняя граница определяется пересечением полуплоскости, проведенной через ось Y, проходящую через точку V2 под нормативным углом "вниз" по отношению к горизонтальной плоскости X(YZ), с поверхностью переднего окна.
Левая граница определяется пересечением полуплоскости, проведенной через ось Z, проходящую через точки V1 и V2 под нормативным углом "влево" по отношению к продольной вертикальной плоскости Y(XZ), поверхностью переднего окна.
Правая граница определяется пересечением полуплоскости, проведенной через ось Z, проходящую через точки V1 и V2 под нормативным углом "вправо" по отношению к продольной вертикальной плоскости Y(XZ), с поверхностью переднего окна.
Верхняя, нижняя и левая границы нормативной зоны Б определяются аналогично соответствующим границам нормативной зоны А. Правая граница определяется как симметричная левой границе относительно средней продольной плоскости ЛТС. На ветровое стекло наносят контур, отстоящий на расстоянии 25 мм от границы прозрачной части переднего окна.
Верхняя, нижняя и левая границы нормативной зоны Б на ветровом стекле определяются аналогично соответствующим границам нормативной зоны А.
Правая граница определяется как симметричная левой границе относительно средней продольной плоскости ЛТС.
На переднее окно наносят контур, отстоящий на расстоянии 25 мм от границы прозрачной части переднего окна.
Непросматриваемые зоны, создаваемые боковыми и средней стойками переднего окна в поле зрения водителя, располагаются в плоскостях, проходящих через точки
P. Определяют непросматриваемые зоны из точек
E (
рисунок Б.6 приложение Б), характеризующих положение правого и левого глаза водителя при повороте головы в направлении стойки. При этом учитывают зоны, создаваемые как самой стойкой переднего окна, так и передней стойкой двери с примыкающими к ним непрозрачными элементами.
Из точек
E (
рисунок Б.6, приложение Б), координаты которых приведены на
рисунке Б.5, приложение Б, в соответствии с поправками, указанными в
таблицах 3 и
4, определяют углы непросматриваемых зон, образуемые стойками переднего окна:
- для левой стойки переднего окна из точек E1 и E2;
- для правой стойки переднего окна из точек E3 и E4;
- для средней стойки переднего окна из точек E5 и E6.
Угол непросматриваемой зоны, образуемый каждой стойкой, измеряют в горизонтальной плоскости, проходящей через точки
P1 -
P3 и
E1 -
E6 (
рисунок Б.6, приложение Б).
Угол непросматриваемой зоны, образуемый левой стойкой переднего окна, - это угол между прямой с началом в точке E2, параллельной лучу, выходящему из точки E1, образующему угол 90° с прямой E1E2 и касающемуся наружного края сечения стойки, и лучом, выходящим из точки E3 и касающимся внутреннего края сечения стойки.
Угол непросматриваемой зоны, образуемый правой стойкой переднего окна, - это угол между прямой с началом в точке E6 параллельной лучу, выходящему из точки E5, образующему угол 90° с прямой E3E4 и касающемуся наружного края сечения стойки, и лучом, выходящим из точки E3 и касающимся внутреннего края сечения стойки.
Угол непросматриваемой зоны, образуемый правой стойкой переднего окна, не измеряют, если боковые стойки расположены симметрично относительно средней продольной плоскости ЛТС.
Угол непросматриваемой зоны, образуемый средней стойкой переднего окна, - это угол между прямой с началом в точке E6 параллельной лучу, выходящему из точки E5, образующему угол 90° с прямой E5E6 и касающемуся левого по ходу ЛТС края сечения стойки, и лучом, выходящим из точки E6 и касающимся правого по ходу ЛТС края сечения стойки.
5.10.3 Определение непросматриваемых зон в нормативном поле обзора П
Нормативное поле обзора П находится впереди плоскости, параллельной
X(
ZY) и проходящей через точки
V1 и
V2 (
рисунок Б.7, приложение Б). Из точек
V1 и
V2 на боковые окна (стены кабины) наносят следы указанной плоскости, ограничивающей нормативное поле обзора П в переднем 180°-ном секторе.
Сверху нормативное поле обзора П ограничено горизонтальной плоскостью, проходящей через точку V1. Из точки V1 на окна и стойки переднего окна наносят след горизонтальной плоскости, ограничивающей нормативное поле обзора П сверху, до пересечения со следами, ограничивающими нормативное поле обзора П в переднем 180°-ном секторе.
Снизу нормативное поле обзора П ограничено тремя плоскостями, проходящими через точку
V2 и наклонными вниз к горизонтальной плоскости, параллельной
Z(
XY) под углом

. Первая плоскость перпендикулярна плоскости
Y(
XZ) и проходит под наклоном вперед. Вторая плоскость перпендикулярна плоскости
X(
ZY) и проходит под наклоном влево. Третья плоскость перпендикулярна плоскости
X(
ZY) и проходит под наклоном вправо.
Из точки
V2 под заданным углом

вниз на окна и стойки переднего окна наносят:
- след второй плоскости, ограничивающей нормативное поле обзора П снизу в боковом направлении влево, до пересечения со следом на левом боковом окне, ограничивающем нормативное поле обзора П в переднем 180°-ном секторе, и следом первой плоскости нижней границы нормативного поля обзора П;
- след третьей плоскости, ограничивающей нормативное поле обзора П снизу в боковом направлении вправо, до пересечения со следом первой плоскости нижней границы нормативного поля обзора П и следом на правом боковом окне, ограничивающем нормативное поле обзора П в переднем 180°-ном секторе.
5.10.4 Неопределенность измерений:
- линейные размеры не более 0,5 мм;
- угловые размеры не более 0,2°.
5.11 Метод проверки безопасности пассажирского салона
5.11.1 Проверка безопасности пассажирского салона производится при нормальных климатических условиях при помощи измерительной рулетки и шаблонов на ЛТС без нагрузки.
5.11.2 Неопределенность измерений линейных размеров не более 0,5 мм.
5.12 Метод проверки электробезопасности
5.12.1 Защита от коротких замыканий и перегрузок по
пункту 4.40 и обеспечение селективного отключения поврежденных участков по
пункту 4.41, установка аппаратов защиты цепи по
пункту 4.41, защита от атмосферных перенапряжений по
пункту 4.43, устройства для защиты от радиопомех проверяются визуально с учетом результатов анализа электрической схемы ЛТС и его спецификации.
5.12.2 Проверка расстояний между токоведущими частями должна проводиться при отсутствии напряжения на токоведущих частях при помощи измерительных инструментов (линейка, штангенциркуль).
5.12.3 Проверка электрической прочности изоляции электрических аппаратов (блоков) должна осуществляться следующим образом:
- соединяют шинами между собой отдельно низковольтные (цепи управления) и отдельно (в блоках, где они имеются) силовые высоковольтные выводы;
- между кузовом и электрическими цепями с напряжением низковольтных цепей подключают электрические выводы испытательной установки к общей шине низковольтных цепей (+) и к кузову ЛТС (-), постепенно со скоростью нарастания не более 100 В/с поднимают напряжение с 0 до 750 В (действующее значение переменного напряжения частотой 50 Гц), выдерживают 1 мин, затем снижают до 0 и отсоединяют выводы испытательной установки;
- между кузовом, низковольтными цепями и электрическими цепями с напряжением контактной сети - соединяют общую шину низковольтных цепей с кузовом подключают электрические выводы испытательной установки к общей шине силовых высоковольтных цепей (+) и к кузову (-), постепенно со скоростью нарастания не более 100 В/с поднимают напряжение с 0 до 2500 В (действующее значение переменного напряжения частотой 50 Гц), выдерживают 1 мин, затем снижают до 0 и отсоединяют выводы испытательной установки.
5.12.4 Проверка сопротивления изоляции проводится на отключенных высоковольтных и низковольтных цепях.
Измерение сопротивления изоляции выполняют на вводе высокого или низкого напряжения соответственно.
Проверка сопротивления изоляции электрооборудования в нормальных климатических условиях должна осуществляться следующим образом:
- соединяют шинами между собой отдельно низковольтные (цепи управления) и отдельно (в составных частях комплекта, где они имеются) силовые высоковольтные выводы;
- между кузовом и электрическими цепями с напряжением низковольтных цепей мегомметром на 500 В измеряют сопротивление изоляции между общей шиной низковольтных цепей (+) и кузовом ЛТС (-);
- между кузовом ЛТС и электрическими цепями с напряжением контактной сети мегомметром на 1000 В измеряют сопротивление изоляции между общей шиной силовых высоковольтных цепей (+) и кузовом ЛТС (-).
Каждое измерение проводят в течение одной минуты.
Когда несколько цепей или их частей отключают защитой минимального напряжения (например, контакторами, отключающими все токоведущие проводники), сопротивление изоляции этих цепей или их частей измеряют раздельно.
5.12.5 Неопределенность измерений сопротивления изоляции не более 15%.
5.13 Метод определения плавности хода
5.13.1 ЛТС испытывают без полезной нагрузки и с номинальной нагрузкой. Данные о фактической загрузке ЛТС (в т.ч. масса измерительной аппаратуры, вспомогательного оборудования, испытателей и т.п.) должны быть указаны при оформлении результатов измерений.
5.13.2 Силовое и вспомогательное оборудование ЛТС, которое может служить источником дополнительных вибраций, должно быть по возможности отключено. Если отключение силового и вспомогательного оборудования не представляется возможным, сведения о режиме работы оборудования должны быть указаны при оформлении результатов испытаний.
| | ИС МЕГАНОРМ: примечание. В официальном тексте документа, видимо, допущена опечатка: пункт 1.5.1 отсутствует. | |
5.13.3 Допускается отклонение скорости движения ЛТС при измерениях в интервале +/- 10% от среднего значения при рассматриваемом режиме работы, но не более половины величины интервала скоростей по пункту 1.5.1.
5.13.4 В ЛТС должны находиться 2 человека: водитель и испытатель. Допускается присутствие второго испытателя. Наличие посторонних предметов не допускается.
5.13.5 Испытания проводят при следующих климатических условиях:
- атмосферном давлении - 1013 гПа (760 мм рт. ст.), допустимое отклонение +/- 5%;
- температуре окружающего воздуха от минус 10 до +35 °C;
- относительной влажности воздуха до 80%.
5.13.6 Испытания следует проводить на прямых участках пути и участках, имеющих закругления с R > 600 м, с уклонами не более 0,03, техническое состояние которых соответствует действующим Правилам технической эксплуатации ЛТС и обеспечивает движение испытуемого ЛТС с конструкционной скоростью.
Общая длина участков пути для проведения испытаний должна быть не менее 2 км.
5.13.7 Средства определения показателя плавности хода
Показатель плавности хода ЛТС определяют по результатам измерений виброускорений в кузове ЛТС. Средства измерений виброускорений кузова должны обеспечивать измерение виброускорений в диапазоне частот от 0,5 до 20 Гц и отвечать требованиям
ГОСТ ИСО 8041.
Величина среднего квадратического откорректированных виброускорений получается путем обработки значений логарифмического уровня виброускорений в третьоктавных полосах частот спектра, полученных с помощью частотного анализатора.
5.13.8 Проведение измерений виброускорений
Способ и устройство крепления вибропреобразователя не должны оказывать влияния на характер контролируемой вибрации и вносить погрешности в измерения.
Собственная частота закрепленного вибропреобразователя с деталями для крепления должна быть не ниже 200 Гц.
Крепление вибропреобразователя на контролируемом объекте может проводиться резьбовой шпилькой или магнитом, на клею, пастах или другим способом, обеспечивающим собственную частоту закрепленного вибропреобразователя в соответствии с вышеприведенным значением.
5.13.9 Допускается разбивать суммарное время регистрации T виброускорений при движении с данной скоростью V на отрезки продолжительностью Tj, каждому из которых соответствует свое среднее квадратическое значение корректированного виброускорения aj (м/с2), замеренного на неперекрывающихся участках пути. Тогда среднее квадратическое значение корректированного виброускорения для скорости V определяется по формуле

(1)
где Tj - продолжительность j-го отрезка измерения, с;
T - суммарное время измерения при движении со скоростью V, с;
aki - среднее квадратическое значение корректированного виброускорения, м/с2, определяется по формуле

(2)
где fн = 0,5 Гц - значение нижней граничной, частоты диапазона измерения показателя плавности хода;
fв = 20 ГЦ - значение верхней граничной частоты диапазона измерения показателя плавности хода;
Si(f) - функция спектральной плотности виброускорения на i-ом отрезке измерения, м2·С-4·Гц-1;
qн(f) - значения нормированной амплитудно-частотной характеристики корректирующего фильтра, определяемые формулой
| | ИС МЕГАНОРМ: примечание. Формула дана в соответствии с официальным текстом документа. | |

(3)
где f - частота колебаний, Гц.
Вычисление показателя плавности хода для реализации продолжительностью Ti производится по формуле

(4)
где

- для вибрации, действующей в вертикальном направлении,

- для вибрации, действующей в поперечном направлении,
aki - среднее квадратическое значение корректированного виброускорения, м/с2.
Полученные для отдельных реализаций длительностью Ti значения показателей плавности хода Wi могут быть усреднены для каждой скорости V движения по формуле

(5)
5.13.10 Неопределенность измерений виброускорений не более 0,5 дБ.
5.14 Метод проверки системы отопления
5.14.1 Подготовка к испытаниям
5.14.1.1 ЛТС, предназначенный для испытаний, должен быть технически исправен, отрегулирован, обкатан и укомплектован.
5.14.1.2 ЛТС испытывают без полезной нагрузки.
5.14.1.3 Оборудование ЛТС, работающее во время движения, при измерениях должно быть включено.
5.14.1.4 Передвижные регулируемые сиденья, возле которых проводятся измерения, должны находиться в среднем положении, спинки сидений - в нормальном положении.
5.14.1.5 В ЛТС должны находиться два человека: водитель и испытатель. Допускается присутствие второго испытателя.
5.14.1.6 При проведении испытаний системы отопления пассажирского салона и кабины водителя должны работать в системе максимальной производительности.
5.14.2 Условия проведения испытаний
Испытания проводят при следующих климатических условиях:
- отсутствии атмосферных осадков;
- атмосферном давлении - 1013 гПа (760 мм рт. ст.), допустимое отклонение +/- 5%;
- температуре окружающего воздуха от минус 45 до плюс 5 °C;
- относительной влажности до 80%;
- скорости ветра не более 5 м/с.
5.14.3 Определение температур на рабочем месте водителя при работе системы отопления кабины водителя во время движения ЛТС
5.14.3.1 Измерение температуры в кабине водителя ЛТС производится последовательно в зоне размещения ног, пояса и головы водителя.
5.14.3.2 Измерение температуры проводится в плоскости продольной симметрии сиденья водителя на высоте 100 мм, 600 мм, 1200 мм от поверхности пола и на расстоянии 250 мм от переднего края подушки сиденья.
5.14.3.3 Измерения проводятся при движении ЛТС со скоростью 20 - 25 км/ч при закрытых форточках и двери кабины водителя.
5.14.4 Определение среднего перепада температур снаружи и внутри ЛТС при работе системы отопления на стоянке
5.14.4.1 Измерения температуры в пассажирском помещении ЛТС проводят последовательно у всех рядов сидений, размещенных вдоль правого и левого бортов ЛТС.
5.14.4.2 Измерения температуры у каждого из рядов сидений проводятся в плоскости продольной симметрии сиденья на высоте 100 мм от поверхности пола и на расстоянии 250 мм от переднего края подушки сиденья.
5.14.4.3 Измерения проводят на стоянке при закрытых форточках и дверях пассажирского помещения.
5.14.5 Определение разности температур в различных точках пассажирского помещения ЛТС при работе системы отопления
5.14.5.1 Измерения температуры в пассажирском помещении ЛТС проводят последовательно у всех сидений, размещенных вдоль правого и левого бортов машины.
5.14.5.2 Измерения температуры у каждого из сидений проводят в плоскости продольной симметрии сиденья на высоте 100 мм, 860 мм, 1800 мм от поверхности пола и на расстоянии 250 мм от переднего края подушки сиденья.
5.14.5.3 Измерения проводят на стоянке при закрытых форточках и дверях пассажирского салона.
5.14.6 Неопределенность измерений
Неопределенность измерений температуры воздуха не более 0,5 °C.
Неопределенность измерений линейных размеров не более 0,5 мм.
5.15 Метод измерений внутреннего шума
5.15.1 Подготовка к испытаниям
5.15.1.1 ЛТС, предназначенный для испытаний, должен быть технически исправен, отрегулирован, обкатан и укомплектован.
5.15.1.2 ЛТС испытывают без полезной нагрузки.
5.15.1.3 При измерениях окна, люки в крыше и отверстия для вентиляции должны быть закрыты.
5.15.1.4 Оборудование ЛТС, работающее во время движения, при измерениях должно быть включено.
5.15.1.5 Передвижные регулируемые сиденья, возле которых проводятся измерения, должны находиться в среднем положении, спинки сидений должны находиться в нормальном положении.
5.15.1.6 В ЛТС должны находиться два человека: водитель и испытатель. Допускается присутствие второго испытателя. Наличие посторонних предметов не допускается.
5.15.1.7 Испытания следует проводить на прямолинейном бесстыковом участке рельсового пути. При этом рельсы должны быть сухими, чистыми и находиться в хорошем техническом состоянии. Предельный уклон измерительного участка не должен превышать 1%. На расстоянии 20 м от продольной оси измерительного участка не должны находиться большие объекты, которые могли бы отражать звук.
5.15.2 Условия проведения испытаний
5.15.2.1 Испытания проводят при следующих климатических условиях:
- отсутствии атмосферных осадков;
- атмосферном давлении - 1013 гПа (760 мм рт. ст.), допустимое отклонение +/- 5%;
- температуре окружающего воздуха - от минус 10 до плюс 30 °C;
- относительной влажности до 80%.
- скорости ветра - не более 5 м/с.
5.15.2.2 Уровень шумовых помех должен быть не менее чем на 10 дБА ниже измеряемого уровня шума. Если это условие не соблюдается, следует внести поправки на уровень помех по
ГОСТ 12.1.026.
5.15.2.3 При измерении шума оборудование ЛТС (отопитель, вентиляционная установка) должны работать в режиме, соответствующем наиболее шумной работе.
5.15.2.4 Измерения уровня шума следует проводить в следующих точках:
- у сиденья водителя;
- в пассажирском помещении ЛТС над первым, средним и последним рядом сидений, у сидений, расположенных ближе к продольной оси симметрии ЛТС.
5.15.2.5 Ось максимальной чувствительности микрофона должна находиться в направлении движения ЛТС. Микрофон, расположенный у сидений пассажиров, устанавливают в точке А, указанной на
рисунке 2. Микрофон, расположенный у сиденья водителя, должен быть смещен от его оси симметрии на (0,2 +/- 0,02) м в направлении центра ЛТС согласно точке Б (см.
рисунок 2).
Размеры в метрах
Рисунок 2 - Положение микрофона при проведении измерений
Расстояние микрофона от стенок кабины или лиц, проводящих измерения, должно быть не менее 0,15 м. Если при измерении в ЛТС находится третье лицо, расстояние от него до микрофона должно быть не менее 1 м.
5.15.3 Измерение уровня шума в кабине водителя и пассажирском помещении ЛТС
5.15.3.1 Измерение проводят при движении ЛТС со скоростью 40 +/- 4 км/ч.
5.15.3.2 При измерениях шума в шумомере включают временную характеристику "Медленно" (Slow). Переключатель выбора фильтра устанавливают в положение "А".
5.15.3.3 В каждой точке измерения в течение 5 с регистрируют среднее значение показания шумомера.
5.15.3.4 В каждой точке расположения микрофона проводят не менее трех измерений. За результат измерения принимают среднеарифметическое значение, округленное до целого числа.
5.15.3.5 Если разность наибольшего и наименьшего значений уровней шума в каждой точке превышает 2 дБ(А), проводят повторное измерение.
5.15.3.6 За окончательный результат принимают наибольшее значение уровня шума, полученное при измерениях в различных точках расположения микрофона. Результаты испытаний следует сравнить с допустимыми значениями.
5.15.4 Измерение уровня звукового давления в октавных полосах частот в кабине водителя и пассажирском помещении ЛТС
5.15.4.1 Измерение проводят при движении ЛТС со скоростью 40 км/ч.
5.15.4.2 При измерениях шума в шумомере включают временную характеристику "Медленно".
5.15.4.3 В каждой точке измерения в течение 5 с регистрируют среднее значение показания шумомера в каждой октавной полосе частот в диапазоне 31,5 ... 8000 Гц.
5.15.4.4 В каждой точке расположения микрофона проводят не менее трех измерений. За результат измерения принимают среднеарифметическое значение, округленное до целого числа.
5.15.4.5 Если разность наибольшего и наименьшего значений уровней шума в каждой точке превышает 2 дБ, проводят повторное измерение.
5.15.4.6 За окончательный результат принимают наибольшее значение уровня звукового давления, полученное при измерениях в различных точках расположения микрофона. Результаты испытаний следует сравнить с допустимыми значениями.
5.15.5 Неопределенность измерений
Неопределенность измерений не более 1 дБ(А).
5.16 Метод измерений внешнего шума
5.16.1 Подготовка к испытаниям
5.16.1.1 ЛТС, предназначенный для испытаний, должен быть технически исправен, отрегулирован, обкатан и укомплектован.
5.16.1.2 ЛТС испытывают без полезной нагрузки.
5.16.1.3 При измерениях окна, люки в крыше и отверстия для вентиляции должны быть закрыты.
5.16.1.4 Оборудование ЛТС, работающее во время движения, при измерениях должно быть включено.
5.16.1.5 В ЛТС должны находиться не более двух человек, включая водителя.
5.16.1.6 Испытания следует проводить на прямолинейном бесстыковом участке рельсового пути. При этом рельсы должны быть сухими, чистыми и находиться в хорошем техническом состоянии. Предельный уклон измерительного участка не должен превышать 1%. На расстоянии 50 м от продольной оси измерительного участка не должно находиться зданий и других объектов, которые могли бы отражать звук, а также высокой травы, кустарника и снега.
Измерительный участок должен быть размечен согласно схеме на
рисунке 3.
Размеры в метрах
A-A' - начало измерительного участка;
B-B' - конец измерительного участка;
C-C' - ось рельсового пути;
P-P' - ось установки измерительных приборов
Рисунок 3 - Схема измерительного участка
5.16.1.7 Акустические условия при измерениях должны соответствовать условиям свободного звукового поля. Проверка условий свободного звукового поля должна проводиться по
ГОСТ 12.1.026.
5.16.2 Условия проведения испытаний
5.16.2.1 Испытания проводят при следующих климатических условиях:
- отсутствии атмосферных осадков;
- атмосферном давлении - 1013 гПа (760 мм рт. ст.), допустимое отклонение +/- 5%;
- температуре окружающего воздуха - от минус 10 до плюс 30 °C;
- скорости ветра - не более 5 м/с;
- относительной влажности до 80%.
5.16.2.2 Уровень шумовых помех должен быть не менее чем на 10 дБ(А) ниже измеряемого уровня шума.
5.16.2.3 При измерении шума оборудование ЛТС (отопитель, вентиляционная установка) должно работать в режиме, соответствующем наиболее шумной работе.
5.16.3 Измерение максимального уровня внешнего шума ЛТС
5.16.3.1 ЛТС должен приближаться к началу измерительного участка с установившейся скоростью 40 км/ч.
5.16.3.2 Движение ЛТС на измерительном участке рельсового пути должно проводиться с постоянной скоростью 40 км/ч.
5.16.3.3 Микрофон размещают в точках, указанных на
рисунке 3, на высоте (1,2 +/- 0,1) м от уровня земли. Главная ось микрофона должна быть ориентирована к центру измерительного участка и расположена горизонтально.
5.16.3.4 При измерении шума регистрируют максимальное показание шумомера. При измерении уровня шума в шумомере включают временную характеристику "Быстро". Переключатель выбора фильтра устанавливают в положение "А".
5.16.3.5 Измерение шума проводят не менее трех раз с каждой стороны ЛТС. Измерения считают действительными, если разность между тремя результатами измерений с одной и той же стороны ЛТС не превышает 2 дБ(А); при большей разности проводят повторные измерения.
5.16.3.6 За результат измерения шума принимают наибольшее значение, полученное при измерении с каждой стороны ЛТС и округленное до целого числа.
Наибольший из двух результатов, полученных при измерениях шума с обеих сторон ЛТС, следует сравнить с допустимыми значениями.
5.16.4 Измерение уровня звукового давления в октавных полосах частот
5.16.4.1 ЛТС должен приближаться к началу измерительного участка с установившейся скоростью 40 +/- 2 км/ч.
5.16.4.2 Движение ЛТС на измерительном участке рельсового пути должно проводиться с постоянной скоростью 40 +/- 2 км/ч.
5.16.4.3 Микрофон размещают в точках, указанных на
рисунке 2, на высоте (1,2 +/- 0,1) м от уровня земли. Главная ось микрофона должна быть ориентирована к центру измерительного участка и расположена горизонтально.
5.16.4.4 При измерении шума регистрируют максимальное показание шумомера в каждой октавной полосе частот в диапазоне 31,5 ... 8000 Гц. При измерении уровня шума в шумомере включают временную характеристику "Быстро".
5.16.4.5 Измерения шума проводят не менее трех раз с каждой стороны ЛТС.
5.16.4.6 За результат измерения шума принимают наибольшее значение, полученное при измерении с каждой стороны ЛТС и округленное до целого числа. Наибольший из двух результатов, полученных при измерениях шума с обеих сторон ЛТС, следует сравнить с допустимыми значениями.
5.16.5 Неопределенность измерений
Неопределенность измерений не более 1 дБ(А).
5.17 Метод измерения уровня индустриальных радиопомех
Метод измерения уровня индустриальных радиопомех, создаваемых ЛТС в соответствии с
ГОСТ 29205.
5.18 Метод проверки освещенности
5.18.1 Подготовка к испытаниям
5.18.1.1 ЛТС, предназначенный для испытаний, должен быть технически исправен, отрегулирован, обкатан и укомплектован.
5.18.1.2 ЛТС испытывают без полезной нагрузки.
5.18.1.3 При измерениях окна, люки в крыше и отверстия для вентиляции должны быть закрыты.
5.18.1.4 В ЛТС должны находиться не более двух человек, включая водителя.
5.18.2 Условия проведения испытаний
5.18.2.1 Испытания проводят при следующих климатических условиях:
- атмосферном давлении - 1013 гПа (760 мм рт. ст.), допустимое отклонение +/- 5%;
- температуре окружающего воздуха от минус 30 до плюс 35 °C;
- относительной влажности до 80%.
5.18.2.2 Испытания следует проводить в темное время суток при освещенности от посторонних источников не более 0,2 лк.
5.18.2.3 Измерения проводят при стоянке ЛТС и напряжении питающей контактной сети в соответствии с ГОСТ 6962, запасного освещения без контактной сети, через 15 минут после отключения контактной сети.
5.18.3 Метод определения освещенности в пассажирском помещении
5.18.3.1 Определение освещенности в пассажирском салоне проводится у каждого места для сидения пассажира в продольной плоскости симметрии сиденья на высоте 860 мм от поверхности пола и на расстоянии 250 мм от переднего края подушки сиденья.
5.18.3.2 Измерения в каждой точке проводятся не менее трех раз. За истинное значение освещенности принимают среднее арифметическое всех измерений, проведенных в данной точке.
Если разность наибольшего и наименьшего значений освещенности в каждой точке превышает 5 лк, проводят повторные измерения.
5.18.4 Определение равномерности распределения освещенности пассажирского помещения
5.18.4.1 При определении равномерности освещенности пассажирского салона используются данные, полученные при определении освещенности в местах расположения пассажирских сидений.
5.18.4.2 Равномерность освещенности пассажирского помещения определяется по формуле

(6)
где Emin, Emax - соответственно минимальное и максимальное значения освещенности на местах расположения пассажирских сидений, люкс.
5.18.5 Определение освещенности в зоне дверей (подножек)
5.18.5.1 Определение освещенности в зоне дверей (подножек) проводят поочередно у каждой из дверей.
5.18.5.2 Измерение освещенности в зоне дверей (подножек) осуществляется на уровне пола ЛТС на расстоянии 200 мм от кромки пола в середине дверного прохода.
5.18.5.3 Измерения в каждой точке проводят не менее трех раз. За истинное значение освещенности принимают среднее арифметическое всех измерений, проведенных в данной точке.
Если разность наибольшего и наименьшего значений освещенности в каждой точке превышает 2 люкс, проводят повторные измерения.
5.18.6 Определение освещенности пассажирского помещения и подножек при работе запасного освещения
5.18.6.1 Определение освещенности при работе запасного освещения проводится:
- в проходе в плоскости продольной симметрии ЛТС на высоте 860 мм от уровня пола не менее, чем в пяти точках, равномерно распределенных по длине ЛТС;
- в проходе в плоскости продольной симметрии ЛТС на уровне пола не менее, чем в пяти точках, равномерно распределенных по длине;
- на площадках на расстоянии 500 мм от закрытой двери в середине дверного прохода на высоте 860 мм над уровнем пола и на уровне пола;
- на подножках на уровне пола на расстоянии 200 мм от кромки пола в середине дверного прохода.
5.18.6.2 Измерения в каждой точке проводят не менее трех раз. За истинное значение освещенности принимают среднее арифметическое всех измерений, проведенных в данной точке.
Если разность наибольшего и наименьшего значений освещенности в каждой точке превышает 2 лк, проводят повторные измерения.
5.18.7 Неопределенность измерений
Неопределенность измерений не более 5%.
5.19 Метод проверки вентиляции и кондиционирования
5.19.1 Условия проведения испытаний
В ЛТС должны находиться два человека: водитель и испытатель. Допускается присутствие второго испытателя.
Во время испытаний соответствующие системы вентиляции, кондиционирования должны работать с притоком наружного воздуха и быть включены в режим максимальной эффективности.
Испытания проводят при следующих климатических условиях:
- температура внешней среды при проведении испытаний должна соответствовать значениям внешних температур, для которых установлены нормативные значения оценочных показателей работы соответствующих систем нормализации микроклимата с допустимым отклонением +/- 2 °C;
- относительной влажности воздуха - в пределах (30 - 60)%;
- скорости ветра - не более 3 м/с;
- равномерном движении со скоростью (20 +/- 3) км/ч;
- интенсивности солнечной радиации (суммарная) в пределах (1000 +/- 100) Вт/м2.
5.19.2 Неопределенность измерений
Применяемые измерительные приборы и оборудование должны быть исправны и поверены в установленные для них сроки.
Значения неопределенности измерений, не более:
- температуры +/- 0,5 °C;
- времени +/- 1 с;
- скорости (подвижности) воздуха v +/- (0,1 + 0,05v) м/с;
- интенсивности солнечной радиации +/- 2%; (пиранометр)
- относительной влажности +/- 5%;
- линейных размеров +/- 0,5 мм.
5.19.3 Места измерения температур и скорости (подвижности) воздуха
Зона головы водителя (сидящего пассажира): на расстоянии (700 +/- 25) мм от подушки сиденья на расстоянии (200 +/- 10) мм от вертикальной плоскости симметрии сиденья. Зона пояса водителя (сидящего пассажира): на высоте (100 +/- 10) мм от подушки сиденья. Зона ног водителя (сидящего пассажира): на высоте 100 мм от пола по продольной оси сиденья.
5.19.4 Места измерения температур поверхностей
В местах расположения элементов систем нормализации микроклимата, с которыми возможен контакт человека (водителя, экипажа, пассажира).
5.19.5 Места измерения относительной влажности
В геометрическом центре горизонтального сечения на высоте (1600 +/- 100) мм - в пассажирском помещении.
5.20 Метод измерения общей и локальной вибрации
Измерение параметров общей вибрации на месте водителя, местах экипажа и пассажиров проводится в соответствии с
ГОСТ 31319 (ЕН 14253:2003).
Измерение параметров локальной вибрации проводится в соответствии с
ГОСТ 31192.2 (ИСО 5349-2:2001).
5.21 Метод измерения электромагнитных полей
Измерение параметров электромагнитных полей производится в соответствии с
ГОСТ 12.1.006.
(обязательное)
ДЛЯ РАСЧЕТА ПРОЧНОСТИ МЕХАНИЧЕСКОЙ ЧАСТИ ЛТС
А.1 При расчете ЛТС и их частей в общем случае должны учитываться следующие основные силы:
- собственная сила тяжести (вес) конструкции и сила тяжести (вес) пассажиров (полезная нагрузка);
- инерционные динамические силы, вызванные колебаниями трамваев при движении;
- динамические силы, возникающие при движении ЛТС по кривым участкам пути;
- силы аэродинамического давления (давление ветра);
- силы взаимодействия между ЛТС при работе по системе многих единиц (СМЕ) и буксировке;
- силы тяги и торможения и вызванные ими продольные силы инерции;
- силы от работы механизма тягового привода;
- силы от действия тормозных систем;
- силы от действия навесного оборудования;
- силы от работы механизмов, установленных на ЛТС;
- силы, прикладываемые к элементам (узлам) ЛТС при ремонте.
А.1.1 Перечисленные силы при определении напряжений в элементах трамваев условно принимают действующими независимо друг от друга и приводят к следующим основным расчетным схемам их приложения:
- вертикальным нагрузкам;
- боковым горизонтальным нагрузкам;
- продольным горизонтальным нагрузкам;
- вертикальным кососимметричным силам.
А.1.2 Конструкции ЛТС (детали и узлы) рассчитывают на наиболее невыгодное возможное сочетание одновременно действующих нормативных сил в соответствии с установленными расчетными режимами.
Устанавливаются следующие расчетные режимы:
режим I - условный режим безопасности:
режим Iа - вывод неисправного сцепа порожних ЛТС с линии вспомогательным ЛТС (сцепом);
режим Iб - аварийный наезд ЛТС на препятствие;
режим II - эксплуатационный: движение ЛТС с расчетной полезной нагрузкой, в том числе:
режим IIа - разгон ЛТС (сцепом) до конструкционной скорости или торможение с этой скорости при движении по кривой;
режим IIб - трогание ЛТС (сцепом) с места, торможение с малой скорости до остановки.
А.2 Вертикальная нагрузка состоит из собственной силы тяжести ЛТС, полезной нагрузки (силы тяжести пассажиров) и вертикальных составляющих динамических сил.
А.2.1 Под собственной силой тяжести понимается суммарная сила тяжести частей ЛТС, нагружающих рассчитываемый элемент, включая и силу тяжести самого элемента.
А.2.2 Полезная нагрузка определяется по расчетной вместимости ЛТС. Расчетная вместимость определяется по проектному числу мест для сидения и проектному числу стоящих пассажиров. Максимальная вместимость (и соответствующая ей максимальная расчетная полезная нагрузка) определяется при плотности стоящих пассажиров 10 человек на 1 м2 свободной площади пола, номинальная вместимость (номинальная расчетная полезная нагрузка) - при плотности пять человек на 1 м2 свободной площади пола. Под свободной площадью пола понимается площадь пассажирского помещения, не занятая сидениями, ногами сидящих пассажиров (площадь между сидениями), оборудованием, ступенями и подножками. Расчетную массу пассажира принимают равной 70 кг.
Максимальная полезная нагрузка учитывается при расчетах конструкции ЛТС на прочность по
режиму Iб, а номинальная - при расчете на прочность по
режиму II и сопротивление усталости, порожнее ЛТС - при расчете по
режиму Iа.
А.2.3 Собственная сила тяжести конструкции и полезная нагрузка составляют вертикальную нагрузку брутто.
А.2.4 Вертикальная динамическая нагрузка, обусловленная колебаниями ЛТС на рессорном подвешивании при движении, определяется как произведение вертикальной нагрузки брутто на коэффициент вертикальной динамики.
Под нагрузкой брутто для данного элемента конструкции понимается воспринимаемая им часть полезной нагрузки и сил тяжести элементов ЛТС, расположенных над рассматриваемой ступенью рессорного подвешивания, включая силу тяжести элементов подвешивания.
Коэффициент вертикальной динамики Kдв определяется по формуле
K
дв =
a + 0,09
V/
fст, (А.1)
где a - коэффициент, равный для элементов кузова 0,05; для обрессоренных частей тележки 0,10; для необрессоренных частей тележки 0,15;
V - скорость движения трамвая, м/с;
fст - статический изгиб рессорного подвешивания, см.
Формула (А.1) справедлива для ЛТС на тележках, имеющих статический прогиб рессор не менее 5 см, при движении по путям хорошего технического состояния.
А.2.5 Вертикальные динамические силы масс тяговых электродвигателей, возникающих при колебаниях рамы тележки в движении, с учетом влияния дисбалансов динамическим расчетом. При упругом опорно-рамном подвешивании электродвигателей допускается определять эти силы по эмпирической формуле
Pдв = 0,3Qдв·V, (Н), (А.2)
где Qдв - масса тягового электродвигателя, кг;
V - скорость движения ЛТС, м/с.
А.3 Боковые нагрузки включают центробежные силы, возникающие при движении ЛТС по кривым участкам пути, силы аэродинамического давления ветра и динамические силы взаимодействия ЛТС и пути в горизонтальной плоскости.
А.3.1 Центробежные силы определяются отдельно для кузова и тележки, исходя из непогашенного ускорения 0,6 м/с
2.
Равнодействующая центробежной силы прикладывается в центре тяжести кузова (тележки). Центр тяжести тележки рекомендуется принимать на уровне осей колесных пар, а центр тяжести вместимости кузова - на расстоянии 1,7 м от уровня головок рельсов.
А.3.2 Сила давления ветра определяется из расчета удельного давления ветра на боковую проекцию кузова равного 500 Н/м2. Равнодействующая этой силы считается приложенной нормально к центру площади боковой проекции кузова. Сила давления ветра учитывается только при проверке устойчивости трамвая на опрокидывание.
А.3.3 В расчете боковых стен и шкворневых балок рам кузовов влияние вертикальных составляющих от действия боковой нагрузки допускается учитывать условно путем увеличения нагрузки брутто (или напряжений от этой силы) на 10%.
| | ИС МЕГАНОРМ: примечание. В официальном тексте документа, видимо, допущена опечатка: пункт 1.3.1 отсутствует. Возможно, имеется в виду пункт А.3.1. | |
А.3.4 Горизонтальные силы, действующие на элементы тележки при вписывании в кривые, определяются из условия равновесия тележки в рельсовой колее с учетом действия на ЛТС центробежной силы
(п. 1.3.1). Коэффициент трения между колесом и рельсом при расчетах вписывания применяется равным 0,25.
А.4 Продольные нагрузки представляют собой сжимающие и растягивающие силы взаимодействия между ЛТС, возникающие при движении в поезде и буксировке, ударные силы при условном режиме аварийного наезда ЛТС на препятствие, силы тяги и торможения и возникающие продольные силы инерции.
А.4.1 Силы взаимодействия между ЛТС принимаются равными:
-
режим Iа - усилие сжатия 200 кН (20 тс); усилие растяжения 150 кН (15 тс);
-
режим II - усилие сжатия и растяжения по 50 кН (5 тс).
Силы взаимодействия между ЛТС прикладываются по оси сцепного прибора по двум расчетным схемам:
- с обоих концов ЛТС;
- одного конца при уравновешивании силами инерции масс ЛТС или силами тяги (торможения).
Сила удара при условном режиме аварийного наезда
(режим Iб) принимается направленной вдоль оси ЛТС и равной:
- на лобовую балку рамы кузова - 250 кН;
- на подоконный пояс кабины 75 кН.
Сила удара распределяется по площадке шириной 300 мм.
А.4.2 Силы тяги и торможения прикладываются к узлам связи колесных пар с рамой тележки и тележек с кузовом и определяются:
- по
режиму IIа - по часовому току электродвигателей;
- по
режиму IIб - по полной реализации сцепления колес с рельсами при трогании с места и по максимальному замедлению экстренного торможения (с учетом действия рельсового тормоза).
Коэффициент сцепления при этом рекомендуется принимать равным 0,25.
А.4.3 Силы инерции кузова и тележек прикладываются в центрах тяжести их масс и определяются по
I режиму при продольном ускорении 0,7g
<*>, а по
IIа и
IIб режимам по формулам:
для кузова

(А.3)
для тележки

(А.4)
где Fm - сила тяги (торможения) ЛТС;
Mк и Mт - массы кузова и тележки.
При определении массы Mт тележки инерцию вращающихся частей рекомендуется учитывать увеличением собственной массы тележки на 30%.
Примечание <*> - Здесь и далее g = 9,81 м/с
2 - ускорение свободного падения.
А.5 Вертикальная динамическая добавка нагрузки на тележку от действия продольной силы инерции кузова определяется по формуле

(А.5)
где P
ик - продольная сила инерции кузова по
режимам I и
II;
hk - высота положения центра тяжести кузова брутто над плоскостью опоры кузова на тележку;
2L - база ЛТС.
А.6 При расчете рам тележек должны учитываться вертикальные кососимметрические силы, возникающие из-за непостоянства уровней опорных точек пути под колесами, технологических отклонений элементов конструкции тележки и т.п.
Кососимметричные силы уточняются только в расчетах тележек, имеющих жесткую раму и иную конструкцию, способную воспринимать эти силы.
Кососимметричные силы состоят из четырех равных сил Pк, приложенных к раме со стороны букс, из которых две, расположенные по диагонали, действуют вверх, а две другие - вниз.
Кососимметричная сила, соответствующая эквивалентному смещению одного колеса, определяется по формуле

(А.6)
где z - вертикальное эквивалентное расчетное смещение одного колеса тележки, рекомендуется принимать z = 0,015 м;
2b - расстояние между центрами буксовых опор рамы вдоль оси колесной пары, м;
2S - расстояние между кругами катания колеса, принимается 2S = 1,58 м;
Cб - жесткость буксового подвешивания (на одну буксу), Н/м;
Cр - жесткость рамы тележки при кососимметричной нагрузке (величина обратная прогибу 1/4 рамы при Pк = 1), Н/м.
А.7 Силы, действующие на элементы тележки от работы тягового привода, определяются с учетом схемы подвешивания тяговых двигателей и редукторов при расчетных величинах сил тяги (торможения) по
п. А.4.2.
А.8 Основные вертикальные, боковые и продольные силы при оценке прочности ЛТС по допускаемым напряжениям учитываются в соответствии с расчетными режимами в сочетаниях, указанных в
таблице А.1.
Расчетные силы | Расчетные режимы |
Кузов | Тележка |
| | | |
Вертикальные силы | | | | |
Сила тяжести | | | | |
Динамические силы при движении с конструкционной скоростью | X | | | X |
Боковые силы | | | | |
Центробежная сила | X | | | X |
Силы вписывания в кривой | X | X | | X |
Продольные силы | | | | |
Силы взаимодействия между ЛТС | | | - | - |
Силы тяги (торможения) | X | X | | |
Продольные силы инерции | | | | |
Другие силы | | | | |
Вертикальная добавка от продольной силы инерции кузова | | | | |
Кососимметричные силы | - | - | | |
Силы от работы тягового привода | - | - | | |
Примечание - X - силы не учитываются. |
А.9 Силы от действия систем механических (электромеханических) тормозов при расчете их элементов на прочность определяются исходя из максимального тормозного усилия при коэффициенте полезного действия механизма привода, равном единице. На силы от действия систем тормоза в совокупности с силами тяжести и силами инерции должны быть рассчитаны как детали самих систем, так и другие элементы конструкции тележки, на которые они действуют.
Величины основных сил для расчетов на прочность по установленным режимам рассчитывают в соответствии с
таблицей А.1.
Напряжение при расчете на сочетание сил по
таблице А.1 не должно превышать допускаемых напряжений, указанных в
таблице А.2.
Марка материала | | |
| [T] | | | [T] | |
Стальной прокат: | | | | | | |
Ст3, сталь 20 | | | | 165 | 105 | |
09Г2Д, 09Г2СД, 15ХСНД 10Г2БД | | | | 210 | 130 | |
55С2, 55С2А, 60С2 | | | | 220 | 140 | |
60С2ХФА | 1000 | 750 | - | - | - | - |
| 1400 | 1000 | - | - | - | - |
Стальные отливки: | | | | | | |
15Л | | | | 130 | 80 | 185 |
20Л | | | | 135 | 80 | 190 |
25Л | | | | 140 | 85 | 200 |
20ГЛ, 20ГФЛ | | | | 160 | 95 | 230 |
Прокат из алюминиевых сплавов | | | | | | |
АМг5, АМг5М | 135 | 80 | | 100 | 60 | 120 |
АМг6, АМг6М | 150 | 90 | | 110 | 70 | 135 |
1915, 1915Т | 170 | 100 | | 120 | 80 | 160 |
Материал шва при дуговой сварке электродами | | | | | | |
Э42 | | | - | 160 | 100 | - |
Э42А | | | - | 170 | 110 | - |
Э50А | | | - | 200 | 125 | - |
Заклепки Ст3 | - | 160 | 350 | - | 129 | 250 |
Болты Ст3 | | | | | | |
чистые | 220 | 150 | 330 | 160 | 120 | 250 |
черные | 200 | - | 310 | 140 | - | 230 |
Примечание  - допускаемые напряжения при деформациях растяжения-сжатия и изгиба; [T] - допускаемые напряжения при деформациях среза;  - допускаемые напряжения при деформациях смятия;  - предел текучести. |
А.10 Расчет крепления постоянного оборудования ЛТС на кузове должен выполняться на следующие силы:
- жестко закрепленное (без амортизаторов) оборудование и элементы его крепления на несущей конструкции кузова ЛТС должны рассчитываться с учетом действия сил тяжести и сил инерции. Расчетные величины этих сил приведены в
таблице А.3.
Таблица А.3
Определение сил, действующих на закрепленное
на кузове оборудование
Расчет силы | Расчетные режимы |
| |
Вертикальная - Pz | | Pст·(1 + Kдв) |
Боковая - Py | 0 | |
Продольная - Px | | |
Px, Py, Pz - расчетные квазистатические силы, приложенные в центре тяжести подвешенного (закрепленного) элемента оборудования;
Pст - сила тяжести подвешенного (закрепленного) элемента, включая вес элементов крепления;
a
XI - продольное ускорение
I режима, принимается равным 2g;
a
XII - продольное ускорение
II режима, принимается равным 0,3g;
a
VII - поперечное ускорение
II режима, принимается равным 0,2g;
K
дв - коэффициент вертикальной динамики для порожнего ЛТС, определяется по
формуле А.1 при конструкционной скорости;
hк - расстояние по вертикали от центра тяжести порожнего кузова до плоскости опирания кузова на тележки;
2L - база ЛТС;
X - расстояние от среднего поперечного сечения ЛТС вдоль продольной оси до центра тяжести подвешенного элемента оборудования.
А.10.1 Оборудование, жестко закрепленное на подрессоренных частях тележек, рассчитывается на силы инерции, исходя из ускорений вертикального 2g, поперечного 1g и продольного 0,3g. Допускаемые напряжения принимаются для элементов тележек по
режиму II.
Дополнительно подвешенное оборудование проверяется на одновременное действие собственной силы тяжести и продольной силы инерции при ускорении 3g. Допускаемые напряжения принимаются равными

(

- предел текучести).
А.10.2 Элементы, жестко закрепленные на необрессоренных частях тележек, рассчитываются на действие вертикальных сил инерции при ускорении, равном 15g для колесных пар с цельнометаллическими колесами и 10g - для колесных пар с упругими (подрезиненными) колесами. Допускаемые напряжения - по
II расчетному режиму для элементов тележек.
А.11 Конструкция крепления опоры кузова на тележку (пятника) к его раме должна быть рассчитана на действие горизонтальной продольной силы, равной 3-кратной силе тяжести тележки. При этом напряжения не должны превышать допускаемых напряжений по
режиму I.
А.12 Элементы кузова и тележек должны быть рассчитаны на силы, возникающие при работе механизмов (мотор-компрессор, мотор-генератор, тяговые электродвигатели, тормозные устройства, привод дверей, вентиляторы и т.п.), установленных на ЛТС. Напряжения от этих сил суммируются с напряжением от основных расчетных сил в соответствии с расчетным
режимом II.
А.13 В качестве расчетных сил, прикладываемых к ЛТС при ремонте, принимают силы, возникающие при подъемке порожнего ЛТС под опоры, предусмотренные для домкратов, по диагонали, а также подъемника домкратом или краном за лобовую балку ЛТС вместе с тележкой, допускается не проводить расчет на указанные силы, если эти режимы проверяют при испытаниях опытного образца. Напряжения, возникающие при подъемке ЛТС, не должны превышать допускаемых напряжений по
I расчетному режиму.
А.14 ЛТС должны иметь предохранительные устройства, исключающие падение на путь деталей рессорного подвешивания, тяговых электродвигателей, редукторов и механических тормозов. Предохранительные устройства в общем случае рассчитываются на силу, равную 2-кратной силе тяжести предохраняемого элемента или на максимальную эксплуатационную нагрузку, действующую на предохранительное устройство. Максимальные напряжения от этих сил в элементах устройства не должны превышать предела текучести материала.
(обязательное)
ОПРЕДЕЛЕНИЕ ПАРАМЕТРОВ УСТАНОВКИ ПРИБОРОВ НЕПРЯМОГО ОБЗОРА
И ОБЗОРНОСТИ С МЕСТА ВОДИТЕЛЯ
Рисунок Б.1 - Расположение осей координат
Рисунок Б.2 - Размеры элементов объемного механизма
определения точки H и распределения грузов
Примечание - * - размер для справок.
Рисунок Б.3 - Определение координат точек V и P
(размеры в мм)
Рисунок Б.4 - Нанесение нормативных зон А и Б
на переднее окно
Рисунок Б.5 - Расположение точек
E относительно точки
P
Рисунок Б.6 - Определение точек
P и
E для оценки
непросматриваемых зон, создаваемых стойками переднего окна
и измеряемых в горизонтальной плоскости
Рисунок Б.7 - Расположение плоскостей, являющихся границами
нормативного поля обзора П
(обязательное)
БЕЗОПАСНОСТЬ ПАССАЖИРСКОГО САЛОНА
Размеры в миллиметрах
Рисунок В.1 - Испытательное устройство определения
доступности поручня
| | Санитарно-эпидемиологические требования к физическим факторам на рабочих местах |
УДК 656.2:006.354 | |
Ключевые слова: легкорельсовые транспортные средства; методы проверки; габаритные размеры система отопления; освещенность |