Главная // Актуальные документы // ГОСТ Р (Государственный стандарт)СПРАВКА
Источник публикации
М.: ИПК Издательство стандартов, 2003
Примечание к документу
Документ
введен в действие с 1 июля 2003 года.
Название документа
"ГОСТ Р 51970-2002. Государственный стандарт Российской Федерации. Палки лыжные прогулочные и гоночные спортивные. Технические условия"
(принят и введен в действие Постановлением Госстандарта России от 04.12.2002 N 448-ст)
"ГОСТ Р 51970-2002. Государственный стандарт Российской Федерации. Палки лыжные прогулочные и гоночные спортивные. Технические условия"
(принят и введен в действие Постановлением Госстандарта России от 04.12.2002 N 448-ст)
Принят и введен в действие
России
от 4 декабря 2002 г. N 448-ст
ГОСУДАРСТВЕННЫЙ СТАНДАРТ РОССИЙСКОЙ ФЕДЕРАЦИИ
ПАЛКИ ЛЫЖНЫЕ ПРОГУЛОЧНЫЕ И ГОНОЧНЫЕ СПОРТИВНЫЕ
ТЕХНИЧЕСКИЕ УСЛОВИЯ
Ski-poles for walk and sport race skiing.
Specifications
ГОСТ Р 51970-2002
Дата введения
1 июля 2003 года
1. Разработан Научно-исследовательским институтом спортивно-технических изделий (ВИСТИ).
Внесен Техническим комитетом по стандартизации ТК 280 "Спортивные и туристские изделия".
2. Принят и введен в действие
Постановлением Госстандарта России от 4 декабря 2002 г. N 448-ст.
3. Введен впервые.
Настоящий стандарт распространяется на металлические и пластиковые лыжные прогулочные и гоночные спортивные палки.
В настоящем стандарте использованы ссылки на следующие стандарты:
ГОСТ 9.032-74 Единая система защиты от коррозии и старения. Покрытия лакокрасочные. Группы, технические требования и обозначения
ГОСТ 9.104-79 Единая система защиты от коррозии и старения. Покрытия лакокрасочные. Группы условий эксплуатации
ГОСТ 9.301-86 Единая система защиты от коррозии и старения. Покрытия металлические и неметаллические неорганические. Общие требования
ГОСТ 9.302-88 Единая система защиты от коррозии и старения. Покрытия металлические и неметаллические неорганические. Методы контроля
ГОСТ 9.303-84 Единая система защиты от коррозии и старения. Покрытия металлические и неметаллические неорганические. Общие требования к выбору
ГОСТ 26.020-80 Шрифты для средств измерений и автоматизации. Начертания и основные размеры
ГОСТ 427-75 Линейки измерительные металлические. Технические условия
ГОСТ 577-68 Индикаторы часового типа с ценой деления 0,01 мм. Технические условия
ГОСТ 2789-73 Шероховатость поверхности. Параметры и характеристики
ГОСТ 6992-68 Единая система защиты от коррозии и старения. Покрытия лакокрасочные. Метод испытаний на стойкость в атмосферных условиях
ГОСТ 7502-98 Рулетки измерительные металлические. Технические условия
ГОСТ 9500-84 Динамометры образцовые переносные. Общие технические требования
ГОСТ 10905-86 Плиты поверочные и разметочные. Технические условия
ГОСТ 11358-89 Толщиномеры и стенкомеры индикаторные с ценой деления 0,01 и 0,1 мм. Технические условия
ГОСТ 19300-86 Средства измерения шероховатости поверхности профильным методом. Профилографы-профилометры контактные. Типы и основные параметры
ГОСТ 29329-92 Весы для статического взвешивания. Общие технические требования
ГОСТ Р 51121-97 Товары непродовольственные. Информация для потребителя. Общие требования
В настоящем стандарте применяют следующие термины с соответствующими определениями:
3.1. Палка лыжная: изделие, помогающее человеку передвигаться на лыжах, удерживать равновесие при движении и подъеме в гору.
3.2. Палка лыжная прогулочная: лыжная палка, предназначенная для передвижения на лыжах по лыжне и без лыжни по равнинной и пересеченной местности.
3.3. Палка лыжная гоночная спортивная: лыжная палка, предназначенная для тренировок и соревнований на лыжах по равнинной и пересеченной местности на специально подготовленной лыжне.
3.4. Стержень: основная несущая деталь палки, к которой прикрепляются все остальные функциональные элементы
3.5. Ручка: элемент палки, предназначенный для опоры, удержания и управления палкой. В зависимости от формы она может выполнять поддерживающую функцию темляка.
3.6. Темляк: элемент палки, выполняющий опорную функцию и предотвращающий соскальзывание руки с ручки при пользовании палкой.
3.7. Опорный элемент: элемент палки, предотвращающий ее чрезмерное погружение в снег.
3.8. Наконечник: нижний элемент палки, обеспечивающий ее легкое погружение в снег и предотвращающий ее скольжение на твердой или обледенелой поверхности.
4. ОСНОВНЫЕ ПАРАМЕТРЫ И РАЗМЕРЫ
4.1. Лыжные палки следует изготовлять следующих форм: прогулочные - цилиндрической или конической, гоночные спортивные - конической.
4.2. Основные параметры и размеры лыжных палок должны соответствовать указанным в таблице 1.
Таблица 1
Длина, мм | Масса одной палки, г, не более |
прогулочной | гоночной спортивной |
600 | 165 | - |
700 | 185 | - |
800 | 205 | - |
900 | 275 | 205 |
1000 | 295 | 215 |
1100 | 315 | 225 |
1200 | 335 | 235 |
1250 | 350 | |
240 |
1275 | - | |
1300 | 360 | |
245 |
1325 | - | |
1350 | 370 | |
250 |
1375 | - | |
1400 | 380 | |
255 |
1425 | - | |
1450 | 390 | |
260 |
1475 | - | |
1500 | 400 | |
265 |
1525 | - | |
1550 | 410 | |
270 |
1575 | - | |
1600 | 420 | |
275 |
1625 | - | |
1650 | 430 | 280 |
1700 | 440 | |
285 |
1750 | 450 | |
290 |
<*> Нормы массы одной углестеклопластиковой гоночной спортивной палки. |
4.3. Детские прогулочные и гоночные спортивные лыжные палки следует изготовлять длиной до 1200 мм, детские палки "Малютка" - от 600 до 800 мм.
4.4. Допустимые отклонения по длине не должны превышать 5 мм.
5. ТЕХНИЧЕСКИЕ ТРЕБОВАНИЯ
5.1. Лыжные палки следует изготовлять в соответствии с требованиями настоящего стандарта по рабочим чертежам и образцам-эталонам, утвержденным в установленном порядке.
5.2. Лыжные палки не должны иметь острых краев (кроме наконечников) и необработанных поверхностей.
5.3. Наружный диаметр стержней лыжных палок должен соответствовать данным таблицы 2.
Таблица 2
Размеры в миллиметрах
Наименование лыжных палок | Материал, применяемый для изготовления стержней | Наружный диаметр стержней |
наибольший для цилиндрических и конических палок, не более | наименьший для конических палок, не менее |
Прогулочные | Алюминиевые сплавы | 18,0 | 8,0 |
Стеклопластик | 12,0 |
Гоночные спортивные | Сталь | 13,5 | 8,0 |
Стеклопластик | 11,0 |
Углестеклопластик | 18,0 | 11,0 |
Алюминиевые сплавы | 8,0 |
5.4. Стержни лыжных палок должны удовлетворять следующим требованиям.
Статическая нагрузка, приложенная к середине стержня гоночной спортивной лыжной палки, равная

, не должна вызывать остаточной деформации стержня более 1,5 мм. При этом стрела прогиба стержня - 12 - 24 мм для углестеклопластиковых, 22 - 34 мм - для стальных, алюминиевых и стеклопластиковых лыжных палок.
Статическая нагрузка, действующая вдоль оси стержня, равная

для прогулочных лыжных,

для гоночных спортивных лыжных палок, не должна вызывать остаточной деформации более 2 мм.
Статическая нагрузка, действующая вдоль оси стержня, не должна вызывать разрушения или поломки лыжной палки.
5.5. Стержни лыжных палок должны быть прямолинейными.
Отклонение от прямолинейности по всей длине стержня прогулочных лыжных палок - не более 2 мм, гоночных спортивных лыжных палок - 1,5 мм.
5.6. Наружная поверхность стержней алюминиевых лыжных палок должна быть:
анодирована (бесцветным или цветным анодированием);
полирована и анодирована (бесцветным или цветным анодированием);
полирована или осветлена и покрыта бесцветным или цветным лаком;
окрашена цветными эмалями.
5.7. Наружная поверхность стержней стеклопластиковых и углестеклопластиковых лыжных палок должна быть покрыта лаками или эмалями.
5.8. Для покрытия стержней лыжных палок следует применять лаки и эмали с водостойкими, морозостойкими и эластичными свойствами по нормативным документам.
5.9. Наружная поверхность стержней стальных лыжных палок должна иметь хромовое покрытие толщиной не менее 6 мкм, никелевое толщиной не менее 18 мкм по
ГОСТ 9.303 или многослойное, которое по коррозийной стойкости не уступает указанным.
5.10. Поверхность стержней лыжных палок должна быть гладкой, без вмятин и трещин. Допускаются на поверхности стержней прогулочных палок следы от установки шайбы между наконечником и опорным элементом.
5.11. Шероховатость полированной поверхности стержня алюминиевых лыжных палок должна быть не более Ra 0,63 мкм по
ГОСТ 2789.
5.12. Диаметр опорного элемента в виде кольца для прогулочных лыжных палок - (115 +/- 15) мм, для детских лыжных палок "Малютка" - (85 +/- 5) мм.
В прогулочных лыжных палках допускается применение опорных элементов в форме овала, многоугольника со скругленными углами, радиус скругления которых должен быть не менее

, и других форм. Расстояние от оси лыжной палки до наиболее удаленной точки опорного элемента - не более 60 мм. Площадь поверхности опорного элемента - не менее 50 см2, для детских лыжных палок "Малютка" - не менее 40 см2.
Овальность наружного диаметра кольца - не более 2 мм.
5.13. Способ крепления опорного элемента к стержню прогулочной лыжной палки должен обеспечивать его свободное качание или изгибание во все стороны не менее чем на 30° и возможность замены потребителем опорного элемента без применения специального инструмента.
Опорный элемент на стержне гоночных спортивных лыжных палок следует закреплять жестко.
5.14. Опорный элемент и его крепление к стержню должны выдерживать статическую нагрузку не менее 500 Н, а для детских лыжных палок "Малютка" - не менее 250 Н, действующую вдоль стержня снизу вверх и сверху вниз.
Допускается смещение опорного элемента не более чем на 2 мм без признаков разрушения опорного элемента и узла его крепления к лыжной палке.
5.15. Темляк в виде плоской ленты должен быть шириной 16 - 25 мм. Толщина темляка из кожи - 1,5 - 2,0 мм.
Темляк с уширителем должен состоять из ленты шириной 12 - 15 мм и толщиной не менее 0,8 мм и ленты шириной 24 - 35 мм в качестве уширителя.
Допускается для детских лыжных палок "Малютка" темляк шириной 15 мм.
5.16. Способ крепления темляка к ручке лыжных палок, за исключением детских лыжных палок "Малютка", должен позволять изменять его длину для подгонки по руке.
Темляк должен располагаться вдоль плоскости плоского наконечника. В случае установки асимметричного наконечника темляк должен располагаться в противоположную сторону по отношению к вогнутой части наконечника.
5.17. Темляк и его крепление к стержню должны выдерживать нагрузку не менее 500 Н, а для детских лыжных палок "Малютка" - не менее 250 Н, действующую в направлении сверху вниз.
Не допускаются вырывания и разрывы темляка.
5.18. На верхние концы стержней лыжных палок должны быть надеты ручки овального сечения. Большая ось овала ручки должна располагаться в одной плоскости с плоским наконечником.
5.19. Длина ручки лыжных палок должна быть, мм:
120 - 150 - у прогулочных;
80 - 100 - у детских прогулочных "Малютка";
120 - 150 - у гоночных спортивных.
Диаметр верхней части ручки детских прогулочных палок на длине 15 - 20 мм должен быть не менее 30 мм.
Переход от меньшего диаметра к большему должен быть плавным.
5.20. Края ручки лыжных палок должны иметь радиус закругления не менее 2,5 мм.
5.21. Ручка должна надежно соединяться со стержнем лыжной палки. Усилие вырывания ручки со стержня должно быть, Н, не менее:

- для гоночных спортивных лыжных палок;

- для прогулочных лыжных палок;

- для детских лыжных палок "Малютка".
5.22. Рабочая часть наконечника лыжных палок на длине не менее 10 мм должна быть термически обработана до твердости не менее 40,5 HRC для прогулочных лыжных палок и не менее 50,7 HRC - для гоночных спортивных лыжных палок. Наконечники, прошедшие предварительно цементацию, должны быть термически обработаны на всю длину.
5.23. Смещение оси симметрии наконечника лыжных палок относительно оси стержня не должно быть более 1 мм, за исключением лыжных палок, у которых смещение предусмотрено конструкцией.
5.24. Наконечник лыжных палок и его крепление к стержню, за исключением детских лыжных палок "Малютка", должны выдерживать статическую нагрузку, действующую вдоль оси стержня:
на сжатие - не менее

и на вырывание - не менее

для прогулочных лыжных палок;
на сжатие - не менее

и на вырывание - не менее

для гоночных спортивных лыжных палок.
Не допускаются нарушение соединения наконечника со стержнем и деформация наконечника.
5.25. Наконечник лыжных палок должен иметь защитно-декоративное гальваническое покрытие по
ГОСТ 9.303:
для прогулочных - цинковое или кадмиевое хроматированное или никелевое толщиной не менее 9 мкм;
для гоночных спортивных - хромовое толщиной не менее 3 мкм или никелевое толщиной не менее 9 мкм.
Для стальных гоночных спортивных лыжных палок допускается цинковое или лакокрасочное покрытие наконечников. Толщина цинкового покрытия - не менее 9 мкм.
5.26. Качество лакокрасочного покрытия окрашиваемых стержней и наконечников должно соответствовать IV классу по
ГОСТ 9.032, группе VI по
ГОСТ 9.104.
Допускаемые отклонения по качеству лакокрасочного покрытия у стеклопластиковых и углестеклопластиковых стержней не должны превышать норм, установленных в таблице 3.
Таблица 3
Наименование отклонения | Норма |
1. Включение посторонних частиц в лакокрасочное покрытие, темные пятна на длине 200 мм в количестве, шт., не более | 3 |
размером, мм, не более | 1 x 2 |
2. Пузыри на длине 200 мм в количестве, шт., не более | 4 |
размером, мм, не более | 2 |
3. Штрихи, риски | Допускаются |
4. Скопление включений посторонних частиц, темных пятен и пузырей | Не допускается |
5.27. Качество гальванического или анодизационного покрытия должно соответствовать требованиям
ГОСТ 9.301.
5.28. Поверхность пластмассовых деталей должна быть без трещин, облоя, сколов, остатков грата, вздутий, усадочных раковин и инородных включений. Ширина следа грата после зачистки не должна превышать 1,5 мм. На литых деталях допускается след литника площадью не более 50 мм2.
5.29. На поверхности резиновых деталей не допускаются трещины и посторонние включения.
Допускаемые отклонения по внешнему виду указаны в таблице 4.
Таблица 4
Наименование отклонения | Норма |
Поверхностные пузыри: | |
высотой, мм, не более | 2,0 |
диаметром, мм, не более | 2,0 |
в количестве, шт., не более | 4 |
Впадины, забоины: | |
глубиной, мм, не более | 1,0 |
общей площадью, мм2, не более | 11,0 |
Зарезы кромки, недопрессовки: | |
глубиной, мм, не более | 1,0 |
длиной, мм, не более | 7,0 |
в количестве, шт., не более | 3 |
Выступы: | |
высотой, мм, не более | 1,0 |
длиной, мм, не более | 3,0 |
в количестве, шт., не более | 3 |
Облой после обрезки заусенцев высотой, мм, не более | 0,8 |
Разнотон | Допускается не ухудшающий товарный вид |
На одной детали допускаемых отклонений по внешнему виду не должно быть более трех.
5.30. Подбор лыжных палок в пары следует проводить по размерам, конструкции, материалам деталей и цвету.
5.31. Допускаемые отклонения лыжных палок в паре по размерам и массе не должны превышать норм, указанных в таблице 5.
Таблица 5
Наименование лыжных палок | Норма расхождения лыжных палок в паре |
по длине, мм, не более | по массе, г, не более | по высоте установки опорного элемента от острия наконечника, мм, не более |
Прогулочные | 5 | 15 | 3 |
Гоночные спортивные |
6.1. Лыжные палки принимают партиями. При приемке лыжных палок изготовителем партией считают количество пар палок одного наименования, изготовленное за смену при неизменном технологическом режиме.
При приемке лыжных палок потребителем партией считают количество пар лыжных палок одного наименования, размера, цвета, одной конструкции, из одного материала и сопровождаемое одним документом о качестве, содержащим:
наименование предприятия-изготовителя или его товарный знак;
наименование изделия;
номер партии;
количество пар в партии;
результаты проведенных испытаний;
дату изготовления;
обозначение настоящего стандарта.
6.2. Для проверки соответствия лыжных палок требованиям настоящего стандарта изготовитель проводит приемо-сдаточные, периодические и типовые испытания.
6.4. Периодические испытания проводят на соответствие лыжных палок по
5.3;
5.9;
5.11;
5.14;
5.17;
5.20 -
5.22;
5.24 -
5.27 не реже одного раза в 6 мес, по
5.4 не реже одного раза в 3 мес, а в части требования к гоночным спортивным лыжным палкам на продольный изгиб - не реже одного раза в год на 0,5% лыжных палок от партии, но не менее пяти пар. Допускается испытание по
5.22 проводить на технологических переходах.
При получении неудовлетворительных результатов хотя бы по одному показателю проверка этих показателей должна быть переведена в приемо-сдаточные испытания до получения положительных результатов подряд на семи партиях лыжных палок.
6.5. Типовые испытания проводят при изменении конструкции, материалов или технологических процессов на соответствие всем требованиям настоящего стандарта на 5% лыжных палок от партии, но не менее десяти пар.
6.6. Потребитель проверяет лыжные палки на соответствие всем требованиям настоящего стандарта на 1% лыжных палок от партии, но не менее пяти пар.
6.7. При получении неудовлетворительных результатов хотя бы по одному показателю проводят повторную проверку на удвоенном количестве лыжных палок, взятых из той же партии.
Результаты повторной проверки распространяются на всю партию.
7.1. Внешний вид, качество сборки и маркировки лыжных палок проверяют визуально путем сравнения с образцом-эталоном и опробованием.
7.2. Внешний вид лакокрасочного покрытия проверяют визуально по
ГОСТ 9.032. Стойкость лакокрасочного покрытия к атмосферным воздействиям проверяют по
ГОСТ 6992.
7.3. Внешний вид гальванического или анодизационного покрытия проверяют визуально по
ГОСТ 9.302.
7.4. Размеры лыжных палок проверяют металлической измерительной рулеткой по
ГОСТ 7502.
7.5. Массу лыжных палок проверяют на весах по
ГОСТ 29329 среднего класса точности с ценой деления 1 г.
7.6. Наружный диаметр стержней лыжных палок проверяют штангенциркулем по
ГОСТ 166.
7.7. Стрелу прогиба стержня гоночной спортивной лыжной палки проверяют приложением статической нагрузки

, действующей в течение

. Нагрузку прикладывают к середине стержня, уложенного на две призматические опоры высотой (100 +/- 5) мм, шириной у основания (10 +/- 0,5) мм и радиусом закругления у вершины (10 +/- 0,5) мм через контактную площадку длиной (35 +/- 5) мм, шириной (25 +/- 5) мм и внутренним радиусом (15 +/- 0,5) мм.
Расстояние между опорами - (800 +/- 5) мм. При этом одна из опор должна находиться на расстоянии (200 +/- 2) мм от конца палки со стороны крепления наконечника.
Измерение стрелы прогиба стержня лыжной палки проводят в месте приложения нагрузки с помощью штангенциркуля по
ГОСТ 166 с ценой деления по нониусу 0,1 мм или другим измерительным инструментом, обеспечивающим погрешность измерения не менее 0,1 мм.
Стрела прогиба определяется значением прогиба стержня палки под нагрузкой по отношению к стержню палки до приложения нагрузки.
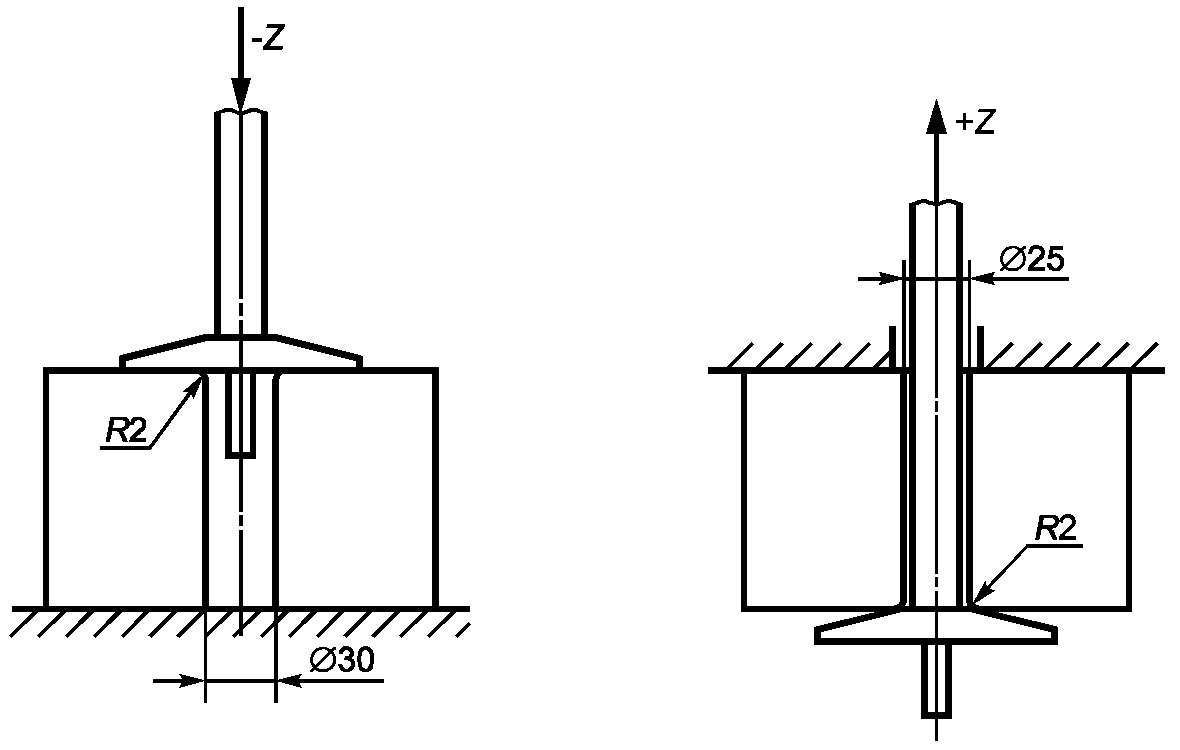
Устойчивость лыжных палок к минимальному сжимающему усилию проверяют приложением вдоль оси стержня статической нагрузки, равной соответственно

для прогулочных,

для гоночных спортивных палок на специальном приспособлении, указанном на
рисунке 1. Стержни устанавливают в специальное приспособление со стороны крепления ручки. Нагрузку прикладывают на расстоянии

от оси стержня со стороны крепления ручки через стальной шар радиусом (15 +/- 0,5) мм.
Остаточную деформацию после испытания лыжных палок на стрелу прогиба, на устойчивость к минимальному и максимальному сжимающему усилию проверяют не менее чем через 180 с после снятия статической нагрузки согласно
7.8.
Остаточную деформацию (прогиб) определяют по стреле прогиба лыжной палки после снятия нагрузки относительно прогиба стержня палки до приложения нагрузки.
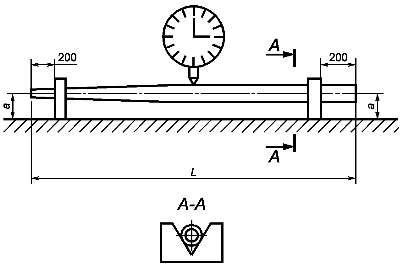
7.8. Прямолинейность и остаточную деформацию стержня лыжной палки после снятия статической нагрузки проверяют на специальном приспособлении
(рисунок 2), состоящем из поверочной плиты класса точности 1 по
ГОСТ 10905 с двумя неподвижными опорами и одной подвижной опоры с индикатором часового типа по
ГОСТ 577.
Лыжную палку укладывают на две неподвижные опоры. Расстояние от свободных концов лыжной палки до неподвижных опор - 200 мм.
Допускается для цилиндрических лыжных палок прямолинейность и остаточную деформацию проверять набором щупов N 2 класса точности 1 по нормативным документам, штангенрейсмасом по
ГОСТ 164 с ценой деления 0,1 мм или другим инструментом, обеспечивающим погрешность измерения не менее 0,1 мм, при наложении стержня на поверочную плиту класса точности 1 по
ГОСТ 10905.
Измерение прямолинейности и остаточной деформации стержня лыжной палки следует проводить в четырех точках по окружности палки, находящихся на равном расстоянии друг от друга.
7.9. Качество гальванического покрытия в части толщины и прочности сцепления и анодно-окисного покрытия в части защитных свойств проверяют по
ГОСТ 9.302.
7.10. Шероховатость полированной поверхности стержня лыжных палок проверяют контактным профилометром системы М по
ГОСТ 19300 или другими оптическими и щуповыми приборами.
7.11. Расстояние от оси лыжной палки до наиболее удаленной точки опорного элемента вычисляют как сумму расстояния от наиболее удаленной точки опорного элемента до стержня палки и радиуса стержня. Измерения проводят штангенциркулем по
ГОСТ 166.
Радиусы округлений измеряют радиусным шаблоном по нормативным документам.
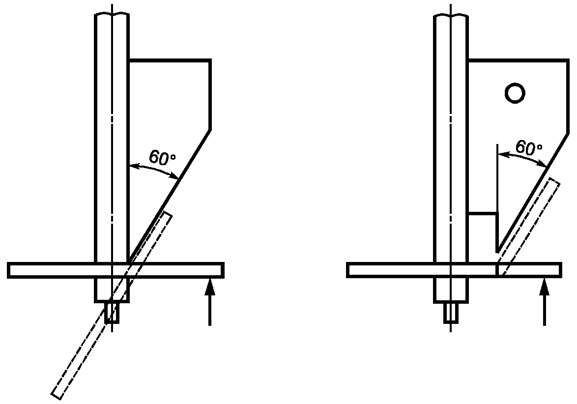
7.12. Угол свободного качания или изгиб опорного элемента в виде кольца проверяют контрольным шаблоном, утвержденным в установленном порядке. При этом шаблон устанавливают между стержнем палки и наклоненным опорным элементом (рисунок 3).
Рисунок 3. Схема проверки угла свободного качания
(изгиба) опорного элемента в виде кольца
7.13. Жесткость закрепления на стержне опорного элемента в виде полукольца проверяют визуально и опробованием опорного элемента.
7.14. Прочность опорного элемента и его крепления к стержню проверяют приложением статической нагрузки на менее

для гоночных спортивных и прогулочных лыжных палок и не менее

- для детских лыжных палок "Малютка", действующей вдоль оси стержня сверху вниз и снизу вверх (рисунок 4).
Рисунок 4. Схема испытания опорного элемента и его
крепления к стержню
К опорному элементу в виде кольца статическую нагрузку прикладывают у его основания через металлическое кольцо внутренним диаметром (30 +/- 1) и (25 +/- 1) мм, толщиной стенки (10 +/- 0,5) мм и закругленными кромками радиусом 2 мм, а к опорному элементу, выполненному в виде полукольца, статическую нагрузку прикладывают к его основанию через приспособление, выполненное по форме опорного элемента.
Стержень или часть стержня лыжной палки с закрепленным на нем опорным элементом перед испытанием необходимо выдержать в течение

при температуре минус 20 °C в холодильной камере.
Испытания проводят при температуре 18 - 22 °C в течение не более 5 мин с момента извлечения стержня с опорным элементом из холодильной камеры.
7.15. Толщину темляка проверяют в трех местах по длине индикаторным толщиномером по
ГОСТ 11358 с ценой деления 0,1 мм.
7.16. Прочность темляка и его крепления к стержню проверяют путем приложения статической нагрузки не менее

или не менее

(для детских лыжных палок "Малютка"), действующей в направлении сверху вниз, на разрывной машине с максимальной измеряемой нагрузкой 5 кН или на специальном приспособлении с применением динамометра с максимальной измеряемой нагрузкой 5 кН по ГОСТ 9500. Нагрузку к петле темляка прикладывают через валик диаметром (35 +/- 1) мм (рисунок 5).
Рисунок 5. Схема испытания на прочность темляка и его
крепления к стержню
7.17. Длину ручки и рабочей части наконечника, ширину темляка, а также расхождение в паре лыжных палок по высоте установки опорного элемента от острия наконечника проверяют металлической измерительной линейкой по
ГОСТ 427.
7.18. Радиус закругления края ручки лыжных палок проверяют радиусным шаблоном по нормативным документам.
7.19. Надежность соединения ручки со стержнем проверяют приложением статической нагрузки не менее

для прогулочных лыжных палок, не менее

для детских лыжных палок "Малютка" и не менее

для гоночных спортивных лыжных палок, действующей вдоль стержня снизу вверх на разрывной машине с максимальной измеряемой нагрузкой 5 кН или на специальном приспособлении с применением динамометра с максимальной измеряемой нагрузкой 5 кН по ГОСТ 9500 (рисунок 6).
Рисунок 6. Схема испытания на надежность соединения
ручки со стержнем
Стержень или часть стержня лыжной палки с закрепленной на нем ручкой перед испытанием выдерживают в течение

при температуре минус 20 °C.
Испытания проводят при температуре 18 - 22 °C в течение не более 3,5 мин с момента извлечения стержня с ручкой из холодильной камеры.
7.20. Твердость наконечника проверяют по
ГОСТ 9013 на расстоянии 10 - 15 мм от его острия одним отпечатком.
7.21. Смещение оси симметрии наконечника проверяют штангенрейсмасом по
ГОСТ 164 при установке палки на поверочную призму по нормативным документам, наложенную на поверочную плиту по
ГОСТ 10905 или поверочную линейку по
ГОСТ 8026. Измерение проводят в двух точках при повороте палки на 180° (рисунок 7).
Рисунок 7. Схема проверки отклонения плоского наконечника
от оси симметрии стержня палки
7.22. Прочность наконечника и его крепления к стержню проверяют приложением к наконечнику статической нагрузки, действующей вдоль стержня: на сжатие не менее

и на вырывание не менее

для прогулочных лыжных палок, на сжатие не менее

и на вырывание не менее

для гоночных спортивных лыжных палок на разрывной машине с максимальной измеряемой нагрузкой 5 кН или на специальном приспособлении с применением динамометра с максимальной измеряемой нагрузкой 5 кН по ГОСТ 9500 (рисунок 8).
Рисунок 8. Схема испытания наконечника и его
крепления к стержню
8. МАРКИРОВКА, УПАКОВКА, ТРАНСПОРТИРОВАНИЕ И ХРАНЕНИЕ
8.1. На верхней части стержня каждой лыжной палки способом декалькомании, шелкографии или липкой аппликации должны быть нанесены:
товарный знак предприятия-изготовителя;
длина палки в сантиметрах.
Допускается маркировку наносить на стержень лыжной палки способом штемпелевания или накатки.
Допускается на темляке несмываемой краской или тиснением наносить длину палки; на ручке из пластмассы или резины гравировкой в пресс-форме или опрессовкой, выполненной шрифтом 4-Пр3 по
ГОСТ 26.020, наносить товарный знак предприятия-изготовителя.
Маркировка должна быть четкой.
При сертификации изделий знак соответствия по нормативным документам наносят на изделие или тару-упаковку, или бумажную этикетку, или сопроводительную документацию.
Место нанесения знака соответствия должно быть определено в нормативных документах.
8.2. Лыжные палки, подобранные в пары согласно
5.30 и
5.31, связывают в одном месте шпагатом по
ГОСТ 17308 или мягкой вязкой из любого вида синтетического сырья.
К каждой паре лыжных палок должен быть прикреплен ярлык с информацией для потребителя в соответствии с
ГОСТ Р 51121.
8.3. Лыжные палки, упакованные по
8.2, укладывают в связки. В каждой связке должно находиться от пяти до десяти пар лыжных палок одного наименования, размера, цвета, одной конструкции и из одного материала.
8.4. Лыжные палки транспортируют любым видом транспорта в крытых транспортных средствах в соответствии с правилами перевозки грузов, действующими на данном виде транспорта.
8.5. Лыжные палки в упакованном виде в штабелях следует хранить в закрытом проветриваемом помещении при температуре от 0 до 20 °C и относительной влажности воздуха не более 80% при 20 °C на расстоянии не менее 1 м от отопительных приборов.
При хранении лыжные палки не должны подвергаться действию агрессивных сред, вызывающих разрушение пластмассы, резины и коррозию металлических частей.
8.6. В штабель лыжные палки укладывают горизонтально так, чтобы последующая связка ложилась поперек предыдущей. По высоте в штабель следует укладывать не более десяти связок.
8.7. По требованию потребителя стальные детали палок, предназначенные для длительного хранения, должны быть покрыты антикоррозийной смазкой по
ГОСТ 1033.
Допускается применять другие смазки по показателям вязкости и содержанию свободных органических кислот не ниже указанной.
9.1. Изготовитель гарантирует соответствие лыжных палок требованиям настоящего стандарта при соблюдении условий транспортирования и хранения.
9.2. Гарантийный срок эксплуатации лыжных палок - 12 мес со дня получения потребителем.