Главная // Актуальные документы // ГОСТ Р (Государственный стандарт)СПРАВКА
Источник публикации
М.: Стандартинформ, 2017
Примечание к документу
Текст данного документа приведен с учетом
поправки, опубликованной в "ИУС", N 2, 2021.
Документ
введен в действие с 01.01.2019.
Название документа
"ГОСТ Р МЭК 62067-2017. Национальный стандарт Российской Федерации. Кабели силовые с экструдированной изоляцией и арматура к ним на номинальное напряжение свыше 150 кВ (Um = 170 кВ) до 500 кВ (Um = 550 кВ). Методы испытаний и требования к ним"
(утв. и введен в действие Приказом Росстандарта от 19.09.2017 N 1148-ст)
"ГОСТ Р МЭК 62067-2017. Национальный стандарт Российской Федерации. Кабели силовые с экструдированной изоляцией и арматура к ним на номинальное напряжение свыше 150 кВ (Um = 170 кВ) до 500 кВ (Um = 550 кВ). Методы испытаний и требования к ним"
(утв. и введен в действие Приказом Росстандарта от 19.09.2017 N 1148-ст)
Утвержден и введен в действие
агентства по техническому
регулированию и метрологии
от 19 сентября 2017 г. N 1148-ст
НАЦИОНАЛЬНЫЙ СТАНДАРТ РОССИЙСКОЙ ФЕДЕРАЦИИ
КАБЕЛИ СИЛОВЫЕ С ЭКСТРУДИРОВАННОЙ ИЗОЛЯЦИЕЙ
И АРМАТУРА К НИМ НА НОМИНАЛЬНОЕ НАПРЯЖЕНИЕ
СВЫШЕ 150 кВ

ДО 500 кВ

МЕТОДЫ ИСПЫТАНИЙ И ТРЕБОВАНИЯ К НИМ
Power cables with extruded insulation and their accessories
for rated voltages above 150 kV

up to 500 kV

. Test methods and requirements
(IEC 62067:2011, IDT)
ГОСТ Р МЭК 62067-2017
Дата введения
1 января 2019 года
1 ПОДГОТОВЛЕН Открытым акционерным обществом "Всероссийский научно-исследовательский, проектно-конструкторский и технологический институт кабельной промышленности" (ОАО "ВНИИКП") на основе собственного перевода на русский язык международного стандарта, указанного в пункте 4
2 ВНЕСЕН Техническим комитетом по стандартизации ТК 46 "Кабельные изделия"
3 УТВЕРЖДЕН И ВВЕДЕН В ДЕЙСТВИЕ
Приказом Федерального агентства по техническому регулированию и метрологии от 19 сентября 2017 г. N 1148-ст
4 Настоящий стандарт идентичен международному стандарту МЭК 62067:2011 "Кабели силовые с экструдированной изоляцией и арматура к ним на номинальное напряжение свыше 150 кВ (
Um = 170 кВ) до 500 кВ (
Um = 550 кВ). Методы испытаний и требования к ним" (IEC 62067:2011 "Power cables with extruded insulation and their accessories for rated voltages above 150 kV (
Um = 170 kV) up to 500 kV (
Um = 550 kV) - Test methods and requirements", IDT).
Международный стандарт МЭК 62067:2011 разработан Техническим комитетом ТК 20 "Электрические кабели" Международной электротехнической комиссии (МЭК).
Официальные экземпляры международного стандарта, на основе которого подготовлен настоящий национальный стандарт, и международных стандартов, на которые даны ссылки, имеются в Федеральном информационном фонде стандартов.
При применении настоящего стандарта рекомендуется использовать вместо ссылочных международных стандартов соответствующие им национальные стандарты Российской Федерации, сведения о которых приведены в дополнительном
приложении ДА
6 Некоторые положения международного стандарта, указанного в
пункте 4, могут являться объектом патентных прав. МЭК не несет ответственности за идентификацию подобных патентных прав
Правила применения настоящего стандарта установлены в
статье 26 Федерального закона от 29 июня 2015 г. N 162-ФЗ "О стандартизации в Российской Федерации". Информация об изменениях к настоящему стандарту публикуется в ежегодном (по состоянию на 1 января текущего года) информационном указателе "Национальные стандарты", а официальный текст изменений и поправок - в ежемесячном информационном указателе "Национальные стандарты". В случае пересмотра (замены) или отмены настоящего стандарта соответствующее уведомление будет опубликовано в ближайшем выпуске ежемесячного информационного указателя "Национальные стандарты". Соответствующая информация, уведомление и тексты размещаются также в информационной системе общего пользования - на официальном сайте Федерального агентства по техническому регулированию и метрологии в сети Интернет (www.gost.ru)
Настоящий стандарт распространяется на силовые кабели для стационарной прокладки на номинальное переменное напряжение свыше 150 кВ (Um = 170 кВ) до 500 кВ (Um = 550 кВ) включительно и арматуру к ним и устанавливает требования к методам испытаний кабелей и кабельной арматуры.
Настоящий стандарт устанавливает требования к одножильным кабелям и арматуре к ним для нормальных условий прокладки и эксплуатации кабелей, за исключением кабелей и арматуры к ним специального назначения, таких как подводные кабели, для которых необходимо внести изменения в стандартные испытания и разработать особые условия испытаний.
Настоящий стандарт не распространяется на кабели и арматуру для подводной прокладки, а также на переходные муфты между кабелями с экструдированной изоляцией и кабелями с бумажной изоляцией.
В настоящем стандарте использованы нормативные ссылки на следующие стандарты. Для датированных ссылок применяют только указанное издание, для недатированных - последнее издание указанного стандарта, включая все изменения и поправки к нему.
Примечание - В настоящее время проводится пересмотр стандартов МЭК серии 60811, который приведет к реструктуризации ее частей. Описание этого процесса и таблица перекрестных ссылок между действующими в настоящее время и будущими частями указаны в МЭК 60811-100.
IEC 60060-1, High-voltage test techniques - Part 1: General definitions and test requirements (Испытания высоким напряжением. Часть 1. Общие определения и требования к испытаниям)
IEC 60183, Guide to the selection of high-voltage cables (Руководство по выбору высоковольтных кабелей)
IEC 60228, Conductors of insulated cables (Токопроводящие жилы изолированных кабелей)
IEC 60229:2007, Electric cables - Tests on extruded oversheaths with a special protective function (Электрические кабели. Испытания наружных экструдированных оболочек кабелей, выполняющих специальную защитную функцию)
IEC 60230, Impulse tests on cables and their accessories (Испытания импульсным напряжением кабелей и арматуры к ним)
IEC 60287-1-1:2006, Electric cables - Calculation of the current rating - Part 1-1: Current rating equations (100% load factor) and calculation of losses - General (Электрические кабели. Расчет номинальной токовой нагрузки. Часть 1-1. Уравнения для расчета номинальной токовой нагрузки (100-процентный коэффициент токовой нагрузки) и расчет потерь. Общие положения)
IEC 60332-1-2, Tests on electric and optical fibre cables under fire conditions - Part 1-2: Test for vertical flame propagation for a single insulated wire or cable - Procedure for 1 kW pre-mixed flame (Испытания электрических и оптических кабелей в условиях воздействия пламени. Часть 1-2. Испытание на нераспространение горения одиночного вертикально расположенного изолированного провода или кабеля. Проведение испытания при воздействии пламени газовой горелки мощностью 1 кВт с предварительным смешением газов)
IEC 60811-1-1:1993 <1>, Common test methods for insulating and sheathing materials of electric and optical cables - Section 1-1: Methods for general application - Measurement of thickness and overall dimensions - Tests for determining the mechanical properties, Amendment 1 (2001) (Общие методы испытаний материалов изоляции и оболочек электрических и оптических кабелей. Часть 1-1. Методы общего применения. Измерение толщины и наружных размеров. Испытания для определения механических свойств)
--------------------------------
<1> Действует МЭК 60811, части 201-203, 501.
IEC 60811-1-2:1985 <2>, Common test methods for insulating and sheathing materials of electric cables - Part 1: Methods for general application - Section 2: Thermal ageing methods, Amendment 1 (1989), Amendment 2 (2000) (Общие методы испытаний материалов изоляции и оболочек электрических кабелей. Часть 1. Методы общего применения. Раздел 2. Методы теплового старения)
--------------------------------
<2> Действует МЭК 60811, части 401, 412.
IEC 60811-1-3:1993 <3>, Common test methods for insulating and sheathing materials of electric cables - Part 1-3: General application - Methods for determining the density - Water absorption tests - Shrinkage test, Amendment 1 (2001) (Общие методы испытаний материалов изоляции и оболочек электрических кабелей. Часть 1-3. Методы общего применения. Методы определения плотности. Испытание на влагопоглощение. Испытание на усадку)
--------------------------------
<3> Действует МЭК 60811, части 402, 502, 503, 606.
IEC 60811-1-4:1985 <4>, Common test methods for insulating and sheathing materials of electric cables - Part 1: Methods for general application - Section 4: Tests at low temperature, Amendment 1 (1993), Amendment 2 (2001) (Общие методы испытаний материалов изоляции и оболочек электрических кабелей. Часть 1. Методы общего применения. Раздел 4. Испытания при низкой температуре)
--------------------------------
<4> Действует МЭК 60811, части 504 - 506.
IEC 60811-2-1:1998 <5>, Common test methods for insulating and sheathing materials of electric and optical cables - Part 2-1: Methods specific to elastomeric compounds - Ozone resistance, hot set and mineral oil immersion tests, Amendment 1 (2001) (Общие методы испытаний материалов изоляции и оболочек электрических и оптических кабелей. Часть 2-1. Специальные методы испытаний эластомерных композиций. Испытания на озоностойкость, тепловую деформацию и маслостойкость)
--------------------------------
<5> Действует МЭК 60811, части 403, 404, 507.
IEC 60811-3-1:1985 <6>, Common test methods for insulating and sheathing materials of electric cables - Part 3: Methods specific to PVC compounds - Section 1: Pressure test at high temperature - Tests for resistance to cracking, Amendment 1 (1994), Amendment 2 (2001) (Общие методы испытаний материалов изоляции и оболочек электрических кабелей. Часть 3. Специальные методы испытаний поливинилхлоридных компаундов. Раздел 1. Испытание под давлением при высокой температуре. Испытания на стойкость к растрескиванию)
--------------------------------
<6> Действует МЭК 60811, части 508, 509.
IEC 60811-3-2:1985 <7>, Common test methods for insulating and sheathing materials of electric cables - Part 3: Methods specific to PVC compounds - Section 2: Loss of mass test - Thermal stability test, Amendment 1 (1993), Amendment 2 (2003) (Общие методы испытаний материалов изоляции и оболочек электрических кабелей. Часть 3. Специальные методы испытаний поливинилхлоридных компаундов. Раздел 2. Определение потери массы. Испытание на термическую стабильность)
--------------------------------
<7> Действует МЭК 60811, части 405, 409.
IEC 60811-4-1:2004
<8>, Insulating and sheathing materials of electric and optical cables - Common test methods - Part 4-1: Methods specific to polyethylene and polypropylene compounds - Resistance to environmental stress cracking - Measurement of the melt flow index - Carbon black and/or mineral filler content measurement in polyethylene by direct combustion - Measurement of carbon black content by thermogravimetric analysis (TGA) - Assessment of carbon black dispersion in polyethylene using a microscope (Общие методы испытаний материалов изоляции и оболочек электрических и оптических кабелей. Часть 4-1. Специальные методы испытаний полиэтиленовых и полипропиленовых композиций. Стойкость к растрескиванию под напряжением в условиях окружающей среды. Определение показателя текучести расплава. Определение содержания сажи и/или минерального наполнителя в полиэтилене методом непосредственного сжигания. Определение содержания сажи методом термогравиметрического анализа (TGA). Определение дисперсии сажи в полиэтилене с помощью микроскопа)
--------------------------------
<8> Действует МЭК 60811, части 406, 511, 605.
IEC 60885-3, Electrical test methods for electric cables - Part 3: Test methods for partial discharge measurements on lengths of extruded power cables (Методы электрических испытаний электрических кабелей. Часть 3. Методы испытаний по измерению частичных разрядов на длинах силовых экструдированных кабелей)
В настоящем стандарте применены следующие термины с соответствующими определениями.
3.1. Определения размерных параметров (толщины, сечения и т.д.)
3.1.1 номинальное значение (nominal value): Значение, определяющее параметр, которое часто используется в таблицах.
Примечание - Приведенные в настоящем стандарте номинальные значения - это значения, которые проверяют измерениями с учетом установленных предельных отклонений.
3.1.2 медианное значение (median value): Полученные результаты, расположенные в ряд в порядке возрастания (или убывания) числовых значений и определяющие медианное значение, которое находится в середине ряда, если число полученных результатов нечетное, или усредненное из двух, находящихся в середине ряда, если число результатов четное.
3.2. Определения, относящиеся к испытаниям
3.2.1 приемо-сдаточные испытания (routine tests): Испытания, проводимые изготовителем на каждой строительной длине кабеля или на каждом виде арматуры с целью проверки соответствия установленным требованиям.
3.2.2 испытания на образцах (sample tests): Испытания, проводимые изготовителем на образцах готового кабеля или конструктивных элементах, взятых от готового кабеля, или арматуры с установленной периодичностью с целью проверки соответствия готового изделия установленным требованиям.
3.2.3 типовые испытания (type tests): Испытания, проводимые изготовителем на стадии постановки на производство кабеля по настоящему стандарту с целью обеспечения гарантии соответствия его эксплуатационных характеристик установленным требованиям.
Примечание - После проведения типовых испытаний нет необходимости в их повторении до тех пор, пока не будут внесены изменения в применяемые материалы, конструкцию кабеля или технологию изготовления, которые могут повлиять на его эксплуатационные характеристики.
3.2.4 предквалификационные испытания (prequalification tests): Испытания, проводимые на соответствие настоящему стандарту перед поставкой на общей коммерческой основе какого-либо типа кабеля или кабельной системы для подтверждения, что готовый кабель или кабельная система способны сохранять удовлетворительные технические характеристики в течение длительного времени.
3.2.5 испытания, проводимые с целью расширения предквалификационных испытаний (extension of prequalification tests): Испытания, проводимые перед поставкой на коммерческой основе типа кабеля или кабельной системы по требованиям настоящего стандарта для подтверждения, что готовый кабель или кабельная система способны сохранять характеристики удовлетворительными в течение длительного времени, с учетом того, что кабели или кабельная система выдержали предквалификационные испытания.
3.2.6 электрические испытания после прокладки (electrical tests after installation): Испытания, проводимые с целью проверки качества кабеля и его арматуры после прокладки.
3.3.1 кабельная система (cable system): Кабель, оснащенный арматурой, включая элементы, используемые только в качестве концевых и соединительных муфт для термомеханического ограничения систем.
3.3.2 номинальное электрическое напряжение (nominal electrical stress): Электрическое напряжение, рассчитанное при Uо с использованием номинальных размеров.
4. Обозначения напряжений и материалов
4.1. Номинальные напряжения
В настоящем стандарте использованы условные обозначения Uо, U и Um для того, чтобы дать представление о номинальных значениях напряжения кабелей и арматуры; значения этих условных обозначений приведены в МЭК 60183.
4.2. Материалы изоляции кабелей
Изоляционные материалы кабелей, на которые распространяются требования настоящего стандарта, приведены в
таблице 1 с указанием максимальной рабочей температуры на жиле для каждого изоляционного материала, которая является основанием для установленных условий испытаний.
4.3. Металлические экраны/оболочки кабелей
Настоящий стандарт распространяется на кабели различных конструкций, в том числе конструкции, обеспечивающие радиальную водонепроницаемость кабеля.
Конструкции, обеспечивающие радиальную водонепроницаемость кабеля, состоят в основном из следующих элементов:
- металлических оболочек;
- продольно наложенных металлических лент или фольги, имеющих адгезию к наружной оболочке;
- композитных экранов, включающих в себя повив из проволок и дополнительно металлическую оболочку либо металлическую ленту или фольгу, имеющие адгезию к наружной оболочке и служащие водонепроницаемым барьером (см.
раздел 5), и другие конструкции, например, металлические ленты или фольгу, не имеющие адгезию к наружной оболочке, или только повив из металлических проволок.
Примечание - Во всех случаях металлические экран/оболочка должны выдерживать суммарный ток короткого замыкания.
4.4. Материалы наружных оболочек кабелей
Испытания установлены для следующих четырех типов материалов наружных оболочек:
- ST1 и ST2 на основе поливинилхлоридного пластиката;
- ST3 и ST7 на основе полиэтилена.
Тип наружной оболочки выбирают в зависимости от конструкции кабеля, механических и тепловых воздействий на него в процессе прокладки и эксплуатации.
Максимально допустимые температуры нагрева жил кабелей для нормальных условий эксплуатации для разных типов материалов наружной оболочки кабелей приведены в
таблице 2.
Примечание - В некоторых случаях наружная оболочка может быть покрыта функциональным слоем (например, полупроводящим).
5. Защита кабелей от проникновения влаги
Для кабельных систем, проложенных в грунте, легко затапливаемых туннелях или в воде, рекомендуется радиальная герметизация кабеля.
Примечание - В настоящее время испытаний на радиальное проникновение влаги в кабель не существует.
Допускается применение продольной герметизации во избежание замены больших отрезков кабеля в случае его повреждения при наличии воды.
Испытание на водопроницаемость приведено в
12.5.14.
Для проведения испытаний кабельных систем и кабелей, рассматриваемых в настоящем стандарте, и регистрации результатов испытаний кабели следует идентифицировать. Должны быть известны или заявлены следующие параметры:
a) наименование изготовителя, тип кабеля, его обозначение и дата изготовления или датированный код;
b) номинальное напряжение - должны быть указаны значения
Uо,
U,
Um (см.
4.1 и
8.4);
c) тип жилы, ее материал и номинальное сечение, мм
2; конструкция жилы; возможное наличие и характер мер, принятых для уменьшения поверхностного эффекта; возможное наличие и характер мер, принятых для обеспечения продольной герметизации, если номинальное сечение жил не соответствует требованиям МЭК 60228, то должно быть указано электрическое сопротивление жилы постоянному току, пересчитанное на 1 км длины кабеля и температуру 20 °C;
d) материал и номинальная толщина изоляции (
tn) (см.
4.2);
e) способ наложения изоляции;
f) возможное наличие и характер мер для обеспечения герметичности экрана;
g) материал и конструкция металлического экрана (при наличии), например, число и диаметр проволок. Должно быть указано сопротивление металлического экрана постоянному току. Материал, конструкция и номинальная толщина металлической оболочки или продольно наложенных металлической ленты или фольги (при наличии), имеющих адгезию к наружной оболочке;
h) материал и номинальная толщина наружной оболочки;
i) номинальный диаметр токопроводящей жилы (
d);
j) номинальный наружный диаметр кабеля (
D);
k) номинальный внутренний (dii) и номинальный расчетный наружный (Diо) диаметры изоляции;
l) номинальная емкость между жилой и экраном или металлической оболочки, приведенная к 1 км длины кабеля;
m) расчетная номинальная напряженность электрического поля на экране по жиле (Ei) и на экране по изоляции (Eо):

(1)

(2)
где Diо = dii + 2tn;
Diо - расчетный номинальный наружный диаметр по изоляции;
dii - номинальный внутренний диаметр по изоляции;
tn - номинальная толщина изоляции.
Для проведения и регистрации испытаний кабельных систем или арматуры, рассматриваемых в настоящем стандарте, арматура должна быть идентифицирована. Должны быть известны или заявлены следующие параметры:
a) кабели, используемые для испытания арматуры, должны быть идентифицированы, как указано в
разделе 6;
b) информация о следующих параметрах соединений жил, используемых в арматуре:
- техника монтажа;
- инструмент, матрицы и необходимое оборудование;
- подготовка контактных поверхностей;
- тип, ссылочный номер и любая другая характеристика соединения;
- подробное изложение процедуры подтверждения соответствия при типовых испытаниях соединителей, если они используются;
c) испытуемая арматура должна иметь следующую информацию:
- наименование изготовителя;
- тип, обозначение, дата изготовления или код этой даты;
- инструкции по монтажу (ссылка и дата).
8.1. Температура окружающей среды
Испытания проводят при температуре окружающей среды (20 +/- 15) °C, если в конкретном методе испытания не указано иное.
8.2. Частота и форма волны испытательного напряжения промышленной частоты
Если в настоящем стандарте не указано иное, частота испытательного напряжения переменного тока должна находиться в диапазоне 49 - 61 Гц. Форма волны этого напряжения должна быть практически синусоидальной. Указанные значения являются среднеквадратичными.
8.3. Форма волны грозового импульсного испытательного напряжения
8.3.1 Грозовое импульсное напряжение
В соответствии с МЭК 60230 длительность фронта волны стандартного грозового импульса напряжения должна быть в диапазоне 1 - 5 мкс. Длительность до половины значения должна быть (50 +/- 10) мкс, как установлено в МЭК 60060-1.
8.3.2 Коммутационное импульсное напряжение
В соответствии с МЭК 60060-1 длительность стандартного импульса коммутационного напряжения должна быть до пика (250 +/- 50) мкс и до половины значения (2500 +/- 1500) мкс.
8.4. Зависимость между испытательным и номинальным напряжением
Если испытательное напряжение нормировано в настоящем стандарте как кратное номинальному напряжению
Uо, то значение
Uо для определения испытательного напряжения должно соответствовать указанному в
таблице 4.
Для кабелей и арматуры, номинальное напряжение которых не приведено в
таблице 4, значение
Uо для определения испытательного напряжения может быть выбрано ближайшее из ряда при условии, что значение
Um для кабеля и арматуры не превышает соответствующего значения из
таблицы 4. В противном случае, в частности если номинальное напряжение не приближается к одному из значений в
таблице 4, значение
Uо, являющееся основой испытательного напряжения, должно быть равно номинальному значению, то есть значению
U, деленному на

.
Испытательные напряжения, приведенные в настоящем стандарте, основаны на предположении, что кабели и арматуру используют в сетях категории A по МЭК 60183.
8.5. Определение температуры токопроводящей жилы кабеля
Для определения фактической температуры токопроводящей жилы кабеля рекомендуется использовать один из методов испытаний, приведенных в
приложении A.
9. Приемо-сдаточные испытания кабелей и основной изоляции предварительно изготовленной арматуры
На всех строительных длинах кабеля должны быть проведены следующие испытания:
a) измерение частичных разрядов по
9.2;
b) испытание напряжением по
9.3;
c) электрическое испытание наружной оболочки (если требуется) по
9.4.
Последовательность проведения испытаний устанавливает изготовитель.
Основная изоляция каждой предварительно изготовленной арматуры должна выдерживать испытания на частичные разряды по
9.2 и напряжением по
9.3 в соответствии с одним из вариантов испытаний, приведенных в перечислениях:
1) на арматуре, смонтированной на кабеле;
2) используя другую арматуру, в которую введен испытуемый элемент вместо элемента, соответствующего этой арматуре;
3) используя моделирующее устройство арматуры, в котором воспроизведены электрические условия элемента основной изоляции.
Для перечислений 2) и 3) испытательное напряжение следует выбирать так, чтобы получить электрические поля, по крайней мере равные тем, которые будут приложены к элементу в готовой арматуре, к которой приложено испытательное напряжение по
9.2 и
9.3.
Примечание - Элементы основной изоляции предварительно изготовленной арматуры, находящиеся в непосредственном контакте с изоляцией кабеля, требуют обязательного контроля распределения электрического поля в арматуре. Примерами могут служить изоляционные компоненты из эластомера или эпоксидной смолы, предварительно изготовленные или отлитые на предприятии-изготовителе, которые можно использовать отдельно или в сочетании для того, чтобы обеспечить восстановление изоляции или экрана арматуры.
9.2. Измерение частичных разрядов
Измерение частичных разрядов проводят в соответствии с МЭК 60885-3 для кабелей, за исключением того, что значения чувствительности, определенные по МЭК 60885-3, должны быть 10 пКл или выше. Испытание арматуры проводят тем же методом, но чувствительность должна быть 5 пКл или выше.
Испытательное напряжение постепенно поднимают до значения 1,75
Uо, выдерживают на этом значении в течение 10 с и затем постепенно снижают до уровня 1,5
Uо (см.
графу 5 таблицы 4).
На уровне 1,5Uо не должен быть зафиксирован разряд от испытуемого объекта, превышающий заявленную чувствительность.
9.3. Испытание напряжением
Испытание должно быть проведено при температуре окружающей среды напряжением переменного тока промышленной частоты.
Испытательное напряжение постепенно поднимают до установленного уровня, выдерживают на этом уровне в течение установленного времени между жилой и экраном или металлической оболочкой (см.
графу 4 таблицы 4).
Не должно произойти пробоя изоляции.
9.4. Электрическое испытание наружной оболочки кабеля
Если такое требование содержится в контракте, то должно быть проведено испытание напряжением наружной оболочки кабеля по МЭК 60229 (раздел 3).
10. Испытания на образцах кабелей
Следующие испытания проводят на образцах, отобранных в качестве представителей изготовленных партий кабелей, при этом испытания по перечислениям b) и
g) могут быть проведены на строительных длинах кабеля, намотанных на барабан:
a) проверка токопроводящей жилы по
10.4;
b) измерение электрического сопротивления жилы и металлического экрана/оболочки по
10.5;
c) измерение толщины изоляции и наружной оболочки по
10.6;
d) измерение толщины металлической оболочки по
10.7;
e) измерение диаметров (если это требуется) по
10.8;
f) испытание на тепловую деформацию изоляции из сшитого полиэтилена (XLPE), этиленпропиленовой резины (EPR) и высокомодульной этиленпропиленовой резины (HEPR) по
10.9;
g) измерение емкости по
10.10;
h) определение плотности изоляции из полиэтилена высокой плотности (HDPE) по
10.11;
i) испытание грозовым импульсным напряжением по
10.12;
j) испытание на водонепроницаемость (если требование предъявляется) по
10.13;
k) испытание на элементах конструкции кабеля с продольно наложенными металлической лентой или фольгой, имеющими адгезию к наружной оболочке по
10.14.
10.2. Периодичность испытаний
Испытания на образцах по
перечислениям a) -
h) и
перечислению k) 10.1 проводят на одной строительной длине от каждой изготовляемой партии (промышленной серии) кабелей одного типа и номинального сечения. При этом число испытуемых длин должно быть не более 10% общего числа длин, поставляемых по одному контракту. Число длин округляется до ближайшего большего числа.
Испытания по
перечислениям i) и
j) 10.1 проводят с периодичностью, указанной в нормативных документах по контролю качества. Если такие документы отсутствуют, следует проводить одно испытание при длине кабеля от 4 до 20 км и два испытания при длине кабеля, поставляемого по контракту, свыше 20 км.
10.3. Повторные испытания
При получении неудовлетворительных результатов хотя бы по одному из перечисленных в
разделе 10 испытаний должны быть отобраны новые образцы от двух других строительных длин кабеля той же партии, которые должны быть подвергнуты тем же испытаниям, при которых на первых образцах были получены неудовлетворительные результаты. Если результаты испытаний на новых образцах будут удовлетворительными, то всю партию кабелей, от которой они были отобраны, рассматривают как соответствующую требованиям настоящего стандарта. При получении неудовлетворительного результата хотя бы на одном образце, отобранном от одной из этих строительных длин, партию кабелей рассматривают как несоответствующую требованиям настоящего стандарта.
10.4. Проверка токопроводящей жилы
Проверку соответствия конструкции токопроводящей жилы требованиям МЭК 60228 проводят внешним осмотром или (если возможно) измерением.
10.5. Измерение электрического сопротивления жилы и металлического экрана/оболочки
Строительную длину кабеля или отобранный от нее образец размещают в испытательной камере и выдерживают до начала испытания при постоянной температуре в течение не менее 12 ч. Если нет уверенности в том, что температура жилы или металлического экрана сравнялась с температурой в испытательной камере, сопротивление следует измерять после выдержки в испытательной камере в течение не менее 24 ч. Допускается измерять электрическое сопротивление жилы или металлического экрана на образце после выдержки в течение не менее 1 ч в жидкой ванне с регулируемой температурой.
Электрическое сопротивление жилы постоянному току должно быть пересчитано на температуру 20 °C и длину 1 км с использованием формул и коэффициентов, приведенных в МЭК 60228. Для экранов не из меди или алюминия температурные коэффициенты и поправки к формулам следует выбирать из МЭК 60287-1-1 (пункт 2.1.1, таблица 1).
Значение электрического сопротивления жилы постоянному току при температуре 20 °C должно быть не более максимального значения сопротивления, приведенного в МЭК 60228, или значения, указанного в нормативном документе на конкретный кабель.
Значение электрического сопротивления металлического экрана постоянному току при температуре 20 °C должно быть не более значения, указанного в нормативном документе на конкретный кабель.
10.6. Измерение толщины изоляции и наружной оболочки кабеля
10.6.1 Общие положения
Метод измерения должен соответствовать МЭК 60811-1-1 (раздел 8).
От одного конца каждой отобранной для испытания строительной длины кабеля отбирают образец после удаления при необходимости поврежденных частей.
10.6.2 Требования к изоляции
Наименьшее значение толщины, полученное при измерении, должно быть не менее 90% номинальной толщины
tmin >= 0,90tn, (3)
кроме того,

(4)
где tmax - максимальная толщина, мм;
tmin - минимальная толщина, мм;
tn - номинальная толщина, мм.
Примечание - tmax и tmin являются значениями, измеренными на одном срезе изоляции.
Значение толщины электропроводящих экранов по жиле и изоляции не должно включаться в значение толщины изоляции.
10.6.3 Требования к наружной оболочке кабеля
Наименьшее значение толщины, полученное при измерении, не должно быть менее 85% номинальной толщины более чем на 0,1 мм
tmin >= 0,85tn - 0,1, (5)
где tmin - минимальная толщина, мм;
tn - номинальная толщина, мм.
Для оболочек, наложенных на практически гладкую поверхность, среднее значение измерений, округленное до 0,1 мм в соответствии с
приложением B, должно быть не менее номинальной толщины.
Это требование не распространяется на оболочки, наложенные на неровную поверхность, например, на проволочные или ленточные металлические экраны или металлические гофрированные оболочки.
10.7. Измерение толщины металлической оболочки
Если кабель имеет металлическую оболочку из свинца, свинцового сплава или алюминия, проводят следующие измерения.
10.7.1 Оболочка из свинца или свинцового сплава
Минимальная толщина оболочки должна быть не менее 95% номинальной толщины более чем на 0,1 мм
tmin >= 0,90tn - 0,1. (6)
Измерение толщины свинцовой оболочки по выбору изготовителя проводят одним из следующих методов.
10.7.1.1 Метод измерения на плоском образце
Измерение проводят микрометром с плоскими щечками, диаметром щупов 4 - 8 мм и с погрешностью +/- 0,01 мм.
Измерение проводят на образце оболочки длиной около 50 мм, отобранном от готового кабеля. Образец разрезают продольно оси, затем тщательно выпрямляют. После очистки образца толщину образца измеряют вдоль окружности оболочки не менее чем в 10 мм от края выпрямленного образца в достаточно большом числе точек, чтобы была уверенность в том, что определена минимальная толщина.
10.7.1.2 Измерение на образце в виде кольца
Измерение проводят микрометром либо с одной плоской и другой сферической щечкой, либо с одной плоской и другой прямоугольной щечкой шириной 0,8 мм и длиной 2,4 мм. Сферическая или прямоугольная щечка должна быть приложена к внутренней поверхности кольца. Погрешность микрометра должна быть +/- 0,01 мм.
Измерения проводят на кольце оболочки, тщательно отобранном от образца. Толщину измеряют в достаточном числе точек по окружности кольца, чтобы была уверенность в том, что определена минимальная толщина.
10.7.2 Гладкая или гофрированная алюминиевая оболочка
Минимальная толщина оболочки должна быть не менее 90% номинальной толщины более чем на 0,1 мм для гладкой алюминиевой оболочки
tmin >= 0,9tn - 0,1 (7)
и не менее 85% номинальной толщины более чем на 0,1 мм для гофрированной алюминиевой оболочки
tmin >= 0,85tn - 0,1. (8)
Измерения проводят микрометром со сферическими щечками радиусом, равным приблизительно 3 мм. Погрешность измерения - +/- 0,01 мм.
Измерения проводят на образце оболочки кабеля в виде кольца шириной около 50 мм, тщательно отобранном от готового кабеля. Ширину измеряют в достаточном числе точек по окружности кольца, чтобы была уверенность в том, что определена минимальная толщина.
10.8. Измерение диаметров
По требованию заказчика должны быть измерены диаметр жилы и/или наружный диаметр кабеля, измерения проводят по МЭК 60811-1-1 (подраздел 8.3).
10.9. Испытание изоляции из сшитого полиэтилена (XLPE), этиленпропиленовой резины (EPR) и высокомодульной этиленпропиленовой резины (HEPR) на тепловую деформацию
10.9.1 Метод испытания
Отбор образцов и метод испытания - по МЭК 60811-2-1 (раздел 9), условия испытания приведены в
таблице 8.
Образцы должны быть отобраны в той части изоляции, где степень сшивки рассматривается самой слабой для используемого процесса сшивки.
10.9.2 Требования
Результаты испытания должны соответствовать требованиям
таблицы 8.
Емкость измеряют на образце кабеля между жилой и экраном или металлической оболочкой при температуре окружающей среды. Температура окружающей среды должна регистрироваться вместе с данными испытания.
Измеренное значение емкости должно быть пересчитано на 1 км длины кабеля и не должно превышать заявленное изготовителем номинальное значение более чем на 8%.
10.11. Определение плотности изоляции из полиэтилена высокой плотности (HDPE)
10.11.1 Метод испытания
Проверку плотности изоляции из полиэтилена высокой плотности (HDPE) и отбор образцов проводят по МЭК 60811-1-3 (раздел 8).
10.11.2 Требования
Результаты испытания должны соответствовать требованиям
таблицы 8.
10.12. Испытание грозовым импульсным напряжением
Испытание проводят на образце кабеля длиной не менее 10 м, отобранном от готового кабеля, исключая арматуру при температуре нагрева токопроводящей жилы, превышающей на 5 - 10 °C максимально допустимую температуру на жиле при нормальных условиях эксплуатации.
Кабельную сборку нагревают пропусканием тока по токопроводящей жиле до тех пор, пока кабель не достигнет требуемой температуры.
Примечание - Если на практике не может быть достигнута температура испытания, допускается наложение дополнительной термоизоляции.
Импульсное напряжение должно быть приложено методом в соответствии с МЭК 60230.
Кабель должен выдержать без пробоя 10 положительных и 10 отрицательных импульсов при соответствующем напряжении, указанном в
графе 8 таблицы 4.
Не должно произойти пробоя изоляции.
10.13. Испытание на водонепроницаемость
Отбирают образцы от готового кабеля. Испытание проводят по
12.5.14.
10.14. Испытание элементов конструкции кабеля с продольно наложенными металлической лентой или фольгой, имеющими адгезию к наружной оболочке
От строительной длины готового кабеля отбирают образец длиной не менее 1 м и проводят испытания по
12.5.15.
11. Испытания на образцах арматуры
11.1. Испытания элементов конструкции арматуры
Соответствие характеристик каждого элемента конструкции арматуры техническим условиям изготовителя арматуры, проверяют по протоколам испытаний поставщика данного элемента арматуры либо внутренними испытаниями.
Изготовитель данной арматуры должен представить перечень испытаний, проводимых на каждом элементе арматуры, с указанием периодичности проведения каждого испытания. Элементы конструкции арматуры проверяют на соответствие чертежам.
Не должно быть отклонений за пределы установленных допусков.
Примечание - Поскольку элементы конструкции арматуры разных поставщиков отличаются друг от друга, в настоящем стандарте не представляется возможным установить общие требования к испытаниям на образцах элементов.
11.2. Испытания готовой арматуры
Если на основной изоляции арматуры нельзя провести приемо-сдаточные испытания (см.
9.1), изготовителем должны быть проведены следующие электрические испытания на смонтированной арматуре:
a) измерение частичных разрядов по
9.2;
b) испытание напряжением по
9.3.
Последовательность проведения испытаний устанавливает изготовитель.
Примечание - Примерами основной изоляции, на которой не проводят приемо-сдаточные испытания, являются: термоусаживаемая изоляция и ленточная и/или литая на месте установки изоляция.
Испытания проводят на одном образце каждого типа арматуры, указанного в контракте, если число типов арматуры, указанное в контракте, более 50.
Если образец арматуры не выдержал испытания по одному из двух вышеуказанных испытаний, должны быть отобраны два новых образца арматуры того же типа, поставляемой по контракту, и проведены повторные испытания. Если результаты испытаний на этих двух дополнительных образцах будут удовлетворительными, то остальную арматуру того же типа, указанного в контракте, рассматривают как соответствующую требованиям настоящего стандарта. Если арматура одного из типов имеет дефекты, то арматуру этого типа рассматривают как несоответствующую требованиям настоящего стандарта.
12. Типовые испытания кабельных систем
Испытания, установленные в настоящем разделе, предназначены для подтверждения соответствия эксплуатационных характеристик кабельных систем.
Типовые испытания кабельных систем приведены в
приложении C.
Примечание - Испытания концевых муфт на стойкость к климатическим воздействиям в настоящем стандарте не рассматриваются.
12.2 Диапазон применения типовых испытаний для подтверждения соответствия
Если типовые испытания успешно проведены на одной или нескольких кабельных системах установленного сечения, одинакового номинального напряжения и конструкции, то процедура подтверждения соответствия должна распространяться также и на кабельные системы с другими сечениями, номинальным напряжением и конструкциями по настоящему стандарту, если выполнены следующие условия по
перечислениям a) -
f):
Примечание - Типовые испытания, которые были успешно проведены в соответствии с предыдущим изданием настоящего стандарта, считают действующими.
a) группа напряжения должна быть не более группы напряжения испытанной кабельной системы (систем);
Примечание - Кабельные системы одной группы номинального напряжения являются системами, значение номинального напряжения которых
Um является самым высоким для оборудования и имеющими те же значения испытательного напряжения (см.
графы 1 и
2 таблицы 4).
b) сечение жилы должно быть не более сечения испытанного кабеля;
c) кабель и арматура должны иметь ту же конструкцию или конструкцию, подобную конструкции испытанной кабельной системы (систем);
Примечание - Кабели и арматуру рассматривают как имеющие подобную конструкцию, если тип и процесс наложения изоляции и электропроводящих экранов те же. Типовые электрические испытания из-за различий в типе или материале жилы или в соединениях, или в защитных покрытиях, наложенных на экранированные жилы или по основной изоляции арматуры, если эти различия не могут оказать значительного воздействия на результаты испытания, не повторяют. В некоторых случаях, например при подключении трехжильных кабелей, будет необходимо повторить одно или несколько типовых испытаний (например, испытание на изгиб, испытание циклами нагрева и/или испытание на совместимость).
d) расчетное значение номинальной электрической напряженности на экране по токопроводящей жиле не превышает значения электрической напряженности на экране по жиле испытанной кабельной системы (систем) более чем на 10%;
e) расчетное значение номинальной электрической напряженности на экране по изоляции не превышает значения электрической напряженности на экране по изоляции испытанной кабельной системы (систем);
f) расчетные значения номинальной электрической напряженности на частях основной изоляции арматуры и на границах кабеля и арматуры не превышают значений, установленных для испытанной кабельной системы (систем).
Типовые испытания элементов конструкции кабеля по
12.5 не следует проводить на образцах кабеля различных номинальных напряжений и/или сечений жилы, если только для их изготовления не использованы различные материалы и/или разные технологические процессы. Однако при необходимости могут быть повторены испытания на старение готового кабеля для определения совместимости материалов по
12.5.4, если сочетание материалов, наложенных по изолированной жиле, отличается от сочетания материалов кабеля, на котором ранее были проведены типовые испытания.
Доказательной базой проведения типовых испытаний является сертификат типового испытания, подписанный представителем компетентного контрольного органа, или отчет, составленный изготовителем, в котором представлены результаты испытаний, и подписанный ответственным лицом, или сертификат типового испытания, выданный независимой испытательной лабораторией.
В типовые испытания должны быть включены электрические испытания на готовой кабельной системе по
12.4 и неэлектрические испытания на элементах конструкции кабеля и на готовом кабеле по
12.5.
Неэлектрические испытания на элементах конструкции кабеля и готовом кабеле для каждого типа материала изоляции и наружной оболочки приведены в
таблице 5. Испытание на нераспространение горения проводят только в случае, если изготовитель намерен получить подтверждение соответствия кабеля требованиям этого испытания как особую характеристику типа кабеля.
Испытания по
12.4.2 проводят на одном или нескольких образцах готового кабеля в зависимости от числа используемой арматуры. Длина образца - не менее 10 м, исключая арматуру.
Длина кабеля между смонтированной арматурой должна быть не менее 5 м.
Арматура должна быть смонтирована после испытания кабеля на изгиб. Испытание проводят на образце каждого типа арматуры.
Арматура должна быть смонтирована на кабеле и в соответствии с инструкциями изготовителя, качеством и количеством материалов, входящих в поставку, включая смазочные материалы (при их наличии).
Наружная поверхность арматуры должна быть сухой и чистой. Кабели и арматура должны быть упакованы в соответствии с требованиями, предусмотренными инструкциями изготовителя, во избежание изменения электрических, термических или механических параметров.
При испытаниях по
перечислениям c) -
g) 12.4.2 соединительная муфта должна иметь наружную защиту. Если подтверждено, что наружная защита не оказывает влияния на характеристики изоляции соединительной муфты, например отсутствует термомеханическое воздействие или опасность несовместимости, то защиту не применяют.
Измерение удельного электрического сопротивления электропроводящих экранов по
12.4.9 должно быть проведено на отдельном образце.
12.4. Типовые электрические испытания готовых кабельных систем
12.4.1 Значения испытательного напряжения
Перед проведением типовых электрических испытаний должна быть измерена толщина изоляции в соответствии с методом по МЭК 60811-1-1 (подраздел 8.1) на отрезке кабеля длиной, необходимой для испытаний, с тем чтобы подтвердить, что среднее значение толщины изоляции не превышает номинального значения.
Если средняя толщина изоляции не превышает номинальное значение более чем на 5%, то значение испытательного напряжения должно быть равно значению, приведенному в
таблице 4 для номинального напряжения кабеля.
Если средняя толщина изоляции превышает номинальное значение более чем на 5%, не выходя за пределы 15%, то испытательное напряжение кабеля должно быть отрегулировано так, чтобы электрическая напряженность на экране по токопроводящей жиле была равна электрической напряженности, которая была бы получена при средней толщине изоляции, равной номинальному значению, и испытательное напряжение имело бы стандартное значение, нормированное для номинального напряжения кабеля.
Значение средней толщины изоляции отрезка кабеля, используемого для типовых электрических испытаний, не должно превышать номинальное значение более чем на 15%.
12.4.2 Испытания и последовательность испытаний
Испытания по перечислениям a) -
i) должны быть проведены в последовательности:
a) испытание кабеля на изгиб по
12.4.3 с последующим монтажом арматуры и измерением частичных разрядов при температуре окружающей среды по
12.4.4;
b) измерение тангенса угла диэлектрических потерь по
12.4.5;
Примечание - Данное испытание может быть проведено на другом образце кабеля, имеющем отдельные концевые муфты для испытаний, а не на том, который был использован для остальных испытаний.
c) испытание циклами нагрева под напряжением по
12.4.6;
d) измерение частичных разрядов по
12.4.4:
- при температуре окружающей среды и
- при высокой температуре.
Измерение должно быть проведено после последнего цикла нагрева по
перечислению c) или после испытания грозовым импульсным напряжением по перечислению f);
e) испытание коммутационным импульсным напряжением (требуется для
Um >= 300 кВ по
12.4.7.1);
f) испытание грозовым импульсным напряжением с последующим испытанием напряжением промышленной частоты по
12.4.7.2;
g) измерение частичных разрядов, если оно не было проведено по
перечислению d);
h) испытание наружной защиты соединительных муфт в соответствии с
приложением G;
Примечания
1 Эти испытания могут быть проведены на соединительной муфте, которая выдержала испытание циклами нагрева под напряжением по
перечислению c), или на отдельной соединительной муфте, которая выдержала испытание не менее чем тремя термическими циклами в соответствии с
приложением G.
2 Если кабель и соединительная муфта в процессе эксплуатации не подвергаются воздействию влаги (то есть не прокладываются непосредственно в грунте или не погружают время от времени или постоянно в воду), испытания по
G.3 и
G.4.2 можно не проводить.
i) внешний осмотр кабельной системы, включающей в себя кабель и арматуру, после выполнения комплекса испытаний проводят по
12.4.8;
j) удельное электрическое сопротивление электропроводящих экранов должно быть измерено на отдельном образце по
12.4.9.
Испытательные напряжения должны соответствовать значениям, приведенным в соответствующей графе
таблицы 4.
12.4.3 Испытание на изгиб
Образец кабеля навивают на стержень для испытания (например, на шейку барабана) при температуре окружающей среды не менее чем одним полным витком и разматывают без осевого вращения. Затем образец поворачивают на 180° и указанную операцию повторяют.
Цикл операций выполняют три раза.
Диаметр стержня для испытания должен быть не более:
- для кабелей с гладкой алюминиевой оболочкой:
36(d + D) + 5% для одножильных кабелей;
- для кабелей с оболочкой из свинца, свинцового сплава, с металлической гофрированной оболочкой или оболочкой из металлической ленты, наложенной продольно (с перекрытием или сваренной) и имеющей адгезию к наружной оболочке:
25(d + D) + 5% для одножильных кабелей;
- для прочих кабелей:
20(d + D) + 5% для одножильных кабелей,
Примечание - Отрицательный допуск не нормируется, проведение испытания на стержне диаметром менее установленного должно быть согласовано с изготовителем.
12.4.4 Измерение частичных разрядов
Испытание проводят в соответствии с МЭК 60885-3, чувствительность должна быть не менее 5 пКл.
Испытательное напряжение повышают постепенно и поддерживают на уровне 1,75
Uо в течение 10 с, затем медленно снижают до 1,5
Uо (см.
графу 5 таблицы 4).
При высокой температуре измерение должно быть проведено на сборке при температуре жилы кабеля на 5 - 10 °C выше максимальной температуры нагрева жилы при обычных условиях эксплуатации. Температура жилы должна поддерживаться в указанных температурных пределах в течение не менее 2 ч.
Кабельную сборку нагревают пропусканием тока по жиле кабеля до тех пор, пока сборка не достигнет требуемой температуры.
Примечание - Если на практике не может быть достигнута температура испытания, допускается наложение дополнительной термоизоляции.
При испытательном напряжении на уровне 1,5Uо не должен быть обнаружен разряд от испытуемого объекта, превышающий заявленную чувствительность.
12.4.5 Измерение тангенса угла диэлектрических потерь
Образец должен быть нагрет соответствующим способом, температуру на жиле измеряют сопротивлением либо термопарами, установленными на поверхности экрана или оболочки, либо термопарами, установленными на жиле другого образца того же кабеля, нагретого тем же способом.
Образец должен быть нагрет так, чтобы жила имела температуру на 5 - 10 °C выше максимальной температуры нагрева жилы при нормальных условиях эксплуатации.
Примечание - Если на практике не может быть достигнута температура испытания, допускается наложение дополнительной термоизоляции.
Значение

должно быть измерено при напряжении
Uо промышленной частоты и при вышеуказанной температуре (см.
графу 6 таблицы 4).
Измеренное значение

должно быть не более значения, приведенного в
таблице 3.
12.4.6 Испытание циклами нагрева под напряжением
Кабель должен быть изогнут в виде буквы U диаметром, указанным в
12.4.3.
Сборка должна быть нагрета путем пропускания тока по жиле до достижения температуры, которая удерживается в диапазоне на 5 - 10 °C выше максимальной температуры нагрева жилы при нормальных условиях эксплуатации.
Примечания
1 Если на практике не может быть достигнута температура испытания, допускается наложение дополнительной термоизоляции.
2 Цикл нагрева, при котором температура токопроводящей жилы превышает максимальную температуру токопроводящей жилы при нормальных условиях эксплуатации более чем на 10 °C, считают удовлетворяющим условиям испытания.
Нагрев должен быть проведен в течение не менее 8 ч. Температура жилы должна удерживаться в указанных температурных пределах в течение не менее 2 ч во время каждого периода нагрева. Затем сборку оставляют остывать естественным путем в течение не менее 16 ч до достижения температуры жилы 30 °C или не превышающей температуру окружающей среды более чем на 15 °C, в зависимости от того, какое значение больше, но не более 45 °C. Регистрируют ток в жиле в течение двух последних часов каждого периода нагрева.
Должно быть проведено 20 циклов нагрева и охлаждения.
В течение всего периода испытания к сборке должно быть приложено напряжение 2
Uо (см.
графу 7 таблицы 4).
Допускается прерывание испытания при условии проведения в общей сложности полных 20 циклов нагрева под напряжением.
12.4.7 Испытание импульсным напряжением
12.4.7.1 Испытание коммутационным импульсным напряжением
Для систем, кабелей и арматуры на напряжение Um >= 300 кВ сборка должна пройти испытание коммутационным импульсным напряжением.
Сборка должна быть нагрета путем пропускания тока по жиле до достижения температуры, которая удерживается в диапазоне на 5 - 10 °C выше максимальной температуры нагрева жилы при нормальных условиях эксплуатации. Температура на жиле должна удерживаться в указанных температурных пределах в течение не менее 2 ч.
Примечание - Если на практике не может быть достигнута температура испытания, допускается наложение дополнительной термоизоляции.
Импульсное напряжение должно быть приложено в соответствии с методикой, указанной в МЭК 60230, при уровнях напряжения стандартного коммутационного импульса в соответствии с
графой 10 таблицы 4.
Сборка должна выдерживать без пробоя или перекрытия 10 положительных и 10 отрицательных импульсов напряжения.
12.4.7.2 Испытание грозовым импульсным напряжением с последующим испытанием напряжением переменного тока промышленной частоты
Сборка должна быть нагрета путем пропускания тока по жиле до достижения температуры, которая удерживается в диапазоне на 5 - 10 °C выше максимальной температуры нагрева жилы при нормальных условиях эксплуатации. Температура токопроводящей жилы должна поддерживаться в установленных температурных пределах в течение не менее 2 ч.
Примечание - Если на практике не может быть достигнута температура испытания, допускается наложение дополнительной термоизоляции.
Импульсное напряжение должно быть приложено в соответствии с МЭК 60230.
Сборка должна выдержать без пробоя или перекрытия 10 положительных и 10 отрицательных импульсов напряжения, приведенного в
графе 8 таблицы 4.
После испытания грозовым импульсным напряжением сборка должна выдержать испытание напряжением промышленной частоты 2
Uо в течение 15 мин. в соответствии с
графой 9 таблицы 4. По выбору изготовителя испытание может быть проведено во время охлаждения либо при температуре окружающей среды.
Не должно произойти пробоя изоляции или перекрытия.
12.4.8.1 Система и арматура кабеля
При внешнем осмотре кабеля и по возможности арматуры не должно быть обнаружено следов повреждений (например, электрических разрушений, утечки, коррозии или небезопасной усадки), которые могли бы повлиять на эксплуатационные свойства системы. Внешний осмотр проводят без применения увеличительных приборов.
12.4.8.2 Кабели с продольно наложенными металлической лентой или фольгой, имеющими адгезию к наружной оболочке
От строительной длины кабеля отбирают образец длиной не менее 1 м и испытывают по
12.5.15.
12.4.9 Удельное электрическое сопротивление электропроводящих экранов
Измерение удельного электрического сопротивления электропроводящих экранов кабеля проводят на отдельном образце.
Удельное электрическое сопротивление экструдированных электропроводящих экранов, наложенных на жилу и изоляцию, должно быть измерено на образцах изолированной жилы, отобранных от готового кабеля и кабеля, прошедшего испытание на старение по
12.5.4, предназначенного для проверки совместимости материалов, используемых в конструкции.
12.4.9.1 Проведение испытания
Измерения должны быть проведены при максимальной температуре нагрева жилы при нормальных условиях эксплуатации с допуском +/- 2 °C.
12.4.9.2 Требования
Удельное электрическое сопротивление, измеренное до и после старения, должно быть не более следующих значений:
- экран по жиле - 1000 Ом·м,
- экран по изоляции - 500 Ом·м.
12.5. Типовые неэлектрические испытания элементов кабеля и готового кабеля
К типовым относятся следующие испытания:
a) проверка конструкции кабеля по
12.5.1;
b) определение механических характеристик изоляции до и после старения по
12.5.2;
c) определение механических характеристик наружных оболочек до и после старения по
12.5.3;
d) испытание на старение образцов готового кабеля для проверки совместимости материалов по
12.5.4;
e) испытание на потерю массы наружных оболочек из поливинилхлоридного пластиката (PVC) типа ST
2 по
12.5.5;
f) испытание наружных оболочек под давлением при высокой температуре по
12.5.6;
g) испытание наружных оболочек из поливинилхлоридного пластиката (PVC) типов ST
1 и ST
2 при низкой температуре по
12.5.7;
h) испытание наружных оболочек из поливинилхлоридного пластиката (PVC) типов ST
1 и ST
2 на тепловой удар по
12.5.8;
i) испытание изоляции из этиленпропиленовой резины (EPR) на озоностойкость по
12.5.9;
j) испытание изоляции из этиленпропиленовой резины (EPR) и сшитого полиэтилена (XLPE) на тепловую деформацию по
12.5.10;
k) определение плотности изоляции из полиэтилена высокой плотности (HDPE) по
12.5.11;
l) определение содержания сажи в наружных оболочках из полиэтилена (PE) типов ST
3 и ST
7 черного цвета по
12.5.12;
m) испытание на нераспространение горения по
12.5.13;
n) испытание на водонепроницаемость по
12.5.14;
o) испытание на элементах конструкции кабеля с продольно наложенными металлической лентой или фольгой, имеющими адгезию к наружной оболочке по
12.5.15.
12.5.1 Проверка конструкции кабеля
Внешний осмотр жилы и измерения толщин изоляции, наружной оболочки и металлической оболочки проводят по
10.4,
10.6 и
10.7.
12.5.2 Определение механических характеристик изоляции до и после старения
12.5.2.1 Отбор образцов
Отбор и подготовку образцов проводят по МЭК 60811-1-1 (подраздел 9.1).
12.5.2.2 Тепловое старение
Тепловое старение проводят по МЭК 60811-1-2 (подраздел 8.1) в соответствии с условиями, приведенными в
таблице 6.
12.5.2.3 Кондиционирование и определение механических характеристик
Кондиционирование и определение механических характеристик проводят по МЭК 60811-1-1 (подраздел 9.1).
12.5.2.4 Требования
Результаты испытания образцов до и после старения должны соответствовать требованиям, указанным в
таблице 6.
12.5.3 Определение механических характеристик наружных оболочек до и после старения
12.5.3.1 Отбор образцов
Отбор и подготовку образцов проводят по МЭК 60811-1-1 (подраздел 9.2).
12.5.3.2 Тепловое старение
Тепловое старение образцов кабелей проводят по МЭК 60811-1-2 (подраздел 8.1) в соответствии с условиями, приведенными в
таблице 7.
12.5.3.3 Кондиционирование и определение механических характеристик
Кондиционирование и определение механических характеристик проводят по МЭК 60811-1-1 (подраздел 9.2).
12.5.3.4 Требования
Результаты испытания до и после старения образцов должны соответствовать требованиям, указанным в
таблице 7.
12.5.4 Испытание на старение на образцах готового кабеля для проверки совместимости материалов
12.5.4.1 Общие положения
Испытание на старение на образцах готового кабеля проводят с целью проверки того, что изоляция, экструдированные электропроводящие слои и наружная оболочка не могут разрушаться в процессе эксплуатации вследствие контакта с другими элементами конструкции кабеля.
Испытание проводят на кабелях всех типов.
12.5.4.2 Отбор образцов
Образцы для испытания изоляции и наружной оболочки отбирают от готового кабеля по МЭК 60811-1-2 (пункт 8.1.4).
12.5.4.3 Тепловое старение
Тепловое старение образцов кабеля проводят в термостате с циркуляцией воздуха по МЭК 60811-1-2 (пункт 8.1.4) при следующих условиях:
- температура на (10 +/- 2) °C выше максимальной температуры нагрева жилы кабеля при нормальных условиях эксплуатации, указанной в
таблице 6;
- продолжительность - 7 сут.
12.5.4.4 Определение механических параметров
Образцы изоляции и наружной оболочки, предварительно прошедшие старение, должны быть подготовлены и испытаны с целью определения механических характеристик по МЭК 60811-1-2 (пункт 8.1.4).
12.5.4.5 Требования
Отношение разности между средними значениями прочности при разрыве и относительного удлинения при разрыве после старения в термостате с циркуляцией воздуха и соответствующими значениями, полученными до старения (см.
12.5.2 и
12.5.3), к соответствующим значениям после старения не должны превышать отклонений, приведенных в
таблице 6 для изоляции и
таблице 7 - для наружных оболочек.
12.5.5 Испытание наружных оболочек из поливинилхлоридного пластиката (PVC) типа ST
2 на потерю массы
12.5.5.1 Проведение испытания
Испытание на потерю массы наружных оболочек типа ST
2 проводят в соответствии с МЭК 60811-3-2 (подраздел 8.2) и требованиями, приведенными в
таблице 9.
12.5.5.2 Требования
Результаты должны соответствовать требованиям, приведенным в
таблице 9.
12.5.6 Испытание наружных оболочек под давлением при высокой температуре
12.5.6.1 Проведение испытания
Испытание наружных оболочек типов ST
1, ST
2 и ST
7 под давлением при высокой температуре проводят по МЭК 60811-3-1 (подраздел 8.2) при условиях, указанных в
таблице 7.
12.5.6.2 Требования
Результаты испытания должны соответствовать требованиям МЭК 60811-3-1 (подраздел 8.2).
12.5.7 Испытание наружных оболочек из поливинилхлоридного пластиката (PVC) типов ST
1 и ST
2 при низкой температуре
12.5.7.1 Проведение испытания
Испытания наружных оболочек типов ST
1 и ST
2 при низкой температуре проводят по МЭК 60811-1-4 (раздел 8), температура испытания - по
таблице 9.
12.5.7.2 Требования
Результаты испытаний должны соответствовать требованиям МЭК 60811-1-4 (раздел 8).
12.5.8 Испытание наружных оболочек из поливинилхлоридного пластиката (PVC) типов ST
1 и ST
2 на тепловой удар
12.5.8.1 Проведение испытания
Испытание наружных оболочек типов ST
1 и ST
2 на тепловой удар проводят по МЭК 60811-3-1 (подраздел 9.2), температура испытания и продолжительность нагрева - по
таблице 9.
12.5.8.2 Требования
Результаты испытания должны соответствовать требованиям МЭК 60811-3-1 (подраздел 9.2).
12.5.9 Испытание изоляции из этиленпропиленовой резины (EPR) на озоностойкость
12.5.9.1 Проведение испытания
Изоляция из этиленпропиленовой резины (EPR) должна выдержать испытание на озоностойкость, отбор образцов и метод испытания - по МЭК 60811-2-1 (раздел 8). Концентрация озона и продолжительность испытания - по
таблице 8.
12.5.9.2 Требования
Результаты испытания должны соответствовать требованиям МЭК 60811-2-1 (раздел 8).
12.5.10 Испытание изоляции из этиленпропиленовой резины (EPR) и сшитого полиэтилена (XLPE) на тепловую деформацию
Изоляция из этиленпропиленовой резины (EPR) и сшитого полиэтилена (XLPE) должна выдержать испытание на тепловую деформацию по
10.9.
12.5.11 Определение плотности изоляции из полиэтилена высокой плотности (HDPE)
Плотность изоляции из полиэтилена высокой плотности (HDPE) определяют по
10.11.
12.5.12 Определение содержания сажи в наружных оболочках из полиэтилена (PE) типов ST
3 и ST
7 черного цвета
12.5.12.1 Проведение испытания
Содержание сажи в наружных оболочках типов ST3 и ST7 определяют по МЭК 60811-4-1 (раздел 11).
12.5.12.2 Требования
Номинальное значение содержания сажи должно быть (2,5 +/- 0,5)%.
Примечание - Допускаются более низкие значения содержания сажи в особых случаях, когда оболочка не подвержена влиянию ультрафиолетового излучения.
12.5.13 Испытание кабелей на нераспространение горения
Испытание кабелей на нераспространение горения проводят по МЭК 60332-1-2. Испытание должно быть проведено на образце готового кабеля, если изготовитель намерен подтвердить, что данный тип кабеля специальной конструкции соответствует заданным требованиям.
Результаты испытания должны соответствовать требованиям МЭК 60332-1-2.
12.5.14 Испытание на водонепроницаемость
Испытание на водонепроницаемость проводят на кабелях, в конструкции которых имеются барьеры, препятствующие продольному проникновению влаги, как указано в
перечислениях c) и
f) раздела 6. Испытание распространяется на кабели, проложенные в грунте, и не распространяется на кабели подводной прокладки.
Требования к аппаратуре, отбору образцов и методу испытания, по
приложению E.
12.5.15 Испытания на элементах конструкции кабеля с продольно наложенными металлической лентой или фольгой, имеющими адгезию к наружной оболочке
На образце проводят следующие испытания:
a) внешний осмотр - по
F.1, приложение F;
b) проверку прочности адгезии металлической фольги - по
F.2, приложение F;
c) проверку стойкости к отслаиванию металлической фольги, наложенной с перекрытием, - по
F.3, приложение F.
Требования к аппаратуре, методу испытания приведены в
приложении F.
13. Предквалификационные испытания кабельной системы
13.1. Общие положения предквалификационных испытаний по подтверждению соответствия
Если предквалификационное испытание на одной или более кабельных системах дало положительный результат, это означает, что изготовитель может поставлять кабельные системы напряжением менее или равным номинальному при условии, что расчетное значение электрической напряженности на экране по изоляции не превысит значение электрической напряженности испытуемого кабеля.
Если в кабельной системе, прошедшей предквалификационное испытание, кабель и/или арматура заменены на другой кабель и арматуру, уже прошедшие предквалификационное испытание в составе другой кабельной системы при равной или большей номинальной электрической напряженности на экране по изоляции, для расширения данного предквалификационного испытания проводят еще одно испытание, распространяющееся на этот или другой кабель и/или арматуру при условии соответствия требованиям
13.3.
Если кабельную систему, прошедшую предквалификационное испытание, изменяют путем замены кабеля и/или арматуры на другие кабель и арматуру, которые являются частью кабельной системы, не прошедшей предквалификационное испытание, или на прошедшие испытание в составе другой кабельной системы при меньшем значении номинальной электрической напряженности на экране по изоляции, то на новой кабельной системе проводят предквалификационное испытание на соответствие требованиям
13.2.
Перечень предквалификационных и расширенных предквалификационных испытаний приведен в
приложении C.
Примечания
1 Предквалификационное испытание проводят только один раз, за исключением случаев существенного изменения кабельной системы (материалов, процесса производства, конструкции или конструктивных уровней электрической напряженности).
2 Существенным изменением считают изменение, которое может отрицательно повлиять на эксплуатационные характеристики кабельной системы. При внесении изменений в кабельную систему поставщик представляет детальный отчет, включающий описание испытания, показывающий, что внесенные изменения не являются существенными.
3 Рекомендуется проводить предквалификационные испытания с использованием кабеля большого сечения жилы с учетом термомеханических аспектов.
4 Предквалификационные испытания допускается не проводить, если проведено другое длительное испытание и получены удовлетворительные результаты.
5 Предквалификационные испытания, которые были успешно проведены в соответствии с предыдущим изданием настоящего стандарта, являются действительными.
Документом, подтверждающим проведение предквалификационного испытания, является сертификат о предквалификационном испытании, подписанный представителем компетентного контрольного органа, или отчет о результатах испытаний, составленный изготовителем и подписанный правомочным ответственным лицом, который засвидетельствовал результат испытания, или сертификат о предквалификационном испытании, выданный независимой испытательной лабораторией.
13.2. Предквалификационные испытания готовой кабельной системы
13.2.1 Обзор предквалификационных испытаний
В предквалификационные испытания должны быть включены электрические испытания на готовой кабельной системе, которые должны быть проведены на кабеле длиной около 100 м и не менее чем с одним образцом арматуры каждого типа. Минимальная длина кабеля между смонтированной арматурой должна быть 10 м. Испытания проводят в последовательности:
a) испытание циклами нагрева под напряжением по
13.2.4;
b) испытание напряжением грозового импульса по
13.2.5;
c) внешний осмотр кабельной системы после проведения испытаний по
13.2.6.
Возможны случаи, когда один или более образцов арматуры не отвечает всем требованиям предквалификационных испытаний по
13.2. Тогда после ремонта испытательной установки испытания могут быть продолжены на оставшейся кабельной системе (кабель с оставшейся арматурой). Если оставшаяся кабельная система соответствует всем требованиям
13.2, то она считается прошедшей предквалификационное испытание. На арматуру, не соответствующую данным требованиям, предквалификационное испытание не распространяется. Однако испытание может быть продолжено на кабеле с замененной арматурой до тех пор, пока не будут выполнены все требования по
13.2. Если изготовитель решает включить отремонтированную арматуру в предквалификационное испытание кабельной системы, то предквалификационное испытание готовой кабельной системы проводят после ремонта.
13.2.2 Значение испытательного напряжения
Перед предквалификационным испытанием кабельной системы следует измерить толщину изоляции кабеля и при необходимости отрегулировать значение испытательного напряжения, как указано в
12.4.1.
13.2.3 Испытательная установка
Кабели и арматура должны быть смонтированы в соответствии с инструкциями изготовителя с учетом качества и количества материалов, входящих в поставку, включая смазочные материалы (при наличии).
Схема испытательного оборудования должна соответствовать условиям прокладки, то есть иметь жестко закрепленную, гибкую и переходную конфигурацию для подземной или воздушной прокладки. Особое внимание следует уделять термомеханическим аспектам арматуры.
Для разных прокладок и во время испытания условия окружающей среды могут изменяться и, считается, что они не имеют какого-либо значительного влияния. Ограничение температуры по
8.1 не применяют.
13.2.4 Испытание циклами нагрева под напряжением
Сборку кабеля и арматуры нагревают, пропуская ток по токопроводящей жиле кабеля, до температуры на 0 - 5 °C выше максимальной температуры жилы при нормальных условиях эксплуатации. Изменяющиеся условия окружающей среды могут потребовать регулирования тока в жиле в процессе испытания.
Установка, используемая для нагрева сборки, должна быть выбрана так, чтобы жила кабеля достигала установленной повышенной температуры помимо арматуры. Значения температуры на поверхности кабеля регистрируют в информационных целях.
Нагрев должен проводиться в течение не менее 8 ч. Температура на жиле должна удерживаться в указанных температурных пределах в течение не менее 2 ч во время каждого периода нагрева. Затем сборку оставляют остывать естественным путем в течение не менее 16 ч.
Примечания
1 Если на практике не может быть достигнута температура испытания, допускается наложение дополнительной термоизоляции.
2 Измерение частичных разрядов рекомендуется проводить для раннего предупреждения возможных разрушений кабеля и возможности проведения ремонта.
3 Общее число циклов должно быть выполнено независимо от возможных перерывов.
4 В расчет принимаются циклы нагрева с температурой токопроводящей жилы, превышающей на 5 °C максимальную температуру нагрева жилы при нормальных условиях эксплуатации.
В течение всего периода испытания длительностью 8760 ч к сборке должно быть приложено напряжение 1,7Uо. Должно быть проведено не менее 180 циклов нагрева и охлаждения.
Не должно происходить пробоя изоляции.
13.2.5 Испытание напряжением грозового импульса
Испытание проводят на одном или нескольких образцах кабеля, отобранных от испытательной сборки, длиной не менее 30 м, при температуре на жиле на 0 - 5 °C выше максимальной температуры на жиле при нормальных условиях эксплуатации. Температура токопроводящей жилы должна поддерживаться в указанных температурных пределах в течение не менее 2 ч.
Примечание - Испытание может быть проведено на полной испытательной сборке.
Импульсное напряжение прикладывают в соответствии с МЭК 60230.
Сборка должна выдержать без пробоя или перекрытия испытание десятью положительными и десятью отрицательными импульсами напряжения соответствующего значения, приведенного в
графе 8 таблицы 4.
Внешний осмотр кабельной системы (кабеля и арматуры) и требования к нему должны соответствовать
12.4.8.
13.3. Испытания, проводимые для расширения предквалификационных испытаний кабельной системы
13.3.1 Обзор испытаний, проводимых для расширения предквалификационных испытаний кабельной системы
С целью расширения предквалификационных испытаний должны быть включены электрические испытания на готовой кабельной системе, как указано в 13.3.2, и неэлектрические испытания на кабеле, как указано в
12.5.
13.3.2 Электрические испытания, проводимые для расширения предквалификационных испытаний на готовой кабельной системе
Испытания по
13.3.2.3 проводят на одном или нескольких образцах кабеля кабельной системы в зависимости от количества используемой арматуры, прошедшей предварительные испытания. Образец кабельной системы должен иметь не менее одного образца арматуры каждого типа, для которого проводят испытание для расширения предквалификационных испытаний. Испытание может проводиться в лаборатории, соблюдение условий, моделирующих реальные условия прокладки, не обязательно.
Длина кабеля между испытуемой арматурой должна быть не менее 5 м. Общая длина кабеля должна быть не менее 20 м.
Кабель и арматура должны быть смонтированы в соответствии с инструкциями изготовителя с учетом качества и количества материалов, включенных в поставку, включая смазочные материалы (при наличии).
Если для соединительной муфты, используемой как для гибкой, так и для негибкой (стационарной) прокладки, должны быть проведены испытания для расширения предквалификационных испытаний, то одна соединительная муфта должна быть установлена в гибкой конфигурации, а другая соединительная муфта - в стационарной конфигурации, как показано на
рисунке 1.
Испытательная сборка должна иметь U-образный изгиб диаметром, указанным в
12.4.3.
За исключением условий по
13.3.2.2 все испытания, указанные в
13.3.2.3, проводят последовательно на одном и том же образце. Арматуру монтируют на кабеле после испытания кабеля на изгиб.
Измерение удельного электрического сопротивления электропроводящих экранов по
12.4.9 проводят на отдельном образце.
U-образный изгиб кабеля и проведение измерения удельного электрического сопротивления электропроводящих экранов не требуется, если испытание, проводимое для расширения предквалификационного испытания, проводят только для арматуры.
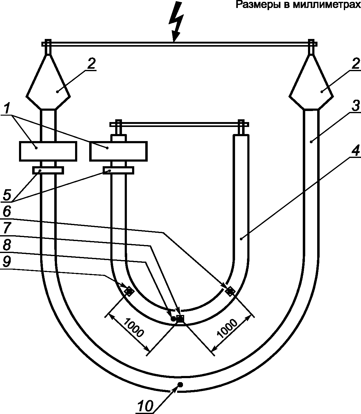
1 - концевая муфта; 2 - зажим; 3 - соединительная муфта
Рисунок 1 - Пример испытательного устройства
для расширения предквалификационного испытания
системы с другой соединительной муфтой,
предназначенной для стационарной и гибкой прокладки
13.3.2.2 Значение испытательного напряжения
Перед проведением электрических испытаний для расширения предквалификационных испытаний измеряют толщину изоляции кабеля и при необходимости регулируют значение испытательного напряжения в соответствии с
12.4.1.
13.3.2.3 Последовательность электрических испытаний, проводимых для расширения предквалификационных испытаний
Испытания проводят в последовательности:
a) испытание кабеля на изгиб по
12.4.3 без последующего измерения частичных разрядов и с последующим монтажом арматуры;
b) измерение частичных разрядов по
12.4.4 после испытания кабеля на изгиб с целью проверки качества смонтированной арматуры;
c) испытание циклами нагрева без подачи напряжения по
13.3.2.4;
d) измерение тангенса угла диэлектрических потерь по
12.4.5;
Примечание - Настоящее испытание может быть проведено на другом образце кабеля, имеющем отдельные концевые муфты для испытаний, а не на том, который был использован для остальных испытаний.
e) испытание циклами нагрева под напряжением по
12.4.6;
f) измерение частичных разрядов по
12.4.4:
- при температуре окружающей среды и
- при высокой температуре.
Измерение должно быть проведено после последнего цикла нагрева по перечислению e) или после испытания грозовым импульсным напряжением по перечислению h);
g) испытание коммутационным импульсным напряжением (требуется при
Um >= 300 кВ, см.
12.4.7.1);
h) испытание грозовым импульсным напряжением с последующим испытанием напряжением промышленной частоты по
12.4.7;
i) измерение частичных разрядов, если оно не было проведено по
перечислению e);
j) испытания наружной защиты соединительных муфт в соответствии с
приложением G;
Примечания
1 Эти испытания могут быть проведены на соединительной муфте, которая выдержала испытание, испытание циклами нагрева под напряжением по
перечислению c) или на отдельной соединительной муфте, которая выдержала испытание не менее чем тремя термическими циклами в соответствии с
приложением G.
2 Если кабель и соединительная муфта в процессе эксплуатации не подвергаются воздействию влаги (то есть их не прокладывают непосредственно в грунте или не погружают время от времени или постоянно в воду), испытания по
G.3 и
G.4.2 можно не проводить.
k) проверку внешнего вида кабельной системы, включающей в себя кабель и арматуру, после комплекса испытаний проводят по
12.4.8;
l) проверку удельного электрического сопротивления электропроводящих экранов проводят на отдельном образце по
12.4.9.
Испытательные напряжения должны соответствовать значениям, приведенным в соответствующих графах
таблицы 4, с учетом требований, указанных в
13.3.2.2.
13.3.2.4 Испытание циклами нагрева без подачи напряжения
Сборку кабеля и арматуру нагревают, пропуская ток по токопроводящей жиле кабеля, до температуры на 0 - 5 °C выше максимальной температуры нагрева жилы при нормальных условиях эксплуатации.
Нагрев должен проводиться в течение не менее 8 ч. Температура на жиле должна выдерживаться в указанных температурных пределах в течение не менее 2 ч во время каждого периода нагрева. Затем сборку оставляют остывать естественным путем в течение не менее 16 ч до достижения температуры на жиле 30 °C или значения, не превышающего температуру окружающей среды более чем на 15 °C, в зависимости от того, какое значение температуры больше, но не более 45 °C. Следует регистрировать ток в жиле в течение двух последних часов каждого периода нагрева.
Сборку подвергают 60 циклам нагрева и охлаждения.
Примечание - Цикл нагрева считается удовлетворяющим условиям испытания, при котором температура токопроводящей жилы превышает максимальную температуру токопроводящей жилы при нормальных условиях эксплуатации более чем на 5 °C.
14. Типовые испытания кабелей
Кабели испытывают как часть кабельной системы.
15. Типовые испытания арматуры
Арматуру испытывают как часть кабельной системы.
16. Электрические испытания после прокладки
Испытания новых линий проводят после завершения монтажа кабеля и арматуры к нему.
Рекомендуется проводить испытание наружной оболочки напряжением постоянного тока по
16.2 и/или испытание изоляции напряжением переменного тока по
16.3.
Относительно установок, где проводят только испытание наружной оболочки по 16.2, процедуры обеспечения качества при монтаже арматуры по соглашению между изготовителем и подрядчиком могут заменить испытание изоляции, проводимое в соответствии с
16.3.
16.2. Испытание наружной оболочки постоянным напряжением
Уровень испытательного напряжения, продолжительность испытания - в соответствии с МЭК 60229 (раздел 5). Испытательное напряжение должно быть приложено между каждой металлической оболочкой или металлическим экраном и землей.
Для того чтобы испытание было результативным, необходимо, чтобы земля была в хорошем контакте со всей внешней поверхностью наружной оболочки. Для этой цели допускается нанесение проводящего слоя по наружной оболочке.
16.3. Испытание изоляции напряжением переменного тока
Прикладываемое испытательное напряжение переменного тока согласовывают изготовитель и заказчик. Форма волны должна быть синусоидальной, а частота - в диапазоне 20 - 300 Гц. Напряжение должно быть приложено в течение не менее 1 ч. Значение испытательного напряжения - в соответствии с
графой 11 таблицы 4 или 1,7
Uо в соответствии с условиями эксплуатации сети.
Допускается приложение испытательного напряжения Uо в течение 24 ч.
Примечание - Для кабельных линий (установок), которые уже были в эксплуатации, допускается проводить испытание при более низких напряжениях и/или меньшей продолжительностью. Параметры испытания должны быть приняты с учетом срока эксплуатации, условий окружающей среды, предшествующих пробоев и цели испытания.
Таблица 1
Материалы изоляции кабелей
Материал изоляции | Максимальная температура на жиле, °C |
при нормальных условиях эксплуатации | при коротком замыкании продолжительностью не более 5 с |
Термопластичный полиэтилен низкой плотности (PE) | 70 | |
Термопластичный полиэтилен высокой плотности (HDPE) | 80 | |
Сшитый полиэтилен (XLPE) | 90 | 250 |
Этиленпропиленовая резина <2> (EPR) | 90 | 250 |
<1> По согласованию с заказчиком для полиэтилена низкой плотности (PE) и полиэтилена высокой плотности (HDPE) значения температур короткого замыкания, указанные в таблице, могут быть увеличены на 20 °C, если по жиле и изоляции наложены электропроводящие слои. <2> Только для кабелей на номинальное напряжение Um <= 245 кВ. |
Таблица 2
Материалы наружной оболочки кабелей
Материал наружной оболочки | Обозначение материала (тип) | Максимальная температура на жиле при нормальных условиях эксплуатации, °C |
Поливинилхлоридный пластикат (PVC) | ST1 | 80 |
ST2 | 90 |
Полиэтилен (PE) | ST3 | 80 |
ST7 | 90 |
Таблица 3
Значения

для материалов изоляции кабелей
Обозначение материала (см. 4.2) | PE | HDPE | EPR | XLPE |
Максимальное значение  10 -4 | 10 | 10 | 30 | 10 |
Таблица 4
Номинальное напряжение, U, кВ | Максимальное напряжение для оборудования, Um, кВ | Значение Uо для определения испытательного напряжения, Uо, кВ | Испытание напряжением по 9.3 | Измерение частичных разрядов по 9.2 и 12.4.4, 1,5 Uо, кВ | | Испытание циклами нагрева под напряжением по 12.4.6, 2 Uо, кВ | | Испытание напряжением после испытания импульсным напряжением по 12.4.7.2, 2 Uо, кВ | Испытание импульсным коммутационным напряжением по 12.4.7.1 | Испытание напряжением после прокладки по 16.3, кВ |
| |
| | 3 | | | | | | | | |
От 220 до 230 | 245 | 127 | 318 | 30 | 190 | 127 | 254 | 1050 | 254 | - | 180 |
От 275 до 287 | 300 | 160 | 400 | 30 | 240 | 160 | 320 | 1050 | 320 | 850 | 210 |
От 330 до 345 | 362 | 190 | 420 | 60 | 285 | 190 | 380 | 1175 | 380 | 950 | 250 |
От 380 до 400 | 420 | 220 | 440 | 60 | 330 | 220 | 440 | 1425 | 440 | 1050 | 260 |
500 | 550 | 290 | 580 | 60 | 435 | 290 | 580 | 1550 | 580 | 1175 | 320 |
<1> При необходимости эти значения испытательных напряжений могут быть скорректированы, как указано в 12.4.1. <2> Не следует превышать пороговый предел от 27 до 30 кВ/мм для некоторых типов изоляции (как установлено изготовителем) во избежание возможного снижения параметров до поставки, что может стать причиной последующих инцидентов при эксплуатации. При испытании по 9.3, например для номинальных напряжений от 330 до 500 кВ, напряжение уменьшают одновременно с увеличением продолжительности испытания во избежание слишком высоких градиентов (напряженностей). Для изоляции, где пороговый предел не является критичным, изготовитель может увеличить испытательное напряжение и уменьшить продолжительность испытания. Однако продолжительность должна быть не менее 30 мин. По соглашению между изготовителем и заказчиком испытание напряжением по 9.3 может быть заменено испытанием с более низким напряжением и большей продолжительностью, даже если максимальный градиент (напряженность) в изоляции менее 30 кВ/мм. Однако испытательное напряжение не должно быть ниже 1,5 Uо, а продолжительность испытания - более 10 ч. |
Таблица 5
Типовые неэлектрические испытания материалов
изоляции и наружных оболочек кабелей
Обозначение материала (см. 4.2 и 4.4) | Изоляция | Наружная оболочка |
PE | HDPE | EPR | XLPE | ST1 | ST2 | ST3 | ST4 |
Проверка конструкции; испытание на водонепроницаемость <1> | Применяют независимо от материалов изоляции и наружной оболочки |
Механические параметры (прочность при разрыве и относительное удлинение при разрыве): | | | | | | | | |
a) до старения | x | x | x | x | x | x | x | x |
b) после старения в термостате | x | x | x | x | x | x | x | x |
c) после старения в воздушной бомбе | - | - | x | - | - | - | - | - |
d) после старения готового кабеля (испытание на совместимость) | x | x | x | x | x | x | x | x |
Испытание под давлением при высокой температуре | - | - | - | - | x | x | - | x |
Стойкость к воздействию низкой температуры: | | | | | | | | |
a) испытание на удлинение при низкой температуре | - | - | - | - | x | x | - | - |
b) испытание на удар при низкой температуре | - | - | - | - | x | x | - | - |
Испытание на потерю массы в термостате | - | - | - | - | - | x | - | - |
Испытание на тепловой удар | - | - | - | - | x | x | - | - |
Испытание на озоностойкость | - | - | x | - | - | - | - | - |
Испытание на тепловую деформацию | - | - | x | x | - | - | - | - |
Измерение плотности | - | x | - | - | - | - | - | - |
Определение содержания сажи <2> | - | - | - | - | - | - | x | x |
<1> Требование распространяется на кабели, в конструкциях которых предусмотрены барьеры, препятствующие продольному проникновению воды. <2> Только для наружных оболочек черного цвета. Примечание - Знак "x" означает необходимость проведения типового испытания; знак "-" - отсутствие необходимости проведения типового испытания. |
Таблица 6
Механические характеристики материалов
изоляции (до и после старения)
Обозначение материала (см. 4.2) | Единица измерения | PE | HDPE | XLPE | EPR |
Максимальная температура нагрева жилы при нормальных условиях эксплуатации | °C | 70 | 80 | 90 | 90 |
До старения по МЭК 60811-1-1 <1> (подраздел 9.1): | | | | | |
прочность при разрыве, не менее | Н/мм2 | 10,0 | 12,5 | 12,5 | 4,2 |
относительное удлинение при разрыве, не менее | % | 300 | 350 | 200 | 200 |
После старения в термостате по МЭК 60811-1-2 <1> (подраздел 8.1): | | | | | |
Условия испытания: | | | | | |
температура | °C | 100 | 110 | 135 | 135 |
допуск | °C | +/- 2 | +/- 2 | +/- 3 | +/- 3 |
продолжительность | ч | 240 | 240 | 168 | 168 |
Прочность при разрыве: | | | | | |
a) значение после старения, не менее | Н/мм2 | - | - | - | - |
b) отклонение <2>, не более | % | - | - | +/- 25 | +/- 30 |
Относительное удлинение при разрыве: | | | | | |
a) значение после старения, не менее | % | 300 | 350 | - | - |
b) отклонение <2>, не более | % | - | - | +/- 25 | +/- 30 |
После старения в воздушной бомбе при (55 +/- 2) Н/см 2 по МЭК 60811-1-2 <1> (подраздел 8.2): | | | | | |
Условия испытания: | | | | | |
температура | °C | - | - | - | 127 |
допуск | °C | - | - | - | +/- 1 |
продолжительность | ч | - | - | - | 40 |
Отклонение <2>, не более: | | | | | |
a) прочность при разрыве | % | - | - | - | +/- 30 |
b) относительное удлинение при разрыве | % | - | - | - | +/- 30 |
<2> Отклонение - разность между средним значением, полученным после старения, и средним значением, полученным до старения, выраженное в процентах. |
Таблица 7
Механические характеристики материалов
для наружной оболочки (до и после старения)
Обозначение материала (см. 4.3) | Единица измерения | ST1 | ST2 | ST3 | ST7 |
До старения по МЭК 60811-1-1 <1> (подраздел 9.2): | | | | | |
прочность при разрыве, не менее | Н/мм2 | 12,5 | 12,5 | 10,0 | 12,5 |
относительное удлинение при разрыве, не менее | % | 150 | 150 | 300 | 300 |
После старения в термостате по МЭК 60811-1-2 <1> (подраздел 8.1): | | | | | |
Условия испытания: | | | | | |
температура | °C | 100 | 100 | 100 | 110 |
допуск | °C | +/- 2 | +/- 2 | +/- 2 | +/- 2 |
продолжительность | ч | 168 | 168 | 240 | 240 |
Прочность при разрыве: | | | | | |
a) значение после старения, не менее | Н/мм2 | 12,5 | 12,5 | - | - |
b) отклонение <2>, не более | % | +/- 25 | +/- 25 | - | - |
Относительное удлинение при разрыве: | | | | | |
a) значение после старения, не менее | % | 150 | 150 | 300 | 300 |
b) отклонение <2>, не более | % | +/- 25 | +/- 25 | | |
Испытание под давление при высокой температуре по МЭК 60811-3-1 <1> (подраздел 8.2): | | | | | |
температура испытания | °C | 80 | 90 | - | 110 |
допуск | °C | +/- 2 | +/- 2 | - | +/- 2 |
<2> Отклонение - разность между средним значением, полученным после старения, и средним значением, полученным до старения, выраженная в процентах. |
Таблица 8
Специфические характеристики материалов изоляции
Обозначение материала (см. 4.2) | Единица измерения | PE | HDPE | XLPE | EPR |
Испытание на озоностойкость по МЭК 60811-2-1 <1> (раздел 8): | | | | | |
концентрация озона (объемная) | % | - | - | - | От 0,025 до 0,030 |
продолжительность испытания без растрескивания | ч | - | - | - | 24 |
Испытание на тепловую деформацию по МЭК 60811-2-1 <1> (раздел 9): | | | | | |
Условия испытания: | | | | | |
температура воздуха | °C | - | - | 200 | 250 |
допуск | °C | - | - | +/- 3 | +/- 3 |
время под нагрузкой | мин | - | - | 15 | 15 |
растягивающее усилие | Н/см2 | - | - | 20 | 20 |
относительное удлинение под нагрузкой, не более | % | - | - | 175 | 175 |
остаточное относительное удлинение после охлаждения, не более | % | - | - | 15 | 15 |
Плотность по МЭК 60811-1-3 <1> (раздел 8): плотность, не менее | г/см3 | - | 0,94 | - | - |
|
Таблица 9
Специфические характеристики поливинилхлоридной
композиции для наружных оболочек кабелей
Обозначение материала (см. 4.4) | Единица измерения | ST1 | ST2 |
Потеря массы в термостате по МЭК 60811-3-2 <1> (подраздел 8.2): | | | |
Условия испытания: | | | |
температура | °C | - | 100 |
допуск | °C | - | +/- 2 |
продолжительность | ч | - | 168 |
потеря массы, не более | мг/см2 | - | 1,5 |
Испытание при низкой температуре <2> по МЭК 60811-1-4 <1> (раздел 8): | | | |
Испытания проводят без предварительного старения: | | | |
a) относительное удлинение при низкой температуре на образцах в виде двусторонней лопатки: | | | |
температура испытания | °C | -15 | -15 |
допуск | °C | +/- 2 | +/- 2 |
b) механический удар при низкой температуре: | | | |
температура испытания | °C | -15 | -15 |
допуск | °C | +/- 2 | +/- 2 |
Испытание на тепловой удар по МЭК 60811-3-1 <1> (подраздел 9.2): | | | |
1) температура испытания | °C | 150 | 150 |
допуск | °C | +/- 3 | +/- 3 |
2) продолжительность испытания | ч | 1 | 1 |
<2> При особых климатических условиях в нормативных документах на конкретные кабельные изделия может быть установлена более низкая температура испытания. |
(обязательное)
ОПРЕДЕЛЕНИЕ ТЕМПЕРАТУРЫ ТОКОПРОВОДЯЩЕЙ ЖИЛЫ КАБЕЛЯ
A.1 Назначение
При проведении некоторых испытаний необходимо повысить температуру токопроводящей жилы до заданного значения, обычно на 5 - 10 °C выше максимально допустимой температуры жилы при нормальных условиях эксплуатации при приложении к кабелю напряжения промышленной частоты или импульсного напряжения. Возможность доступа к токопроводящей жиле для непосредственного изменения ее температуры отсутствует.
Кроме того, температура жилы должна поддерживаться в ограниченном диапазоне (5 °C), в то время как температура окружающей среды может изменяться в более широком диапазоне.
Хотя сначала предварительная калибровка испытуемого кабеля или расчеты могут быть удовлетворительными, изменение условий окружающей среды в течение всего испытания может привести к отклонениям температуры жилы за допустимые пределы.
Поэтому следует использовать методы, при которых температуру жилы можно постоянно регистрировать и контролировать в течение всего испытания.
Ниже приведено руководство по общепринятым методам измерения.
A.2 Калибровка температуры основного испытательного контура
A.2.1 Общие положения
Назначение калибровки состоит в определении температуры токопроводящей жилы путем непосредственного измерения при заданном значении тока в требуемом для испытания диапазоне температуры.
Используемый для калибровки кабель (здесь и далее называемый стандартный кабель) должен быть идентичен используемому в основном испытательном контуре.
A.2.2 Монтаж кабеля и термопар
Калибровку проводят на отрезке кабеля длиной не менее 5 м, отобранном от такого же кабеля, что и испытуемый. Длина должна быть такой, чтобы передача тепла вдоль кабеля к его концам не изменяла температуру центральной двухметровой части кабеля более чем на 2 °C.
В середине стандартного кабеля помещают две термопары: одну - на токопроводящей жиле TC1c, а другую - на внешней поверхности или непосредственно под внешней поверхностью TC1s.
Две другие термопары TC
2c и TC
3c устанавливают на токопроводящей жиле стандартного кабеля (см.
рисунок A.1): каждую термопару крепят на расстоянии около 1 м от центра кабеля.
Термопары крепят к токопроводящей жиле с помощью механических приспособлений, так как они могут перемещаться вследствие вибрации кабеля при нагреве. Следует применять меры по обеспечению хорошего температурного контакта во время испытаний и по предотвращению утечки тепла в окружающую среду. Рекомендуется крепить термопары, как показано на
рисунке A.2, между двух повивов многопроволочной жилы или между жилой (сплошной) и экраном по жиле. Для обеспечения доступа к токопроводящей жиле в середине эталонного кабеля проделывают небольшой проем путем осторожного удаления слоев, лежащих выше токопроводящей жилы. После установки термопары (термопар) удаленные слои можно вернуть на место. Это может восстановить температурные характеристики стандартного кабеля.
Примечание - При передаче незначительного количества тепла в направлении концов кабеля разность между показаниями TC1c, TC2c и TC3c должна быть менее 2 °C.
Если основной испытательный контур состоит из нескольких отдельных отрезков кабеля, смонтированных близко друг к другу, эти отрезки подвержены тепловому эффекту близости. Поэтому калибровку следует проводить с учетом фактической испытательной установки, при этом измерения выполняют на самом горячем участке кабеля (обычно в срединной части).
Калибровку проводят в помещении без сквозняков при температуре (20 +/- 15) °C.
Для одновременного измерения температуры токопроводящей жилы, наружной оболочки и окружающей среды следует использовать записывающие устройства.
Кабель нагревают до тех пор, пока температура токопроводящей жилы по показаниям термопары TC
1c (см.
рисунок A.1) не стабилизируется и не достигнет значения на 5 - 10 °C выше максимальной температуры нагрева жил кабеля при нормальных условиях эксплуатации, как указано в
таблице 1.
После достижения стабилизации фиксируют следующие параметры:
- температуру токопроводящей жилы: среднее значение в точках 1, 2 и 3;
- температуру наружной оболочки в точке TC1s;
- температуру окружающей среды;
- ток нагрева.
1 - трансформаторы, дающие ток; 2 - концевые муфты;
3 - испытуемый кабель; 4 - стандартный кабель (>= 5 м);
5 - измерительные трансформаторы; 6 - TC3c (токопроводящая
жила); 7 - TC1c (токопроводящая жила); 8 - TC1s (оболочка);
9 - TC2c (токопроводящая жила); 10 - TCs (оболочка)
Рисунок A.1 - Типовая испытательная установка
для стандартного контура и основного испытательного контура
1 - токопроводящая жила; 2 - электропроводящие экраны;
3 - изоляция; 4 - металлическая оболочка;
5 - наружная оболочка кабеля; 6 - термопара;
7 - эластичный теплоизолирующий компаунд
Рисунок A.2 - Пример расположения термопар
на токопроводящей жиле стандартного контура
A.3 Нагрев при испытании
A.3.1 Метод 1: испытание с использованием стандартного кабеля
При этом методе стандартный кабель, идентичный кабелю, используемому при испытании, нагревают тем же током, который проходит по основному испытательному контуру.
Монтаж кабеля и термопар для обоих контуров должен соответствовать указанному в
A.2.
Порядок испытания должен быть таким, при котором:
- по стандартному кабелю постоянно проходит тот же ток, что в основном испытательном контуре;
- монтаж выполнен таким образом, что взаимное тепловое воздействие учитывается в течение всего испытания.
Ток нагрева должен быть отрегулирован так, чтобы температура токопроводящей жилы поддерживалась в установленных пределах.
Термопару TCs крепят на или под наружной поверхностью основного испытательного контура в наиболее горячей точке, обычно в его середине, аналогичным образом крепят термопару TC1s в наиболее горячей точке стандартного кабеля.
Примечания
1 Температуры, измеренные термопарами на или под наружной оболочкой основного испытательного контура TCs и на стандартном контуре TC1s, используют для проверки того, что наружная оболочка обоих контуров имеет одинаковую температуру.
2 Температура жилы основного испытательного контура может быть немного выше температуры стандартного контура вследствие диэлектрических потерь. При необходимости следует ввести поправку.
Температуру, измеренную термопарой TC1c на токопроводящей жиле стандартного контура, можно принять за температуру токопроводящей жилы испытательного контура под напряжением.
Все термопары должны быть соединены с записывающим устройством для обеспечения мониторинга температуры. Ток нагрева каждого контура должен быть также зафиксирован для того, чтобы проверить, что оба значения тока одинаковы в течение всего испытания. Разность между токами нагрева должна быть в пределах +/- 1%.
Стандартный кабель может быть подсоединен последовательно к испытуемому кабелю, если температуру измеряют через оптоволоконную связь или аналогичным способом.
A.3.2 Метод 2: испытание с использованием расчета температуры токопроводящей жилы и измерения температуры поверхности
A.3.2.1 Калибровка температуры токопроводящей жилы испытуемого кабеля
Цель данной калибровки - определить температуру токопроводящей жилы путем непосредственного измерения при заданном значении тока в пределах диапазона температур, требуемых для испытания.
Используемый для калибровки кабель должен быть идентичен испытуемому, и способ нагрева должен быть также идентичен.
Монтаж кабеля и термопар для калибровки должен соответствовать указанному в
A.2.
Калибровку проводят в соответствии с
A.2.3 для стандартного кабеля.
A.3.2.2 Испытание на основе измерения внешней температуры
При калибровке и проведении испытания основного контура температура токопроводящей жилы кабеля основного испытательного контура должна быть рассчитана по МЭК 60853-2 на основе измеренной температуры наружной оболочки TCs. Измерение проводят в наиболее горячем месте с помощью термопары, установленной на или под наружной поверхностью, аналогичным образом, как для стандартного кабеля.
Примечание - В качестве альтернативы может использоваться МЭК 60287-1-1, если указано, что время достижения асимптотической переходной температуры находится в указанном интервале.
Ток нагрева должен быть отрегулирован для получения требуемого значения расчетной температуры жилы, основанной на измеренной температуре наружной оболочки.
(обязательное)
Если необходимо округлить значение до определенного знака после запятой, например при расчете среднего значения нескольких измерений или минимального значения, используя допуск в процентах от заданного номинального значения, то порядок действий должен быть следующим:
- если до округления последнего знака, который должен быть оставлен после запятой, являются цифры 0, 1, 2, 3 или 4, то цифра остается без изменения (округление в сторону уменьшения);
- если до округления последнего знака, который должен быть оставлен после запятой, являются цифры 9, 8, 7, 6 или 5, то цифра увеличивается на единицу (округление в сторону увеличения).
Примеры:
2,449 = 2,45 округление до двух знаков после запятой.
2,449 = 2,4 округление до одного знака после запятой.
2,453 = 2,45 округление до двух знаков после запятой.
2,453 = 2,5 округление до одного знака после запятой.
25,0478 = 25,048 округление до трех знаков после запятой.
25,0478 = 25,05 округление до двух знаков после запятой.
25,0478 = 25,0 округление до одного знака после запятой.
(справочное)
ТИПОВЫХ ИСПЫТАНИЙ, ПРЕДКВАЛИФИКАЦИОННЫХ ИСПЫТАНИЙ
И ИСПЫТАНИЙ, ПРОВОДИМЫХ В РАСШИРЕНИЕ ПРЕДКВАЛИФИКАЦИОННЫХ
ИСПЫТАНИЙ ДЛЯ КАБЕЛЬНЫХ СИСТЕМ
Типовые испытания кабельных систем приведены в
разделе 12.
Типовые испытаний кабельных систем и ссылки на указанный раздел приведены в
таблице C.1.
Предквалификационные испытания кабельных систем указаны в
13.1 и
13.2.
Испытания, проводимые в расширение к предквалификационным испытаниям кабельных систем, указаны в
13.1 и
13.3.
Предквалификационные испытания кабельных систем и ссылки на указанные разделы приведены в
таблице C.2.
Испытания, проводимые в расширение предквалификационных испытаний кабельных систем, и ссылки на указанные разделы приведены в
таблице C.3.
Таблица C.1
Типовые испытания кабельных систем
Пункт | Испытание | Подраздел, пункт, приложение настоящего стандарта |
Кабельные системы |
a | Общие положения | |
b | Диапазон применения типовых испытаний для подтверждения соответствия | |
c | Типовые электрические испытания | |
d | Значения испытательного напряжения | |
e | Испытание на изгиб | |
| Измерение частичных разрядов при температуре окружающей среды | |
f | Измерение  | |
g | Испытание циклами нагрева под напряжением | |
| Измерение частичных разрядов при высокой температуре | |
| Измерение частичных разрядов при температуре окружающей среды [после последнего цикла нагрева или после испытания грозовым импульсным напряжением по подпункту j)] | |
i | Испытание коммутационным импульсным напряжением | |
j | Испытание грозовым импульсным напряжением с последующим испытанием напряжением промышленной частоты | |
k | Измерение частичных разрядов при высокой температуре [если не проводилось после испытания по перечислению h)] | |
l | Испытания наружной защиты соединительных муфт | |
m | Внешний осмотр | |
n | Удельное электрическое сопротивление электропроводящих экранов | |
o | Типовые неэлектрические испытания элементов конструкции кабеля и готового кабеля | |
Таблица C.2
Предквалификационные испытания кабельных систем
Пункт | Испытание | Подраздел, пункт, приложение настоящего стандарта |
Кабельные системы |
a | Общие положения и диапазон применения предквалификационного испытания для подтверждения соответствия | |
b | Предквалификационное испытание готовой кабельной системы | |
c | Обзор предквалификационных испытаний | |
d | Величина испытательного напряжения | |
e | Испытательная установка | |
f | Испытание циклами нагрева под напряжением | |
g | Испытание грозовым импульсным напряжением | |
h | Внешний осмотр | |
Таблица C.3
Испытания, проводимые в расширение
предквалификационных испытаний
Пункт | Испытание | Подраздел, пункт, приложение настоящего стандарта |
Кабельные системы |
a | Испытания, проводимые в расширение предквалификационных испытаний кабельной системы | |
b | Обзор испытаний, проводимых в расширение предквалификационных испытаний кабельной системы | |
c | Электрические испытания, проводимые для расширения предквалификационных испытаний на готовой кабельной системе | |
d | Общие положения | |
e | Значения испытательного напряжения | |
f | Последовательность электрических испытаний, проводимых в расширение предквалификационных испытаний | |
g | Испытание циклами нагрева без подачи напряжения | |
h | Измерение  | |
| Испытание циклами нагрева под напряжением | |
j | Измерение частичных разрядов при температуре окружающей среды и высокой температуре [после последнего цикла нагрева по перечислению i) или после испытания грозовым импульсным напряжением по перечислению l)] | |
k | Испытание коммутационным импульсным напряжением | |
l | Испытание грозовым импульсным напряжением с последующим испытанием напряжением промышленной частоты | |
m | Измерение частичных разрядов при высокой температуре [если не проводилось после испытания по перечислению i)] | |
n | Испытания наружной защиты соединительных муфт | |
o | Внешний осмотр | |
p | Удельное электрическое сопротивление электропроводящих экранов | |
q | Типовые неэлектрические испытания элементов конструкции кабеля и готового кабеля | |
(обязательное)
МЕТОД ИЗМЕРЕНИЯ УДЕЛЬНОГО ЭЛЕКТРИЧЕСКОГО
СОПРОТИВЛЕНИЯ ЭЛЕКТРОПРОВОДЯЩИХ ЭКРАНОВ
Каждый образец должен быть отобран от выборки готового кабеля. Длина образца - не менее 150 мм.
При измерении на экране по жиле образец готовят следующим образом: изолированную жилу разрезают вдоль пополам и удаляют жилу и сепаратор (при наличии) [см.
рисунок D.1 a)]. При измерении на экране по изоляции образец готовят следующим образом: удаляют все покрытия с образца изолированной жилы [см.
рисунок D.1 b)].
Удельное объемное электрическое сопротивление экранов определяют следующим образом.
Четыре электрода A, B, C и D, выполненные серебряной краски [см.
рисунок D.1 a) и
b)], должны быть нанесены на электропроводящие поверхности. Два электрода напряжения B и C должны находиться на расстоянии 50 мм один от другого, а два электрода тока A и D - на расстоянии не менее 25 мм от электродов напряжения.
Соединения на электродах должны быть выполнены посредством соответствующих колец. Выполняя соединение электродов экрана по жиле, следует убедиться, что на внешней поверхности образца кольца надежно изолированы от экрана по изоляции.
1 - экран по изоляции; 2 - экран по жиле;
A, D - электроды тока; B, C - электроды напряжения
a) - Измерение удельного объемного электрического
сопротивления экрана по жиле
1 - экран по изоляции; 2 - экран по жиле;
A, D - электроды тока; B, C - электроды напряжения
b) - Измерение удельного объемного электрического
сопротивления экрана по изоляции
Рисунок D.1 - Подготовка образцов для измерения
удельного объемного электрического сопротивления
экранов по жиле и по изоляции
Эту сборку помещают в предварительно нагретый до установленной температуры термостат. По истечении не менее 30 мин. измеряют электрическое сопротивление между электродами посредством цепи мощностью не более 100 мВт.
После электрических измерений измеряют диаметры экранов по жиле и по изоляции при температуре окружающей среды, а также толщину экранов по жиле и по изоляции, причем каждое принятое значение является средним значением шести измерений, выполненных на образце, представленном на
рисунке D.1 b).
Удельное объемное электрическое сопротивление

, Ом·м, должно быть затем рассчитано по формулам:
- экран по жиле:

(D.1)
где

- удельное объемное электрическое сопротивление, Ом·м;
Rc - измеренное сопротивление, Ом;
Lc - расстояние между электродами напряжения, м;
Dc - диаметр по экрану по жиле, м;
Tc - средняя толщина экрана по жиле, м;
- экран по изоляции:

(D.2)
где

- удельное объемное электрическое сопротивление, Ом·м;
Ri - измеренное сопротивление, Ом;
Li - расстояние между электродами напряжения, м;
Di - диаметр по экрану по изоляции, м;
Ti - средняя толщина экрана по изоляции, м.
(обязательное)
ИСПЫТАНИЕ НА ВОДОНЕПРОНИЦАЕМОСТЬ
E.1 Образец
Образец готового кабеля длиной не менее 8 м, который не прошел ни одно из испытаний по
12.4, должен быть испытан на изгиб по
12.4.3.
От образца кабеля, подвергнутого испытанию на изгиб, отрезают образец длиной 8 м и размещают его горизонтально. В центре этого образца удаляют кольцо шириной около 50 мм. Это кольцо должно содержать все элементы конструкции кабеля, находящиеся с наружной стороны экрана по изоляции. Если токопроводящая жила также герметизирована, кольцо должно включать в себя все элементы конструкции кабеля, находящиеся с наружной стороны токопроводящей жилы.
Если кабель содержит промежуточные барьеры, препятствующие продольному проникновению влаги, и образец имеет по крайней мере два таких барьера, то кольцо удаляют также и с участка между барьерами. В этом случае для таких кабелей должно быть известно среднее значение расстояния между барьерами.
Поверхности кабеля должны быть отрезаны так, чтобы поверхности среза, проверяемые на продольную герметичность, легко подвергались воздействию воды. Поверхности среза, не предназначенные для проверки на продольную герметичность, должны быть герметизированы соответствующим материалом, или должны быть удалены наружные покрытия.
Примерами таких поверхностей среза являются:
- поверхность среза в кабеле, у которого герметизирована только токопроводящая жила;
- поверхность среза, расположенная между наружной оболочкой и металлической оболочкой.
Испытательное устройство (см.
рисунок E.1) должно быть смонтировано так, чтобы трубка диаметром не менее 10 мм располагалась вертикально над вырезанным кольцом и герметично примыкала к поверхности наружной оболочки. В тех местах, где кабель выходит из испытательного устройства, места герметизации не должны оказывать механического давления на кабель.
Примечание - Стойкость отдельных барьеров к продольному проникновению влаги может зависеть от состава воды (например, от pH, концентрации ионов). Если не указано иное, при испытании используют обычную водопроводную воду.
E.2 Испытание
В течение 5 мин. трубку заполняют водопроводной водой при температуре окружающей среды (20 +/- 10) °C, чтобы уровень воды в трубке был 1 м над осью кабеля (см. рисунок E.1).
Образец выдерживают 24 ч.
Затем образец подвергают 10 циклам нагрева. Токопроводящую жилу нагревают соответствующим способом до тех пор, пока ее температура не достигнет постоянного значения на 5 - 10 °C выше максимальной температуры нагрева жилы при нормальных условиях эксплуатации, но не выше 100 °C.
1 - резервуар с водой; 2 - вентиляционное
отверстие; 3 - кабель
Рисунок E.1 - Схема устройства
для испытания на водонепроницаемость
Продолжительность цикла нагрева - 8 ч. Температуру жилы следует поддерживать в пределах установленных значений в течение не менее 2 ч в каждом периоде нагрева. Затем должен следовать период естественного охлаждения в течение не менее 16 ч.
Столб воды следует поддерживать на уровне 1 м.
Примечание - В течение всего испытания напряжение к жиле не прикладывают, целесообразно последовательно с испытуемым кабелем подсоединить образцовый кабель, при этом температуру измеряют непосредственно на токопроводящей жиле этого кабеля.
E.3 Требования
При испытании на концах образца не должна появляться вода.
(обязательное)
ИСПЫТАНИЕ НА ЭЛЕМЕНТАХ КОНСТРУКЦИИ КАБЕЛЯ
С ПРОДОЛЬНО НАЛОЖЕННЫМИ МЕТАЛЛИЧЕСКОЙ ЛЕНТОЙ ИЛИ ФОЛЬГОЙ,
ИМЕЮЩИМИ АДГЕЗИЮ К НАРУЖНОЙ ОБОЛОЧКЕ
Проводят разделку кабеля, а также внешний осмотр. Внешний осмотр образцов без применения увеличительных приборов должен констатировать отсутствие трещин или отделения металлической фольги ламинированного защитного покрытия или повреждения других элементов кабеля.
F.2 Прочность адгезии металлической фольги (ленты)
F.2.1 Проведение испытания
Испытуемый образец отбирают от покрытия кабеля в том месте, где металлическая фольга имеет адгезию к наружной оболочке.
Длина и ширина образца должны быть 200 и 10 мм соответственно.
С одного конца образца отделяют слой металлической фольги на длине 50 - 120 мм, свободный конец наружной оболочки или экрана по изоляции закрепляют в одном зажиме разрывной машины. Свободный конец металлической фольги отводят вниз и закрепляют в другом зажиме, как показано на рисунке F.1.
1, 4 - зажим; 2 - наружная оболочка; 3 - металлическая
фольга или ламинированная металлическая фольга
Рисунок F.1 - Адгезия металлической фольги
Во время испытания образец должен находиться приблизительно в вертикальном положении в плоскости зажимов.
После регулировки записывающего устройства начинают отделение металлической фольги от образца под углом приблизительно 180°, отделение продолжают на достаточной длине, чтобы получить значение прочности адгезии. Не менее чем на половине оставшейся адгезионной поверхности должно быть проведено отделение со скоростью около 50 мм/мин.
F.2.2 Требования
Прочность адгезии рассчитывают путем деления усилия отслаивания, Н, на ширину образца, мм. Испытание проводят не менее чем на пяти образцах; значение прочности адгезии должно быть не менее 0,5 Н/мм.
Примечание - Если прочность адгезии более прочности при растяжении металлической фольги настолько, что последняя обрывается до отслаивания, испытание следует закончить, а точку разрыва зафиксировать.
F.3 Прочность отслаивания металлической фольги, наложенной с перекрытием
F.3.1 Проведение испытания
Отрезок образца длиной 200 мм отбирают от кабеля, включая участок перекрытия металлической фольгой. Испытуемый образец подготавливают, вырезая из отрезка только часть с перекрытием, как показано на рисунке F.2.
1 - образец; 2 - наружная оболочка; 3 - металлическая
фольга или ламинированная металлическая фольга
Рисунок F.2 - Пример металлической фольги,
наложенной с перекрытием
Испытание проводят аналогично указанному в
F.2. Расположение испытуемого образца показано на рисунке F.3.
1, 4 - зажим; 2 - наружная оболочка; 3 - металлическая
фольга или ламинированная металлическая фольга
Рисунок F.3 - Прочность отслаивания
металлической фольги с перекрытием
F.3.2 Требования
Значение прочности отслаивания должно быть не менее 0,5 Н/мм.
Примечание - Если прочность отслаивания более прочности при растяжении металлической фольги настолько, что последняя обрывается до отслаивания, испытание следует прекратить, а точку разрыва зафиксировать.
(обязательное)
ИСПЫТАНИЯ НАРУЖНОЙ ЗАЩИТЫ СОЕДИНИТЕЛЬНЫХ МУФТ
G.1 Общие положения
Настоящее приложение устанавливает процедуру типовых приемочных испытаний наружной защиты соединительных муфт всех типов, используемой в соединительных муфтах при подземной прокладке, или приспособлений разрыва оболочек, используемых в силовых кабельных линиях с изолированной оболочкой и (в случае необходимости) разделительной изоляцией для разрыва экранов.
Изготовитель соединительной муфты должен представить схему с четким указанием всех водозащитных барьеров.
G.2 Диапазон применения типовых испытаний для подтверждения соответствия
Если для наружной защиты соединительной муфты, имеющей вводы для таких компонентов, как соединительные кабели, требуется применение типовых испытаний для подтверждения соответствия, то при испытании наружной защиты эти компоненты должны быть включены.
Положительные результаты испытания наружной защиты соединительной муфты с разрывом экрана для диаметров готового кабеля, для которых требуется проведение типовых испытаний для подтверждения соответствия по
12.2, подтверждают применение этой защиты для подобной арматуры без разрыва экрана.
Если подтверждение соответствия получено для одного типа наружной защиты соединительной муфты, то это подтверждение должно рассматриваться как приемлемое для всех типов наружной защиты, предлагаемых тем же изготовителем, использующим те же основные конструктивные принципы и материалы, в диапазоне испытуемых диаметров и для меньших или равных значений испытательных напряжений.
Испытания по
G.3 и
G.4 должны быть проведены последовательно на соединительной муфте, на которой был получен положительный результат при испытаниях циклами нагрева под напряжением по
12.4.6, или на отдельной соединительной муфте, выдержавшей не менее трех циклов нагрева без приложения напряжения, как установлено в
перечислении h), 12.4.2, примечание 2.
G.3 Циклы нагрева с погружением в воду
Испытуемая сборка должна быть погружена в воду на глубину не менее 1 м от самой высокой точки наружной защиты. При необходимости испытание может быть проведено с использованием напорного бака, соединенного с герметичным резервуаром, в котором находится испытуемая сборка.
Всего должно быть проведено 20 циклов "нагрев - охлаждение" с повышением температуры воды до температуры на 15 - 20 °C ниже максимальной температуры нагрева жилы кабеля при нормальных условиях эксплуатации. В каждом цикле воду нагревают до установленной температуры, выдерживают при этом значении в течение не менее 5 ч, затем охлаждают до температуры на 10 °C выше температуры окружающей среды. Данную температуру можно получить, добавляя воду с более низкой или более высокой температурой. Минимальная длительность каждого цикла нагрева и охлаждения должна составлять 12 ч, и длительность повышения температуры воды до указанного значения должна по возможности равняться длительности охлаждения воды до 30 °C или до значения, которое на 10 °C превышает температуру окружающей среды, в зависимости от того, какое из этих значений больше.
G.4 Испытание напряжением
G.4.1 Общие положения
После циклов нагрева испытуемую сборку оставляют в воде и проводят испытания напряжением, как указано ниже.
G.4.2 Сборки, имеющие арматуру без разрыва экрана
Испытательное напряжение 25 кВ постоянного тока прикладывают в течение 1 мин. между экраном или металлической оболочкой силового кабеля и внешней частью заземленной наружной защиты соединительной муфты.
G.4.3 Сборки, имеющие арматуру с разрывом экрана
G.4.3.1 Испытания напряжением постоянного тока
Испытательное напряжение 25 кВ постоянного тока прикладывают в течение 1 мин. между экранами или металлическими оболочками силового кабеля на одном из концов арматуры, а также между экранами или металлическими оболочками и внешней частью заземленной наружной оболочки соединительной муфты.
G.4.3.2 Испытания импульсным напряжением
Для испытания каждой части по отношению к земле испытательное напряжение в соответствии с
таблицей G.1 должно быть приложено между экранами или металлическими оболочками и внешней частью сборки, находящейся в воде. Если нельзя провести испытание импульсным напряжением на сборке, находящейся в воде, она может быть вынута из воды и сразу же испытана, или ее можно поддерживать во влажном состоянии, обернув мокрой тканью, или вокруг всей наружной поверхности испытуемой сборки может быть наложено проводящее покрытие. Для испытания между экранами или металлическими оболочками сборка должна быть вынута из воды перед испытанием импульсным напряжением.
Процедура испытания должна соответствовать МЭК 60230, соединительная муфта должна находиться при температуре окружающей среды.
Таблица G.1
Испытания импульсным напряжением
Номинальное грозовое импульсное напряжение основной изоляции <1>, кВ | Уровень импульса, кВ |
между частями | между каждой частью и землей |
Вывод для транспозиции <= 3 м | Вывод для транспозиции > 3 м и <= 10 м <2> | Вывод для транспозиции <= 3 м | Вывод для транспозиции > 3 м и <= 10 м <2> |
1050 | 60 | 95 | 30 | 47,5 |
От 1175 до 1425 включ. | 75 | 125 | 37,5 | 62,5 |
1550 | 75 | 145 | 37,5 | 72,5 |
<2> Если ограничители напряжения на оболочке размещены около соединительной муфты, то используют напряжения для транспозиции <= 3 м. |
Во время испытаний не должно быть пробоя.
Примечание - Возможно проведение испытаний напряжением в соответствии с
G.4 (в обратном порядке) до начала циклов нагрева с целью проверки правильности монтажа сборки.
G.5 Внешний осмотр испытуемой сборки
После испытаний по
G.4 следует провести внешний осмотр сборки.
Кожухи наружной защиты соединительных муфт, заполненные удаляемыми компаундами, считают выдержавшими испытание, если при внешнем осмотре не обнаружено следов внутренних пустот, внутренних перемещений компаунда, обусловленных доступом воды, или утечки компаунда через различные соединения или стенки кожухов.
В наружной защите соединительной муфты, в которой используются другие технологии и материалы, не должно быть следов проникновения воды или внутренней коррозии.
(справочное)
СВЕДЕНИЯ О СООТВЕТСТВИИ ССЫЛОЧНЫХ МЕЖДУНАРОДНЫХ
СТАНДАРТОВ НАЦИОНАЛЬНЫМ СТАНДАРТАМ
Таблица ДА.1
Обозначение ссылочного международного стандарта | Степень соответствия | Обозначение и наименование соответствующего национального стандарта |
IEC 60060-1 | - | |
IEC 60183 | - | |
IEC 60228 | MOD | |
IEC 60229:2007 | - | |
IEC 60230 | MOD | |
IEC 60287-1-1:2006 | IDT | ГОСТ Р МЭК 60287-1-1-2009 "Кабели электрические. Расчет номинальной токовой нагрузки. Часть 1-1. Уравнения для расчета номинальной токовой нагрузки (100-процентный коэффициент нагрузки) и расчет потерь. Общие положения" |
IEC 60332-1-2 | IDT | ГОСТ IEC 60332-1-2-2011 "Испытания электрических и оптических кабелей в условиях воздействия пламени. Часть 1-2. Испытание на нераспространение горения одиночного вертикально расположенного изолированного провода или кабеля. Проведение испытания при воздействии пламенем газовой горелки мощностью 1 кВт с предварительным смешением газов" |
IEC 60811-1-1:1993 | IDT | ГОСТ IEC 60811-1-1-2011 "Общие методы испытаний материалов изоляции и оболочек электрических и оптических кабелей. Измерение толщины и наружных размеров. Методы определения механических свойств" |
IEC 60811-1-2:1985 | IDT | ГОСТ IEC 60811-1-2-2011 "Общие методы испытаний материалов изоляции и оболочек электрических и оптических кабелей. Часть 1-2. Методы общего применения. Методы теплового старения" |
IEC 60811-1-3:1993 | IDT | ГОСТ IEC 60811-1-3-2011 "Общие методы испытаний материалов изоляции и оболочек электрических и оптических кабелей. Часть 1-3. Методы общего применения. Методы определения плотности. Испытание на влагопоглощение. Испытание на усадку" |
IEC 60811-1-4:1985 | IDT | ГОСТ IEC 60811-1-4-2011 "Общие методы испытаний материалов изоляции и оболочек электрических и оптических кабелей. Часть 1-4. Методы общего применения. Испытание при низкой температуре" |
IEC 60811-2-1:1998 | IDT | ГОСТ IEC 60811-2-1-2011 "Общие методы испытаний материалов изоляции и оболочек электрических и оптических кабелей. Часть 2-1. Специальные методы испытаний эластомерных композиций. Испытания на озоностойкость, тепловую деформацию и маслостойкость" |
IEC 60811-3-1:1985 | IDT | ГОСТ IEC 60811-3-1-2011 "Специальные методы испытаний поливинилхлоридных компаундов изоляции и оболочек электрических и оптических кабелей. Испытание под давлением при высокой температуре. Испытания на стойкость к растрескиванию" |
IEC 60811-3-2:1985 | IDT | ГОСТ IEC 60811-3-2-2011 "Специальные методы испытаний поливинилхлоридных компаундов изоляции и оболочек электрических и оптических кабелей. Определение потери массы. Испытание на термическую стабильность" |
IEC 60811-4-1:2004 | IDT | ГОСТ IEC 60811-4-1-2011 "Общие методы испытаний материалов изоляции и оболочек электрических и оптических кабелей. Часть 4-1. Специальные методы испытаний полиэтиленовых и полипропиленовых композиций. Стойкость к растрескиванию под напряжением в условиях окружающей среды. Определение показателя текучести расплава. Определение содержания сажи и/или минерального наполнителя в полиэтилене методом непосредственного сжигания. Определение содержания сажи методом термогравиметрического анализа (TGA). Определение дисперсии сажи в полиэтилене с помощью микроскопа" |
IEC 60885-3 | - | <*> |
<*> Соответствующий национальный стандарт отсутствует. До его утверждения рекомендуется использовать перевод на русский язык данного международного стандарта. Официальный перевод данного международного стандарта находится в Федеральном информационном фонде стандартов. Примечание - В настоящей таблице использованы следующие условные обозначения степени соответствия стандартов: - IDT - идентичные стандарты; - MOD - модифицированные стандарты. |
[1] | IEC 60840 | Power cables with extruded insulation and their accessories for rated voltages above 30 kV (Um = 36 kV) up to 150 kV (Um = 170 kV) - Test methods and requirements [Кабели силовые с экструдированной изоляцией и арматура к ним на номинальное напряжение свыше 30 кВ (Um = 36 кВ) до 150 кВ (Um = 170 кВ). Методы испытаний и требования к ним] |
[2] | IEC 60853-2 | Calculation of the cyclic and emergency current rating of cables - Part 2: Cyclic rating of cables greater than 18/30 (36) kV and emergency rating of cables of all voltages [Расчет токовой нагрузки кабелей в цикличном и аварийном режимах. Часть 2. Коэффициент цикличной нагрузки кабелей на номинальное напряжение свыше 18/30 (36) кВ и аварийной нагрузки кабелей всех напряжений] |