Главная // Актуальные документы // ГОСТ Р (Государственный стандарт)СПРАВКА
Источник публикации
М.: Стандартинформ, 2019
Примечание к документу
Документ
введен в действие с 1 июля 2019 года.
Название документа
"ГОСТ Р 58400.11-2019. Национальный стандарт Российской Федерации. Дороги автомобильные общего пользования. Материалы вяжущие нефтяные битумные. Метод определения температуры растрескивания при помощи устройства ABCD"
(утв. и введен в действие Приказом Росстандарта от 18.06.2019 N 308-ст)
"ГОСТ Р 58400.11-2019. Национальный стандарт Российской Федерации. Дороги автомобильные общего пользования. Материалы вяжущие нефтяные битумные. Метод определения температуры растрескивания при помощи устройства ABCD"
(утв. и введен в действие Приказом Росстандарта от 18.06.2019 N 308-ст)
Утвержден и введен в действие
агентства по техническому
регулированию и метрологии
от 18 июня 2019 г. N 308-ст
НАЦИОНАЛЬНЫЙ СТАНДАРТ РОССИЙСКОЙ ФЕДЕРАЦИИ
ДОРОГИ АВТОМОБИЛЬНЫЕ ОБЩЕГО ПОЛЬЗОВАНИЯ
МАТЕРИАЛЫ ВЯЖУЩИЕ НЕФТЯНЫЕ БИТУМНЫЕ
МЕТОД ОПРЕДЕЛЕНИЯ ТЕМПЕРАТУРЫ РАСТРЕСКИВАНИЯ
ПРИ ПОМОЩИ УСТРОЙСТВА ABCD
Automobile roads of general use. Petroleum-based bitumen
binders. Method of determining the temperature of cracking
using the device ABCD
ГОСТ Р 58400.11-2019
Дата введения
1 июля 2019 года
1 РАЗРАБОТАН Автономной некоммерческой организацией "Научно-исследовательский институт транспортно-строительного комплекса" (АНО "НИИ ТСК")
2 ВНЕСЕН Техническим комитетом по стандартизации ТК 418 "Дорожное хозяйство"
3 УТВЕРЖДЕН И ВВЕДЕН В ДЕЙСТВИЕ
Приказом Федерального агентства по техническому регулированию и метрологии от 18 июня 2019 г. N 308-ст
4 ВВЕДЕН ВПЕРВЫЕ
Правила применения настоящего стандарта установлены в статье 26 Федерального закона от 29 июня 2015 г. N 162-ФЗ "О стандартизации в Российской Федерации". Информация об изменениях к настоящему стандарту публикуется в ежегодном (по состоянию на 1 января текущего года) информационном указателе "Национальные стандарты", а официальный текст изменений и поправок - в ежемесячном информационном указателе "Национальные стандарты". В случае пересмотра (замены) или отмены настоящего стандарта соответствующее уведомление будет опубликовано в ближайшем выпуске ежемесячного информационного указателя "Национальные стандарты". Соответствующая информация, уведомление и тексты размещаются также в информационной системе общего пользования - на официальном сайте Федерального агентства по техническому регулированию и метрологии в сети Интернет (www.gost.ru)
Настоящий стандарт распространяется на нефтяные битумные вяжущие материалы (далее - битумные вяжущие), предназначенные в качестве вяжущего материала при строительстве, ремонте и реконструкции дорожных покрытий и оснований, и устанавливает метод определения температуры растрескивания при помощи устройства для растрескивания битумного вяжущего (ABCD).
В настоящем стандарте использованы нормативные ссылки на следующие стандарты:
ГОСТ 12.1.004 Система стандартов безопасности труда. Пожарная безопасность. Общие требования
ГОСТ 12.1.007 Система стандартов безопасности труда. Вредные вещества. Классификация и общие требования безопасности
ГОСТ 12.1.019 Система стандартов безопасности труда. Электробезопасность. Общие требования и номенклатура видов защиты
ГОСТ 12.1.044 Система стандартов безопасности труда. Пожаровзрывоопасность веществ и материалов. Номенклатура показателей и методы их определения
ГОСТ 12.4.252 Система стандартов безопасности труда. Средства индивидуальной защиты рук. Перчатки. Общие технические требования. Методы испытаний
ГОСТ 6259 Реактивы. Глицерин. Технические условия
ГОСТ 6823 Глицерин натуральный сырой. Общие технические условия
ГОСТ 6824 Глицерин дистиллированный. Технические условия
ГОСТ Р 58400.5 Дороги автомобильные общего пользования. Материалы вяжущие нефтяные битумные. Метод старения под действием давления и температуры (PAV)
Примечание - При пользовании настоящим стандартом целесообразно проверить действие ссылочных стандартов в информационной системе общего пользования - на официальном сайте Федерального агентства по техническому регулированию и метрологии в сети Интернет или по ежегодному информационному указателю "Национальные стандарты", который опубликован по состоянию на 1 января текущего года, и по выпускам информационного указателя "Национальные стандарты" за текущий год. Если заменен ссылочный стандарт, на который дана недатированная ссылка, то рекомендуется использовать действующую версию этого стандарта с учетом всех внесенных в данную версию изменений. Если заменен ссылочный стандарт, на который дана датированная ссылка, то рекомендуется использовать версию этого стандарта с указанным выше годом утверждения (принятия). Если после утверждения национального стандарта в ссылочный стандарт, на который дана датированная ссылка, внесено изменение, затрагивающее положение, на которое дана ссылка, то это положение рекомендуется применять без учета данного изменения. Если ссылочный стандарт отменен без замены, то положение, в котором дана ссылка на него, рекомендуется применять в части, не затрагивающей эту ссылку.
В настоящем стандарте применены следующие термины с соответствующими определениями:
3.1
битумное вяжущее (bitumen binder): Органический вяжущий материал, производимый из продуктов переработки нефти с добавлением при необходимости органических модифицирующих добавок. |
3.2 инвар (invar): Сплав никеля и стали, имеющий низкий коэффициент линейного теплового расширения.
Примечание - Коэффициент теплового расширения инвара приблизительно равен 1,2·10-6/°C.
3.3 температура растрескивания (cracking temperature): Прогнозируемая предельная температура устойчивости битумного вяжущего к растрескиванию при эксплуатации.
3.4 температура растрескивания ABCD (ABCD cracking temperature): Температура, при которой происходит скачок деформации.
3.5 напряжение разрушения (fracture stress): Максимальное напряжение в образце, рассчитанное на основе значения скачка деформации в момент растрескивания.
3.6 скачок деформации (strain jump): Скачкообразное изменение значения деформации сжатого кольца в момент растрескивания.
4 Требования к средствам измерений, вспомогательным устройствам, материалам и реактивам
При выполнении испытаний применяют следующие средства измерений, вспомогательные устройства, материалы и реактивы.
4.1 Система устройств для растрескивания битумного вяжущего, состоящая из следующих компонентов.
4.1.1 Камера климатическая воздушного охлаждения с диапазоном рабочих температур от (-60,0 +/- 0,5) °C до (25,0 +/- 0,5) °C. Внутреннее пространство камеры должно соответствовать следующим размерам:
- высота - не менее 152 мм;
- ширина - не менее 254 мм;
- глубина - не менее 254 мм.
Примечание - При проведении испытаний менее четырех образцов одновременно допускается применение климатической камеры с внутренним пространством меньшего размера.
Климатическая камера должна быть оборудована электронным устройством, способным регулировать скорость охлаждения или нагрева с точностью +/- 0,5 °C в час.
Примечание - Работа при низких температурах приводит к конденсации воды внутри испытательной камеры и на кольцах устройства для растрескивания битумного вяжущего. Для периодической сушки камеры и другого испытательного оборудования рекомендуется включать климатическую камеру на повышенную температуру.
4.1.2 Система регистрации и отображения данных с компьютерным управлением, способная обеспечивать запись (не реже одного раза в 20 с) значений: деформации

с точностью

, температуры с точностью 0,1 °C и времени с точностью 1 с. Кроме того, система должна отображать графики зависимости деформации от температуры в реальном времени.
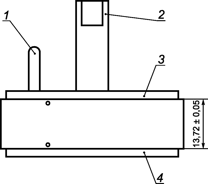
4.1.3 Кольцо устройства для растрескивания битумного вяжущего должно быть изготовлено из инвара и иметь следующие размеры: внешний диаметр (50,80 +/- 0,05) мм, высота (13,72 +/- 0,05) мм, толщина (1,65 +/- 0,05) мм. На внутренней поверхности кольца должны быть расположены термодатчик и тензодатчик. Допускается прикрепление к кольцу защитных крышек (верхней и нижней) с помощью штифтов, расположенных с шагом 120° по окружности кольца. В том случае, если используют защитные крышки, на верхней крышке должен быть установлен индикатор положения тензодатчика, как показано на рисунках 1 и
2.
1 - отверстие под штифт; 2 - тензодатчик; 3 - индикатор
положения тензодатчика; 4 - резисторный термодатчик
Рисунок 1 - Кольцо устройства для растрескивания битумного
вяжущего (вид сверху)
1 - индикатор положения тензодатчика; 2 - электрический
разъем датчика; 3 - верхняя крышка; 4 - нижняя крышка
Рисунок 2 - Кольцо устройства для растрескивания
битумного вяжущего (вид спереди)
4.1.4 Форма для образца должна быть выполнена в виде неразъемного кольца из силиконовой резины твердостью 40 единиц по Шору. Размеры формы должны соответствовать размерам, указанным на рисунках 3 и
4 (допуски на рисунках указаны для пресс-формы, применяемой при изготовлении формы).
Рисунок 3 - Форма из силиконовой резины (вид сверху)
Рисунок 4 - Форма из силиконовой резины в разрезе
4.2 Столик поворотный, применяемый для облегчения процедуры заливки образца битумного вяжущего в силиконовую форму, в сборе с кольцом устройства для растрескивания битумного вяжущего.
Рисунок 5 - Поворотный столик
4.3 Шкаф сушильный, обеспечивающий нагрев и поддержание постоянной температуры внутреннего пространства на уровне (180 +/- 5) °C.
4.4 Весы с наибольшим пределом взвешивания более 1000 г и точностью 0,1 г.
Примечание - Для удобства заливки образцов допускается применение шприца из нержавеющей стали, обеспечивающего возможность заливки четырех образцов битумного вяжущего заранее определенного объема (15,6 +/- 0,2) см3 при 170 °C.
4.5 Состав разделительный, состоящий из талька и глицерина по
ГОСТ 6259,
ГОСТ 6823 и
ГОСТ 6824, в массовом соотношении 1:1, применяемый для смазывания внешней и нижней поверхностей кольца устройства для растрескивания битумного вяжущего.
Примечание - Допускается в качестве разделительного состава применение силиконовой вакуумной смазки. При проведении испытания без разделительного состава происходит приклеивание битумного вяжущего к кольцу, что приводит к искажению показаний значения деформации.
Сущность метода заключается в охлаждении образца битумного вяжущего в форме кольца и фиксации скачка деформации.
6 Требования безопасности и охраны окружающей среды
Битумы согласно
ГОСТ 12.1.007 относятся к 4-му классу опасности, являются малоопасными веществами по степени воздействия на организм человека.
При выполнении измерений соблюдают правила по электробезопасности по
ГОСТ 12.1.019 и инструкции по эксплуатации оборудования.
Битумы согласно
ГОСТ 12.1.044 относятся к трудногорючим жидкостям. Работы с применением битумов следует проводить с соблюдением требований пожарной безопасности по
ГОСТ 12.1.004.
Испытанный материал утилизируют в соответствии с рекомендациями из паспорта безопасности химической продукции.
7 Требования к условиям измерений
При выполнении измерений соблюдают следующие условия для помещений, в которых испытывают образцы:
- температура (22 +/- 3) °C;
- относительная влажность не более 80%.
8 Подготовка к выполнению измерений
8.1 При подготовке к выполнению измерений проводят следующие работы:
- подготовка к испытаниям;
- подготовка образцов.
8.2 Подготовка к испытаниям
Включают оборудование и устанавливают настройки, необходимые для проведения испытаний.
Проводят обнуление показаний тензометрической системы прибора.
Перед началом испытаний тщательно протирают силиконовые формы и кольца чистой тканью или бумажным полотенцем.
Запускают систему регистрации данных и программное обеспечение согласно инструкции производителя испытательной системы.
8.3 Подготовка образцов
Битумное вяжущее необходимо довести до подвижного состояния, сначала нагревая в сушильном шкафу при температуре не выше 163 °C. Затем, не допуская локальных перегревов, доводят температуру битума при постоянном перемешивании до температуры, при которой динамическая вязкость битумного вяжущего составляет (0,28 +/- 0,03) Па·с. Время нагревания битума при указанных условиях не должно превышать 50 мин.
Примечание - Если температура, при которой динамическая вязкость битумного вяжущего составляет (0,28 +/- 0,03) Па·с, выше чем 163 °C, допускается разогрев в сушильном шкафу при температуре до 175 °C. Для состаренных битумных вяжущих температуру нагрева допускается принимать равной температуре нагрева несостаренного битумного вяжущего. Для битумного вяжущего, состаренного по методу PAV, допускается разогрев в вакуумной печи при температуре до 175 °C. Чтобы разогреть за заявленное время образец объемом более 1 л, рекомендуется сначала разделить его на образцы объемом менее 1 л, например с помощью разогретого ножа.
Затем покрывают внешнюю поверхность кольца разделительным составом, далее устанавливают кольцо в силиконовую форму так, чтобы оно было заподлицо с ее верхним краем. Тензодатчик на кольце должен находиться напротив индикатора положения, как показано на рисунке 6.
Рисунок 6 - Кольцо устройства для растрескивания битумного
вяжущего в сборе с силиконовой формой
Устанавливают силиконовую форму в сборе с кольцом устройства для растрескивания битумного вяжущего в центр поворотного столика.
Примечание - Держать и переносить аппаратуру допускается только за поворотный столик.
Записывают массу формы в сборе с кольцом и поворотным столиком с точностью до 0,1 г. Затем устанавливают поворотный столик с формой в сборе с кольцом на горизонтальную поверхность.
Заливают горячее битумное вяжущее в форму в сборе с кольцом в таком количестве, чтобы после охлаждения до температуры 25 °C его объем составил (14,38 +/- 0,50) см3.
Примечание - Заливку битумного вяжущего следует начинать в одной точке (обычно около индикатора тензодатчика), затем дать битумному вяжущему заполнить форму ниже выступа перед тем, как заливать пространство выше выступа. Затем продолжают равномерно добавлять битумное вяжущее, вращая поворотный столик. Битумное вяжущее необходимо заливать как можно быстрее, непрерывным потоком во избежание падения температуры или образования в образце воздушных полостей. В случае, если для заливки не используют шприц, следует определить массу вяжущего, занимающую объем (14,38 +/- 0,50) см3 при 25 °C. Затем требуемое количество горячего вяжущего осторожно заливают в форму в сборе с кольцом, установленную на весы.
Дают образцу битумного вяжущего, форме, кольцу и поворотному столику остыть до комнатной температуры в течение не менее 30 мин.
Записывают массу образца, формы в сборе с кольцом и поворотного столика.
Охлаждают образец до температуры 0 °C. Затем, держа столик одной рукой (по возможности не держась за форму), следует взяться за кольцо и повернуть его примерно на 30 °C, чтобы разрушить соединение между кольцом и образцом битумного вяжущего. Затем поворачивают кольцо в обратном направлении и устанавливают в первоначальное положение так, чтобы индикатор и тензодатчик были совмещены.
Примечание - При испытаниях битумного вяжущего, состаренного согласно
ГОСТ Р 58400.5, охлаждать образец до 0 °C не обязательно.
9 Порядок выполнения измерений
Устанавливают температуру в климатической камере (20 +/- 1) °C. Помещают подготовленные образцы битумного вяжущего в климатическую камеру.
Подключают кольцо устройства для растрескивания битумного вяжущего к системе регистрации и отображения данных.
Программируют и инициируют температурный режим так, чтобы климатическая камера понижала температуру с 20 °C до 0 °C со скоростью 40 °C/ч, а затем от 0 °C до минус 60 °C со скоростью 20 °C/ч.
Во время понижения температуры со скоростью 20 °C/ч следует регистрировать показания деформации и температуры через каждые 20 с.
О растрескивании испытуемого образца свидетельствует скачок деформации на графике зависимости деформации от температуры, который отображается на дисплее в режиме реального времени. После растрескивания испытуемого образца испытание продолжают не менее 12 мин для получения дополнительных данных, необходимых при расчете скачка деформации.
Перед тем как извлечь образцы из камеры, устанавливают температуру в климатической камере равной 20 °C при максимальной скорости нагрева и удерживают на этом уровне в течение 30 мин.
Примечание - Нагрев климатической камеры необходим для того, чтобы избежать образования водяного конденсата.
Затем необходимо осмотреть образец битумного вяжущего, чтобы найти место растрескивания образца. Далее следует извлечь образец битумного вяжущего из формы и осмотреть его на наличие дефектов: неровностей геометрической формы, холодных швов или пузырьков воздуха в образце.
Удаляют следы битумного вяжущего и разделительного состава с формы и кольца сухой тканью или сухим бумажным полотенцем.
Примечание - Не допускается применение органических растворителей для очистки силиконовых форм. В случае сильного загрязнения формы допускается применять мыльную воду и щетку с мягкой щетиной. Затем формы тщательно промывают чистой водой и высушивают. Вяжущее с крышек кольца устройства для растрескивания битумного вяжущего допускается удалять инструментом с прямой кромкой (например, маленькой отверткой), стараясь не повредить поверхность кольца. После нескольких испытаний следует протирать наружную поверхность кольца устройства для растрескивания битумного вяжущего бумажным полотенцем, увлажненным органическим растворителем. Во избежание повреждения датчиков не допускается погружать кольца устройства для растрескивания битумного вяжущего в растворитель.
10 Обработка результатов испытаний
10.1 Температуру растрескивания ABCD битумного вяжущего необходимо определять в момент скачка деформации в испытуемом образце по графику зависимости деформации от температуры, представленному на рисунке 7.
Рисунок 7 - Пример определения температуры растрескивания
ABCD битумного вяжущего по графику зависимости деформации
от температуры
10.2 Значение скачка деформации равно разнице значения деформации после растрескивания и значения деформации до растрескивания. Деформация до растрескивания - это деформация при температуре растрескивания ABCD. Деформацию после растрескивания определяют в месте пересечения вертикальной прямой, проведенной от точки растрескивания образца битумного вяжущего и касательной линии к прямому участку графика зависимости температуры от деформации после растрескивания образца (см.
рисунок 7).
10.3 Усилие в поперечном сечении кольца перед растрескиванием FABCD, Н, вычисляют по формуле

(1)
где

- скачок деформации,

;
EABCD - модуль упругости кольца, Па (для кольца устройства для растрескивания битумного вяжущего E = 140·109 Па);
AABCD - площадь сечения кольца, м2 (для кольца устройства для растрескивания битумного вяжущего A = 2,26451·10-5 м2).
Примечание - Предполагается, что напряжение в испытуемом образце полностью снимается после его растрескивания.
10.4 Напряжение растрескивания

вычисляют по формуле

(2)
где K - коэффициент концентрации напряжения (для размеров образца K = 2);
AAC - площадь сечения образца, м2 (для размеров образца площадь сечения равна 4,03225·10-5 м2).
10.5 Температуру растрескивания Tр, °C, вычисляют по формуле
Tр = 1,07TABCD + 10,9, (3)
где TABCD - температура растрескивания ABCD, °C.
За результат испытания принимают среднее арифметическое соответствующих значений: температуры растрескивания, скачка деформации, температуры растрескивания ABCD и напряжения разрушения образца, полученных на четырех параллельно испытанных образцах.
Сходимость результатов испытаний обеспечивается при условии, что два результата испытания, полученные на образцах из одной пробы битумного вяжущего, одним исполнителем, в одной лаборатории, на одном оборудовании, признают корректными, если расхождение между ними не превышает значения, представленные в таблице 1.
Таблица 1
Наименование параметра | Допустимая разница между двумя результатами |
Температура растрескивания, °C | 2,7 |
Скачок деформации,  | 15,5 |
Напряжение разрушения, МПа | 2,5 |
Воспроизводимость результатов испытаний обеспечивается при условии, что два результата испытания, полученные на образцах из одной пробы битумного вяжущего в разных лабораториях двумя разными исполнителями, признают корректными, если расхождение между ними не превышает значения, представленные в таблице 2.
Таблица 2
Наименование параметра | Допустимая разница между двумя результатами |
Температура растрескивания, °C | 3,9 |
Скачок деформации,  | 20,4 |
Напряжение разрушения, МПа | 3,2 |
11 Оформление результатов испытаний
Результаты испытаний оформляют в виде протокола, который должен содержать следующую информацию:
- идентификация испытуемого образца;
- дата проведения испытания;
- наименование организации, проводившей испытание;
- обозначение настоящего стандарта и отклонения от его требований;
- тип испытательного оборудования;
- акт отбора проб;
- среднее арифметическое масс образцов с точностью до 0,1 г;
- скорость остывания с точностью до 0,1 °C в час;
- температура растрескивания с точностью до 0,1 °C;
- значение скачка деформации с точностью до

;
- напряжение разрушения с точностью до 0,01 МПа.
12 Контроль точности результатов испытаний
Точность результатов испытаний обеспечивается:
- соблюдением требований настоящего стандарта;
- проведением периодической оценки метрологических характеристик средств измерений;
- проведением периодической аттестации оборудования.
Лицо, проводящее измерения, должно быть ознакомлено с требованиями настоящего стандарта.