Главная // Актуальные документы // ГОСТ Р (Государственный стандарт)СПРАВКА
Источник публикации
М.: Стандартинформ, 2019
Примечание к документу
Документ
введен в действие с 1 июня 2019 года.
Название документа
"ГОСТ Р 58386-2019. Национальный стандарт Российской Федерации. Канаты защищенные в оболочке для предварительно напряженных конструкций. Технические условия"
(принят Приказом Росстандарта от 22.03.2019 N 96-ст)
"ГОСТ Р 58386-2019. Национальный стандарт Российской Федерации. Канаты защищенные в оболочке для предварительно напряженных конструкций. Технические условия"
(принят Приказом Росстандарта от 22.03.2019 N 96-ст)
по техническому регулированию
и метрологии
от 22 марта 2019 г. N 96-ст
НАЦИОНАЛЬНЫЙ СТАНДАРТ РОССИЙСКОЙ ФЕДЕРАЦИИ
КАНАТЫ ЗАЩИЩЕННЫЕ В ОБОЛОЧКЕ
ДЛЯ ПРЕДВАРИТЕЛЬНО НАПРЯЖЕННЫХ КОНСТРУКЦИЙ
ТЕХНИЧЕСКИЕ УСЛОВИЯ
Protected strands in a cover for prestressed
concrete structures. Specifications
ГОСТ Р 58386-2019
Дата введения
1 июня 2019 года
1 РАЗРАБОТАН Научно-исследовательским институтом бетона и железобетона им. А.А. Гвоздева АО "НИЦ "Строительство"
2 ВНЕСЕН Техническим комитетом по стандартизации ТК 465 "Строительство"
3 ПРИНЯТ Федеральным агентством по техническому регулированию и метрологии от 22 марта 2019 г.
N 96-ст
4 ВВЕДЕН ВПЕРВЫЕ
Правила применения настоящего стандарта установлены в статье 26 Федерального закона от 29 июня 2015 г. N 162-ФЗ "О стандартизации в Российской Федерации". Информация об изменениях к настоящему стандарту публикуется в ежегодном (по состоянию на 1 января текущего года) информационном указателе "Национальные стандарты", а официальный текст изменений и поправок - в ежемесячном информационном указателе "Национальные стандарты". В случае пересмотра (замены) или отмены настоящего стандарта соответствующее уведомление будет опубликовано в ближайшем выпуске информационного указателя "Национальные стандарты". Соответствующая информация, уведомление и тексты размещаются также в информационной системе общего пользования - на официальном сайте Федерального агентства по техническому регулированию и метрологии в сети Интернет (www.gost.ru)
Настоящий стандарт распространяется на стальные канаты в оболочке из полиэтилена высокой плотности с защитной смазкой, которая препятствует трению и защищает канат от коррозии, применяемые в качестве напрягаемой арматуры в железобетонных конструкциях без сцепления, внешней арматуры при усилении конструкций и в других конструкциях в различных областях строительства.
В настоящем стандарте использованы нормативные ссылки на следующие стандарты:
ГОСТ 427 Линейки измерительные металлические. Технические условия
ГОСТ 3560-73 Лента стальная упаковочная. Технические условия
ГОСТ 5346 Смазки пластичные. Методы определения пенетрации пенетрометром с конусом
ГОСТ 5734 Смазки пластичные. Метод определения стабильности против окисления
ГОСТ 8773 Смазка ЦИАТИМ-203. Технические условия
ГОСТ 11262 Пластмассы. Метод испытания на растяжение
ГОСТ 11358 Толщиномеры и стенкомеры индикаторные с ценой деления 0,01 и 0,1 мм. Технические условия
ГОСТ 16338 Полиэтилен низкого давления. Технические условия
ГОСТ 32394 Смазки пластичные. Метод определения температуры каплепадения
ГОСТ 33307 Смазки пластичные. Отделение масла при повышенных температурах (метод конического сита)
ГОСТ Р 53772-2010 Канаты стальные арматурные семипроволочные стабилизированные. Технические условия
Примечание - При пользовании настоящим стандартом целесообразно проверить действие ссылочных стандартов в информационной системе общего пользования - на официальном сайте Федерального агентства по техническому регулированию и метрологии в сети Интернет или по ежегодному информационному указателю "Национальные стандарты", который опубликован по состоянию на 1 января текущего года, и по выпускам ежемесячного информационного указателя "Национальные стандарты" за текущий год. Если заменен ссылочный стандарт, на который дана недатированная ссылка, то рекомендуется использовать действующую версию этого стандарта с учетом всех внесенных в данную версию изменений. Если заменен ссылочный стандарт, на который дана датированная ссылка, то рекомендуется использовать версию этого стандарта с указанным выше годом утверждения (принятия). Если после утверждения настоящего стандарта в ссылочный стандарт, на который дана датированная ссылка, внесено изменение, затрагивающее положение, на которое дана ссылка, то это положение рекомендуется применять без учета данного изменения. Если ссылочный стандарт отменен без замены, то положение, в котором дана ссылка на него, рекомендуется применять в части, не затрагивающей эту ссылку.
В настоящем стандарте применены следующие термины с соответствующими определениями:
3.1 канат: Арматурная семипроволочная прядь, состоящая из центральной проволоки и шести наружных проволок, свитых по спирали.
3.2 защищенный канат в оболочке: Изделие, состоящее из каната, упакованного в оболочку, где все пространство между оболочкой и всеми проволоками каната заполнено специальной защитной смазкой.
3.3 оболочка: Непрерывное покрытие арматурного каната в виде цилиндрической трубки из полиэтилена высокой плотности, выполненное методом горячей экструзии, которая защищает арматурную прядь от сцепления с бетоном.
3.4 защитная смазка: Пластичная антифрикционная щелочная смазка, защищающая канат от коррозии и служащая для уменьшения трения каната о внутреннюю поверхность оболочки.
4 Классификация, основные параметры и размеры
4.1 Защищенный канат в оболочке - семипроволочный стабилизированный арматурный канат, защищенный защитной смазкой и покрытый оболочкой из экструдированного полиэтилена высокой плотности различного цвета. Конструкция каната в оболочке подразумевает продольное смещение каната относительно оболочки.
4.2 Защищенные канаты в оболочке изготовляют из каната:
- свитого из круглой гладкой проволоки (тип К7 по
ГОСТ Р 53772);
- из круглой гладкой проволоки, пластически обжатого (тип К7О по
ГОСТ Р 53772).
4.3 Геометрические параметры защищенного каната в оболочке должны соответствовать размерам, приведенным в таблице 1.
Таблица 1
В миллиметрах
Номинальный диаметр защищенного каната в оболочке | Наружный диаметр защищенного каната в оболочке |
Минимальный | Максимальный |
12,5 | 14,5 | 15,9 |
12,7 | 14,7 | 16,1 |
12,9 | 14,9 | 16,3 |
15,2 | 18,2 | 19,4 |
15,7 | 18,7 | 19,9 |
18,0 | 21,0 | 22,2 |
4.4 Примеры условных обозначений:
1 Арматурный канат номинальным диаметром 15,7 мм, защищенный в оболочке класса прочности 1860 Н/мм
2 [
рисунок 1, а)]:
ОБ-К7-15,7-1860-ГОСТ Р 58386-2019.
2 Арматурный канат номинальным диаметром 15,2 мм, пластически обжатый, защищенный в оболочке класса прочности 1860 Н/мм2 [рисунок 1, б)]:
ОБ-К7О-15,2-1860-ГОСТ Р 58386-2019.
Рисунок 1 - Конструкция защищенного каната в оболочке
из круглой гладкой проволоки (а) и пластически обжатого (б)
5.1 Защищенные канаты в оболочке следует изготовлять в соответствии с требованиями настоящего стандарта по технологическому регламенту, утвержденному в установленном порядке.
5.2 Требования к защищенным канатам в оболочке
5.2.1 На защищенном канате в оболочке наружная поверхность оболочки должна иметь сплошную однородную поверхность без сплошных царапин, трещин, нарушений сплошности и кратеров. Допускаются отдельные поверхностные дефекты (кратеры) длиной, не превышающей внешнего диаметра оболочки каната, которые не уменьшают толщину оболочки ниже нормативных значений. Длина оболочки должна соответствовать длине каната.
5.2.2 Основные параметры и размеры защищенных канатов в оболочке должны соответствовать приведенным в
разделе 4.
5.2.3 На оболочке не допускается наличие следов защитной смазки и масляных пятен.
5.2.4 Начальное сопротивление скольжению оболочки относительно каната должно быть менее или равно 60 Н на длине образца 1000 мм при температуре (23 +/- 5) °C.
5.2.5 Защищенный канат в оболочке должен выдерживать ударные нагрузки. На поверхности оболочки не должны образовываться сквозные трещины при воздействии на оболочку ударной нагрузки.
5.2.6 Защищенный канат в оболочке должен выдерживать испытание на растрескивание оболочки. Оболочка не должна содержать следов растрескивания после проведения испытания в жидкости с поверхностно-активными веществами (ПАВ).
5.2.7 Защищенный канат в оболочке должен выдерживать испытание на водонепроницаемость.
5.2.8 Защищенный канат в оболочке должен быть прямолинейным. Канат считается прямолинейным, если его отрезок длиной не менее 1,3 м при свободной укладке на плоскость образует сегмент высотой не более 25 мм при длине основания 1 м.
5.3 Требования к арматурным канатам
5.3.1 Для изготовления защищенных канатов в оболочке следует применять семипроволочные стабилизированные арматурные канаты номинальными диаметрами от 12,5 до 12,9 и от 15,2 до 18,0 мм по
ГОСТ Р 53772.
5.4 Требования к защитной смазке
5.4.1 В качестве защитной смазки следует применять антифрикционную водостойкую морозостойкую консистентную смазку.
5.4.2 В качестве смазки следует применять смазку ЦИАТИМ-203 по
ГОСТ 8773 с дополнительными требованиями, приведенными в таблице 2. Допускается применять другие смазки, соответствующие данным требованиям.
Таблица 2
Наименование свойств | Значение параметра |
Точка каплепадения, °C, не ниже | 150 |
Пенетрация перемешанной смазки (60 ходов; 0,1 мм при температуре 25 °C) | 220 - 300 |
Отделение масла, %, не менее при температуре °C: | |
40 | 4,5 после 7 сут |
100 | 4 после 50 ч |
Сопротивление оксидации, МПа, не менее | 0,07 (100 ч при температуре 100 °C) 0,15 (400 ч при температуре 100 °C) |
5.4.3 Защитная смазка должна обеспечивать водонепроницаемость.
5.4.4 Масса наносимой смазки на 1 пог. м защищенного каната в оболочке, г/м, должна быть не менее следующих значений:
- 35 - для канатов номинальным диаметром от 12,5 до 12,9 мм;
- 40 - для канатов номинальным диаметром от 15,2 до 18,0 мм.
5.5 Требования к оболочке
5.5.1 В качестве оболочки следует применять полиэтилен высокой плотности низкого давления без переработанного материала, заполненный сажей или светостабилизирующими добавками. Плотность оболочки должна составлять не менее 0,950 г/см3.
5.5.2 Полиэтилен должен соответствовать требованиям
ГОСТ 16338 или другим нормативным документам с дополнительными требованиями, изложенными в таблице 3.
Таблица 3
Наименование свойств | Значение параметра |
Показатель текучести расплава при нагрузке 2,16 кг, г/10 мин, не более | 0,25 |
Предел текучести при температуре 23 °C, МПа, не менее | 22 |
Удлинение при разрыве: | |
- при температуре +23 °C, %, не менее | 600 |
- при -20 °C, %, не менее | |
Термостабильность (порог устойчивости к кислороду) при температуре 200 °C <2>, мин, не менее | 20 под O2 |
Содержание сажи с допуском, % | 2,3 +/- 0,3 |
Сажевая дисперсия | Максимальный показатель 3 |
Распределение сажи | Максимальный показатель C2 |
<1> По требованию заказчика значения удлинения при разрыве при температуре минус 20 °C должно быть не менее 350%. <2> По требованию заказчика испытания на термостабильность проводят при температуре 210 °C. |
5.5.3 Масса 1 пог. м оболочки, г/м, должна составлять не менее следующих значений:
- 40 - для канатов номинальным диаметром от 12,5 до 12,9 мм;
- 80 - для канатов номинальным диаметром от 15,2 до 18,0 мм.
5.5.4 Толщина оболочки, мм, должна быть не менее:
- 1,0 - для канатов номинальным диаметром от 12,5 до 12,9 мм;
- 1,5 - для канатов номинальным диаметром от 15,2 до 18,0 мм.
5.6 Маркировка
К каждому бунту (деревянной катушке) должны быть прикреплены два ярлыка из синтетического материала, устойчивые к атмосферным воздействиям. Один закрепляют на конце каната до упаковки, а другой - на внешней стороне бунта (деревянной катушки) (прикрепляют к деревянному фланцу катушки). На ярлыках указывают:
- наименование или товарный знак производителя;
- условное обозначение защищенного каната в оболочке;
- номер партии;
- номер плавки;
- номер бунта (деревянной катушки);
- общую длину каната, защищенного в оболочке, м;
- массу нетто бунта (деревянной катушки), кг;
- номер заказа;
- дату изготовления;
- отметку ОТК.
5.7 Упаковка
5.7.1 Защищенные канаты в оболочке поставляют на деревянных катушках или в бунтах массой не более 3 т, рядной намоткой. Концы защищенного каната в оболочке должны быть надежно закреплены и легко обнаружимы. На концах защищенного каната в оболочке должны быть специальные защитные колпачки, предохраняющие от коррозии и попадания пыли на канат.
5.7.2 Внутренний диаметр деревянной катушки или бунта должен составлять не менее 60-кратного номинального диаметра каната без оболочки и защитной смазки.
5.7.3 По требованию заказчика деревянную катушку обивают деревянными досками. Катушки обвязывают двумя стальными лентами по
ГОСТ 3560 или другим нормативным документам по образующей поверхности наружного диаметра.
5.7.4 Бунты обвязывают стальной лентой по
ГОСТ 3560 или другому нормативному документу не менее чем в восьми местах, равномерно расположенных по окружности бунта с прокладками между лентой и бунтом для исключения повреждения оболочки.
6.1 Защищенные канаты в оболочке принимают партиями. Объем одной партии не должен превышать 18 т. Партия должна состоять из защищенных канатов в оболочке, изготовленных с одинаковыми технологическими параметрами (одной группы прочности, одного номинального диаметра, с одним шагом свивки), одинаковыми защитной смазкой и оболочкой. Не допускаются соединение канатов и оболочки по длине, а также поставка двух отрезков и более в одном бунте (деревянной катушке). Каждый бунт (деревянная катушка) партии должен быть оформлен одним документом о качестве, в котором указывают:
- наименование или товарный знак производителя;
- условное обозначение защищенного каната в оболочке;
- номер партии;
- номер плавки;
- номер бунта (катушки);
- результаты испытаний;
- массу бунта (деревянной катушки) нетто, кг;
- фактическую длину защищенного каната в оболочке в бунте (деревянной катушке), м;
- дату изготовления;
- документ о качестве каната, защитной смазки и материала оболочки;
- отметку ОТК.
6.2 Защищенные канаты в оболочке принимают комплексно. Проводят приемку как каната в целом, так и отдельных составляющих (канат, защитная смазка, оболочка).
6.3 Приемка защищенного каната в оболочке
6.3.1 Проводят проверку целостности упаковки канатов в бунтах (деревянных катушках).
6.3.2 Проверку внешнего вида, геометрических характеристик проводят в каждом бунте (деревянной катушке).
6.3.3 Для контроля массы защитной смазки, массы и толщины оболочки, испытания на начальное сопротивление скольжению, испытания на ударные нагрузки на растрескивание оболочки и водонепроницаемость от каждой партии отбирают образцы длиной не менее 1 м от не менее чем трех бунтов (деревянных катушек) партии.
6.4 Приемка арматурного каната
Приемку арматурного каната осуществляют в соответствии с документом о качестве. По требованию заказчика проверку свойств каната проводят в соответствии с требованиями
ГОСТ Р 53772.
6.5 Приемка защитной смазки, материала для изготовления оболочки и оболочки
6.5.1 Приемку защитной смазки и материала для изготовления оболочки на соответствие требованиям нормативных документов проводят в соответствии с документом о качестве по соответствующему нормативному документу.
6.5.2 Для контроля массы защитной смазки, массы и толщины оболочки, испытания на начальное сопротивление скольжению, испытания на ударные нагрузки и водонепроницаемость отбирают не менее трех образцов от каждой партии. Испытания проводят не реже одного раза в год, а также при постановке на производство и изменении технологического процесса. По требованию потребителя контроль вышеприведенных свойств проводят на одном образце, случайно отобранном от каждой партии.
6.6 При получении неудовлетворительных результатов по какому-либо показателю результаты испытаний распространяют на всю партию. Повторные испытания не допускаются.
6.7 Оценку стабильности уровня механических свойств защищенного каната в оболочке проводят с учетом данных за 6 мес работы. Для оценки стабильности уровня механических свойств сравнивают результаты испытаний всех партий для каждого типоразмера и проводят статистическую оценку разрывного усилия и условного предела текучести, используя данные за 6 мес (12 мес, если объем испытаний менее 60 шт.). Должно быть выполнено условие

(6.1)
где mr - среднее значение;
k(n) - значение квантиля для требуемого числа испытаний при уровне ошибки 5% с однородной обеспеченностью 95%;
n - число испытаний;
s - среднеквадратическое отклонение результатов контроля в генеральной совокупности;
CV - минимальное нормативное значение нормируемой характеристики.
7.1 Качество поверхности оболочки защищенного каната в оболочке проверяют визуально без применения приборов. Длину дефектов поверхности на оболочке измеряют металлической линейкой ценой деления 1 мм по
ГОСТ 427. Глубину поверхностных дефектов на оболочке измеряют толщиномером (стенкомером) ценой деления 0,1 мм по
ГОСТ 11358 или другим измерительным инструментом с соответствующей точностью.
7.2 Контроль геометрических характеристик и свойств арматурных канатов проводят в соответствии с требованиями
раздела 6 ГОСТ Р 53772-2010.
7.3 Для контроля прямолинейности защищенного каната в оболочке образец каната длиной не менее 1,3 м укладывают на плоскую поверхность. К свободно лежащему образцу каната подводят измерительную линейку длиной 1 м, в середине которой установлена под прямым углом линейка ценой деления 1 мм по
ГОСТ 427, с помощью которой измеряют высоту сегмента, образовавшегося между линейкой и канатом в оболочке.
7.4 Фактические значения массы оболочки и защитной смазки определяют на образце защищенного каната в оболочке согласно
приложению А.
7.5 Толщину оболочки измеряют микрометром на образце защищенного каната в оболочке длиной не менее 0,5 м в восьми различных точках [четыре в одном сечении окружности оболочки (0, 90°, 180, 270°) в начале образца и четыре в другом сечении на другом конце образца] микрометром ценой деления 0,01 мм по
ГОСТ 6507. Толщину оболочки принимают равной среднему значению восьми измерений.
7.6 Начальное сопротивление скольжению защищенного каната в оболочке определяют по
приложению Б.
7.7 Испытание защищенного каната в оболочке на ударные нагрузки проводят по
приложению В.
7.8 Испытания защищенного каната в оболочке на водонепроницаемость проводят по
приложению Г. По согласованию между изготовителем и потребителем допускается применение других методик испытаний.
7.9 Испытание на стойкость к растрескиванию оболочки проводят по
приложению Д.
7.10 Механические свойства оболочки определяют в соответствии с
ГОСТ 11262 на образцах типа I при температуре (20 +/- 2) °C. По согласованию между изготовителем и потребителем допускается применение других методик испытаний.
7.11 Определение точки каплепадения защитной смазки - по
ГОСТ 32394.
7.12 Определение пенетрации перемешанной защитной смазки - по
ГОСТ 5346.
7.13 Определение отделения масла в защитной смазке - по ГОСТ 33307.
7.14 Определение сопротивления оксидации защитной смазки - по ГОСТ 5734.
7.15 Определение свойств материала оболочки проводят в соответствии с требованиями
ГОСТ 16338. По согласованию между изготовителем и потребителем допускается применение других методик испытаний.
8 Транспортирование и хранение
8.1 Канаты, защищенные в оболочке, транспортируют всеми видами транспорта в соответствии с правилами перевозки грузов, действующими на транспорте данного вида, в закрытых транспортных средствах.
8.2 При транспортировании и хранении не допускается попадание на поверхность защищенного каната в оболочке раскаленного металла, химических жидкостей, масел и других продуктов нефтепереработки.
8.3 Хранение защищенных канатов в оболочке следует проводить в закрытых сухих вентилируемых помещениях. Запрещается хранение защищенных канатов в оболочке в помещениях с коррозионными средами (повышенная влажность, совместное хранение с химическими реагентами и др.).
8.4 Запрещается хранение канатов на земляном полу.
8.5 Допускается хранение бунтов защищенных канатов в оболочке в два яруса, с прокладкой из деревянного настила между ярусами.
(обязательное)
МЕТОДИКА ОПРЕДЕЛЕНИЯ МАССЫ ОБОЛОЧКИ И ЗАЩИТНОЙ СМАЗКИ
А.1 Для проведения испытания отбирают образец каната длиной L >= 0,5 м.
А.2 Определяют массу каната в оболочке mк с точностью 0,1 г.
А.3 С образца снимают оболочку без ее механического повреждения и тщательно очищают оболочку от защитной смазки ветошью.
А.4 Проводят взвешивание оболочки с точностью до 0,1 г (mоб). Раскручивают канат и тщательно очищают все проволоки от защитной смазки с помощью ветоши. Определяют массу всех проволок mпр.
А.5 Проводят расчет линейной массы по формулам:
- масса 1 пог. м каната
mкL = 1000mк/L;
- масса 1 пог. м оболочки
mобL = 1000mоб/L;
- масса смазки, наносимой на 1 пог. м каната,
mкL = 1000(mк - mпр - mоб)/L.
(обязательное)
МЕТОДИКА ПРОВЕДЕНИЯ ИСПЫТАНИЯ ЗАЩИЩЕННОГО КАНАТА
В ОБОЛОЧКЕ НА НАЧАЛЬНОЕ СОПРОТИВЛЕНИЕ СКОЛЬЖЕНИЮ
Б.1 Испытания на начальное сопротивление скольжению проводят на образце защищенного каната в оболочке рабочей длиной L >= 1000 + 5 мм без учета длины захватных устройств.
Б.2 Испытания проводят при температуре от 17 до 28 °C.
Б.3 Испытательная установка должна иметь измерительную систему (датчик нагрузки, откалиброванная масса груза) с точностью 0,1 кг.
Б.4 Испытания проводят в такой последовательности:
- первый образец каната очищают от оболочки и защитной смазки на длину, необходимую для захвата каната;
- образец закрепляют в захвате, который устанавливают на очищенный канат;
- второй захват закрепляют на внешней части оболочки с другой стороны образца таким образом, чтобы исключить продавливание оболочки (предпочтительно использование клеящих и абразивных составов). Свободная длина образца каната между захватами должна быть не менее 1000 мм;
- между захватами устанавливают устройство для контроля перемещения;
- прикладывают нагрузку между двумя захватами.
Проскальзывание каната и оболочки в захватах испытательной установки не допускается.
(обязательное)
МЕТОДИКА ПРОВЕДЕНИЯ ИСПЫТАНИЯ ЗАЩИЩЕННОГО КАНАТА
В ОБОЛОЧКЕ НА УДАРНЫЕ НАГРУЗКИ
В.1 Испытания на ударные нагрузки проводят на образце защищенного каната в оболочке и с защитной смазкой.
В.2 Испытания на ударные нагрузки проводят при температуре окружающего воздуха от 17 до 28 °C.
В.3 Испытания на ударные нагрузки проводят на испытательном стенде.
В.4 Испытание на ударные нагрузки проводят в такой последовательности:
- отрезают образец защищенного каната в оболочке длиной не менее 500 мм. Проводят герметизацию с двух концов образца таким образом, чтобы не происходило вытекания защитной смазки;
- подготовленный образец защищенного каната в оболочке закрепляют в горизонтальном положении на опорах с двух концов. Образец в месте приложения ударной нагрузки должен плотно прилегать к горизонтальной опорной поверхности без зазоров;
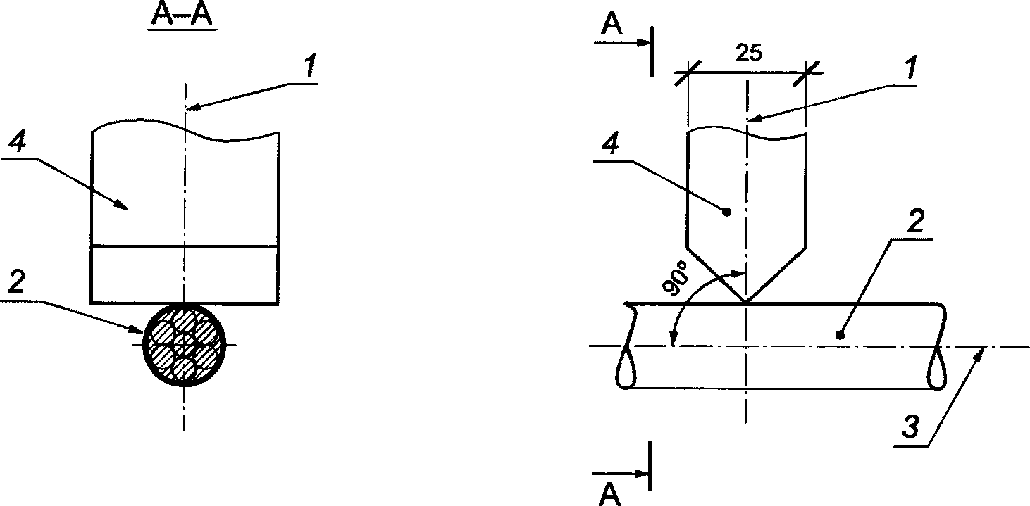
- на образец воздействуют 10 ударами металлического молота через равные расстояния по длине образца. Удары молота осуществляют с высоты (30 +/- 1) см. Удары молота наносят с высоты без приложения дополнительной нагрузки таким образом, чтобы не возникало трения молота при его падении о другие части испытательной машины. Масса молота должна составлять (1000 +/- 1) г. Молот должен иметь центр тяжести, совпадающий с центром тяжести защищенного каната в оболочке. Удары молота должны осуществляться строго по линии центра тяжести под углом 90° в продольной оси защищенного каната в оболочке (см.
рисунок В.1). Молот должен быть выполнен из инструментальной стали твердостью 55 HRC. В нижней части молот должен быть выполнен в виде призмы длиной не менее 40 мм с треугольным сечением с углом на вершине 90° и радиусом округления 1 мм (см.
рисунок В.2);
- после проведения ударов оболочку снимают с каната (чулком) без нарушения ее целостности и оценивают ее герметичность путем подачи в оболочку воды под давлением 10 атм через один из концов оболочки. Другой конец оболочки должен быть плотно закупорен. Образец каната считается выдержавшим испытание, если на поверхности оболочки в течение 120 с отсутствуют протечки воды.
1 - ось центра тяжести молота; 2 - защищенный канат
в оболочке; 3 - продольная ось защищенного каната
в оболочке; 4 - нижняя часть молота
Рисунок В.1 - Схема проведения испытания
на ударные нагрузки
Рисунок В.2 - Внешний вид нижней части ударного молота
(обязательное)
МЕТОДИКА ПРОВЕДЕНИЯ ИСПЫТАНИЯ ЗАЩИЩЕННОГО КАНАТА
ОБОЛОЧКЕ НА ВОДОНЕПРОНИЦАЕМОСТЬ
Г.1 Испытания на водонепроницаемость проводят на образце защищенного каната в оболочке с защитной смазкой. Схема испытания приведена на рисунке Г.1.
1 - мерный цилиндр; 2 - вода; 3 - соединительная муфта;
4 - защищенный канат в оболочке; 5 - приемный стакан
Рисунок Г.1 - Схема проведения испытания
на водонепроницаемость
Г.2 Для проведения испытания отбирают образец каната длиной (1000 +/- 1) мм. Образец взвешивают с точностью до 0,1 г.
Г.3 Испытание образца проводят в такой последовательности:
- образец защищенного каната в оболочке укладывают на ровную горизонтальную поверхность и одним концом присоединяют к цилиндру с водой под давлением. С другой стороны устанавливают стакан для сбора продуктов испытания;
- давление воды в сосуде на уровне каната должно соответствовать давлению вертикального водяного столба высотой (1000 +/- 3) мм;
- выдержку защищенного каната в оболочке под давлением воды проводят в течение 24 ч;
- измеряют массу образца и массу продукта в мерном цилиндре, полученного после сбора в приемный стакан. Образец считается выдерживавшим испытание, если масса образца до проведения испытаний равна сумме массы образца после испытания и массы полученного продукта в приемном стакане.
(обязательное)
МЕТОДИКА ПРОВЕДЕНИЯ ИСПЫТАНИЯ ЗАЩИЩЕННОГО КАНАТА
В ОБОЛОЧКЕ НА СТОЙКОСТЬ К РАСТРЕСКИВАНИЮ
Д.1 Испытания защищенного каната в оболочке на стойкость к растрескиванию проводят на образце защищенного каната в оболочке с защитной смазкой.
Д.2 Испытание образца проводят в среде поверхностно-активной жидкости, изготовленной на основе водного раствора с добавлением 1% оксиэтилированного нонилфенола. Перед проведением испытаний концы образца каната герметизируют таким образом, чтобы не происходило вытекания защитной смазки.
Д.3 Образец каната фиксируют в захватах испытательной машины с заданным радиусом изгиба и погружают в среду поверхностно-активной жидкости. Радиус изгиба, мм, должен составлять:
- 260 - для канатов номинальным диаметром от 12,5 до 12,9 мм;
- 320 - для канатов номинальным диаметром от 15,2 до 18,0 мм.
Д.4 Изогнутый образец выдерживают в течение (240 +/- 15) мин при температуре (70 +/- 5) °C, затем образец вынимают из среды и выдерживают на воздухе в течение (240 +/- 15) мин.
Д.5 После выдержки образец защищенного каната а оболочке вынимают из зажимного устройства, выпрямляют и помещают в то же устройство с изгибом в противоположном направлении. Изогнутый образец выдерживают в течение 72 ч в ванне поверхностно-активной жидкости при постоянной температуре (50 +/- 3) °C.
Д.6 Образец извлекают из ванны и проводят оценку поверхности оболочки.