Главная // Актуальные документы // ГОСТ Р (Государственный стандарт)
СПРАВКА
Источник публикации
М.: Стандартинформ, 2018
Примечание к документу
Документ введен в действие с 1 января 2019 года.
Название документа
"ГОСТ Р 58066.3-2018. Национальный стандарт Российской Федерации. Скалолазный стенд (скалодром). Часть 3. Требования безопасности и методы испытаний зацепов скалолазных"
(утв. и введен в действие Приказом Росстандарта от 13.03.2018 N 126-ст)

"ГОСТ Р 58066.3-2018. Национальный стандарт Российской Федерации. Скалолазный стенд (скалодром). Часть 3. Требования безопасности и методы испытаний зацепов скалолазных"
(утв. и введен в действие Приказом Росстандарта от 13.03.2018 N 126-ст)


Содержание


Утвержден и введен в действие
Приказом Федерального
агентства по техническому
регулированию и метрологии
от 13 марта 2018 г. N 126-ст
НАЦИОНАЛЬНЫЙ СТАНДАРТ РОССИЙСКОЙ ФЕДЕРАЦИИ
СКАЛОЛАЗНЫЙ СТЕНД (СКАЛОДРОМ)
ЧАСТЬ 3
ТРЕБОВАНИЯ БЕЗОПАСНОСТИ И МЕТОДЫ
ИСПЫТАНИЙ ЗАЦЕПОВ СКАЛОЛАЗНЫХ
Artificial for climbing structures. Part 3. Safety
requirements and test methods for climbing holds
ГОСТ Р 58066.3-2018
ОКС 97.220.01
ОКПД 2 77.21.10
Дата введения
1 января 2019 года
Предисловие
1 РАЗРАБОТАН Федеральным государственным унитарным предприятием "Российский научно-технический центр информации по стандартизации, метрологии и оценке соответствия" (ФГУП "СТАНДАРТИНФОРМ")
2 ВНЕСЕН Техническим комитетом по стандартизации ТК 381 "Технические средства и услуги для инвалидов и других маломобильных групп населения"
3 УТВЕРЖДЕН И ВВЕДЕН В ДЕЙСТВИЕ Приказом Федерального агентства по техническому регулированию и метрологии от 13 марта 2018 г. N 126-ст
4 Настоящий стандарт разработан с учетом основных нормативных положений национального стандарта DIN EH 12572-3:2017 "Скалолазный стенд. Часть 3. Требования безопасности и методы испытаний зацепов скалолазных" (DIN EN 12572-3:2017 "Artificial climbing structures - Part 3: Safety requirements and test methods for climbing holds", NEQ)
5 ВВЕДЕН ВПЕРВЫЕ
Правила применения настоящего стандарта установлены в статье 26 Федерального закона от 29 июня 2015 г. N 162-ФЗ "О стандартизации в Российской Федерации". Информация об изменениях к настоящему стандарту публикуется в ежегодном (по состоянию на 1 января текущего года) информационном указателе "Национальные стандарты", а официальный текст изменений и поправок - в ежемесячном информационном указателе "Национальные стандарты". В случае пересмотра (замены) или отмены настоящего стандарта соответствующее уведомление будет опубликовано в ближайшем выпуске ежемесячного информационного указателя "Национальные стандарты". Соответствующая информация, уведомление и тексты размещаются также в информационной системе общего пользования - на официальном сайте Федерального агентства по техническому регулированию и метрологии в сети Интернет (www.gost.ru).
1 Область применения
Настоящий стандарт применяется на скалолазные зацепы, используемые для естественного передвижения пользователя по скалолазному стенду (далее - СС), то есть без использования искусственных вспомогательных приспособлений (например, ледоруба, кошек, крюков, креплений с внутренней резьбой) и стенам для боулдеринга.
Настоящий стандарт не применяется в случае лазания по льду, драй-тулинга (лазания с использованием ледового оборудования) и оборудования спортивных площадок.
2 Нормативные ссылки
В настоящем стандарте использованы нормативные ссылки на следующие стандарты:
ГОСТ Р 58066.1-2018 Скалолазный стенд (скалодром). Часть 1. Требования безопасности и методы испытаний для конструкций с точками страховки
ГОСТ Р 58066.2-2018 Скалолазный стенд (скалодром). Часть 2. Требования безопасности и методы испытаний стен для боулдеринга
Примечание - При пользовании настоящим стандартом целесообразно проверить действие ссылочных стандартов в информационной системе общего пользования - на официальном сайте Федерального агентства по техническому регулированию и метрологии в сети Интернет или по ежегодному информационному указателю "Национальные стандарты", который опубликован по состоянию на 1 января текущего года, и по выпускам ежемесячного информационного указателя "Национальные стандарты", за текущий год. Если заменен ссылочный стандарт, на который дана недатированная ссылка, то рекомендуется использовать действующую версию этого стандарта с учетом всех внесенных в данную версию изменений. Если заменен ссылочный стандарт, на который дана датированная ссылка, то рекомендуется использовать версию этого стандарта с указанным выше годом утверждения (принятия). Если после утверждения настоящего стандарта в ссылочный стандарт, на который дана датированная ссылка, внесено изменение, затрагивающее положение, на которое дана ссылка, то это положение рекомендуется применять без учета данного изменения. Если ссылочный стандарт отменен без замены, то положение, в котором дана ссылка на него, рекомендуется применять в части, не затрагивающей эту ссылку.
3 Термины и определения
В настоящем стандарте применены следующие термины с соответствующими определениями:
3.1. скалолазный стенд (скалодром); СС: Спортивное оборудование, состоящее из построенной для целей спортивного скалолазания конструкции, имеющей различные конструкционные характеристики, предназначенное для различного применения для целей спортивного скалолазания.
3.2 стена (стенка) для боулдеринга: Искусственная конструкция для спортивного скалолазания, позволяющая лазание без точек страховки и включающая зону для падения и область удара.
3.3 точка страховки: Узел крепления на СС, предназначенный для страховки (обеспечения безопасности) пользователя.
Примечание - Точка страховки может быть постоянной (т.е. не может быть снята с помощью инструментов, например, установлена на вклеенном анкерном устройстве) или непостоянной (т.е. удаляемой с помощью инструментов, например, крюк с проушиной).
3.4 зацеп: Съемный элемент для лазания, используемый для передвижения по СС или стене для боулдеринга, включая трехмерные строительные крепления большего размера без дополнительных точек крепления зацепов или других средств для крепления зацепов.
Примечание - Необходимо учитывать, что зацепы размера XXL и более обозначаются как "макро".
3.5 рельеф: Съемная трехмерная конструкция с точками крепления зацепов или других средств для крепления зацепов, предназначенная для временного увеличения поверхности скалодрома.
3.6 точка крепления зацепа: Место крепления зацепа на поверхности скалодрома.
4 Классификация размеров
В таблице 1 описана классификация зацепов в зависимости от их среднего диаметра. Средний диаметр зацепов (как проекция) определяется как сумма размеров по главной (a) и малой осям (b) (см. рисунок 1), разделенная на 2.
Таблица 1
Размеры зацепов и соответствующие
им величины средних диаметров
Размер зацепа
Диапазон диаметров, мм
XS
от 0 до <= 50
S
> 50 до <= 80
M
> 80 до <= 130
L
> 130 до <= 210
XL
> 210 до <= 340
XXL
> 340 до <= 550
Макро
> 550
a - главная ось, b - малая ось
Рисунок 1 - Проекция основания зацепа
5 Требования безопасности
5.1 Общие положения
На зацепах, испытанных согласно 6.2 и 6.3 при использовании нагрузок, указанных в таблице 2, не должны присутствовать разрушения или повреждения. Подлежат испытанию только зацепы массой более 100 грамм.
5.2 Материал
При изготовлении зацепов не допускается использование опасных веществ, которые могут привести к угрозе здоровью пользователей.
Примечание - Запрещенными материалами являются следующие (но не ограничиваются этим) - асбест, свинец, формальдегид, каменноугольные смолы, карболинеум и полихлорированные бифенилы (PCB), указанные в [1].
5.3 Требования эргономики
а) Используемая при лазании поверхность зацепа не должна иметь доступные острые края с радиусом менее 0,5 мм и заусенцы.
б) Не допускают использование заостренных зацепов для лазания с диаметром менее 15 мм и выступающими более чем на 40 мм из стенки.
в) На зацепах не должны быть зазоры шириной от 8 мм до 25 мм, при глубине более 15 мм, которые могут привести к захватам, если они не предназначены специально для использования при лазании.
5.4 Прочность крепления
Зацепы должны подвергаться испытаниям согласно 6.2 и выдерживать испытание без повреждения.
5.5 Прочность на разрушение при эксплуатации
Зацепы должны быть подвергнуты испытаниям согласно 6.3 и при этом не должны разрушаться.
5.6 Соотношение размеров
Это требование предназначено для защиты поверхности СС и крепления зацепа. Конструкция зацепа должна иметь следующее соотношение размеров:
d2 <= 3d1
d3 <= 3d1 согласно рисунку 2.
A - возможная точка для захвата, при которой
пользователь оказывает наибольшее воздействие; B - кромка,
противоположная точке A; d1 - расстояние между осью
крепежного отверстия и кромкой B, противоположной точке A;
d2 - расстояние между точкой A и противоположной кромкой B
в плоскости, параллельной поверхности СС; d3 - расстояние
между точкой A и противоположной кромкой B в плоскости,
перпендикулярной к поверхности СС
Рисунок 2 - Соотношение размеров
5.7 Рельеф
Установку рельефов должны производить в соответствии с указаниями изготовителя на установку данных конструкций с обеспечением эффективного переноса максимальной нагрузки на СС.
Поверхности и конструкции стендов (рельефов), а также точки крепления скалолазных зацепов должны соответствовать требованиям ГОСТ Р 58066.1 и ГОСТ Р 58066.2.
Рельефы могут не содержать точек страховки.
Рельефы должны быть закреплены в нескольких точках крепления.
6 Методы испытания
6.1 Подготовка образца
Образцы зацепов должны быть подвергнуты воздействию пяти температурных циклов, каждый из которых включает период 1 ч при температуре минус 30 °C и последующий период 1 ч при температуре 70 °C. Перед выполнением циклических испытаний зацепы должны быть погружены в водопроводную воду на 10 минут. После этого на зацепах не должно быть видимых признаков повреждений. Затем неповрежденные скалолазные зацепы должны быть испытаны в соответствии 6.2 и 6.3.
6.2 Прочность крепления
Испытание зацепов проводят по схеме трехточечного изгиба (см. рисунок 3) следующим образом:
а) определяют максимальную ширину зацепа на линии, проходящей через крепежное отверстие;
б) на нижней стороне устанавливают две вертикальные линии на расстоянии D (см. рисунок 3 и таблицу 2) от края зацепа;
в) в местах, на которых проведены линии, в качестве опор под зацепом на плоской и жесткой поверхности (например, стальной плите) располагают железные стержни минимальным радиусом 10 мм;
г) скалолазный зацеп через крепежное отверстие нагружают силой F (см. таблицу 2) в течение одной минуты при температуре окружающей среды и при относительной влажности воздуха (50 +/- 5)%, с применением инструмента такой же формы, что и рекомендованное изготовителем средство крепления (например, болт с цилиндрической потайной головкой).
B - глубина отверстия под болт; D - отступ; F - сила
Рисунок 3 - Испытание прочности крепления
Таблица 2
Размеры отступа от края зацепа до продольной оси стержня
и максимальная сила в зависимости от размеров зацепа
Размер зацепа
Расстояние D, мм
Сила F, кН
S и менее
от 5 до 10
2
M
от 10 до 15
5
L и более
от 15 до 20
8
Отбор зацепов для испытания производится следующим образом:
а) каждая группа зацепов разделяется по размерам согласно таблице 1;
б) для каждого размера подбирается зацеп с наибольшим отношением величины размера зацепа по главной оси его проекции к глубине отверстия под болт;
в) размер партии для испытаний устанавливается не менее 5% от общего количества партии зацепов производителя.
6.3 Конструктивная прочность
6.3.1 Конструктивная прочность скалолазного зацепа
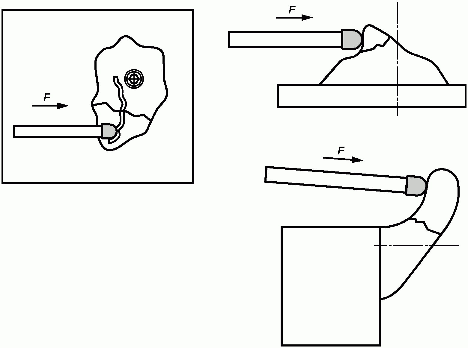
Зацеп закрепляют на жесткой поверхности, закручивая фиксирующий болт с приложением максимальной величины крутящего момента затяжки рекомендованной изготовителем. Затем создают на зацепе нагрузку с помощью устройства, толкающего или тянущего зацеп в наиболее неблагоприятных позициях применения и направлениях в отношении разрушения, используя усилие 2,4 кН в течение одной минуты (см. рисунок 3). Пример схемы приложения силы для проверки конструктивной прочности приведен в приложении А.
Отбор зацепов для испытания производится следующим образом:
а) каждая группа зацепов разделяется по размерам согласно таблице 1;
б) для каждого размера подбирается зацеп с наибольшим соотношением размеров.
Примечание - Значение 2,4 кН определено, исходя из максимальной силы давления стопы одного скалолаза: 0,8 кН, зависящей от массы скалолаза, умноженной на двойной коэффициент, характеризующий влияние динамичности движения, умножение на 1,5 (коэффициент запаса).
6.3.2 Конструктивная прочность стенда (рельефа)
Крепление стенда (рельефа) осуществляется всеми, предусмотренными изготовителем, болтами.
Болт с проушиной необходимо устанавливать в наиболее неблагоприятной позиции в отношении направления разрушения и прилагать нагрузку в наиболее неблагоприятных направлениях в отношении разрушения, используя усилие 2,4 кН в течение одной минуты.
7 Информация, предоставляемая изготовителем или поставщиком
Информация, предоставляемая изготовителем или поставщиком, должна включать следующие сведения:
а) указания по установке и креплению;
б) величину максимального крутящего момента затяжки для всех типов болтов, используемых для крепления зацепов;
в) рекомендации по эксплуатации;
г) рекомендации по техническому обслуживанию (периодичность проведения обслуживания, очистка, визуальный осмотр);
д) рекомендации по ремонту;
е) рекомендации по утилизации;
ж) указания на соответствие требованиям настоящего стандарта.
8 Маркировка
Все зацепы должны иметь маркировку, которая должна содержать логотип изготовителя или поставщика и идентификационный номер (например, для процедуры отзыва продукции), за исключением зацепов массой менее 100 грамм.
Приложение А
(справочное)
СХЕМА ИСПЫТАНИЙ ПРОЧНОСТИ КОНСТРУКЦИИ
Испытательный стенд представляет собой систему, которая должна иметь возможность оказывать давление через закругленный наконечник с резиновым покрытием диаметром от 10 мм до 15 мм, соединенный с датчиком силы. Это устройство должно быть установлено таким образом, чтобы иметь возможность оказывать давление по ряду углов по всем трем осям для любых форм и видов скалолазных зацепов.
F - сила
Рисунок А.1 - Схемы приложения силы
для испытания конструктивной прочности
БИБЛИОГРАФИЯ
[1]
Регламент (EC) N 1907/2006 Европейского Парламента и Совета ЕС от 18 декабря 2006 г., касающийся правил регистрации, оценки, санкционирования и ограничения химических веществ (REACH), учреждения Европейского Агентства по химическим веществам. Регламент вносит изменения в Директиву 1999/45/EC и отменяет: Регламент Совета (EEC) N 793/93, Регламент Комиссии (EC) N 1488/94, Директиву Совета 76/769/EEC и Директивы Комиссии 91/155/EEC, 93/105/EC, 2000/21/EC