Главная // Актуальные документы // ГОСТ Р (Государственный стандарт)СПРАВКА
Источник публикации
М.: Стандартинформ, 2018
Примечание к документу
Текст данного документа приведен с учетом
поправки, опубликованной в "ИУС", N 6, 2018.
Документ
введен в действие с 1 января 2019 года.
Название документа
"ГОСТ Р 58066.2-2018. Национальный стандарт Российской Федерации. Скалолазный стенд (скалодром). Часть 2. Требования безопасности и методы испытаний стен для боулдеринга"
(утв. и введен в действие Приказом Росстандарта от 13.03.2018 N 125-ст)
"ГОСТ Р 58066.2-2018. Национальный стандарт Российской Федерации. Скалолазный стенд (скалодром). Часть 2. Требования безопасности и методы испытаний стен для боулдеринга"
(утв. и введен в действие Приказом Росстандарта от 13.03.2018 N 125-ст)
Утвержден и введен в действие
агентства по техническому
регулированию и метрологии
от 13 марта 2018 г. N 125-ст
НАЦИОНАЛЬНЫЙ СТАНДАРТ РОССИЙСКОЙ ФЕДЕРАЦИИ
СКАЛОЛАЗНЫЙ СТЕНД (СКАЛОДРОМ)
ЧАСТЬ 2
ТРЕБОВАНИЯ БЕЗОПАСНОСТИ И МЕТОДЫ ИСПЫТАНИЙ СТЕН
ДЛЯ БОУЛДЕРИНГА
Artificial climbing structures. Part 2. Safety requirements
and test methods for bouldering walls
ГОСТ Р 58066.2-2018
Дата введения
1 января 2019 года
1 РАЗРАБОТАН Федеральным государственным унитарным предприятием "Российский научно-технический центр информации по стандартизации, метрологии и оценке соответствия" (ФГУП "СТАНДАРТИНФОРМ")
2 ВНЕСЕН Техническим комитетом по стандартизации ТК 444 "Спортивные и туристские изделия, оборудование, инвентарь, физкультурные и спортивные услуги"
3 УТВЕРЖДЕН И ВВЕДЕН В ДЕЙСТВИЕ
Приказом Федерального агентства по техническому регулированию и метрологии от 13 марта 2018 г. N 125-ст
4 Настоящий стандарт разработан с учетом основных нормативных положений национального стандарта DIN EH 12572-2:2017 "Скалолазный стенд. Часть 2. Требования безопасности и методы испытаний стен для боулдеринга" (DIN EN 12572-2:2017 "Artificial climbing structures - Part 2: Safety requirements and test methods for bouldering walls", NEQ)
5 ВВЕДЕН ВПЕРВЫЕ
Правила применения настоящего стандарта установлены в
статье 26 Федерального закона от 29 июня 2015 г. N 162-ФЗ "О стандартизации в Российской Федерации". Информация об изменениях к настоящему стандарту публикуется в ежегодном (по состоянию на 1 января текущего года) информационном указателе "Национальные стандарты", а официальный текст изменений и поправок в ежемесячном информационном указателе "Национальные стандарты". В случае пересмотра (замены) или отмены настоящего стандарта соответствующее уведомление будет опубликовано в ближайшем выпуске ежемесячного информационного указателя "Национальные стандарты". Соответствующая информация, уведомление и тексты размещаются также в информационной системе общего пользования - на официальном сайте Федерального агентства по техническому регулированию и метрологии в сети Интернет (www.gost.ru)
Настоящий стандарт устанавливает требования безопасности и методы испытаний стен для боулдеринга, включая зоны безопасности.
Настоящий стандарт применяется в случае нормального использования стен для боулдеринга.
Настоящий стандарт не применяется в случае лазания по льду, драй-тулинга (скалолазания с использованием ледового оборудования), оборудования спортивных площадок и оборудования для лазания без веревок под водой.
В настоящем стандарте использованы нормативные ссылки на следующие документы:
ГОСТ Р 55670-2013 Маты спортивные. Часть 4. Определение амортизационных характеристик
СП 186.1325800.2014 Национальное приложение. EN 1998-1:2004. Еврокод 8. Проектирование строительных конструкций с учетом сейсмостойкости. Часть 1. Общие правила, сейсмическое воздействие и правила для зданий
СП 200.1325800.2014 Национальное приложение. EN 1991-1-3:2003. Еврокод 1. Воздействие на строительные конструкции. Часть 1-3. Общие воздействия. Снеговые нагрузки
СП 201.1325800.2014 Национальное приложение. EN 1991-1-4:2005. Еврокод 1. Воздействие на строительные конструкции. Часть 1-4. Общие воздействия. Ветровые нагрузки
СП 202.1325800.2014 Национальное приложение. EN 1991-1-5:2003. Еврокод 1. Воздействие на строительные конструкции. Часть 1-5. Общие воздействия. Температурные нагрузки
Примечание - При пользовании настоящим стандартом целесообразно проверить действие стандартов и сводов правил в информационной системе общего пользования - на официальном сайте Федерального агентства по техническому регулированию и метрологии в сети Интернет или по ежегодному информационному указателю "Национальные стандарты", который опубликован по состоянию на 1 января текущего года, и по выпускам ежемесячного информационного указателя "Национальные стандарты", за текущий год. Если заменен ссылочный стандарт или документ, на который дана недатированная ссылка, то рекомендуется использовать действующую версию этого стандарта или документа с учетом всех внесенных в данную версию изменений. Если заменен ссылочный стандарт или документ, на который дана датированная ссылка, то рекомендуется использовать версию этого документа с указанным выше годом утверждения (принятия). Если после утверждения настоящего стандарта в ссылочный стандарт или документ, на который дана датированная ссылка, внесено изменение, затрагивающее положение, на которое дана ссылка, то это положение рекомендуется применять без учета данного изменения. Если ссылочный стандарт или документ отменен без замены, то положение, в котором дана ссылка на него, рекомендуется применять в части, не затрагивающей эту ссылку.
В настоящем стандарте применены следующие термины с соответствующими определениями:
3.1 скалолазный стенд (скалодром); СС: Спортивное сооружение, состоящее из построенной для спортивного лазания конструкции, каждая из которых имеет свои различные конструкционные характеристики, предназначенное для различных способов спортивного лазания.
3.2 стена (стенка) для боулдеринга: Искусственная конструкция для лазания, позволяющая выполнять спортивное лазание без точек страховки и включающая область падения и зону удара.
3.3 характеристическая нагрузка: Максимальная нагрузка, которая может быть создана при нормальном использовании.
3.4 зона падения: Пространство вокруг стены для боулдеринга, которое может быть занято пользователем в случае падения.
3.5 область удара: Площадка, на которую пользователь падает в случае падения.
3.6 высота стены для боулдеринга: Высота по вертикали, измеряемая между наиболее высоко расположенной точкой, за которую может держаться пользователь, и поверхностью области удара.
3.7 ударопоглощающий материал: Материал под стеной для боулдеринга, заполняющий область удара и предназначенный для поглощения энергии при падении.
Пример - Вода, воздушные подушки, гравий и маты с пеноматериалом.
4 Требования безопасности и методы испытаний
4.1 Максимальная высота стены для боулдеринга
Максимальная высота стены для боулдеринга должна быть равна 4,5 м. Максимальная высота стены для боулдеринга может быть равна 4,0 м в случае возможности ее установки на ее вершину.
4.2 Ударопоглощающий материал
4.2.1 Общие положения
Ударопоглощающий материал должен быть рассчитан на падение с высоты не менее чем 4,5 м на уровень основания, где он установлен или уложен.
4.2.2 Ослабление удара
4.2.2.1 Способность поглощения удара матами с пеноматериалом
Наиболее часто применяемые в помещениях ударопоглощающие материалы представляют собой маты с пеноматериалом. При проведении испытания в соответствии с
приложением В характеристики мата должны соответствовать значениям, указанным в таблице 1.
Таблица 1
Характеристики амортизации матов с пеноматериалом
Максимально допустимое торможение, g (1g = 9,81 мс-2) | Глубина проникновения, % | Коэффициент амортизации, % |
>= 15 и <= 25 | <= 80 | <= 15 |
4.2.2.2 Способность поглощения удара гравием
Гравий является ударопоглощающим материалом, наиболее часто применяемым под открытым небом.
Зерна гравия должны иметь закругленную форму, а также они должны промываться перед использованием. На поверхности зерен, диаметром от 8 мм до 16 мм, не должно быть зазубрин и острых краев. Слой ударопоглощающего материала из гравия должен иметь глубину не менее 40 см.
В случае использования стен для боулдеринга высотой более 3,0 м если способность гравия амортизировать удар может быть недостаточной для безопасного поглощения энергии падения, то на стене для боулдеринга необходимо поместить предупреждающий знак, что лазающие по этой стенке пользователи находятся в условиях, близких к естественным, и, следовательно, следует использовать другие меры обеспечения взаимной безопасности, например гимнастическую страховку, применение индивидуальных защитных матов и т.д.
Данная информация должна быть хорошо видимой и доступной всем пользователям.
4.2.2.3 Способность поглощения удара других типов ударопоглощающих материалов
При применении других типов материалов, например воды, воздушных подушек, сеток, резины, древесной коры и т.д., следует выполнять условия действующих стандартов на выбранные материалы.
4.3.1 Общие положения
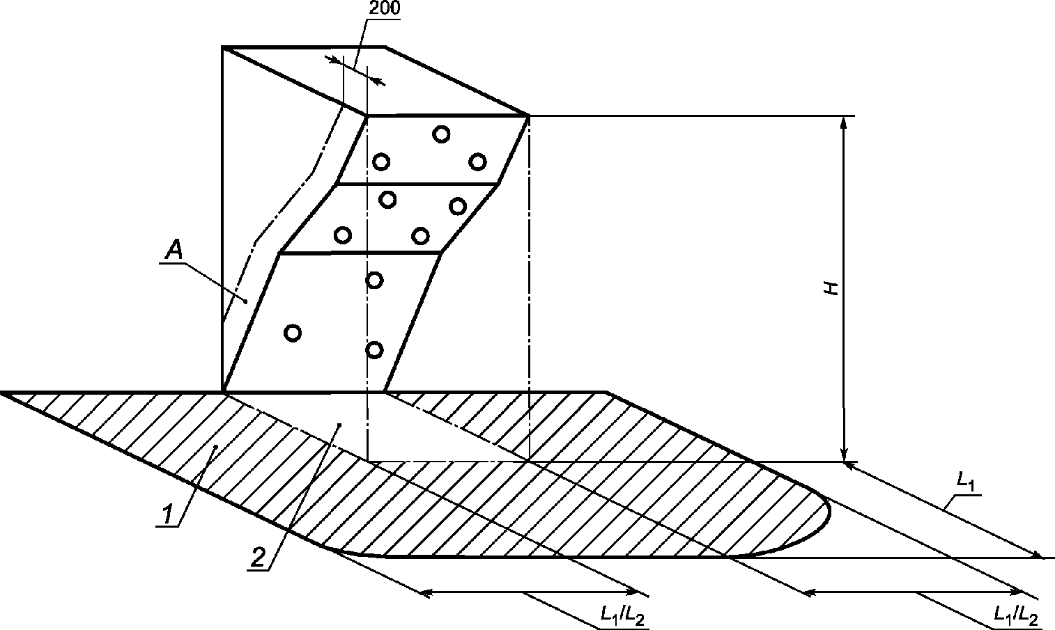
Размер области удара L:
- если высота стены для боулдеринга менее или равна 3 м, область удара у основания стены для боулдеринга следует расширить на величину L1 >= 2 м от проекции стены;
- если высота стены для боулдеринга менее или равна 3 м, защиту основания стены для боулдеринга следует расширить на величину
L1 >= 2,5 м от проекции стены (см.
рисунок 1);
- если стена для боулдеринга вертикальна или имеет наклон менее 10° в сторону над основанием при отсутствии зацепов и упоров на боковых стенках, область удара с любой стороны стены для боулдеринга L2 может быть уменьшена до 50% от высоты стены для боулдеринга или до 1,5 м.
Таблица 2
Размеры области удара
Высота стены | Размер области удара перед стеной для боулдеринга | Размер области удара сбоку от стены для боулдеринга при отсутствии зацепов на боковых поверхностях и наклоне <= 10° | Размер области удара сбоку от стены для боулдеринга при наклоне > 10° |
H | L1 | L2 | L2 |
от 0 до <= 3,0 м | 2,0 м | 50% от высоты | 50% от высоты |
> 3,0 м до <= 4,5 м | 2,5 м | 1,5 м |
Примечание - Скалолазные зацепы в области А, показанной на рисунке 1, рассматриваются как часть передней стены для боулдеринга. |
1 - верхняя поверхность области удара; 2 - проекция стены
для боулдеринга; H - высота наиболее высокого возможного
зацепа; L1 - дополнительная длина, добавляемая к проекции
стены для боулдеринга спереди; L2 - дополнительная ширина
области удара (при особых условиях); A - боковые
поверхности, по которым возможно передвижение
(рассматриваются как часть передней стены)
Рисунок 1 - Пример размеров области удара
в основании стены для боулдеринга
В случае если при проектировании стены для боулдеринга конструктор имеет возможность предотвращения падения пользователя со стены вбок благодаря выбору соответствующего исполнения, размеры области падения могут быть соответственно уменьшены.
4.3.2 Положение матов безопасности с пеноматериалом
Маты безопасности с пеноматериалом следует расположить впритык к основанию стены для боулдеринга, а их смещение не должно быть возможным [см.
рисунок 2, а)].
В случае круто нависающей стены для боулдеринга рекомендуется, чтобы между основным матом и основанием стены для боулдеринга был положен тонкий или клиновидный мат в целях предотвращения травм при падении пользователя [см.
рисунок 2, б)].
а) Положение матов безопасности с пеноматериалом
б) Возможное положение матов безопасности
с пеноматериалом для круто нависающей стены для боулдеринга
1 - основной мат; 2 - тонкий или клиновидный мат
Рисунок 2 - Положение матов в области удара
4.4 Соединение модульных элементов матов
В случае если ударопоглощающие материалы состоят из модульных элементов, то соединение секций необходимо производить с соблюдением мер безопасности. Зазоры между элементами следует закрыть таким образом, чтобы отсутствовала возможность попадания пользователя между ними. Если ударопоглощающие материалы находятся под сплошным покрытием, то покрытие следует натянуть таким образом, чтобы маты плотно и надежно соединялись.
В
приложении Ж описан один из возможных методов испытания соединения элементов модульных матов.
4.5 Прочность конструкции
Прочность, включая устойчивость стены для боулдеринга, следует обосновать расчетами с использованием характеристических нагрузок, указанных в
таблице А.1, в соответствии с
приложениями А и
Б.
Чрезмерный изгиб стены для боулдеринга не допускается (см.
Г.5).
Если нагрузки от стены для боулдеринга передаются на другие основания конструкции (например, здание, бетонный фундамент, почва), необходимо подтвердить, что последние могут надежно выдерживать создаваемые стеной для боулдеринга нагрузки.
4.6 Ударная прочность и изгиб поверхностных элементов
При испытаниях в соответствии с
приложением Г не должно возникать разрушения или образования трещин в каком-либо элементе поверхности.
Изгиб поверхностных элементов рассчитывают при нагрузке 0,8 кН (см.
приложение А) или проводят испытания в соответствии с приложением Г (см.
Г.5).
Если элемент поверхности закреплен в соответствии с инструкциями изготовителя, максимально допустимый изгиб l/100 не следует превышать,
где l/100 - максимально допустимая длина между креплениями поверхности.
4.7 Прочность точек крепления зацепов
Чтобы оценить прочность на разрушение точки крепления скалолазного зацепа во время монтажа на стене или во время лазания, точку крепления зацепа испытывают в соответствии с
приложением Д.
Испытания проводят для пяти образцов (комплектов точек крепления зацепов).
В зоне падения не допускают наличие каких-либо препятствий или острых граней, которые могут создавать угрозы для здоровья пользователя. Эти требования не применяются к поверхностям для лазания и другим поверхностям без препятствий или стенам, которые могут выдержать непреднамеренный удар.
4.9 Поверхность стен для боулдеринга
Все доступные части стен для боулдеринга не должны иметь острых краев и заусенцев. Все кромки должны иметь закругления с минимальным радиусом 1 мм или фаски с размерами 45° x 1 мм. Не допускают наличие зазоров шириной от 8 мм до 25 мм, при глубине более 15 мм, которые могут привести к захватам, если они не предназначены специально для использования при лазании. Это требование не применимо для отверстий в стенах для боулдеринга, предназначенных для точек крепления скалолазных зацепов.
Все стены для боулдеринга должны маркироваться на хорошо видимых местах этикетками, содержащими следующие сведения:
а) название или торговая марка изготовителя;
б) название импортера или поставщика;
в) сведения о настоящем стандарте;
г) дата установки стены для боулдеринга (год с обозначением четырьмя цифрами);
д) дата проведения следующего инспекционного контроля (год с обозначением четырьмя цифрами);
е) указание о том, что приведенная конструкция является специально сконструированной стеной для боулдеринга, а не сооружением, предназначенным для игр;
Примечание - Это требование в основном относится к стенам для боулдеринга на открытом воздухе, размещаемым на общественных площадках.
ж) в случае применения гравия или другого ударопоглощающего материала для смягчения удара следует нанести маркировку безопасности в соответствии с
4.2.2.2.
6 Инструкция по эксплуатации
Следует предоставить инструкцию по эксплуатации, содержащую следующие сведения:
б) специальные требования к использованию, техническому обслуживанию и контролю (см.
приложение Е);
в) максимально допустимая дополнительная нагрузка на квадратный метр, для больших накладных рельефов (например "макро");
г) максимальное допустимое количество пользователей, одновременно находящихся на поверхности стены для боулдеринга.
7 Техническая документация стены для боулдеринга
Контрольные испытания следует проводить только при первичной и всех повторных установках.
При всех дальнейших изменениях конфигурации необходимо проводить новые расчеты и визуальные проверки в соответствии с настоящим стандартом и инструкциями изготовителя.
Клиенту следует предоставить документацию, содержащую информацию, указанную ниже:
а) подробные расчеты (или подтверждение) устойчивости стены для боулдеринга;
Примечание - При всех дальнейших изменениях конфигурации необходимо проводить новые расчеты (и проверки) в соответствии со стандартом и инструкциями изготовителя.
б) отчет о прочности элементов крепления скалолазного зацепа, если это целесообразно;
в) отчет о результатах ударных испытаний поверхностных элементов;
г) отчет о контрольных испытаниях соединения элементов модульных матов безопасности с пеноматериалами;
д) подтверждение правильности выбора ударопоглощающего материала, используемого в области удара;
ж) инструкция по эксплуатации (согласно
разделу 6).
(обязательное)
А.1 Постоянные воздействия
Постоянные воздействия создаются собственной массой конструкции и полной массой каркаса конструкции.
А.2 Временные нагрузки
А.2.1 Общие положения
Переменные воздействия включают следующие виды нагрузок:
а) нагрузки, создаваемые пользователями (статические и динамические, включая нагрузки, создаваемые лицами, стоящими на стене для боулдеринга);
б) снеговые нагрузки;
в) ветровые нагрузки;
г) воздействия, обусловленные температурой;
д) сейсмические нагрузки;
е) специальные нагрузки.
А.2.2 Нагрузки, создаваемые пользователем во время лазания
Виды нагрузок, создаваемых пользователем, указаны в таблице А.1.
Таблица А.1
Вид нагрузки | Характеристическая нагрузка, кН |
Нагрузка, создаваемая пользователем | 0,8 |
Эквивалентная нагрузка на квадратный метр поверхности лазания | 0,4 |
Эквивалентная нагрузка на квадратный метр любой области остановки на стене для боулдеринга | 1,6 |
А.2.3 Снеговые нагрузки
Данные по снеговым нагрузкам указаны в СП 200.1325800.2014.
А.2.4 Ветровые нагрузки
Данные по ветровым нагрузкам указаны в СП 201.1325800.2014.
А.2.5 Воздействия, обусловленные температурой
Данные по воздействиям, обусловленным температурой, указаны в СП 202.1325800.2014.
А.2.6 Сейсмические нагрузки
Данные по сейсмическим нагрузкам указаны в СП 186.1325800.2014.
А.2.7 Специальные нагрузки
Специальные нагрузки могут возникать под действием веревок, при аварийно-спасательных работах, использовании натяжных канатных систем.
(обязательное)
МЕТОД РАСЧЕТА ПРОЧНОСТИ КОНСТРУКЦИИ И УСТОЙЧИВОСТИ
Б.1 Общие принципы
Б.1.1 Предельное состояние
Каждую конструкцию и ее элементы, например, соединения, фундамент, опоры, следует рассчитывать с учетом указанных в
разделе Б.2 комбинаций нагрузок.
Предпочтительный метод расчета должен быть основан на общих принципах и определениях предельных состояний согласно соответствующим принципам, относящимся к конструкциям СП 186.1325800.2014; СП 200.1325800.2014; СП 201.1325800.2014; СП 202.1325800.2014 или эквивалентным национальным стандартам.
Примечание - Предельными состояниями называются состояния, за рамками которых конструкция перестает соответствовать требованиям настоящего стандарта.
Условия предельного состояния могут быть записаны в виде формулы:

(Б.1)
где

- коэффициент надежности для приведенного типа воздействия на несущую конструкцию;

- коэффициент надежности для применяемого материала;
S - воздействия нагрузок;
R - прочность конструкции.
С целью учета погрешностей при определении фактических нагрузок и модели, применяемой при определении нагрузок, воздействие нагрузок
S умножают на частный коэффициент надежности для приведенного типа воздействия на несущую конструкцию

.
С целью учета погрешностей при определении реальных характеристик материала и модели, применяемой при определении нагрузок на конструкцию, прочность конструкции
R делят на частный коэффициент надежности для применяемых материалов

.
Б.1.2 Предельное состояние при потере несущей способности
При анализе предельного состояния при потере несущей способности необходимо учитывать следующее:
а) возможность потери равновесия конструкции или ее части, рассматриваемой как твердое тело;
б) возникновение аварии вследствие чрезмерной деформации, разрушения, потери устойчивости конструкции или ее части.
Примечание - Предельными состояниями при потере несущей способности называются состояния, связанные с разрушением или другими формами аварии конструкции, которые могут угрожать здоровью людей.
Б.2 Комбинации воздействий для расчета предельного состояния по потере несущей способности
Следует учитывать следующие комбинации воздействий:

(Б.2)
где

- коэффициент надежности для постоянных воздействий;
Gk - характеристическая величина постоянных воздействий;

- коэффициент надежности для переменных воздействий;
Qk - характеристическая величина переменных воздействий, указанных в
А.2.2;

- коэффициент комбинации для переменных воздействий.
Следует использовать указанные ниже значения частных коэффициентов надежности для различных воздействий:

= 1,0 для благоприятных воздействий;

= 1,35 для неблагоприятных воздействий;

= 0 для благоприятных воздействий;

= 1,5 для неблагоприятных воздействий.
Для нескольких переменных воздействий допускается использовать упрощенный метод расчета со следующим коэффициентом комбинации:

(Б.3)
Б.3 Устойчивость и несущая способность конструкции
При расчетах прочности и устойчивости конструкции стены для боулдеринга следует применять нагрузки на квадратный метр согласно
таблице А.1, создаваемые в наиболее неблагоприятных зонах стены для боулдеринга. Производят сложение в наиболее неблагоприятной точке нагрузки от пользователя (0,8 кН) и неблагоприятных нагрузок, создаваемых стоящими пользователями согласно описанию в
таблице А.1.
(обязательное)
ИСПЫТАНИЕ УДАРОПОГЛОЩАЮЩИХ ПОВЕРХНОСТЕЙ
В.1 Методы испытания
Следующая процедура испытаний применима для новых матов, которые испытываются в лабораторных условиях. Принципы испытания: в соответствии с ГОСТ Р 55670.
Устройство для испытаний на ударную прочность: масса (30 +/- 0,3) кг; диаметр: (150 +/- 0,5) мм (эквивалентное устройству для испытаний на ударную прочность типов мата 7, 8, 9, 10, 11 в ГОСТ Р 55670-2013 (таблица 1)).
Механизм выпуска, акселерометры, сбор и обработка данных, измерение толщины, кондиционирование и температурные испытания, представление результатов и протокола испытаний согласно ГОСТ Р 55670.
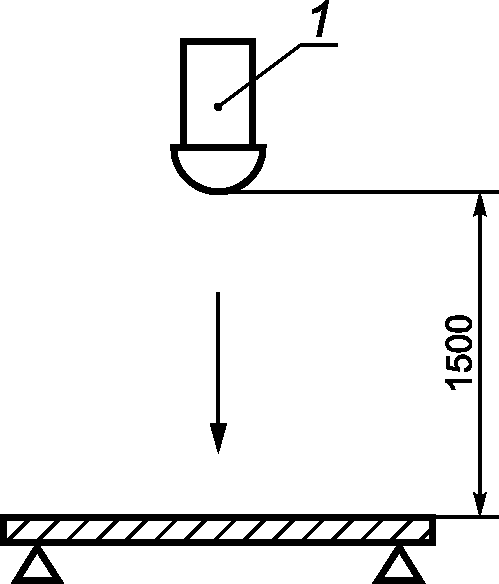
Испытательная высота падения: 2,2 м +/- 3 мм.
Размер образцов: минимум 2,0 м x 2,0 м, см. рисунок В.1.
Точки испытаний: согласно рисунку В.1.
1 - число испытаний, 2 - точки испытаний
Рисунок В.1 - Точки испытаний и число испытаний
В.2 Представление результатов
Каждая проверяемая точка испытывается десять раз; полученное для каждой точки значение - это средняя величина последних восьми значений.
Затем рассчитываются общие средние значения для каждого параметра, которые представляют средние значения величин, полученных на пяти точках испытаний.
(обязательное)
ИСПЫТАНИЕ ПОВЕРХНОСТНЫХ ЭЛЕМЕНТОВ
Г.1 Общие положения
Приведенное испытание разработано для моделирования ударного воздействия перпендикулярно поверхности стены для боулдеринга при обычных условиях эксплуатации.
Г.2 Испытательное устройство
Устройство для испытаний на ударную прочность, соответствующее схеме на
рисунке Г.1.
Подлежащие испытаниям элементы поверхности следует изготавливать из тех же материалов и по такой же технологии, которые применяются при изготовлении соответствующих элементов стены для боулдеринга, для которой они являются репрезентативными. Образец должен быть либо стандартным элементом, либо представлять собой специально изготовленную плоскую панель с размерами 1,0 м x 1,0 мм.
Г.4 Метод испытания
Устанавливают элемент поверхности как показано на
рисунке Г.2.
Закрепляют элемент поверхности на жестких опорных точках:
а) в случае поверхностных элементов: так же, как это выполнено в стене для боулдеринга;
б) в случае отдельного образца: на каждом из углов, без использования системы смягчения удара.
Выполняют удар бойком по поверхности элемента три раза в геометрическом центре с высоты падения 1,5 м, как показано на
рисунке Г.2 а) или
б).
В конце испытания не допускают наличие каких-либо разрушений, трещин или сколов на материале элемента.
1 - силикон [твердость по Шору (30 +/- 5)]
Примечание - Полная масса устройства должна составлять (22 +/- 0,1) кг.
Рисунок Г.1 - Устройство для испытаний на ударную прочность
а) Горизонтальный удар по вертикальной поверхности
б) Вертикальный удар по горизонтальной поверхности
1 - устройство для испытаний на ударную прочность;
x - расстояние до точки крепления
Рисунок Г.2 - Схема расположения поверхностных элементов
при ударных испытаниях
Г.5 Максимально допустимый изгиб
Максимально допустимый изгиб разрешается определять посредством теоретических расчетов или эмпирически. Для испытаний применяют испытательный образец согласно
Г.3, к нему прилагают усилие 0,8 кН перпендикулярно поверхности, затем измеряют максимально допустимый изгиб.
(обязательное)
ИСПЫТАНИЕ ПРОЧНОСТИ ТОЧКИ КРЕПЛЕНИЯ СКАЛОЛАЗНОГО ЗАЦЕПА
Д.1 Общие положения
Приведенное испытание разработано для моделирования максимально допустимой нагрузки, которая может быть приложена к точке крепления на стене для боулдеринга при установке на нее скалолазного зацепа, а также максимально допустимой нагрузки, возникающей при использовании скалолазного зацепа пользователем.
Д.2 Испытательное устройство
Рым-болт/стержень с резьбой, распорное кольцо и устройство для создания тягового усилия согласно
рисунку Д.1.
Д.3 Образец для испытаний
Подлежащие испытаниям элементы поверхности следует изготавливать из тех же материалов и по такой же технологии, которые применяются при изготовлении соответствующих элементов стены для боулдеринга.
Д.4 Метод испытания
Испытание проводят следующим образом:
а) испытательный образец нагружают нагрузкой (7,20 +/- 0,05) кН при скорости (20 +/- 2) мм/мин;
б) нагрузку удерживают в течение 30 с;
в) снижают нагрузку до (1,20 +/- 0,05) кН и измеряют деформацию;
г) нагрузку (1,20 +/- 0,05) кН удерживают в течение 30 с;
д) испытательный образец нагружают нагрузкой (12,00 +/- 0,05) кН при скорости (20 +/- 2) мм/мин.
Испытания проводят при температуре (23 +/- 2) °C и относительной влажности воздуха (50 +/- 10)%.
Рисунок Д.1 - Испытательное устройство
(обязательное)
КОНТРОЛЬ И ТЕХНИЧЕСКОЕ ОБСЛУЖИВАНИЕ
Е.1 Изготовителю/поставщику следует предоставить следующую информацию:
а) инструкции по техническому обслуживанию (с обозначением настоящего стандарта), в которые следует включать указания о частоте проверок, в зависимости от типа используемого оборудования или применяемых материалов и других факторов, например, интенсивности использования, уровня вандализма, расположения относительно береговой линии, загрязнения воздуха, возраста оборудования;
б) чертежи и схемы, необходимые для проведения ухода, технического обслуживания, контроля и проверки надлежащего функционирования, и, когда это необходимо, для ремонта оборудования;
в) инструкции, устанавливающие, каким образом предоставляется доступ во внутреннюю часть каждой секции стены для боулдеринга по мере необходимости.
Е.2 Инструкциям следует устанавливать частоту выполнения контроля или технического обслуживания оборудования или его компонентов и включать руководство по следующим вопросам, когда это целесообразно:
а) Регулярный визуальный контроль
Регулярный визуальный контроль предназначен для обнаружения очевидных дефектов и источников опасности на передней стороне стены для боулдеринга, которые могут быть легко видимы с земли без применения средств подъема. В случае, если стены для боулдеринга, используются с высокой интенсивностью или подвергаются вандализму, то может быть необходима ежедневная проверка такого типа.
б) Рабочий контроль
Рабочий контроль является более подробным контролем по проверке работы и стабильности оборудования, в частности, относительно износа элементов. Такой инспекционный контроль следует проводить с интервалом от одного до трех месяцев, или согласно инструкциям изготовителя. Результаты рабочего инспекционного контроля следует задокументировать.
Особое внимание следует уделять механизмам передвижных стен.
Примечание - Объектами визуального и рабочего контроля могут служить чистота, ослабленные скалолазные зацепы, препятствия в зоне безопасности, недостающие части и другие очевидные повреждения.
в) Основной контроль
Основной контроль согласно руководству по техническому обслуживанию соответствующего изготовителя предназначен для определения общего уровня безопасности стены для боулдеринга, ее фундамента, каркаса конструкции и поверхностных элементов для выявления, например, влияния погодных условий, наличия износа или ржавчины, а также любых изменений уровня безопасности оборудования в результате проведенного ремонта, добавления или замены элементов. Результаты основного контроля следует задокументировать.
Особое внимание необходимо уделять несущей конструкции и ударопоглощающей поверхности.
Примечание - Основной контроль может потребовать разборки некоторых частей и замены критичных для безопасности элементов. Такой контроль оборудования следует выполнять компетентному персоналу в строгом соответствии с инструкциями изготовителя.
Примечание - Необходимый уровень компетентности может меняться в зависимости от задач.
Е.3 В инструкциях также должны устанавливаться следующие требования:
а) периодичность, точки и методы контроля, а также действия, необходимые по результатам контроля, например смазку, затягивание болтов, повторное натяжение веревок;
б) указание на то, что запасные части и детали должны соответствовать техническим требованиям и спецификациям изготовителя;
в) необходимость специальных мер для утилизации некоторого оборудования или деталей;
г) идентификационная маркировка запасных частей;
д) дополнительные действия, необходимые в период эксплуатации СС, например, затягивание креплений, натяжение веревок, смазка движущихся деталей;
е) специальные места, которым, согласно рекомендациям изготовителя, оператору следует уделять особое внимание;
ж) уход за верхней стороной области удара.
(обязательное)
ИСПЫТАНИЕ СИСТЕМЫ СОЕДИНЕНИЙ В ОБЛАСТИ УДАРА
Ж.1 Испытательный образец
Образец для испытаний должен включать все материалы для монтажа (покрытия для каждого отдельного мата безопасности с пеноматериалом и сборной системы) и иметь ширину (100 +/- 1) мм (см.
рисунок Ж.1).
Перед испытаниями испытательный образец выдерживают в течение 24 часов при температуре (21 +/- 3) °C и влажности воздуха (50 +/- 10)%, испытания проводят при такой же температуре.
Каждое покрытие мата с пеноматериалом должно выходить за пределы сборной системы на величину >= 150 мм.
1 - верхнее покрытие мата безопасности с пеноматериалом;
а - жесткий монтаж (сшивание, сварка и т.д.);
б - разъемный монтаж (липучка, самоблокировка и т.д.)
Рисунок Ж.1 - Пример соединений
Ж.2 Определение разрушающего усилия на разрыв
Испытание выполняется на одном образце.
Перед испытанием для целей адаптации и определения недостатков к соединительному элементу вручную прилагается полное усилие десять раз (соединение/разъединение).
Испытательный образец закрепляется на ширине (100 +/- 1) мм. Захваты машины для испытаний на растяжение устанавливаются на расстоянии (100 +/- 1) мм от каждой стороны сборной системы. Для удержания в определенном положении испытательный образец помещают под пресс с усилием (50 +/- 1) кг.
С помощью машины для испытаний на растяжение к соединению прилагают усилие до (500 +/- 5) Н без поддержки определенного натяжения. Скорость растяжения равна 100 мм/мин.
При испытаниях в соответствии с приложением Ж растягивающим усилием (500 +/- 5) Н область соединения не должна разрушаться или расходиться.
Ж.3 Определение циклической прочности на растяжение
Образец для испытаний, использованный в описанных в
разделе Ж.2 испытаниях, сохраняют и используют для дальнейших испытаний.
Испытательный образец закрепляют в машине для испытаний на растяжение таким же образом, как при испытаниях в
разделе Ж.2.
Испытательный образец подвергают растяжению усилием (300 +/- 5) Н, затем напряжение снимают; этот цикл повторяют 50 раз. Скорость создания и снятия растяжения равна 500 мм/мин.
При испытаниях в соответствии с приложением Ж не должны быть визуально заметны трещины или сдвиги с размерами более 5 мм.