Главная // Актуальные документы // ГОСТ Р (Государственный стандарт)СПРАВКА
Источник публикации
М.: Стандартинформ, 2012
Примечание к документу
Документ
введен в действие с 1 января 2013 года.
Название документа
"ГОСТ Р 54776-2011. Национальный стандарт Российской Федерации. Оборудование и средства по предупреждению и локализации взрывов пылевоздушных смесей в угольных шахтах, опасных по газу и пыли. Общие технические требования. Требования безопасности и методы испытаний"
(утв. и введен в действие Приказом Росстандарта от 13.12.2011 N 988-ст)
"ГОСТ Р 54776-2011. Национальный стандарт Российской Федерации. Оборудование и средства по предупреждению и локализации взрывов пылевоздушных смесей в угольных шахтах, опасных по газу и пыли. Общие технические требования. Требования безопасности и методы испытаний"
(утв. и введен в действие Приказом Росстандарта от 13.12.2011 N 988-ст)
Утвержден и введен в действие
по техническому регулированию
и метрологии
от 13 декабря 2011 г. N 988-ст
НАЦИОНАЛЬНЫЙ СТАНДАРТ РОССИЙСКОЙ ФЕДЕРАЦИИ
ОБОРУДОВАНИЕ И СРЕДСТВА ПО ПРЕДУПРЕЖДЕНИЮ И ЛОКАЛИЗАЦИИ
ВЗРЫВОВ ПЫЛЕВОЗДУШНЫХ СМЕСЕЙ В УГОЛЬНЫХ ШАХТАХ,
ОПАСНЫХ ПО ГАЗУ И ПЫЛИ
ОБЩИЕ ТЕХНИЧЕСКИЕ ТРЕБОВАНИЯ. ТРЕБОВАНИЯ БЕЗОПАСНОСТИ
И МЕТОДЫ ИСПЫТАНИЙ
Occupational safety standards system. Equipment
and facilities for prevention and localization
of explosions of dust-air mixtures in coal mines dangerous
on gas and dust. General technical requirements. Safety
requirements and test methods
ГОСТ Р 54776-2011
Дата введения
1 января 2013 года
Цели и принципы стандартизации в Российской Федерации установлены Федеральным
законом от 27 декабря 2002 г. N 184-ФЗ "О техническом регулировании" (в редакции Федерального
закона от 1 мая 2007 г. N 65-ФЗ "О внесении изменений в Федеральный закон "О техническом регулировании"), а правила применения национальных стандартов Российской Федерации -
ГОСТ Р 1.0-2004 "Стандартизация в Российской Федерации. Основные положения".
1. Разработан Федеральным государственным унитарным предприятием "Национальный научный центр горного производства - Институт горного дела им. А.А. Скочинского" (ФГУП "ННЦ ГП - ИГД им. А.А. Скочинского").
2. Внесен Техническим комитетом по стандартизации ТК 269 "Горное дело".
3. Утвержден и введен в действие
Приказом Федерального агентства по техническому регулированию и метрологии от 13 декабря 2011 г. N 988-ст.
4. В настоящем стандарте реализована
глава 3 Федерального закона от 27 декабря 2002 г. N 184-ФЗ "О техническом регулировании".
5. Введен впервые.
Информация об изменениях к настоящему стандарту публикуется в ежегодно издаваемом информационном указателе "Национальные стандарты", а текст изменений и поправок - в ежемесячно издаваемых информационных указателях "Национальные стандарты". В случае пересмотра (замены) или отмены настоящего стандарта соответствующее уведомление будет опубликовано в ежемесячно издаваемом информационном указателе "Национальные стандарты". Соответствующая информация, уведомление и тексты размещаются также в информационной системе общего пользования - на официальном сайте Федерального агентства по техническому регулированию и метрологии в сети Интернет.
1. ОБЛАСТЬ ПРИМЕНЕНИЯ И ОБЩИЕ ПОЛОЖЕНИЯ
1.1. Настоящий стандарт распространяется на оборудование и средства по предупреждению и локализации взрывов пылевоздушных смесей в горных выработках угольных шахт.
1.2. Стандарт устанавливает единые технические требования, а также методы испытаний, контроля показателей безопасности, качества оборудования и средств по предупреждению и локализации взрывов пылевоздушных смесей.
В настоящем стандарте использованы ссылки на следующие стандарты:
ГОСТ Р 9.032-74 Единая система защиты от коррозии и старения. Покрытия лакокрасочные. Группы, технические требования и обозначения
ГОСТ Р 12.4.026-2001 Система стандартов безопасности труда. Цвета сигнализации, знаки безопасности и разметка сигнальная. Назначение и правила применения. Общие технические требования и характеристики. Методы испытаний
ГОСТ Р 51330.10-99 Электрооборудование взрывозащищенное. Часть 11. Искробезопасная электрическая цепь i
ГОСТ Р 51368-99 Методы испытаний на стойкость к климатическим внешним воздействующим факторам машин, приборов и других технических изделий. Испытания на устойчивость к действию температуры <*>
--------------------------------
ГОСТ Р 51369-99 Методы испытаний на стойкость к климатическим внешним воздействующим факторам машин, приборов и других технических изделий. Испытания на воздействие влажности
ГОСТ Р 52274-2004 Электрическая искробезопасность. Общие технические требования и методы испытаний
ГОСТ Р 52350.0-2005 (МЭК 60079.0:2004) Электрооборудование для взрывоопасных газовых сред. Часть 0. Общие требования (МОД) <*>
--------------------------------
ГОСТ Р 52350.1-2005 (МЭК 60079.1:2004) Электрооборудование для взрывоопасных газовых сред. Часть 1. Взрывонепроницаемые оболочки "d"
ГОСТ Р 52350.1.1-2006 (МЭК 60079.1.1:2004) Электрооборудование для взрывоопасных газовых сред. Часть 1-1. Взрывонепроницаемые оболочки "D". Метод испытания для определения безопасного экспериментального максимального зазора <*>
--------------------------------
<*> Заменен на ГОСТ Р МЭК 60079-20-1-2001.
ГОСТ Р 54777-2011 Автоматические системы взрывоподавления - локализации взрывов метанопылевоздушных смесей в угольных шахтах. Общие технические требования. Методы испытаний
ГОСТ 2.601-2006 Единая система конструкторской документации. Эксплуатационные документы
ГОСТ 9.014-78 Единая система защиты от коррозии и старения. Временная противокоррозионная защита изделий. Общие требования
ГОСТ 9.104-79 Единая система защиты от коррозии и старения. Покрытия лакокрасочные. Группы условий эксплуатации
ГОСТ 12.1.005-88 Система стандартов безопасности труда. Общие санитарно-гигиенические требования к воздуху рабочей зоны
ГОСТ 12.1.007-76 Система стандартов безопасности труда. Вредные вещества. Классификация и общие требования
ГОСТ 12.1.010-76 Система стандартов безопасности труда. Взрывобезопасность. Общие требования
ГОСТ 12.1.012-2004 Система стандартов безопасности труда. Вибрационная безопасность. Общие требования
ГОСТ 12.1.016-79 Система стандартов безопасности труда. Воздух рабочей зоны. Требования к методикам измерения концентраций вредных веществ
ГОСТ 12.2.003-91 Система стандартов безопасности труда. Оборудование производственное. Общие требования безопасности
ГОСТ 12.2.106-85 Система стандартов безопасности труда. Машины и механизмы, применяемые при разработке рудных, нерудных и россыпных месторождений полезных ископаемых. Общие гигиенические требования и методы оценки
ГОСТ 12.4.001-80 Система стандартов безопасности труда. Очки защитные. Термины и определения
ГОСТ 12.4.028-76 Система стандартов безопасности труда. Респираторы ШБ-1 "Лепесток". Технические условия
ГОСТ 27.410-87 Надежность в технике. Методы контроля показателей надежности и планы контрольных испытаний на надежность <*>
--------------------------------
ГОСТ 2405-88 Манометры, вакуумметры, мановакуумметры, напоромеры, тягомеры и тягонапоромеры. Общие технические условия
ГОСТ 15846-79 Продукция, отправляемая в районы Крайнего Севера и труднодоступные районы. Упаковка, маркировка, транспортирование и хранение <*>
--------------------------------
ГОСТ 23170-78 Упаковка для изделий машиностроения. Общие требования
ГОСТ 24444-87 Оборудование технологическое. Общие требования монтажной технологичности
Примечание. При пользовании настоящим стандартом целесообразно проверить действие ссылочных стандартов в информационной системе общего пользования на официальном сайте Федерального агентства по техническому регулированию и метрологии в сети Интернет или по ежегодно издаваемому информационному указателю "Национальные стандарты", который опубликован по состоянию на 1 января текущего года, и по соответствующим ежемесячно издаваемым информационным указателям, опубликованным в текущем году. Если ссылочный стандарт заменен (изменен), то при пользовании настоящим стандартом следует руководствоваться заменяющим (измененным) стандартом. Если ссылочный стандарт отменен без замены, то положение, в котором есть ссылка на него, применяется в части, не затрагивающей эту ссылку.
В настоящем стандарте применены следующие термины с соответствующими определениями:
3.1. Автоматический взрыволокализующий заслон: автоматическая система взрывоподавления-локализации взрыва, выполняющая в определенной технологической последовательности, без участия персонала, операции по созданию огнетушащей среды с заданными параметрами на пути распространения фронта пламени внезапно возникшего взрыва пылегазовоздушной смеси.
3.2. Автоматический способ локализации взрыва: способ, при котором облако огнетушащего вещества на пути распространения фронта пламени взрыва пылегазовоздушной смеси создается за счет внутренней, запасенной в самом взрыволокализующем заслоне энергии (сжатого воздуха или газов, образующихся при сгорании газогенерирующих веществ и т.п.).
3.3. Взвешиваемость (инертной пыли): плотность облака инертной пыли через определенный промежуток времени после распыления.
Взвешиваемость инертной пыли измеряют в процентах по отношению к эталонной угольной. Плотность пылевого облака инертной пыли подразделяют следующим образом: удовлетворительная (при взвешиваемости 70% и более); средняя (при взвешиваемости от 50 до 70%); неудовлетворительная (при взвешиваемости менее 50%).
3.4. Взрыв: процесс выделения энергии за короткий промежуток времени, связанный с мгновенным физико-химическим изменением состояния вещества, приводящим к возникновению скачка давления или ударно-воздушной волны и сопровождающимся образованием сжатых газов или паров, способных производить работу.
В угольных шахтах происходят взрывы:
- метана без участия угольной пыли;
- пылегазовоздушной смеси - метана с участием угольной пыли, когда первоначальный инициирующий импульс способствует возмущению отложившейся угольной пыли, что приводит лавинообразно к последующим более мощным взрывам;
- угольной пыли (возможны в негазовых шахтах);
- детонационные, когда воспламенение последующих слоев пылегазовоздушной смеси возникает в результате сжатия и нагрева, характеризующихся тем, что ударно-воздушная волна и фронт пламени следуют неразрывно друг за другом с постоянной сверхзвуковой скоростью.
3.5. Взрыволокализующий заслон: средство, предназначенное для локализации (предотвращения распространения) взрывов пылегазовоздушных смесей в горных выработках угольных шахт.
3.6. Взрывчатая взвесь угольной пыли: распределение угольной пыли в воздухе с концентрацией, способной взрываться.
3.7. Водяная завеса: водовоздушная среда длительного действия, создаваемая с помощью форсунок для обеспыливания вентиляционной струи и снижения пылеотложения в вентиляционных штреках.
3.8. Вспышка: кратковременное и интенсивное сгорание ограниченных объемов горючих рудничных газов и угольной пыли, не сопровождающееся образованием ударно-воздушной волны и разрушением горных выработок.
В угольных шахтах могут быть вспышки метана:
- без перехода во взрыв (в зарубных щелях, местных скоплениях небольших объемов газа и т.д.);
- с переходом во взрыв без участия или с участием угольной пыли.
3.9. Гидропылевзрывозащита: мероприятия по предотвращению возникновения взрывчатых пылегазовоздушных смесей в атмосфере угольных шахт с применением воды или воды со связующими составами: для локализации взрывов используют водяные или автоматические заслоны.
3.10. Инерционность взрыволокализующего заслона: время с момента получения исполняющего импульса на срабатывающее (пусковое) устройство заслона до начала выброса огнетушащего вещества в атмосферу горной выработки.
3.11. Комбинированная пылевзрывозащита: мероприятия по предотвращению возникновения взрывчатых пылегазовоздушных смесей в атмосфере угольных шахт с применением инертной пыли и воды или воды со связующими составами и уборки пыли (смывка пыли, пылеулавливание и т.д.): для локализации взрывов используют сланцевые, водяные или автоматические заслоны.
3.12. Локализация взрывов пылегазовоздушных смесей в угольной шахте: действия, направленные на предотвращение возможности дальнейшего распространения по горным выработкам фронта пламени, образованного в результате взрыва пылегазовоздушной смеси, и создание условий для его успешной ликвидации имеющимися средствами.
3.13. Мероприятия по предупреждению взрыва: заблаговременные действия, направленные на инертизацию шахтной атмосферы и отложившейся угольной пыли для исключения возникновения взрыва.
3.14. Облако: дисперсия в атмосфере какого-либо вещества в любом из возможных (твердом, жидком и (или) газообразном) фазовых состояний.
3.15. Огнетушащее вещество: вещество, обладающее физико-химическими свойствами, позволяющими создать условия для предотвращения горения, вспышек и распространения по горным выработкам фронта пламени, образованного в результате взрыва пылеметановоздушной смеси.
3.16. Пассивный способ локализации взрыва: способ, при котором облако огнетушащего вещества на пути распространения фронта пламени взрыва пылегазовоздушной смеси создается за счет внешней по отношению к взрыволокализующему заслону энергии (например, ударно-воздушной волны).
3.17. Пламя: зона горения в газовой фазе с видимым излучением.
3.18. Пылевзрывозащита подземных горных выработок: комплекс мероприятий, направленный на предотвращение возникновения взрывчатых пылевоздушных смесей в атмосфере угольных шахт и локализацию взрывов пылегазовоздушных смесей: различают сланцевую пылевзрывозащиту, гидропылевзрывозащиту и комбинированную пылевзрывозащиту.
3.19. Пылевоздушная смесь: взрывчатая взвесь угольной пыли в воздухе.
3.20. Скорость распространения ударно-воздушной волны: расстояние, пройденное фронтом ударно-воздушной волны в единицу времени.
3.21. Скорость распространения фронта пламени: расстояние, пройденное фронтом пламени в единицу времени.
3.22. Сланцевая пылевзрывозащита: мероприятия по предотвращению возникновения взрывчатых пылегазовоздушных смесей в атмосфере угольных шахт с применением инертной пыли: для локализации взрывов применяют сланцевые или автоматические взрыволокализующие заслоны.
3.23. Сланцевый (водяной) взрыволокализующий заслон: пассивный взрыволокализующий заслон, представляющий собой полки или емкости с запасом огнетушащего вещества (инертной пыли или воды), которое переводится во взвешенное состояние энергией ударно-воздушной волны, образованной в результате взрыва пылегазовоздушной смеси.
3.24. Способ локализации взрывов пылегазовоздушных смесей в угольной шахте: действие или совокупность действий, направленных на достижение поставленной цели: различают пассивный и автоматический способы локализации взрывов.
3.25. Средства предупреждения взрыва: технические устройства, предназначенные для инертизации шахтной атмосферы и отложившейся угольной пыли для предотвращения возникновения взрывчатых пылевоздушных смесей в атмосфере угольных шахт и устранения источников воспламенения.
3.26. Средство локализации взрывов: техническое устройство, предназначенное для локализации в ограниченном пространстве и предотвращения дальнейшего распространения внезапно возникшего взрыва пылегазовоздушной смеси, срабатывающее от ударно-воздушной волны или излучения фронта пламени с быстродействием, достаточным для формирования облака огнетушащего вещества до прихода фронта пламени.
3.27. Туманообразующая завеса: мелкодисперсная водовоздушная среда длительного действия, создаваемая с помощью туманообразователей для обеспыливания вентиляционной струи и связывания пылеотложений в горных выработках.
3.28. Ударно-воздушная волна: однократный скачок уплотнения, распространяющийся по горной выработке со сверхзвуковой скоростью.
3.29. Фронт ударно-воздушной волны: движущаяся по горной выработке зона мгновенного изменения (увеличения) давления, плотности и температуры среды.
3.30. Фронт пламени: движущаяся по горной выработке зона химической реакции и нагретых газов.
4. ТЕХНИЧЕСКИЕ ТРЕБОВАНИЯ
4.1. Общие требования
4.1.1. Оборудование и средства по предупреждению взрывов пылевоздушных смесей должны соответствовать предназначению, указанному в
разделе 1.
4.1.2. Оборудование и средства необходимо изготовлять в соответствии с требованиями
ГОСТ 12.1.010, технических условий, утвержденных в установленном порядке, и конструкторской документации.
4.1.3. Все материалы и комплектующие изделия, применяемые при изготовлении оборудования и средств пылевзрывозащиты, должны соответствовать действующим стандартам и техническим условиям.
4.1.3.2. Автоматические системы взрывоподавления-локализации взрывов должны соответствовать
ГОСТ Р 54777.
4.1.3.3. Все измерительные приборы (манометры), используемые в оборудовании, должны соответствовать требованиям
ГОСТ 2405.
4.1.4. Внешний вид оборудования и средств пылевзрывозащиты должен отвечать требованиям конструкторской документации.
4.1.5. Оборудование и средства пылевзрывозащиты должны вписываться в сечение горных выработок с обеспечением установленных
[1] зазоров между креплением (бортами и кровлей), горно-шахтным оборудованием, свободным проходом персонала и встречными поездами, в том числе монорельсовыми.
4.1.6. Для локализации взрывов угольной пыли в шахтах должны применяться сланцевые заслоны с использованием инертной пыли в качестве гасящего материала, водяные заслоны и автоматические системы взрывоподавления-локализации взрывов.
4.1.7. Взрыволокализующие заслоны должны образовывать облака диспергированных огнетушащих веществ на пути движения фронта пламени, что достигается за счет энергии взрыва угольной пыли, распространяющегося по горным выработкам, и (или) собственной запасенной энергии.
4.1.8. Гасящее действие инертных веществ сланцевого заслона должно обеспечивать охлаждение зоны горения ниже температуры воспламенения пыли и разбавление концентрации угольной пыли до взрывобезопасной.
4.1.9. Гасящее действие диспергированной воды водяного заслона должно обеспечивать снижение температуры горящего пылевого облака. Для этого необходимо осуществлять отвод тепла из зоны реакции со скоростью, превышающей скорость распространения взрыва.
4.1.10. Гасящее действие огнетушащего порошка автоматического заслона должно вызывать снижение температуры горящего пылевого облака, а также выполнение функций ингибирования среды для предотвращения распространения реакции взрывчатой взвеси угольной пыли.
4.1.11. Для предупреждения взрывов пыль в шахтах следует периодически убирать, чтобы не допускать накопления в горных выработках ее взрывоопасного количества. Наиболее простой и эффективный способ уборки угольной пыли - смыв ее водой или растворами смачивателей. Потоком воды часть пыли транспортируется в водосборник, а оставшаяся на почве (в состоянии шлама) не представляет опасности. По мере накопления увлажненную пыль с почвы необходимо убирать.
4.1.12. Нейтрализация взрывчатых свойств угольной пыли может быть достигнута с помощью инертной пыли (осланцевание горных выработок). Сущность осланцевания заключается в искусственном озолении угольной пыли, осевшей на поверхность горных выработок, добавлением к ней негорючей (инертной) пыли в таком количестве, чтобы устранить способность взрываться.
4.1.13. Для предотвращения взрыва угольной пыли может быть использовано ее связывание, физическая сущность которого заключается в скреплении (агрегировании) частиц отложившейся и вновь оседающей пыли с поверхностью выработок, что исключает ее переход во взвешенное состояние и, следовательно, участие во взрыве. К этому способу предупреждения взрывов относятся: побелка горных выработок и связывание смачивающе-связывающими составами, высокая эффективность которого достигается только при полном смачивании частиц пыли различными жидкостями.
Связывание отложившейся пыли побелкой горных выработок основано на увлажнении пылевых частиц жидким составом и последующим скреплением их затвердевшим в виде корки известково-цементным раствором.
Весьма эффективен способ повышения продолжительности срока защитного действия связывания пыли за счет использования гигроскопических свойств солей (хлоридов цинка, кальция и магния). Гигроскопические соли могут не только сохранять имеющуюся в слое пыли влагу, но и поглощать ее новые порции для связывания вновь оседающей. Такие условия соблюдаются, когда парциальное давление водяных паров над гигроскопической солью ниже, чем в окружающем воздухе.
4.2. Основные параметры
4.2.1. Основные параметры заслонов для локализации взрывов угольной пыли
4.2.1.1. Сланцевые взрыволокализующие заслоны
4.2.1.1.1. Сланцевый заслон при взаимодействии с ударной волной взрыва образует к моменту подхода пламени плотное облако инертной пыли и легко приводится в действие как сильными, так и слабыми взрывами. При этом он должен быть устойчивым к толчкам, вызываемым технологическими процессами угледобычи, в частности при проведении взрывных работ.
4.2.1.1.2. Параметры сланцевого заслона приведены в таблице 1.
Таблица 1
Параметры сланцевого заслона
Тип заслона | Удельный расход инертной пыли, кг/м2 | Расстояние между рядами полок, м | Расстояние заслона от очага взрыва, м |
Основной сланцевый | 400 | Не менее ширины полки | 60 - 300 |
4.2.1.1.3. Сланцевые взрыволокализующие заслоны выполняются из ряда монтируемых под кровлей поперек выработок легко опрокидываемых полок с инертной пылью, ширина которых при жесткой конструкции в пределах 250 - 500 мм, а при свободнолежащем настиле - 600 - 800 мм. Расстояние между кровлей выработки и верхней поверхностью инертной пыли в пределах 100 - 300 мм. Расстояние между полками заслона должно быть одинаковым и не меньше ширины полки. Длина сланцевого заслона - не менее 20 м.
4.2.1.1.4. Полки сланцевого заслона жесткой конструкции (см.
рисунок 1) приняты для установки в выработках, закрепленных деревянной крепью и железобетонными стойками с шарнирно-подвесным металлическим верхняком, полки со свободнолежащим настилом - для выработок, закрепленных стальной арочной и кольцевой крепью, а также бетонной и блочной крепью сечением более 7 м2.
Рисунок 1. Полка сланцевого заслона жесткой конструкции
Основные размеры элементов полки жесткой конструкции представлены в таблице 2.
Таблица 2
Основные размеры (в мм) элементов полки жесткой
конструкции
a | b | h | | |
500 | 100 | 200 | 50 | 30 - 40 в зависимости от длины полки |
400 | 80 | 160 | 40 |
300 | 60 | 120 | 40 |
По бокам к полке можно прибивать деревянные бортики высотой не более 80 мм, препятствующие осыпанию инертной пыли.
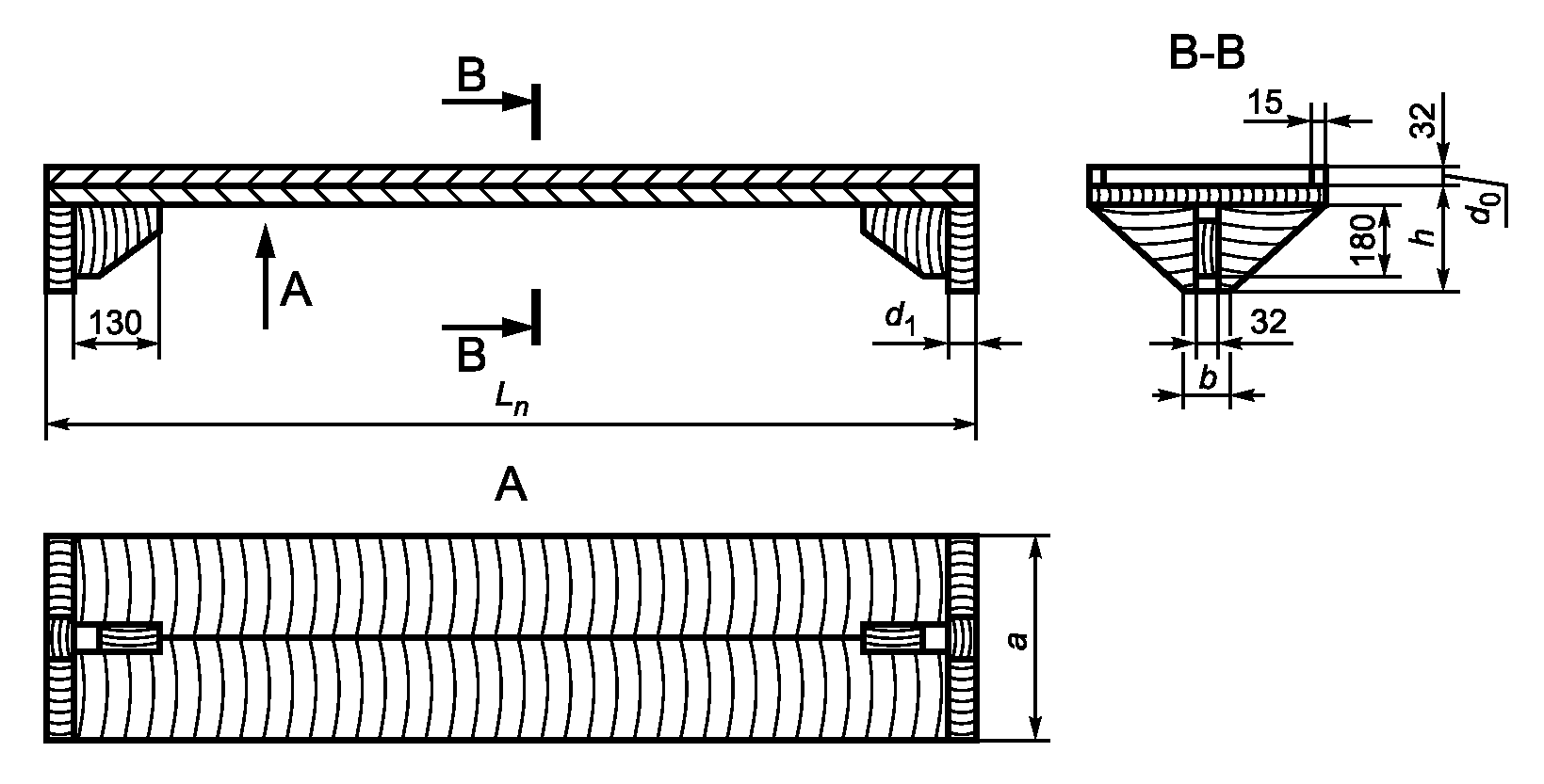
Полка со свободнолежащим настилом (см.
рисунок 2) представляет собой раму, состоящую из двух брусьев, укрепленных на трапециевидных опорах. Сверху на нее устанавливают свободнолежащий настил из досок.
Рисунок 2. Полка сланцевого заслона со свободнолежащим
настилом
Основные размеры элементов полки сланцевого заслона со свободнолежащим настилом представлены в таблице 3.
Таблица 3
Основные размеры (в мм) элементов полки сланцевого заслона
со свободнолежащим настилом
a | | b | | h | | | d | |
600 | 300 | 120 | 240 - 300 | 240 | 100 | 12 - 18 | 30 - 50 | 50 |
800 | 400 | 160 | 340 - 400 | 320 | 100 | 12 - 18 | 30 - 50 | 50 |
Высота выработки в месте установки сланцевого заслона определяется с учетом соблюдения требований
п. 118 [1].
Когда по условиям размещения заслона размеры горной выработки недостаточны, ее сечение необходимо увеличить. Для обеспечения нормальной работы заслона должно быть плавное повышение кровли выработки. В зависимости от требуемого увеличения высоты выработки длина переходных участков от одного сечения к другому следующая: по 1 м с каждой стороны при повышении от 251 до 350 мм; по 2 м - от 351 до 450 мм; по 2,5 м - от 451 до 550 мм; по 3 м - от 551 до 650 мм и т.д.
4.2.1.1.5. Предназначенная для применения в сланцевых взрыволокализующих заслонах инертная пыль должна:
а) содержать не более 1% горючих веществ и не более 10% свободного кремнезема, количество других вредных и ядовитых примесей (мышьяка и пр.) не должно превышать санитарных норм;
б) обладать способностью легко переходить во взвешенное состояние, образуя плотное облако после пребывания во влажной атмосфере;
в) иметь такую тонкость помола, чтобы пыль не менее чем на 99% проходила через сито с сеткой N 06 и не менее чем на 50% - через сито с сеткой N 0071;
г) быть светлого цвета, обеспечивающего возможность визуального контроля пылевзрывобезопасности горных выработок.
4.2.1.1.6. Изготовители проводят выходной контроль качества инертной пыли в соответствии с
ГОСТ Р 51063 "Пыль инертная. Методы испытаний".
4.2.1.1.7. Изготовитель должен предоставлять шахтам характеристику каждой партии инертной пыли с указанием ситового состава, содержания горючих веществ, свободного кремнезема, ядовитых примесей, а также способности к взвешиванию в воздухе.
4.2.1.1.8. При поступлении на шахту инертную пыль следует проверять на взвешиваемость. Пыль считается непригодной, если при сжатии в руке образует плотный плохо рассыпающийся комок и тонет при кратковременном перемешивании с водой. Непригодную инертную пыль нужно браковать.
4.2.1.1.9. На поверхности шахты инертная пыль должна храниться на специальных защищенных от влаги складах, к которым обеспечен удобный подъезд.
4.2.1.2. Водяные взрыволокализующие заслоны
4.2.1.2.1. Водяные взрыволокализующие заслоны необходимо выполнять из ряда устанавливаемых под кровлей поперек выработки наполненных водой и легко опрокидываемых или разрушаемых сосудов емкостью не более 80 л каждый или водяных карманов емкостью по 40 л для заслонов типа "Водяные карманы". Их число в заслоне должно быть с запасом не менее 10%.
4.2.1.2.2. Количество воды в водяных взрыволокализующих заслонах определяется из расчета 400 л на 1 м2 поперечного сечения горной выработки в свету в месте их установки.
4.2.1.2.3. Расстояние между кровлей выработки и верхней кромкой легко опрокидываемых или разрушаемых сосудов и между кровлей выработки и несущей конструкцией водяных карманов обычного типа должно быть в пределах 100 - 600 мм. Полки с сосудами и несущие конструкции водяных карманов обычного типа следует устанавливать на равном расстоянии друг от друга по длине выработки и не менее чем через 500 мм. Общая длина водяного взрыволокализующего заслона - не менее 30 м.
4.2.1.2.4. Для снижения интенсивности испарения воды легко опрокидываемые или разрушаемые сосуды водяного взрыволокализующего заслона рекомендуется укрывать свободнолежащими и легко сбрасываемыми пластиковыми крышками. Их конструкция должна позволять без удаления контролировать уровень воды в сосуде и доливать ее.
4.2.1.2.5. Поперечное сечение сосуда водяного взрыволокализующего заслона должно иметь форму перевернутой равнобедренной трапеции. При этом высота сосуда - не менее 200 и не более 260 мм, а ширина по дну - не менее 150 и не более 320 мм. Для удобства транспортирования допускается скос стенок сосуда не более 8° к вертикальной плоскости.
4.2.1.2.6. Сосуды должны устанавливаться на деревянных полках шириной 150 мм под кровлей поперек выработки. Толщина полки зависит от количества размещенных на ней сосудов (при двух сосудах - 40, при трех - 50 и при четырех - 60 мм).
4.2.1.2.7. Полки и прогоны поддерживаются регулируемыми по высоте подвесками, конструкция которых обеспечивает установку сосудов в горизонтальном положении. Подвеска состоит из тяги, специального болта и соединяющей их стяжной муфты, вращение которой устраняет перекос сосудов и регулирует высоту их установки от почвы выработки при осадке или деформации крепи. В зависимости от вида крепи подвески соединяют с ней с помощью хомутов, специальных штырей или скоб.
4.2.1.2.8. Расстояние между подвесками в зависимости от числа сосудов, установленных на одной полке, принимается в пределах 1800 - 2400 мм.
4.2.1.2.9. Высота выработки в месте установки взрыволокализующего водяного заслона определяется с учетом соблюдения требований
п. 118 [1].
4.2.1.2.10. При увеличении высоты выработки в местах установки взрыволокализующих водяных заслонов для соблюдения требуемых зазоров длина переходных участков принимается такой же, как и для взрыволокализующих сланцевых заслонов.
4.2.1.2.11. При большой ширине выработки сосуды можно устанавливать в два и более рядов: в смежных - таким образом, чтобы промежутки между сосудами одного ряда были перекрыты сосудами другого (должно быть перекрыто не менее 50% ширины выработки на уровне подвижного состава).
4.2.1.2.12. Водяные взрыволокализующие заслоны выполняют из рядов 160 устанавливаемых под кровлей поперек горной выработки водяных карманов (включая 10%-ный резерв). Обычные взрыволокализующие заслоны подвешены на 40 распорных комплектах, а боковые каскадные находятся на отдельных подвесках.
4.2.1.2.13. Заслоны с водяными карманами должны устанавливаться лишь на таких участках горных выработок, в которых из кровли не выпадают остроугольные куски породы. При отсутствии этих условий необходимо устраивать над водяными карманами перекрытие из вентиляционного брезента.
4.2.1.2.14. При установке обычных взрыволокализующих водяных заслонов типа "Водяные карманы" используют несущие конструкции из двух штанг диаметром 16 мм: одна из них имеет общую длину 2330 мм (полезная длина 2200 мм) и приваренный на конце захват с крючьями, вторая - 1930 мм (полезная длина 1800 мм) и вильчатый захват на конце. Размеры выбраны таким образом, чтобы, во-первых, можно было закреплять несущие штанги и в выработках большей ширины, где применяют до пяти водяных карманов, а во-вторых, перевозить отдельные штанги в вагонетках. На месте монтажа обе штанги соединяют двумя муфтами, позволяющими раздвигать их, что упрощает установку несущих перекладин при сужении выработки. Несущие конструкции закрепляют на сетчатой затяжке выработки так, чтобы расстояние от них до кровли не превышало 0,5 м.
4.2.1.2.15. Для устройства боковых каскадных взрыволокализующих водяных заслонов типа "Водяные карманы" используют одинарные несущие комплекты, состоящие из штанги диаметром 16 мм общей длиной 1 м при полезной длине 0,95 м. С одной стороны штанга заканчивается крюком, который навешивается на сетчатую затяжку выработки, с другой - на ней имеется приваренная гайка (М12), к которой крепится проволока, удерживающая штангу и придающая ей требуемую жесткость.
4.2.1.2.16. Порожние водяные карманы наматываются на смонтированные несущие штанги. Для заслонов обычного типа на каждой из них закрепляют четыре водяных кармана, а для боковых - по одному карману. Отверстия для заливки воды должны находиться с "подветренной" стороны (по отношению к направлению вентиляционной струи). Водяные карманы следует натягивать на несущие штанги относительно туго и наматывать до заливочного отверстия. Карманы заливают водой с помощью трубки диаметром 3/4' и длиной 1,8 м, с изогнутым верхним концом и вентилем на другом; трубка соединена с резиновым шлангом диаметром 19 мм. Под весом воды карман самостоятельно затягивается на несущей штанге. В заливаемой воде не должно быть каких-либо механических загрязнений, которые могут повредить материал водяного кармана. Если имеется старая водопроводная сеть, то необходимо обеспечить фильтрование воды. Важно также, чтобы давление в карманах не было слишком большим, так как это может привести к их повреждению.
4.2.1.2.17. При переноске порожние водяные карманы нельзя складывать, так как любые места перегиба могут быть причиной повреждений.
4.2.1.2.18. При отрицательной температуре воздуха в месте установки водяного взрыволокализующего заслона для заливки сосудов должен применяться раствор хлористого кальция концентрацией 5% при температуре до -7 °C или 10% - при температуре 7 °C и ниже.
4.2.1.3. Автоматические взрыволокализующие заслоны
4.2.1.3.1. Автоматические взрыволокализующие заслоны (системы взрывоподавления-локализации взрывов) необходимо устанавливать в подземных горных выработках для локализации балансирующих, слабых, сильных и частично - весьма сильных взрывов.
4.2.1.3.2. Конструкция автоматических взрыволокализующих заслонов должна обеспечивать:
- формирование в горной выработке взрыволокализующего облака дисперсного огнетушащего порошка во взвешенном состоянии с большим временем жизни, до прихода фронта пламени;
- вписываемость в сечение горной выработки;
- устойчивую работу в требуемых горно-технических условиях;
- надежное крепление в горных выработках;
- применение защит, блокировок и других мер, соответствующих действующим нормам безопасности;
- контроль оборудования обслуживающим персоналом в ждущем режиме готовности к работе;
- удобство технического обслуживания и текущих ремонтов;
- разборку на транспортабельные узлы для спуска в шахту и доставки их к месту установки (массу и габаритные размеры узлов следует указывать в технических условиях и руководстве по эксплуатации системы).
4.2.1.3.3. Конструкция систем должна включать модуль для принудительного выброса дисперсного огнетушащего вещества в пространство горной выработки, модуль датчика, реагирующего на какое-либо физическое явление (сопровождающее вспышку или взрыв) и выдающего сигнал на срабатывание исполнительного устройства, а также модуль крепежных приспособлений для установки системы в горной выработке.
4.2.1.3.4. Крепление сборочных единиц и деталей должно исключать их самопроизвольное отсоединение.
4.2.1.3.5. Детали систем выполняют из негорючих и жароупорных материалов. Допускается изготовление из трудносгораемых или трудновоспламеняющихся материалов следующих изделий: уплотнительных манжет и колец, прокладок, амортизаторов, изоляции электрических кабелей. Конструкция узлов систем во взрывобезопасном (искробезопасном) исполнении и используемые в них материалы должны обеспечивать также фрикционную и электростатическую искробезопасность.
4.2.1.3.6. Автоматические взрыволокализующие заслоны должны иметь приборы и устройства контроля следующих параметров безопасности системы:
- показания нахождения в рабочем состоянии;
- возможность коррекции расположения в пространстве горной выработки при влиянии горного давления;
- защиту от ложного срабатывания.
4.2.2. Основные параметры средств и оборудования по предупреждению взрывов угольной пыли
4.2.2.1. Общие положения
4.2.2.1.1. Параметры способов и средств пылевзрывозащиты горных выработок должны устанавливаться в соответствии с нижним пределом взрываемости отложившейся угольной пыли

, а при сланцевой пылевзрывозащите - с нормой осланцевания (N).
4.2.2.1.2. Нижние пределы взрываемости и нормы осланцевания должны определяться в аккредитованной лаборатории для углей разрабатываемых шахтопластов с выходом летучих веществ менее 15% (кроме антрацитов) ежегодно, для вновь вводимых в эксплуатацию шахтопластов - перед их вводом.
4.2.2.1.3. На шахтах, разрабатывающих пласты угля с выходом летучих веществ 15% и более, при изменении этого значения

или содержания негорючих веществ

более чем на 1% необходимо корректировать нижние пределы взрываемости пыли по номограмме, представленной на
рисунке 3. Если содержание негорючих веществ в пластовой пробе угля более 30%, то при определении показателей взрываемости пыли значение содержания негорючих веществ принимается равным 30%.
Рисунок 3. Номограмма для определения нижних пределов
взрываемости отложившейся угольной пыли

Нижние пределы взрываемости пыли и нормы осланцевания для проектируемых шахт должны определяться в аккредитованной лаборатории по пробам, предоставляемым геологоразведочными партиями при разведке месторождений. Допускается временно принимать параметры взрываемости, установленные для пыли аналогичных пластов, разрабатываемых близлежащими (граничащими) шахтами.
4.2.2.1.4. Норма осланцевания должна определяться по фактическому содержанию негорючих веществ в пластовой пробе угля и добавке инертной пыли по формуле
где N - норма осланцевания, %;

- содержание негорючих веществ, %;
Д - добавка инертной пыли, %.
4.2.2.1.5. Добавка инертной пыли должна определяться для углей с выходом летучих веществ 15% и более по номограмме, представленной на
рисунке 4.
Рисунок 4. Номограмма для определения добавки
инертной пыли (Д)
4.2.2.1.6. Периодичность

побелки, осланцевания, обмывки и нанесения смачивающе-связующих составов во всех горных выработках (за исключением участков с интенсивным пылеотложением в откаточных выработках) должна определяться по формуле
где

- периодичность побелки, сут.;
K - коэффициент, характеризующий продолжительность защитного действия способа, значения которого принимаются равными при:
побелке, осланцевании и обмывке - 1;
связывании пыли смачивающе-связующим раствором - 5;
связывании пыли смачивающе-связующей пастой - 20;

- коэффициент, учитывающий влияние содержания метана в атмосфере выработки (для негазовых шахт должен приниматься равным 1, а для газовых - в зависимости от допустимого содержания метана - см. таблицу 4);
Таблица 4
Значения коэффициента

в зависимости от допустимого
содержания метана
 по объему | |
0,5 | 0,75 |
0,75 | 0,6 |
1,0 | 0,5 |
1,5 | 0,35 |
2,0 | 0,25 |

- нижний предел взрываемости отложившейся угольной пыли, г/м3 (принимается по номограмме, представленной на
рисунке 3);

- интенсивность пылеотложения, г/(м3 · сут.), за исключением примыкающих к лавам участков вентиляционных штреков протяженностью 200 м (см. таблицу 5).
Таблица 5
Интенсивность пылеотложения
Выработка (участок выработки) | Интенсивность пылеотложения  |
Выработки околоствольного двора: откаточного горизонта: | |
с транспортированием угля | 0,4 |
без транспортирования угля | 0,2 |
вентиляционного горизонта | 0,4 |
Откаточные и другие основные (капитальные) выработки со свежей струей воздуха (кроме конвейерных): | |
с транспортированием угля | 0,4 |
без транспортирования угля | 0,2 |
Основные выработки с исходящей струей воздуха | 0,4 |
Горизонтальные и наклонные выработки со свежей струей воздуха вне мест интенсивного пылеотложения (кроме конвейерных): | |
с транспортированием угля | 1,2 |
без транспортирования угля | 0,4 |
Участки вентиляционных штреков и других выработок с исходящей струей воздуха, расположенные на расстоянии более 200 м от очистных забоев | 1,2 |
Тупиковые подготовительные выработки (кроме конвейерных) на расстоянии более 50 м от забоя | 1,2 |
4.2.2.1.7. Интенсивность пылеотложения в вентиляционных штреках протяженностью 200 м от лав определяется методом сбора пыли на две - четыре металлические или пластмассовые подложки, которые устанавливают вдоль стенок выработки на расстоянии 10 м от лавы так, чтобы их открытые поверхности не были экранированы от вентиляционной струи элементами крепи и различными предметами.
Пыль, собранную с подложек, взвешивают на технических весах, при этом навеска должна быть не менее 2 г.
Интенсивность пылеотложения рассчитывается по формуле
где

- интенсивность пылеотложения, г/(м3 · сут.);
b - ширина выработки по почве, м;
M - суммарная масса осевшей на подложки пыли, г;
F - суммарная площадь подложек, м2;
S - площадь поперечного сечения выработки в свету, м2;
t - время пылеотложения, сут.
Полученное значение интенсивности пылеотложения принимается для расчета периодичности применения мероприятий на примыкающем к лаве участке штрека, протяженностью 50 м; для расчета периодичности на последующих 150 м эта характеристика соответственно уменьшается в 3,5 раза.
4.2.2.2. Комбинированная пылевзрывозащита
4.2.2.2.1. В зависимости от интенсивности пылеотложения, горно-геологических и горно-технических условий, а также от влияния пылевзрывозащитных мероприятий на санитарно-гигиенические условия труда горнорабочих выбор рациональных способов и средств предупреждения и локализации взрывов пыли должен проводиться согласно таблице 6.
Таблица 6
Выбор рациональных способов и средств предупреждения
и локализации взрывов пыли
Способ, средство | Выработки | Условия применения |
Интенсивность пылеотложения, г/(м3 · сут.) | Устойчивость вмещающих пород | Температура (t) и относительная влажность воздуха  |
Осланцевание | Необводненные и без капежа выработки | Независимо от интенсивности пылеотложения | Независимо от устойчивости пород | Независимо от t и  |
Побелка | Околоствольные дворы, капитальные откаточные и вентиляционные выработки, людские ходки и камеры | До 0,4 | То же | При положительной t и независимо от  |
| | ИС МЕГАНОРМ: примечание. В официальном тексте документа, видимо, допущена опечатка: пункт 8.2.2 в Правилах безопасности в угольных шахтах (ПБ 05-618-03) отсутствует. | |
|
Обмывка | Вентиляционные, откаточные выработки | До 1,2 | " | То же |
| Вентиляционные, откаточные и конвейерные выработки | 1,2 и более | При устойчивых непучащих породах | При положительной t и обеспечении требований 8.2.2 [1] |
Связывание смачивающе-связующим раствором | То же | 1,2 и более | Независимо от устойчивости пород | Независимо от t и  |
Туманообразующие завесы | Вентиляционные штреки | 2,2 и более | При устойчивых непучащих породах | При положительной t и обеспечении требований 8.2.2 [1] |
Сланцевые заслоны | Выработки, подлежащие осланцеванию или побелке | | Независимо от устойчивости пород | Независимо от t и  |
Автоматические системы локализации взрывов |
Водяные заслоны | Вся сеть горных выработок | | То же | То же |
Автоматические системы локализации взрывов |
При расчете параметров мероприятий по пылевзрывозащите для общешахтных и групповых выработок учитывается наименьший нижний предел взрываемости угольной пыли.
4.2.2.2.2. В местах интенсивного пылеотложения (кроме вентиляционных штреков) периодичность применения мероприятий принимается согласно таблице 7.
Таблица 7
Периодичность применения мероприятий по предупреждению
взрывов
Выработка (участок выработки) | Способ предупреждения взрыва | Периодичность выполнения работ |
Погрузочные пункты лав на крутых (между рабочими и вентиляционными гезенками), пологих и наклонных пластах, погрузочные пункты углеспусков, гезенков и скатов, а также участки откаточных штреков на протяжении не менее 25 м в обе стороны от указанных мест | Обмывка или осланцевание | Не реже одного раза в смену |
Связывание смачивающе-связующим раствором | Не реже одного раза в пять смен |
Участки откаточных выработок на протяжении 25 м в обе стороны от опрокидывателей, участки откаточных штреков, уклонов и бремсбергов на протяжении 25 м от их сопряжения | То же | Не реже одного раза в сутки |
" | Не реже одного раза в пять суток |
Подготовительные выработки, проводимые по углю и породе, на протяжении 50 м от их забоев | " | То же |
" | " |
Конвейерные выработки: | Зачистка почвы и обмывка | " |
а) почва и элементы конструкции конвейера |
Зачистка почвы и осланцевание | " |
б) бока и кровля: | Обмывка или осланцевание | Не реже одного раза в смену |
в районе погрузочных пунктов и на протяжении 25 м от них по направлению вентиляционной струи |
Связывание смачивающе-связующим раствором | Не реже одного раза в пять смен |
на остальном протяжении | То же | Не реже одного раза в месяц |
" | Не реже одного раза в пять месяцев |
4.2.2.3. Сланцевая пылевзрывозащита
4.2.2.3.1. Осланцеванию подвергаются все поверхности горных выработок (бока, кровля, почва, доступные места за затяжками) механизированным способом или вручную.
4.2.2.3.2. Норма осланцевания для общешахтных выработок должна приниматься наибольшей из установленных для разрабатываемых шахтой пластов угля, а для групповых - наибольшей из установленных для разрабатываемых в данной группе пластов.
4.2.2.3.3. Расход инертной пыли на осланцевание выработки должен рассчитываться по формуле
где q - расход инертной пыли на осланцевание 1 пог. м, кг/м;
N - норма осланцевания, %;

- нижний предел взрываемости угольной пыли, г/м3;
S - сечение выработки, м2.
4.2.2.3.4. Предназначенная для осланцевания горных выработок инертная пыль должна соответствовать требованиям к качеству, представленным в
4.2.1.1.5 настоящего ГОСТ Р, и требованиям
ГОСТ Р 51063 и
ГОСТ 12.1.007.
4.2.2.3.5. Осланцевание может проводиться ручным или механизированным способом.
При механизированном осланцевании в устройствах распыления используется энергия сжатого воздуха низкого или высокого давления. Могут применяться устройства для распыления инертной пыли, состоящие из подвижного воздушного компрессора и тележки, на которой помещаются ящик с пылью и распылитель. При этом должны выполняться требования
ГОСТ 12.2.016, ГОСТ 12.2.016.1, ГОСТ 12.2.016.5,
ГОСТ 12.1.016,
ГОСТ 12.1.005,
ГОСТ Р 51330.0 и
ГОСТ Р 52274.
4.2.2.4. Гидропылевзрывозащита
4.2.2.4.1. Побелке подвергают бока и кровлю выработок из расчета не менее 0,8 л известкового раствора на 1 м2 обрабатываемой поверхности. Выработка считается обработанной, если на ее боках и кровле нет поверхностей, не покрытых раствором. Побелка горных выработок протяженностью более 200 м должна проводиться механизированным способом.
4.2.2.4.2. Обмывку горных выработок выполняют с помощью смыва пыли водой с кровли, боков выработки и доступных мест за затяжками. Расход воды не менее 1,5 л на 1 м2 поверхности. В качестве распылителей воды применяют форсунки, оросители и насадки. Оставшиеся после обмывки на почве выработки угольная мелочь и пыль должны быть увлажнены так, чтобы содержание внешней влаги в них было не менее 12%, и по мере накопления угольной мелочи и пыли проводится их уборка. Для предупреждения обводненности выработок при обмывке систематически выполняется очистка водосточных канавок.
4.2.2.4.3. Обмывку выработок в районе погрузочных пунктов проводят 0,1%-ным водным раствором смачивателя, для чего устанавливают его дозаторы. Для обмывки раствором смачивателя может также использоваться ручной ороситель. Требование к применению раствора для обмывки не распространяется на буроугольные шахты.
4.2.2.4.4. Для связывания отложившейся угольной пыли применяют жидкие или пастообразные смачивающе-связующие составы на основе хлористого кальция и смачивателя. Концентрация хлористого кальция и соответствующая ей оптимальная концентрация смачивателя в растворе должны подбираться в зависимости от относительной влажности воздуха в обрабатываемой выработке (см. таблицу 8).
Таблица 8
Определение концентрации хлористого кальция
и соответствующей ей оптимальной концентрации смачивателя
Относительная влажность воздуха, % | Концентрация в водном растворе, % | Плотность раствора (показания ареометра), кг/л |
| смачивателя |
До 85 | 35 | 2 | 1,34 |
Свыше 85 | 25 | 1 | 1,23 |
Обработке смачивающе-связующим составом должны подвергаться бока и кровля выработки, а также доступные места за затяжками. Почва при этом увлажняется стекающей жидкостью. Расход жидкого смачивающе-связующего состава не менее 0,5 л/м2, пасты - не менее 3 кг/м2 обрабатываемой поверхности. Эти составы следует наносить на предварительно обмытую поверхность выработки.
4.2.2.4.5. Не допускается применение способов предупреждения взрывов угольной пыли, основанных на использовании воды (без смачивающе-связующих составов), на пластах, где эта пыль не смачивается водой или защитные действия не обеспечивают взрывобезопасность в течение смены.
4.2.2.4.6. Для приготовления и хранения готового раствора хлористого кальция в шахте должен быть оборудован специальный склад в соответствии с проектом, разработанным специализированной организацией.
4.2.2.4.7. Непрерывное связывание угольной пыли осуществляется с помощью туманообразующих завес, рассредоточенных на примыкающем к лаве участке вентиляционного штрека. Туманообразователь создает факел тумана в виде сплошного конуса, сечение которого соизмеримо с поперечным сечением выработки.
Туманообразующие завесы должны работать в течение всей смены, когда проводится выемка угля.
4.2.2.4.8. Туманообразователи в первой завесе располагаются в зависимости от скорости движения воздуха в выработке: при скорости свыше 2 м/с - таким образом, чтобы факелы были направлены навстречу движению вентиляционной струи, при скорости 2 м/с и менее - в сторону ее движения. Во второй и последующих завесах факелы также направляют в сторону движения вентиляционной струи.
Расстояние между первой и второй завесами должно приниматься в зависимости от скорости движения воздуха в выработке (см. рисунок 5).
Рисунок 5. Расстояние между первой и второй
туманообразующими завесами (длина участка связывания)
в зависимости от скорости движения воздуха в выработке
Расстояние каждой последующей завесы от предыдущей, начиная с третьей, увеличивают на 25 м. Туманообразующие завесы периодически по мере подвигания лавы необходимо переносить. Расстояние первой завесы от лавы не должно превышать 20 м. Завесы располагают в местах, где не установлена электроаппаратура.
5. ТРЕБОВАНИЯ БЕЗОПАСНОСТИ ПРИ ВЫПОЛНЕНИИ РАБОТ
ПО ПРЕДУПРЕЖДЕНИЮ И ЛОКАЛИЗАЦИИ ВЗРЫВОВ УГОЛЬНОЙ ПЫЛИ
5.1. Все работы, связанные с выполнением мероприятий по предупреждению и локализации взрывов пылевоздушных смесей, должны проводиться в соответствии с [
1,
2,
3], инструкциями по охране труда подземных рабочих и требованиями
ГОСТ 12.1.005,
ГОСТ 12.1.007 и
ГОСТ 12.2.061.
5.2. Персонал, выполняющий работы по побелке горных выработок, связыванию пыли, приготовлению смачивающе-связующего и побелочного растворов, должен быть обеспечен непромокаемой спецодеждой, резиновыми сапогами, перчатками и защитными очками в соответствии с требованиями
ГОСТ 12.4.001 и
ГОСТ Р 52743. Не защищенные одеждой участки кожи перед началом работы следует покрывать (смазывать) мазью (вазелином, ланолином и др.).
5.3. Рабочие, находящиеся в выработках при осланцевании или загрузке сланцевых заслонов, должны быть снабжены противопылевыми респираторами в соответствии с требованиями
ГОСТ 12.4.028.
5.4. Загрузку сланцевого заслона следует проводить со специального полка, устраиваемого на вагонетке, в которой находится инертная пыль. При отсутствии в выработках рельсовых путей ее осуществляют со специального помоста.
5.5. Во время действия туманообразующих завес в их зоне запрещается проведение каких-либо работ.
5.6. В выработках с откаткой контактными электровозами работы по побелке, обмывке, связыванию угольной пыли смачивающе-связующими составами и установке (ремонту) заслонов допускаются только при снятии напряжения с контактного провода.
5.7. Побелочно-обмывочные машины должны быть снабжены звуковой или световой сигнализацией, а участки выработки, где проводится побелка (обмывка), - обозначены предупредительными знаками в соответствии с
ГОСТ Р 12.4.026.
5.8. В зависимости от условий применения автоматические взрыволокализующие заслоны должны соответствовать требованиям
ГОСТ 12.2.003,
ГОСТ 12.2.106 и
[1].
5.9. Автоматические взрыволокализующие заслоны, имеющие в конструкции газогенератор и (или) пирозаряд (детонатор), при производстве и эксплуатации должны соответствовать требованиям [
2,
3].
5.10. Автоматические взрыволокализующие заслоны, имеющие в конструкции электрооборудование, следует изготовлять в рудничном взрывобезопасном исполнении (РВ) по
ГОСТ Р 52350.0.
5.11. Конструкция автоматических взрыволокализующих заслонов должна исключать возможность несанкционированного доступа посторонних лиц к контрольным приборам и управляющим узлам.
5.12. При наличии в автоматических взрыволокализующих заслонах газогенератора и (или) пирозаряда (детонатора) конструкция должна также исключать возможность несанкционированного доступа к ним посторонних лиц.
5.13. Контрольные приборы и управляющие узлы автоматических взрыволокализующих заслонов необходимо опломбировать.
5.14. Показания контрольных приборов, влияющие на безопасность, должны соответствовать допустимым значениям, указанным в руководстве по эксплуатации автоматического взрыволокализующего заслона.
6.1. Упаковку оборудования для предупреждения и локализации взрывов пылевоздушных смесей в угольных шахтах проводят в соответствии с требованиями
ГОСТ 23170 и настоящего стандарта.
6.2. Способ упаковки основных сборочных единиц определяется предприятием-изготовителем продукции и должен обеспечивать сохранность груза при транспортировании и хранении.
6.3. Съемные сборочные единицы и детали, запасные части, инструменты и принадлежности должны быть надежно упакованы.
6.4. Эксплуатационную и товаросопроводительную документацию необходимо вложить в пакет из полиэтиленовой пленки по
ГОСТ 10354, края пакета - заварить оплавлением или закрыть (зафиксировать) иным способом.
6.5. Пакет с документацией укладывают в упаковку одной из сборочных единиц.
6.6. Качество упаковки и комплектность продукции проверяется представителем ОТК изготовителя.
6.7. Упаковка при транспортировании груза в районы Крайнего Севера и труднодоступные районы выполняется по
ГОСТ 15846.
7. ТРАНСПОРТИРОВАНИЕ И ХРАНЕНИЕ
7.1. Транспортирование оборудования для предупреждения и локализации взрывов пылевоздушных смесей в угольных шахтах допускается без ограничения дальности перевозок следующими видами транспорта:
1) автомобильным - в закрытых машинах;
2) железнодорожным - в закрытых вагонах;
3) воздушным - в герметизированных отсеках.
7.2. Транспортирование следует осуществлять в соответствии с правилами, действующими на данном виде транспорта.
7.3. Хранение на складе изготовителя (потребителя) упакованных основных сборочных единиц должно проводиться в отапливаемом и вентилируемом помещении при температуре воздуха от 274 °K до 313 °K (от 1 °C до 40 °C) и относительной влажности до 80% при 298 °K (25 °C). В окружающем воздухе должны отсутствовать кислотные, щелочные и другие агрессивные примеси.
7.4. Хранение электрооборудования и электронных приборов осуществляется согласно требованиям технической документации.
7.5. Инертную пыль транспортируют всеми видами транспорта в закрытых транспортных средствах в соответствии с правилами перевозок грузов, действующими на транспорте соответствующего вида.
7.6. При транспортировании инертная пыль должна быть защищена от воздействия влаги и загрязнения посторонними примесями.
7.7. При погрузочно-разгрузочных операциях обязательно применяют меры, устраняющие утечку инертной пыли.
7.8. Инертную пыль хранят в сухих закрытых помещениях с естественной вентиляцией, без искусственного регулирования климатических условий, где колебания температуры и влажности воздуха меньше, чем на открытом воздухе (каменные, бетонные, металлические и другие хранилища), и исключается попадание влаги.
7.9. При длительном хранении инертной пыли на складах не реже одного раза в три месяца проверяют степень ее гидрофобизации и содержание влаги.
8. УКАЗАНИЯ ПО ЭКСПЛУАТАЦИИ
Эксплуатация оборудования для предупреждения и локализации взрывов пылевоздушных смесей в угольных шахтах должна осуществляться в соответствии с требованиями, изложенными в настоящем стандарте и инструкции (руководстве) по эксплуатации.
9. ГАРАНТИЙНЫЕ ОБЯЗАТЕЛЬСТВА
9.1. Изготовитель должен гарантировать соответствие качества оборудования для предупреждения и локализации взрывов пылевоздушных смесей в угольных шахтах требованиям настоящего стандарта при соблюдении потребителем условий и правил хранения, транспортирования и эксплуатации.
9.2. Гарантийный срок эксплуатации оборудования для предупреждения и локализации взрывов пылевоздушных смесей в угольных шахтах с комплектом запасных частей при своевременном техническом обслуживании составляет не менее 12 мес. со дня отгрузки потребителю.
10.1. Общие требования
10.1.1. Перед поставкой на производство средств и оборудования по предупреждению и локализации взрывов пылевоздушных смесей в угольных шахтах должен быть проведен контроль выполнения требований безопасности по
ГОСТ 12.2.003,
ГОСТ Р 52274 и техническим условиям на конкретный вид оборудования.
10.1.2. Объем испытаний по выполнению требований безопасности устанавливается техническими условиями на конкретный вид оборудования.
10.1.3. Обеспечение требований безопасности для опытных образцов (партий) оборудования должно контролироваться при предварительных и приемочных испытаниях.
10.1.4. Обеспечение требований безопасности для оборудования серийного производства должно контролироваться в процессе приемо-сдаточных и квалификационных (сертификационных) периодических испытаний.
10.1.5. Все испытания (если их условия не оговорены особо) проводят:
- при температуре окружающей среды 298 °K +/- 10 °K (25 +/- 10) °C;
- относительной влажности от 45% до 80%;
- атмосферном давлении 84 - 106,7 кПа (630 - 800 мм. рт. ст.)
10.1.6. Оборудование, предоставленное на испытания, должно быть укомплектовано запасными частями, инструментом и принадлежностями в соответствии с нормативной документацией (НД).
10.1.7. При испытании оборудования, содержащего газогенератор и (или) пирозаряд (детонатор), необходимо соблюдать требования [
2,
3].
10.2. Методы проведения испытаний
10.2.1. Методы проведения испытаний заслонов для локализации взрывов угольной пыли
10.2.1.1. Испытания заслонов для локализации взрывов угольной пыли направлены на оценку эффективности взрывозащиты и проводятся (в один этап) в экспериментальных штольнях или (в несколько этапов) на специализированных стендах.
10.2.1.2. Для надежной оценки эффективности взрывозащиты должно быть испытано не менее трех образцов заслонов одного типа.
10.2.1.3. Испытания в экспериментальных штольнях
10.2.1.3.1. В экспериментальных штольнях допускается испытывать сланцевые, водяные и автоматические взрыволокализующие заслоны.
10.2.1.3.2. Экспериментальная штольня должна иметь сечение не менее 7 м2 и длину не менее 250 м.
10.2.1.3.3. Объем метановой камеры, инициирующей взрыв пылевоздушной смеси, должен быть не менее 50 м3. Содержание метана в метановоздушной смеси 8% - 8,6%.
10.2.1.3.4. Угольная пыль размещается на специальных полках или распыляется по поверхности штольни на протяжении 160 м. Концентрация угольной пыли должна составлять 150 г/м3.
10.2.1.3.5. Заслон располагают на расстоянии 100 м от источника взрыва. Скорость фронта пламени при проведении испытаний средств локализации в пределах 100 - 300 м/с.
10.2.1.3.6. В процессе испытания необходимо измерять давление ударно-воздушной волны в диапазоне 0 - 390 кПа, скорости фронта пламени в диапазоне 100 - 300 м/с и ударно-воздушной волны в месте установки взрыволокализующего заслона.
10.2.1.4. Испытания на специализированных стендах
10.2.1.4.1. На специализированных стендах допускается испытывать автоматические взрыволокализующие заслоны. Сланцевые и водяные заслоны из-за их габаритов и пространственной протяженности можно испытывать только в экспериментальных штольнях.
10.2.1.4.2. На специализированных стендах допускается раздельное проведение испытаний - на контроль технических параметров заслонов, обеспечивающих формирование облака диспергированных огнетушащих веществ, и на способность взрыволокализующего облака к подавлению взрыва пылевоздушных смесей. При проведении приемочных и эксплуатационных испытаний разрешается использовать результаты ранее выполненных испытаний взрыволокализующего облака без их повторного проведения.
10.2.1.4.3. На первом этапе испытанию подвергается техническое средство локализации взрыва. Специализированный стенд должен обеспечивать формирование ударной воздушной волны (физического воздействия на заслон) в пределах 0 - 390 кПа.
10.2.1.4.4. В процессе испытания измеряют давление ударно-воздушной волны, длительность его импульса и рабочие параметры взрыволокализующего заслона.
10.2.1.4.5. На втором этапе испытания проверяется способность огнетушащего вещества взрыволокализующего заслона формировать облако во взвешенном состоянии и выполнять функции ингибирования среды для предотвращения распространения реакции взрывчатой взвеси угольной пыли.
10.2.1.4.6. В процессе испытания измеряется концентрация огнетушащего вещества в облаке, необходимая для надежной локализации взрыва. Измеренная концентрация не должна превышать значений, заложенных в параметрах автоматического взрыволокализующего заслона.
10.2.2. Методы проведения испытаний средств и оборудования по предупреждению взрывов угольной пыли
10.2.2.1. Средства и оборудование по предупреждению взрывов угольной пыли проверяются на работоспособность, обеспечивающую отсутствие ее неосланцованных или несвязанных отложений на всем протяжении выработок. Контроль пылевзрывобезопасности должен проводиться визуально для выявления неосланцованных или несвязанных отложений угольной пыли. Осланцованная выработка считается пылевзрывобезопасной, если в ней нет поверхностей, не покрытых инертной пылью.
10.2.2.2. Пылевзрывобезопасность выработок, в которых применяются способы предупреждения взрывов, основанные на использовании воды, при отсутствии видимых отложений сухой несвязанной угольной пыли определяется методом сдувания при помощи пневматической груши.
10.2.2.3. Сдуваемость угольной пыли должна проверяться на боках, кровле и почве выработки в начале, середине и конце участков с интенсивным пылеотложением. При этом на участке вентиляционной выработки на протяжении 200 м от лавы сдуваемость пыли проверяется у окна лавы, в 25 - 50 м от него и через 50 м на последующих 150 м, а в выработках с конвейерной доставкой угля - в 5 - 10 м по обе стороны от перегрузочных пунктов.
На остальном протяжении горных выработок шахты сдуваемость пыли должна проверяться в местах ее возможного скопления.
Если в результате осмотра на боках, кровле, почве и на других поверхностях обнаружена сухая угольная пыль или под действием воздушной струи пневматической груши появляется заметное облако пыли, выработка считается пылевзрывоопасной.
10.2.2.4. На участках выработок с интенсивным пылеотложением дополнительно проверяется качество связывания отложившейся на почве пыли и просыпавшейся мелочи ее сжатием в руке. Увлажненные до требуемого состояния пыль и мелочь, сжатые в кулак, должны комковаться.
10.2.2.5. В выработках с гидропылевзрывозащитой отбор проб угольной пыли и мелочи с почвы выполняется для лабораторного определения содержания влаги, а в осланцованных выработках - для проверки содержания негорючих веществ (когда пыль и угольная мелочь на почве находятся в состоянии шлама, пробы на влагу не отбирают).
10.2.2.6. Отбор проб осланцованной пыли проводится сметанием ее волосяной щеткой в совок с боков и кровли выработки сплошной полосой шириной 300 - 500 мм. С почвы пыль отбирают (если это возможно) одноразовым сметанием при легком нажатии щеткой на слой пыли, просеивают на месте через сито с сеткой N 06 и высыпают в банку, которая плотно закрывается крышкой. Масса пробы должна быть не менее 100 г.
Во избежание уноса пыли вентиляционной струей при просеивании сито должно быть снабжено крышкой и поддоном.
11. ОБРАБОТКА И ОФОРМЛЕНИЕ РЕЗУЛЬТАТОВ ИСПЫТАНИЙ
11.1. Результаты испытаний должны быть обработаны для сравнения их со значениями, установленными в настоящем стандарте и НД на оборудование и средства по предупреждению и локализации взрывов пылевоздушных смесей.
11.2. Обработку результатов проводят в соответствии с инструкциями по применению используемых средств измерений.
11.3. Результаты оформляют в виде акта или протокола в соответствии с рабочими методиками испытаний.
[1]
Правила безопасности в угольных шахтах (ПБ 05-618-03). Утверждены
Постановлением Госгортехнадзора России от 05.06.03 N 50,
зарегистрированным Министерством юстиции Российской Федерации
19.06.2003 г., регистрационный N 4737
[2] Безопасность при взрывных работах: Сборник документов. Серия 13.
Выпуск 1/Колл. авт. - 2-е изд., испр. и доп. - М.: Государственное
унитарное предприятие "Научно-технический центр по безопасности в
промышленности Госгортехнадзора России", 2002 - 248 стр.
[3]
Постановление Правительства Российской Федерации от 12.07.2000 г. N
513 "О мерах по усилению государственного контроля
за производством, распространением и применением взрывчатых веществ
и отходов их производства, а также средств взрывания, порохов
промышленного назначения и пиротехнических изделий в Российской
Федерации" (совместно с правилами составления и ведения баланса
производства, распространения и применения взрывчатых материалов
промышленного назначения)