Главная // Актуальные документы // ГОСТ Р (Государственный стандарт)СПРАВКА
Источник публикации
М.: Стандартинформ, 2016
Примечание к документу
Документ
введен в действие с 1 июня 2016 года.
Название документа
"ГОСТ Р 54607.5-2015. Национальный стандарт Российской Федерации. Услуги общественного питания. Методы лабораторного контроля продукции общественного питания. Часть 5. Методы определения жира"
(утв. и введен в действие Приказом Росстандарта от 19.11.2015 N 1885-ст)
"ГОСТ Р 54607.5-2015. Национальный стандарт Российской Федерации. Услуги общественного питания. Методы лабораторного контроля продукции общественного питания. Часть 5. Методы определения жира"
(утв. и введен в действие Приказом Росстандарта от 19.11.2015 N 1885-ст)
Утвержден и введен в действие
по техническому регулированию
и метрологии
от 19 ноября 2015 г. N 1885-ст
НАЦИОНАЛЬНЫЙ СТАНДАРТ РОССИЙСКОЙ ФЕДЕРАЦИИ
УСЛУГИ ОБЩЕСТВЕННОГО ПИТАНИЯ
МЕТОДЫ ЛАБОРАТОРНОГО КОНТРОЛЯ ПРОДУКЦИИ
ОБЩЕСТВЕННОГО ПИТАНИЯ
ЧАСТЬ 5
МЕТОДЫ ОПРЕДЕЛЕНИЯ ЖИРА
Public catering services. Methods of laboratory quality
control of products of public
catering. Part 5. Methods for determination of fat
ГОСТ Р 54607.5-2015
Дата введения
1 июня 2016 года
1 РАЗРАБОТАН Открытым акционерным обществом "Всероссийский научно-исследовательский институт сертификации" (ОАО "ВНИИС")
2 ВНЕСЕН Техническим комитетом по стандартизации ТК 347 "Услуги торговли и общественного питания"
3 УТВЕРЖДЕН И ВВЕДЕН В ДЕЙСТВИЕ
Приказом Федерального агентства по техническому регулированию и метрологии от 19 ноября 2015 г. N 1885-ст
4 Настоящий стандарт разработан на основе "Методических
указаний по лабораторному контролю качества продукции общественного питания", рекомендованных Министерством торговли СССР 11 ноября 1991 г. N 1-40/3805, одобренных Министерством здравоохранения СССР 23 октября 1991 г. N 122-5/72
5 ВВЕДЕН ВПЕРВЫЕ
Правила применения настоящего стандарта установлены в ГОСТ Р 1.0-2012
(раздел 8). Информация об изменениях к настоящему стандарту публикуется в ежегодном (по состоянию на 1 января текущего года) информационном указателе "Национальные стандарты", а официальный текст изменений и поправок - в ежемесячном информационном указателе "Национальные стандарты". В случае пересмотра (замены) или отмены настоящего стандарта соответствующее уведомление будет опубликовано в ближайшем выпуске ежемесячного информационного указателя "Национальные стандарты". Соответствующая информация, уведомление и тексты размещаются также в информационной системе общего пользования - на официальном сайте Федерального агентства по техническому регулированию и метрологии в сети Интернет (www.gost.ru)
Настоящий стандарт распространяется на продукцию общественного питания и устанавливает следующие методы определения массовой доли жира:
- определение массовой доли жира по обезжиренному остатку (основной метод);
- весовой метод с экстракцией жира в микроразмельчителе тканей;
- метод Гербера.
Настоящий стандарт не распространяется на методы определения массовой доли жира в блюдах и изделиях из рубленой массы рыбы, а также на кондитерские и хлебобулочные изделия.
В настоящем стандарте использованы нормативные ссылки на следующие стандарты:
ГОСТ 83-79 Реактивы. Натрий углекислый. Технические условия
ГОСТ 1770-74 (ИСО 1042-83, ИСО 4788-80) Посуда мерная лабораторная стеклянная. Цилиндры, мензурки, колбы, пробирки. Общие технические условия
ГОСТ 4166-76 Реактивы. Натрий сернокислый. Технические условия
ГОСТ 5556-81 Вата медицинская гигроскопическая. Технические условия
ГОСТ 5830-79 Реактивы. Спирт изоамиловый. Технические условия
ГОСТ 9147-80 Посуда и оборудование лабораторные фарфоровые. Технические условия
ГОСТ 10576-74 Часы песочные любого номинала
ГОСТ 12026-76 Бумага фильтровальная лабораторная. Технические условия
ГОСТ 21400-75 Стекло химико-лабораторное. Технические требования. Методы испытаний
ГОСТ 25336-82 Посуда и оборудование лабораторные стеклянные Типы, основные параметры и размеры
ГОСТ 28498-90 Термометры жидкостные стеклянные. Общие технические требования. Методы испытаний
ГОСТ 29227-91 Посуда лабораторная стеклянная. Пипетки градуированные. Часть 1. Общие требования
ГОСТ Р ИСО 5725-6-2002 Точность (правильность и прецизионность) методов и результатов измерений. Часть 6. Использование значений точности на практике
ГОСТ Р 53228-2008 Государственная система обеспечения единства измерений. Весы неавтоматического действия. Часть 1. Метрологические и технические требования. Испытания
ГОСТ Р 54607.1-2011 Услуги общественного питания. Методы лабораторного контроля продукции общественного питания. Часть 1. Отбор проб и подготовка к физико-химическим испытаниям
ГОСТ Р 54607.2-2012 Услуги общественного питания. Методы лабораторного контроля продукции общественного питания. Часть 2. Методы физико-химических испытаний
ГОСТ Р 55878-2013 Спирт этиловый технический гидролизный ректификованный. Технические условия
Примечание - При пользовании настоящим стандартом целесообразно проверить действие ссылочных стандартов в информационной системе общего пользования - на официальном сайте Федерального агентства по техническому регулированию и метрологии в сети Интернет или по ежегодному информационному указателю "Национальные стандарты", который опубликован по состоянию на 1 января текущего года, и по выпускам ежемесячного информационного указателя "Национальные стандарты" за текущий год. Если заменен ссылочный стандарт, на который дана недатированная ссылка, то рекомендуется использовать действующую версию этого стандарта с учетом всех внесенных в данную версию изменений. Если заменен ссылочный стандарт, на который дана датированная ссылка, то рекомендуется использовать версию этого стандарта с указанным выше годом утверждения (принятия). Если после утверждения настоящего стандарта в ссылочный стандарт, на который дана датированная ссылка, внесено изменение, затрагивающее положение, на которое дана ссылка, то это положение рекомендуется применять без учета данного изменения. Если ссылочный стандарт отменен без замены, то положение, в котором дана ссылка на него, рекомендуется применять в части, не затрагивающей эту ссылку.
3. Требования к помещениям и условиям окружающей среды
Требования к помещениям и условиям окружающей среды испытательных лабораторий должны соответствовать ГОСТ Р 54607.2,
раздел 4.
4. Требования безопасности
Требования безопасности при проведении испытаний в испытательных лабораториях должны соответствовать ГОСТ Р 54607.2,
раздел 5.
5. Требования к компетентности специалистов
Требования к компетентности специалистов испытательных лабораторий должны соответствовать ГОСТ Р 54607.2,
раздел 6.
Применение конкретных методов определения жиров в блюдах и изделиях конкретных видов и наименований устанавливают в соответствии с ГОСТ Р 54607.2
(таблица 6).
7. Методы определения жира
7.1. Определение массовой доли жира по обезжиренному остатку (основной метод)
7.1.1 Сущность метода
Метод основан на экстракции жира из исследуемого продукта в экстракционном аппарате Сокслета и последующем гравиметрическом определении количества жира по разности между навеской исследуемого вещества до и после экстракции. Метод применяют при возникновении разногласий относительно результатов измерений.
7.1.2 Средства измерений, вспомогательные устройства, посуда и реактивы
Весы неавтоматического действия по
ГОСТ Р 53228 специального (I) класса точности с пределами допускаемой абсолютной погрешности +/- 0,001 г или весы лабораторные, внесенные в Государственный реестр средств измерений, с пределами допускаемой абсолютной погрешности +/- 0,001 г, поверенные в установленном порядке
Экстракционный аппарат Сокслета, с экстракционной колбой вместимостью 150 см3.
Баня электрическая песочно-водяная, обеспечивающая нагревание от 20 °C до 170 °C.
Шкаф сушильный лабораторный с диапазоном нагрева от 50 °C до 350 °C и терморегулятором, обеспечивающим поддержание заданной температуры с погрешностью +/- 0,5 °C.
Фарфоровая чашка 1-4 по
ГОСТ 9147 или часовое стекло.
Бюксы стеклянные СВ 14/8 по
ГОСТ 25336 или бюкса металлическая.
Вата медицинская гигроскопическая по
ГОСТ 5556.
Кальций хлористый плавленый х.ч.
Эфир петролейный, температурой кипения от 40 °C до 60 °C, или эфир этиловый.
7.1.3 Отбор и подготовка проб
7.1.4 Проведение испытания
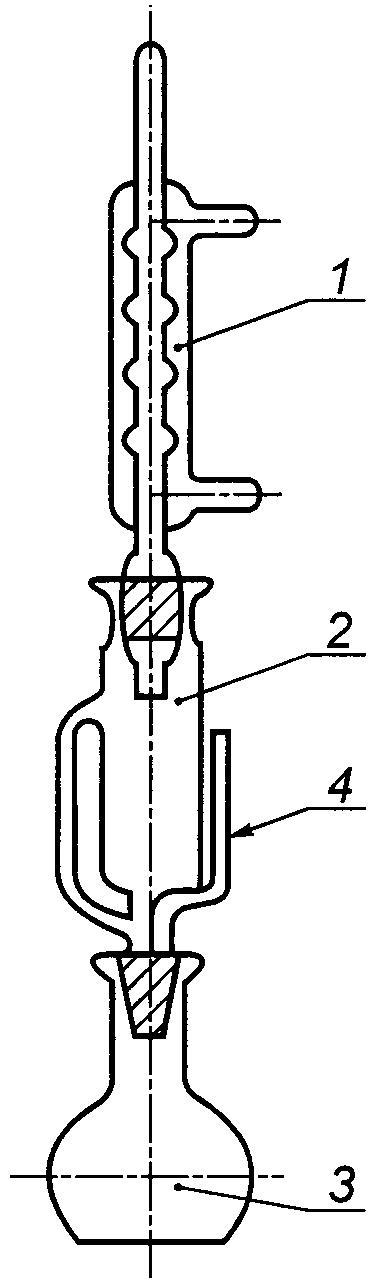
Экстрагирование жира проводят в экстракционном аппарате Сокслета.
Собирают аппарат Сокслета, как показано на рисунке 1.
1 - холодильник; 2 - экстрактор; 3 - экстракционная колба;
4 - сифонная трубка
Рисунок 1 - Экстракционный аппарат Сокслета
Тщательно измельченную пробу перемешивают и, не давая отслоиться жиру, быстро отбирают навеску массой около 5 г (результат взвешивания записывают до третьего десятичного знака) в фарфоровую чашку или на часовое стекло, помещают в сушильный шкаф и высушивают в течение 3 - 4 ч при температуре (100 +/- 2) °C. Высушенную навеску количественно переносят на заранее высушенный прямоугольный кусок фильтровальной бумаги размерами 6 x 7 см.
Чашку или часовое стекло протирают небольшим кусочком ваты, смоченной эфиром, и эту вату присоединяют к навеске на фильтровальной бумаге.
Затем фильтровальную бумагу с навеской завертывают в виде пакета. Для предотвращения возможных потерь пакеты завертывают в несколько больших кусков предварительно высушенной фильтровальной бумаги размерами 7 x 8 см так, чтобы линии загиба обоих пакетов не совпадали.
Бумажный пакет с навеской и кусочком ваты помещают в высокую бюксу или на часовое стекло, высушивают для удаления эфира в сушильном шкафу при температуре (100 +/- 2) °C в течение 10 - 15 мин и после охлаждения в эксикаторе до комнатной температуры взвешивают с записью результата до третьего десятичного знака.
Приготовленный таким образом пакет помещают в экстрактор аппарата и подвергают экстрагированию петролейным или этиловым эфиром. Эфир должен быть предварительно очищен от перекисей, высушен хлористым кальцием или сернокислым натрием и перегнан. Количество эфира, вливаемого в экстрактор аппарата, должно быть достаточным, чтобы он по сифонной трубке переливался в колбочку. Нагревают на электрической водяной бане до температуры 170 °C.
При перерыве в работе пакет в экстракторе должен оставаться погруженным в эфир.
Для определения окончания экстрагирования на часовое стекло наносят каплю растворителя, стекающего из экстрактора, и если на стекле после испарения эфира не остается жирового пятна, экстрагирование считают законченным. После полного извлечения жира пакет вынимают из экстрактора, помещают в бюксы или на часовые стекла, на которых пакеты взвешивались до экстракции, и высушивают сначала 20 - 30 мин в вытяжном шкафу для удаления эфира, а затем 1,5 - 2,0 ч в сушильном шкафу при температуре (100 +/- 2) °C и взвешивают с записью результата до третьего десятичного знака.
7.1.5 Обработка результатов
Массовую долю жира X, %, вычисляют по формуле

, (1)
где m - масса навески продукта, г;
m1 - масса бюксы или часового стекла и пакета с сухой навеской и с кусочком ваты до экстрагирования, г;
m2 - масса бюксы или часового стекла и пакета с сухой навеской и с кусочком ваты после экстрагирования, г.
Вычисления проводят до второго десятичного знака.
За окончательный результат, округленный до первого десятичного знака, принимают среднее арифметическое значение двух результатов измерений, выполненных в условиях повторяемости, если соблюдается условие приемлемости по
7.5.1.
7.2. Весовой метод с экстракцией жира в микроразмельчителе тканей
7.2.1 Сущность метода
Метод основан на извлечении жира из навески растворителем в микроразмельчителе тканей и фильтровании экстракта с определением в нем жира (взвешиванием) после удаления растворителя и предназначен для определения его в полуфабрикатах, блюдах и изделиях согласно ГОСТ Р 54607.2
(таблица 6).
7.2.2 Средства измерений, вспомогательные средства, посуда и материалы
Весы неавтоматического действия по
ГОСТ Р 53228 специального (I) класса точности с пределами допускаемой абсолютной погрешности +/- 0,001 г или весы лабораторные, внесенные в Государственный реестр средств измерений, с пределами абсолютной погрешности +/- 0,001 г, поверенные в установленном порядке.
Микроразмельчитель тканей со скоростью вращения ножей 3000 - 5000 об/мин.
Шкаф сушильный лабораторный с диапазоном нагрева от 50 °C до 350 °C и терморегулятором обеспечивающим поддержание заданной температуры с погрешностью +/- 0,5 °C.
Бюксы стеклянные СВ 14/8 по
ГОСТ 25336 или бюкса металлическая.
Стекло часовое.
Баня электрическая песочно-водяная, обеспечивающая нагревание от 20 °C до 170 °C.
Часы песочные на 2 мин по ГОСТ 10576.
Метилхлороформ.
Эфир петролейный.
Натрий углекислый безводный по
ГОСТ 83, ч.д.а. или натрий сернокислый безводный по
ГОСТ 4166 или гидрофосфат натрия безводный.
7.2.3 Отбор и подготовка проб
7.2.4 Проведение испытания
Отбирают навеску массой около 2 г (результат взвешивания записывают до третьего десятичного знака) в предварительно взвешенную пробирку микроразмельчителя, установив ее для устойчивости в резиновую подставку. К навеске добавляют цилиндром 15 см3 экстрагирующей смеси, состоящей из хлороформа и этилового спирта (в соотношении 2:1) или из метилхлороформа и этилового спирта (в том же соотношении), или петролейного эфира. Для связывания воды, содержащейся в навеске исследуемого продукта, в пробирку добавляют углекислый натрий безводный, или гидрофосфат натрия безводный, или сернокислый натрий безводный; при этом учитывают, что 1 г углекислого натрия безводного или гидрофосфата натрия безводного связывает приблизительно 1,7 г воды, 1 г сернокислого натрия безводного связывает около 1,25 г воды. Чтобы гарантировать полное связывание воды, добавляют еще 2 - 2,5 г указанных реактивов. Пробирку помещают в контейнер микроразмельчителя и проводят экстракцию жира в течение 4 мин. Затем смесь накрывают часовым стеклом и оставляют на 5 - 7 мин для оседания взвешенных частиц. Пробирку снимают, раствор жира осторожно сливают в воронку с вложенным фильтром или гигроскопической ватой и фильтруют в сухую мерную колбу вместимостью 25 см3. Остатки навески промывают два раза небольшими порциями (3 - 4 см3) экстрагирующей смеси, фильтруя в ту же колбу. Содержимое колбы доводят до метки экстрагирующей смесью и тщательно перемешивают <1>. Затем отбирают пипеткой до 10 см3 экстракта и переносят в предварительно высушенные и взвешенные металлические бюксы. Для удаления растворителей бюксы нагревают на водяной или песочной бане <2> (под тягой) до исчезновения запаха растворителей. После этого бюксы с жиром помещают в сушильный шкаф и досушивают в течение 15 - 20 мин при температуре (102 +/- 2) °C, охлаждают в эксикаторе и взвешивают.
--------------------------------
<1> При отсутствии микроразмельчителя тканей экстракцию жира из навески растворителем следует проводить под тягой в колбе вместимостью 150 см3 в течение 1 ч при периодическом взбалтывании содержимого колбы.
<2> Температура песочной бани должна быть не выше 120 °C.
7.2.5 Обработка результатов измерений
Массовую долю X жира, в %, вычисляют по формуле

, (2)
где m1 - масса бюксы с жиром, г;
m0 - масса пустой бюксы, г;
25 - общий объем экстракта, см3;
m - масса навески блюда (изделия), г;
10 - объем экстракта, отобранный для выпаривания, см3.
Вычисления проводят до второго десятичного знака.
За окончательный результат, округленный до первого десятичного знака, принимают среднее арифметическое значение двух результатов измерений, выполненных в условиях повторяемости, если соблюдается условие приемлемости по
7.5.1.
7.3.1 Сущность метода
Метод основан на разрушении белков исследуемого продукта концентрированной серной кислотой и растворении жира в изоамиловом спирте.
При определении жира используют жиромеры с пределами измерений массовой доли жира от 0% до 6% и от 0% до 7% с ценой деления 0,1% (0,01133 г жира).
Метод Гербера используют для определения жира в полуфабрикатах, блюдах и изделиях согласно ГОСТ Р 54607.2
(таблица 6).
7.3.2 Средства измерений, вспомогательные средства, посуда и материалы
Весы неавтоматического действия по
ГОСТ Р 53228 специального (I) класса точности с пределами допускаемой абсолютной погрешности +/- 0,001 г или весы лабораторные, внесенные в Государственный реестр средств измерений, с пределами абсолютной погрешности +/- 0,001 г и поверенные в установленном порядке.
Центрифуга вместимостью 8 жиромеров, с предварительно выбранной температурой 65 °C, центробежной силой (350 +/- 50) г, предварительным временем обогревания 20 мин максимально, с регулируемым таймером выключения от 0 до 30 мин.
Баня электрическая водяная, обеспечивающая поддержание температуры (65 +/- 2) °C.
Жиромеры (бутирометры) стеклянные с резиновыми пробками исполнения 1 - 6 по
ГОСТ 23094.
Автопипетки на 1 и 10 см3.
Штатив для жиромеров.
Термометр жидкостный стеклянный с диапазоном измерения от 0 °C до 100 °C, ценой деления 0,1 °C по
ГОСТ 28498.
Стеклянные палочки с оплавленным концом.
Кислота серная плотностью 1,50 - 1,55; 1,80 - 1,81; 1,81 - 1,82 г/см3.
7.3.3 Отбор и подготовка проб
7.3.4 Проведение испытания
7.3.4.1 В фарфоровую чашку или стеклянный стакан отбирают навеску подготовленной пробы кулинарного изделия или блюда массой: первого блюда 5 - 7 г, второго 3 - 5 г, второго блюда с влажностью до 10% - 2,0 - 2,5 г, соусов красного, белого - 5 г, соуса сметанного - 2 г, сладкого блюда - 5 г, холодного блюда - 5 г с записью результата взвешивания до второго десятичного знака. К навеске добавляют 10 см
3 серной кислоты плотностью 1,50 - 1,55 г/см
3, нагревают на водяной бане до полного растворения навески, после чего сливают жидкость в жиромер. Сливать следует так, чтобы горлышко жиромера оставалось сухим. Стакан ополаскивают два - три раза небольшим количеством серной кислоты, сливая ее в жиромер. Затем в жиромер вливают 1 см
3 изоамилового спирта, добавляют такое количество серной кислоты, чтобы она не доходила на 5 - 10 мм до горлышка жиромера, закрывают сухой резиновой пробкой и, обернув полотенцем, осторожно встряхивают. Затем жиромер, перевернув пробкой вниз, помещают на 5 мин в водяную баню температурой (65 +/- 2) °C, периодически встряхивая. При этом продолжается растворение навески. Вынув жиромер из водяной бани, его обтирают, вставляют расширенной частью в патроны центрифуги, располагая симметрично один против другого, и центрифугируют 5 мин со скоростью 1300 - 1500 об/мин. Затем жиромер снова помещают на 5 мин в водяную баню температурой (65 +/- 2) °C и, вынув из бани, производят отсчет делений, занимаемых выделившимся жиром. Для этого жиромер держат вертикально так, чтобы верхняя граница жира находилась на уровне глаз. Двигая пробку вверх и вниз, устанавливают нижнюю границу столбика жира на целом делении шкалы жиромера и от него отсчитывают число делений до нижней точки мениска жирового столбика. Граница раздела жира и кислоты должна быть резкой, а столбик жира прозрачным. Если в градуированной части жиромера образовалось буроватое кольцо (пробка) или в столбике жира оказались примеси, анализ проводят повторно.
Если при описанном режиме извлечение жира будет неполным, центрифугирование и нагревание жиромера в водяной бане повторяют два - три раза.
7.3.4.2 Обработка результатов
Массовую долю жира X, % в порции блюда, вычисляют по формуле

, (3)
где a - число мелких делений жиромера, занятых выделившимся жиром;
0,1 - объем деления жиромера, %;
m - масса исследуемого блюда (изделия), г;
m1 - масса навески, г.
Вычисления проводят до второго десятичного знака.
За окончательный результат, округленный до первого десятичного знака, принимают среднее арифметическое значение двух результатов измерений, выполненных в условиях повторяемости, если соблюдается условие приемлемости по
7.5.1.
7.3.4.4 Анализ результатов
Полученные данные сравнивают с нормой жира по рецептуре с учетом коэффициента открываемости жира этим методом (см. таблицы 1,
2).
Таблица 1
Массовая доля жира, открываемая методом Гербера в блюдах
и кулинарных изделиях конкретных видов
Наименование блюда (изделия) | Массовая доля жира, % (коэффициент), не менее |
Салаты и закуски | |
Салаты мясные и овощные | 80 |
Салаты рыбные | 90 |
Салат из зеленого лука со сметаной | 90 |
Салаты из свежей и квашеной капусты | 70 |
Салаты из свежих огурцов, помидоров, редиса со сметаной | 85 |
Свекла со сметаной | 85 |
Салат из сырой тертой моркови со сметаной | 90 |
Паштеты из печени | 90 |
Винегреты | 80 |
Редька тертая со сметаной | 90 |
Редька тертая с маслом | 85 |
Творог со сметаной и сахаром | 95 |
Супы | |
Супы-пюре из круп | 80 |
Супы-пюре овощные | 70 |
Супы картофельные | 80 |
Супы картофельные с овощами, крупой, бобовыми, макаронными изделиями | 75 |
Супы с макаронными изделиями | 80 |
Суп рисовый молочный | 75 |
Щи, борщи, рассольники | 70 |
Супы молочные с манной, пшеничной, ячневой и другими крупами и макаронными изделиями | 80 |
Окрошка | 80 |
Мясные блюда | |
Азу по-татарски, жаркое по-домашнему (мясо, соус и овощи) | 70 |
Бефстроганов (мясо и соус) | 80 |
Гуляш из говядины (мясо и соус) | 75 |
Голубцы с мясом и рисом (с соусом) | 75 |
Мясо, тушенное крупными и порционными кусками (мясо и соус) | 80 |
Антрекот, лангет из мяса I категории | |
Антрекот, лангет из мяса II категории | |
Ромштекс из мяса I категории | |
Ромштекс из мяса II категории | |
Колбаса жареная | |
Печень по-строгановски и печень, жаренная в сметанном соусе (печень и соус) | 70 |
Рагу из баранины (мясо и соус) | 70 |
Котлеты, биточки, шницели, тефтели мясные | |
Рыбные блюда | |
Котлеты, биточки, тефтели | 70 (1) |
Рыба, жаренная куском (не пластованная) | 55 (1) |
Филе, жаренное с кожей и хребтовой костью | 55 (1) |
Филе, жаренное с кожей без хребтовой кости | |
Осетрина, жаренная куском | |
Овощные блюда | |
Котлеты и запеканки овощные | |
Овощи жареные | 75 |
Капуста отварная с маслом или соусом | 80 |
Капуста тушеная квашеная | 75 |
Капуста тушеная свежая | 80 |
Картофельное пюре | 90 |
Картофель жареный (основным способом) | 80 |
Овощи отварные, тушеные | 80 |
Овощи в молочном или сметанном соусе (припущенные) | 80 |
Картофель и овощи, тушенные в соусе | 70 |
Блюда из круп и бобовых | |
Каши | |
пшеничная, рисовая, манная | 80 |
перловая, овсяная, гречневая | 70 |
Бобовые (чечевица, горох, фасоль) с жиром | 70 |
Запеканки | 80 |
Биточки, котлеты | 70 |
Блюда и изделия из творога | |
Сырники (полуфабрикат) | 90 |
Сырники жареные | |
Мучные блюда и изделия и блюда из макаронных изделий: | |
Оладьи | |
Блины | |
Блинчики с мясом | |
Макароны отварные | 75 |
Вермишель отварная | 85 |
Соусы | |
Белые | 75 |
Сметанные и молочные | 80 |
Красные, грибные | 70 |
<1> Коэффициент следует учитывать при расчете рецептур и анализе содержания жира во всем блюде в случае определения количества основных пищевых веществ и энергетической ценности блюд. <2> Коэффициент следует учитывать для основного изделия. При отпуске котлет и запеканок с соусом следует учитывать коэффициент соуса по таблице 1. <3> Коэффициент следует учитывать для основного изделия при расчете рецептур и анализе содержания жира во всем блюде. <4> Коэффициент следует учитывать для основного изделия при расчете рецептур и анализе содержания жира во всем блюде; при этом жир, используемый для выпечки изделий, не учитывают. <5> Коэффициент следует учитывать при расчете и анализе содержания жира во всем блюде; при этом жир, используемый для выпечки блинчиков, не учитывают. |
Таблица 2
Перечень кулинарных изделий, отнесенных к аналогичным
изделиям с открываемой массовой долей жира по методу Гербера
Кулинарные изделия, на которые норматив открываемости жира не установлен | Кулинарные изделия, к которым может быть отнесено изделие в качестве аналога норматива открываемости в них жира для других изделий |
Холодные блюда |
Паштет мясной | Паштет из печени |
Супы |
Холодные борщи | Окрошка |
Мясные блюда |
Субпродукты в соусе, почки по-русски | Азу |
Печень тушеная | Гуляш |
Поджарка | Бефстроганов |
Бифштекс рубленый | Котлеты, биточки, шницели из мяса II категории |
Зразы рубленые | Голубцы с мясом и рисом |
Кабачки, баклажаны, перец, помидоры, фаршированные мясом |
Плов | Гуляш |
Овощные блюда |
Овощи припущенные | Овощи тушеные |
Рагу из овощей | Овощи тушеные |
Картофель отварной, картофель в молоке | Картофельное пюре |
Каша из тыквы | Картофельное пюре |
Кабачки, голубцы, фаршированные овощами, перец, фаршированный овощами | Овощи жареные |
Икра баклажанная, из кабачков, зеленых помидоров | Овощи тушеные |
Блюда из творога |
Запеканки, пудинги из творога | Сырники |
7.3.4.5 Для определения массовой доли жира в творожных полуфабрикатах и творожных изделиях в жиромере взвешивают анализируемый продукт массой 5 г и добавляют 5 см
3 дистиллированной воды. По стенке слегка наклоненного жиромера вливают 10 см
3 серной кислоты плотностью 1,81 - 1,82 г/см
3 (при анализе сладких творожных изделий - плотностью 1,80 - 1,81 г/см
3) и 1 см
3 изоамилового спирта. Закрыв жиромер пробкой, его два - три раза перевертывают. Подогревание жиромеров перед центрифугированием и дальнейший анализ проводят, как указано в
7.3.4.1. Расчет массовой доли жира проводят по
формуле (3).
7.3.4.6 Для определения массовой доли жира в молочных коктейлях в жиромер взвешивают 5 г коктейля, приливают 16 см
3 серной кислоты плотностью 1,50 - 1,55 г/см
3 так, чтобы уровень жидкости был на 4 - 6 см ниже основания жиромера. Затем добавляют 1 см
3 изоамилового спирта, закрывают жиромер пробкой и проводят определение, как указано выше, применяя четырехкратное центрифугирование (со скоростью не менее 1000 об/мин) и подогревание на водяной бане при температуре (65 +/- 2) °C по 5 мин перед каждым центрифугированием и отсчетом после последнего центрифугирования. Расчет содержания массовой доли жира проводят по
формуле (3). За норму массовой доли жира принимают суммарное содержание его в продуктах, входящих в коктейль. Допустимые отклонения в массовой доли жира +/- 10%.
7.4. Метрологические характеристики методов определения массовой доли жира в продукции общественного питания
Метрологические характеристики методов определения массовой доли жира в продукции общественного питания приведены в таблице 3.
Таблица 3
Метрологические характеристики методов определения массовой
доли жира в продукции общественного питания
Метод измерений | Предел повторяемости r, %, P = 0,95 | Предел воспроизводимости R, %, P = 0,95 | Границы абсолютной погрешности  , %, P = 0,95 |
Определение массовой доли жира по обезжиренному остатку (арбитражный метод) | 0,5 | 0,7 | 0,5 |
Весовой метод с экстракцией жира в микроизмельчителе тканей | 0,6 | 1,0 | 0,7 |
Метод Гербера | 0,8 | 1,5 | 1,0 |
7.5. Контроль точности результатов
7.5.1 Проверка приемлемости результатов измерений, полученных в условиях повторяемости
Проверку приемлемости результатов измерений массовой доли жира в анализируемых пробах, полученных в условиях повторяемости (два параллельных определения,
n = 2), проводят с учетом положений ГОСТ Р ИСО 5725-6
(пункт 5.2.2). Результаты измерений считаются приемлемыми при условии
|X1 - X2| <= r, (4)
где X1 и X2 - значения результатов двух параллельных определений массовой доли жира в анализируемых пробах, полученные в условиях повторяемости, %;
r - предел повторяемости (сходимости), значения которого приведены в
таблице 3, %.
Если данное условие не выполняется, то проводят повторное определение и проверку приемлемости результатов измерений в условиях повторяемости в соответствии с ГОСТ Р ИСО 5725-6
(пункт 5.2.2).
При повторном превышении установленного норматива выясняют причины, приводящие к неудовлетворительным результатам анализа.
7.5.2 Проверка приемлемости результатов измерений, полученных в условиях воспроизводимости
Проверку приемлемости результатов измерений массовой доли жира в анализируемых пробах, полученных в условиях воспроизводимости (в двух лабораториях,
m = 2), проводят с учетом положений ГОСТ Р ИСО 5725-6
(подпункт 5.3.2.1). Результаты измерений считаются приемлемыми при условии
|X1 - X2| <= R, (5)
где X1 и X2 - значения результатов двух определений массовой доли жира в анализируемых пробах, полученные в двух лабораториях в условиях воспроизводимости, %;
R - предел воспроизводимости, значения которого приведены в
таблице 3, %.
Если данное условие не выполняется, то проводят процедуры в соответствии с положениями ГОСТ Р ИСО 5725-6
(пункт 5.3.3).