Главная // Актуальные документы // ГОСТ Р (Государственный стандарт)
СПРАВКА
Источник публикации
М.: Стандартинформ, 2017
Примечание к документу
Документ введен в действие с 01.06.2018.
Название документа
"ГОСТ Р 57674-2017. Национальный стандарт Российской Федерации. Интегрированные системы безопасности. Общие положения"
(утв. и введен в действие Приказом Росстандарта от 19.09.2017 N 1142-ст)

"ГОСТ Р 57674-2017. Национальный стандарт Российской Федерации. Интегрированные системы безопасности. Общие положения"
(утв. и введен в действие Приказом Росстандарта от 19.09.2017 N 1142-ст)


Содержание


Утвержден и введен в действие
Приказом Федерального агентства
по техническому регулированию
и метрологии
от 19 сентября 2017 г. N 1142-ст
НАЦИОНАЛЬНЫЙ СТАНДАРТ РОССИЙСКОЙ ФЕДЕРАЦИИ
ИНТЕГРИРОВАННЫЕ СИСТЕМЫ БЕЗОПАСНОСТИ
ОБЩИЕ ПОЛОЖЕНИЯ
Integrated security systems. General
ГОСТ Р 57674-2017
Группа П77
ОКС 13.320
ОКП 43 7200
Дата введения
1 июня 2018 года
Предисловие
1 РАЗРАБОТАН Федеральным казенным учреждением "Научно-исследовательский центр "ОХРАНА" Федеральной службы войск национальной гвардии Российской Федерации (ФКУ "НИЦ "ОХРАНА" Росгвардии) и группой экспертов от компаний - членов ТК 234: ЗАО НВП "Болид", ЗАО "Аргус-Спектр", НПФ ООО "Сигма", ООО "Кодос-Б", ООО НПП "АСБ "Рекорд"
2 ВНЕСЕН Техническим комитетом по стандартизации ТК 234 "Системы тревожной сигнализации и противокриминальной защиты"
3 УТВЕРЖДЕН И ВВЕДЕН В ДЕЙСТВИЕ Приказом Федерального агентства по техническому регулированию и метрологии от 19 сентября 2017 г. N 1142-ст
4 ВВЕДЕН ВПЕРВЫЕ
Правила применения настоящего стандарта установлены в статье 26 Федерального закона от 29 июня 2015 г. N 162-ФЗ "О стандартизации в Российской Федерации". Информация об изменениях к настоящему стандарту публикуется в ежегодном (по состоянию на 1 января текущего года) информационном указателе "Национальные стандарты", а официальный текст изменений и поправок - в ежемесячном информационном указателе "Национальные стандарты". В случае пересмотра (замены) или отмены настоящего стандарта соответствующее уведомление будет опубликовано в ближайшем выпуске ежемесячного информационного указателя "Национальные стандарты". Соответствующая информация, уведомление и тексты размещаются также в информационной системе общего пользования - на официальном сайте Федерального агентства по техническому регулированию и метрологии в сети Интернет (www.gost.ru)
1 Область применения
Настоящий стандарт распространяется на вновь разрабатываемые и модернизируемые интегрированные системы безопасности (далее - ИСБ), предназначенные для обеспечения противокриминальной защиты объектов разных категорий.
Настоящий стандарт устанавливает основные положения функционального назначения ИСБ, их состав, а также термины и определения для формирования единого технического языка в области ИСБ с перспективой его применения в разработке нормативно-технической документации.
2 Нормативные ссылки
В настоящем стандарте использованы нормативные ссылки на следующие стандарты:
ГОСТ 28195 Оценка качества программных средств. Общие положения
ГОСТ Р 50739 Средства вычислительной техники. Защита от несанкционированного доступа к информации. Общие технические требования
ГОСТ Р 51241 Средства и системы контроля и управления доступом. Классификация. Общие технические требования. Методы испытаний
ГОСТ Р 51558 Средства и системы охранные телевизионные. Классификация. Общие технические требования. Методы испытаний
ГОСТ Р 52551 Системы охраны и безопасности. Термины и определения
ГОСТ Р 53195.1 Безопасность функциональная связанных с безопасностью зданий и сооружений систем. Часть 1. Основные положения
ГОСТ Р 54126 Оповещатели охранные. Классификация. Общие технические требования и методы испытаний
ГОСТ Р 54830 Системы охранные телевизионные. Компрессия оцифрованных видеоданных. Общие технические требования и методы оценки алгоритмов
ГОСТ Р 54831 Системы контроля и управления доступом. Устройства преграждающие управляемые. Общие технические требования. Методы испытаний
ГОСТ Р 56035 Системы охранные телевизионные. Защита оцифрованных видеоданных от случайного и преднамеренного искажения. Общие требования
ГОСТ Р 56047 Системы охранные телевизионные. Компрессия оцифрованных аудиоданных. Классификация. Общие требования и методы оценки алгоритмов
ГОСТ Р 56102.1 Системы централизованного наблюдения. Часть 1. Общие положения
Примечание - При пользовании настоящим стандартом целесообразно проверить действие ссылочных стандартов в информационной системе общего пользования - на официальном сайте Федерального агентства по техническому регулированию и метрологии в сети Интернет или по ежегодному информационному указателю "Национальные стандарты", который опубликован по состоянию на 1 января текущего года, и по выпускам ежемесячного информационного указателя "Национальные стандарты" за текущий год. Если заменен ссылочный стандарт, на который дана недатированная ссылка, то рекомендуется использовать действующую версию этого стандарта с учетом всех внесенных в данную версию изменений. Если заменен ссылочный стандарт, на который дана датированная ссылка, то рекомендуется использовать версию этого стандарта с указанным выше годом утверждения (принятия). Если после утверждения настоящего стандарта в ссылочный стандарт, на который дана датированная ссылка, внесено изменение, затрагивающее положение, на которое дана ссылка, то это положение рекомендуется применять без учета данного изменения. Если ссылочный стандарт отменен без замены, то положение, в котором дана ссылка на него, рекомендуется применять в части, не затрагивающей эту ссылку.
3 Термины и определения
В настоящем стандарте применены термины по ГОСТ Р 51241, ГОСТ Р 51558, ГОСТ Р 52551, ГОСТ Р 56102.1, а также следующие термины с соответствующими определениями:
3.1 интегрированная система безопасности; ИСБ: Система безопасности объекта, объединяющая в себе целевые функциональные системы, предназначенные для защиты от угроз различной природы возникновения и характера проявления.
3.2
СТС: Электрическая установка, предназначенная для обнаружения и сигнализации о наличии опасности.
[ГОСТ 31817.1.1-2012, пункт 4.2]
3.3
база данных (database): Совокупность взаимосвязанных данных, организованных в соответствии со схемой базы данных таким образом, чтобы с ними мог работать пользователь.
[ГОСТ 34.321-96, пункт 2.1]
3.4
программное обеспечение: Совокупность программ системы обработки информации и программных документов, необходимых для эксплуатации этих программ.
[ГОСТ 19781-90, таблица 1, пункт 2]
3.5
электронная вычислительная машина ЭВМ Electronic computer: Вычислительная машина, основные функциональные устройства которой выполнены на электронных компонентах.
[ГОСТ 15971-90, таблица 1, пункт 8]
3.6
специализированная ЭВМ Specialized computer: ЭВМ, имеющая функциональные возможности и конструктивные особенности, позволяющие использовать ее для эффективного решения ограниченного класса задач в определенных условиях окружающей среды.
[ГОСТ 15971-90, таблица 1, пункт 14]
3.7 средство вычислительной техники: Специализированная ЭВМ или специализированный контроллер с установленным программным обеспечением, предназначенные для работы в составе ИСБ.
4 Сокращения
В настоящем стандарте применены следующие сокращения:
АРМ - автоматизированное рабочее место;
БД - база данных;
БШС - безадресный шлейф сигнализации;
ИСБ - интегрированная система безопасности;
ПО - программное обеспечение;
СВТ - средство вычислительной техники;
СКУД - система контроля и управления доступом;
СОС - система охранной сигнализации;
СОТ - система охранная телевизионная;
СТС - система тревожной сигнализации;
СЦН - система централизованного наблюдения;
СЭВМ - специализированная ЭВМ;
ТР ТС - Технический регламент Таможенного союза;
ТС - техническое средство;
ТУ - технические условия;
УПУ - устройства преграждающие управляемые;
ШС - шлейф сигнализации;
ЭВМ - электронная вычислительная машина.
5 Классификация
По виду организации противокриминальной защиты ИСБ подразделяют на локальные и централизованные.
5.1 Локальная ИСБ предназначена для обеспечения локальной противокриминальной защиты, при которой извещения о состоянии охраняемого объекта, а также управление осуществляют с помощью средств отображения информации и управления (индикаторные панели, пульты), входящих в состав ИСБ.
5.2 Централизованная ИСБ предназначена для обеспечения противокриминальной защиты в составе СЦН.
6 Общие положения
6.1 Требования функционального назначения ИСБ
6.1.1 ИСБ должна обеспечивать выполнение следующих обязательных функций:
- обнаружение угроз, имеющих различные причины возникновения и характер проявления, в соответствии с функциональным назначением систем, входящих в состав ИСБ;
- автоматическое реагирование ИСБ на обнаруженную угрозу в соответствии с заданной тактикой работы каждой из систем, входящих в ее состав;
- передачу информации о характере обнаруженной угрозы на устройства отображения, предназначенные для использования дежурным оператором;
- обеспечение возможности ручного управления системами, входящими в состав ИСБ;
- ведение электронного протокола функционирования систем, входящих в состав ИСБ, с регистрацией его в БД;
- модификацию состава и конфигурации ИСБ в соответствии с изменением задач, решаемых ИСБ.
6.1.2 Помимо обязательных ИСБ может выполнять вспомогательные и дополнительные функции, не связанные с обеспечением противокриминальной безопасности.
6.2 Функциональный состав ИСБ и общие требования к нему
6.2.1 В состав ИСБ должно входить не менее трех из указанных базовых систем: СТС; СОС; СОТ; СКУД.
Допускается функциональное объединение СТС и СОС, при этом в составе ИСБ их учитывают по отдельности.
6.2.2 Состав ИСБ может быть дополнен иными системами обеспечения безопасности по ГОСТ Р 53195.1.
6.2.3 Системы, входящие в состав ИСБ, должны обеспечивать выполнение своих функций как в составе ИСБ, так и автономно.
6.2.4 Состояние и режимы работы каждой из систем, входящих в состав ИСБ, не должны создавать помехи в работе остальных систем.
6.2.5 Отказ (неисправность) одной из систем, входящих в состав ИСБ, не должен влиять на работоспособность других систем.
6.2.6 Модификация состава и конфигурации ИСБ посредством увеличения количества используемых ТС в каждой из входящих в нее систем не должна приводить к отказу или ухудшению функциональных параметров ИСБ.
6.2.7 Приоритет передачи тревожных извещений и отображения информации об обнаруженных угрозах в ИСБ следует отдавать системам, функционирование которых направлено на обнаружение угроз, занимающих более высокое положение в следующем списке:
- угроза жизни и здоровью человека;
- угроза хищения, повреждения или уничтожения имущества.
6.2.8 Обнаружение угрозы одной из систем, входящих в состав ИСБ, в случае необходимости может приводить к автоматическому реагированию и других систем ИСБ.
6.2.9 Модификация состава и конфигурации систем ИСБ, осуществляющих функции охраны, должна быть возможна только при снятии объекта с охраны.
6.2.10 Функциональная схема ИСБ, составленной из базовых систем, приведена в приложении А. При этом в состав ИСБ могут входить не все указанные системы, а только три из них.
6.2.11 Пример функциональной схемы ИСБ, представляющей собой совокупность базовых и иных вспомогательных и дополнительных систем ИСБ по ГОСТ Р 53195.1, приведен в приложении Б.
6.3 Требования к СОС и СТС в составе ИСБ
6.3.1 В состав СОС и СТС входят базовые ТС охраны и модули для выполнения основных функций, а также дополнительные ТС, предназначенные для расширения функциональных характеристик СОС и СТС.
6.3.2 Обязательные извещения, передаваемые СТС и СОС на АРМ ИСБ и АРМ СЦН о:
- переходе в дежурный режим;
- переходе в тревожный режим;
- отключении основного электропитания и переходе на резервное;
- восстановлении основного электропитания;
- неисправностях ТС (в том числе о разряде аккумуляторных батарей), интерфейсов и линии связи;
- взятии объекта под охрану;
- снятии объекта с охраны.
6.3.3 СТС и СОС должны иметь возможность передавать следующие извещения на внутренние и/или внешние устройства отображения (оповещатели, индикаторы, индикаторные панели и т.п.) о:
- переходе в дежурный режим;
- переходе в тревожный режим;
- взятии объекта под охрану;
- снятии объекта с охраны.
6.3.4 СТС и СОС должны обеспечивать контроль неисправности БШС (обрыв и короткое замыкание).
6.3.5 В СТС и СОС должна быть предусмотрена возможность применения ТС, обеспечивающих электропитание извещателей по ШС.
6.3.6 СТС и СОС ИСБ должны обеспечивать совместимость с оповещателями охранными по ГОСТ Р 54126.
6.3.7 В СТС и СОС должна быть предусмотрена возможность применения ТС, обеспечивающих взятие под охрану и снятие с охраны при помощи считывателей запоминаемых идентификаторов, считывателей вещественных идентификаторов либо считывателей биометрических признаков.
6.3.8 В ТС, обеспечивающих взятие под охрану и снятие с охраны, не допускается применение в качестве устройств снятия с охраны тумблеров, кнопок и т.п.
6.4 Требования к СКУД и СОТ в составе ИСБ
6.4.1 СКУД должна соответствовать требованиям ГОСТ Р 51241, при этом УПУ в составе СКУД должны отвечать требованиям ГОСТ Р 54831.
6.4.2 СОТ должны соответствовать требованиям ГОСТ Р 51558, ГОСТ Р 56035, ГОСТ Р 56047, ГОСТ Р 54830.
6.5 Требования к СВТ
6.5.1 СВТ должно быть защищено от несанкционированного доступа к информации в соответствии с требованиями ГОСТ Р 50739.
6.5.2 ПО ИСБ должно соответствовать требованиям ГОСТ 28195 и должно быть устойчиво к случайным или преднамеренным воздействиям в виде отключения электропитания ТС, программного или аппаратного сброса ТС. ИСБ должна обеспечивать свою работоспособность и сохранность ранее полученных данных после указанных воздействий и перезапуска ПО.
6.6 Требования к составу документации
6.6.1 ИСБ, системы и ТС, входящие в состав ИСБ, должны иметь ТУ, конструкторскую и эксплуатационную документацию и документы, подтверждающие соответствие требованиям [1] и [2].
ТУ, эксплуатационная и конструкторская документация должны быть выполнены в соответствии с требованиями стандартов ЕСКД.
6.7 Требования к интеграции систем и ТС в составе ИСБ
6.7.1 В ИСБ применяют различные виды интеграции (объединения).
6.7.1.1 Аппаратную интеграцию ИСБ осуществляют путем обеспечения аппаратной совместимости систем в составе ИСБ посредством обмена информационными и управляющими сигналами, формируемыми при помощи коммутации электрических цепей.
6.7.1.2 Программную интеграцию ИСБ осуществляют путем обеспечения программной совместимости систем и СВТ посредством организации их взаимодействия по единому интерфейсу ИСБ. Структура программной интеграции систем ИСБ приведена в приложении В.
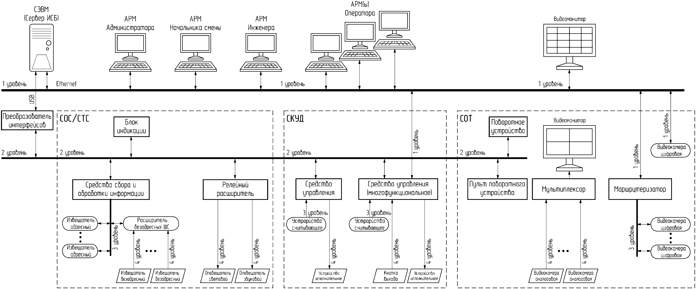
6.7.1.3 Аппаратно-программную интеграцию ИСБ осуществляют путем обеспечения аппаратной и программной совместимости систем посредством применения как аппаратной, так и программной интеграции. Возможна реализация аппаратно-программной интеграции как с помощью СЭВМ, так и с помощью специально разработанного контроллера. Аппаратно-программная интеграция может включать четыре уровня.
Пример функциональной схемы четырехуровневой ИСБ при аппаратно-программной интеграции приведен в приложении Г.
6.7.2 Отдельные ТС могут осуществлять межуровневое взаимодействие.
6.7.2.1 Первый уровень аппаратно-программной интеграции ИСБ обеспечивает связь между сервером ИСБ, одним или несколькими АРМ, в том числе для территориально рассредоточенных объектов. Первый уровень аппаратно-программной интеграции ИСБ представляет собой локальную сеть на основе стандартов Ethernet и специализированного ПО.
6.7.2.2 Второй уровень аппаратно-программной интеграции ИСБ обеспечивает цифровой обмен данными между ТС и представляет собой внутрисистемную сеть, реализованную на базе наиболее распространенных промышленных интерфейсов. Данная сеть должна взаимодействовать с сетью первого уровня посредством преобразования интерфейсов.
6.7.2.3 Третий уровень аппаратно-программной интеграции ИСБ представляет собой сеть или отдельные линии связи, обеспечивающие цифровой обмен данными между двумя функционально зависимыми ТС.
6.7.2.4 Четвертый уровень аппаратно-программной интеграции ИСБ представляет собой электрические цепи и линии связи, предназначенные для обеспечения контроля и управления ТС без использования цифрового обмена данными (безадресные извещатели, оповещатели, релейные исполнительные устройства и др.).
6.8 Состав и функциональное назначение АРМ ИСБ
6.8.1 Состав и функциональное назначение АРМ локальных и централизованных ИСБ должны соответствовать требованиям ГОСТ Р 56102.1.
6.8.2 Допускается функциональное объединение АРМ локальных ИСБ.
Приложение А
(справочное)
ФУНКЦИОНАЛЬНАЯ СХЕМА ИСБ, СОСТАВЛЕННАЯ ИЗ БАЗОВЫХ СИСТЕМ
Приложение Б
(справочное)
ФУНКЦИОНАЛЬНАЯ СХЕМА ИСБ, СОСТАВЛЕННАЯ ИЗ БАЗОВЫХ
И ИНЫХ ВСПОМОГАТЕЛЬНЫХ И ДОПОЛНИТЕЛЬНЫХ СИСТЕМ
Приложение В
(справочное)
СТРУКТУРА ПРОГРАММНОЙ ИНТЕГРАЦИИ СИСТЕМ ИСБ
Приложение Г
(справочное)
ФУНКЦИОНАЛЬНАЯ СХЕМА ЧЕТЫРЕХУРОВНЕВОЙ ИСБ
ПРИ АППАРАТНО-ПРОГРАММНОЙ ИНТЕГРАЦИИ
БИБЛИОГРАФИЯ
[1]
Технический регламент Таможенного союза ТР ТС 004/2011 "О безопасности низковольтного оборудования"
[2]
Технический регламент Таможенного союза ТР ТС 020/2011 "Электромагнитная совместимость технических средств"
УДК 621.398:006.354
ОКС 13.320
ОКП 43 7200
Ключевые слова: охраняемый объект, противокриминальная защита, противокриминальная защита объектов, криминальная угроза, система интегрирования, интегрированные системы безопасности