Главная // Актуальные документы // ГОСТ Р (Государственный стандарт)СПРАВКА
Источник публикации
М.: Стандартинформ, 2019
Примечание к документу
Документ
введен в действие с 01.04.2020.
Взамен ГОСТ Р 52286-2004.
Название документа
"ГОСТ Р 52286-2019. Национальный стандарт Российской Федерации. Кресла-каталки транспортные реабилитационные. Основные параметры. Технические требования"
(утв. и введен в действие Приказом Росстандарта от 03.09.2019 N 618-ст)
"ГОСТ Р 52286-2019. Национальный стандарт Российской Федерации. Кресла-каталки транспортные реабилитационные. Основные параметры. Технические требования"
(утв. и введен в действие Приказом Росстандарта от 03.09.2019 N 618-ст)
Утвержден и введен в действие
по техническому регулированию
и метрологии
от 3 сентября 2019 г. N 618-ст
НАЦИОНАЛЬНЫЙ СТАНДАРТ РОССИЙСКОЙ ФЕДЕРАЦИИ
КРЕСЛА-КАТАЛКИ ТРАНСПОРТНЫЕ РЕАБИЛИТАЦИОННЫЕ
ОСНОВНЫЕ ПАРАМЕТРЫ. ТЕХНИЧЕСКИЕ ТРЕБОВАНИЯ
Transportation push-wheelchairs for persons
with disabilities. Main parameters. Technical requirements
ГОСТ Р 52286-2019
ОДКПД 2 32.50.50.000
Дата введения
1 апреля 2020 года
1 РАЗРАБОТАН Федеральным государственным унитарным предприятием "Российский научно-технический центр информации по стандартизации, метрологии и оценке соответствия" (ФГУП "СТАНДАРТИНФОРМ")
2 ВНЕСЕН Техническим комитетом по стандартизации ТК 381 "Технические средства и услуги для инвалидов и других маломобильных групп населения"
3 УТВЕРЖДЕН И ВВЕДЕН В ДЕЙСТВИЕ
Приказом Федерального агентства по техническому регулированию и метрологии от 3 сентября 2019 г. N 618-ст
4 ВЗАМЕН ГОСТ Р 52286-2004
Правила применения настоящего стандарта установлены в статье 26 Федерального закона от 29 июня 2015 г. N 162-ФЗ "О стандартизации в Российской Федерации". Информация об изменениях к настоящему стандарту публикуется в ежегодном (по состоянию на 1 января текущего года) информационном указателе "Национальные стандарты", а официальный текст изменений и поправок - в ежемесячном информационном указателе "Национальные стандарты". В случае пересмотра (замены) или отмены настоящего стандарта соответствующее уведомление будет опубликовано в ближайшем выпуске ежемесячного информационного указателя "Национальные стандарты". Соответствующая информация, уведомление и тексты размещаются также в информационной системе общего пользования - на официальном сайте Федерального агентства по техническому регулированию и метрологии в сети Интернет (www.gost.ru)
Настоящий стандарт распространяется на транспортные реабилитационные кресла-каталки (далее - кресла-каталки), относящиеся к классификационной группировке
12 27 04 по ГОСТ Р ИСО 9999 и предназначенные для перемещения пассажиров-инвалидов и других лиц с ограниченной подвижностью вследствие нарушения статодинамической функции организма при посадке (высадке) в доступные для инвалидов средства общественного пассажирского транспорта, относящиеся к категории III по
ГОСТ Р 51090, и при передвижении внутри этих транспортных средств.
В настоящем стандарте использованы нормативные ссылки на следующие стандарты:
ГОСТ 2.601 Единая система конструкторской документации. Эксплуатационные документы
ГОСТ 2.602 Единая система конструкторской документации. Ремонтные документы
ГОСТ 9.032 Единая система защиты от коррозии и старения. Покрытия лакокрасочные. Группы, технические требования и обозначения
ГОСТ 9.301 Единая система защиты от коррозии и старения. Покрытия металлические и неметаллические неорганические. Общие требования
ГОСТ 9.303 Единая система защиты от коррозии и старения. Покрытия металлические и неметаллические неорганические. Общие требования к выбору
ГОСТ 30.001 Система стандартов эргономики и технической эстетики. Основные положения
ГОСТ 2645 Аппараты летательные. Технические требования к надписям. Цвета окраски агрегатов
ГОСТ 10198 Ящики деревянные для грузов массой св. 200 до 20000 кг. Общие технические условия
ГОСТ 12969 Таблички для машин и приборов. Технические требования
ГОСТ 14193 Монохлорамин ХБ технический. Технические условия
ГОСТ 15150 Машины, приборы и другие технические изделия. Исполнения для различных климатических районов. Категории, условия эксплуатации, хранения и транспортирования в части воздействия климатических факторов внешней среды
ГОСТ Р 15.111 Система разработки и постановки продукции на производство. Технические средства реабилитации инвалидов
ГОСТ Р 51632 Технические средства реабилитации людей с ограничениями жизнедеятельности. Общие технические требования и методы испытаний
ГОСТ Р ИСО 7176-5 Кресла-коляски. Часть 5. Определение размеров, массы и площади для маневрирования
ГОСТ Р ИСО 7176-8 Кресла-коляски. Часть 8. Требования и методы испытаний на статическую, ударную и усталостную прочность
ГОСТ Р ИСО 7176-15 Кресла-коляски. Часть 15. Требования к документации и маркировке для обеспечения доступности информации
ГОСТ Р ИСО 9999 Вспомогательные средства для людей с ограничениями жизнедеятельности. Классификация и терминология
ГОСТ Р 51090 Средства общественного пассажирского транспорта. Общие технические требования доступности и безопасности для инвалидов
Примечание - При пользовании настоящим стандартом целесообразно проверить действие ссылочных стандартов в информационной системе общего пользования - на официальном сайте Федерального агентства по техническому регулированию и метрологии в сети Интернет или по ежегодному информационному указателю "Национальные стандарты", который опубликован по состоянию на 1 января текущего года, и по выпускам ежемесячного информационного указателя "Национальные стандарты" за текущий год. Если заменен ссылочный стандарт, на который дана недатированная ссылка, то рекомендуется использовать действующую версию этого стандарта с учетом всех внесенных в данную версию изменений. Если заменен ссылочный стандарт, на который дана датированная ссылка, то рекомендуется использовать версию этого стандарта с указанным выше годом утверждения (принятия). Если после утверждения настоящего стандарта в ссылочный стандарт, на который дана датированная ссылка, внесено изменение, затрагивающее положение, на которое дана ссылка, то это положение рекомендуется применять без учета данного изменения. Если ссылочный стандарт отменен без замены, то положение, в котором дана ссылка на него, рекомендуется применять в части, не затрагивающей эту ссылку.
В настоящем стандарте применены следующие термины с соответствующими определениями:
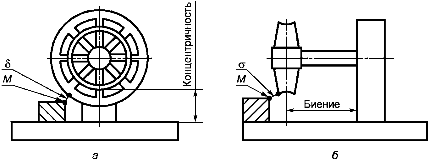
3.1 биение колеса кресла-каталки (wheel beat): Степень искривления колеса кресла-каталки в осевом направлении.
M - вертикальное расстояние при положении колеса, которое
соответствует среднему положению смещения;

- степень точности изготовления колеса в радиальном
направлении;

- степень искривления колеса
в осевом направлении
Примечания
1 Концентричность колеса (рисунок 1а).
2 Биение колеса (рисунок 1б).
Рисунок 1 - Концентричность и биение колеса кресла-каталки
3.2 высота опоры спины (back support height): Расстояние между сиденьем и самой верхней точкой опоры спины.
3.3 высота поверхности сиденья в передней части (seat support height at front edge): Высота сиденья относительно пола.
3.4 высота рукоятки [ручки-перекладины] кресла-каталки (handgrip height): Максимальное расстояние от контрольной точки рукоятки [ручки-перекладины] кресла-каталки до земли [пола транспортного средства].
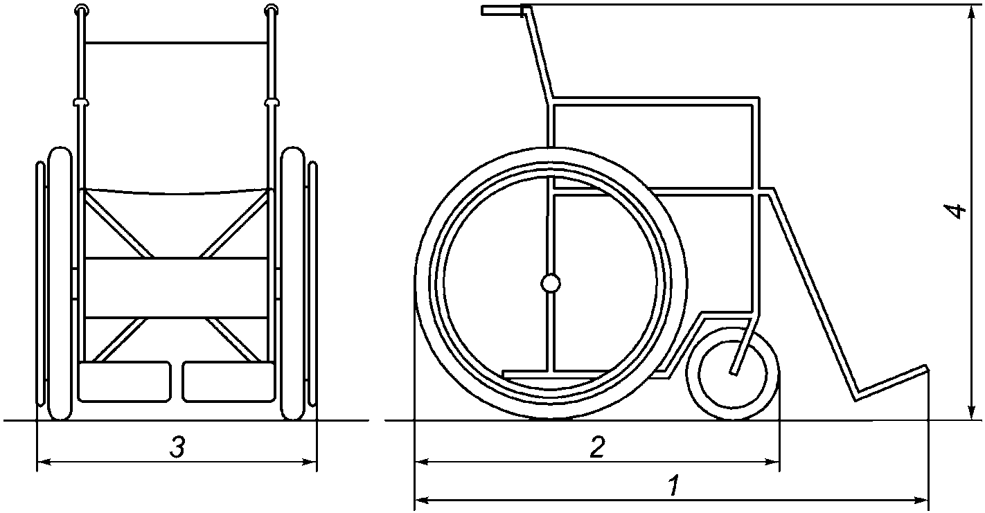
3.5 габаритная высота кресла-каталки (overall height): Максимальное расстояние от самой выступающей верхней точки кресла-каталки до поверхности пола.
1 - полная габаритная длина; 2 - уменьшенная габаритная
длина; 3 - габаритная ширина; 4 - габаритная высота
Рисунок 2 - Габаритные размеры кресла-каталки
3.6 габаритная длина кресла-каталки (overall length): Максимальное расстояние между наиболее выступающими передним и задним элементами кресла-каталки, измеренное по горизонтали вдоль линии движения кресла-каталки.
3.7 габаритная ширина кресла-каталки (overall width): Максимальное расстояние между наиболее выступающими боковыми элементами кресла-каталки, измеренное по горизонтали перпендикулярно к линии движения кресла-каталки.
3.8 загруженное кресло-каталка (loaded transportation push wheelchair): Кресло-каталка, загруженное испытательным манекеном.
3.9 клиренс кресла-каталки (ground clearance): Минимальное расстояние между загруженным креслом-каталкой и землей (полом транспортного средства).
1 - типичные критические точки; 2 - клиренс
--------------------------------
<а> Колеса, регулируемые опоры ног/стоп и антиопрокидыватель не учтены.
Рисунок 3 - Клиренс кресла-каталки
3.10 концентричность колеса кресла-каталки (wheel concentricity): Степень точности изготовления колеса кресла-каталки в радиальном направлении.
3.11 общая масса кресла-каталки (total mass): Масса кресла-каталки, подготовленного к использованию, но не загруженного.
3.12 опора спины (back support): Устройство поддержания позы, предназначенное для поддержания поверхности крестца, поясницы и/или грудного отдела позвоночника.
3.13 отказ кресла-каталки (refusal): Событие, заключающееся в нарушении работоспособного состояния кресла-каталки.
3.14 паспорт кресла-каталки (specification transportation push wheelchair): Технический документ изготовителя об эксплуатационных характеристиках кресла-каталки, предназначенный для покупателя.
3.15 пользователь кресла-каталки (user of transportation push wheelchair): Пассажир-инвалид или другое лицо с ограниченной подвижностью вследствие нарушения статодинамической функции организма, для перемещения которого предназначено кресло-каталка.
3.16 предельное состояние кресла-каталки (limiting state): Состояние кресла-каталки, при котором его дальнейшее применение по назначению недопустимо или нецелесообразно по технико-экономическим (стоимость годовых ремонтов превышает половину стоимости изделия) или функциональным показателям.
3.17 рабочая система торможения кресла-каталки (running braking system): Совокупность элементов конструкции кресла-каталки (включая рабочий тормоз), предназначенных для остановки или замедления движения кресла-каталки.
3.18 развал колес кресла-каталки (camber): Отклонение плоскостей вращения колес кресла-каталки от вертикальной плоскости.
Примечания
1 Развал считают положительным, если верхние части колес отдалены друг от друга более, чем нижние части, отрицательным - если верхние части колес приближены друг к другу более, чем нижние части, и нулевым - при вертикальном положении плоскости вращения колес.
1 - вертикаль; 2 - отрицательный развал колес
Рисунок 4 - Отрицательный развал колес кресла-каталки
3.19 реабилитационное кресло-каталка (push wheelchair): Вспомогательное средство для обеспечения мобильности за счет колес, оснащенное системой сиденья для размещения пользователя - лица с ограниченной подвижностью вследствие нарушения статодинамической функции организма, приводимое в движение и управляемое сопровождающим лицом.
3.20 рукоятка кресла-каталки (handgrip): Элемент ручки кресла-каталки, который непосредственно обхватывается кистью руки сопровождающего.
Примечания
1 Рукоятка может составлять одно целое с ручкой или быть отдельно от нее.
1 - контрольная точка рукоятки
Рисунок 5 - Контрольная точка рукоятки кресла-каталки
3.21 ручка [ручка-перекладина] кресла-каталки (push handle): Элемент конструкции кресла-каталки, который охватывает рука (кисть) сопровождающего для приведения в движение или наклона кресла-каталки.
3.22 система сиденья кресла-каталки (seating system): Совокупность поверхности сиденья и опоры спины вместе с оборудованием их подсоединения, а также принадлежности, необходимые для размещения пользователя.
3.23 система торможения кресла-каталки (braking system): Система, предназначенная для снижения скорости, остановки, а также для удерживания кресла-каталки в неподвижном состоянии на наклонной поверхности.
3.24 сопровождающий кресла-каталки (assistant): Лицо, не являющееся пользователем, которое приводит в действие и управляет креслом-каталкой.
3.25
средство общественного пассажирского транспорта, доступное для пассажиров-инвалидов; ДИТС: Средство общественного пассажирского транспорта, отвечающее установленным требованиям доступности и безопасности для пассажиров-инвалидов. |
3.26 срок службы кресла-каталки (working life): Календарная продолжительность службы кресла-каталки от начала эксплуатации или ее возобновления после ремонта до перехода в предельное состояние.
3.27 стояночная система торможения кресла-каталки (parking braking system): Совокупность элементов конструкции кресла-каталки, предназначенных для удержания кресла-каталки в неподвижном состоянии без пользователя, которые не требуют применения постоянно действующей силы со стороны сопровождающего.
3.28 сход колес кресла-каталки (toe): Относительная ориентация пары колес (с противоположных сторон кресла-каталки), характеризующаяся углом в горизонтальной плоскости между плоскостями, перпендикулярными к осям колес.
Примечания
1 Значение схода колес положительное, если расстояние между колесами одинаковое, как спереди, так и сзади, и отрицательное, если расстояние впереди больше, чем сзади.
1 - сход колес
Рисунок 6 - Положительный сход колес кресла-каталки
(утрировано, вид сверху)
3.29 техническая документация (technical document): Комплект инструкций, руководств по применению, обслуживанию и ремонту кресла-каталки, перечень гарантий на кресло-каталку в целом, включая другие документы изготовителя, связанные с нормальным использованием кресла-каталки.
3.30 транспортное реабилитационное кресло-каталка (кресло-каталка) (transportation push wheelchair): Реабилитационное кресло-каталка, предназначенное исключительно для перемещения пользователя - пассажира-инвалида или другого лица с ограниченной подвижностью при его посадке (высадке) в/из ДИТС и в салоне ДИТС с узким проходом, не позволяющим использовать кресло-коляску, и являющееся штатным оборудованием данного ДИТС.
3.31 ширина разворота кресла-каталки (pivot width): Минимальная ширина коридора, который требуется загруженному креслу-каталке для разворота на 180° не касаясь стен, при условии, что допустимо использование движения кресла-каталки как вперед, так и назад.
4 Основные параметры и размеры
4.1 Габаритная длина кресла-каталки не должна превышать 800 мм.
4.2 Габаритная ширина кресла-каталки не должна превышать 600 мм и должна соотноситься с шириной прохода в салоне ДИТС.
При этом суммарный зазор между шириной прохода в салоне ДИТС и габаритной шириной кресла-каталки должен быть не менее 50 мм.
4.3 Габаритная высота кресла-каталки должна быть не более 1200 мм.
4.4 Величина клиренса кресла-каталки, измеренная по методике
ГОСТ Р ИСО 7176-5, должна быть не менее 30 мм.
4.5 Ширина разворота кресла-каталки, измеренная по методике
ГОСТ Р ИСО 7176-5, должна быть не более 300 мм.
4.6 Масса незагруженного кресла-каталки с ободами ручного привода (если они предусмотрены) должна быть не более 25 кг.
4.7 Допускается по согласованию с заказчиком изготовление кресел-каталок, параметры которых имеют другие значения, установленные в технических условиях на кресла-каталки конкретных типов (моделей).
5.1 Кресла-каталки следует подвергать клинической оценке.
Примечание - Разъяснения для оценки клинических данных приведены в MEDDEV 2.7.1
[2].
5.2 Кресла-каталки должны отвечать требованиям настоящего стандарта, стандартов и технических условий на кресла-каталки конкретных типов (моделей), санитарно-эпидемиологическим требованиям соответствующих санитарных норм и правил.
Исследования и обоснование разработки, разработка, производство, сертификация, эксплуатация, ремонт, снятие кресла-каталки с производства должны отвечать требованиям
ГОСТ Р 15.111.
5.3 Кресла-каталки должны обеспечивать перемещение одного пользователя в эксплуатационных условиях, указанных изготовителем и согласованных между разработчиками ДИТС и кресел-каталок.
5.4 Усилия, приложенные к ручкам или к ручке-перекладине загруженного манекеном кресла-каталки, необходимые для совершения маневра (трогание с места, поворот или изменение направления движения), не должны превышать значений, указанных в
таблице 1.
Вид маневра ТКК | Усилие, приложенное к ручкам или к рукоятке кресла-каталки, Н, не более |
для взрослых | для детей |
Трогание с места | 100 | 50 |
Поворот | 70 | 35 |
Изменение направления движения | 70 | 35 |
5.5 Значение усилия, необходимого для перемещения кресла-каталки, движущегося со скоростью, равной 1 м/с, в заданном направлении по ровной поверхности (например, по полу салона транспортного средства) должно составлять не более 45 Н.
5.6 Значение усилий, необходимых для фиксации в определенных положениях кресла-каталки и его элементов, не должны превышать:
- для складывания (раскладывания) кресла-каталки - 60 Н;
- закрепления опоры спины - 80 Н;
- регулирования длины и угла наклона опоры стопы - 100 Н.
6 Конструктивные требования
6.1 Конструкция кресла-каталки в общем случае должна включать в себя следующие основные элементы:
- ходовую часть (колеса);
- каркас (раму);
- систему сиденья;
- системы торможения;
- ручки (рукоятки) или ручку-перекладину.
Кресла-каталки должны быть оснащены опорой для ног (подножкой), съемными или откидывающимися подлокотниками (по согласованию с разработчиком ДИТС), системой ремней безопасности пользователя.
По согласованию с заказчиком кресла-каталки могут быть оборудованы ободами ручного привода.
6.2 Конструкция каркаса (рамы) кресла-каталки должна обеспечивать складывание кресла-каталки для хранения и транспортирования без применения специального инструмента.
6.3 Требования к ходовым характеристикам (колесам)
6.3.1 Ходовая часть кресла-каталки должна обеспечивать свободное перемещение вперед, назад, поворот в любую сторону как с сидящим в кресле-каталке пользователем, так и без него.
6.3.2 Конструкция кресла-каталки должна позволять креслу-каталке с сидящим в нем пользователем преодолевать пороги высотой не более 30 мм.
6.3.3 Диаметр неориентируемых ведущих колес (далее - ведущие колеса) должен быть от 180 до 200 мм, а расстояние от пола до оси ведущих колес - от 90 до 100 мм.
6.3.4 Колеса кресла-каталки должны вращаться относительно горизонтальной оси без заеданий под воздействием касательно приложенной нагрузки, значение которой не превышает 0,35 Н, и не должны проворачиваться в заторможенном состоянии под воздействием касательно приложенной нагрузки, значение которой составляет (150 +/- 1) Н.
6.3.5 Ведущие колеса кресла-каталки должны иметь следующие значения параметров:
- развал колес - не более 2°;
- схождение колес - не более 1°;
- концентричность и биение - не более 1% радиуса колеса.
Примечание - В технически обоснованных случаях допускается увеличение развала ведущих колес, значение которого устанавливают в технических условиях на кресла-каталки конкретных типов (моделей).
6.3.6 Поворотные колеса кресла-каталки (при их наличии) должны быть самоориентирующимися и проворачиваться относительно вертикальной оси кронштейна свободно, без заеданий.
6.3.7 Шины колес кресла-каталки должны плотно прилегать к бортам ободьев колес и не должны соскакивать при движении кресла-каталки вперед и назад по окружности диаметром от 1,8 до 2,0 м.
6.3.8 На ободьях ведущих колес кресла-каталки с пневматическими шинами должна быть нанесена маркировка с обозначениями максимального давления воздуха в шинах Pa.
6.4 Требования к системам торможения
6.4.1 Кресло-каталка должно быть оборудовано стояночной и, при необходимости, рабочей системами торможения, легко управляемыми сопровождающим лицом и обеспечивающими удержание кресла-каталки или полную его остановку.
6.4.2 Конструкция стояночного тормоза должна предусматривать возможность его регулировки с целью компенсации износа трущихся поверхностей, ободов колес и т.п., а также при необходимости для осуществления замены соответствующих изношенных составных частей системы торможения.
6.4.3 Стояночная система торможения должна обеспечивать надежное удержание загруженного кресла-каталки в заторможенном состоянии на плоскости с уклоном до 10°.
6.4.4 Максимальное усилие для торможения ведущих колес кресла-каталки, прилагаемое к рукоятке стояночного тормоза, должно быть не более 60 Н, а к рукоятке рабочего тормоза (ступней ноги сопровождающего) - не более 100 Н.
При этом усилия для приведения в действие или отключения торможения кресла-каталки в зависимости от способа воздействия на элементы системы торможения, например на рычаг тормоза, не должны превышать значений, приведенных в
таблице 2.
Таблица 2
Максимальные усилия на рычаг тормоза
Способ воздействия на рычаг тормоза | Сила воздействия на рычаг тормоза, Н, не более |
Воздействие: | |
- пальцем | 13,5 +/- 2 |
- рукой | 60 +/- 5 |
- ногой (тяга) | 60 +/- 5 |
- ступней ноги (толчок) | 100 +/- 10 |
6.5 Требования к системе управления
6.5.1 Система управления креслом-каталкой, приводимого в действие сопровождающим, должна включать, как минимум, следующие элементы, необходимые:
а) для приведения в действие тормозов;
б) регулирования сиденья;
в) съема или отвода составных частей, включая съемные или поворотно-отводные подлокотники и узлы опоры нижней части ноги и т.п. для облегчения самостоятельной посадки в кресло-каталку и высадки из него;
г) приведения кресла-каталки в движение и осуществления маневрирования кресла-каталки.
6.6 Требования к системе сиденья
6.6.1 Конструкция кресла-каталки должна быть совместима (по высоте) с пассажирским сиденьем в салоне ДИТС. При этом высота поверхности сиденья кресла-каталки от пола салона ДИТС должна соотноситься с высотой поверхности сидений ДИТС.
6.6.2 Высота опоры спины сиденья кресла-каталки должна быть в пределах 800 - 850 мм.
6.6.3 Если изготовитель предусмотрел возможность регулировки сиденья кресла-каталки сопровождающим лицом в то время, когда пользователь сидит в кресле-каталке, недопустимо, чтобы сопровождающему лицу и/или пользователю при передвижении и манипулировании пришлось принимать меры (средства), которые представляют угрозу для сопровождающего и/или пользователя в отношении их безопасности (например, регламентированный суммарный вес пользователя и сиденья).
6.6.4 Должна быть предусмотрена возможность снятия и замены мягкой обшивки для обтяжки каркаса кресла-каталки (при ее применении) в процессе эксплуатации.
6.6.5 Сиденье и спинка кресла-каталки могут быть выполнены из брезента или искусственной кожи как в виде съемного чехла, надеваемого на каркас, так и с поролоновой прокладкой.
6.6.6 Вспомогательные элементы, с помощью которых сопровождающий должен осуществлять регулирование сиденья, должны быть доступными при всех положениях сиденья.
6.6.7 Значения геометрических параметров сиденья кресла-каталки, измеренных по
ГОСТ Р ИСО 7176-7, указывают в технических условиях на кресла-каталки конкретных типов.
6.7 Требования к соединениям
6.7.1 Резьбовые соединения должны быть доступны для регулирования и надежно затянуты.
Значения величины и затяжки указывают в конструкторской документации и контролируют при сборке.
6.7.2 Усилия затяжки в резьбовых соединениях элементов кресла-каталки, установленные предприятием-изготовителем, не должны изменяться в процессе эксплуатации кресла-каталки.
6.7.3 Подвижные соединения должны быть отрегулированы и иметь плавный ход. Заедания не допускаются.
Трущиеся поверхности подвижных соединений смазывают при сборке в соответствии с технологической документацией, утвержденной в установленном порядке. Места и вид смазки указывают в конструкторской документации.
6.8 Требования к материалам
6.8.1 Для кресла-каталки используют материалы, разрешенные к применению Минздравом России.
Материалы, применяемые для изготовления кресла-каталки, не должны содержать ядовитых (токсичных) компонентов, а также воздействовать на цвет поверхности (пола, одежды, кожи пользователя), с которым контактируют те или иные детали кресла-каталки при его нормальной эксплуатации.
6.8.2 Материалы кресла-каталки, с которыми контактирует тело пользователя и/или сопровождающего, должны отвечать требованиям биологической переносимости, установленным в
ГОСТ Р 51632.
6.8.3 Металлические части кресла-каталки должны быть изготовлены из коррозионно-стойких материалов или иметь защитные или защитно-декоративные покрытия в соответствии с
ГОСТ 9.032,
ГОСТ 9.301,
ГОСТ 9.303.
Наружные поверхности кресла-каталки должны иметь защитно-декоративные покрытия не ниже IV класса, а внутренние защитные покрытия - не ниже VI класса по
ГОСТ 9.032.
6.8.4 Кресла-каталки должны соответствовать требованиям в отношении их чистки и дезинфекции, установленным в
ГОСТ Р 51632.
Наружные поверхности кресла-каталки должны быть устойчивы к воздействию 1%-ного раствора монохлорамина ХБ по
ГОСТ 14193 и растворов моющих средств, применяемых при дезинфекции.
6.9 Все регулируемые составные части и детали кресла-каталки не должны требовать регулирования или переустановки, кроме тех опор стопы, для которых допускается регулирование.
6.10 Все съемные, складывающиеся и/или регулируемые составные части кресла-каталки должны функционировать в соответствии с требованиями, установленными предприятием-изготовителем.
6.11 Конструкция кресла-каталки должна обеспечивать ремонтопригодность, в том числе свободный доступ к отдельным сборочным единицам и деталям, и их взаимозаменяемость при техническом обслуживании и ремонте.
7 Требования стойкости к внешним воздействующим факторам
7.1 Климатические исполнения кресел-каталок - У 1, У 1.1, УХЛ 4.2 по
ГОСТ 15150.
7.2 Кресла-каталки климатических исполнений, указанных в
7.1, должны сохранять работоспособность в процессе нормального использования при воздействии температуры, номинальные значения которой приведены в
таблице 3.
Климатическое исполнение кресла-каталки | Номинальное значение температуры, °C |
Верхнее | Нижнее |
У 1, У 1.1 | +40 | -40 <1> |
УХЛ 4.2 | +35 | +10 |
<1> При кратковременной эксплуатации кресла-каталки (не более 30 мин). При длительной эксплуатации кресла-каталки устанавливают нижнее номинальное значение температуры минус 25 °C. |
7.3 Для кресел-каталок, предназначенных для работы в условиях, отличных от указанных в
таблице 3, в качестве климатических факторов принимают факторы, соответствующие условиям эксплуатации, установленным в технических условиях на кресла-каталки конкретных типов.
7.4 Кресла-каталки климатических исполнений У 1 и У 1.1 по
ГОСТ 15150 должны сохранять работоспособность при резком изменении значений температуры внешней среды в диапазоне от плюс 20 °C до минус 40 °C в течение 15 мин.
7.5 Кресла-каталки исполнения У 1 по
ГОСТ 15150 должны сохранять работоспособность при воздействии дождя, пыли и снега.
7.6 Загруженные кресла-каталки должны обладать статической устойчивостью в продольном направлении движения при включении их тормозной системы. Статическая устойчивость кресел-каталок должна составлять не менее 10°.
7.7 Кресла-каталки должны стоять устойчиво (без качки), при этом значение максимального зазора между поверхностью и одним из колес кресла-каталки не должно быть более 3 мм.
8 Требования прочности и надежности
8.1 Кресла-каталки должны удовлетворять требованиям статической, ударной и усталостной прочности по
ГОСТ Р ИСО 7176-8.
8.2 Кресла-каталки должны выдерживать равномерно распределенную на сиденье номинальную нагрузку, создаваемую испытательным манекеном по
ГОСТ Р ИСО 7176-11 (далее - манекен) массой, кг:
- для взрослых - (100 +/- 1);
- детей - (50 +/- 1).
8.3 Кресла-каталки должны быть исправными и сохранять значения основных параметров и эксплуатационные характеристики в пределах, установленных в настоящем стандарте, в процессе и после воздействия ударных нагрузок, связанных с резкой посадкой пользователя на сиденье кресла-каталки, столкновением кресла-каталки с барьером, преодолением препятствий в виде выемок, выступов и статических нагрузок, указанных в
таблице 4.
Масса пользователя, кг | | Прилагаемая нагрузка, Н, с допуском +/- 3% |
к каждому подлокотнику | к подножке (опорам стопы) | к ручкам спинки | к ручке-перекладине |
Вниз | Вверх | Вниз | Вверх | Каждая ручка | Центр перекладины |
Не более 25 | 25 | 190 | 340 | 250 | 340 | 350 | 300 | 600 |
26 - 50 | 50 | 380 | 520 | 500 | 520 | 540 | 500 | 1000 |
51 - 75 | 75 | 570 | 700 | 750 | 700 | 730 | 700 | 1400 |
76 - 100 | 100 | 760 | 880 | 1000 | 880 | 750 | 900 | 1800 |
8.4 Кресла-каталки должны сохранять параметры, приведенные в настоящем стандарте, после падения в сложенном виде с высоты 1 м.
8.5 Средний срок службы до списания кресла-каталки - не менее пяти лет.
За предельное состояние принимают состояние кресла-каталки, при котором восстановление его работоспособности невозможно либо экономически нецелесообразно (стоимость годового ремонта превышает половину стоимости нового кресла-каталки).
8.6 Наработка на отказ - не менее 500 ч.
8.7 Среднее время восстановления - не более 1 ч.
9.1 Конструкция и внешний вид кресла-каталки должны удовлетворять эргономическим требованиям и требованиям технической эстетики, установленным в ГОСТ 30.001.
9.2 Необходимые надписи на кресле-каталке выполняют по ГОСТ 2645.
9.3 Усилие, приложенное к ручкам кресла-каталки, нагруженного манекеном по
ГОСТ Р ИСО 7176-11 массой 100 кг, необходимое для трогания кресла-каталки с места на горизонтальной ровной поверхности, должно быть не более 100 Н.
9.4 Усилие, необходимое для складывания (раскладывания) кресла-каталки, должно быть не более 60 Н.
9.5 Требования к ручкам (ручкам-перекладинам), рукояткам, рычагам
9.5.1 Если кресло-каталка оснащено ручками управления, размещенными позади кресла-каталки и предназначенными для сопровождающего, то эти ручки должны быть расположены:
а) под углом 85° к горизонтальной поверхности;
б) симметрично по отношению к продольной оси кресла-каталки на минимальном расстоянии друг от друга 350 мм.
9.5.2 Если ручки кресла-каталки оснащены на концах рукоятками, то наименьшая длина рукоятки должна быть 75 мм, а диаметр рукоятки должен находиться в пределах 20 и 50 мм.
9.5.3 Рукоятки (ручки) кресла-каталки должны обеспечивать легкое управление его движением. Рукоятки могут являться неотъемлемой частью или быть самостоятельным элементом конструкции каркаса кресла-каталки, съемными или складными.
Рекомендуемое расстояние от рукояток до пола - от 1050 до 1100 мм.
9.5.4 Форма рукояток (ручек) кресла-каталки должна обеспечивать прочность их захвата (отсутствие скольжения рук при захвате рукоятки), а также легкость чистки и санитарной обработки.
Рекомендуемая ширина (диаметр) рукояток - от 30 до 40 мм.
9.5.5 Если рукоятки управления кресла-каталки оснащены вспомогательными элементами, например рычагами, которые приводят в действие посредством захватывания их кистью руки, то ширина захвата обоих элементов рукоятки должна быть не более 75 мм (см.
рисунок 7).
A - рычаг, приводимый в действие пальцами кисти руки;
B - ширина захвата рукоятки кресла-каталки
Рисунок 7 - Ширина захвата рукоятки кресла-каталки
9.6 Требования к опорам
9.6.1 Кресла-каталки должны быть оснащены опорой ступни с устройством, которое позволяет устанавливать ступню пользователя на требуемую высоту и предотвращать соскальзывание ступни пользователя назад.
9.6.2 Регулируемая высота подножки кресла-каталки должна быть не более 25 мм.
9.6.3 Откидные поворотно-отводные или съемные опоры ступни, опоры нижней части ноги или подлокотники, которыми оснащены кресла-каталки, должны быть:
а) надежно зафиксированы в каждой предусмотренной изготовителем рабочей позиции;
б) расположены внутри зоны досягаемости пользователя в кресле-каталке, доступны и пригодны к обслуживанию пользователем или сопровождающим лицом или тем и другим без применения специального инструмента.
9.6.4 Щель (просвет) между раздельными опорами ступеней (если предусмотрена) должна(ен) быть не более 35 мм у кресла-каталки для взрослых и детей или на опорах смежных ступеней должны быть предусмотрены устройства, которые не позволяют ступне пользователя соскользнуть в щель (просвет).
10 Требования к маркировке, упаковке, транспортированию и хранению
10.1 Маркировка, упаковка, транспортирование и хранение кресел-каталок должны соответствовать требованиям настоящего стандарта и технических условий на кресла-каталки конкретных типов (моделей).
10.2 На каждом кресле-каталке должна быть табличка, выполненная по
ГОСТ 12969, на которой должны быть указаны:
- товарный знак предприятия-изготовителя;
- обозначение типа (модели) кресла-каталки;
- обозначение стандарта или технических условий;
- дата (год, месяц) изготовления кресла-каталки;
- место производства - "Сделано в России";
- знак соответствия при обязательной сертификации в законодательно регулируемой сфере, если это определено системой сертификации.
10.3 Транспортирование кресел-каталок следует осуществлять транспортом любого вида (водным, воздушным, железнодорожным) в соответствии с правилами перевозок грузов, действующими на транспорте данного вида.
10.4 На шинах колес кресла-каталки должна быть маркировка их размеров.
10.5 Размеры шрифта, способы нанесения информационных элементов и их местоположение, а также требования, обеспечивающие однозначную идентификацию кресла-каталки, устанавливают в технических условиях на кресло-каталку конкретного типа.
10.6 Упаковка кресел-каталок должна гарантировать достаточную защиту от повреждений, ухудшения качества или загрязнения кресел-каталок во время хранения и транспортирования до места назначения.
10.7 Конкретные способы упаковывания кресел-каталок, а также применяемые при этом упаковочные материалы и тип транспортной тары должны быть указаны в технических условиях на кресла-каталки конкретных типов.
10.8 Транспортная маркировка грузовых мест - по
ГОСТ 14192.
На таре должны быть нанесены манипуляционные знаки: "Верх", "Беречь от влаги", "Хрупкое. Осторожно".
10.9 Транспортирование кресел-каталок осуществляют крытым транспортом любого вида в соответствии с правилами перевозки грузов, действующими на транспорте данного вида.
10.10 Условия транспортирования и хранения кресел-каталок - 2 по
ГОСТ 15150.
10.11 Требования к транспортной таре должны соответствовать
ГОСТ 10198.
11 Требования безопасности
11.1 Кресла-каталки должны быть безопасными для пользователя, обслуживающего персонала и для окружающих лиц при эксплуатации и техническом обслуживании кресла-каталки, осуществляемыми в соответствии с требованиями эксплуатационных документов на кресла-каталки.
11.2 Безопасность кресла-каталки следует оценивать посредством идентификации угроз и связанных с ними рисков, применяя установленные методы <1>.
--------------------------------
11.3 Подвижные регулируемые элементы кресла-каталки (например такие как сиденья, опоры спинки, опоры стопы, поворотно-отводные опоры нижней части ноги и подлокотники) и неподвижные детали и узлы кресла-каталки, которые доступны для пользователя и/или сопровождающего во время эксплуатации кресла-каталки, в т.ч. складные (разборные) и регулируемые механизмы, должны соответствовать требованиям безопасности, изложенным в
ГОСТ Р 51632.
11.4 Кресла-каталки с включенной тормозной системой, нагруженные манекеном по
ГОСТ Р ИСО 7176-11, должны сохранять статическую устойчивость в продольном направлении движения вперед и назад, а также боковую статическую устойчивость не менее 10°.
11.5 Четырехколесные кресла-каталки, нагруженные манекеном по
ГОСТ Р ИСО 7176-11, должны устойчиво (без качки) стоять на горизонтальной поверхности. При этом значение максимального зазора между поверхностью пола и одним из колес кресла-каталки не должно быть более 3 мм.
11.6 Двухколесные кресла-каталки должны быть оснащены задними опорными устройствами, предотвращающими опрокидывание кресла-каталки назад во время стоянки.
11.7 Кресла-каталки должны быть оборудованы стояночной и рабочей системами торможения, легкоуправляемыми сопровождающим пользователя лицом или обслуживающим персоналом и обеспечивающими снижение скорости движения кресла-каталки или полную его остановку и удерживание в неподвижном состоянии.
11.8 Стояночная тормозная система должна обеспечивать надежное удерживание кресла-каталки с сидящим в нем пользователем массой не более 100 кг в заторможенном состоянии на плоскости с уклоном не более 10°.
11.9 Тормозной путь кресла-каталки при максимальной нагрузке и скорости 2 км/ч не должен превышать 100 мм.
11.10 Требования к тормозным системам, установленные в
11.7 -
11.9, должны быть обеспечены при приложении к рукоятке тормоза нагрузки не более 60 Н для полной остановки и удерживания кресла-каталки в неподвижном состоянии и не более 100 Н - для снижения скорости движения кресла-каталки.
11.11 Система ремней безопасности пользователя, предусмотренная в
6.1, должна включать в себя плечевой и поясной ремни безопасности, фиксирующие пользователя кресла-каталки в сидячем положении, а также автоматически запирающиеся втягивающие устройства.
11.12 В кресле-каталке должны быть предусмотрены ограждения, исключающие возможность прикасания пользователя к вращающимся частям кресла-каталки.
11.13 Замки (пряжки) ремней безопасности должны соответствовать требованиям
[4]. Конструкция замков ремней безопасности должна гарантировать невозможность самопроизвольного их открытия.
11.14 Плечевой ремень должен иметь с поясным ремнем одну точку крепления. Угол между плечевым и поясным ремнями в месте их крепления в кресле-каталке должен составлять (15 +/- 5)°.
11.15 Поверхности всех деталей кресла-каталки не должны иметь заусенцев, задиров, острых кромок или выступов, способных повредить одежду или причинить дискомфорт пользователю и окружающим лицам, а также не должны иметь трещин, отслоений покрытий и других дефектов внешнего вида.
11.16 В эксплуатационных документах на кресла-каталки должны быть указаны возможные виды опасности, требования и средства обеспечения безопасности при эксплуатации и обслуживании кресла-каталки.
Примечание - Кроме перечисленных в данном разделе требований к требованиям безопасности относят также совокупность требований
6.3.6,
6.4,
6.8.1,
7.6 и
7.7,
8.1,
8.2 и
8.4.
12 Требования к документам изготовителя
12.1 Общие положения
12.1.1 Документация, предоставляемая изготовителем кресла-каталки, должна быть выполнена на официальном языке страны, в которую экспортируется кресла-каталка, и включать:
а) паспорт кресла-каталки;
б) описание данной модификации кресла-каталки (при наличии);
в) описание особенностей применения кресла-каталки (например, максимальная масса пользователя кресла-каталки);
г) гарантии на детали кресла-каталки (если предусмотрены);
д) информацию, которая необходима для сервисного обслуживания и ремонта кресла-каталки и для замены деталей;
е) инструкцию для пользователя.
12.2 Содержание паспорта кресла-каталки и инструкции для пользователя должны соответствовать требованиям
ГОСТ Р ИСО 7176-15.
[1] | Директива 93/42/ЕЭС от 14 июня 1993 г. "О медицинских продуктах (изделиях)" (Richtlinie 93/42/EWG vom 14 June uber Medizinprodukte 199) |
| MEDDEV 2.7.1 Оценки клинических данных. Руководство для изготовителей и уполномоченных органов сертификации (MEDDEV) |
| ЕН ИСО 14971:2009 (ИСО 14971) Изделия медицинские. Применение менеджмента риска к медицинским продуктам (изделиям) (EN 14971, Medical deines - Application of risk management to medical devices) |
| Правила ЕЭК ООН N 16 Единообразные предписания, касающиеся официального утверждения: I. Ремней безопасности, удерживающих систем, детских удерживающих систем и детских удерживающих систем ISOFIX, предназначенных для лиц, находящихся в механических транспортных средствах. II. Транспортных средств, оснащенных ремнями безопасности, удерживающими системами, детскими удерживающими системами и детскими удерживающими системами ISOFIX |