Главная // Актуальные документы // ГОСТ Р (Государственный стандарт)СПРАВКА
Источник публикации
М.: Стандартинформ, 2020
Примечание к документу
Документ
введен в действие с 01.07.2020.
Название документа
"ГОСТ Р 58799-2020. Национальный стандарт Российской Федерации. Автомобильные транспортные средства. Гайки шестигранные приварные"
(утв. и введен в действие Приказом Росстандарта от 04.02.2020 N 26-ст)
"ГОСТ Р 58799-2020. Национальный стандарт Российской Федерации. Автомобильные транспортные средства. Гайки шестигранные приварные"
(утв. и введен в действие Приказом Росстандарта от 04.02.2020 N 26-ст)
Утвержден и введен в действие
по техническому регулированию
и метрологии
от 4 февраля 2020 г. N 26-ст
НАЦИОНАЛЬНЫЙ СТАНДАРТ РОССИЙСКОЙ ФЕДЕРАЦИИ
АВТОМОБИЛЬНЫЕ ТРАНСПОРТНЫЕ СРЕДСТВА
ГАЙКИ ШЕСТИГРАННЫЕ ПРИВАРНЫЕ
Motor vehicles. Hexagon weld nuts
ГОСТ Р 58799-2020
Дата введения
1 июля 2020 года
1 ПОДГОТОВЛЕН Федеральным государственным унитарным предприятием "Центральный ордена Трудового Красного Знамени научно-исследовательский автомобильный и автомоторный институт "НАМИ" (ФГУП "НАМИ") на основе собственного перевода на русский язык немецкоязычной версии стандарта, указанного в
пункте 4
2 ВНЕСЕН Техническим комитетом по стандартизации ТК 56 "Дорожный транспорт"
3 УТВЕРЖДЕН И ВВЕДЕН В ДЕЙСТВИЕ
Приказом Федерального агентства по техническому регулированию и метрологии от 4 февраля 2020 г. N 26-ст
| | ИС МЕГАНОРМ: примечание. Изменение, выделенное в официальном тексте документа вертикальной линией, расположенной на полях, в электронной версии документа выделено вертикальной линией справа от текста. | |
4 Настоящий стандарт является модифицированным по отношению к стандарту ДИН 929:2013 "Гайки шестигранные приварные" (DIN 929:2013 "Sechskant-Schweissmuttern", MOD) путем замены ссылок на международные стандарты ссылками на межгосударственные стандарты, действующие в качестве национальных стандартов; исключения следующих ссылок: ДИН 13-1, ДИН 13-5, ДИН 13-6, ДИН 267-2 в связи с тем, что данные стандарты не соответствуют потребностям национальной экономики и особенностям национальной стандартизации; изменения
раздела 5, который выделен вертикальной линией, расположенной на полях этого текста.
Наименование настоящего стандарта изменено относительно наименования указанного стандарта ДИН для приведения в соответствие с ГОСТ Р 1.5-2012
(пункт 3.5) и для увязки с наименованиями, принятыми в существующем комплексе национальных стандартов Российской Федерации.
Сведения о соответствии ссылочных межгосударственных стандартов международным стандартам, использованным в качестве ссылочных в примененном стандарте ДИН, приведены в дополнительном
приложении ДА
5 ВВЕДЕН ВПЕРВЫЕ
Правила применения настоящего стандарта установлены в статье 26 Федерального закона от 29 июня 2015 г. N 162-ФЗ "О стандартизации в Российской Федерации". Информация об изменениях к настоящему стандарту публикуется в ежегодном (по состоянию на 1 января текущего года) информационном указателе "Национальные стандарты", а официальный текст изменений и поправок - в ежемесячном информационном указателе "Национальные стандарты". В случае пересмотра (замены) или отмены настоящего стандарта соответствующее уведомление будет опубликовано в ближайшем выпуске ежемесячного информационного указателя "Национальные стандарты". Соответствующая информация, уведомление и тексты размещаются также в информационной системе общего пользования - на официальном сайте Федерального агентства по техническому регулированию и метрологии в сети Интернет (www.gost.ru)
Настоящий стандарт устанавливает характеристики шестигранных приварных гаек с метрической резьбой с крупным шагом от M3 до M16 и с метрической резьбой с мелким шагом номинальным диаметром от 8 до 16 мм класса точности A. Приварные гайки по настоящему стандарту подходят для соединения с болтами классов прочности менее 8.8 по
ГОСТ ISO 898-1.
Настоящий стандарт не распространяется на шестигранные приварные гайки с фланцем, характеристики которых установлены
ГОСТ ISO 21670.
В настоящем стандарте использованы нормативные ссылки на следующие стандарты:
ГОСТ ISO 898-1 Механические свойства крепежных изделий из углеродистых и легированных сталей. Часть 1. Болты, винты и шпильки установленных классов прочности с крупным и мелким шагом резьбы
ГОСТ ISO 898-2 Механические свойства крепежных изделий из углеродистых и легированных сталей. Часть 2. Гайки установленных классов прочности с крупным и мелким шагом резьбы
ГОСТ ISO 4759-1 Изделия крепежные. Допуски. Часть 1. Болты, винты, шпильки и гайки. Классы точности A, B и C
ГОСТ ISO 8992 Изделия крепежные. Общие требования для болтов, винтов, шпилек и гаек
ГОСТ 16093 (ИСО 965-1:1998, ИСО 965-3:1998) Основные нормы взаимозаменяемости. Резьба метрическая. Допуски. Посадки с зазором
ГОСТ ISO 21670 Изделия крепежные. Гайки шестигранные приварные с фланцем
ГОСТ 24705 (ИСО 724:1993) Основные нормы взаимозаменяемости. Резьба метрическая. Основные размеры
Примечание - При пользовании настоящим стандартом целесообразно проверить действие ссылочных стандартов в информационной системе общего пользования - на официальном сайте Федерального агентства по техническому регулированию и метрологии в сети Интернет или по ежегодному информационному указателю "Национальные стандарты", который опубликован по состоянию на 1 января текущего года, и по выпускам ежемесячного информационного указателя "Национальные стандарты" за текущий год. Если заменен ссылочный стандарт, на который дана недатированная ссылка, то рекомендуется использовать действующую версию этого стандарта с учетом всех внесенных в данную версию изменений. Если заменен ссылочный стандарт, на который дана датированная ссылка, то рекомендуется использовать версию этого стандарта с указанным выше годом утверждения (принятия). Если после утверждения настоящего стандарта в ссылочный стандарт, на который дана датированная ссылка, внесено изменение, затрагивающее положение, на которое дана ссылка, то это положение рекомендуется применять без учета данного изменения. Если ссылочный стандарт отменен без замены, то положение, в котором дана ссылка на него, рекомендуется применять в части, не затрагивающей эту ссылку.
Размеры шестигранных приварных гаек, за исключением приварных бобышек, форма которых может отличаться от
рисунка 1, должны соответствовать указанным в
таблице 1.
Таблица 1
В миллиметрах
Резьба | b | d1 | d2 | d3 | |
D | | Значение | Допуск | d11 | H13 | не более | не менее |
M3 | - | - | 0,80 | +/- 0,2 | 4,50 | 4,50 | 3,15 | 8,15 |
M4 | - | - | 0,80 | 6,00 | 6,00 | 4,20 | 9,83 |
M5 | - | - | 0,80 | 7,00 | 7,00 | 5,25 | 10,95 |
M6 | - | - | 0,90 | +/- 0,22 | 8,00 | 8,00 | 6,30 | 12,02 |
M8 | M8 x 1 | - | 1,00 | +/- 0,25 | 10,50 | 10,50 | 8,40 | 15,38 |
M10 | M10 x 1,25 | M10 x 1 | 1,25 | +/- 0,3 | 12,50 | 12,50 | 10,50 | 18,74 |
- | - | | 1,25 | 12,50 | 13,50 | 11,70 | 18,74 |
- | - | | 1,25 | 13,50 | 13,50 | 11,70 | 20,91 |
M12 | M12 x 1,25 | M12 x 1,5 | 1,25 | 14,80 | 14,80 | 12,60 | 20,91 |
(M14) | (M14 x 1,5) | - | 1,50 | +/- 0,4 | 16,80 | 16,80 | 14,70 | 24,27 |
M16 | M16 x 1,5 | - | 1,50 | 18,80 | 18,80 | 16,80 | 26,51 |
Окончание таблицы 1
В миллиметрах
Резьба | h1 | h2 | m | s | Масса (7,85 кг/дм3), кг/1000 шт. |
D | | Значение | Допуск | Значение | Допуск | h14 | h13 |
M3 | - | - | 0,55 | 0 - 0,1 | 0,25 | 0 - 0,1 | 3,0 | 7,5 | 0,78 |
M4 | - | - | 0,65 | 0,35 | 3,5 | 9,0 | 1,13 |
M5 | - | - | 0,70 | 0,40 | 4,0 | 10,0 | 1,73 |
M6 | - | - | 0,75 | 0 - 0,15 | 0,40 | 5,0 | 11,0 | 2,50 |
M8 | M8 x 1 | - | 0,90 | 0,50 | 0 - 0,15 | 6,5 | 14,0 | 5,27 |
M10 | M10 x 1,25 | M10 x 1 | 1,15 | 0 - 0,2 | 0,65 | 8,0 | 17,0 | 9,58 |
- | - | | 1,15 | 0,65 | 0 - 0,2 | 10,0 | 17,0 | 12 |
- | - | | 1,40 | 0,80 | 10,0 | 19,0 | 14 |
M12 | M12 x 1,25 | M12 x 1,5 | 1,40 | 0,80 | 10,0 | 19,0 | 13,7 |
(M14) | (M14 x 1,5) | - | 1,80 | 1,00 | 11,0 | 22,0 | 21,3 |
(M16) | (M16 x 1,5) | - | 1,80 | 1,00 | 13,0 | 24,0 | 28,5 |
Размеры, заключенные в скобки, применять не рекомендуется. <c> Только для крепления ремней безопасности в автомобилях. |
Материал | Сталь (St) с массовой долей углерода не более 0,25% <a> |
Общие требования | Обозначение стандарта | |
Резьба | Поле допуска | 6G |
Обозначение стандарта | |
Механические свойства | Пробные нагрузки | |
Испытание пробной нагрузкой | |
Предельные размеры, допуски формы и расположения | Класс точности | A |
Обозначение стандарта | |
Отделка - покрытие | Черный оксид (термический или химический) |
Требования к гальваническим покрытиям по ГОСТ ISO 4042. На приварных гайках без покрытий коррозия может возникать уже во время их хранения или во время транспортирования. Изготовитель должен принять соответствующие меры для защиты от коррозии во время транспортирования без ущерба для привариваемости |
Приемочный контроль | |
<a> Другие марки сталей - по согласованию сторон. |
Шестигранные приварные гайки по настоящему стандарту должны выдерживать пробные нагрузки по
таблице 3. Испытание на пробную нагрузку выполняют по
ГОСТ ISO 898-2. В спорных случаях перед испытанием приварные элементы удаляют шлифованием.
Таблица 3
Резьба с крупным шагом D | Пробная нагрузка H | Резьба с мелким шагом D x P | Пробная нагрузка H |
M3 | 3800 | - | - |
M4 | 6800 | - | - |
M5 | 11000 | - | - |
M6 | 15500 | - | - |
M8 | 28300 | M8 x 1 | 30200 |
M10 | 44800 | M10 x 1 | 50200 |
- | - | M10 x 1,25 | 47800 |
- | - | 7/16-20 UNF-2B | 53600 |
M12 | 65300 | M12 x 1,25 | 72100 |
- | - | M12 x 1,5 | 68200 |
M14 | 89700 | M14 x 1,5 | 97500 |
M16 | 123000 | M16 x 1,5 | 132000 |
Примеры условных обозначений: Гайка шестигранная приварная по ГОСТ Р 58799, с резьбой M10, из стали (St): Гайка приварная ГОСТ Р 58799-2020 - M10 - St Для шестигранной приварной гайки из стали с резьбой UNF дополнительно указывают размер под ключ. Гайка шестигранная приварная по ГОСТ Р 58799, с резьбой 7/16-20 UNF-2B, размером под ключ 17 мм (SW17), из стали (St): Гайка приварная ГОСТ Р 58799-2020 - 7/16-20 UNF-2B - SW17 - St |
Шестигранные приварные гайки с резьбой M5 и более следует маркировать товарным знаком производителя углубленной маркировкой в месте, выбранном производителем.
7 Указание мест сварки в чертежах
Рисунок 2 - Указание мест сварки в чертежах
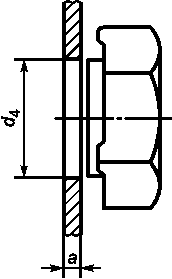
8 Присоединительные размеры
Рисунок 3 - Присоединительные размеры
(гайки еще не приварены)
Таблица 4
Присоединительные размеры
В миллиметрах
D | | Толщина листа a | Диаметр отверстия d4 |
D x P | не менее | не более | H11 |
M3 | - | - | 0,63 | 1,5 | 4,5 |
M4 | - | - | 0,75 | 1,5 | 6,0 |
M5 | - | - | 0,88 | 2,0 | 7,0 |
M6 | - | - | 0,88 | 2,5 | 8,0 |
M8 | M8 x 1 | - | 1,00 | 3,0 | 10,5 |
M10 | M10 x 1,25 | M10 x 1 | 1,25 | 4,0 | 12,5 |
- | - | 7/16-20 UNF-2B | 1,25 | 4,0 | 13,5 |
M12 | M12 x 1,25 | M12 x 1,5 | 1,50 | 5,0 | 14,8 |
M14 | M14 x 1,5 | - | 2,00 | 6,0 | 16,8 |
M16 | M16 x 1,5 | - | 2,00 | 6,0 | 18,8 |
(справочное)
СВЕДЕНИЯ О СООТВЕТСТВИИ ССЫЛОЧНЫХ НАЦИОНАЛЬНЫХ
И МЕЖГОСУДАРСТВЕННЫХ СТАНДАРТОВ МЕЖДУНАРОДНЫМ СТАНДАРТАМ,
ИСПОЛЬЗОВАННЫМ В КАЧЕСТВЕ ССЫЛОЧНЫХ В ПРИМЕНЕННОМ
СТАНДАРТЕ ДИН
Обозначение ссылочного межгосударственного стандарта | Степень соответствия | Обозначение и наименование ссылочного международного стандарта |
| IDT | ISO 898-1:2013 "Механические свойства крепежных изделий из углеродистой и легированной стали. Часть 1. Болты, винты и шпильки установленных классов прочности. Резьбы с крупным и мелким шагом" |
| IDT | ISO 898-2:2012 "Механические свойства крепежных изделий из углеродистой стали и легированной стали. Часть 2. Гайки установленных классов прочности. Крупная и мелкая резьба" |
| IDT | ISO 3269:2000 "Изделия крепежные. Приемочный контроль" |
| MOD | ISO 4042:1999 "Изделия крепежные. Системы электролитических покрытий" |
| IDT | ISO 4759-1:2000 "Изделия крепежные. Допуски. Часть 1. Болты, винты, шпильки и гайки. Классы изделий A, B и C" |
| IDT | ISO 8992:2005 "Изделия крепежные. Общие требования для болтов, винтов, шпилек, гаек" |
| MOD | ISO 965-1:1998 "Резьбы метрические ISO общего назначения. Допуски. Часть 1. Принципы и основные данные" |
| IDT | ISO 21670:2014 "Изделия крепежные. Гайки шестигранные приварные с фланцем" |
| MOD | ISO 724:1993 "Резьбы метрические ИСО общего назначения. Основные размеры" |
Примечание - В настоящей таблице использованы следующие условные обозначения степени соответствия стандартов: - IDT - идентичные стандарты; - MOD - модифицированные стандарты. |
[1] | ДИН 4000-161 | Головки таблиц основных технических характеристик. Часть 161. Крепеж с внутренней резьбой |
(DIN 4000-161) | (Tabular layout of product properties - Part 161: Fasteners with internal thread) |
[2] | ASME B 1.1 | Унифицированные дюймовые резьбы (форма резьбы UN и UNR) |
(ASME B 1.1) | [Unified Inch Screw Threads (UN and UNR Thread Form)] |
УДК 621.882.6:006.354 | | |
Ключевые слова: автомобильные транспортные средства, шестигранные приварные гайки, технические требования, обозначение, маркировка |