Главная // Актуальные документы // ГОСТ Р (Государственный стандарт)СПРАВКА
Источник публикации
М.: Стандартинформ, 2019
Примечание к документу
По сведениям, размещенным на Информационном портале Росстандарта по адресу https://uvedns.gostinfo.ru/, данный документ утрачивает силу с 01.09.2025 в связи с изданием Приказа Росстандарта от 29.08.2024 N 1126-ст. Взамен вводится в действие ГОСТ Р 58704-2024.
Документ включен в
Перечень международных и региональных (межгосударственных) стандартов, а в случае их отсутствия - национальных (государственных) стандартов, в результате применения которых на добровольной основе обеспечивается соблюдение требований технического
регламента Таможенного союза "О безопасности продукции, предназначенной для детей и подростков" (ТР ТС 007/2011), и документ включен в
Перечень международных и региональных (межгосударственных) стандартов, а в случае их отсутствия - национальных (государственных) стандартов, содержащих правила и методы исследований (испытаний) и измерений, в том числе правила отбора образцов, необходимые для применения и исполнения требований технического
регламента Таможенного союза "О безопасности продукции, предназначенной для детей и подростков" (ТР ТС 007/2011) и осуществления оценки соответствия объектов технического регулирования (
Решение Коллегии Евразийской экономической комиссии от 14.03.2023 N 31).
Документ
введен в действие с 01.06.2020.
Название документа
"ГОСТ Р 58704-2019. Национальный стандарт Российской Федерации. Велосипеды для детей младшего возраста. Требования безопасности и методы испытаний"
(утв. и введен в действие Приказом Росстандарта от 29.11.2019 N 1282-ст)
"ГОСТ Р 58704-2019. Национальный стандарт Российской Федерации. Велосипеды для детей младшего возраста. Требования безопасности и методы испытаний"
(утв. и введен в действие Приказом Росстандарта от 29.11.2019 N 1282-ст)
Утвержден и введен в действие
по техническому регулированию
и метрологии
от 29 ноября 2019 г. N 1282-ст
НАЦИОНАЛЬНЫЙ СТАНДАРТ РОССИЙСКОЙ ФЕДЕРАЦИИ
ВЕЛОСИПЕДЫ ДЛЯ ДЕТЕЙ МЛАДШЕГО ВОЗРАСТА
ТРЕБОВАНИЯ БЕЗОПАСНОСТИ И МЕТОДЫ ИСПЫТАНИЙ
Bicycles for young children. Safety requirements
and test methods
(ISO 8098:2014, NEQ)
ГОСТ Р 58704-2019
Дата введения
1 июня 2020 года
1 РАЗРАБОТАН Федеральным государственным унитарным предприятием "Российский научно-технический центр информации по стандартизации, метрологии и оценке соответствия" (ФГУП "СТАНДАРТИНФОРМ")
2 ВНЕСЕН Техническим комитетом по стандартизации ТК 444 "Спортивные и туристские изделия, оборудование, инвентарь, физкультурные и спортивные услуги"
3 УТВЕРЖДЕН И ВВЕДЕН В ДЕЙСТВИЕ
Приказом Федерального агентства по техническому регулированию и метрологии 29 ноября 2019 г. N 1282-ст
4 Настоящий стандарт разработан с учетом основных нормативных положений международного стандарта ИСО 8098:2014 "Велосипеды. Требования безопасности, предъявляемые к детским велосипедам" (ISO 8089:2014 "Cycles-Safety requirements for bicycles for young children", NEQ)
Правила применения настоящего стандарта установлены в статье 26 Федерального закона от 29 июня 2015 г. N 162-ФЗ "О стандартизации в Российской Федерации". Информация об изменениях к настоящему стандарту публикуется в ежегодном (по состоянию на 1 января текущего года) информационном указателе "Национальные стандарты", а официальный текст изменений и поправок - в ежемесячном информационном указателе "Национальные стандарты". В случае пересмотра (замены) или отмены настоящего стандарта соответствующее уведомление будет опубликовано в ближайшем выпуске ежемесячного информационного указателя "Национальные стандарты". Соответствующая информация, уведомление и тексты размещаются также в информационной системе общего пользования - на официальном сайте Федерального агентства по техническому регулированию и метрологии в сети Интернет (www.gost.ru)
Настоящий стандарт распространяется на двухколесные велосипеды с седлом высотой от 435 до 635 мм, приводимые в движение передаточным механизмом на заднее колесо, и устанавливает требования безопасности и методы испытаний, а также содержит рекомендации по разработке инструкций по эксплуатации и техническому обслуживанию.
Стандарт не распространяется на специальные двухколесные велосипеды для исполнения трюков.
В настоящем стандарте использованы нормативные ссылки на следующие стандарты:
ГОСТ 29235 (ИСО 6742-2-85) Велосипеды. Световозвращающие устройства. Фотометрические и физические требования
ГОСТ Р 53442 (ИСО 1101:2012) Основные нормы взаимозаменяемости. Характеристики изделий геометрические. Установление геометрических допусков. Допуски формы, ориентации, месторасположения и биения
ГОСТ Р 55789 Оборудование и инвентарь спортивные. Термины и определения
Примечание - При пользовании настоящим стандартом целесообразно проверить действие ссылочных стандартов в информационной системе общего пользования - на официальном сайте Федерального агентства по техническому регулированию и метрологии в сети Интернет или по ежегодному информационному указателю "Национальные стандарты", который опубликован по состоянию на 1 января текущего года, и по выпускам ежемесячного информационного указателя "Национальные стандарты" за текущий год. Если заменен ссылочный стандарт, на который дана недатированная ссылка, то рекомендуется использовать действующую версию этого стандарта с учетом всех внесенных в данную версию изменений. Если заменен ссылочный стандарт, на который дана датированная ссылка, то рекомендуется использовать версию этого стандарта с указанным выше годом утверждения (принятия). Если после утверждения настоящего стандарта в ссылочный стандарт, на который дана датированная ссылка, внесено изменение, затрагивающее положение, на которое дана ссылка, то это положение рекомендуется применять без учета данного изменения. Если ссылочный стандарт отменен без замены, то положение, в котором дана ссылка на него, рекомендуется применять в части, не затрагивающей эту ссылку
В настоящем стандарте применены термины по
ГОСТ Р 55789, а также следующие термины с соответствующими определениями:
3.1 тормозная ручка: Рукоятка, управляющая тормозным механизмом.
3.2 тормозная сила: Усилие, тангенциальное относительно шины колеса, препятствующее его вращению при применении тормозов.
3.3 травмоопасный выступ: Выступ, который по своему расположению и жесткости может представлять опасность для ребенка при контакте с ним при нормальной эксплуатации или в случае транспортного происшествия.
4 Требования безопасности
4.1 Велосипеды изготавливают в соответствии с требованиями настоящего стандарта и комплекта конструкторской документации по технологическому регламенту, утвержденному в установленном порядке.
4.2 Элементы велосипеда должны быть изготовлены из материалов, разрешенных к применению для детской продукции, соответствовать
[1] и не иметь острых выступающих краев.
Размер и форма защиты краев не должны допускать нанесения ранения или травмы. Резьба, выступающая из сопряженной части с внутренней резьбой и представляющая собой травмоопасный выступ, не должна превышать по длине одного наружного диаметра резьбы.
4.3 Любые винты, используемые при сборке систем подвески, электрогенераторов, тормозных механизмов и крыльев, прикрепленные к раме или вилке, а также седло к опоре сиденья, должны быть снабжены соответствующими стопорными устройствами (например, пружинными шайбами, контргайками, резьбовыми герметиками или самоконтрящимися гайками).
Зажимы, применяемые для сборки втулок и дисковых тормозов, должны иметь теплоустойчивые запирающие механизмы.
Минимальный разрушающий крутящий момент затяжки болтов стержня руля должен превышать максимальный крутящий момент затяжки, установленный изготовителем, не менее чем на 50%.
Зажимные устройства стержня руля, ручек руля, рычагов, седел и подседельных штырей должны выдерживать крутящий момент затяжки болтовых соединений, превышающий установленный изготовителем не менее чем на 50%.
4.4 Велосипеды должны быть оснащены передними, задними, боковыми и педальными световозвращающими устройствами по ГОСТ 29235.
4.5 Механизм складывания (при наличии) должен быть простым для использования, стабильным и безопасным. Блокирующие элементы не должны контактировать с колесами или шинами и не допускать возможности непреднамеренного ослабления или разблокировки механизма складывания во время езды.
4.6 Тормоза
4.6.1 Велосипеды должны быть оснащены двумя независимыми тормозными системами, действующими одна на переднее колесо, а другая - на заднее. Тормозная система заднего колеса должна обеспечивать возможность торможения руками или ногами в зависимости от конструкции.
Значения минимальных и максимальных сил торможения, действующих на шины, в зависимости от прилагаемого усилия на рукоятке тормоза, указаны в
таблице 1.
Усилие на рукоятке тормоза, Н | Сила торможения, действующая на шину, Н |
минимальная | максимальная (только для переднего тормоза) |
40 | 40 | 100 |
60 | 50 | 140 |
80 | 60 | 80 |
Тормозная колодка должна быть надежно прикреплена к держателю и обеспечивать эффективность торможения.
Применение тормозных колодок, содержащих асбест, не допускается.
4.6.2 Рукоятку передних тормозов по традиции (практике) обычно устанавливают слева, а задних - справа, что указывают в инструкции по эксплуатации. Тем не менее, конструкция велосипеда должна предусматривать возможность перестановки рукояток, например, если ребенок левша.
Максимальный размер
d между наружными поверхностями тормозной ручки и рулем или оплеткой руля, или другим покрытием, при наличии, должен быть не более 75 мм между точками на расстоянии 40 мм (см.
рисунок 1).
a - расстояние между частью рукоятки, контактирующей
с пальцами, и краем
Диапазон регулирования тормозной ручки должен обеспечивать соблюдение указанных требований к размерам.
4.6.3 Стяжные болты гибкого троса не должны перерезать ни одну из проволок, при сборке по инструкции изготовителя. В случае неисправности троса ни одна из частей тормозного механизма не должна препятствовать вращению колеса.
Конец троса должен иметь предохранительный наконечник, защищающий скрутку проволок и выдерживающий растягивающее усилие не менее 20 Н.
4.6.4 Каждый тормоз должен иметь возможность регулирования с использованием инструмента или без него для обеспечения эффективного рабочего состояния до степени износа тормозных колодок, указанной в инструкции по эксплуатации.
При правильной регулировке тормозные колодки должны контактировать только с поверхностью, предназначенной для торможения.
При наличии регулятора тормозов, его конструкция должна предусматривать невозможность неправильного применения.
4.6.5 Если задний тормоз приводится в действие ногой в направлении, противоположном движущей силе, механизм тормоза должен действовать независимо от положения привода или регулировки. Максимальный угол между положениями шатуна при движении и торможении - 60°.
4.7 Руль
4.7.1 Общая ширина руля должна составлять от 350 до 550 мм. Расстояние по вертикали между верхней частью ручек руля, находящихся в самом высоком положении, и плоскостью седла, находящегося в самом нижнем положении, должно быть не более 400 мм.
4.7.2 Концы руля должны быть снабжены ручками, выдерживающими усилие стягивания не менее 70 Н. Ручки руля должны быть изготовлены из эластичного материала, выдерживающего температуру окружающей среды от минус 5 °C до плюс 60 °C, и иметь расширенный закрытый торец диаметром не менее 40 мм. Концы руля не должны затруднять действие рукояток тормоза.
4.7.3 Вынос руля должен быть надежно закреплен и выдерживать механические воздействия: боковой изгиб, изгиб вперед и крутящий момент вокруг оси при минимальной глубине ввода в шток вилки без смещений, вращения и деформаций.
Минимальную безопасную глубину ввода в шток вилки обеспечивают одним из следующих способов:
- на внешней поверхности выноса руля должна быть постоянная метка (по всей длине окружности), указывающая минимальную глубину его ввода в шток вилки или постоянное средство, обеспечивающее минимальную глубину ввода. Метка должна находиться на расстоянии не менее 2,5 диаметров стержня от нижнего конца выноса руля. Ниже метки должен оставаться участок стержня длиной, равной не менее одного диаметра выноса; либо
- вынос руля должен иметь неподвижный стопор, предотвращающий его вытягивание из штока вилки.
4.7.4 Правильно отрегулированный руль должен свободно, без заеданий и люфта в подшипниках поворачиваться в обе стороны не менее чем на 60° от положения при движении прямо.
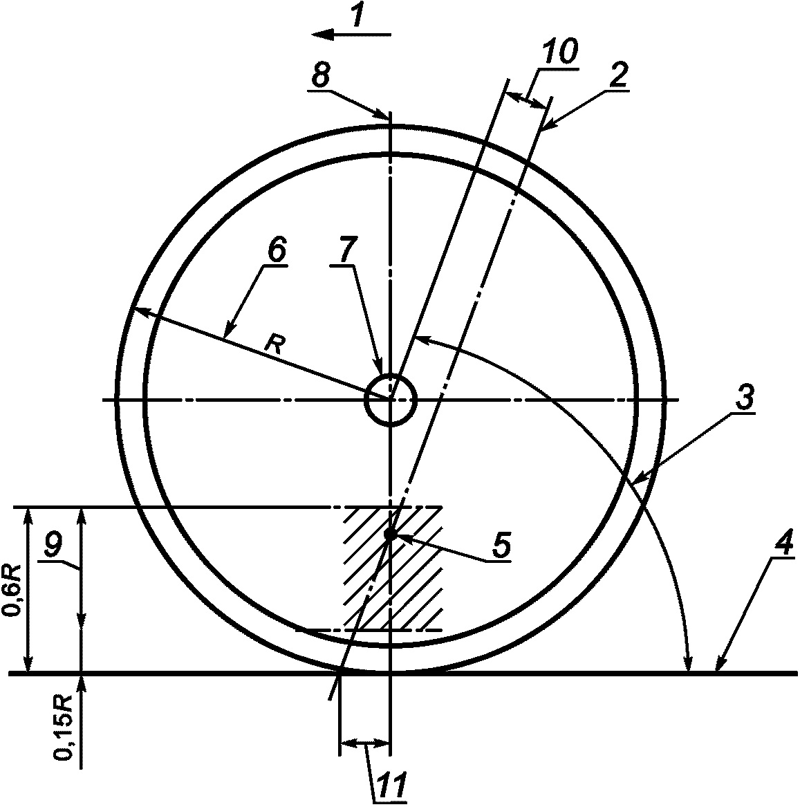
Примечание - Угол поворота рулевой колонки должен быть не более 75° и не менее 60° относительно горизонтальной поверхности.
Точка пересечения оси рулевой колонки
5 и перпендикуляра к горизонтальной поверхности, проходящего через центр колеса, должна находиться в области
9 (заштрихована), размеры области должны соответствовать указанным на
рисунке 2.
1 - направление движения; 2 - оси рулевого управления;
3 - угол поворота рулевой колонки; 4 - горизонтальная
поверхность; 5 - точка пересечения; 6 - радиус колеса;
7 - центр колеса; 8 - ось колеса, перпендикулярная
к горизонтальной поверхности; 9 - толерантность;
10 - смещение; 11 - след
Для обеспечения устойчивости рулевого управления не менее 25% общей массы велосипеда и велосипедиста должны приходиться на переднее колесо при условии, что седло и велосипедист максимально смещены назад.
4.8 Рама
4.8.1 Узел рама - передняя вилка должен быть ударопрочным.
4.8.2 Пазы внутри передней вилки должны обеспечивать плотное прилегание конусов к верхней поверхности пазов для устойчивого положения переднего колеса в плоскости симметрии вилки.
4.9 Колеса
4.9.1 В соответствии с требованиями
ГОСТ Р 53442 допуск радиального биения колес - 2 мм; торцового - 2 мм.
Зазор между шиной и любой деталью рамы, вилки, щитка или крепления щитка должен быть не менее 6 мм.
4.9.2 При затяжке гаек оси колеса должно быть обеспечено превышение минимального крутящего момента, установленного изготовителем, на 70% без разрушения их резьбы.
4.9.3 Максимальное значение внутреннего давления в шинах, рекомендуемое изготовителем, должно быть отлито на ее боковой поверхности и быть легко различимо на колесе в сборе.
На непневматические шины требование не распространяется.
Примечание - Минимальное давление рекомендуется отливать на боковой поверхности шины.
Шины должны выдерживать накачивание до 110% максимального внутреннего давления, рекомендованного изготовителем, без повреждений.
4.10 Педали
4.10.1 Конструкция педали должна обеспечивать неподвижность опорной поверхности относительно корпуса педали. Педаль должна свободно поворачиваться на оси.
Педали должны иметь две опорные поверхности или одну, автоматически занимающую положение "к ступне".
4.10.2 Ни одна деталь педали, находящейся в самой нижней точке, и ее опорная поверхность не должны касаться поверхности земли при отклонении ненагруженного велосипеда со снятыми поддерживающими роликами от вертикального положения на 23°.
Если велосипед снабжен пружинным амортизатором, то он должен сдавливаться приложением на седло грузом массой 30 кг при вертикальном положении велосипеда. С подвеской, зажатой в этом положении, велосипед должен быть наклонен под углом 23° к вертикали, прежде чем какая-либо часть педали коснется земли.
Зазор между педалью и передней шиной или щитком переднего колеса (при вращении в любом положении) должен быть не менее 89 мм.
4.11 Седло и подседельный штырь
4.11.1 Ни одна деталь седла, опоры седла или принадлежностей, прикрепленных к седлу, не должна возвышаться над его поверхностью в точке его пересечения с осью подседельного штыря более чем на 125 мм.
4.11.2 Подседельный штырь должен иметь поперечную метку, определяющую минимальную глубину его ввода в раму, длиной не менее одного внешнего диаметра или основного размера поперечного сечения сиденья.
Для круглого поперечного сечения метка должна располагаться на расстоянии не менее двух диаметров стойки от ее нижней части. Для некруглого поперечного сечения метка должна быть на расстоянии не менее 65 мм от нижней части стойки, либо подседельный штырь должен иметь постоянный стопор, чтобы предотвратить его вытягивание из рамы.
4.12 Велосипед должен быть оснащен щитком, полностью закрывающим наружную поверхность и края цепи, ведущую и ведомую звездочки, внутреннюю поверхность ведущей звездочки, точки касания цепи и ведущей звездочки (см.
рисунок 3).
1 - степень покрытия на внутренней поверхности;
2 - цепное колесо
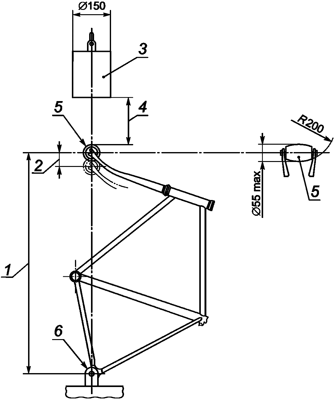
4.13 Установка или снятие стабилизаторов должна быть обеспечена без демонтажа фиксаторов оси заднего колеса.
Расстояние по горизонтали между вертикальной плоскостью каждого поддерживающего ролика и плоскостью рамы велосипеда должно быть не менее 175 мм (см.
рисунок 29).
Зазор между каждым роликом и плоской горизонтальной поверхностью должен быть не более 25 мм (при поддерживании велосипеда).
На раме в доступном месте должна быть нанесена прочная маркировка с указанием следующего:
- серийный номер велосипеда;
- наименование (обозначение) изготовителя, импортера или торговая марка;
- обозначение настоящего стандарта.
Примечание - Для компонентов нет конкретных требований по маркировке, но рекомендуется, чтобы следующие важные для безопасности компоненты были четко промаркированы с прослеживаемой идентификацией, например наименование изготовителя и номер следующих деталей:
- передней вилки;
- руля и выноса руля;
- седла;
- тормозных колодок и/или держателей тормозных колодок;
- кожуха внешнего тормоза;
- гидравлической тормозной трубки;
- тормозных ручек;
- цепи;
- педалей и шатунов;
- вала каретки;
- ободьев.
5.1 При проведении испытаний образцы должны быть в полностью собранном состоянии, если иное не указано в соответствующем методе.
При проведении испытаний допуски номинальных значений параметров должны быть следующими, если иное не указано в методе испытаний:
- усилия и моменты +5%;
- масса, вес +/- 1%;
- размеры +/- 1 мм;
- углы +/- 1°;
- время +/- 5 с;
- температура +/- 2 °C;
- давление +/- 5%.
5.2 Все испытания на прочность проводят при температуре (23 +/- 5) °C с предварительной выдержкой образцов в течение 2 ч при этой температуре.
Испытания на прочность включают в себя статические, динамические, усталостные и на ударопрочность (см.
5.6 -
5.13).
Каждое испытание (кроме статических) проводят на новом образце. При наличии только одного образца испытания проводят в следующей последовательности: статические, усталостные, динамические, на ударопрочность, что фиксируют в отчете или протоколе испытаний, поскольку результаты предыдущих испытаний могут влиять на результаты последующих, а в случае разрушения образца сопоставление с результатами испытаний на отдельных образцах невозможно.
Нагрузку при проведении испытаний на усталостную прочность прикладывают и ослабляют постепенно, с шагом не более 10 Н. Степень затяжки зажимов проверяют после 1000 циклов испытаний и вносят поправки в исходные настройки сборочных узлов (применимо ко всем компонентам, использующим зажимы для крепления).
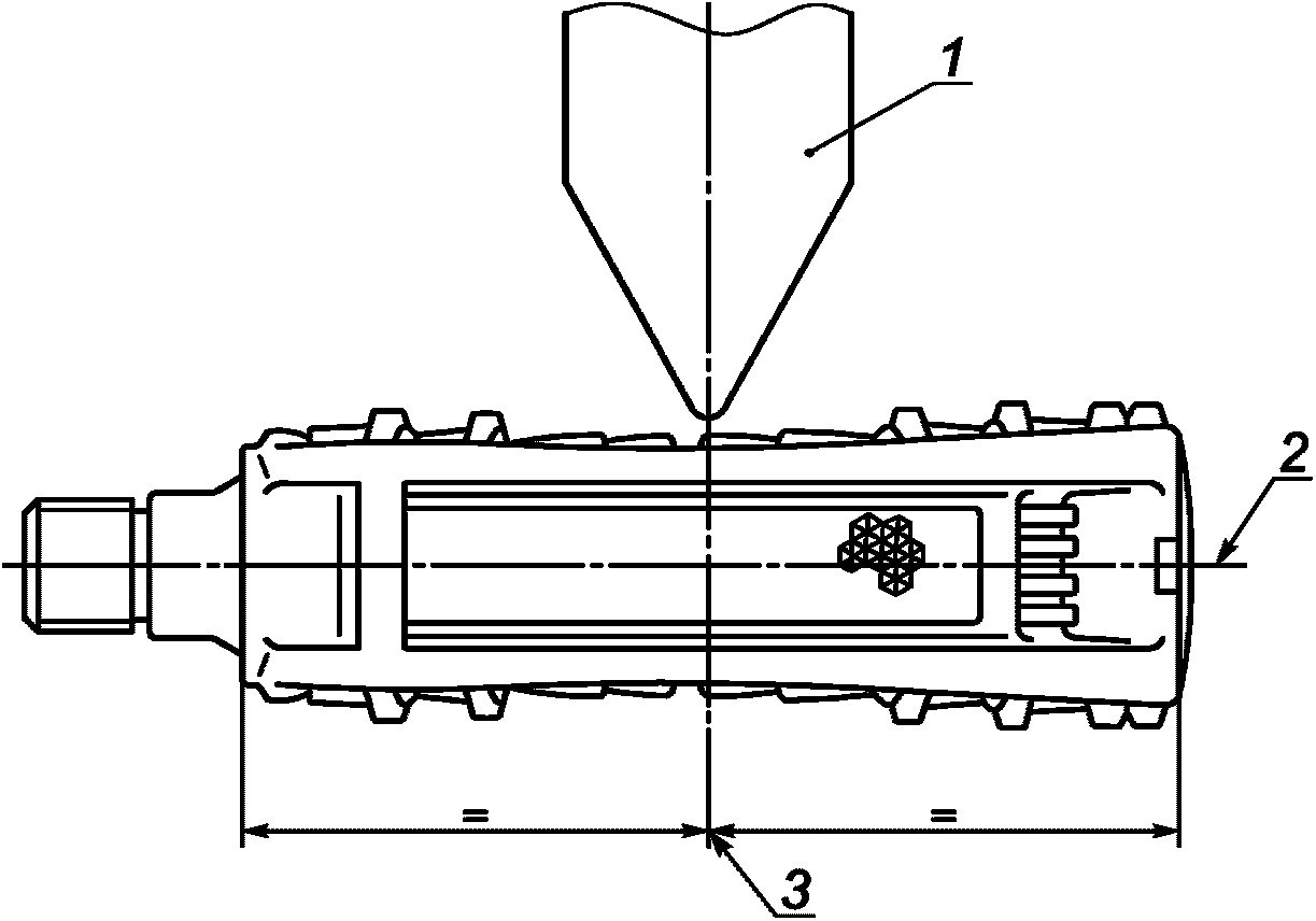
5.3 При проведении испытаний на ударопрочность (удар по вертикали) ударник массой 15 кг и размерами (см.
рисунок 4) сбрасывают с такой высоты, чтобы его скорость при ударе об испытуемую деталь или поверхность была не менее 95% скорости свободного падения. Ширина ударника должна быть более ширины испытуемой детали.
Скорость свободного падения v, м/с, вычисляют по формуле

, (1)
где g - ускорение свободного падения (9,8 м/с2);
h - высота падения, м.
Эффективность

, %, вычисляют по формуле

, (2)
где vi - скорость, измеренная при ударе, м/с.
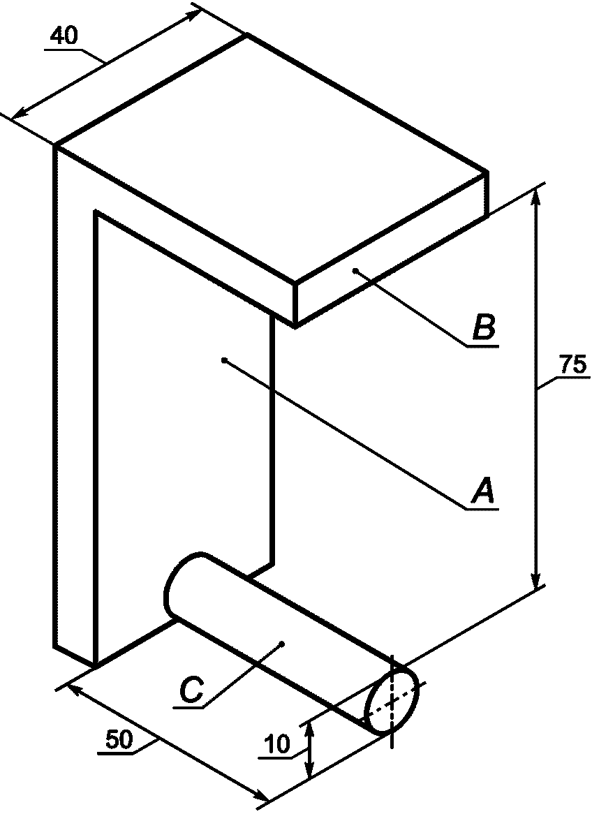
5.4 Размеры тормозной ручки
(4.6.2) измеряют с помощью устройства, показанного на
рисунке 5. Устройство устанавливают на руле (ручке руля и тормозной ручке), как показано на
рисунке 6. Поверхность
A должна соприкасаться с ручкой руля и стороной тормозной ручки, поверхность
B - находиться в постоянном контакте с частью тормозной ручки, контактирующей с пальцами. Устройство не должно вызывать движения тормозной ручки относительно руля или рукоятки. Измеряют расстояние
a между крайней частью рукоятки, контактирующей с пальцами, и концом рукоятки (см.
рисунок 1).
A - вертикальная поверхность;
B - горизонтальная поверхность; C - стержень
5.5 Проверка тормозной системы
5.5.1 Для всех испытаний на торможение испытательную силу
F прикладывают на расстоянии
b >= 25 мм от свободного конца тормозной ручки (см.
рисунок 7).
5.5.2 Испытание тормозных колодок
(4.6.1) проводят на велосипеде с установленными в правильном положении тормозами и эквивалентной массой на седле. Общая масса велосипеда с эквивалентной массой - не более 30 кг.
Приводят в действие каждый тормозной рычаг с силой не более 130 Н, до контакта тормозной ручки с ручкой руля. Поддерживают значение усилия при одновременном движении велосипеда вперед и назад на не менее чем 75 мм по пять раз в каждом направлении.
5.5.3 Испытание на прочность тормозной ручки
(4.6.4) проводят после регулировки тормозной системы в соответствии с рекомендациями в инструкциях изготовителя. Нагрузку не более 300 Н прикладывают в точке, указанной на
рисунке 7, для приведения:
- рычага тросового тормоза в контакт с ручкой руля или рулем, если ручка не установлена;
- тормозного рычага с рулевым управлением к верхней поверхности ручки руля.
Испытание проводят 10 раз на каждом рычаге тормоза. После испытания не должно быть неисправностей тормозной системы или любого ее элемента.
5.5.4 Испытание заднего тормоза
(4.6.4) проводят после регулировки тормозной системы в соответствии с рекомендациями в инструкции изготовителя. Шатун педали должен находиться в горизонтальном положении (см.
рисунок 8). Постепенно прикладывают в вертикальном направлении силу не менее 600 Н к центру оси педали и поддерживают в течение 1 мин. Испытание проводят пять раз.
1 - сила торможения колеса; 2 - измерительный прибор;
3 - лента, обернутая вокруг колеса; 4 - направление
приложения силы на педаль
После испытания не должно быть неисправностей тормозной системы или любого ее элемента.
Максимальный угол между положениями шатуна при движении и торможении измеряют после приложения к шатуну крутящего момента не менее 140 Н м в его крайних положениях. Нагрузку поддерживают в течение 1 мин в каждом положении.
5.5.5 Проверку эффективности тормозной ручки проводят на велосипеде с отрегулированным тормозом (седло можно снять).
Велосипед закрепляют в зажимном приспособлении, а прибор, измеряющий тормозное усилие, соединяют с соответствующим колесом (см.
рисунок 9).
1 - прибор для измерения тормозного усилия; 2 - лента,
обернутая вокруг колеса; 3 - зажимное приспособление;
4 - усилие на рукоятке тормоза
Постепенно прикладывают усилия 40, 50, 60, 70 и 80 Н к соответствующему рычагу тормоза в точке, указанной на
рисунке 7. К колесу по касательной к окружности прикладывают усилие в направлении движения вперед.
После одного полуоборота колеса снимают показания прибора, измеряющего силу торможения при вращении колеса с линейной скоростью от 0,5 до 2,0 м/с.
По результатам трех измерений определяют среднеарифметическое значение тормозного усилия на колесе.
5.5.6 Проверку эффективности заднего тормоза проводят на велосипеде с отрегулированным тормозом.
Велосипед закрепляют в зажимном приспособлении, а прибор, измеряющий тормозное усилие, соединяют с соответствующим колесом, см.
рисунок 8.
К педали под прямым углом к шатуну и в направлении торможения прикладывают усилия 20, 40, 60, 80 и 100 Н. Отношение усилия на педали к тормозному усилию должно быть не более двух.
К колесу по касательной к окружности прикладывают усилие в направлении движения вперед.
После одного полуоборота колеса снимают показания прибора, измеряющего тормозное усилие, при вращении колеса с линейной скоростью от 0,5 до 2,0 м/с.
По результатам трех измерений определяют среднеарифметическое значение тормозного усилия на колесе.
5.6 Испытания рулевого управления
5.6.1 Испытания ручек руля
При испытании на соответствие требованиям
4.7.2 руль с установленными ручками погружают в воду комнатной температуры и выдерживают в течение одного часа. Затем руль помещают в морозильную камеру и выдерживают до температуры ниже минус 5 °C. Руль вынимают из камеры, выдерживают до тех пор, пока температура руля не достигнет 5 °C, затем прикладывают усилие 70 Н на ручку в направлении стягивания (см.
рисунок 10).
1 - ручка руля; 2 - руль; 3 - обводной рычаг;
4 - крючкообразное кольцо (можно отделить); 5 - зазор
Затем руль погружают в воду температурой (60 +/- 2) °C и выдерживают в течение 1 ч. Руль вынимают из горячей воды, выдерживают при температуре окружающей среды в течение 30 мин, затем прикладывают усилие 100 Н на ручку в направлении стягивания в течение 1 мин.
Во время испытаний ручки не должны стягиваться с руля.
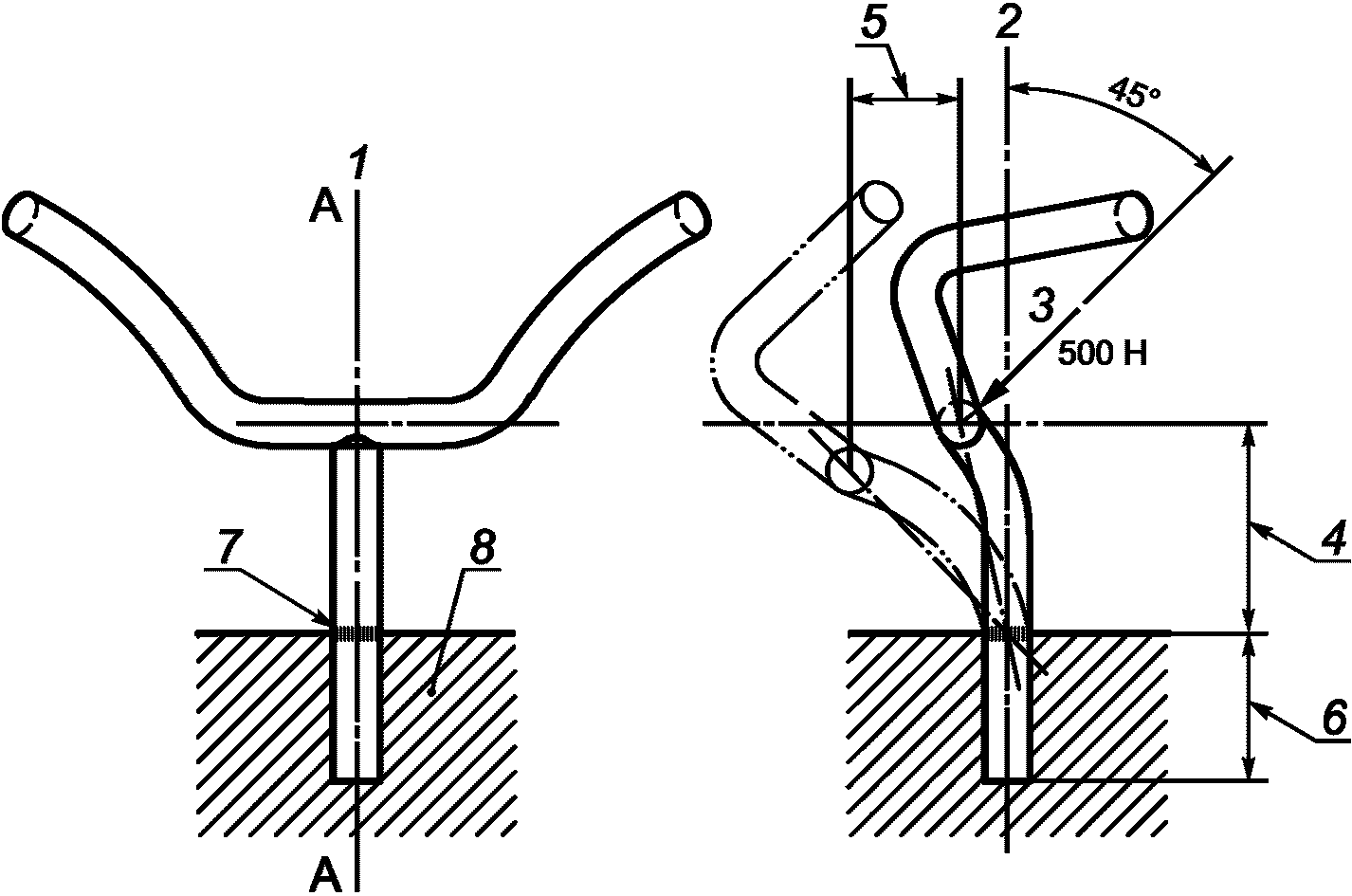
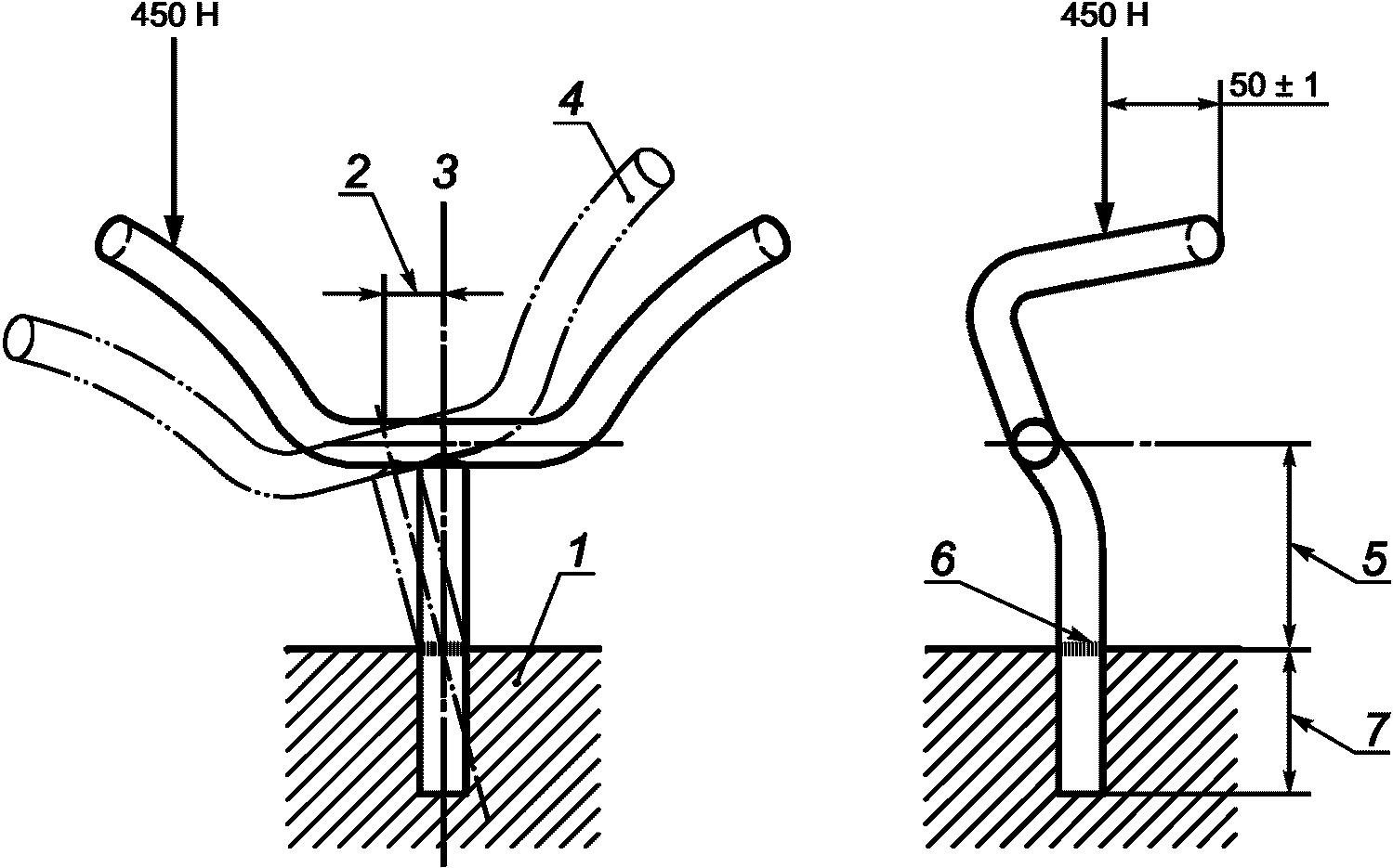
5.6.2 Механические испытания узла руль-вынос
При испытании на соответствие требованиям
4.7.3 ручки руля располагают в плоскости, перпендикулярной к оси выноса. К выносу руля, надежно закрепленному в зажимном приспособлении на минимальной глубине ввода, вертикально прикладывают силу 450 Н на расстоянии (50 +/- 1) мм от свободного конца руля в течение 1 мин (см.
рисунок 11).
1 - зажимное приспособление; 2 - остаточная деформация;
3 - ось выноса руля; 4 - отклонение руля; 5 - свободная
длина выноса; 6 - ограничительная метка;
7 - минимальная глубина ввода
Затем к выносу руля, надежно закрепленному в зажимном приспособлении на минимальной глубине ввода, в точке крепления руля прикладывают силу 500 Н, направленную вперед и вниз под углом 45° от оси выноса в течение 1 мин (см.
рисунок 12).
1 - сечение A-A; 2 - ось выноса руля; 3 - прикладываемая
сила; 4 - свободная длина выноса; 5 - остаточная деформация;
6 - минимальная глубина ввода; 7 - ограничительная метка;
8 - зажимное приспособление
После каждого испытания не должно быть трещин или разрушений руля или выноса, а остаточная деформация должна быть не более 20 мм на 100 мм длины выноса.
Затем к узлу руль-вынос, надежно закрепленному на минимальной глубине ввода, прикладывают силу 130 Н одновременно с каждой стороны, создавая максимальный крутящий момент в месте соединения руля с выносом. Силу поддерживают постоянной и прикладывают в течение 1 мин как можно ближе к торцу руля на расстоянии не более 15 мм от его конца (см.
рисунок 13).
1 - прикладываемая сила; 2 - минимальная глубина ввода;
3 - зажимное приспособление
В зависимости от формы руля направление приложения сил может отличаться от показанного на
рисунке 13.
Если узел руль-вынос крепится скобой, значение крутящего момента не должно превышать минимального, рекомендованного изготовителем для такого типа крепежного изделия.
После испытания не должно быть перемещения руля относительно выноса.
5.6.3 Испытания узла вынос руля-шток вилки
При испытаниях на кручение вынос руля вставляют в шток вилки и закрепляют в зажимном устройстве минимальным крутящим моментом, рекомендуемым изготовителем. К зажимному устройству прикладывают постоянный крутящий момент 15 Н·м в течение 1 мин (см.
рисунок 14).
1 - прикладываемый крутящий момент; 2 - узел рама-вилка
После испытания не должно быть перемещения руля относительно штока вилки.
Испытание на усталостную прочность проводят в два этапа на одном и том же узле следующим образом.
Этап 1
Если руль и вынос не сварены, ручки руля располагают в плоскости, перпендикулярно к оси выноса (см.
рисунок 15), надежно закрепляют руль в зажимном устройстве до минимальной глубины ввода.
На расстоянии 50 мм от свободного конца каждой ручки руля в плоскости, параллельной оси выноса руля, асинхронно прикладывают силу 115 Н (см.
рисунок 16а). Проводят 10 0000 циклов, не допуская резонанса. Максимальная испытательная частота - 10 Гц.
а) Несинхронная нагрузка; б) Синхронная нагрузка
После испытания не должно быть видимых трещин в любой части узла.
Этап 2
На расстоянии 50 мм от свободного конца каждой ручки руля в плоскости, параллельной оси выноса руля, синхронно прикладывают силу 190 Н (см.
рисунок 16б). Проводят 100 000 циклов. Максимальная испытательная частота - 10 Гц.
После испытания не должно быть видимых трещин в любой части узла.
5.6.4 Испытания на удар
При испытании на удар (падающая масса) сначала измеряют расстояние между осями колес. На передней вилке устанавливают ролик массой не более 1 кг размерами, показанными на
рисунке 17, а узел рама-вилка закрепляют вертикально в жестком зажимном приспособлении в точках крепления задней оси (см.
рисунок 17). Твердость ролика должна быть не менее 60 HRC на ударной поверхности.
1 - расстояние между осями (колесная база);
2 - остаточная деформация; 3 - груз массой 22,5 кг;
4 - высота падения 120 мм; 5 - ролик массой 1 кг;
6 - жесткая установка крепления задней оси
Груз массой 22,5 кг сбрасывают вертикально с высоты 120 мм таким образом, чтобы его удар пришелся по ролику в точке, находящейся на линии центров колес, в направлении, противоположном наклону вилки.
Испытание на удар (падающая рама) проводят на узле рама-вилка с установленным на нем роликом массой 1 кг.
Узел устанавливают в месте крепления задней оси так, чтобы он мог свободно вращаться в вертикальной плоскости. Переднюю вилку опирают на плоскую стальную плиту, имитируя рабочее положение рамы. К подседельному штырю прикрепляют груз массой 30 кг так, чтобы его центр тяжести лежал на оси подседельного штыря на расстоянии 75 мм от торца подседельной трубы при измерении по ее оси. Узел поворачивают вокруг задней оси до тех пор, пока расстояние между роликом и плитой не достигнет 200 мм, после чего отпускают в свободное падение (см.
рисунок 18). Испытание проводят два раза.
1 - высота падения; 2 - груз массой 30 кг; 3 - стальная
плита; 4 - колесная база; 5 - остаточная деформация
После каждого испытания в любой части узла не должно быть видимых трещин. Остаточная деформация между осями колес должна быть не более 20 мм.
5.7 Усталостные испытания на изгиб передней вилки
Вилку устанавливают в приспособление, имитирующее головную трубу рамы, и закрепляют в подшипниках (см.
рисунок 19).
1 - поворотное устройство;
2 - жесткие крепления с подшипниками
Прикладывают симметричные динамические силы не менее +/- 400 Н + 5% в плоскости колеса и перпендикулярно к штоку вилки. Проводят 100 000 циклов испытаний с частотой не более 10 Гц.
После испытания в любой части вилки не должно быть трещин или видимых дефектов.
5.8 Испытания колес
5.8.1 Измерения осевого, торцового и радиального биения проводят с использованием установки и приборов, показанных на
рисунке 20.
а) Обод с шиной
б) Обод без шины
1 - прибор для измерения концентричности; 2, 5, 10 - штативы
для приборов; 3 - опора для оси втулки колеса; 4 - прибор
для измерения торцового биения; 6 - роликовый индикатор;
7 - обод с шиной; 8 - обод без шины; 9 - прибор
для измерения концентричности (альтернативное положение)
Для измерения осевого и радиального биения (концентричность) колесо должно быть с шиной, накачанной до максимального давления, указанного на ней. Для колесных дисков концентричность измеряют с удаленной шиной.
Биение колеса измеряют по линии, проведенной перпендикулярно к оси колеса от определенной точки на ободе.
Торцовое биение измеряют по линии, проведенной параллельно оси колеса от определенной точки на ободе (см.
рисунок 20).
5.8.2 При испытании статической нагрузкой колесо в сборе устанавливают и закрепляют в положении, показанном на
рисунке 21. Со стороны приводной звездочки колеса в одной точке обода прикладывают силу не менее 178 Н перпендикулярно к плоскости колеса в течение 1 мин.
1 - колесо в сборе; 2 - приводная звездочка;
3 - зажимное приспособление
После испытания ни в одной из деталей колеса не должно быть повреждений, а остаточная деформация в точке приложения силы на обод должна быть не более 1,5 мм.
5.8.3 При испытании стопорных устройств удержания передних или задних колес в направлении перемещения соответствующего колеса прикладывают силу не менее 1000 Н, распределенную симметрично к любой стороне оси в течение 1 мин.
После испытания не должно быть никакого относительного перемещения переднего или заднего колеса между его осью и рамой.
Затем гайки крепления колеса откручивают на один полный оборот и прикладывают силу не менее 100 Н к колесу в направлении движения в течение 1 мин.
После испытания колесо не должно отсоединяться от вилки.
5.8.4 Шины и трубки накачивают до 110% максимального внутреннего давления, рекомендованного изготовителем, и выдерживают в течение не менее 5 мин. После испытания шина должна оставаться на ободе и не иметь повреждений.
5.9 Испытания педалей
5.9.1 Зазор между педалью и передней шиной или щитком переднего колеса измеряют от центра любой педали до дуги, описанной шиной или щитком параллельно продольной оси велосипеда (см.
рисунок 22).
1 - продольная ось; 2 - шина; 3 - щиток колеса;
4 - зазор; 5 - педаль
5.9.2 Для испытаний валика педали на прочность педаль устанавливают в зажимное приспособление (ось педали горизонтальна) (см.
рисунок 23).
1 - ударник; 2 - ось педали; 3 - центр педали
Ударник (см.
рисунок 4), сбрасывают с высоты 200 мм таким образом, чтобы удар пришелся в центр поверхности педали (см.
рисунок 23).
После испытания не должно быть изломов корпуса и валика педали или отказа подшипников.
5.9.3 Для испытаний валиков педалей на динамическую прочность педали надежно закрепляют в резьбовом отверстии вращающегося вала и на пружинах (снижают колебания) подвешивают грузы массой 30 кг на каждую педаль (см.
рисунок 24). Вал вращается со скоростью не более 100 об/мин, цикл испытаний - 100 000 оборотов. Если педали имеют две опорных поверхности, то после 50 000 оборотов их поворачивают на 180°.
1 - педали; 2 - вал для испытаний;
3 - грузы массой 30 кг; 4 - пружины
После испытания не должно быть трещин любой части педалей или валиков.
5.10 Испытание системы привода на статическую прочность проводят на узле, состоящем из рамы, педалей, системы привода, узла заднего колеса. Плоскость рамы поддерживают в вертикальном положении, а заднее колесо надежно закрепляют, не допуская его вращения.
К левому шатуну, находящемуся в переднем горизонтальном положении, постепенно прикладывают вертикально направленную вниз силу 700 Н к центру левой педали и выдерживают в течение 1 мин.
Если приводные звездочки закреплены таким образом, что шатун вращается под нагрузкой, то звездочки полностью закрепляют, шатун возвращают в горизонтальное положение, а затем повторяют испытание.
Затем испытание аналогично повторяют с правым шатуном.
При наличии механизма переключения передач испытания проводят аналогично со следующими дополнениями:
- испытание левого шатуна проводят с правильно отрегулированным приводом на высшую передачу;
- испытание правого шатуна проводят с правильно отрегулированным приводом на низшую передачу.
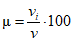
5.11 Испытание шатуна в сборе на усталостную прочность проводят в приспособлении с гнездом подшипников в нижнем кронштейне (см.
рисунок 25). Допускается проводить испытание на двух шатунах в переднем положении, показанном на
рисунке 25 штриховой линией. Шатуны наклоняют под углом 45° к горизонтали, не допуская вращения узла. Устанавливают подходящую длину приводной цепи вокруг цепного колеса и фиксируют ее к приводному валу, обеспечивая первую стадию передачи.
--------------------------------
<*> 50 мм измеряют от наружной поверхности шатуна.
1 - испытательная сила; 2 - горизонтальная ось;
3 - ось шатуна; 4 - альтернативное положение левого шатуна
Прикладывают вертикальную динамическую силу не более 700 Н попеременно к валикам педали левого и правого шатуна на расстоянии 50 мм от наружной поверхности каждого (см.
рисунок 25) в течение 100 000 циклов (один цикл - два приложения силы). Направление силы на правом шатуне должно быть вертикально вниз, на левом - вертикально вверх. Если оба шатуна находятся в переднем положении, направление силы на обоих должно быть вертикально вниз. При испытании отклонение значения прилагаемой силы от заданного значения должно быть не более 5%.
После испытания не должно быть трещин или видимых дефектов на валиках педали, шатунах, вале каретки или каких-либо элементах крепления, ослабления или отсоединения цепного колеса от шатуна. Валики педали могут быть заменены подходящими адаптерами.
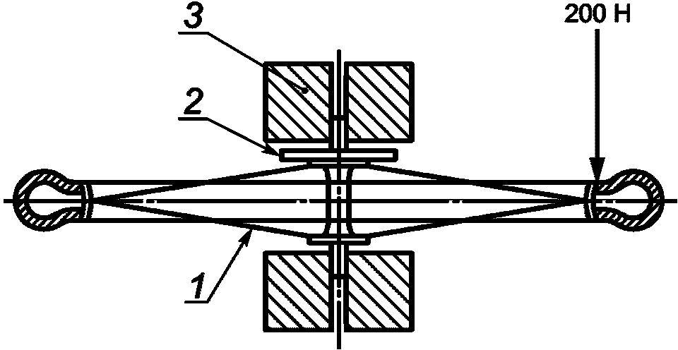
5.12 Испытания седла и подседельного штыря
5.12.1 Проверку безопасности седла и подседельного штыря проводят при минимальной глубине ввода седла, зажим подседельного штыря затягивают в соответствии с рекомендациями изготовителя. Силу не менее 300 Н прикладывают к седлу вертикально вниз в течение 1 мин. Точку приложения силы выбирают на расстоянии 25 мм от передней или задней части седла, создавая наибольший крутящий момент на зажим каретки. Затем прикладывают силу не менее 100 Н по горизонтали в течение 1 мин, в точке на расстоянии 25 мм от передней или задней части седла, создавая наибольший крутящий момент на зажиме (см.
рисунок 26).
1 - вертикальная сила; 2 - горизонтальная сила
После испытания не должно быть видимого остаточного смещения седла относительно подседельного штыря, подседельного штыря относительно рамы и повреждения поверхности седла.
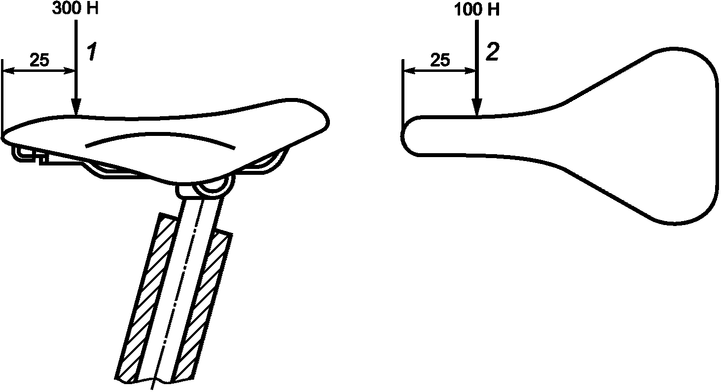
5.12.2 Испытание на статическую прочность проводят на седле, закрепленном в зажимном приспособлении. Под переднюю и заднюю части покрытия седла прикладывают силу не менее 400 Н в течение 1 мин в каждом положении, не касаясь стальной части седла (см.
рисунок 27).
После испытания покрытие седла и пластмассовый молдинг не должны отходить от стального каркаса, и узел седла не должен иметь повреждений или остаточной деформации.
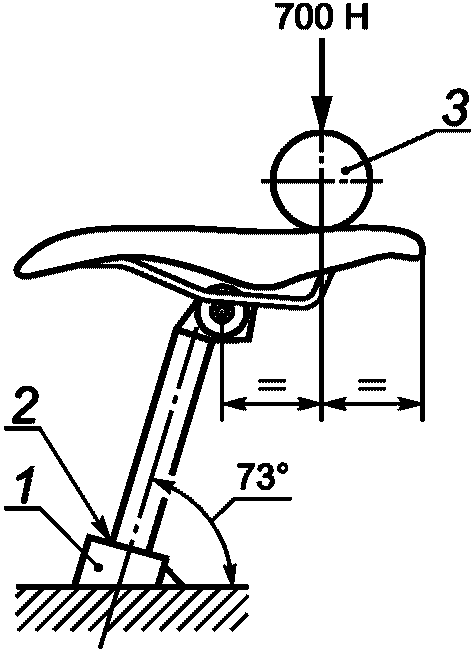
5.12.3 Испытание на усталостную прочность проводят с учетом требований
5.2 в части приложения нагрузки.
Испытание проводят на седле, жестко закрепленном на минимальной глубине ввода в максимальном обратном направлении, ось подседельного штыря должна быть расположена под углом 73° к горизонтали. Верхняя поверхность седла должна быть в горизонтальной плоскости.
Если система подвески (при наличии) заблокирована, положение седла должно быть на максимальной длине. Если седло и подседельный штырь являются единым узлом, угол наклона выбирают, обеспечивая горизонтальное положение поверхности седла.
К поверхности седла прикладывают силу не менее 700 Н вертикально вниз 100 000 циклов, используя прокладки диаметром 300 мм и длиной 80 мм для защиты покрытия седла (см.
рисунок 28).
1 - жесткое крепление; 2 - минимальная глубина ввода;
3 - прокладка
После испытания не должно быть видимых трещин сиденья, подседельного штыря или зажима.
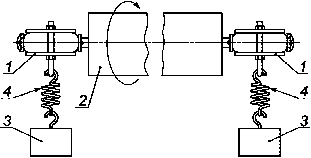
5.13 Испытание стабилизаторов
5.13.1 При испытании стабилизаторов вертикальной нагрузкой раму переворачивают и прочно закрепляют за сиденье в вертикальном положении. Силу не менее 300 Н прикладывают вертикально вниз в течение 1 мин на один из роликов (см.
рисунок 29).
1 - поддерживающий ролик; 2 - закрепленный подседельный
штырь; 3 - сила, действующая по осевой линии ролика
Во время испытания измеряют прогиб под нагрузкой в точке на окружности ролика. Повторяют испытание на другом колесе.
Повторяют испытание еще четыре раза на каждом ролике в течение 1 мин, не измеряя прогиб.
Через одну минуту после снятия пятой нагрузки на каждом ролике измеряют остаточную деформацию в той же точке.
Прогиб под нагрузкой должен быть не более 25 мм, остаточная деформация - не более 15 мм.
5.13.2 При испытании стабилизаторов продольной нагрузкой раму велосипеда жестко закрепляют таким образом, чтобы ось переднего колеса находилась вертикально над осью заднего колеса.
На один из роликов прикладывают силу не менее 300 Н вертикально вниз в течение 1 мин (см.
рисунок 30). Затем повторяют испытание на другом ролике.
1 - сила, действующая через осевую линию
стабилизирующего колеса
Испытание повторяют еще четыре раза на каждом ролике. Через одну минуту после снятия пятой нагрузки измеряют остаточную деформацию на окружности ролика.
После испытания остаточная деформация должна быть не более 15 мм. Ни один из компонентов поддерживающих роликов не должен разрушаться.
5.14 Проверку прочности маркировки
(4.14) проводят протиранием в течение 15 с тканью, смоченной в воде, а затем протиранием тканью, пропитанной бензином, в течение 15 с.
После испытания маркировка должна быть хорошо различимой, а на наклейках не должно быть признаков скручивания.
Инструкции по безопасности, эксплуатации и обслуживанию велосипедов могут быть предоставлены изготовителем в любом формате (на бумаге или в электронном виде на компакт-диске, веб-сайте и др.) на русском языке, дополнены пиктограммами и иллюстрациями информации о безопасности. Изготовитель или ответственный поставщик в инструкции обязан указать следующую информацию с предупреждением об опасностях неправильного использования:
- описание местности, подходящей для применения;
- сведения о регулировке высоты седла (в т.ч. минимальной) с учетом предупреждающих знаков глубины вставки на подседельном штыре и выносе руля. Информацию о функционировании заднего тормоза, наличии модуляторов тормозной мощности, их настройке и правильном использовании тормоза;
- сведения по безопасному использованию тормозных систем (особенно заднего тормоза);
- рекомендуемый метод регулировки любой регулируемой подвески;
- рекомендации о необходимости использования шлема, регулярных проверок тормозов, шин, рулевого управления, обода и возможном увеличении тормозного расстояния на влажной поверхности;
- допустимую весовую нагрузку;
- возможность установки багажника;
- наличие и характеристики светоотражающих устройств;
- возможный риск защемления при нормальном использовании и обслуживании;
- рекомендации по закреплению деталей руля, выноса руля, седла, подседельного штыря и колес, с указанием значений крутящего момента для резьбовых крепежных элементов;
- сведения по установке, регулировке и удалению стабилизаторов и предупреждение о рисках при их использовании;
- правильный способ сборки деталей, поставляемых в разобранном виде;
- сведения о рекомендуемых смазочных материалах, месте и частоте их применения;
- сведения о правильном натяжении цепи, ее регулировке и других приводных механизмах;
- сведения о регулировке передач, тормозов, их эксплуатации и замене тормозных колодок;
- рекомендации по общему обслуживанию;
- необходимость использования только оригинальных запасных частей для критически важных для безопасности компонентов, а также аксессуаров.
Допускается включать дополнительную информацию.
| Единые санитарно-эпидемиологические и гигиенические требования к продукции (товарам), подлежащей санитарно-эпидемиологическому надзору (контролю), утверждены Решением Комиссии Таможенного союза от 28 мая 2010 г. N 299 |
УДК 796.022:006.352 | |
Ключевые слова: велосипеды, велосипеды для детей младшего возраста, требования безопасности, методы испытаний |