Главная // Актуальные документы // ГОСТ Р (Государственный стандарт)СПРАВКА
Источник публикации
М.: Стандартинформ, 2013
Примечание к документу
Документ утратил силу с 01.06.2020 в связи с изданием
Приказа Росстандарта от 29.11.2019 N 1282-ст. Взамен введен в действие
ГОСТ Р 58704-2019.
Документ
введен в действие с 01.07.2013.
Название документа
"ГОСТ Р ИСО 8098-2012. Национальный стандарт Российской Федерации. Велосипеды для детей младшего возраста. Требования безопасности"
(утв. и введен в действие Приказом Росстандарта от 30.07.2012 N 207-ст)
"ГОСТ Р ИСО 8098-2012. Национальный стандарт Российской Федерации. Велосипеды для детей младшего возраста. Требования безопасности"
(утв. и введен в действие Приказом Росстандарта от 30.07.2012 N 207-ст)
Утвержден и введен в действие
агентства по техническому
регулированию и метрологии
от 30 июля 2012 г. N 207-ст
НАЦИОНАЛЬНЫЙ СТАНДАРТ РОССИЙСКОЙ ФЕДЕРАЦИИ
ВЕЛОСИПЕДЫ ДЛЯ ДЕТЕЙ МЛАДШЕГО ВОЗРАСТА
ТРЕБОВАНИЯ БЕЗОПАСНОСТИ
Cycles - Safety requirements for bicycles for young children
ISO 8098:2002
Cycles - Safety requirements for bicycles for young children
(IDT)
ГОСТ Р ИСО 8098-2012
Дата введения
1 июля 2013 года
Цели и принципы стандартизации в Российской Федерации установлены Федеральным
законом от 27 декабря 2002 г. N 184-ФЗ "О техническом регулировании", а правила применения национальных стандартов Российской Федерации -
ГОСТ Р 1.0-2004 "Стандартизация в Российской Федерации. Основные положения".
1. Подготовлен Федеральным государственным унитарным предприятием "Всероссийский научно-исследовательский институт стандартизации и сертификации в машиностроении" (ВНИИНМАШ) на основе собственного аутентичного перевода на русский язык международного стандарта, указанного в
пункте 4.
2. Внесен Техническим комитетом по стандартизации ТК 356 "Велосипеды".
3. Утвержден и введен в действие
Приказом Федерального агентства по техническому регулированию и метрологии от 30 июля 2012 г. N 207-ст.
4. Настоящий стандарт идентичен международному стандарту ИСО 8098:2002 "Велосипеды. Требования техники безопасности, предъявляемые к детским велосипедам" (ISO 8098:2002 "Cycles - Safety requirements for bicycles for young children").
Наименование настоящего стандарта изменено относительно наименования указанного международного стандарта для приведения в соответствие с ГОСТ Р 1.5
(подраздел 3.5).
5. Введен впервые.
Информация об изменениях к настоящему стандарту публикуется в ежегодно издаваемом информационном указателе "Национальные стандарты", а текст изменений и поправок - в ежемесячно издаваемом информационном указателе "Национальные стандарты". В случае пересмотра (замены) или отмены настоящего стандарта соответствующее уведомление будет опубликовано в ежемесячно издаваемом информационном указателе "Национальные стандарты". Соответствующая информация, уведомление и тексты размещаются также в информационной системе общего пользования - на официальном сайте Федерального агентства по техническому регулированию и метрологии в сети Интернет.
Требования техники безопасности для двухколесных велосипедов, предназначенных для езды по дорогам общего пользования взрослых и детей в возрасте приблизительно восьми лет и старше (то есть для велосипедов с седлом высотой 635 мм и выше), приведены в стандарте ИСО 4210.
Стандарт ИСО 8098 следует установкам стандарта ИСО 4210 и содержит требования к эксплуатационным качествам двухколесных велосипедов для детей младшего возраста приблизительно четырех - восьми лет. Указанные велосипеды не предназначены для езды по дорогам общего пользования и, соответственно, не оборудованы для этой цели.
Относительно требований техники безопасности для велосипедов-игрушек, предназначенных для детей самого младшего возраста приблизительно до четырех лет (то есть для велосипедов с седлом высотой до 435 мм), см. стандарт EN 71-1:1998
[1].
Настоящий стандарт содержит требования безопасности и требования к эксплуатационным качествам и методы испытаний при проектировании, сборке и испытании двухколесных велосипедов и узлов для детей младшего возраста приблизительно четырех - восьми лет, а также основы разработки инструкций по их эксплуатации и уходу за ними.
Стандарт распространяется на велосипеды с седлом высотой от 435 мм до 635 мм, приводимые в движение посредством передаточного механизма на заднее колесо.
Стандарт не распространяется на специальные двухколесные велосипеды, предназначенные для исполнения трюков (например, велосипеды ВМХ).
В настоящем стандарте применены следующие термины с соответствующими определениями:
2.1. велосипед (cycle): Транспортное средство, имеющее не менее двух колес и перемещающееся исключительно посредством мускульной энергии человека, в частности, при помощи педалей.
2.2. двухколесный велосипед (bicycle two-wheeled cycle): Велосипед с двумя колесами.
2.3. высота седла (saddle height): Расстояние между поверхностью дороги и верхней частью седла, измеряемое при горизонтальном положении седла и минимальной глубине установки седлодержателя.
2.4. тормозное усилие (braking forse): Усилие, тангенциальное относительно шины колеса и препятствующее вращению колеса при применении тормозов.
2.5. опорная поверхность педали (pedal tread surface): Поверхность педали, соприкасающаяся с подошвой ноги.
2.6. максимальное давление (maximum inflation pressure): Максимальное давление, рекомендуемое изготовителем шины, до которого накачивается шина для обеспечения безопасной и эффективной эксплуатации.
2.7. поддерживающие ролики (stabilizers): Съемные вспомогательные колеса, предназначенные для сохранения велосипедистом равновесия.
2.8. открытый выступ (exposed protrusion): Выступ, который по своему расположению и жесткости может представлять опасность для ребенка при контакте с ним при нормальной эксплуатации или в случае транспортного происшествия.
3.1.1. Острые края
Выступающие края, которые могут соприкасаться с частями тела ребенка (например, руки и ноги) в процессе нормальной езды, нормального регулирования и нормального технического обслуживания, не должны быть острыми.
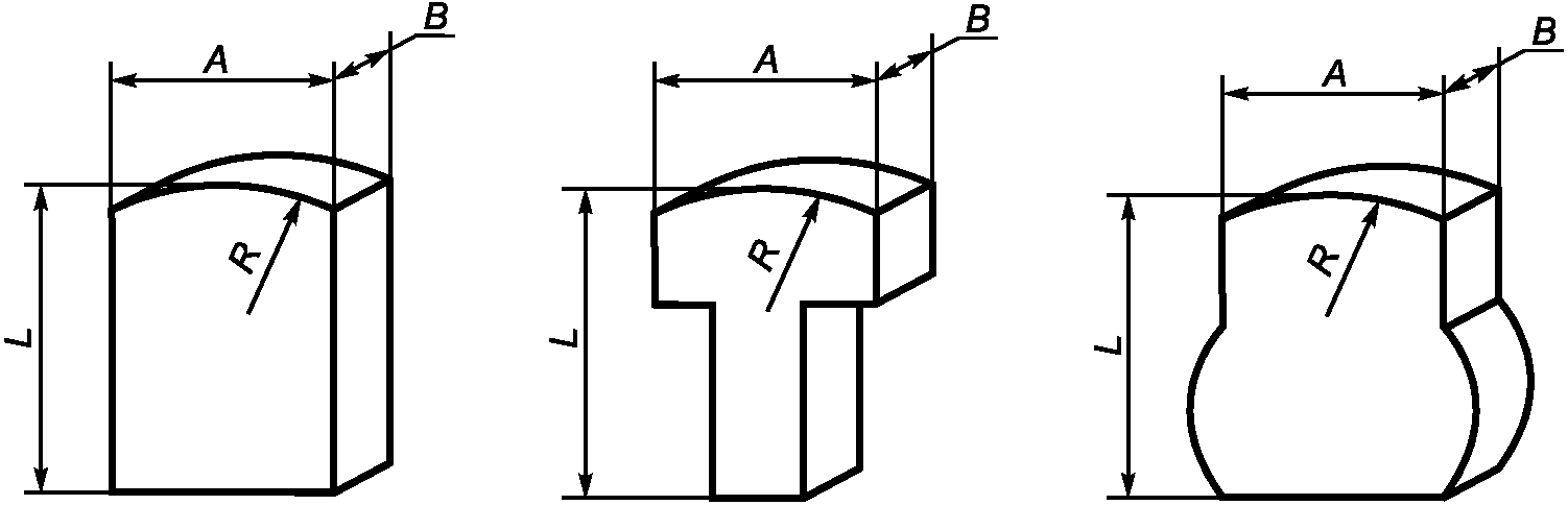
3.1.2. Выступы
3.1.2.1. Открытые выступы
Любой твердый открытый выступ, длина которого после сборки превышает 8 мм (см. L на
рисунке 1), за исключением:
a) переднего механизма переключения передач в звездочке цепи;
b) заднего механизма переключения передач ниже цепи;
c) тормозного механизма на передних и задних колесах;
d) держателя фары на трубе руля;
e) отражателей;
f) туклипсов с ремнями для ног,
должен иметь радиус закругления R не менее 6,3 мм. Торец такого выступа должен иметь максимальный размер A не менее 12,7 мм, а минимальный размер B не менее 3,2 мм (см.
рисунок 1).
Должны применяться при L более 8 мм.
Рисунок 1. Примеры минимальных размеров открытых выступов
3.1.2.2. Опасная зона, защитные устройства и резьба
На верхней трубе велосипедной рамы не должно быть выступов между седлом и точкой, находящейся на расстоянии 300 мм перед седлом, за исключением прикрепленных к верхней трубе тросиков управления диаметром не более 6,4 мм и тросовых зажимов толщиной не более 4,8 мм.
Допускается устанавливать на велосипедной раме пенопластовые подушечки в качестве защитных при условии, что велосипед отвечает требованиям для выступов, когда подушечки удалены.
Резьба, выступающая из сопряженной части с внутренней резьбой и представляющая собой открытый выступ, не должна превышать по длине одного наружного диаметра резьбы.
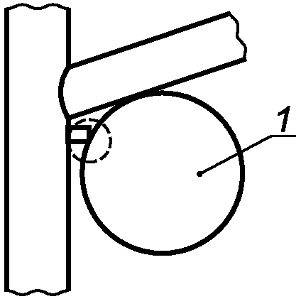
3.1.2.3. Месторасположение открытых выступов
Месторасположение открытых выступов определяется с использованием испытательного цилиндра (имитирующего ногу ребенка), соответствующего размерам, указанным на
рисунке 2.
Цилиндр выводят в любую удобную часть твердого выступа на велосипеде. Если центральная часть длиной 50 мм испытательного цилиндра контактирует с каким-либо краем выступа, то этот край считается открытым выступом и должен соответствовать требованиям
3.1.2.1.
Рисунок 2. Испытательный цилиндр определения выступа
Примеры выступов, соответствующих или не соответствующих требованиям
3.1.2.1, приведены на
рисунке 3.
3.1.3. Безопасность и прочность креплений
3.1.3.1. Безопасность винтов
Любые винты, используемые при сборке систем подвески, или винты для крепления генераторов, тормозных механизмов и крыльев на раме, вилке или руле должны быть снабжены соответствующими стопорными устройствами (например, пружинными шайбами, стопорными или самоконтрящимися гайками).
3.1.3.2. Минимальный разрушающий крутящий момент затяжки болтов
Минимальный разрушающий крутящий момент затяжки болтовых соединений для закрепления рулей, ручек руля, рычагов, седел и седлодержателей должен превышать установленный изготовителем не менее чем на 50%.
a) Должен соответствовать
b) Не должен соответствовать
1 - испытательный цилиндр
Рисунок 3. Примеры выступов
3.2.1. Тормозная система
3.2.1.1. Велосипеды с максимальной высотой седла 560 мм или более
Велосипеды, имеющие максимальную высоту седла 560 мм или более, независимо от того, оснащены ли они фиксированной передачей или нет, должны быть оснащены двумя независимыми тормозными системами: одна система воздействует на переднее колесо, а другая - на заднее.
Рекомендуется, чтобы решение относительно того, управляет ребенок задней тормозной системой руками или ногами, принималось в соответствии с законодательством (или рекомендациями) страны, которой поставляются велосипеды.
3.2.1.2. Велосипеды с максимальной высотой седла менее 560 мм
Велосипеды, имеющие максимальную высоту седла менее 560 мм, независимо от того, оснащены ли они фиксированной передачей или нет, должны быть оснащены по крайней мере одной тормозной системой.
Система должна воздействовать на переднее или на заднее колесо.
Рекомендуется, чтобы при использовании одной тормозной системы решение относительно того, воздействует ли она на переднее или на заднее колесо, принималось в соответствии с законодательством (или рекомендациями) страны, которой поставляются велосипеды.
У велосипедов с двумя независимыми тормозными системами одна система должна воздействовать на переднее колесо, а другая - на заднее колесо.
Рекомендуется, чтобы решение относительно того, управляет ребенок задней тормозной системой руками или ногами, принималось в соответствии с законодательством (или рекомендациями) страны, которой поставляются велосипеды.
3.2.2. Ручной тормоз
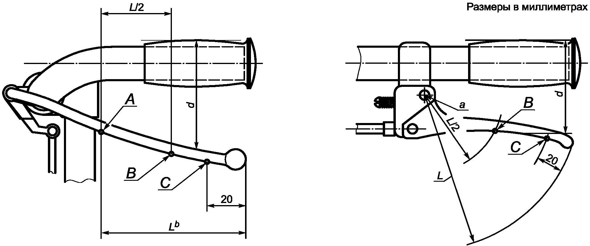
3.2.2.1. Положение рукоятки тормоза
Рукоятки передних и задних тормозов должны быть расположены с той стороны руля, которая принята в стране-импортере.
3.2.2.2. Размеры рукоятки тормоза
Максимальный размер d между наружными поверхностями рукоятки тормоза и ручки руля, или оплетки руля, или другого покрытия, если имеется, должен быть не более 60 мм между точками A и B и не более 75 мм между точками B и C
(рисунок 4).
Диапазон регулирования рукояток тормоза должен обеспечивать соблюдение этих требований к размерам.
a - точка опоры рукоятки A;

- длина рукоятки (= 80 мм)
Рисунок 4. Размеры рукоятки ручного тормоза
3.2.2.3. Узел тормоза с тросовым приводом
Тормозная система должна работать без заеданий.
Стяжной болт троса не должен перерезать ни одну из проволок троса при его сборке в соответствии с инструкциями изготовителя.
Проволоки троса должны быть защищены от внутренней коррозии, например, соответствующей непроницаемой оболочкой внешнего кожуха.
Конец троса должен иметь предохранительный наконечник, способный выдержать силу стягивания 20 Н.
3.2.2.4. Узел тормозной колодки с держателем
Тормозная колодка должна быть надежно закреплена в держателе тормозной колодки.
При испытании по
4.2 эта колодка и держатель не должны иметь неисправностей.
После проведения испытания тормозная система должна отвечать требованиям к эксплуатационным характеристикам тормозов в соответствии с
3.2.5.
3.2.2.5. Регулировка тормоза
Тормоза следует подвергать регулировке для обеспечения их эффективного рабочего состояния до износа тормозных колодок, после чего производят их замену, рекомендуемую изготовителем.
При правильной регулировке тормозная колодка должна соприкасаться только с поверхностью, предназначенной для торможения.
3.2.3. Ножной тормоз
Тормоз должен приводиться в действие ногой ребенка приложением силы к педали в направлении, противоположном движущей силе.
Механизм тормоза должен действовать независимо от положения привода или регулировки.
Максимальный угол между положениями шатуна при движении и торможении должен быть не более 60° (измерение угла должно производиться при приложении к шатуну в его крайних положениях крутящего момента 14 Н·м).
3.2.4. Прочность тормозной системы
3.2.4.1. Ручной тормоз
При испытании по
4.3.1 не должно быть неисправностей тормозной системы или любого ее элемента.
3.2.4.2. Ножной тормоз
При испытании по
4.3.2 не должно быть неисправностей тормозной системы или любого ее элемента.
3.2.5. Условия торможения
3.2.5.1. Эксплуатационные испытания ручного тормоза
При испытании ручного тормоза по
4.4 средняя сила торможения должна нарастать постепенно в соответствии с увеличением силы на рукоятку от 50 до 90 Н.
Для передних тормозов при приложении соответствующих сил на рукоятку минимальная и максимальная силы торможения должны соответствовать
таблице 1.
Для задних тормозов при приложении соответствующих сил на рукоятку минимальная сила торможения должна соответствовать таблице 1.
Сила, прикладываемая к рукоятке тормоза,
и сила торможения, действующая на шину
Сила, прикладываемая к рукоятке тормоза, Н | Сила торможения, действующая на шину, Н |
мин. | макс. (только для переднего тормоза) |
50 | 40 | 120 |
90 | 60 | 200 |
3.2.5.2. Эксплуатационные испытания ножного тормоза
При испытании ножного тормоза по
4.5 средняя сила торможения, передаваемая на заднее колесо, должна нарастать постепенно в соответствии с увеличением силы на педаль от 20 до 100 Н. Отношение силы на педаль к силе торможения не должно превышать 2.
Примечание. Сила торможения 46,3 Н соответствует теоретическому тормозному пути менее 2,5 м при скорости 10 км/ч и общей массе велосипеда и ребенка 30 кг.
3.3.1. Руль
Общая ширина руля должна составлять 300 - 550 мм.
Расстояние по вертикали между верхней частью ручек руля, находящихся в их самом высоком положении, и плоскостью седла, находящегося в его самом нижнем положении, не должно быть более 250 мм.
3.3.2. Заглушки руля
Концы руля должны быть снабжены ручками или заглушками, выдерживающими силу стягивания 70 Н.
Заглушки руля должны быть из эластичного материала и иметь расширенный и покрытый торец. Концы руля не должны затруднять действие рукояток тормоза.
Примечание. Расширенный торец предназначен, чтобы минимизировать любое возможное повреждение ребенка.
Для стран, где температура окружающей среды может колебаться от минус 5 °C до +5 °C, рекомендуется проводить следующее испытание.
Руль с установленными заглушками погружают в воду при комнатной температуре на один час, затем помещают его в морозильную камеру, где он находится до тех пор, пока температура руля не упадет ниже минус 5 °C. Руль вынимают из морозильной камеры, когда температура руля достигнет минус 5 °C, прикладывают силу 70 Н в направлении стягивания заглушки. Сила поддерживается постоянной, пока температура руля не достигнет +5 °C.
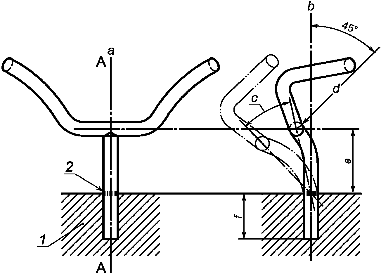
Стержень руля должен иметь постоянную метку, четко указывающую минимальную глубину ввода в стержень вилки или, альтернативно, положительное и постоянное средство обеспечения достижения минимальной глубины ввода.
Метка ввода, или глубина ввода, должна составлять не менее 2,5 диаметра стержня от нижнего конца стержня, при этом ниже метки должен оставаться участок цилиндрического тела длиной, равной не менее одного диаметра стержня.
3.3.4. Устойчивость рулевого управления
Правильно отрегулированное рулевое управление должно свободно, без заеданий и люфта в подшипниках поворачиваться в обе стороны от положения, соответствующего движению по прямой, не менее чем на 60°.
Не менее 25% общей массы велосипеда и ребенка должно приходиться на переднее колесо при условии, что седло и ребенок, находящийся в седле и держащийся за ручки руля, максимально смещены назад.
3.3.5. Прочность узла рулевого управления
3.3.5.1. При испытании по
4.6.1.1 и
4.6.1.2 не должно быть ни разрушений стержня руля, ни остаточной деформации более 20 мм за 100 мм длины.
3.3.5.2. При испытании по
4.6.2 не должно быть перемещения руля относительно стержня.
3.3.5.3. При испытании по
4.6.3 не должно быть перемещения руля относительно стержня вилки.
3.4.1. Испытание на удар (падающая масса)
При испытании по
4.7.1 узла рама - вилка не должно быть видимых трещин, а остаточная деформация узла, измеренная между осями наконечников вилки и рамы, не должна превышать 10 мм.
3.4.2. Испытание на удар (падающий узел рама - вилка)
При испытаниях по
4.7.2 узла рама - вилка не должно быть видимых трещин, а остаточная деформация узла, измеренная между осями наконечников вилки и рамы до и после испытаний, не должна превышать 10 мм.
Пазы или другие средства размещения передней оси внутри передней вилки должны быть такими, чтобы при плотном прилегании оси или конусов к верхней поверхности пазов переднее колесо оставалось в плоскости симметрии вилки.
3.6.1. Точность вращения
3.6.1.1. Общее требование
Допуски биения при вращении по настоящему стандарту являются максимально допустимыми изменениями положения обода (то есть полное показание индикатора) полностью собранного колеса за время одного полного оборота вокруг неподвижной оси.
3.6.1.2. Допуск радиального биения
Биение для колес не должно быть более 2 мм при измерении по перпендикуляру, проведенному к оси колеса от определенной точки на ободе.
3.6.1.3. Допуск торцевого биения
Биение для колес не должно быть более 2 мм при измерении по линии, проведенной параллельно оси колеса от определенной точки на ободе.
3.6.2. Зазор
Установка узла колеса на велосипеде должна быть осуществлена так, чтобы зазор между шиной и любой деталью рамы, вилки, крыла или крепления крыла составил не менее 6 мм.
3.6.3. Испытание статической нагрузкой
При испытании полностью собранного колеса по
4.8 ни в одной из деталей колеса не должно быть повреждений, а остаточная деформация, измеряемая в точке приложения силы на обод, не должна быть более 1,5 мм.
3.6.4. Удерживание колеса
3.6.4.1. Общее требование
Колеса должны быть надежно прикреплены колесными гайками к велосипедной раме и вилкам так, чтобы при регулировании в соответствии с рекомендациями изготовителя они соответствовали
3.6.4.2 и
3.6.4.3.
Минимальный крутящий момент затяжки гаек оси колеса должен превышать установленный изготовителем на 70%.
3.6.4.2. Удерживание переднего колеса
Не должно быть никакого относительного перемещения между осью колеса и передней вилкой при симметричном приложении силы 500 Н к любой стороне оси на 30 с в направлении перемещения колеса.
3.6.4.3. Удерживание заднего колеса
Не должно быть никакого относительного перемещения колеса между осью колеса и рамой при симметричном приложении силы 1000 Н к любой стороне оси на 30 с в направлении перемещения колеса.
3.7.1. Максимальное внутреннее давление
Рекомендуемое изготовителем максимальное значение внутреннего давления должно быть отлито на боковой поверхности шины так, чтобы на шине в сборе с колесом все это было легко различимо.
На непневматические шины данное требование не распространяется.
3.7.2. Соответствие накаченной шины и обода
Шины и трубки должны соответствовать конструкции обода так, чтобы при накачивании до 110% максимального внутреннего давления, рекомендованного изготовителем, шина оставалась неповрежденной на ободе не менее 5 минут.
3.8. Педали и узел педаль - шатун
3.8.1. Опорная поверхность педали
3.8.1.1. Конструкция педали должна обеспечивать неподвижность опорной поверхности относительно корпуса педали.
Педаль должна свободно вращаться на оси.
3.8.1.2. Педали должны иметь:
a) опорные поверхности с верхней и нижней сторон педали;
или
b) предпочтительное положение, которое автоматически определяет опорную поверхность для ступни велосипедиста.
3.8.2. Зазор педали
3.8.2.1. Зазор между педалью и поверхностью земли
3.8.2.1.1. Ни одна деталь педали, находящейся в самой нижней точке и опорная поверхность которой параллельна поверхности земли (и наверху в случае, когда только одна опорная поверхность), не должна касаться поверхности земли при отклонении ненагруженного велосипеда со снятыми поддерживающими роликами от вертикального положения на 20°.
3.8.2.1.2. Если велосипед снабжен пружинным амортизатором, то последний должен быть сдавлен приложением груза массой 30 кг на седло при вертикальном положении велосипеда.
При зажиме подвески в таком положении зазор должен соответствовать
3.8.2.1.1.
3.8.2.2. Зазор между педалью и шиной
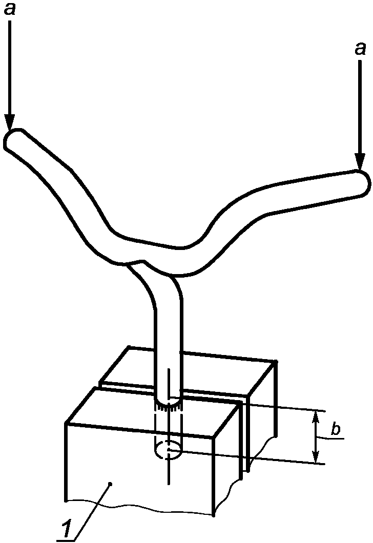
Зазор между педалью и передней шиной или щитком переднего колеса (при вращении в любом положении) должен быть не менее 89 мм. Зазор должен быть измерен от центра любой педали до дуги, описанной шиной или щитком параллельно продольной оси велосипеда (см.
рисунок 5).
Если на передней вилке велосипеда имеются детали для крепления переднего щитка, но сам щиток не установлен, то зазор, измеренный в соответствии с этими требованиями, должен быть не менее 100 мм.
3.8.3. Динамическое испытание узла педаль - шатун
При испытании по
4.9 не должно быть видимых трещин в резьбе педали или шатуна.
1 - педаль велосипеда; 2 - шина; 3 - щиток колеса;
a - минимальный зазор
Рисунок 5. Зазор между педалью и шиной
3.9.1. Ограничительные размеры
Ни одна деталь седла, опор седла или принадлежностей, прикрепленных к седлу, не должна возвышаться над его поверхностью в точке его пересечения с осью седлодержателя более чем на 125 мм.
3.9.2. Седлодержатель
Седлодержатель должен иметь метку, четко определяющую минимальную глубину его ввода в раму. Эта метка должна быть расположена на расстоянии, равном не менее двух диаметров седлодержателя, измеряемом от его торца.
3.9.3. Регулировка замка седла
При испытании по
4.10 не должно быть видимого остаточного смещения в узле седла относительно седлодержателя или седлодержателя относительно рамы.
Узел седла, не имеющий зажимов, но вращающийся в вертикальной плоскости относительно седлодержателя, должен двигаться в пределах заданных параметров и выдерживать испытание по
4.10 без дополнительного заметного постоянного перемещения.
3.9.4. Прочность седла
При испытании по
4.14 покрытие седла и пластмассовый молдинг не должны отходить от стального каркаса и узел седла не должен иметь повреждений или остаточной деформации.
3.10. Испытание статической нагрузкой системы привода
При испытании по
4.11 ни в одной из деталей системы привода не должно быть видимых трещин или остаточной деформации. Работоспособность привода не должна быть утрачена.
Велосипед с седлом максимальной высоты 560 мм и более должен быть оснащен диском ведущей звездочки или другим защитным устройством, закрывающим наружную поверхность верхней точки касания цепи с ведущей звездочкой. Диск ведущей звездочки должен превышать диаметр наружной поверхности цепи, когда она полностью размещается на ведущей звездочке. Другое защитное устройство должно закрывать цепь на расстоянии не менее 25 мм, измеряемом вдоль цепи, до точки, где зубья ведущей звездочки впервые проходят между боковыми пластинами цепи.
Велосипед с седлом максимальной высоты менее 560 мм должен быть оснащен щитком цепи, полностью закрывающим наружную поверхность и края цепи, ведущую и ведомую звездочки, внутреннюю поверхность ведущей звездочки, точки касания цепи и ведущей звездочки (см. рисунок 6).
a - размер защиты внутренней поверхности
Рисунок 6. Щиток цепи
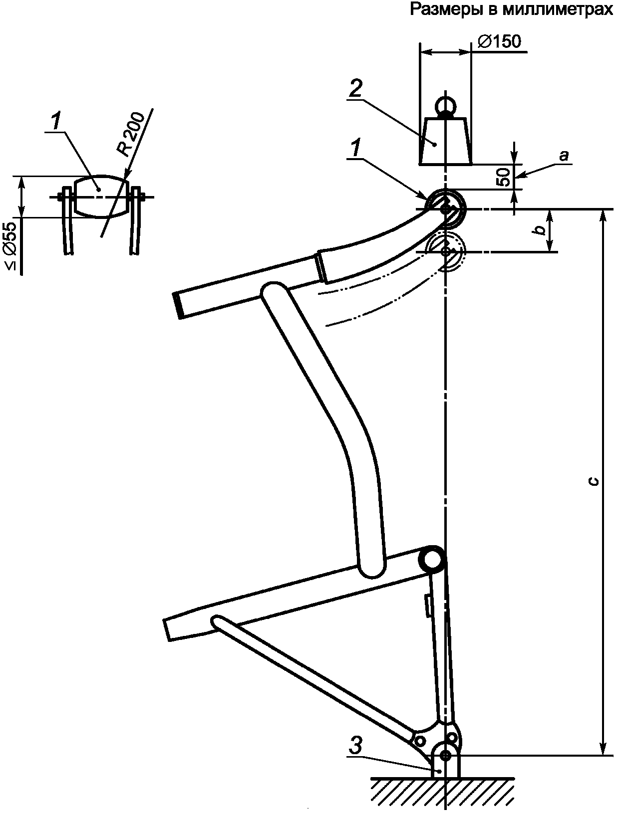
3.12. Поддерживающие ролики
3.12.1. Размеры
При установке на велосипед поддерживающих роликов в соответствии с инструкциями изготовителя должны быть выполнены следующие требования:
a) расстояние по горизонтали между вертикальной плоскостью каждого поддерживающего ролика и плоскостью симметрии рамы велосипеда должно быть не менее 175 мм;
b) при поддерживании велосипеда на плоской горизонтальной поверхности зазор между каждым роликом и этой поверхностью не должен превышать 25 мм.
3.12.2. Испытание вертикальной нагрузкой
При испытании по
4.12 прогиб под нагрузкой и остаточная деформация не должны превышать соответственно 25 и 15 мм.
3.12.3. Испытание продольной нагрузкой
При испытании по
4.13 остаточная деформация не должна превышать 15 мм. Ни в одном из элементов поддерживающих роликов в сборе не должно быть видимых трещин.
Каждый велосипед должен иметь комплект инструкций на языке страны, в которую велосипед будет поставляться, содержащих следующую информацию:
a) подготовка к езде - регулировка высоты седла и руля применительно к ребенку, с учетом ограничительных меток на седлодержателе и стержне руля;
b) рекомендуемая затяжка крепежных элементов руля, стержня руля, седла, седлодержателя и колес;
c) смазка - места смазки и частота смазывания, рекомендуемая смазка;
d) регулирование цепи или другого подвижного механизма;
e) регулирование тормозов и рекомендации по замене тормозных колодок;
f) регулирование звездочек;
g) установка, регулирование и съем поддерживающих роликов;
h) стандартные запасные части, то есть шины, трубки, тормозные колодки в сборе с держателем;
i) рекомендации безопасной езды - использование шлема, регулярный контроль тормозов, шин, рулевого управления;
j) правильный способ установки частей, если они поставляются несобранными.
Любая другая необходимая информация может быть включена на усмотрение изготовителя.
Рекомендуется, чтобы велосипед имел видимую и прочную маркировку, содержащую:
a) ГОСТ Р ИСО 8098 (номер настоящего стандарта);
b) наименование изготовителя, импортера или торговую марку;
c) серийный номер велосипеда.
Все испытания, кроме заранее оговоренных, должны проводиться без поддерживающих роликов.
4.2. Испытание тормозной колодки
Испытание проводится на полностью собранном велосипеде с отрегулированными тормозами, с массой 30 кг на седле.
Каждая рукоятка тормоза приводится в действие силой 130 Н, поддерживаемой в процессе испытания.
Испытуемый велосипед прокатывается пять раз вперед и пять раз назад, при этом каждый раз на расстояние не менее чем 75 мм.
4.3. Испытание нагрузкой тормозной системы
Испытание проводится на полностью собранном велосипеде и при правильно отрегулированной тормозной системе. К рукоятке тормоза в точке, отстоящей на 25 мм от ее конца, перпендикулярно к ручке руля в плоскости перемещения рукоятки, как показано на
рисунке 7, прикладывается сила:
a) 300 Н;
b) достаточная для приведения рукоятки тормоза с тросовым приводом в контакт с поверхностью ручки руля (если меньше 300 Н);
или
c) достаточная для приведения рукоятки тормоза со стержневым приводом на уровень с верхней поверхностью ручки руля (если меньше 300 Н).
Испытание повторяют полностью десять раз для каждой рукоятки тормоза.
a - прикладываемая сила
Рисунок 7. Прикладываемая сила на рукоятках ручного тормоза
Испытание проводится на полностью собранном велосипеде при правильно отрегулированной тормозной системе и установке правого шатуна в горизонтальном положении. К центру оси правой педали постепенно в вертикальном направлении прикладывается сила 600 Н в течение 15 с. Это испытание повторяют десять раз.
4.4. Эксплуатационное испытание ручного тормоза
Испытание проводится на полностью собранном велосипеде без седла и седлодержателя, но при отрегулированном соответствующим образом тормозе.
Велосипед закрепляется в зажимном приспособлении, а прибор, измеряющий силу торможения, соединяется с соответствующим колесом, как показано на
рисунке 8.
К соответствующей рукоятке тормоза в точке, отстоящей на 25 мм от ее конца перпендикулярно к ручке руля в плоскости перемещения рукоятки, прикладывается сила от 50 до 90 Н, как показано на
рисунке 7.
1 - механизм измерения силы; 2 - соответствующая лента,
оборачиваемая вокруг окружности колеса; 3 - зажимное
приспособление; a - прикладываемая сила на колесо
(сила торможения); b - прикладываемая сила на рукоятку
Рисунок 8. Измерение силы торможения ручного тормоза
К колесу по касательной к окружности шины прикладывается при помощи прибора, измеряющего силу, постоянная тянущая сила в направлении движения вперед.
После одного полуоборота колеса снимают показания средней силы торможения при дальнейшем вращении колеса с постоянной линейной скоростью поверхности шины от 0,5 до 2 м/с. Каждое значение силы, действующей на рукоятку, определяется как среднее по трем измерениям.
Испытание повторяют не менее пяти раз, каждый раз при новом значении силы, действующей на рукоятку.
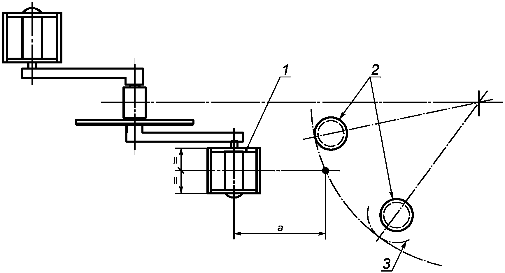
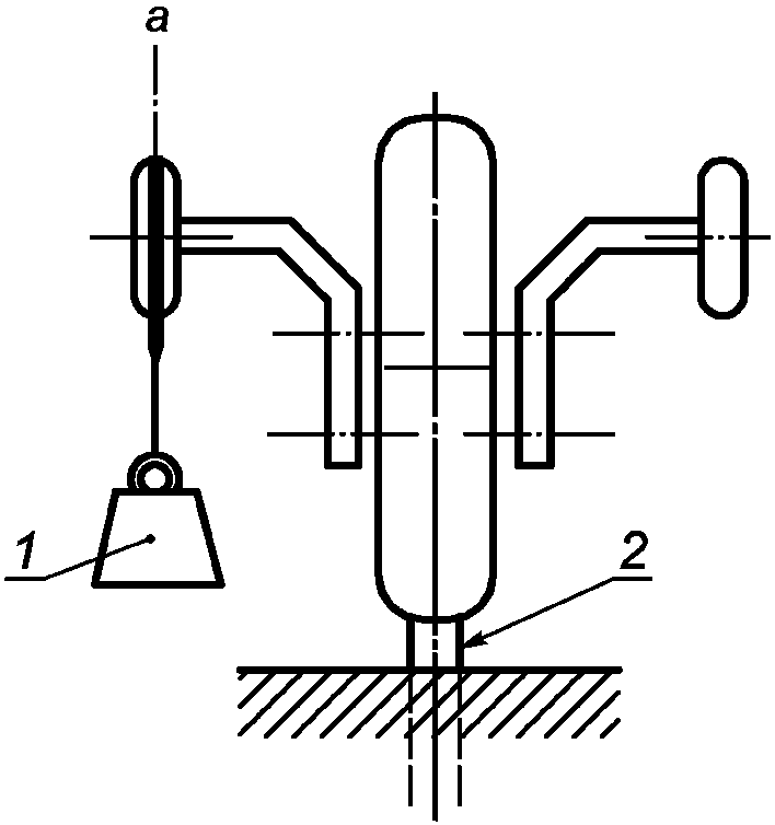
4.5. Эксплуатационное испытание ножного тормоза
Испытание проводится на полностью собранном велосипеде с правильно отрегулированным тормозом.
Велосипед закрепляется, а прибор, измеряющий силу торможения, соединяется с задним колесом, как показано на рисунке 9.
1 - механизм измерения силы; 2 - правый шатун;
3 - соответствующая лента, оборачиваемая вокруг окружности
колеса; a - направление прикладываемой силы на педаль;
b - прикладываемая сила на колесо (сила торможения)
Рисунок 9. Измерение силы торможения ножного тормоза
К педали под прямым углом к шатуну и в направлении торможения прикладывается сила от 20 до 100 Н.
К колесу по касательной к окружности шины прикладывается при помощи прибора, измеряющего силу, постоянная тянущая сила в направлении движения вперед.
После одного полуоборота колеса снимают показания средней силы торможения при дальнейшем вращении колеса с постоянной линейной скоростью поверхности шины от 0,5 до 2 м/с. Каждое значение силы, действующей на педаль, определяется как среднее по трем измерениям.
Испытание повторяют не менее пяти раз, каждый раз при новом значении силы, действующей на педаль.
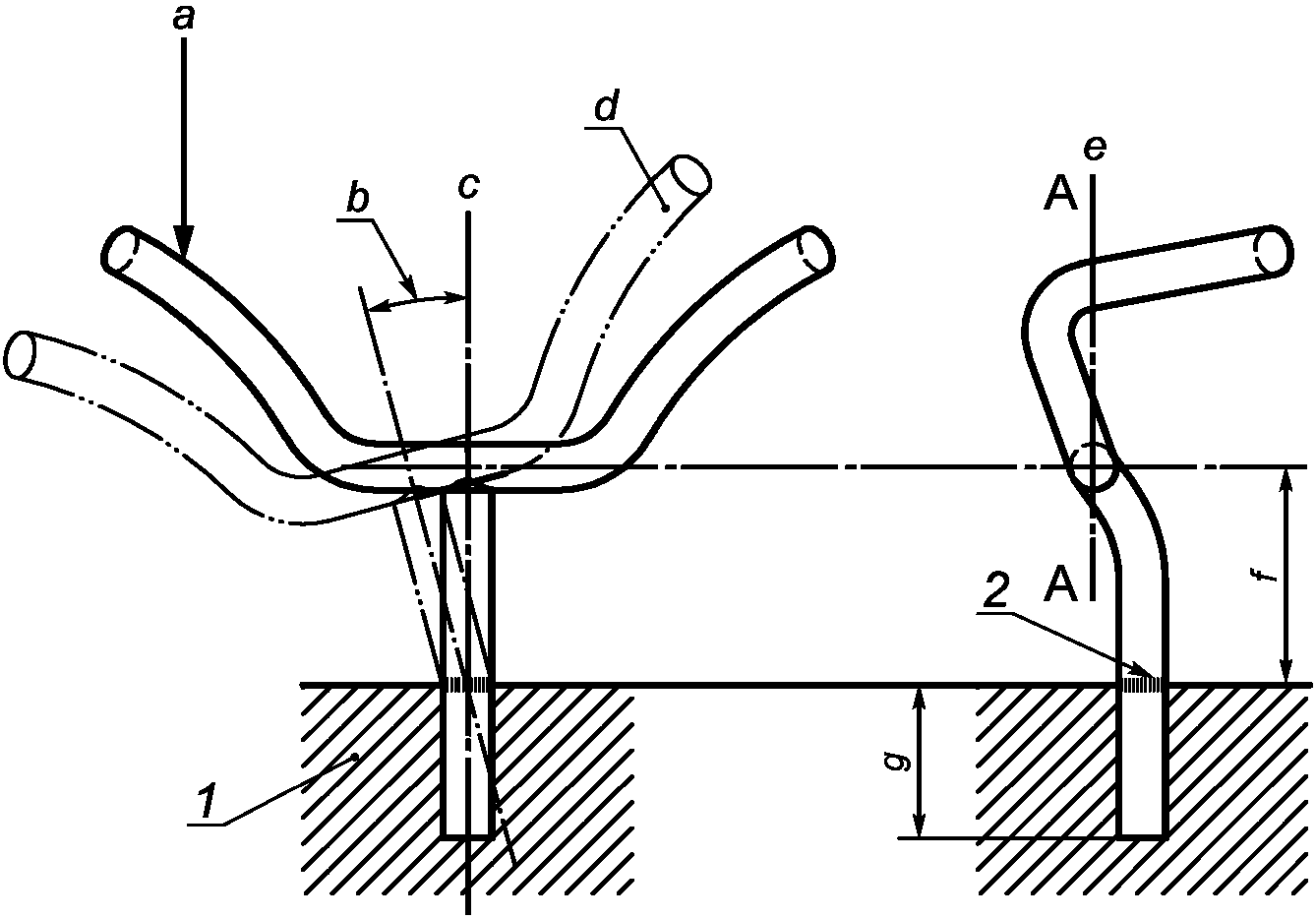
4.6. Испытание узла рулевого управления
4.6.1. Стержень руля
4.6.1.1. Испытание на кручение
К стержню руля, надежно закрепленному в зажимном приспособлении на минимальной глубине ввода (см.
3.3.3) и прочно соединенному с испытательным валом или рулем, прикладывается через испытательный вал крутящий момент, равный 30 Н·м, в плоскости, параллельной стержню и в направлении его оси, как показано на рисунке 10.
1 - зажимное приспособление; 2 - ограничительная метка;
a - прикладываемый момент кручения; b - остаточная
деформация; c - ось стержня; d - отклонение формы;
e - прикладываемый момент кручения в сечении A-A; f - длина
свободного стержня; g - минимальная глубина ввода
Рисунок 10. Испытание на кручение стержня руля
4.6.1.2. Испытание статической нагрузкой
К стержню руля, надежно закрепленному в зажимном приспособлении на минимальной глубине ввода (см.
3.3.3), в точке крепления руля прикладывается сила 500 Н, направленная вперед под углом 45° от оси стержня, в сечении A-A, как показано на рисунке 11.
1 - зажимное приспособление; 2 - ограничительная метка;
a - сила, прикладываемая в сечении A-A; b - ось стержня
руля; c - остаточная деформация; d - прикладываемая сила;
e - длина свободного стержня; f - минимальная глубина ввода
Рисунок 11. Испытание статической нагрузкой стержня руля
4.6.2. Испытание на кручение руля и стержня
К стержню в сборе с рулем, надежно закрепленному на минимальной глубине ввода (см.
3.3.3), прикладывается сила 130 Н одновременно с каждой стороны руля в таком месте и направлении, где создается максимальный крутящий момент в соединении руля со стержнем. Если это место приходится на торцевую часть руля, то сила прикладывается как можно ближе к торцу, в любом случае на расстоянии не далее 15 мм от торца (см. рисунок 12).
1 - зажимное приспособление; a - прикладываемая сила;
b - минимальная глубина ввода
Рисунок 12. Испытание на кручение узла руль - стержень
В зависимости от формы руля силы могут прикладываться в направлении, отличающемся от показанного на рисунке 12.
Если узел руль - стержень крепится скобой, крутящий момент, прикладываемый к крепежному изделию, не должен превышать минимального, рекомендованного изготовителем для такого типа крепежного изделия.
4.6.3. Испытание на кручение стержня руля и стержня вилки
К стержню руля, правильно собранному с рамой и стержнем вилки и закрепленному в зажимном устройстве с рекомендуемым изготовителем минимальным крутящим моментом, прикладывается крутящий момент 15 Н·м к зажимному устройству руль - вилка, как показано на рисунке 13.
1 - узел рама - вилка; a - прикладываемый крутящий момент
Рисунок 13. Испытание на кручение зажимного устройства
руль - вилка
4.7. Испытание на удар узла рама - вилка
4.7.1. Испытание падением массы
Если рама велосипеда, предназначенного для мальчиков, может быть преобразована в раму велосипеда, предназначенного для девочек, путем снятия верхней трубы рамы, то испытание осуществляется со снятой верхней трубой. Измеряется расстояние между осями. На передней вилке устанавливается ролик минимальной массы, а узел рама - вилка закрепляется вертикально в жестком зажимном приспособлении в точках крепления задней оси, как показано на
рисунке 14.
Груз массой 22,5 кг сбрасывается вертикально с высоты 50 мм таким образом, чтобы его удар пришелся по ролику минимальной массы в точке, находящейся на линии центров колес, в направлении, противоположном наклону вилки.
4.7.2. Испытание падением узла рама - вилка
Испытание проводится на узле рама - вилка - ролик, используемом для испытания по
4.7.1.
Узел устанавливается в место крепления задней оси так, чтобы свободно вращаться вокруг нее в вертикальной плоскости. Передняя вилка опирается на плоскую стальную плиту таким образом, чтобы обеспечить рабочее положение рамы при ее использовании. К седлодержателю прикрепляется груз массой 30 кг так, чтобы центр тяжести лежал на оси седлодержателя на расстоянии 75 мм от торца подседельной трубы при измерении по ее оси. Узел поворачивается вокруг задней оси таким образом, чтобы центр тяжести груза массой 30 кг оказался вертикально над задней осью, после чего ему позволяют свободно упасть, ударившись о плиту (см.
рисунок 15).
Испытание повторяют дважды.
1 - ролик минимальной массы; 2 - масса 22,5 кг;
3 - жесткая установка крепления задней оси;
a - высота падения; b - остаточная деформация;
c - расстояние между осями (колесная база)
Рисунок 14. Испытание на удар (падающая масса)
1 - вертикальное положение груза над задней осью;
2 - груз массой 30 кг; 3 - стальная плита
Рисунок 15. Испытание на удар (падающий узел рама - вилка)
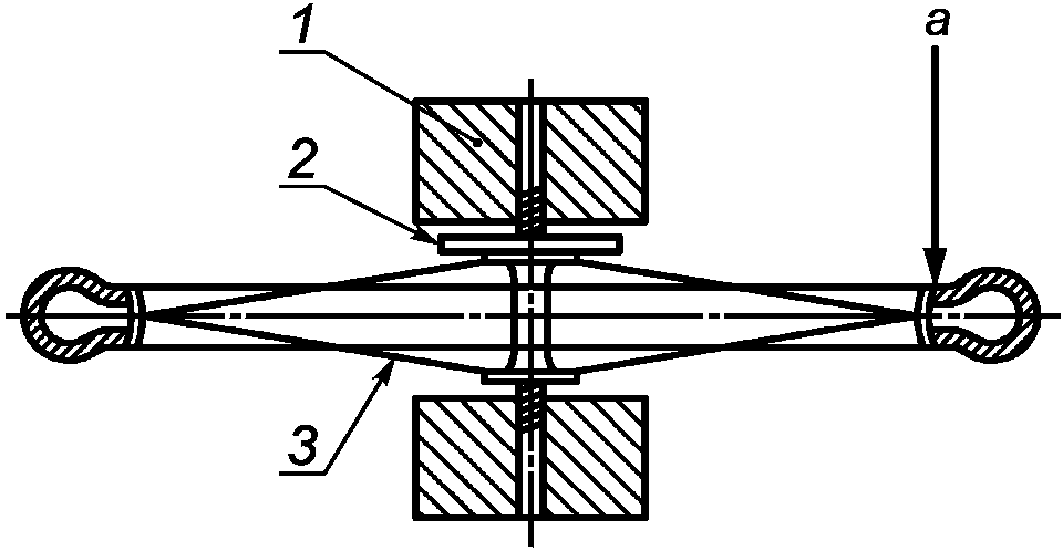
4.8. Испытание статической нагрузкой колеса
К колесу, установленному и закрепленному в положении, как показано на рисунке 16, прикладывается сила 178 Н со стороны приводной звездочки колеса в одной точке обода перпендикулярно к плоскости колеса в течение 1 минуты.
1 - зажимное приспособление; 2 - приводная звездочка;
3 - колесо в сборе; a - прикладываемая сила
Рисунок 16. Испытание статической нагрузкой колеса
4.9. Динамическое испытание узла педаль - шатун
От левого и правого шатунов отрезают элементы, имеющие отверстия для крепления педалей, и неподвижно крепят к испытательному валу. Далее к этим частям шатунов соответственно крепятся педали. К каждой педали через пружину с целью уменьшения колебаний нагрузки подвешивается груз массой 20 кг, как показано на
рисунке 17.
Вал вращается со скоростью, не допускающей перегрева подшипников, и совершает 100000 оборотов. После 50000 оборотов педали поворачивают на 180° при оснащении двумя опорными поверхностями.
1 - часть шатуна, соединенная с испытательным валом;
2 - левая педаль; 3 - правая педаль; 4 - общая масса 20 кг;
5 - испытательный вал; a - зазор для оси педали
Рисунок 17. Динамическое испытание узла педаль - шатун
4.10. Испытание статической нагрузкой седла и седлодержателя
К седлу, собранному надлежащим образом с седлодержателем и рамой и закрепленному в подседельном зажиме крутящим моментом, рекомендуемым для такого вида крепления, прикладывается направленная вертикально вниз сила 300 Н в точке на расстоянии 25 мм от передней или задней части седла, в зависимости от того, где будет получен наибольший крутящий момент в зажиме седла. После снятия указанной силы прикладывается горизонтальная сила 100 Н в точке на расстоянии 25 мм от передней или задней части седла, в зависимости от того, где будет получен наибольший крутящий момент в подседельном зажиме.
4.11. Испытание статической нагрузкой системы привода
4.11.1. Общее требование
Испытание проводится на узле, включающем в себя раму, педали, систему привода, узел заднего колеса и, в случае необходимости, механизм переключения передач.
Рама поддерживается таким образом, чтобы плоскость симметрии была вертикальна и заднее колесо надежно закреплено за обод во избежание его вращения.
4.11.2. Односкоростная система
Проводятся следующие две операции:
a) к левому шатуну, находящемуся в переднем горизонтальном положении, постепенно прикладывается вертикально направленная вниз сила 600 Н к центру левой педали и поддерживается в полную величину в течение 15 с.
В случае, если приводные звездочки закреплены так, что шатун вращается под нагрузкой, после закрепления звездочек полностью шатун возвращают в горизонтальное положение.
Испытание повторяют;
b) после завершения вышеупомянутого испытания a) его повторяют с правым шатуном, находящимся в переднем горизонтальном положении и с нагрузкой, прилагаемой к центру правой педали.
4.11.3. Многоскоростная система
Проводятся следующие две операции:
a) испытание проводят по
4.11.2 a) с правильно отрегулированным приводом на высшую передачу;
b) испытание проводят по
4.11.2 b) с правильно отрегулированным приводом на низшую передачу.
4.12. Испытание вертикальной нагрузкой поддерживающих роликов
К раме велосипеда, повернутой и жестко закрепленной в вертикальном положении при помощи седлодержателя, подвешивается груз массой 30 кг через один из поддерживающих роликов, как показано на
рисунке 18, и узел выдерживается в таком положении 3 мин.
Прогиб под нагрузкой измеряют в точке на окружности колеса поддерживающего ролика.
Груз снимается, и спустя 1 мин в той же точке измеряют остаточную деформацию.
Испытание повторяют и на другом поддерживающем ролике.
1 - масса 30 кг, действующая через ось поддерживающего
ролика; 2 - седлодержатель, закрепленный в жестком зажимном
приспособлении; a - ось ролика
Рисунок 18. Испытание вертикальной нагрузкой
4.13. Испытание продольной нагрузкой поддерживающих роликов
К раме велосипеда, жестко закрепленной таким образом, чтобы ось переднего колеса находилась вертикально над осью заднего колеса, подвешивается груз массой 30 кг через один из поддерживающих роликов, как показано на
рисунке 19, и выдерживается в таком положении 3 мин.
Груз снимают, и спустя 1 мин измеряют остаточную деформацию в точке на окружности поддерживающего ролика. Испытание повторяют и на другом поддерживающем ролике.
1 - рама, жестко закрепленная в вертикальном
положении; 2 - масса 30 кг, действующая через ось
поддерживающего ролика
Рисунок 19. Испытание продольной нагрузкой
4.14. Испытание на прочность седла
К седлу, закрепленному в зажимном приспособлении с рекомендуемым крутящим моментом, прикладывается сила 400 Н под переднюю и заднюю части покрытия седла, как показано на рисунке 20, не касаясь стальной части седла.
Рисунок 20. Испытание на прочность седла
| Стандарт EN 71-1:1998 Безопасность игрушек. Часть 1: Механические и физические свойства (EN 71-1:1998, Safety of toys - Part 1: Mechanical and physical properties) |
[2] | Стандарт ИСО 1101:2004 Геометрические характеристики изделий (GPS). Установление геометрических допусков. Допуски на форму, ориентацию, расположение и биение (ISO 1101:2004, Geometrical Product Specifications (GPS). Geometrical tolerancing. Tolerances of form, orientation, location and run-out) |
[3] | Стандарт ИСО 4210:1996 Велосипеды. Правила техники безопасности (ISO 4210:1996, Cycles - Safety requirements for bicycles) |