Главная // Актуальные документы // ГОСТ Р (Государственный стандарт)СПРАВКА
Источник публикации
М.: ФГБУ "РСТ", 2021
Примечание к документу
Документ
введен в действие с 01.01.2022.
Название документа
"ГОСТ Р 59683-2021. Национальный стандарт Российской Федерации. Нефтепродукты. Методы определения температуры вспышки в анализаторе с постоянно закрытым тиглем"
(утв. и введен в действие Приказом Росстандарта от 14.09.2021 N 964-ст)
"ГОСТ Р 59683-2021. Национальный стандарт Российской Федерации. Нефтепродукты. Методы определения температуры вспышки в анализаторе с постоянно закрытым тиглем"
(утв. и введен в действие Приказом Росстандарта от 14.09.2021 N 964-ст)
Утвержден и введен в действие
по техническому регулированию
и метрологии
от 14 сентября 2021 г. N 964-ст
НАЦИОНАЛЬНЫЙ СТАНДАРТ РОССИЙСКОЙ ФЕДЕРАЦИИ
НЕФТЕПРОДУКТЫ
МЕТОДЫ ОПРЕДЕЛЕНИЯ ТЕМПЕРАТУРЫ ВСПЫШКИ
В АНАЛИЗАТОРЕ С ПОСТОЯННО ЗАКРЫТЫМ ТИГЛЕМ
Petroleum products. Standard test methods
for flash point by continuously closed cup tester
ГОСТ Р 59683-2021
Дата введения
1 января 2022 года
1 ПОДГОТОВЛЕН Акционерным обществом "Всероссийский научно-исследовательский институт по переработке нефти (АО "ВНИИ НП") на основе собственного перевода на русский язык англоязычных версий стандартов, указанных в
пункте 4
2 ВНЕСЕН Техническим комитетом по стандартизации ТК 31 "Нефтяные топлива и смазочные материалы"
3 УТВЕРЖДЕН И ВВЕДЕН В ДЕЙСТВИЕ
Приказом Федерального агентства по техническому регулированию и метрологии от 14 сентября 2021 г. N 964-ст
4 Настоящий стандарт является модифицированным по отношению к стандартам АСТМ Д6450-16а "Метод определения температуры вспышки в анализаторе с постоянно закрытым тиглем" [ASTM D6450-16a "Standard test method for flash point by continuously closed cup (CCCFP) tester", MOD] и АСТМ Д7094-17а "Метод определения температуры вспышки в анализаторе с модифицированным постоянно закрытым тиглем" [ASTM D7094-17a "Standard test method for flash point by modified continuously closed cup (MCCCFP) tester", MOD] путем включения дополнительных слов (фраз, показателей, ссылок) для учета потребностей национальной экономики, которые выделены курсивом и изменения структуры для приведения в соответствие с правилами, установленными в ГОСТ 1.5-2001 (
подразделы 4.2,
4.3).
Стандарты разработаны подкомитетом D02.08 "Испаряемость" Технического комитета ASTM D02 "Нефтепродукты, жидкое топливо и смазочные материалы".
Сопоставление структуры настоящего стандарта со структурой примененных в нем стандартов приведено в дополнительном
приложении ДА
5 ВВЕДЕН ВПЕРВЫЕ
Правила применения настоящего стандарта установлены в статье 26 Федерального закона от 29 июня 2015 г. N 162-ФЗ "О стандартизации в Российской Федерации". Информация об изменениях к настоящему стандарту публикуется в ежегодном (по состоянию на 1 января текущего года) информационном указателе "Национальные стандарты", а официальный текст изменений и поправок - в ежемесячном информационном указателе "Национальные стандарты". В случае пересмотра (замены) или отмены настоящего стандарта соответствующее уведомление будет опубликовано в ближайшем выпуске ежемесячного информационного указателя "Национальные стандарты". Соответствующая информация, уведомление и тексты размещаются также в информационной системе общего пользования - на официальном сайте Федерального агентства по техническому регулированию и метрологии в сети Интернет (www.gost.ru)
1.1 Настоящий стандарт устанавливает два метода определения температуры вспышки нефтяных топлив, включая дизельные/биодизельные смеси, смазочных масел, растворителей и других жидкостей:
метод A - в анализаторе с постоянно закрытым тиглем (CCCFP);
метод B - в анализаторе с модифицированным постоянно закрытым тиглем (MCCCFP).
1.2 Настоящие методы определения температуры вспышки являются динамическими и их точность зависит от определенных значений скорости повышения температуры. Методы испытаний, так же как и другие методы определения температуры вспышки, являются эмпирическими.
Примечание - Температура вспышки не является постоянным физико-химическим свойством испытуемых веществ. Температура вспышки зависит от конструкции аппарата, условий использования аппарата и выполняемой рабочей процедуры. Поэтому температуру вспышки определяют только в условиях стандартного метода испытаний и невозможно обеспечить корреляцию результатов, полученных с использованием разных методов испытаний или разного испытательного оборудования.
1.3 В
методах A и
B используют закрытый, но не герметичный тигель с подачей воздуха в испытательную камеру.
1.4 Установленный в стандартах на продукцию метод определения температуры вспышки не следует заменять данными методами испытаний или любым другим методом испытаний без получения сравнительных данных и согласования с разработчиком документа на продукцию.
1.5 Значения в системе единиц СИ считают стандартными. В настоящем стандарте не используют другие единицы измерения. Значения температуры указаны в градусах Цельсия, а давления - в кПа.
1.6 В настоящем стандарте не рассмотрены все проблемы безопасности, связанные с его применением. Пользователь настоящего стандарта несет ответственность за установление соответствующих правил безопасности и охраны здоровья, а также определяет целесообразность применения законодательных ограничений перед его использованием.
В настоящем стандарте использованы нормативные ссылки на следующие стандарты:
ГОСТ 450 Кальций хлористый технический. Технические условия
ГОСТ 2517 Нефть и нефтепродукты. Методы отбора проб
ГОСТ 2603 Реактивы. Ацетон. Технические условия
ГОСТ 5789 Реактивы. Толуол. Технические условия
ГОСТ 12026 Бумага фильтровальная лабораторная. Технические условия
ГОСТ 31873 Нефть и нефтепродукты. Методы ручного отбора проб
ГОСТ ISO Guide 34 Общие требования к компетентности изготовителей стандартных образцов
ГОСТ ISO Guide 35 Стандартные образцы. Общие и статистические принципы сертификации (аттестации)
Примечание - При пользовании настоящим стандартом целесообразно проверить действие ссылочных стандартов в информационной системе общего пользования - на официальном сайте Федерального агентства по техническому регулированию и метрологии в сети Интернет или по ежегодному информационному указателю "Национальные стандарты", который опубликован по состоянию на 1 января текущего года, и по выпускам ежемесячного информационного указателя "Национальные стандарты" за текущий год. Если заменен ссылочный стандарт, на который дана недатированная ссылка, то рекомендуется использовать действующую версию этого стандарта с учетом всех внесенных в данную версию изменений. Если заменен ссылочный стандарт, на который дана датированная ссылка, то рекомендуется использовать версию этого стандарта с указанным выше годом утверждения (принятия). Если после утверждения настоящего стандарта в ссылочный стандарт, на который дана датированная ссылка, внесено изменение, затрагивающее положение, на которое дана ссылка, то это положение рекомендуется применять без учета данного изменения. Если ссылочный стандарт отменен без замены, то положение, в котором дана ссылка на него, рекомендуется применять в части, не затрагивающей эту ссылку.
В настоящем стандарте применены следующие термины с соответствующими определениями.
3.1 динамическое условие: Состояние, при котором пары над испытуемым образцом и испытуемый образец не находятся в температурном равновесии при применении источника зажигания.
3.2 температура вспышки (в методах испытаний по определению температуры вспышки): Минимальная температура образца для испытания, скорректированная с учетом отклонений барометрического давления от 101,3 кПа, при которой происходит воспламенение паров испытуемого образца при поджиге в установленных условиях испытания.
Примечание - В условиях данных методов испытаний испытуемый образец считают воспламенившимся, если высокотемпературное пламя воспламененных паров образца вызывает резкое повышение давления в закрытой испытательной камере не менее чем на 20 кПа.
В настоящем стандарте применены следующие сокращения:
CCCFP - анализатор с постоянно закрытым тиглем;
MCCCFP - анализатор с модифицированным постоянно закрытым тиглем;
CRM - аттестованный стандартный образец <1>;
--------------------------------
<1>
Допускается применять ГСО в соответствии с ГОСТ Р 8.753-2011 "Государственная система обеспечения единства измерений. Стандартные образцы материалов (веществ). Основные положения".
SWS - вторичный рабочий стандартный образец <2>.
--------------------------------
<2>
Допускается применять СОП в соответствии с ГОСТ Р 8.753-2011 "Государственная система обеспечения единства измерений. Стандартные образцы материалов (веществ). Основные положения".
5.1 Устанавливают температуру крышки измерительной камеры не менее чем на 18 °C ниже предполагаемой температуры вспышки. Вводят в тигель испытуемый образец: (1,0 +/- 0,1) см
3 для
метода A или (2,0 +/- 0,2) см
3 для
метода B. При этом температура тигля и образца должна быть не менее чем на 18 °C ниже предполагаемой температуры вспышки. При необходимости охлаждают тигель и образец. Затем поднимают тигель и прижимают к крышке соответствующего размера для создания постоянно закрытой, но не герметичной испытательной камеры общим объемом (4,0 +/- 0,2) см
3 для
метода A или (7,0 +/- 0,3) см
3 для
метода B).
5.2 После закрытия испытательной камеры обеспечивают достижение температурного равновесия испытуемого образца и крышки с точностью до 1 °C. Затем нагревают крышку с предварительно установленной постоянной скоростью. Для определения температуры вспышки применяют разряд дуги определенной энергии через равные промежутки времени. После каждого поджига вводят в камеру (1,5 +/- 0,5) см
3 воздуха для
метода A или объем воздуха в соответствии с
таблицей 1 для
метода B, чтобы обеспечить необходимое количество кислорода для следующего определения. В постоянно закрытой, но не герметичной испытательной камере поддерживают барометрическое давление окружающей среды за исключением короткого времени при подаче воздуха и при вспышке.
Таблица 1
Зависимость объема подаваемого воздуха
от температуры образца
Температура образца, °C | Объем подаваемого воздуха, см3 |
Ниже 80 | 0 |
От 80 до 150 включ. | 0,50 +/- 0,15 |
От 150 до 200 включ. | 1,0 +/- 0,2 |
От 200 до 300 включ. | 1,5 +/- 0,3 |
Св. 300 | 2,0 +/- 0,4 |
5.3 После каждого разряда дуги определяют мгновенное повышение давления внутри испытательной камеры по отношению к барометрическому. Когда повышение давления превысит определенный порог (20 кПа - для
метода B), регистрируют температуру в этой точке как неоткорректированную температуру вспышки, которую затем корректируют с поправкой на барометрическое давление.
6 Назначение и применение
6.1 Температура вспышки отражает способность испытуемого образца образовывать воспламеняющуюся смесь с воздухом при контролируемых лабораторных условиях. Температура вспышки является одним из показателей общей пожарной опасности нефтепродукта.
6.2 Значение температуры вспышки учитывают в правилах пожарной и промышленной безопасности и при транспортировке огнеопасных и горючих материалов, а также для их классификации. Для точного определения класса опасности следует обратиться к паспорту безопасности на нефтепродукт или к стандарту на конкретную продукцию.
6.3 Настоящие методы испытаний можно использовать для определения и описания свойств материалов, подверженных нагреву и воздействию источника зажигания при контролируемых лабораторных условиях. Однако методы не следует использовать для определения или оценки пожарной опасности материалов при фактических условиях возгорания. Результаты испытаний по настоящему стандарту используют в качестве элементов оценки риска возгорания, которая учитывает все факторы, имеющие отношение к оценке пожарной опасности индивидуального конечного использования.
6.4 Температура вспышки также может указывать на возможное наличие высоколетучих и горючих веществ в относительно нелетучем и негорючем материале, например, наличие примесей дизельного топлива или бензина в смазочных маслах.
Метод A является более чувствительным к возможному наличию примесей по сравнению с
методом B.
7.1 Чистота реактивов
Следует использовать только вещества с чистотой, указанной в
таблицах C.1 и
C.2. Для всех испытаний используют реактивы квалификации х.ч.
Допускается использовать реактивы других классов чистоты, если предварительно установлено, что реактив имеет достаточно высокую чистоту для его использования без уменьшения точности определения.
7.1.1 Анизол (
Предупреждение - см.
7.2).
7.1.2 Додекан (
Предупреждение - см.
7.2).
7.2 Растворители для очистки
Используют только не вызывающие коррозию растворители, обеспечивающие очистку тигля и крышки. Обычно используют толуол и ацетон. (Предупреждение - Анизол, додекан, толуол, ацетон и другие растворители являются огнеопасными и вредными для здоровья. Растворители и отходы утилизируют в соответствии с установленными национальными правилами).
7.3 Образцы контроля качества - CRM или SWS, указанные в приложении C.
Примечание - Допускается применять государственные стандартные образцы (ГСО) и межгосударственные стандартные образцы (МСО) с аналогичными метрологическими характеристиками, соответствующими требованиям настоящего стандарта.
8.1 Отбирают не менее 50 см
3 пробы из пробоотборной емкости в соответствии с
ГОСТ 2517 или
ГОСТ 31873, (см. также
[1], или
[2], или
[3]). Хранят пробы в чистых, герметичных сосудах при низкой температуре.
8.2 Не допускается хранить пробы длительное время в газопроницаемых контейнерах, например, пластиковых, поскольку летучие вещества могут диффундировать через стенки контейнера. Пробы из контейнеров, имеющих утечки, бракуют и отбирают новые пробы.
8.3 Для предотвращения потерь летучих веществ необходимо принять соответствующие меры предосторожности, иначе могут быть получены завышенные значения температуры вспышки. Не следует открывать контейнеры без необходимости. Не следует выполнять ввод образца в тигель до тех пор, пока его температура не будет ниже предполагаемой температуры вспышки не менее чем на 18 °C. По возможности определение температуры вспышки следует выполнять при первом анализе образца.
8.4 Допускается нагревать перед испытаниями пробы вязких материалов для обеспечения достаточной текучести, однако нагревать негерметично закрытые контейнеры с пробами следует до температуры не менее чем на 18 °C ниже предполагаемой температуры вспышки.
8.5 Пробы, содержащие растворенную или свободную воду, обезвоживают с использованием хлорида кальция или фильтруют через соответствующую фильтровальную бумагу или сухую ткань. Допускается нагревать пробы до температуры не менее чем на 18 °C ниже предполагаемой температуры вспышки (
Предупреждение - Из-за испарения проб, содержащих летучие компоненты, могут быть получены недостоверные результаты определения температуры вспышки, поэтому для таких проб не применяют процедуры, указанные в
8.4 и 8.5).
Примечание - Допускается применять хлорид кальция по ГОСТ 450, фильтровальную бумагу по ГОСТ 12026.
| | ИС МЕГАНОРМ: примечание. В официальном тексте документа, видимо, допущена опечатка: имеется в виду таблица C.2, а не B.2. | |
9.1 Рабочие характеристики аппарата проверяют не реже одного раза в год, определяя температуру вспышки CRM, например CRM, указанного в
приложении B, значения температуры вспышки которого примерно соответствует предполагаемому диапазону температур вспышки испытуемого образца. Проверяют стандартный образец в соответствии с
разделом 13 для
метода A или
разделом 19 - для
метода B, а температуру вспышки, определенную по
13.11 (метод A) или
19.12 (метод B), корректируют на барометрическое давление (см.
раздел 13 для
метода A или
раздел 19 для
метода B). Значение температуры вспышки должно быть в пределах, указанных в
таблице C.1 (метод A) или
таблице B.2 (метод B). Если изготовитель рекомендует более жесткие требования в отношении допустимых отклонений CRM и SWS, то следуют инструкциям изготовителя.
9.2 После проверки рабочих характеристик аппарата определяют температуру вспышки SWS и контрольные пределы. Эти вторичные рабочие стандартные образцы затем используют для периодических проверок рабочих характеристик аппарата (см.
приложение C). Проверку рабочих характеристик аппарата с использованием SWS следует выполнять ежедневно при проведении ежедневных испытаний на аппарате.
9.3 Если полученное значение температуры вспышки не соответствует пределам, установленным в
9.1 или
9.2, то следует выполнить очистку и регулировку аппарата в соответствии с руководством по эксплуатации, а также проверить калибровку аппарата (см.
раздел 10). После выполнения любых регулировок проводят повторное испытание по
9.1 или
9.2 с использованием нового образца, обращая особое внимание на условия выполнения испытания, установленные в данных методах испытаний (
Предупреждение - Использование однокомпонентных поверочных веществ, например, веществ, указанных в
таблице C.1 для
метода A или в
таблице C.2 для
метода B, позволяет подтвердить только правильность калибровки аппарата. При этом невозможно проверить точность метода испытаний, включая обращение с пробой. Потери от испарения не влияют на температуру вспышки для однокомпонентных веществ в отличие от потерь легких фракций в многокомпонентных смесях).
10.1 Датчик давления
10.1.1 При необходимости проверяют калибровку датчика давления в соответствии с указаниями по контролю качества (см.
раздел 9). Проверку калибровки датчика давления проводят с использованием значения барометрического давления окружающей среды в качестве справочного значения.
10.1.2 Если регистрируемое значение атмосферного давления не совпадает с барометрическим давлением окружающей среды, то регулируют датчик до получения соответствующих показаний. Барометрическое давление окружающей среды является фактическим давлением в месте установки аппарата во время проведения испытаний (Предупреждение - Многие барометры анероидного типа, например, барометры, используемые на метеостанциях и в аэропортах, предварительно корректируют для получения показаний давления относительно уровня моря. Такие барометры не используют для калибровки аппарата).
10.2 Датчик температуры
При необходимости проверяют калибровку датчика температуры, используемого для контроля температуры образца по сертифицированному эталонному термометру в соответствии с указаниями по контролю качества в
разделе 9. Используют только эталонные термометры, соответствующие требованиям Национального института стандартов и технологий (NIST) или государственных органов страны, в которой используется оборудование.
Допускается использовать термометры, поверенные в установленном порядке.
Метод A. Определение температуры вспышки в анализаторе с постоянно закрытым тиглем
Настоящий метод применяют для испытания образцов с температурой вспышки от 10 °C до 250 °C.
Примечание - Допускается определять температуру вспышки ниже 10 °C и выше 250 °C, но показатели прецизионности при этом не установлены.
12.1 Аппарат для определения температуры вспышки по методу постоянно закрытого тигля
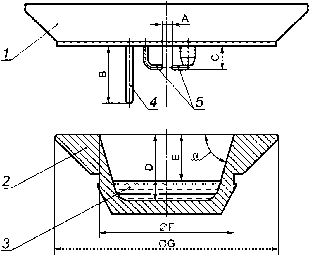
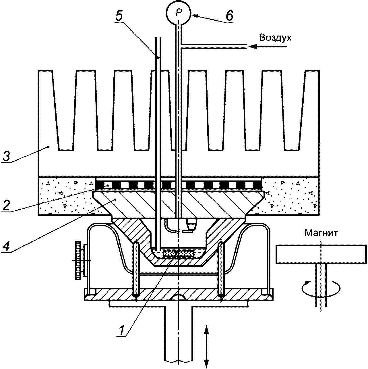
Аппарат, используемый в настоящем методе испытаний, оборудован латунной крышкой, температура которой электрически регулируется. В крышку встроены два температурных датчика для измерения температур образца и крышки соответственно, два дуговых электрода для высоковольтной дуги и соединительная трубка для контроля давления и подачи воздуха. Для электрического регулирования температуры крышки используют соответствующее оборудование, обеспечивающее цифровую индикацию температуры образца. Аппарат и его основные элементы показаны на
рисунках A.1 и
A.2.
12.1.1 Испытательная камера
Во время проведения испытания поднимают тигель к крышке с регулируемой температурой, образуя закрытую испытательную камеру с общей вместимостью (4,0 +/- 0,2) см
3. Поверхность соприкосновения между металлической крышкой и металлическим корпусом тигля должна обеспечивать хороший тепловой контакт, но при этом в процессе испытаний внутри испытательной камеры должно поддерживаться барометрическое давление окружающей среды. Основные размеры показаны на
рисунке A.2. При повышении температуры контролируют давление внутри испытательной камеры. Слишком плотное соприкосновение приводит к увеличению давления выше барометрического давления окружающей среды вследствие воздействия температуры и давления паров образца. Недостаточный тепловой контакт приводит к повышенной разности температур между образцом и нагретой крышкой.
12.1.2 Тигель для образца
Тигель для образца должен быть изготовлен из никелированного алюминия или другого материала с аналогичной теплопроводностью. Тигель должен иметь общую вместимость 4 см
3 и обеспечивать ввод (1,0 +/- 0,1) см
3 образца. Основные размеры и требования указаны на
рисунке A.2.
12.1.3 Датчик температуры образца
Датчик температуры образца
(рисунок A.1) представляет собой термопару (NiCr - Ni или аналогичный материал) диаметром 1 мм с защитной трубкой из нержавеющей стали со временем отклика
t(90) = 3 с. Датчик должен погружаться в образец не менее чем на 2 мм. Он должен иметь разрешение 0,1 °C и точность не менее +/- 0,2 °C, предпочтительно с цифровой индикацией.
Аппарат должен иметь устройство для перемешивания образца. Наружный вращающийся магнит должен приводить в движение ротор магнитной мешалки, который опускают в тигель после ввода образца. Ротор магнитной мешалки должен иметь диаметр (3,0 +/- 0,2) мм и длину (12 +/- 1) мм. Частота вращения магнитной мешалки должна быть от 250 до 270 об/мин.
Аппарат должен иметь устройство для подачи (1,5 +/- 0,5) см3 воздуха непосредственно после каждого определения температуры вспышки. Воздух следует подавать короткими импульсами из небольшого мембранного компрессора через Т-образное соединение в соединительной трубке датчика давления.
12.1.6 Для регулировки температуры испытательной камеры при испытании используют электрическое нагревание и термоэлектрическое охлаждение крышки (элемент Пельтье на
рисунке A.1). Регулируют температуру с точностью не менее +/- 0,2 °C.
12.1.7 Для поджига горючих паров следует использовать высоковольтную электрическую дугу. Энергия дуги должна составлять (3,0 +/- 0,5) мДж [(3,0 +/- 0,5) Вт·с)] на разряд. Разряд подают в течение (43 +/- 3) мс (
Предупреждение - Конструкция аппарата должна обеспечивать поджиг с интервалами 10 °C после закрытия испытательной камеры и перед достижением образцом начальной температуры испытания, поскольку образцы, содержащие вещество с низкой температурой вспышки, или имеющие температуру вспышки ниже предварительно установленной начальной температуры, могут перенасыщать пары внутри испытательной камеры и затруднять определение температуры вспышки в выбранном диапазоне).
12.1.8 Датчик давления для определения температуры вспышки должен соединяться с трубкой в крышке и должен иметь минимальный рабочий диапазон от 80 до 177 кПа с минимальным разрешением 0,1 кПа и точностью не менее +/- 0,5 кПа. Датчик должен обеспечивать детектирование резкого повышения давления выше барометрического давления не менее чем на 20 кПа в течение 100 мс.
Примечания
1 Контроль резкого повышения давления выше барометрического давления является одним из методов определения вспышки внутри испытательной камеры. Повышение давления на 20 кПа соответствует объему пламени примерно 1,5 см3.
2 В аппарате используют автоматическую корректировку барометрического давления, выполняемую в соответствии с процедурой по
14.1. Для корректировки используют показания датчика давления, описание которого приведено в 12.1.8.
12.1.9 Для ввода (1,0 +/- 0,1) см
3 испытуемого образца используют пипетку или шприц требуемой точности.
13.1 Перед испытанием тщательно промывают и сушат тигель и крышку вместе с дуговыми электродами. Удаляют остатки растворителя, используемого для очистки аппарата. Если предполагаемая температура вспышки образца более чем на 15 °C выше температуры вспышки предыдущего образца, то нагревают крышку вместе с пустым, сухим тиглем до температуры на 30 °C выше предполагаемой температуры вспышки нового образца.
Примечание - Нагревание сухого тигля предотвращает возможное перекрестное загрязнение от остаточных паров.
13.2 Предполагаемая температура вспышки
Устанавливают начальную температуру не менее чем на 18 °C ниже предполагаемой температуры вспышки. Устанавливают конечную температуру выше предполагаемой температуры вспышки.
13.2.1 Предполагаемая температура вспышки неизвестна.
При испытании материалов, для которых предполагаемая температура вспышки неизвестна, устанавливают начальную температуру 10 °C и выполняют определения в соответствии с приведенной процедурой. Полученный результат определения температуры вспышки рассматривают как приблизительный. Полученное значение температуры вспышки можно использовать в качестве предполагаемой температуры вспышки при испытании нового образца в стандартном режиме.
13.3 Устанавливают скорость нагрева (5,5 +/- 0,5) °C/мин.
13.4 Устанавливают частоту зажигания, соответствующую изменению температуры на 1 °C.
13.5 Устанавливают объем подачи воздуха 1,5 см
3.
13.6 Устанавливают пороговое давление 20 кПа для детектирования вспышки.
13.7 Начинают процедуру испытания с регулирования начальной температуры крышки. Вводят образец в тигель только после достижения начальной температуры, указываемой прибором.
13.8 Убеждаются, что образец в герметичном контейнере и тигель находятся при температуре не менее чем на 18 °C ниже предполагаемой температуры вспышки. При необходимости охлаждают. Перед открытием контейнера с образцом его энергично встряхивают. Отбирают 1 см
3 образца пипеткой или шприцем и сразу же закрывают контейнер. Переносят (1,0 +/- 0,1) см
3 испытуемого образца в тигель.
13.9 Помещают магнит в тигель для обеспечения перемешивания образца.
13.10 Устанавливают тигель на опорную подставку и начинают процедуру испытания. Поднимают и прижимают тигель к крышке, которая находится при начальной температуре, и следовательно, при более высокой температуре чем тигель. В течение процесса выравнивания температуры между тиглем и крышкой выполняют предварительное поджигание паров образца высоковольтной дугой с интервалами 10 °C (см.
12.1.7). Если детектируют вспышку при одном из этих предварительных поджигов паров образца высоковольтной дугой, то прекращают выполнение испытания и не учитывают результат. Выполняют повторное испытание с использованием нового образца при более низкой начальной температуре не менее чем на 18 °C ниже температуры, при которой была детектирована вспышка.
13.11 После установления температурного равновесия между терморегулируемой крышкой и образцом с точностью до 1 °C определяют температуру вспышки. Нагревают крышку с программируемой скоростью нагрева и поджигают пары образца высоковольтной дугой с постоянными температурными интервалами 1 °C. Контролируют резкое повышение давления в течение 100 мс после поджига паров образца высоковольтной дугой. Прекращают испытания после детектирования вспышки или достижения конечной температуры при отсутствии вспышки. Температурой вспышки является температура образца, при которой давление из-за наличия вспышки резко повышается и превышает пороговое значение 20 кПа.
13.12 Если детектируют вспышку при температуре, превышающей более чем на 26 °C начальную температуру, или если вспышку детектируют при температуре, менее чем на 10 °C выше начальной температуры, то результат рассматривают как приблизительный и повторяют испытание с использованием нового образца. Устанавливают предполагаемую температуру вспышки для следующего испытания на температуру, равную приблизительному результату. Начальная температура для нового испытуемого образца должна быть на 18 °C ниже температуры предыдущего приблизительного результата.
13.13 Записывают показание температуры образца в момент детектирования вспышки как нескорректированное значение температуры вспышки. Если температура вспышки не была детектирована в заданном температурном диапазоне, то записывают, что температура вспышки выше конечной температуры.
13.14 После испытания охлаждают тигель до температуры ниже 50 °C для его безопасного извлечения.
14.1 Корректировка барометрического давления
Определяют и записывают барометрическое давление окружающей среды во время испытания. Если давление отличается от 101,3 кПа, то корректируют температуру вспышки по
формуле (1) (
Предупреждение - Используемое при вычислении барометрическое давление должно быть абсолютным давлением окружающей среды в лаборатории во время испытания. Многие барометры анероидного типа, например, барометры, используемые на метеостанциях и в аэропортах, предварительно корректируют для получения показаний давления относительно уровня моря. Такие барометры не используют).
Скорректированная температура вспышки =
= C + 0,25 (101,3 - p), (1)
где C - детектируемая температура вспышки, °C;
p - барометрическое давление окружающей среды, кПа.
Округляют скорректированное значение с точностью до 0,5 °C.
Записывают скорректированную температуру вспышки как температуру вспышки образца, определенную по методу A в анализаторе с постоянно закрытым тиглем.
16.1 Показатели прецизионности получены в результате выполнения программы межлабораторных сравнительных испытаний в 1996 г. Программа предусматривала участие десяти лабораторий, которые использовали три образца чистых химических реактивов, один образец чистого углеводорода, три образца топлива и три образца смазочных масел. Показатели прецизионности для повторяемости и воспроизводимости установлены для диапазона значений температуры вспышки от 10 °C до 250 °C.
Прецизионность процедуры для метода CCCFP, определенная статистической проверкой результатов межлабораторной программы испытаний, следующая:
Расхождение между последовательными результатами испытаний, полученными одним и тем же оператором на одной и той же аппаратуре при постоянных рабочих условиях на идентичном испытуемом материале в течение длительного времени при нормальном и правильном выполнении настоящего метода испытаний, может превышать следующие значения только в одном случае из двадцати:
r = 1,9 °C.
16.2.2 Воспроизводимость R
Расхождение между двумя единичными и независимыми результатами испытаний, полученными разными операторами в разных лабораториях на идентичном испытуемом материале в течение длительного времени при нормальном и правильном выполнении настоящего метода испытаний, может превышать следующие значения только в одном случае из двадцати:
R = 3,1 °C.
Смещение не установлено, поскольку отсутствует стандартный образец, подходящий для определения смещения в соответствии с процедурой настоящего метода испытаний.
Метод B. Определение температуры вспышки в анализаторе с модифицированным постоянно закрытым тиглем
Настоящий метод применяют для испытания образцов с температурой вспышки от 35 °C до 225 °C.
Примечание - Допускается определять температуру вспышки ниже 35 °C и выше 225 °C, но показатели прецизионности при этом не установлены.
18.1 Аппарат для определения температуры вспышки по методу модифицированного постоянно закрытого тигля
Аппарат, используемый в настоящем методе испытаний, оборудован латунной крышкой, температуру которой регулируют электрически. В крышку встроены два температурных датчика для измерения температур образца и крышки соответственно, два дуговых электрода для высоковольтной дуги и соединительная трубка для контроля давления и подачи воздуха. Для электрического регулирования температуры крышки используют соответствующее оборудование, обеспечивающее цифровую индикацию температуры образца. Аппарат и его основные элементы показаны на
рисунках B.1 и
B.2.
18.1.1 Испытательная камера
| | ИС МЕГАНОРМ: примечание. В официальном тексте документа, видимо, допущена опечатка: имеется в виду рисунок B.2, а не Б.2. | |
При испытании поднимают тигель к крышке с регулируемой температурой, образуя закрытую испытательную камеру с общей вместительностью (7,0 +/- 0,3) см
3. Поверхность соприкосновения между металлической крышкой и металлическим корпусом тигля должна обеспечивать хороший тепловой контакт, но при этом в процессе испытаний внутри испытательной камеры должно поддерживаться барометрическое давление окружающей среды. Основные размеры показаны на
рисунке Б.2. При повышении температуры контролируют давление внутри испытательной камеры. Слишком плотное соприкосновение приводит к увеличению давления выше барометрического давления окружающей среды вследствие воздействия температуры и давления паров образца. Недостаточный тепловой контакт приводит к повышенной разности температур между образцом и нагретой крышкой.
18.1.2 Тигель для образца
Тигель для образца должен быть изготовлен из никелированного алюминия или другого материала с аналогичной теплопроводностью. Тигель должен иметь общую вместимость (7,0 +/- 0,3) см
3 и обеспечивать ввод (2,0 +/- 0,2) см
3 образца. Основные размеры и требования указаны на
рисунке B.2.
18.1.3 Датчик температуры образца
Датчик температуры образца (см.
рисунок B.1) представляет собой термопару (NiCr - Ni или аналогичный материал) диаметром 1 мм с защитной трубкой из нержавеющей стали со временем отклика
t(90) = 3 с. Датчик должен погружаться в образец не менее чем на 2 мм. Он должен иметь разрешение 0,1 °C и минимальную точность +/- 0,2 °C, предпочтительно с цифровой индикацией.
Аппарат должен иметь устройство для перемешивания образца. Наружный вращающийся магнит должен приводить в движение ротор магнитной мешалки, который помещают в тигель после ввода образца. Ротор магнитной мешалки должен иметь диаметр (3,0 +/- 0,2) мм и длину (12 +/- 1) мм. Частота вращения приводной мешалки должна составлять от 250 до 270 об/мин.
Аппарат должен иметь устройство для подачи воздуха непосредственно после каждого определения температуры вспышки. Воздух следует подавать короткими импульсами из небольшого мембранного компрессора через Т-образное соединение в соединительной трубке датчика давления. Объем подаваемого воздуха должен составлять от 0 до 2,0 см
3 в зависимости от температуры образца (см.
таблицу 1).
18.1.6 Для регулирования температуры испытательной камеры при испытании используют электрический нагрев и термоэлектрическое охлаждение крышки (элемент Пельтье, показанный на
рис. B.1). Регулируют температуру с точностью не менее +/- 0,2 °C.
18.1.7 Для поджига горючих паров применяют высоковольтный дуговой разряд с энергией (1,3 +/- 0,3) Дж [(1,3 +/- 0,3) Вт·с] и скоростью (19 +/- 2) м/с. (
Предупреждение - При выравнивании температур крышки и тигля для образца требуется серия предварительных разрядов с интервалами 5 °C, поскольку образцы, содержащие вещество с низкой температурой вспышки, или имеющие температуру вспышки ниже предварительно установленной начальной температуры, могут перенасыщать пары внутри испытательной камеры, и следовательно, затруднять определение температуры вспышки в выбранном диапазоне).
18.1.8 Датчик давления для определения температуры вспышки, соединенный с трубкой в крышке, должен иметь минимальный рабочий диапазон от 80 до 177 кПа с минимальным разрешением 0,1 кПа и точностью не менее +/- 0,5 кПа. Датчик должен обеспечивать детектирование резкого повышения давления выше барометрического давления не менее чем на 20 кПа в течение 100 мс.
Примечания
1 Контроль резкого повышения давления выше барометрического давления является одним из методов определения вспышки внутри испытательной камеры. Повышение давления на 20 кПа соответствует объему пламени примерно 2,5 см3.
2 В аппарате используют автоматическую корректировку барометрического давления, выполняемую в соответствии с процедурой по
20.1. Для корректировки используют показания датчика давления, описание которого приведено в 18.1.8.
18.1.9 Для ввода (2,0 +/- 0,2) см
3 испытуемого образца используют пипетку или шприц требуемой точности.
19.1 Перед испытанием тщательно промывают и сушат тигель и крышку вместе с дуговыми электродами. Удаляют остатки растворителя, используемого для очистки аппарата.
19.1.1 Если предполагаемая температура вспышки образца более чем на 15 °C выше температуры вспышки предыдущего образца, то нагревают крышку вместе с пустым, сухим тиглем до температуры на 30 °C выше предполагаемой температуры вспышки нового образца.
Примечание - Нагревание сухого тигля предотвращает возможное перекрестное загрязнение от остаточных паров.
19.2 Предполагаемая температура вспышки
Устанавливают начальную температуру (при которой начинается фактическое определение температуры вспышки) не менее чем на 18 °C ниже предполагаемой температуры вспышки. Устанавливают конечную температуру выше предполагаемой температуры вспышки.
19.2.1 Предполагаемая температура вспышки неизвестна.
При испытании материалов, для которых предполагаемая температура вспышки неизвестна, устанавливают начальную температуру 10 °C и выполняют определения в соответствии с приведенной процедурой. Полученный результат определения температуры вспышки рассматривают как приблизительный. Полученное значение температуры вспышки можно использовать в качестве предполагаемой температуры вспышки при испытании нового образца в стандартном режиме.
19.3 Устанавливают скорость нагрева (2,5 +/- 0,3) °C/мин.
19.4 Устанавливают частоту поджига, соответствующую изменению температуры на 5 °C.
19.5 Устанавливают объем подачи воздуха на значение, указанное в
таблице 1.
19.6 Устанавливают пороговое давление 20 кПа для определения вспышки.
19.7 Начинают процедуру испытания с регулирования начальной температуры крышки. Вводят образец в тигель только после достижения начальной температуры, указываемой прибором.
19.8 Убеждаются, что образец в герметичном контейнере и тигель находятся при температуре не менее чем на 18 °C ниже предполагаемой температуры вспышки. При необходимости охлаждают.
19.8.1 Перед открытием контейнера с образцом его энергично встряхивают. Отбирают пипеткой или шприцем (2,0 +/- 0,2) см
3 образца и сразу же закрывают контейнер.
19.8.1.1 Переносят (2,0 +/- 0,2) см3 испытуемого образца в тигель.
19.9 Помещают магнит в тигель для обеспечения перемешивания образца.
19.10 Устанавливают тигель на опорную подставку и включают питание аппарата.
19.11 Если вспышку детектируют во время выравнивания температуры между тиглем и крышкой (см.
18.1.7), то прекращают испытания и результат не учитывают.
19.11.1 Проводят повторное испытание с использованием нового образца при более низкой начальной температуре не менее чем на 18 °C ниже температуры, при которой была детектирована вспышка.
19.12 После достижения температурного равновесия между терморегулируемой крышкой и образцом с точностью до 1 °C определяют фактическую температуру вспышки.
19.12.1 Устанавливают частоту поджига, соответствующую изменению температуры на 1 °C.
19.12.2 Нагревают крышку с заданной скоростью нагрева.
19.13 Прекращают испытания после детектирования вспышки или достижения конечной температуры при отсутствии вспышки.
19.13.1 Если вспышку детектируют при температуре, которая на 26 °C превышает начальную температуру, или если вспышку детектируют при температуре, которая менее чем на 10 °C выше начальной температуры, то результат рассматривают как приблизительный и проводят повторное испытание с использованием нового образца.
19.13.2 Устанавливают предполагаемую температуру вспышки для следующего испытания на температуру, равную приблизительному результату.
19.13.3 Устанавливают начальную температуру для нового образца на 18 °C ниже предполагаемой температуры вспышки.
19.14 Записывают показание температуры образца в момент детектирования вспышки как нескорректированное значение температуры вспышки.
19.14.1 Если температура вспышки не была детектирована в заданном температурном диапазоне, то записывают, что температура вспышки выше конечной температуры.
19.15 После испытания охлаждают тигель до температуры ниже 50 °C для его безопасного извлечения.
20.1 Корректировка барометрического давления
Определяют и записывают барометрическое давление окружающей среды во время проведения испытания. Если давление отличается от 101,3 кПа, то корректируют температуру вспышки по формуле
Скорректированная температура вспышки =
= C + 0,25 (101,3 - p), (2)
где C - детектированная температура вспышки, °C;
p - барометрическое давление окружающей среды, кПа.
Округляют скорректированное значение с точностью до 0,5 °C (Предупреждение - Используемое в данном расчете барометрическое давление должно быть абсолютным давлением окружающей среды в лаборатории во время испытания. Многие барометры анероидного типа, например, барометры, используемые на метеостанциях и в аэропортах, предварительно корректируют для получения показаний давления относительно уровня моря. Такие барометры не используют).
Записывают скорректированную температуру вспышки как температуру вспышки образца, определенную по методу B в анализаторе с модифицированным постоянно закрытым тиглем.
22.1 Показатели прецизионности получены в результате выполнения программы межлабораторных сравнительных испытаний в 2001 г. В программе принимали участие восемь лабораторий, которые использовали два образца чистых химических реактивов, 11 образцов топлив (чистых и загрязненных) и четыре образца смазочных масел (чистых и загрязненных). Показатели прецизионности для повторяемости и воспроизводимости установлены для диапазона значений температуры вспышки от 35 до 225 °C.
Примечание - Применимость настоящего метода испытаний для дизельных/биодизельных смесей определена по результатам выполнения программы межлабораторных сравнительных испытаний в 2013 г. Программа предусматривала участие 11 лабораторий, которые использовали шесть дизельных/биодизельных смесей (B0 - B30) в качестве более широкого набора образцов в диапазоне температур от 63 °C до 74 °C. Результаты показывают, что прецизионность для этих образцов соответствует пределам опубликованной прецизионности настоящего метода.
Прецизионность процедуры для метода MCCCFP, определенная статистической проверкой результатов межлабораторной программы испытаний, следующая.
Расхождение между последовательными результатами испытаний, полученными одним и тем же оператором на одной и той же аппаратуре при постоянных рабочих условиях на идентичном испытуемом материале в течение длительного времени при нормальном и правильном выполнении настоящего метода испытаний, может превышать следующие значения только в одном случае из двадцати:
r = 4,1 °C.
22.2.2 Воспроизводимость R
Расхождение между двумя единичными и независимыми результатами испытаний, полученными разными операторами в разных лабораториях на идентичном испытуемом материале в течение длительного времени при нормальном и правильном выполнении настоящего метода испытаний, может превышать следующие значения только в одном случае из двадцати:
R = 5,5 °C.
Смещение не установлено, поскольку отсутствует стандартный образец, подходящий для определения смещения в соответствии с процедурой настоящего метода испытаний.
Примечание - Между настоящим методом испытаний и методом испытаний (см.
[4]) не наблюдалось статистически значимого отклонения в температурном диапазоне от 35 °C до 150 °C на основе набора образцов, используемого в межлабораторной программе испытаний в 2001 г., и с использованием
[5]. Повторяемость и воспроизводимость для метода испытаний с учетом
[4] для этого набора образцов составляли
r = 4,1 °C и
R = 6,9 °C соответственно.
(обязательное)
ТЕХНИЧЕСКИЕ ХАРАКТЕРИСТИКИ АНАЛИЗАТОРА CCCFP
A.1 На
рисунке A.1 показана испытательная камера CCCFP в сборе.
1 - магнитная мешалка; 2 - элемент Пельтье; 3 - радиатор;
4 - датчик температуры крышки; 5 - датчик температуры
образца; 6 - датчик давления
Рисунок A.1 - Испытательная камера CCCFP в сборе
A.2 На
рисунке A.2 показаны компоненты блока крышка/тигель испытательной камеры.
1 - латунная крышка с встроенным датчиком температуры
и электрическим нагревом; 2 - тигель из никелированного
алюминия; 3 - образец объемом 1 см3; 4 - датчик температуры
образца (термопара NiCr - Ni); 5 - дуговые электроды
из нержавеющей стали с заданным зазором
Обозначение | мм |
A | 2,5 +/- 0,2 |
B | 14,0 +/- 0,3 |
C | 5,5 +/- 0,2 |
D | 15 +/- 0,5 |
E | 11,5 |
F | 20 |
G | 21 |
H | 30 |
I | 50 |
| 45° |
Примечание - Шероховатость поверхностей контакта между крышкой и тиглем составляет 30 микрон.
Рисунок A.2 - Компоненты блока крышка/тигель
испытательной камеры
(обязательное)
ТЕХНИЧЕСКИЕ ХАРАКТЕРИСТИКИ АНАЛИЗАТОРА MCCCFP
B.1 На
рисунке B.1 показана испытательная камера MCCCFP в сборе.
1 - магнитная мешалка; 2 - элемент Пельтье; 3 - радиатор;
4 - датчик температуры крышки; 5 - датчик температуры
образца; 6 - датчик давления
Рисунок B.1 - Испытательная камера MCCCFP в сборе
B.2 На
рисунке B.2 показаны компоненты блока крышка/тигель испытательной камеры.
1 - латунная крышка с встроенным датчиком температуры
и электрическим нагревом; 2 - тигель из никелированного
алюминия; 3 - образец объемом 2 см3; 4 - датчик температуры
образца (термопара NiCr - Ni); 5 - дуговые электроды
из нержавеющей стали с заданным зазором
Обозначение | мм |
A | 2,5 +/- 0,2 |
B | 14,0 +/- 0,3 |
C | 5,5 +/- 0,2 |
D | 15,0 +/- 0,3 |
E | 10,5 |
F | 30 |
G | 50 |
| 74° |
Примечание - Шероховатость поверхностей контакта между крышкой и тиглем составляет 30 микрон.
Рисунок B.2 - Компоненты блока крышка/тигель
испытательной камеры
(справочное)
ЖИДКОСТИ ДЛЯ ПРОВЕРКИ РАБОЧИХ ХАРАКТЕРИСТИК
АНАЛИЗАТОРОВ CCCFP И MCCCFP
C.1 CRM - стабильный углеводород или другой стабильный нефтепродукт с определенной температурой вспышки, установленной для данного метода на основе выполнения специального межлабораторного исследования в соответствии с
ГОСТ ISO Guide 34 и
ГОСТ ISO Guide 35.
C.2 Типичные значения температуры вспышки с поправкой на барометрическое давление для некоторых стандартных образцов и их типичные пределы приведены в
таблицах C.1 и
C.2 (примечание 1). Поставщики CRM
(примечание 2) должны предоставлять сертификаты и/или паспорта, подтверждающие определенную температуру вспышки для данного метода. Пределы для этих CRM можно определить по значению воспроизводимости настоящего метода испытаний, умноженному на 0,7. Это значение можно использовать с уровнем доверительной вероятности 95% для не менее 90% образцов.
Таблица C.1
Типичные значения температуры вспышки и типичные пределы
для CRM, определенные в CCCFP
Материал | Чистота (мольный %) | Температура вспышки, °C | Допустимые пределы (0,7 R), °C |
Анизол | 99,7+ | 43,9 | 2,2 |
Додекан | 99,5+ | 79 | 2,2 |
Таблица C.2
Типичные значения температуры вспышки и типичные пределы
для CRM, определенные в MCCCFP
Материал | Чистота (мольный %) | Температура вспышки, °C | Допустимые пределы (0,7 R), °C |
Анизол | 99,7+ | 43,3 | +/- 3,9 |
Додекан | 99,5+ | 78,6 | +/- 3,9 |
Примечания
1 Значения чистоты, значения температуры вспышки и пределы, установленные для анизола и н-додекана (
Предупреждение - Для предотвращения загрязнения следует обращаться с анизолом и н-додеканом с предельной осторожностью. Перед использованием следует ознакомиться с паспортом безопасности вещества, предоставляемым изготовителем) были получены на основе результатов межлабораторной программы испытаний ASTM по возможности использования жидкостей для проверки рабочих характеристик аппаратов для методов испытаний по определению температуры вспышки. Другие вещества с другими значениями чистоты, температуры вспышки и пределами определения можно использовать, если они были получены в соответствии с
ГОСТ ISO Guide 34 и
ГОСТ ISO Guide 35. Перед использованием необходимо ознакомиться с паспортами безопасности веществ.
2 Данные, приведенные в
таблице C.2, относятся к партии анизола (чистота, мольный % 99,7+) и додекана (чистота, мольный % 99,5+), которые использовали при исследовании показателей прецизионности. При отсутствии CRM можно использовать анизол и
н-додекан эквивалентной чистоты. При наличии CRM можно использовать другие вещества с другими значениями чистоты, температуры вспышки и пределами определения, если они были получены в соответствии с
ГОСТ ISO Guide 34 и
ГОСТ ISO Guide 35. Перед использованием необходимо ознакомиться с паспортами безопасности таких веществ, поскольку значение температуры вспышки может изменяться в зависимости от состава каждой партии CRM.
C.3 SWS - стабильный углеводород или другой нефтепродукт с известным составом.
C.4 Устанавливают среднее значение температуры вспышки и пределы статистического контроля

для SWS с использованием стандартных статистических методов.
(справочное)
СОПОСТАВЛЕНИЕ СТРУКТУРЫ НАСТОЯЩЕГО СТАНДАРТА СО СТРУКТУРОЙ
ПРИМЕНЕННЫХ В НЕМ СТАНДАРТОВ
Таблица ДА.1
Структура настоящего стандарта | Структура международного стандарта ASTM D6450-16a | Структура международного стандарта ASTM D7094-17a |
Разделы | Пункты | Подпункты | Разделы | Пункты | Подпункты | Разделы | Пункты | Подпункты |
| | ИС МЕГАНОРМ: примечание. В официальном тексте документа, видимо, допущена опечатка: п. 1.7 отсутствует. | |
|
| | - | 1 | 1.2 | - | 1 | 1.1 | - |
| - | 1.1 | - | 1.2 | - |
| - | 1.3 | - | 1.3 | - |
| - | 1.5 | _ | 1.5 | - |
| - | 1.6 | - | 1.6 | - |
| - | 1.7 | - | 1.7 | - |
1.7 | - | - | - | 1.8 | - |
| - | - | - | - | - | - | - | - |
| | - | 4 | 4.1 | - | 4 | 4.1 | - |
| - | 4.2 | - | 4.2 | - |
| - | 4.3 | - | 4.3 | - |
| | - | 5 | 5.1 | - | 5 | 5.1 | - |
| - | 5.2 | - | 5.2 | _ |
| - | 5.3 | - | 5.3 | - |
| - | 5.4 | - | 5.4 | - |
| - | - | 1 | 1.4 | - | - | - | - |
| | | 6 | 6.1 | 6.1.1 | - | - | - |
| 6.1.2 | - |
| 6.1.3 | - |
| 6.1.4 | - |
| 6.1.5 | - |
| 6.1.6 | - |
| 6.1.7 | - |
| 6.1.8 | - |
| 6.1.9 | - |
| | - | 11 | 11.1 | - | - | - | - |
| | 11.2 | 11.2.1 | - | - |
| - | 11.3 | - | - | - |
| - | 11.4 | - | - | - |
| - | 11.5 | - | - | - |
| - | 11.6 | - | - | - |
| - | 11.7 | - | - | - |
| - | 11.8 | - | - | - |
| - | 11.9 | - | - | - |
| - | 11.10 | - | - | - |
| - | 11.11 | - | - | - |
| - | 11.12 | - | - | - |
| - | 11.13 | - | - | - |
| - | 11.14 | - | - | - |
| | - | 12 | 12.1 | - | - | - | - |
| | - | 13 | 13.1 | - | - | - | - |
| | - | 14 | 14.1 | - | - | - | - |
| | 14.2 | 14.2.1 | - | - |
| 14.2.2 | - |
| 14.2.3 | - |
| | - | - | - | - | 1 | 1.4 | - |
| | | - | - | | 6 | 6.1 | 6.1.1 |
| | 6.1.2 |
| - | 6.1.3 |
| - | 6.1.4 |
| - | 6.1.5 |
| - | 6.1.6 |
| - | 6.1.7 |
| - | 6.1.8 |
| - | 6.1.9 |
| | | - | - | - | 11 | 11.1 | 11.1.1 |
| | - | - | 11.2 | 11.2.1 |
| - | - | - | 11.3 | - |
| - | - | - | 11.4 | - |
| - | - | - | 11.5 | - |
| - | - | - | 11.6 | - |
| - | - | - | 11.7 | - |
| | - | - | 11.8 | - |
| | | | | |
| - | - | - | 11.9 | - |
| - | - | - | 11.10 | - |
| | - | - | 11.11 | 11.11.1 |
| | - | - | 11.12 | 11.12.1 |
| - | 11.12.2 |
| | - | - | 11.13 | 11.13.1 |
| | | | |
| | | | |
| | - | - | 11.14 | 11.14.1 |
| - | - | - | 11.15 | - |
| | - | - | - | - | 12 | 12.1 | - |
| | - | - | - | - | 13 | 13.1 | - |
| | - | - | - | - | 14 | 14.1 | - |
| | - | - | 14.2 | 14.2.1 |
| - | 14.2.2 |
| - | - | - | 14.3 | - |
- | - | - | 15 | 15.1 | - | 15 | 15.1 | - |
Приложения | | Приложения | A1 | Приложения | - |
| - | A1 |
| X1 | X1 |
ДА | - | - |
|
| АСТМ Д4057 | Практика ручного отбора проб нефти и нефтепродуктов |
(ASTM D4057) | (Practice for manual sampling of petroleum and petroleum products) |
| АСТМ Д4177 | Практика автоматического отбора проб нефти и нефтепродуктов |
(ASTM D4177) | Practice for automatic sampling of petroleum and petroleum products |
| АСТМ Е300 | Практика отбора химических веществ |
(ASTM E300) | (Practice for sampling industrial chemicals) |
| АСТМ Д93 | Стандартный метод определения температуры вспышки в закрытом тигле Пенски-Мартенса |
(ASTM D93) | (Standard test methods for flash point by Pensky-Martens closed cup tester) |
| АСТМ Д6708 | Практика статистической оценки и совершенствование ожидаемого согласования между двумя методами испытаний, предусматривающими определение одних и тех же свойств материала |
(ASTM D6708) | (Practice for statistical assessment and improvement of expected agreement between two test methods that purport to measure the same property of a material) |
УДК 665.71:665.7.035.3:543.637.5:006.354 | |
Ключевые слова: нефтепродукты, методы определения температуры вспышки в анализаторе с постоянно закрытым тиглем |