Главная // Актуальные документы // ГОСТ Р (Государственный стандарт)СПРАВКА
Источник публикации
М.: Стандартинформ, 2021
Примечание к документу
Документ
введен в действие с 01.01.2022.
Название документа
"ГОСТ Р 59368.5-2021. Национальный стандарт Российской Федерации. Вибрация и удар. Экспериментальное определение механической подвижности. Часть 5. Измерения с использованием ударного воздействия на конструкцию неприкрепляемым возбудителем"
(утв. и введен в действие Приказом Росстандарта от 25.05.2021 N 458-ст)
"ГОСТ Р 59368.5-2021. Национальный стандарт Российской Федерации. Вибрация и удар. Экспериментальное определение механической подвижности. Часть 5. Измерения с использованием ударного воздействия на конструкцию неприкрепляемым возбудителем"
(утв. и введен в действие Приказом Росстандарта от 25.05.2021 N 458-ст)
Утвержден и введен в действие
агентства по техническому
регулированию и метрологии
от 25 мая 2021 г. N 458-ст
НАЦИОНАЛЬНЫЙ СТАНДАРТ РОССИЙСКОЙ ФЕДЕРАЦИИ
ВИБРАЦИЯ И УДАР
ЭКСПЕРИМЕНТАЛЬНОЕ ОПРЕДЕЛЕНИЕ МЕХАНИЧЕСКОЙ ПОДВИЖНОСТИ
ЧАСТЬ 5
ИЗМЕРЕНИЯ С ИСПОЛЬЗОВАНИЕМ УДАРНОГО ВОЗДЕЙСТВИЯ
НА КОНСТРУКЦИЮ НЕПРИКРЕПЛЯЕМЫМ ВОЗБУДИТЕЛЕМ
Mechanical vibration and shock. Experimental determination
of mechanical mobility. Part 5. Measurements using impact
excitation with an exciter which is not attached
to the structure
(ISO 7626-5:2019, NEQ)
ГОСТ Р 59368.5-2021
Дата введения
1 января 2022 года
1 РАЗРАБОТАН Федеральным государственным унитарным предприятием "Крыловский государственный научный центр" (ФГУП "Крыловский государственный научный центр"), Закрытым акционерным обществом "Научно-исследовательский центр контроля и диагностики технических систем" (ЗАО "НИЦ КД")
2 ВНЕСЕН Техническим комитетом по стандартизации ТК 183 "Вибрация, удар и контроль технического состояния"
3 УТВЕРЖДЕН И ВВЕДЕН В ДЕЙСТВИЕ
Приказом Федерального агентства по техническому регулированию и метрологии от 25 мая 2021 г. N 458-ст
4 В настоящем стандарте учтены основные нормативные положения международного стандарта ИСО 7626-5:2019 "Вибрация и удар. Экспериментальное определение механической подвижности. Часть 5. Измерения с использованием ударного воздействия на конструкцию неприкрепляемым возбудителем" (ISO 7626-5:2019 "Mechanical vibration and shock - Experimental determination of mechanical mobility - Part 5: Measurements using impact excitation with an exciter which is not attached to the structure", NEQ)
5 ВВЕДЕН ВПЕРВЫЕ
Правила применения настоящего стандарта установлены в статье 26 Федерального закона от 29 июня 2015 г. N 162-ФЗ "О стандартизации в Российской Федерации". Информация об изменениях к настоящему стандарту публикуется в ежегодном (по состоянию на 1 января текущего года) информационном указателе "Национальные стандарты", а официальный текст изменений и поправок - в ежемесячном информационном указателе "Национальные стандарты". В случае пересмотра (замены) или отмены настоящего стандарта соответствующее уведомление будет опубликовано в ближайшем выпуске ежемесячного информационного указателя "Национальные стандарты". Соответствующая информация, уведомление и тексты размещаются также в информационной системе общего пользования - на официальном сайте Федерального агентства по техническому регулированию и метрологии в сети Интернет (www.gost.ru)
Метод измерений динамической подвижности с использованием ударного возбуждения конструкции получил широкое распространение вследствие относительной легкости реализации и своей малой стоимости. Однако точность результатов, получаемых данным методом, сильно зависит от испытуемого объекта и применяемого испытательного оборудования, а также от квалификации исполнителя.
Зачастую ударное возбуждение не позволяет получить данные той же точности, что при использовании стационарного возбуждения прикрепляемым к конструкции возбудителем (см.
[2]). Применение метода ударного возбуждения требует высокой квалификации от исполнителя.
В настоящем стандарте рассматриваются различные аспекты, связанные с применением метода ударного возбуждения, включая выбор испытательного оборудования, а также исследование свойств испытуемой конструкции, особенно нелинейности ее отклика, которая может сильно ограничить применение метода.
Пользуясь тем, что в данном методе возбудитель не требует крепления к конструкции, можно получить значения динамической подвижности в разных точках конструкции, просто изменяя место нанесения удара и оставляя точку измерения отклика неизменной. При этом полученные данные будут эквивалентны данным, получаемым при перемене местами точек возбуждения и отклика. Данное свойство линейных конструкций называется принципом взаимности и особенно применимо в тех случаях, когда доступ к ряду точек конструкции для их возбуждения ограничен.
Настоящий стандарт устанавливает метод измерений механической подвижности и других динамических частотных характеристик (входных и переходных) разных конструкций посредством ударного возбуждения импульсной силой, прилагаемой возбудителем, не прикрепленным к испытуемой конструкции.
Применяемые в настоящем стандарте способы обработки сигналов основаны на дискретном преобразовании Фурье (ДПФ), реализованном в виде быстрого преобразования Фурье (БПФ). Это объясняется исключительно тем, что оборудование, реализующее такое преобразование, получило широкое распространение и часто используется на практике. Аналогичные результаты могут быть получены и другими методами обработки сигналов, не рассматриваемыми в настоящем стандарте.
Ударное возбуждение часто используют для получения качественных или ограниченных сведений о конструкции, например ее собственных частот или форм изгибных колебаний, которые затем используют при планировании испытаний с использованием других форм возбуждения (например, в виде гармонического сигнала или стационарного случайного процесса). Однако метод, установленный настоящим стандартом, исходит из того, что целью испытаний является получение точных значений определяемой частотной характеристики в диапазоне частот измерений.
В настоящем стандарте использованы нормативные ссылки на следующие стандарты:
ГОСТ Р ИСО 2041 Вибрация, удар и контроль технического состояния. Термины и определения
ГОСТ Р ИСО 7626-2-2016 Вибрация и удар. Экспериментальное определение механической подвижности. Часть 2. Измерения, использующие одноточечное поступательное возбуждение присоединенным вибровозбудителем
ГОСТ Р 59368.1-2021 Вибрация и удар. Экспериментальное определение механической подвижности. Часть 1. Общее руководство и требования к преобразователям
Примечание - При пользовании настоящим стандартом целесообразно проверить действие ссылочных стандартов в информационной системе общего пользования - на официальном сайте Федерального агентства по техническому регулированию и метрологии в сети Интернет или по ежегодному информационному указателю "Национальные стандарты", который опубликован по состоянию на 1 января текущего года, и по выпускам ежемесячного информационного указателя "Национальные стандарты" за текущий год. Если заменен ссылочный стандарт, на который дана недатированная ссылка, то рекомендуется использовать действующую версию этого стандарта с учетом всех внесенных в данную версию изменений. Если заменен ссылочный стандарт, на который дана датированная ссылка, то рекомендуется использовать версию этого стандарта с указанным выше годом утверждения (принятия). Если после утверждения настоящего стандарта в ссылочный стандарт, на который дана датированная ссылка, внесено изменение, затрагивающее положение, на которое дана ссылка, то это положение рекомендуется применять без учета данного изменения. Если ссылочный стандарт отменен без замены, то положение, в котором дана ссылка на него, рекомендуется применять в части, не затрагивающей эту ссылку.
В настоящем стандарте применены термины по
ГОСТ Р ИСО 2041, а также следующие термины с соответствующими определениями:
3.1 (динамическая) частотная характеристика (frequency-response function): Частотно-зависимое отношение Фурье-преобразования отклика линейной динамической системы к Фурье-преобразованию возбуждающей силы.
Примечания
1 Частотная характеристика линейной системы не зависит от вида возбуждения (гармоническое, случайное или импульсное). Таким образом, частотная характеристика, полученная с применением одного вида возбуждения, может быть использована для прогнозирования отклика конструкции на возбуждение другого вида.
2 Линейность - свойство системы, которое на практике всегда выполняется с некоторой степенью приближения в зависимости от вида системы и уровня входного возбуждения. С этой точки зрения импульсное возбуждение требует особого внимания, поскольку характерные для него высокие пиковые значения могут выходить за границы диапазона линейности. Если заранее известно, что поведение конструкции принципиально нелинейно (что характерно, например, для клепаных конструкций), то для определения их динамических свойств ударное возбуждение не применяют.
3 Отклик конструкции может быть выражен в единицах перемещения, скорости или ускорения. Тогда определяемыми частотными характеристиками будут соответственно динамическая податливость, механическая подвижность или ускоряемость, а обратными к данным частотным характеристикам - динамическая жесткость, импеданс или эффективная масса.
4 На практике вместо непрерывного Фурье-преобразования используют ДПФ, реализуемое в виде алгоритма БПФ на временной выборке. Вычислительные ошибки такого приближения могут быть сведены до значений, несущественных по сравнению с другими погрешностями измерения, поэтому использование процедуры ДПФ не приводит к ограничениям на точность измерения.
5 Частотную характеристику конструкции называют также передаточной функцией.
3.2 диапазон частот измерений (frequency range of interest): Диапазон частот от самой низкой до самой высокой частоты, в пределах которого должны быть получены значения подвижности в данной серии измерений.
3.3 спектральная плотность мощности (сигнала) (power spectral density): Произведение квадрата модуля Фурье-преобразования сигнала на величину 1/T, где T - длина временного сигнала.
3.4 спектральная плотность энергии (сигнала) (energy spectral density): Произведение спектральной плотности мощности на длину временного сигнала.
Примечание - Настоящее определение предполагает, что импульсный процесс, описываемый спектральной плотностью энергии, полностью содержится в записи сигнала.
4 Особенности метода ударного возбуждения
4.1 Общее описание метода
Измерительная система для испытаний с использованием ударного возбуждения (см.
рисунок 1) включает в себя ударник (например, в виде силоизмерительного молотка со встроенным преобразователем силы), один или несколько преобразователей вибрации с согласующими усилителями, а также систему ДПФ-анализа (анализатор), обеспечивающую обработку поступающих с преобразователей сигналов как минимум по двум каналам одновременно. После каждого нанесения удара сигналы с преобразователей поступают на антиалиасинговые фильтры, после чего оцифровываются.

- основные элементы и связи;

- дополнительные элементы и связи;
1 - испытуемая конструкция; 2 - преобразователь вибрации;
3 - устройства согласования; 4 - запоминающий осциллограф;
5 - показывающее устройство (дисплей); 6 - выходное
устройство (принтер, графопостроитель); 7 - усилитель
с антиалиасинговым фильтром; 8 - аналого-цифровой
преобразователь (АЦП); 9 - бок обработки сигнала
(ДПФ/БПФ) и вычисления частотной характеристики;
10 - анализатор сигнала
Рисунок 1 - Блок-схема измерительной системы
Метод ударного возбуждения, рассматриваемый в настоящем стандарте, включает в себя два способа приложения силового воздействия:
а) возбуждение одиночным ударом, при котором оцифрованная выборка сигнала, поступившего по каналу измерения силы или ускорения, содержит информацию об одном ударе;
б) возбуждение последовательностью часто наносимых ударов (множественными ударами), при котором оцифрованная выборка содержит информацию о нескольких несинхронизованных ударах, т.е. нанесенных в случайные моменты времени.
Каждой выборке сигнала силы соответствует синхронная выборка сигнала отклика с преобразователя вибрации, вместе составляющие пару выборок. Каждому из указанных способов возбуждения соответствует свой способ обработки выборок.
Оба способа предполагают возможность усреднения в частотной области по нескольким парам выборок, полученных для одних и тех же точек измерения и возбуждения, в целях улучшения качества оценки частотной характеристики. Однако при возбуждении одиночными ударами следует убедиться в том, что перед нанесением последующего удара отклик конструкции затух, т.е. в новой выборке отсутствует след предыдущего удара.
4.2 Преимущества и недостатки метода
4.2.1 Общие положения
По сравнению с непрерывным возбуждением присоединенным возбудителем использование неприкрепляемого возбудителя имеет следующие преимущества:
а) оперативность измерения;
б) отсутствие необходимости установки (крепления) возбудителя;
в) простота переноса возбуждения от точки к точке на конструкции;
г) минимальное влияние возбудителя на динамическое поведение испытуемой конструкции, которое при закрепляемом возбудителе может быть значительным (см.
ГОСТ Р ИСО 7626-2).
С другой стороны, следует принимать во внимание особенности метода ударного возбуждения неприкрепляемым возбудителем, такие как:
а) возможное влияние нелинейности конструкции;
б) пониженное отношение сигнал/шум;
в) возможное ограничение разрешающей способности по частоте;
г) необходимость учета величины демпфирования конструкции;
д) зависимость качества получаемых результатов от квалификации лица, проводящего эксперимент (далее - испытателя).
Указанные особенности метода рассматриваются в
4.2.2 -
4.2.5.
4.2.2 Нелинейность конструкции
Измерения механической подвижности конструкций, обладающих значительной нелинейностью, следует проводить с особой осторожностью. Целесообразно в таких случаях использовать вместо метода ударного возбуждения синусоидальное или случайное возбуждение присоединенным возбудителем.
При ударном возбуждении энергия, требуемая для создания отклика достаточного уровня, подводится к конструкции в течение ограниченного времени. Поэтому по сравнению с синусоидальным или случайным возбуждением максимальная сила, развиваемая при ударе, должна быть значительно выше, что может привести к нелинейности отклика.
При измерениях подвижности систем со значительной нелинейностью важно поддерживать стабильность вынуждающей силы. С этой точки зрения также предпочтительнее синусоидальное возбуждение. Так, при нанесении ударов обычным ручным молотком амплитуда силы может существенно варьироваться, что в условиях нелинейности системы не позволяет обеспечить хорошую повторяемость измерений. Малый диапазон изменения силы между уровнем недовозбуждения и уровнем перегрузки может усложнить получение однозначных и стабильных оценок характеристик конструкции.
4.2.3 Отношение сигнал/шум
Поскольку при одиночном ударном возбуждении среднеквадратичное значение анализируемого сигнала на интервале измерения мало по сравнению с его пиковым значением (для способа возбуждения одиночным ударом пик-фактор, определяемый на периоде записи, достигает значений 30 и более), это налагает ограничения на допустимый уровень внешнего шума и предполагает использование измерительной системы с максимально возможным динамическим диапазоном. Как правило, такие требования исключают использование аналоговой записи сигнала.
Существенные проблемы, связанные с шумом, могут появиться вследствие того, что длительность импульса силы мала в сравнении с общей длиной записи. При этом собственный электрический шум измерительного тракта и фоновый шум механической природы в конструкции могут быть сравнимы по величине (среднеквадратичному значению) с вынуждающим воздействием и сигналом от датчика силы. Для уменьшения влияния шума в способе возбуждения одиночным ударом может быть использован метод временных окон, описанный в
7.5. В способе возбуждения множественными ударами значение пик-фактора обычно существенно меньше, поэтому он не требует применения специальных мер для улучшения отношения сигнал/шум.
4.2.4 Разрешающая способность по частоте
При дискретном преобразовании Фурье разрешение по частоте обратно пропорционально длительности временного сигнала (длине выборки), в том числе и при анализе в ограниченной полосе частот с целью увеличения разрешения по частоте.
При возбуждении одиночным ударом без применения специальных способов обработки сигнала длительность "полезного" сигнала отклика ограничена временем его спада до уровня фонового шума. Вследствие этого достижимое разрешение по частоте зависит как от отклика конструкции, так и от уровня фонового шума. В некоторых случаях может оказаться затруднительным (и нецелесообразным) достижение такого же разрешения, как для метода возбуждения присоединенным возбудителем, однако в большинстве практических приложений могут быть получены точные значения подвижности на дискретных частотах с относительно высоким разрешением.
Вопрос высокого разрешения по частоте может стоять особенно остро при исследовании конструкции, в частотной характеристике которой присутствуют близко расположенные острые пики резонансов. В этом случае может быть предпочтительным использование непрерывного возбуждения и метода увеличения масштаба частоты при анализе или применение способа возбуждения множественными ударами.
Улучшить разрешение по частоте можно применением экспоненциального окна (см.
7.5.1.2).
Разрешение по времени должно быть достаточным, чтобы подробно описать импульс возбуждения. Однако следует иметь в виду, что при фиксированном числе линий в спектре сигнала (размере выборки N) увеличение разрешения по времени связано с уменьшением разрешения по частоте.
4.2.5 Учет демпфирования конструкции
Ограничения метода для способа возбуждения одиночным ударом при испытании сильно демпфированных конструкций связаны с малой длительностью сигнала отклика, что приводит к низкому разрешению по частоте (см.
4.2.4). Это ограничение можно рассматривать и как следствие того, что данной силе удара соответствует отклик с более низкой энергией. Для сильно демпфированных конструкций может потребоваться непрерывное возбуждение с большой энергией, чтобы компенсировать значительное рассеяние энергии и обеспечить достаточный отклик.
В случае конструкции с малым демпфированием возникает другая проблема. Частотная характеристика такой конструкции имеет острые резонансные пики, что требует применения режима работы анализатора с увеличенным разрешением по частоте, как указано в
4.2.4. При возбуждении одиночным ударом для таких конструкций полезным может оказаться применение окон с экспоненциальным затуханием, когда в данные вносится заранее известное "искусственное" затухание (см.
7.5.1.2). При этом для определения подвижности следует воспользоваться методом коррекции результатов, описанным в
приложении А.
4.2.6 Зависимость от квалификации испытателя
Точность данных, полученных при измерении подвижности с использованием ударов ручным силоизмерительным молотком, зависит от умения испытателя наносить стабильные удары в точно определенное место в заданном направлении. Как правило, при тщательном проведении эксперимента влияние этого фактора невелико, но оно может быть существенным в случае конструкции малых размеров, требующей высокого пространственного разрешения.
С точки зрения правильности наносимых ударов способ возбуждения множественных ударов может оказаться предпочтительным, поскольку в нем происходит усреднение по большому числу ударных возбуждений. Кроме того, при часто следуемых ударах может быть проще выдерживать заданное направление удара, чем при повторных возбуждениях одиночным ударом.
Кроме того, в способе возбуждения одиночным ударом испытатель не должен допускать неконтролируемых повторных ударов после отскока ударника (см.
6.2). Повторных ударов можно избежать, если вместо ручного молотка использовать маятник на подвесе. Способ возбуждения множественными ударами к наличию неконтролируемых ударов нечувствителен.
5.1 Опора испытуемой конструкции
5.1.1 Общие положения
Измерения механической подвижности могут быть проведены как для конструкций в безопорном (свободно подвешенном) состоянии, так и для конструкций в опертом положении (с использованием одной или нескольких опор) в зависимости от целей испытаний.
5.1.2 Безопорная конструкция
Измерения в безопорном положении предполагают использование податливого подвеса для испытуемой конструкции. Значения всех составляющих матрицы входных подвижностей подвеса в точках крепления к конструкции должны не менее чем в десять раз превышать значения соответствующих составляющих матрицы подвижности конструкции в тех же точках.
5.1.3 Конструкция в опертом положении
Данный тип измерений, если иное не определено, предполагает использование для конструкции опоры, аналогичной той, что используется при обычном эксплуатационном применении этой конструкции. В отчет об испытаниях следует включать описание и характеристики опоры и крепления.
Следует иметь в виду, что способ опирания конструкции может сильно повлиять на получаемые значения частотных и модальных характеристик. Защемление конструкции обычно делает ее более жесткой, что приводит к повышению значений собственных частот.
5.2 Ударник
Метод ударного возбуждения допускает возможность применения ударников разных конструкций, выбираемых в зависимости от объекта испытаний. Распространенным видом ударника, применяемого в испытаниях, когда требуемое возбуждение обеспечивается за счет достаточно небольшой энергии удара, является ручной силоизмерительный молоток. Однако при его использовании следует помнить, что точность измерений будет зависеть от искусства испытателя наносить правильные удары в заданное место конструкции в заданном направлении. Если испытуемая конструкция мала, то для обеспечения повторяемости в нанесении ударов в нужной точке и в нужном направлении может потребоваться применение направляющего устройства. Для испытаний крупных конструкций, где требуется большая энергия возбуждения, может быть использован ударник в виде большой массы, либо подвешенной на тросах, либо свободно падающей вертикально вниз. Масса ударника может быть уменьшена, если для придания ей перед ударом высокой скорости используют дополнительные средства, например пружину, пневматический привод и т.д.
Чтобы обеспечить желаемые характеристики удара, такие как форма и длительность импульса силы и связанные с ними вид и ширина спектра силы, в передней части ударника, приходящей при ударе в соприкосновение с испытуемой конструкцией, закрепляют насадку определенных формы и жесткости, а необходимую ударную массу изменяют добавлением сменной массы. Уменьшение жесткости насадки и/или увеличение массы ударника ведут к сужению диапазона частот возбуждения. Если ударник предполагается использовать в испытаниях разных конструкций с разными требованиями к удару, то обычно его комплектуют набором сменных насадок с разными характеристиками и набором сменных масс.
Площадь поверхности ударной насадки должна быть достаточно большой, чтобы удары максимальной силы не приводили к деформациям насадки или испытуемой конструкции. В то же время насадка с малой площадью поверхности необходима, когда требуется очень высокое пространственное разрешение. Направление скорости ударника должно совпадать с осью чувствительности датчика силы и быть перпендикулярным к поверхности испытуемой конструкции с максимальным отклонением в пределах 10°. Выдержать направление удара, как правило, легче, если длина корпуса ударника велика по сравнению с его поперечными размерами.
Примечание 1 - Если позволяет испытуемая конструкция и условия испытаний, то диапазон частот возбуждения можно варьировать, наклеивая на конструкцию в месте нанесения удара прокладки разной степени упругости и используя для удара молоток со стандартной жесткой насадкой. Применение жесткой насадки сферической формы позволяет уменьшить погрешность из-за неточного соблюдения направления удара.
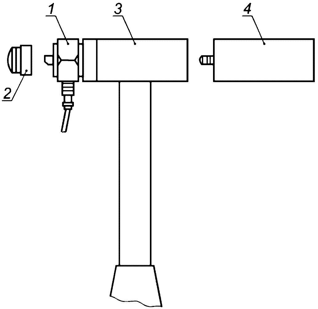
Типичная конструкция силоизмерительного молотка показана на
рисунке 2.
Примечание 2 - Конструкция молотка, изображенного на
рисунке 2, основана на прямом измерении силы преобразователем силы, на который непосредственно действует сила реакции со стороны испытуемого объекта. Принципиально возможна другая конструкция, основанная на косвенном методе измерения силы, который исходит из того факта, что под действием реакции испытуемой конструкции масса ударника приобретает ускорение, определяемое силой реакции. Соответственно в конструкции ударника преобразователь силы заменяется акселерометром, измеряющим ускорение массы ударника и устанавливаемым на ее тыльной части. В этом случае акселерометр вместе с массой (массами) ударника калибруют как преобразователь силы.
1 - преобразователь силы; 2 - сменная насадка;
3 - основная масса; 4 - сменная масса
Рисунок 2 - Типичный ударник с преобразователем силы
5.3.1 Общие положения
При выборе преобразователей и устройств согласования сигналов рекомендуется руководствоваться
ГОСТ Р 59368.1 и
ГОСТ Р ИСО 7626-2. Для измерения подвижности с использованием ударного возбуждения особенно важно, чтобы измерительная система имела низкий уровень шума и широкий линейный динамический диапазон.
5.3.2 Проверка калибровки
В начале и в конце каждой серии измерений, а также в случае изменения массы ударника или смены насадки выполняют проверку калибровки измерительной цепи, которая в основном соответствует методике, установленной в ГОСТ Р ИСО 7626-2-2016
(пункт 7.5.2).
Проверку калибровки выполняют путем измерения подвижности или ускоряемости свободно подвешенного жесткого калибровочного блока известной массы m (включая массы прикрепленных преобразователей), чьи частотные характеристики известны (например, значение ускоряемости для такого блока равно 1/m). Полученная в результате измерений частотная характеристика калибровочного блока должна соответствовать известному значению в пределах +/- 5% во всем диапазоне частот измерений. Если испытания проводят с измерением вибрации по нескольким каналам (например, с использованием трехкоординатного преобразователя вибрации или нескольких преобразователей), то калибровку проверяют для каждого канала. Измерительная система и ударник должны иметь ту же конфигурацию, что будет использована при измерении подвижности. Массу калибровочного блока выбирают таким образом, чтобы его подвижность находилась в диапазоне значений, которые можно ожидать для данной испытуемой конструкции.
Если в ходе проверки калибровки получаемое значение ускоряемости изменяется по диапазону частот измерений, то причину этих изменений необходимо выявить и устранить до начала испытаний.
6 Прилагаемое возбуждение
6.1 Спектр силы
Энергия реального импульса силы сосредоточена в конечном диапазоне частот, ширина которого обратно пропорциональна длительности импульса. При этом целесообразно выбирать этот диапазон таким образом, чтобы он не выходил за пределы частотного диапазона измерений.
Спектр одиночного импульса силы имеет форму главного лепестка и боковых лепестков, чья высота зависит от формы импульса силы и быстро убывает с ростом частоты. За верхнюю границу диапазона частот возбуждения принимают ту, где высота главного лепестка спадает в 10 раз. При возбуждении множественными импульсами спектр возбуждения близок к спектру одиночного удара. Диапазон частот возбуждения зависит от определяемой частотной характеристики, и для большинства испытуемых конструкций его верхняя граница не превышает 1000 Гц.
В ДПФ существует зависимость между разрешением по времени и разрешением по частоте. Для получения максимальной разрешающей способности по частоте необходимо, чтобы частотный диапазон анализатора не превышал максимальную частоту диапазона измерений. В свою очередь, для оптимального использования динамического диапазона измерительной системы целесообразно ограничить диапазон частот возбуждения максимальной частотой измерений. Изменять диапазон частот возбуждения можно соответствующим подбором жесткости насадки и массы ударника.
Реально достижимый диапазон частот возбуждения зависит также от эффективной жесткости и эффективной массы конструкции в точке удара. Малая жесткость конструкции приводит к ограничению возможности расширения диапазона частот за счет увеличения жесткости насадки. Более эффективным средством увеличения частотного диапазона в данном случае является уменьшение массы ударника.
Следует контролировать наличие составляющих спектров удара и отклика выше верхнего предела частотного диапазона измерения. Проверку проводят при возбуждении максимальной силой, используемой при испытаниях. Характеристики ударника должны быть подобраны таким образом, чтобы обеспечить возбуждение в требуемом диапазоне частот.
6.2 Предотвращение неконтролируемых повторных ударов
При выборе способа возбуждения одиночным ударом необходимо избегать появления в пределах одной записи, кроме основного удара, одного или нескольких неконтролируемых ударов после отскока ударника, которые приводят к уменьшению спектральных составляющих на определенных частотах и появлению резких впадин на графике спектра силы (см.
рисунок 3). На этих частотах ухудшается соотношение сигнал/шум, что может привести к значительным погрешностям в результатах измерений подвижности. Даже при аккуратном нанесении удара избежать повторных ударов удается не всегда, особенно если значение подвижности в точке удара велико, а ударник имеет относительно большую массу. Исключить риск повторных ударов можно за счет уменьшения массы ударника и соответствующего подбора жесткости насадки таким образом, чтобы выдержать заданный частотный диапазон возбуждения. Если повторный удар значительно слабее первого, в спектре силы вместо резких впадин будут наблюдаться слабые всплески. Небольшие впадины (до 3 дБ) в спектре силы можно считать допустимыми.
| |
а - сигнал силы с неконтролируемым повторным ударом | б - спектральная плотность энергии сигнала силы, показанного на рисунке 3а |
F - сила, Н; t - время, с; GFF - спектральная плотность
энергии сигнала силы, Н2·с/Гц; f - частота, Гц
Рисунок 3 - Влияние неконтролируемого повторного удара
на спектр сигнала силы
Неконтролируемые повторные удары проще всего обнаружить анализом спектра силы. Желательно также контролировать во временной области форму импульса аналогового сигнала силы до прохождения им антиалиасингового фильтра, который приводит к появлению "звона" от основного удара, способного замаскировать повторные удары. Для этой цели можно использовать запоминающий осциллограф.
Недопустимо для устранения неконтролируемых повторных ударов в цифровой записи сигнала силы перед его обработкой с применением преобразования Фурье использовать так называемое "окно силы" (см.
7.5). Если данное окно применяют для улучшения соотношения сигнал/шум, то необходимо убедиться, что это не маскирует имеющие место повторные удары - такая маскировка приведет к погрешности в оценке частотной характеристики, поскольку используемая для расчетов запись отклика конструкции будет представлять собой результат воздействия повторных ударов.
Прежде чем подвергнуться дискретизации с последующим преобразованием Фурье, аналоговые сигналы с преобразователей силы и вибрации должны пройти фильтр нижних частот, чтобы исключить характерный для процедуры оцифровки сигналов перенос высокочастотных составляющих в диапазон измерений (алиасинг). Большинство современных анализаторов снабжены встроенными антиалиасинговыми фильтрами, частоты среза которых согласованы с частотными диапазонами анализатора. Качество защиты от алиасинга можно проверить с помощью высокостабильного генератора сигналов, которые подают на вход анализатора на различных частотах вне диапазона измерений, контролируя при этом получаемые спектры на наличие ложных частотных составляющих внутри этого диапазона. Таким образом, в спектре сигнала не должно быть частотных составляющих в диапазоне от верхней границы диапазона частот анализа до частоты дискретизации.
Другими важными характеристиками фильтров являются коэффициент усиления и согласование фаз в полосе пропускания. При этом важны не сами коэффициенты усиления каналов преобразования сигналов, а их отношение. Идентичность каналов может быть проверена отдельно. Для этого на их входы подают один и тот же широкополосный сигнал (случайный или импульсный), после чего измеряют частотную характеристику для каждой пары каналов (соотношение сигналов на их выходах в частотной области). Данная частотная характеристика не должна отличаться от единицы более чем на 5% во всем диапазоне частот измерений. Фазовая же характеристика не должна отличаться от нуля более чем на 5°.
Для эффективного использования динамического диапазона анализатора целесообразно применять фильтр верхних частот для ослабления составляющих, лежащих ниже диапазона частот измерений. В частности, постоянные составляющие сигналов можно подавить посредством использования входов анализатора по переменному току. Особую важность это приобретает при использовании временных окон (см.
7.5). Как и в случае низкочастотной фильтрации, следует убедиться, что использование высокочастотных фильтров не ведет к амплитудным и фазовым искажениям в диапазоне частот измерений.
7.2 Синхронизация
7.2.1 Возбуждение одиночным ударом
При использовании способа возбуждения одиночным ударом выборка данных должна быть синхронизована с моментом нанесения удара. При этом важно, чтобы передний фронт импульса силы был записан полностью, для чего выборку начинают с некоторым опережением, которому соответствует нулевой участок записи сигнала (см.
рисунок 4). Если для применяемого анализатора возможность регистрации "предудара" отсутствует, то наилучшим решением будет внешняя синхронизация по неотфильтрованному сигналу силы.
F - сила, Н; t - время, с; PT - нулевой участок
записи сигнала; TP - точка начала импульса силы;
B - начало записи сигнала силы
Рисунок 4 - Запись сигнала силы с нулевым участком
7.2.2 Возбуждение множественными ударами
Возбуждение множественными ударами может рассматриваться как стационарный процесс, и необходимость синхронизации начала выборки с моментами нанесения ударов отсутствует. Искажения, возникающие при возможном обрезании полезного сигнала концами выборки (как в канале силы, так и в канале отклика), уменьшаются применением временных окон (см.
7.5.2). Также эти искажения можно уменьшить посредством получения перекрывающихся выборок с последующим усреднением спектров (см.
7.6).
7.3 Соотношения параметров выборки
7.3.1 Общие положения
Каждая цифровая выборка, предназначенная для последующей обработки посредством преобразования Фурье, содержит заданное число
N равноотстоящих друг от друга дискретных отсчетов отфильтрованного аналогового сигнала. Как правило, для использования эффективных алгоритмов быстрого преобразования Фурье число
N берут равным степени числа 2 - обычно 1024, 2048 или 4096. Общая длина записи равна

, где

- временной интервал между соседними отсчетами. Обратную величину

называют частотой дискретизации.
ДПФ позволяет получить (
N/2 + 1) комплексных значений коэффициентов Фурье, которые в частотной области представляют собой дискретный спектр с интервалами между составляющими

, расположенный в диапазоне от 0 Гц до частоты Найквиста, равной половине частоты выборки. Чтобы избежать алиасинга (см.
7.1), частота среза аналогового фильтра нижних частот должна лежать ниже частоты Найквиста с учетом того, что спад частотной характеристики аналогового фильтра не является идеально крутым. Как правило, частота выборки превышает частоту среза фильтра в 2,56 - 4,0 раза в зависимости от степени крутизны спада частотной характеристики. Для блока данных размером 1024 это дает от 400 до 256 спектральных линий.
Поскольку длина выборки
T является произведением размера выборки
N на период дискретизации

, теоретически ее можно варьировать, изменяя значения этих двух сомножителей. Однако частота выборки определяется требуемым диапазоном частот анализа, а значение
N зависит от конструктивных особенностей используемого анализатора. Увеличение
N может потребоваться, например, при испытании конструкций с малым коэффициентом демпфирования (см.
4.2.5).
7.3.2 Возбуждение одиночным ударом
В том случае, когда все переходные процессы полностью содержатся в цифровой записи, частотные составляющие ДПФ можно рассматривать как выборку из непрерывного преобразования Фурье исходного сигнала. Отклик линейной конструкции на удар представляет собой сумму синусоид, огибающая которых спадает по экспоненциальному закону, и некоторого фонового шума. Как правило, наилучшие результаты получаются, когда сигнал отклика составляет к концу записи приблизительно 1% первоначального значения. Такой выбор можно рассматривать как компромисс. Запись большей длины позволит увеличить разрешающую способность по частоте, но увеличивает погрешность обработки за счет уменьшения отношения сигнал/шум. С другой стороны, использование более короткой записи связано с чрезмерным усечением отклика (эффект, известный как "просачивание" или "утечка"), что также приводит к повышению погрешности обработки.
При необходимости увеличения размера выборки
N для улучшения разрешения по частоте можно ввести искусственное затухание посредством экспоненциального окна (см.
7.5.1.2) перед выполнением преобразования Фурье. Другим вариантом является использование режима работы анализатора, при котором анализ осуществляют в ограниченном диапазоне частот с одновременным увеличением разрешения по частоте, т.е. с уменьшением

. Это позволяет увеличивать длину записи без изменения
N.
7.3.3 Возбуждение множественными ударами
Обычно данный способ возбуждения допускает варьирование частоты и числа наносимых ударов в широких пределах. При этом из-за возможности наносить частые удары общее время записи сигналов, содержащих несколько выборок длительностью T, в случае слабо демпфированных конструкций может быть даже уменьшено.
7.4 Согласование по динамическому диапазону
При использовании метода ударного возбуждения вследствие большой мощности ударного импульса, в том числе и приходящейся на частоты за пределами диапазона частот измерений, необходимо считаться с возможностью ограничения сигнала измерительной системой (клиппированием). Оптимальное использование динамического диапазона измерительной системы означает, что пиковые значения сигнала должны располагаться максимально близко к уровню ограничения. Рекомендуется контролировать процесс ограничения сигнала с помощью запоминающего осциллографа или, если данный способ не подходит, с помощью Фурье-анализатора. В любом случае диапазон частот анализа должен значительно превышать максимальную частоту сигнала. Такой контроль следует проводить для всех точек конструкции, прежде чем приступать к испытаниям и сбору данных для определения подвижности, причем значение силы удара должно соответствовать максимальному значению, используемому при испытаниях.
На практике контролировать клиппирование можно только после прохождения сигналом некоторого участка измерительной цепи (например, преобразователя с согласующим усилителем). Оценку искажений сигнала на данном участке можно осуществить на основании анализа технических характеристик составляющих его элементов.
Существует несколько возможностей избежать ограничения сигнала, в том числе уменьшить силу удара, уменьшить коэффициент усиления согласующего усилителя или использовать преобразователь с более низким коэффициентом преобразования.
7.5.1 Возбуждение одиночным ударом
7.5.1.1 Применение окна при анализе сигнала силы
На участке цифровой записи импульс силы занимает очень маленький участок (как правило, менее 1%), поэтому даже слабый шум может вызвать при измерении спектра силы значительные погрешности. Особенно это заметно в случае применения режима анализа в полосе частот с увеличенным разрешением по частоте или использования блока данных большого размера. Вклад этого шума в оценку частотной характеристики нельзя уменьшить за счет усреднения по нескольким реализациям, поскольку шум вносит аддитивную составляющую в спектр силы
([1]).
Для уменьшения влияния случайного шума обычно перед преобразованием Фурье выполняют умножение оцифрованного сигнала силы на окно силы - весовую функцию, значение которой равно единице на участке записи, включающем в себя сигнал силы с учетом отклика фильтра, и нулю на оставшемся участке. Данный способ не ведет к появлению искажений, если шум широкополосный (спектральная плотность энергии типичного импульса с применением окна силы и без него показана на
рисунке 5).
| |
а - спектральная плотность энергии сигнала силы в отсутствие окна силы | б - спектральная плотность энергии сигнала силы после применения окна силы |
GFF - спектральная плотность энергии сигнала силы, Н2·с/Гц;
f - частота, Гц
Рисунок 5 - Влияние окна силы на спектр сигнала силы
Если же в записи сигнала содержится значительная постоянная или периодическая шумовая составляющая, то применение "окна силы" хотя и приведет к уменьшению в спектре сигнала шумовой составляющей, но одновременно вызовет также распределение шумовой составляющей спектра в широкой полосе частот - "просачивание" (см.
7.3.2) - из-за усечения непрерывного сигнала шума во временной области. Вследствие этого эффекта шум, наблюдаемый на частотах за пределами диапазона частот измерений, например на нулевой или на сетевой частоте, в результате применения окна силы может "загрязнить" значительную часть диапазона частот измерений. Полоса распределения шума может быть сужена за счет изменения формы окна таким образом, чтобы переход от единицы до нуля не был слишком резким (см.
[2]), однако наилучшим способом будет исключение из сигнала силы всех периодических и постоянных составляющих до умножения на окно силы.
На
рисунке 6 показан результат применения прямоугольного окна силы в случае периодического аддитивного шума на частоте 60 Гц.
Примечание - Те же соображения справедливы при использовании экспоненциального окна, описанного в
7.5.1.2.
| |
а - сигнал силы в присутствии слабого периодического шума (колебания в импульсе связаны с антиалиасинговой фильтрацией) | б - спектральная плотность энергии сигнала силы, показанного на рисунке 6 а |
| |
-------------------------------- <a> Прямоугольное окно силы. | |
в - сигнал силы, показанный на рисунке 6 а, после применения прямоугольного окна силы | г - спектральная плотность энергии сигнала, показанного на рисунке 6 в |
F - сила, Н; t - время, с; GFF - спектральная плотность
энергии сигнала силы, Н2·с/Гц; f - частота, Гц
Рисунок 6 - Эффект "просачивания",
связанный с применением окна силы
7.5.1.2 Использование окон при анализе сигнала отклика
Согласно
7.3.2 значение сигнала отклика в конце цифровой записи должно составлять приблизительно 1% его значения в начале записи. Для проверки этого рекомендуется оценить отношение пикового значения сигнала в средней области записи к его максимальному значению. Это отношение должно быть равно приблизительно 0,1. Увеличение этого отношения означает, что имело место усечение сигнала отклика.
Для конструкций с малым демпфированием выполнение указанного условия может оказаться невозможным или нежелательным, поскольку требует значительного увеличения размера выборки или анализа с увеличением масштаба в очень узкой полосе частот. Если высокая разрешающая способность по частоте не требуется, целесообразно перед использованием преобразования Фурье ввести в сигнал отклика искусственное затухание, умножая его на весовую функцию, экспоненциально спадающую от единицы в начале записи к некоторому заданному значению в конце.
На
рисунке 7 показаны оценки частотной характеристики конструкции с малым демпфированием без использования экспоненциального окна и с применением такого окна, когда весовая функция спадает к концу записи до 0,05 от начального значения. Частотная характеристика, изображенная на
рисунке 7в, имеет все признаки "просачивания" при использовании ДПФ: значительные искажения в фазовом спектре и погрешности сглаживания в амплитудном спектре, т.е. в отсутствие экспоненциального окна возможно получение заниженных значений частотной характеристики на резонансах. Значение такой погрешности невозможно предсказать заранее. Оно будет определяться усечением во временной области конкретных мод конструкции. Искажения, присутствующие на
рисунке 7г, значительно меньше. Хотя и в данном случае значения характеристики на резонансах занижены, их можно скорректировать в соответствии с методом, изложенным в
приложении А. Принцип коррекции состоит в оценке для каждой моды вибрации увеличенного (за счет применения экспоненциального окна) коэффициента демпфирования, после чего истинное значение коэффициента демпфирования определяют, вычитая известное значение поправки.
| |
| б - сигнал отклика после применения экспоненциального окна |
Рисунок 7 - Сигналы отклика без применения и с применением
экспоненциального окна и полученные для них
графики ускоряемости
| |
в - модуль и фазовый угол ускоряемости, рассчитанные для сигнала на рисунке 7 а | г - модуль и фазовый угол ускоряемости, рассчитанные для сигнала на рисунке 7 б |
a - ускорение, м/с2; t - время, с; H - модуль ускоряемости,
м/(Н·с2); P - фазовый угол ускоряемости, градусы;
f - частота, Гц
Рисунок 7, лист 2
Метод, связанный с умножением на весовую функцию, достаточно надежен, если в исходной записи отклика спад за счет собственного демпфирования конструкции достигает к концу записи не менее 25% первоначального значения, в противном случае коррекция амплитудно-частотной характеристики становится весьма чувствительной к погрешностям определения коэффициентов демпфирования.
Применение данного метода может оказаться целесообразным даже в том случае, когда размеры блока данных позволяют полностью записать отклик конструкции, поскольку при этом улучшается отношение сигнал/шум за счет усиления сигнала на начальном участке, где его уровень высок.
7.5.2 Возбуждение множественными ударами
Возбуждение последовательностью импульсов, расстояние между которыми изменяется от удара к удару, с точки зрения обработки сигналов может рассматриваться как аналогичное возбуждению периодической последовательностью импульсов в случае испытуемой конструкции с большим демпфированием и случайному возбуждению в случае конструкции с малым демпфированием, т.е. одному из видов возбуждения, рассмотренных в
ГОСТ Р ИСО 7626-2.
При возбуждении данного вида применение окон силы для улучшения соотношения сигнал/шум затруднительно и обычно нецелесообразно (см.
4.2.3). Целью применения окон в данном случае является устранение эффекта "просачивания" из-за граничных условий на концах выборок. Этим обусловлен вид обычно применяемых окон в отношении как сигнала силы, так и сигнала отклика: окно Ханна, окно Хэмминга и им подобные (см. ГОСТ Р ИСО 7626-2-2016,
пункт 8.4.3).
Для улучшения оценки частотной характеристики рекомендуется выполнять усреднение данных в частотной области по спектрам, рассчитанным для нескольких пар выборок сигналов силы и отклика. Для этого по отдельности вычисляют усредненный взаимный спектр сигналов отклика и силы и усредненный спектр сигнала силы. Оценку частотной характеристики определяют как отношение этих усредненных спектров. Усреднение спектров позволяет вычислить также функцию когерентности (см.
8.1). Алгоритмы расчета усредненной частотной характеристики и функции когерентности приведены в ГОСТ Р 59368.1-2021
(приложение Б).
Если уровень шума невелик, то достаточно для усреднения использовать от трех до пяти пар выборок в случае возбуждения одиночным ударом и до десяти пар выборок - в случае возбуждения множественными ударами. При наличии некоррелированного шума значительной мощности его влияние может быть уменьшено за счет усреднения по большему числу пар выборок. Однако следует иметь в виду, что существенное увеличение числа выборок сводит на нет такое преимущество ударного возбуждения, как быстрота реализации. Поэтому в случае, когда невозможно уменьшить уровень фонового шума, более предпочтительными могут оказаться другие методы возбуждения.
В случае возбуждения одиночным ударом при нанесении каждого последующего удара необходимо убедиться в полном затухании отклика конструкции на предыдущий удар, в противном случае сигнал отклика будет искажен "звоном" от предыдущего удара. Колебания конструкций с малым демпфированием или небольших размеров можно погасить вручную. При возбуждении множественными ударами такого ограничения нет.
8 Контроль правильности измерений
8.1 Функция когерентности
Функция когерентности представляет собой отношение квадрата усредненного взаимного спектра между сигналами силы и отклика к произведению усредненных спектров сигналов силы и отклика. Она показывает, насколько зависимость между силой и откликом можно считать линейной для каждой частоты из диапазона измерений, и изменяется в диапазоне от единицы до нуля. В случае линейного отклика при отсутствии погрешности измерений функция когерентности равна единице. Функция когерентности со значением менее единицы может свидетельствовать о низком качестве измерений.
Оценка функции когерентности по экспериментальным данным зависит от числа реализаций, по которым проведено усреднение. Если значение функции когерентности велико (0,9 и более), то достаточно надежная оценка может быть получена усреднением всего лишь по нескольким реализациям (от пяти до десяти). Расчет погрешности оценки функции когерентности приведен в
[3].
Примечание 1 - Низкое значение функции когерентности, часто наблюдаемое на "антирезонансах" частотной характеристики, обычно не связано с низким качеством экспериментальных данных. На таких частотах отклик конструкции на входное воздействие может быть близок к уровню шума, и низкое значение функции когерентности отражает эту близость, т.е. низкое значение отношения сигнал/шум.
Возможными причинами низкой когерентности при испытаниях с использованием ударного возбуждения являются:
- шум в сигнале силы;
- шум в сигнале отклика;
- случайные изменения точки и направления приложения силы от удара к удару;
- нелинейное поведение конструкции.
Примечание 2 - Следует иметь в виду, что некоторые ошибки в проведении измерений могут быть не выявлены с помощью функции когерентности. К ним относятся:
- "просачивание" из-за усечения отклика (неадекватное разрешение по частоте);
- некоторые виды нелинейности конструкции;
- ограничение сигнала (клиппирование).
Наличие шума в канале измерения отклика, хотя и приводит к уменьшению значения функции когерентности, позволяет тем не менее получить достаточно точную оценку частотной характеристики за счет усреднений по большому числу реализаций (см. ГОСТ Р ИСО 7626-2-2016,
приложение А).
При возбуждении одиночным ударом шум в канале измерения силы рекомендуется уменьшать за счет выбора соответствующего окна, поскольку в противном случае он может привести к смещению полученной частотной характеристики (см.
7.5.1.1).
8.2 Контроль повторяемости
После завершения испытаний следует повторно провести хотя бы одно измерение в начальной точке с целью удостовериться в том, что результаты измерений в начале и в конце серии испытаний согласуются между собой в рамках заданного допуска. Эта проверка помогает выявить такие проблемы, как изменение самой конструкции или граничных условий, влияние температуры, изменения коэффициента преобразования измерительного тракта. По возможности при проведении такой проверки следует заново выполнить установку конструкции и конфигурирование измерительной системы.
8.3 Проверка выполнения принципа взаимности
Из принципа взаимности следует, что для линейной конструкции подвижность между двумя точками конструкции не зависит от того, к какой точке приложено возбуждение, а в какой измерен отклик, и сохраняется при перемене точек возбуждения и измерения местами. Если проверка этого принципа дает удовлетворительный результат, то это будет дополнительным подтверждением правильности проведения измерений, несоблюдение же принципа взаимности может свидетельствовать о таких проблемах, как чрезмерное локальное нагружение легкой конструкции преобразователем (или преобразователями) или наличие нелинейности отклика определенного вида.
8.4 Контроль линейности
Для выявления многих типов нелинейности рекомендуется повторить процедуру измерения подвижности с разными значениями уровня возбуждения. Рекомендуется по возможности создать десятикратное увеличение вынуждающей силы и исследовать все значительные отклонения в результатах измерения подвижности.
8.5 Сравнение с данными, полученными с прикрепленным возбудителем
В некоторых случаях желательно выполнить непосредственное сравнение результатов, полученных с применением ударного возбуждения и посредством непрерывного возбуждения прикрепленным возбудителем. Такой вид проверки требует значительных дополнительных затрат, связанных с необходимостью использования другого оборудования, затратами времени на его установку и проведение измерений. Поэтому ее рекомендуется использовать только при сомнениях в пригодности метода ударного возбуждения для испытаний конкретной конструкции.
Примечание - При проверке условий возбуждения присоединенным возбудителем, например в случае недостаточной жесткости соединительной штанги в отношении поперечных или крутильных колебаний, можно руководствоваться
[2].
(рекомендуемое)
КОРРЕКЦИЯ РЕЗУЛЬТАТОВ ИЗМЕРЕНИЙ, ПОЛУЧЕННЫХ С ПРИМЕНЕНИЕМ
ЭКСПОНЕНЦИАЛЬНОГО ОКНА
Умножение сигнала на экспоненциальную весовую функцию применяют для уменьшения влияния погрешностей "просачивания" и шума на результаты измерения частотной характеристики с использованием ударного возбуждения (см.
7.5.1.2). Однако применение экспоненциального окна существенно искажает результат измерения механической подвижности и поэтому требует соответствующей коррекции. Эта коррекция позволяет получить удовлетворительные результаты при условии, что поведение конструкции линейно и известно модальное демпфирование для каждой возбуждаемой моды вибрации в диапазоне частот измерений. Модальное демпфирование определяют по результатам измерений той же частотной характеристики, для чего обычно используют известные методы подгонки кривых, рассмотрение которых выходит за рамки настоящего стандарта.
Пусть линейная система, описывающая связь отклика x(t) с вынуждающей силой f(t), определяется импульсной характеристикой h(t). Тогда для нулевых начальных условий (конструкция до удара находится в состоянии покоя) справедлива формула

(А.1)

(А.2)
Из
формулы (А.2) видно, что при умножении сигналов силы и отклика на одну и ту же экспоненциальную весовую функцию импульсная характеристика, связывающая эти два "взвешенных" сигнала, представляет собой произведение истинной импульсной характеристики линейной системы и той же самой экспоненциальной функции.
Импульсную характеристику линейной системы можно представить в виде суммы членов вида

, где
sr - комплексное число, действительная и мнимая части которого определяют соответственно скорость затухания и собственную частоту с учетом демпфирования для
r-й моды вибрации, а
Ar - комплексная постоянная. Таким образом, в результате умножения на экспоненциальную функцию в импульсной характеристике происходит замена
sr на (
sr -
a).
Пусть в результате измерений частотной характеристики с использованием экспоненциального взвешивания и последующей обработки для
r-й моды получена оценка коэффициента демпфирования

. Тогда истинное значение коэффициента демпфирования

определяют по формуле

(А.3)
где

- собственная частота
r-й моды с учетом демпфирования.
Корректированную механическую подвижность получают синтезом всех мод с исправленными коэффициентами демпфирования в диапазоне частот измерений. В случае далеко разнесенных мод с малым демпфированием значение частотной характеристики на резонансе обратно пропорционально коэффициенту демпфирования, поэтому коррекция частотной характеристики в области резонанса будет заключаться в ее умножении на коэффициент

.
На практике экспоненциальное взвешивание часто применяют только к сигналу отклика, но не к сигналу силы. Вследствие малой длительности сигнала силы действие на него экспоненциального окна можно аппроксимировать умножением сигнала силы на постоянную, равную значению весовой функции в момент максимального значения силы. Если пик импульса расположен вблизи начала цифровой записи, то такой постоянной из-за ее близости к единице можно пренебречь. Если для проверки калибровки (см.
5.3) применяется такое же окно и в цифровой записи используется такой же участок "предудара", что и в процессе измерения подвижности, то учет воздействия окна является составной частью калибровки тракта измерения силы.
| Mitchell L., Improved Method for the Fast Fourier Transform (FFT) Calculation of the Frequency Response Function. J. Mech. Des. 1982, 104, pp. 277 - 279 |
| Ewins D., State-of-the-Art Assessment of the Mobility Measurement Techniques - Summary of Results. Journal of the Society of Environmental Engineers. 1981, March, 21 (1) |
| Бендат Дж., Пирсол А. Измерение и анализ случайных процессов. - М.: Мир, 1974 - 464 с. |
УДК 534.1:006.354 | |
Ключевые слова: механическая конструкция, динамические свойства, ударное возбуждение, возбудитель, частотная характеристика, испытания |