Главная // Актуальные документы // ГОСТ Р (Государственный стандарт)
СПРАВКА
Источник публикации
М.: Стандартинформ, 2021
Примечание к документу
Документ введен в действие с 01.05.2021.
Название документа
"ГОСТ Р 59359-2021. Национальный стандарт Российской Федерации. Оборудование гимнастическое. Перекладины навесные. Требования и методы испытаний"
(утв. и введен в действие Приказом Росстандарта от 24.02.2021 N 92-ст)

"ГОСТ Р 59359-2021. Национальный стандарт Российской Федерации. Оборудование гимнастическое. Перекладины навесные. Требования и методы испытаний"
(утв. и введен в действие Приказом Росстандарта от 24.02.2021 N 92-ст)


Содержание


Утвержден и введен в действие
Приказом Федерального агентства
по техническому регулированию
и метрологии
от 24 февраля 2021 г. N 92-ст
НАЦИОНАЛЬНЫЙ СТАНДАРТ РОССИЙСКОЙ ФЕДЕРАЦИИ
ОБОРУДОВАНИЕ ГИМНАСТИЧЕСКОЕ
ПЕРЕКЛАДИНЫ НАВЕСНЫЕ
ТРЕБОВАНИЯ И МЕТОДЫ ИСПЫТАНИЙ
Gymnastic equipment. Hanged bars.
Requirements and test methods
ГОСТ Р 59359-2021
ОКС 97.220.30
Дата введения
1 мая 2021 года
Предисловие
1 РАЗРАБОТАН Ассоциацией Саморегулируемой организацией "Отраслевое объединение национальных производителей в сфере физической культуры и спорта "Промспорт" (СРО "Промспорт")
2 ВНЕСЕН Техническим комитетом по стандартизации ТК 444 "Спортивные и туристические изделия, оборудование, инвентарь, физкультурные и спортивные услуги"
3 УТВЕРЖДЕН И ВВЕДЕН В ДЕЙСТВИЕ Приказом Федерального агентства по техническому регулированию и метрологии от 24 февраля 2021 г. N 92-ст
4 ВВЕДЕН ВПЕРВЫЕ
Правила применения настоящего стандарта установлены в статье 26 Федерального закона от 29 июня 2015 г. N 162-ФЗ "О стандартизации в Российской Федерации". Информация об изменениях к настоящему стандарту публикуется в ежегодном (по состоянию на 1 января текущего года) информационном указателе "Национальные стандарты", а официальный текст изменений и поправок - в ежемесячном информационном указателе "Национальные стандарты". В случае пересмотра (замены) или отмены настоящего стандарта соответствующее уведомление будет опубликовано в ближайшем выпуске ежемесячного информационного указателя "Национальные стандарты". Соответствующая информация, уведомление и тексты размещаются также в информационной системе общего пользования - на официальном сайте Федерального агентства по техническому регулированию и метрологии в сети Интернет (www.gost.ru)
1 Область применения
Настоящий стандарт распространяется на гимнастическое оборудование - навесные перекладины, предназначенные для занятий физической подготовкой.
Настоящий стандарт устанавливает функциональные требования, требования безопасности и методы испытаний.
2 Нормативные ссылки
В настоящем стандарте использованы нормативные ссылки на следующие стандарты:
ГОСТ 9.032 Единая система защиты от коррозии и старения. Покрытия лакокрасочные. Группы, технические требования и обозначения
ГОСТ 9.301 Единая система защиты от коррозии и старения. Покрытия металлические и неметаллические неорганические. Общие требования
ГОСТ 9.302 Единая система защиты от коррозии и старения. Покрытия металлические и неметаллические неорганические. Методы контроля
ГОСТ 9.401 Единая система защиты от коррозии и старения. Покрытия лакокрасочные. Общие требования и методы ускоренных испытаний на стойкость к воздействию климатических факторов
ГОСТ 3242 Соединения сварные. Методы контроля качества
ГОСТ Р 2.601 Единая система конструкторской документации. Эксплуатационные документы
ГОСТ Р 2.610 Единая система конструкторской документации. Правила выполнения эксплуатационных документов
ГОСТ Р 55675 Оборудование гимнастическое. Перекладины. Требования и методы испытаний с учетом безопасности
ГОСТ Р 55789 Оборудование и инвентарь спортивные. Термины и определения
ГОСТ Р 56445 Тренажеры стационарные. Общие требования безопасности и методы испытаний
ГОСТ Р 56446 Оборудование гимнастическое. Общие требования безопасности и методы испытаний
Примечание - При пользовании настоящим стандартом целесообразно проверить действие ссылочных стандартов в информационной системе общего пользования - на официальном сайте Федерального агентства по техническому регулированию и метрологии в сети Интернет или по ежегодному информационному указателю "Национальные стандарты", который опубликован по состоянию на 1 января текущего года, и по выпускам ежемесячного информационного указателя "Национальные стандарты" за текущий год. Если заменен ссылочный стандарт, на который дана недатированная ссылка, то рекомендуется использовать действующую версию этого стандарта с учетом всех внесенных в данную версию изменений. Если заменен ссылочный стандарт, на который дана датированная ссылка, то рекомендуется использовать версию этого стандарта с указанным выше годом утверждения (принятия). Если после утверждения настоящего стандарта в ссылочный стандарт, на который дана датированная ссылка, внесено изменение, затрагивающее положение, на которое дана ссылка, то это положение рекомендуется применять без учета данного изменения. Если ссылочный стандарт отменен без замены, то положение, в котором дана ссылка на него, рекомендуется применять в части, не затрагивающей эту ссылку.
3 Термины и определения
В настоящем стандарте применены термины по ГОСТ Р 55789.
4 Общие требования
Навесные перекладины в части общих требований должны соответствовать требованиям ГОСТ Р 55675.
5 Требования к конструкции
5.1 Классификация перекладин
Перекладины по методу крепления подразделяются на:
а) настенные;
б) распорные.
Схемы перекладин и линейные размеры показаны на рисунках 1, 2 и приведены в таблицах 1 и 2.
1, 2 - укос в сборе; 3, 4 - перекладины
Рисунок 1 - Схема настенных перекладин
Таблица 1
Линейные характеристики настенных перекладин
Характеристика
Абсолютное значение
Предельно допустимое отклонение
Длина и ширина рабочей поверхности, мм, не более:
+/- 3
L1
1000
L2
500
1 - труба; 2 - вставки
Рисунок 2 - Схема распорных перекладин
Таблица 2
Линейные характеристики распорных перекладин
Характеристика
Абсолютное значение
Предельно допустимое отклонение
Длина B, мм
700 - 1500
+/- 3
Диаметр перекладины, мм
25 - 35
5.2 Перекладины крепят к стене или устанавливают в распор между вертикальными стойками. Перекладины, устанавливаемые в распор между вертикальными стойками, должны быть снабжены дискретной и плавной регулировками.
5.3 Зона безопасности перекладин включает расстояние до стены не менее 500 мм, расстояние от потолка не менее 300 мм, как показано на рисунке 3.
Рисунок 3 - Зона безопасности
6 Требования безопасности
6.1 Перекладины должны соответствовать требованиям безопасности, установленным в настоящем стандарте и эксплуатационной документации изготовителя.
ИС МЕГАНОРМ: примечание.
В официальном тексте документа, видимо, допущена опечатка: стандарт имеет номер ГОСТ Р 56445-2015, а не ГОСТ 56445.
6.2 Общие требования безопасности перекладин - по ГОСТ Р 56446 и ГОСТ 56445 (на безопасность тренажеров класса H).
6.3 Поверхность элементов перекладин должна быть гладкой, без шероховатостей.
6.4 Сварные швы перекладин должны быть гладкими, зачищенными с плавным переходом к основному материалу. Стыковые швы должны быть зачищены заподлицо со снятием усиления шва.
6.5 Острые концы крепежных деталей не должны быть доступными для пользователя. Доступные части крепежных деталей не должны иметь заусенцев.
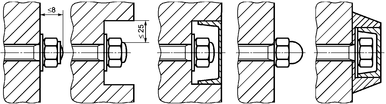
6.6 Оборудование должно иметь защиту концов болтовых соединений, выступающих более чем на 8 мм за пределы поверхности оборудования, как показано на рисунке 4.
Рисунок 4 - Защита болтовых соединений
6.7 Выступающие части крепежа и концы труб должны быть закрыты защитными элементами.
6.8 Соединения элементов перекладин должны быть установлены таким образом, чтобы они не могли самостоятельно разъединиться при эксплуатации.
6.9 Углы и края, не защищенные от контакта с пользователем конструкцией перекладин, должны быть закруглены с минимальным радиусом 3 мм.
6.10 Конструкцией перекладин должна быть обеспечена прочность, жесткость, устойчивость и пространственная неизменяемость. Характеристики конструкции перекладин по прочности, жесткости, устойчивости и пространственной неизменяемости должны быть установлены в конструкторской документации (КД) и соответствовать требованиям ГОСТ Р 56446.
6.11 Перекладины должны выдерживать сосредоточенную горизонтальную нагрузку (3800 +/- 5) Н, прикладываемую к середине перекладины при испытаниях устойчивости.
6.12 Значение отклонения перекладины в вертикальном направлении должно составлять не более (100 +/- 10) мм при воздействии сосредоточенной вертикальной нагрузки (2000 +/- 5) Н, прикладываемой к середине перекладины при испытаниях на прочность.
6.13 Перекладины должны выдерживать сосредоточенную вертикальную нагрузку (2000 +/- 5) Н без остаточного отклонения в вертикальном направлении при испытаниях по проверке наличия остаточного прогиба.
6.14 Перекладины должны выдерживать сосредоточенную вертикальную нагрузку (4750 +/- 5) Н, прикладываемую к середине перекладины при оценке несущей способности.
6.15 Перекладины должны полностью охватываться рукой пользователя при выполнении физических упражнений. Диаметр поперечного сечения перекладин и других элементов, предназначенных для захвата руками, должен быть не менее 25 мм и не более 35 мм.
6.16 Не допускаются застревания, зажим и раздавливание в отверстиях, зазорах и/или элементах оборудования головы, шеи или пальцев пользователя.
6.17 Не допускаются застревания, зажим и раздавливание вследствие деформации либо прогиба элементов оборудования под нагрузкой относительно друг друга.
6.18 Материалы, применяемые для изготовления перекладин, должны соответствовать требованиям [1]. Применение легковоспламеняющихся материалов не допускается. Применение чрезвычайно опасных по токсичности продуктов горения материалов не допускается.
6.19 Металлические части перекладин должны быть изготовлены из коррозийно-стойких материалов или защищены от коррозии в соответствии с требованиями ГОСТ 9.032, ГОСТ 9.301, ГОСТ 9.302.
6.20 В состав эксплуатационной документации, поставляемой с перекладинами, должно входить руководство по монтажу и эксплуатации, выполненное в соответствии с ГОСТ Р 2.601 и ГОСТ Р 2.610. Эксплуатационная документация должна содержать требования (правила), предотвращающие возникновение опасных ситуаций при монтаже и эксплуатации, включая:
- требования к размещению перекладин в рабочих условиях, обеспечивающие удобство и безопасность их использования по назначению;
- сведения о правильной эксплуатации перекладин;
- правила выполнения спортивных упражнений;
- размер свободного пространства, необходимого для безопасной эксплуатации перекладин;
- уведомление о том, что безопасность перекладин может быть обеспечена только при соблюдении правил эксплуатации, периодических осмотров на наличие повреждений и износа.
6.21 В конструкции перекладин не должно возникать трещин, повреждений или чрезмерных остаточных деформаций при проведении испытаний и при пользовании. Соединения и опоры не должны приобретать признаков свободного хода.
7 Методы испытаний
7.1 Подготовка к проведению испытаний
7.1.1 Перед проведением испытаний образцы выдерживают при температуре окружающей среды (23 +/- 2) °C в течение не менее 3 ч. Испытания проводят в тех же климатических условиях.
7.1.2 Перед испытаниями оборудование должно быть установлено согласно инструкции изготовителя в условиях эксплуатации.
7.2 Контроль внешнего вида
7.2.1 При внешнем осмотре (визуальный контроль) и сличением с КД проверяют внешний вид перекладин, включая правильность сборки, комплектность, отсутствие шероховатых поверхностей, выступающих острых элементов (углов, сколов, кромок и поверхностей с неровностями), наличие защитных элементов на выступающих частях крепежа и концах труб, качество соединений элементов.
7.2.2 Проверку покрытий наружных поверхностей проводят по ГОСТ 9.401, ГОСТ 9.032, ГОСТ 9.301 и ГОСТ 9.302 по утвержденным образцам-эталонам.
7.2.3 Состояние сварных швов, изготовленных из металлов и сплавов, проверяют по ГОСТ 3242.
7.3 Линейные и угловые измерения проводят средствами измерений соответствующей точности.
7.4 Требования безопасности, изложенные в разделе 6, проверяют визуально, расчетными и инструментальными методами.
7.5 Отклонения перекладины в горизонтальном и вертикальном направлениях проверяют по ГОСТ Р 55675.
7.6 Способность выдерживать сосредоточенную вертикальную нагрузку без остаточного отклонения и несущую способность определяют по ГОСТ Р 55675.
7.7 Возникновение трещин, повреждений, остаточных деформаций, признаков свободного хода соединений и опоры определяют по ГОСТ Р 55675.
8 Маркировка, упаковка, транспортирование и хранение
8.1 На транспортную упаковку перекладин должны быть нанесены этикетки со следующей информацией:
- наименование или товарный знак, наименование и адрес изготовителя;
- наименование и обозначение оборудования;
- номер партии;
- месяц и год изготовления;
- назначенный срок службы;
- возрастная адресованность;
- размеры;
- обозначение настоящего стандарта;
- вес брутто транспортной упаковки;
- размеры транспортной упаковки.
8.2 Продукцию поставляют с паспортом изделия, информацией изготовителя и сопроводительной документацией на русском языке или на языке государства - члена союза, на территории которого реализуется оборудование.
Паспорт изделия должен содержать:
- основные сведения об оборудовании [наименование и место нахождения (адрес) изготовителя, обозначение документа, в соответствии с которым произведено оборудование];
- основные технические данные оборудования;
- сведения о возрастной группе;
- комплектность оборудования;
- графический рисунок оборудования;
- чертеж общего вида оборудования с указанием основных размеров;
- схему сборки оборудования;
- сведения о приемке оборудования;
- сведения об упаковке оборудования;
- гарантийные обязательства изготовителя оборудования;
- сведения о хранении оборудования;
- сведения о транспортировании оборудования;
- сведения о консервации и расконсервации оборудования при эксплуатации;
- сведения об утилизации оборудования;
- инструкцию по монтажу оборудования;
- правила безопасной эксплуатации оборудования;
- месяц и год производства оборудования;
- установленный срок службы.
8.3 Упаковка
8.3.1 Элементы оборудования должны быть упакованы таким образом, чтобы при транспортировании не было нарушений покрытий наружных поверхностей.
8.3.2 Необходимо применять виды тары и упаковки, обеспечивающие сохранность изделия при транспортировании и хранении.
8.4 Условия хранения: в сухом помещении или под навесом, с защитой от прямых солнечных лучей, при температуре +/- 40 °C, на расстоянии 1 м от отопительных приборов.
БИБЛИОГРАФИЯ
[1]
Единые санитарно-эпидемиологические и гигиенические требования к продукции (товарам), подлежащей санитарно-эпидемиологическому надзору (контролю) (утверждены решением Комиссии Таможенного союза от 28 мая 2010 г. N 299)
УДК 796.022:006.354
ОКС 97.220.30
Ключевые слова: гимнастическое оборудование, навесные перекладины, настенные перекладины, распорные перекладины, требования безопасности