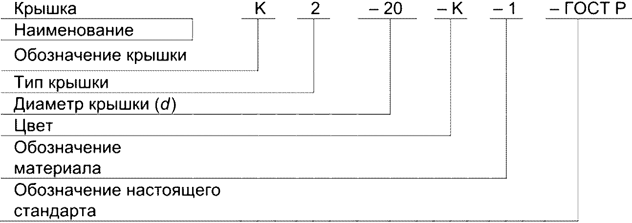
Главная // Актуальные документы // ГОСТ Р (Государственный стандарт)СПРАВКА
Источник публикации
М.: Стандартинформ, 2021
Примечание к документу
Документ
введен в действие с 01.06.2021.
Название документа
"ГОСТ Р 59311-2021. Национальный стандарт Российской Федерации. Ракетно-космическая техника. Заглушки транспортировочные. Общие технические условия"
(утв. и введен в действие Приказом Росстандарта от 05.02.2021 N 38-ст)
"ГОСТ Р 59311-2021. Национальный стандарт Российской Федерации. Ракетно-космическая техника. Заглушки транспортировочные. Общие технические условия"
(утв. и введен в действие Приказом Росстандарта от 05.02.2021 N 38-ст)
Утвержден и введен в действие
по техническому регулированию
и метрологии
от 5 февраля 2021 г. N 38-ст
НАЦИОНАЛЬНЫЙ СТАНДАРТ РОССИЙСКОЙ ФЕДЕРАЦИИ
РАКЕТНО-КОСМИЧЕСКАЯ ТЕХНИКА
ЗАГЛУШКИ ТРАНСПОРТИРОВОЧНЫЕ
ОБЩИЕ ТЕХНИЧЕСКИЕ УСЛОВИЯ
Space-rocket technik. Transportation plugs.
General specifications
ГОСТ Р 59311-2021
Дата введения
1 июня 2021 года
1 РАЗРАБОТАН Акционерным обществом "Центральный научно-исследовательский институт машиностроения" (АО "ЦНИИмаш")
2 ВНЕСЕН Техническим комитетом по стандартизации ТК 321 "Ракетно-космическая техника"
3 УТВЕРЖДЕН И ВВЕДЕН В ДЕЙСТВИЕ
Приказом Федерального агентства по техническому регулированию и метрологии от 5 февраля 2021 г. N 38-ст
4 ВВЕДЕН ВПЕРВЫЕ
Правила применения настоящего стандарта установлены в статье 26 Федерального закона от 29 июня 2015 г. N 162-ФЗ "О стандартизации в Российской Федерации". Информация об изменениях к настоящему стандарту публикуется в ежегодном (по состоянию на 1 января текущего года) информационном указателе "Национальные стандарты", а официальный текст изменений и поправок - в ежемесячном информационном указателе "Национальные стандарты". В случае пересмотра (замены) или отмены настоящего стандарта соответствующее уведомление будет опубликовано в ближайшем выпуске ежемесячного информационного указателя "Национальные стандарты". Соответствующая информация, уведомление и тексты размещаются также в информационной системе общего пользования - на официальном сайте Федерального агентства по техническому регулированию и метрологии в сети Интернет (www.gost.ru)
Настоящий стандарт устанавливает общие технические условия и распространяется на транспортировочные заглушки (пробки и крышки), предназначенные для предохранения трубопроводов, штуцеров и наконечников агрегатов ракетно-космической техники от засорения и механических повреждений при транспортировании, хранении, регламентных и других работах.
В настоящем стандарте использованы нормативные ссылки на следующие стандарты:
ГОСТ 26.008 Шрифты для надписей, наносимых методом гравирования. Исполнительные размеры
ГОСТ 2991 Ящики дощатые неразборные для грузов массой до 500 кг. Общие технические условия
ГОСТ 11709 Основные нормы взаимозаменяемости. Резьба метрическая для деталей из пластмасс
ГОСТ 13841 Ящики из гофрированного картона для химической продукции. Технические условия
ГОСТ 15150 Машины, приборы и другие технические изделия. Исполнения для различных климатических районов. Категории, условия эксплуатации, хранения и транспортирования в части воздействия климатических факторов внешней среды
ГОСТ 16337 Полиэтилен высокого давления. Технические условия
ГОСТ 16338 Полиэтилен низкого давления. Технические условия
ГОСТ 22852 Ящики из гофрированного картона для продукции приборостроительной промышленности. Технические условия
ГОСТ 30893.1 (ИСО 2768-1-89) Основные нормы взаимозаменяемости. Общие допуски. Предельные отклонения линейных и угловых размеров с неуказанными допусками
Примечание - При пользовании настоящим стандартом целесообразно проверить действие ссылочных стандартов в информационной системе общего пользования - на официальном сайте Федерального агентства по техническому регулированию и метрологии в сети Интернет или по ежегодному информационному указателю "Национальные стандарты, который опубликован по состоянию на 1 января текущего года, и по выпускам ежемесячного указателя "Национальные стандарты" на текущий год. Если заменен ссылочный стандарт, на который дана недатированная ссылка, то рекомендуется использовать версию этого стандарта с учетом всех внесенных в данную версию изменений. Если заменен ссылочный стандарт, на который дана датированная ссылка, то рекомендуется использовать версию этого стандарта с указанным выше годом утверждения (принятия). Если после утверждения настоящего стандарта в ссылочный стандарт, на который дана датированная ссылка, внесено изменение, затрагивающее положение, на которое дана ссылка, то это положение рекомендуется применять без учета данного изменения. Если ссылочный документ отменен без замены, то положение, в котором дана ссылка на него, применяется в части, не затрагивающей эту ссылку.
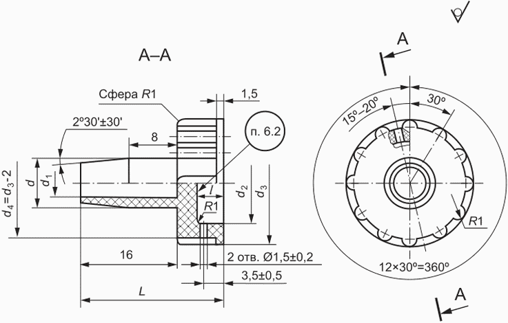
3 Типы, конструкция и размеры
3.1 Транспортировочные заглушки должны изготовляться двух видов: пробки и крышки.
3.2 Пробки должны изготовляться пяти типов.
3.3 Конструкция и размеры пробок должны соответствовать:
--------------------------------
<*> При d от 12 до 18 мм и 22 мм: d3 = d - 2,5; при d свыше 18 мм: d3 = d - 3.
Рисунок 1
Размеры в миллиметрах
Обозначение резьбы d | Диаметр d1 | Диаметр d2 | Диаметр d4 | Диаметр d5 | Общая длина L | Длина l | Длина l1 | Шрифт для маркировки | Масса 100 шт., кг, не более |
Предельные отклонения |
H14 | H14 | h14 | +/- 0,5 | +/- 0,4 | +/- 0,4 | +/- 0,4 |
М12 x 1 | 4 | 9 | 18 | 18 | 16 | 12 | 14 | 2,5-Пр3 | 0,20 |
М12 x 1,25 | 4 | 9 | 18 | 18 |
М12 x 1,5 | 4 | 9 | 18 | 18 |
М14 x 1,5 | 4 | 11 | 20 | 20 | 0,25 |
М14 x 1,5 | 6 | 11 | 20 | 20 |
М16 x 1 | 8 | 13 | 22 | 22 | 0,30 |
М16 x 1,5 | 6 | 13 | 22 | 22 |
М18 x 1 | 8 | 15 | 24 | 24 | 17 | 13 | 15 | 0,38 |
М18 x 1,5 | 8 | 15 | 24 | 24 |
М20 x 1,5 | 10 | 15 | 26 | 26 | 3-Пр3 | 0,48 |
М22 x 1,5 | 12 | 19 | 28 | 28 | 0,58 |
М24 x 1,5 | 14 | 20 | 30 | 30 | 18 | 14 | 16 | 0,68 |
М27 x 1,5 | 16 | 22 | 33 | 33 | 19 | 15 | 17 | 0,88 |
М27 x 2 | 16 | 22 | 33 | 33 | 0,88 |
М30 x 1,5 | 18 | 24 | 36 | 36 | 0,96 |
М30 x 2 | 18 | 24 | 36 | 36 | 0,96 |
М33 x 1,5 | 22 | 28 | 39 | 39 | 21 | 16 | 19 | 1,22 |
М33 x 2 | 22 | 28 | 39 | 39 | 1,22 |
М36 x 1,5 | 25 | 32 | 42 | 42 | 1,35 |
М36 x 2 | 25 | 32 | 42 | 42 | 1,35 |
М39 x 1,5 | 28 | 35 | 45 | 45 | 1,51 |
М39 x 2 | 28 | 35 | 45 | 45 | 1,51 |
М42 x 1,5 | 30 | 38 | 48 | 48 | 5-Пр3 | 1,80 |
М42 x 2 | 30 | 38 | 48 | 48 | 1,80 |
М45 x 1,5 | 32 | 40 | 51 | 51 | 2,10 |
М48 x 1,5 | 36 | 44 | 54 | 54 | 2,35 |
М52 x 1,5 | 40 | 47 | 59 | 59 | 23 | 17 | 20 | 2,42 |
М52 x 2 | 40 | 47 | 59 | 59 | 2,42 |
М56 x 1,5 | 45 | 52 | 63 | 63 | 2,53 |
М60 x 1,5 | 48 | 55 | 67 | 67 | 3,00 |
М60 x 2 |
М64 x 1,5 | 50 | 59 | 71 | 71 | 3,58 |
М68 x 1,5 | 55 | 63 | 75 | 75 | 3,90 |
М68 x 2 |
М72 x 1,5 | 60 | 67 | 79 | 79 | 4,1 |
М72 x 2 |
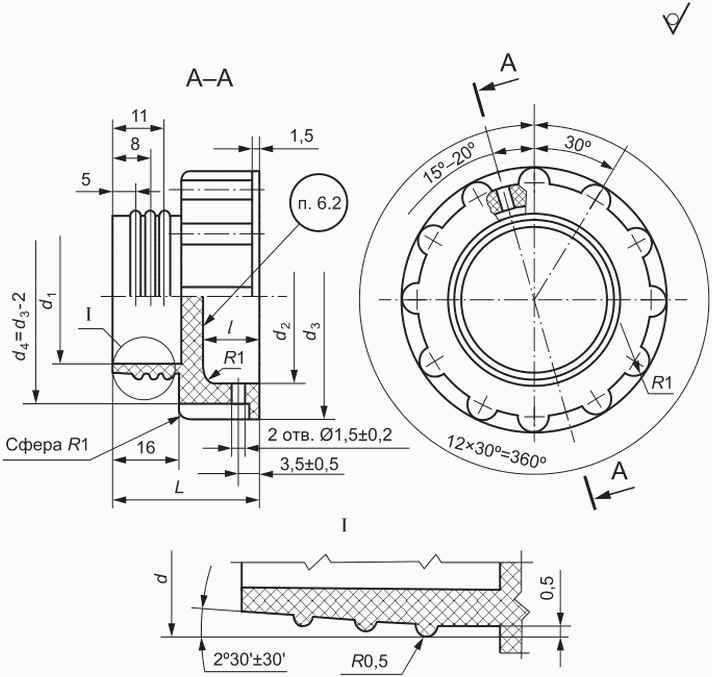
Рисунок 2
Размеры в миллиметрах
Обозначение резьбы d | Диаметр d1 | Диаметр d2 | Диаметр d4 | Общая длина L | Длина l | Длина l1 | Число выступов n | Плоский угол  , ° | Шрифт для маркировки | Масса 100 шт., кг, не более |
Предельные отклонения |
H14 | H14 | h14 | +/- 0,4 | +/- 0,4 | +/- 0,4 |
М10* | - | 8 | 14 | 17 | 8 | - | 8 | 45 | 1,6-Пр3 | 0,09 |
М10 x 1* | 0,16 |
М12 x 1* | 7 | 12 | 18 | 10 | 0,24 |
М12 x 1.25* |
М12 x 1.5* |
М14 x 1* | 8 | 14 | 20 | 0,30 |
М14 x 1,5 | |
М16 x 1 | 10 | 16 | 22 | 20 | 10 | 12 | | | 2,5-Пр3 | 0,39 |
М16 x 1,5 |
М18 x 1 | 12 | 18 | 24 | 0,45 |
М18 x 1,5 |
М20 x 1 | 14 | 20 | 26 | 0,51 |
М20 x 1,5 |
М22 x 1 | 16 | 22 | 28 | 3-Пр3 | 0,60 |
М22 x 1,5 |
М24 x 1 | 18 | 24 | 30 | 0,65 |
М24 x 1,5 |
М27 x 1,5 | 21 | 27 | 33 | 0,75 |
М27 x 2 | 21 | 27 | 33 | 0,75 |
М30 x 1 | 24 | 30 | 38 | 1,00 |
М30 x 1,5 |
М30 x 2 |
М33 x 1,5 | 27 | 33 | 41 | | | | | | | 1,10 |
М33 x 2 |
М36 x 1 | 30 | 36 | 44 | 1,20 |
М36 x 1,5 |
М36 x 2 |
М39 x 1 | 33 | 39 | 47 | 1,50 |
М39 x 1,5 |
М39 x 2 |
М42 x 1,5 | 36 | 42 | 50 | 22 | 12 | 13 | 12 | 30 | 5-Пр3 | 1,70 |
М42 x 2 |
М45 x 1 | 38 | 45 | 53 | 2,00 |
М45 x 1,5 |
М4 x 2 |
М48 x 1,5 | 40 | 48 | 56 | 2,20 |
М48 x 2 |
М52 x 1,5 | 44 | 52 | 60 | 24 | 15 |
М52 x 2 | 2,50 |
М56 x 1,5 | 48 | 56 | 64 | 2,60 |
М56 x 2 |
М60 x 1,5 | 52 | 60 | 68 | 2,75 |
М60 x 2 |
М64 x 1,5 | 56 | 64 | 72 | 2,90 |
М64 x 2 |
М68 x 1,5 | 60 | 68 | 76 | | | | | | | 3,10 |
М72 x 1,5 | 64 | 72 | 80 | 3,50 |
М80 x 1,5 | 72 | 80 | 88 | 4,40 |
Знак "*" - маркировка только шага резьбы. |
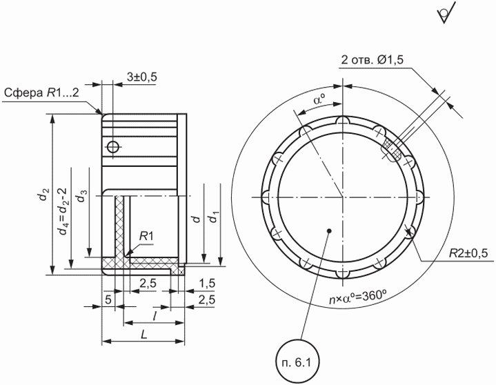
Рисунок 3
Размеры в миллиметрах
Обозначение резьбы d | Диаметр d1 | Диаметр d2 | Диаметр d4 | Диаметр d5 | Общая длина L | Длина l | Длина l1 | Длина l2 | Число выступов n | Плоский угол  , ° | Шрифт для маркировки | Масса 100 шт., кг, не более |
Предельные отклонения |
h14 | h14 | +/- 0,5 | H14 | +/- 0,4 | +/- 0,4 | +/- 0,4 | +/- 0,4 |
М8 x 1 | 2,6 | 14 | 14 | - | 18 | 4,0 | 5 | - | 3 | 120 | 2,5-Пр3 | 0,12 |
М10 x 1 | 3,6 | 16 | 16 | 2,5 | 19 | 4,5 | 4 | 0,16 |
М12 x 1 | 4,6 | 18 | 18 | 3,5 | 20 | 6,5 | 6 | 60 | 0,20 |
М14 x 1 | 6,6 | 20 | 20 | 5,5 | 3-Пр3 | 0,29 |
М16 x 1 | 8,8 | 22 | 22 | 7,5 | 21 | 5,0 | 0,36 |
М20 x 1,5 | 10,8 | 26 | 26 | 9,5 | 26 | 6,5 | 6 | 0,64 |
М22 x 1,5 | 12,8 | 28 | 28 | 11,5 | 0,75 |
М24 x 1,5 | 14,8 | 30 | 30 | 13,5 | 27 | 5-Пр3 | 0,86 |
М27 x 1,5 | 16,8 | 33 | 33 | 15,5 | 7,0 | 1,10 |
М30 x 1,5 | 18,5 | 36 | 36 | 17,0 | 28 | 8,0 | 9 | 40 | 1,30 |
М33 x 2 | 22,5 | 39 | 39 | 21,0 | 32 | 7,5 | 1,62 |
М39 x 2 | 28,5 | 45 | 45 | 27,0 | 33 | 7,5 | 2,10 |
М42 x 2 | 29,5 | 48 | 48 | 28,0 | 34 | 9,0 | 5 | 2,40 |
М45 x 2 | 30,5 | 51 | 51 | 29,0 | 36 | 10,5 | 8 | 2,70 |
М48 x 2 | 35,8 | 54 | 54 | 34,0 | 37 | 9,0 | 12 | 30 | 3,20 |
М56 x 2 | 43,6 | 62 | 62 | 41,0 | 40 | 10,0 | 4,60 |
М60 x 1,5 | 47,6 | 66 | 66 | 45,0 | 41 | 11,0 | 5,60 |
М68 x 1,5 | 51,5 | 74 | 74 | 49,0 | 43 | 12 | 7,20 |
М68 x 2 | 15 | 24 |
М72 x 1,5 | 55,6 | 78 | 78 | 53 | 12 | 30 | 7,85 |
М72 x 2 | 15 | 24 |
Исполнение 1
Рисунок 4
Исполнение 2
Рисунок 5
Рисунок 6
Размеры в миллиметрах
Исполнение | Диаметр пробки d | Диаметр d1 | Диаметр d2 | Диаметр d3 | Общая длина L | Длина l | Шрифт для маркировки | Масса 100 шт., кг, не более |
Предельные отклонения |
h14 | H14 | H14 | h14 | +/- 0,4 | +/- 0,4 |
1 | 4 | - | 11 | 17 | 24 | 5 | 2,5-Пр3 | 0,22 |
1 | 6 | - | 13 | 19 | 0,23 |
2 | 8 | 5,5 | 15 | 21 | 0,24 |
2 | 10 | 7,5 | 17 | 23 | 0,25 |
3 | 12 | 9,5 | 18 | 27 | 27 | 8 | 0,26 |
3 | 14 | 11 | 20 | 29 | 0,27 |
3 | 16 | 13 | 22 | 31 | 3-Пр3 | 0,28 |
3 | 18 | 15 | 24 | 33 | 0,30 |
3 | 20 | 17 | 26 | 35 | 0,33 |
3 | 22 | 19 | 29 | 38 | 0,38 |
3 | 23* | 20 | 30 | 40 | 32 | 12 | 0,41 |
3 | 24 | 21 | 34 | 43 | 0,43 |
3 | 25 | 22 | 34 | 43 | 0,46 |
3 | 26 | 23 | 35 | 45 | 0,49 |
3 | 28 | 25 | 38 | 47 | 0,54 |
3 | 30 | 27 | 0,59 |
3 | 32 | 28 | 40 | 52 | 5-Пр3 | 0,64 |
3 | 35 | 31 | 43 | 55 | 0,75 |
3 | 40 | 36 | 48 | 60 | 0,90 |
3 | 45 | 41 | 53 | 65 | 1,06 |
3 | 48* | 44 | 56 | 68 | 1,22 |
3 | 50 | 46 | 58 | 70 | 1,38 |
Пробки размеров, отмеченных знаком "*", по возможности не применять. |
Рисунок 7
Размеры в миллиметрах
Обозначение резьбы d | Диаметр D h14 | Общая длина L +/- 0,4 | Длина l +/- 0,4 | Высота b H14 | Ширина b1 H14 | Шрифт для маркировки | Масса 100 шт., кг, не более |
М3 | 5 | 8 | 6 | 1,2 | 0,8 | 1-Пр3 | 0,05 |
М4 | 7 | 10 | 8 | 1,5 | 1,0 | 0,09 |
М5 | 8 | 10 | 8 | 1,5 | 1,6 | 1,6-Пр3 | 0,14 |
М6 | 9 | 12 | 7 | 2,0 | 2,0 | 0,23 |
М8x1 | 11 | 12 | 9 | 2,5 | 2,5 | 0,28 |
Пример условного обозначения пробки типов 1, 2, 3, 5:
То же с левой резьбой:
Пробка П1 - М20x1,5LH - K - 1 - ГОСТ Р
Пример условного обозначения пробки типа 4 исполнения 1:
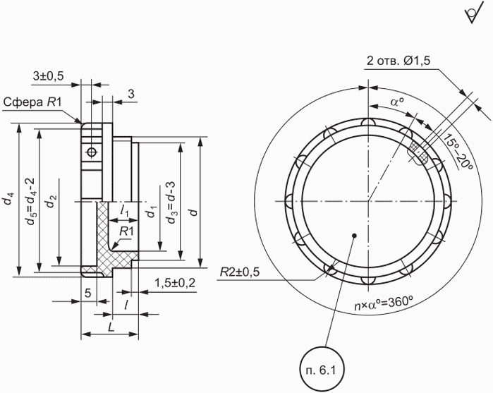
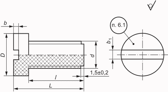
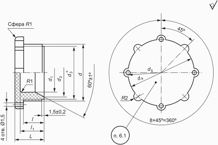
3.4 Крышки следует изготавливать двух типов.
3.5 Конструкция и размеры крышек должны соответствовать:
- типа 2 -
рисунок 9 и
таблица 7. Крышки типа 2 устанавливаются за счет упругой деформации.
Рисунок 8
Размеры в миллиметрах
Обозначение резьбы d | Диаметр d1 | Диаметр d2 | Диаметр d3 | Общая длина L | Длина l | Число выступов n | Плоский угол  , ° | Шрифт для маркировки | Масса 100 шт., кг, не более |
Предельные отклонения |
H14 | h14 | H14 | +/- 0,4 | +/- 0,4 |
М8 x 1* | 9 | 14 | 8 | 20 | 12 | 8 | 45 | 1,6-Пр3 | 0,18 |
М10 x 1* | 11 | 16 | 10 | 0,12 |
М10 x 1,5 |
М12 x 1* | 13 | 18 | 12 | 2,5-Пр3 | 0,18 |
М12 x 1,25* | 0,18 |
М12 x 1,5* |
М14 x 1 | 15 | 20 | 14 | 0,24 |
М14 x 1,5 | 0,24 |
М16 x 1 | 17 | 22 | 16 | 23 | 15 | 0,28 |
М16 x 1,5 | 0,28 |
М18 x 1 | 19 | 24 | 18 | 23 | 15 | 0,31 |
М18 x 1,5 |
М20 x 1 | 21 | 26 | 20 | 26 | 18 | 0,35 |
М20 x 1,5 | 0,51 |
М22 x 1; М22 x 1,5 | 23 | 28 | 22 | 26 | 18 | 8 | 45 | 3-Пр3 | 0,57 |
М24 x 1,5 | 25 | 30 | 24 | 30 | 0,61 |
М27 x 1,5 | 28 | 33 | 27 | 20 | 0,72 |
М30 x 1,5 | 31 | 38 | 30 | 1,15 |
М33 x 1,5 | 34 | 41 | 33 | 32 | 24 | 12 | 30 | 1,40 |
М33 x 2 |
М36 x 1,5 | 37 | 44 | 36 | 34 | 26 | 1,50 |
М36 x 2 |
М39 x 1,5 | 40 | 47 | 39 | 36 | 28 | 1,60 |
М39 x 2 |
М42 x 1,5 | 43 | 50 | 42 | 38 | 5-Пр3 | 1,70 |
М42 x 2 |
М45 x 1,5 | 46 | 53 | 45 | 1,80 |
М48 x 1,5 | 49 | 56 | 48 | 1,90 |
М48 x 2 |
М52 x 1,5 | 53 | 60 | 52 | 2,30 |
М52 x 2 |
М56 x 1,5 | 57 | 64 | 56 | 2,50 |
М60 x 1,5 | 61 | 68 | 60 | 2,80 |
М64 x 1,5 | 65 | 72 | 64 | 3,2 |
М68 x 1,5 | 69 | 73 | 68 | 3,6 |
М68 x 2 |
М72 x 1,5; М72 x 2 | 73 | 79 | 72 | 4,1 |
Знак "*" - маркировка только шага резьбы. |
Рисунок 9
Размеры в миллиметрах
Диаметр D | Диаметр D1 | Диаметр крышки d | Диаметр d1 | Диаметр d2 | | Число выступов n | Плоский угол  | Шрифт для маркировки | Масса 100 шт., кг, не более |
Предельные отклонения |
h14 | +/- 0,5 | H12 | h14 | H14 |
18 | 18 | 11 | 14 | 13 | 12 | 8 | 45 | 2,5-Пр3 | 0,275 |
19 | 19 | 12 | 15 | 14 | 13 | 0,278 |
20 | 20 | 13 | 16 | 15 | 14 | 0,28 |
21 | 21 | 14 | 17 | 16 | 15 | 0,292 |
22 | 22 | 15 | 18 | 17 | 16 | 0,30 |
23 | 23 | 16 | 19 | 18 | 17 | 0,31 |
24 | 24 | 17 | 20 | 19 | 18 | 0,33 |
25 | 25 | 18 | 21 | 20 | 19 | 8 | 45 | 3-Пр3 | 0,36 |
27 | 27 | 20 | 23 | 22 | 21 | 0,41 |
29 | 29 | 22 | 25 | 24 | 23 | 0,46 |
31 | 31 | 24 | 27 | 26 | 25 | 0,52 |
33 | 33 | 26 | 29 | 28 | 27 | 0,57 |
35 | 35 | 28 | 31 | 30 | 29 | 0,64 |
37,5 | 37,5 | 29,5 | 33,5 | 32 | 31 | 0,70 |
38,5 | 38,5 | 30,5 | 34,5 | 33 | 32 | 0,73 |
39,5 | 39,5 | 31,5 | 35,5 | 34 | 33 | 8 | 45 | 3-Пр3 | 0,75 |
41,5 | 41,5 | 33,5 | 37,5 | 36 | 35 | 0,82 |
43,5 | 43,5 | 35,5 | 39,5 | 38 | 37 | 0,89 |
44,5 | 44,5 | 36,5 | 40,5 | 39 | 38 | 0,93 |
45,5 | 45,5 | 37,5 | 41,5 | 40 | 39 | 0,96 |
47 | 47 | 39 | 43 | 41 | 41 | 12 | 30 | 1,05 |
48 | 48 | 40 | 44 | 42 | 42 | 5-Пр3 | 1,09 |
49 | 49 | 41 | 45 | 43 | 43 | 1,12 |
50 | 50 | 42 | 46 | 44 | 44 | 1,16 |
53 | 53 | 45 | 49 | 47 | 47 | 1,29 |
55 | 55 | 47 | 51 | 49 | 49 | 1,38 |
58 | 58 | 50 | 54 | 52 | 52 | 1,47 |
60 | 60 | 52 | 56 | 54 | 54 | 1,56 |
63 | 63 | 55 | 59 | 57 | 57 | 1,65 |
65 | 65 | 57 | 61 | 59 | 59 | 1,71 |
68 | 68 | 60 | 64 | 62 | 62 | 1,81 |
<*> dc - диаметр сопрягаемой детали. |
Пример условного обозначения крышек типа 1:
То же с левой резьбой:
Крышка К1 - М20x1,5LH - K - 1 - ГОСТ Р
Пример условного обозначения крышек типа 2:
4.1 Транспортировочные заглушки следует изготавливать в соответствии с требованиями настоящего стандарта по технической документации, утвержденной в установленном порядке.
4.2 Материалы для изготовления транспортировочных заглушек (пробок и крышек) приведены в
таблице 8.
Наименование изделия | Материал |
Наименование | Цвет | Условное обозначение |
Пробки типов 1, 2, 3, 4, 5. Крышки типов 1, 2 | | Красный - К (рецептура 134, 135, 139, 155); желтый - Ж (рецептура 328, 329); белый - Б (рецептура 001, 002) | 1 |
| 2 |
Пробки типов 1, 2, 3, 5. Крышки типов 1 | Полиамид марки ПА610 | - | 3 |
Полиамид марки ПА66/6-4 | 4 |
Пробки типов 1, 2, 3, 5. Крышки типов 1 | Ударопрочный полистирол марки УПМ-0612Л | - | 5 |
Пробки типов 1, 2, 3, 4, 5. Крышки типов 1, 2 | | Красный - К (рецептура 101, 114); белый - Б (рецептура 001, 002) | 6 |
Примечание - Допускается транспортировочные заглушки изготовлять из полиэтилена марок 158, 107 (с добавками и без добавок) красного цвета (рецептура 134, 135, 139, 155), желтого цвета (рецептура 328, 329), белого цвета (рецептура 001, 002) и неокрашенного 1-го сорта по ГОСТ 16337. |
4.3 Транспортировочные заглушки красного цвета следует применять при хранении и транспортировании готовых изделий, а желтого или белого - при внутри- и межцеховом транспортировании сборочных единиц в технологическом процессе изготовления.
Транспортировочные заглушки должны быть работоспособны в диапазоне температур от 213 К до 333 К (от минус 60 °C до плюс 60 °C).
4.4 Размеры и шероховатость поверхности должны быть обеспечены пресс-формой.
4.5 Шероховатость рабочей поверхности Ra должна быть не более 3,2 мкм.
4.6 Шероховатость рабочей поверхности Ra после механической обработки для удаления литников и грата должна быть не более 12,5 мкм.
4.8 Линейные уклоны должны находиться в поле допуска на соответствующие размеры.
4.9 Неуказанные скругления наружных и внутренних углов должны быть не более 0,5 мм.
4.10 Допускается механическая обработка кантовочных отверстий диаметром 1,5 мм при обеспечении шероховатости рабочей поверхности Ra не более 6,3 мкм.
4.11 Поверхность транспортировочных заглушек должна быть гладкой, без трещин, вздутий, пористости, недопрессовки и посторонних механических включений. На поверхности деталей допускаются холодный стык, разводы, неравномерный глянец.
4.12 Резьба - по
ГОСТ 11709. Поля допусков должны соответствовать: для наружных резьб - 8g, для внутренних - 7H.
4.13 Резьба должна быть полной и чистой, без заусенцев, срезанных гребешков и вмятин.
4.14 При изготовлении резьбы в упор величину недореза резьбы следует выполнять не более 1,2 мм.
4.15 Не допускаются:
- сколы в местах зачистки литников и грата размером более 1 x 1 x 0,5 мм;
- сколы резьбы, превышающие 0,2 длины витка на заходной части и более 0,05 длины на последующих витках;
- сколы от сверления, получаемые при выходе сверла в радиальном направлении, размером более 0,2 мм;
- срывы маркировочных знаков, затрудняющие их чтение;
- выпуклость или вогнутость дна транспортировочных заглушек более 1 мм;
- отпечатки от трещин, царапин и незначительных забоин на пресс-форме, выходящие за пределы допуска на размер детали;
- грат на рабочих поверхностях и резьбе.
5.1 Для контроля соответствия транспортировочных заглушек требованиям настоящего стандарта организация-изготовитель должна проводить приемо-сдаточные испытания.
5.2 Транспортировочные заглушки должны быть предъявлены для приемки партиями. Партия должна состоять из транспортировочных заглушек одного обозначения, изготовленных из одной партии материала. Размер партии должен быть установлен по соглашению между изготовителем и потребителем.
5.3 При проведении приемо-сдаточных испытаний транспортировочных заглушек организацией-изготовителем должны контролироваться внешний вид и присоединительные размеры.
Габаритные размеры, не контролируемые при приемо-сдаточных испытаниях, должны соответствовать рисунку и обеспечиваться пресс-формами.
5.4 Внешний вид каждой транспортировочной заглушки следует контролировать визуально.
5.5 Для контроля размеров отбирают 1% транспортировочных заглушек от партии, но не менее 5 шт.
5.6 Резьба контролируется проходной стороной калибра.
5.7 Если при контроле получены неудовлетворительные результаты как минимум по одному из показателей, по этому показателю проводят повторную проверку на удвоенном количестве транспортировочных заглушек, взятых из той же партии. Если при повторном контроле результаты неудовлетворительные, то всю партию бракуют.
5.8 Контроль транспортировочных заглушек осуществляют после выдержки в течение 12 ч с момента изготовления при следующих климатических условиях:
- температура воздуха - от 288 К до 308 К (от плюс 15 °C до плюс 35 °C);
- относительная влажность - от 45% до 80%;
- атмосферное давление - от 8,4·104 до 1,07·105 Па.
6 Маркировка, упаковка, транспортирование и хранение
6.1 На пробках типов 1 - 3, 5 и крышках типа 1 следует маркировать обозначение резьбы литьем.
6.2 На пробках типа 4 размер d и крышках типа 2 размер dc следует маркировать литьем.
6.4 Следует клеймить "K" на бирке.
6.5 Транспортировочные заглушки должны быть уложены в деревянные ящики по
ГОСТ 2991, картонные ящики по
ГОСТ 13841,
ГОСТ 22852, выложенные внутри влагонепроницаемым материалом. Упаковка должна быть плотной, не допускающей перемещения транспортировочных заглушек внутри ящика при транспортировании. Масса брутто - не более 25 кг.
6.6 В каждый ящик следует упаковывать транспортировочные заглушки только одного обозначения одной или нескольких партий.
6.7 В каждый ящик должна быть вложена этикетка, которая должна содержать:
- наименование или товарный знак организации-изготовителя;
- номер партии;
- обозначение транспортировочной заглушки;
- штамп технического контроля;
- количество транспортировочных заглушек;
- дату изготовления.
6.8 Маркировку ящика следует выполнять по
ГОСТ 14192 несмываемой краской.
6.9 Доставка транспортировочных заглушек может осуществляться в упакованном виде любым видом транспорта.
6.10 Транспортировочные заглушки следует хранить в упакованном виде в условиях, предусмотренных для группы С по
ГОСТ 15150.
Изготовитель должен гарантировать соответствие транспортировочных заглушек требованиям настоящего стандарта при соблюдении потребителем условий эксплуатации, хранения и транспортирования, установленных настоящим стандартом.
Гарантийный срок - 10 лет со дня приемки отделом технического контроля изготовителя.
(справочное)
ПРИМЕРЫ ПРИМЕНЕНИЯ ПРОБОК И КРЫШЕК
А.1 Примеры применения пробок типов 1 - 4 приведены соответственно на
рисунках А.1 -
А.4.
1 - пробка; 2 - проволока диаметром от 0,5 до 0,6 мм;
3 - пломба; 4 - соединительная часть трубопровода
1 - пробка; 2 - соединительная часть трубопровода
Рисунок А.2
1 - пробка; 2 - проволока диаметром от 0,5 до 0,6 мм;
3 - пломба; 4 - соединительная часть трубопровода
Рисунок А.3
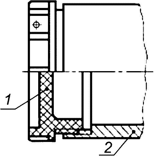
1 - пробка; 2 - соединительная часть трубопровода
А.2 Примеры применения крышек типов 1, 2 приведены соответственно на
рисунках А.5 и
А.6.
1 - крышка; 2 - соединительная часть трубопровода
1 - крышка; 2 - соединительная часть трубопровода
УДК 621.646.986:006.354 | |
Ключевые слова: ракетно-космическая техника, транспортировочная заглушка, пробка, крышка, общие технические условия |