Главная // Актуальные документы // ГОСТ Р (Государственный стандарт)СПРАВКА
Источник публикации
В данном виде документ опубликован не был.
Первоначальный текст документа опубликован в издании
М.: Стандартинформ, 2019.
Информацию о публикации документов, создающих данную редакцию, см. в справке к этим документам.
Примечание к документу
Название документа
"ГОСТ Р 55660-2013. Национальный стандарт Российской Федерации. Топливо твердое минеральное. Определение выхода летучих веществ"
(утв. и введен в действие Приказом Росстандарта от 28.10.2013 N 1230-ст)
(ред. от 14.07.2021)
"ГОСТ Р 55660-2013. Национальный стандарт Российской Федерации. Топливо твердое минеральное. Определение выхода летучих веществ"
(утв. и введен в действие Приказом Росстандарта от 28.10.2013 N 1230-ст)
(ред. от 14.07.2021)
Утвержден и введен в действие
агентства по техническому
регулированию и метрологии
от 28 октября 2013 г. N 1230-ст
НАЦИОНАЛЬНЫЙ СТАНДАРТ РОССИЙСКОЙ ФЕДЕРАЦИИ
ТОПЛИВО ТВЕРДОЕ МИНЕРАЛЬНОЕ
ОПРЕДЕЛЕНИЕ ВЫХОДА ЛЕТУЧИХ ВЕЩЕСТВ
Solid mineral fuel. Determination of volatile matter
(ISO 562:2010, Hard coal and coke
- Determination of volatile matter, MOD)
(ISO 5071-1:2013, Brown coals and lignites
- Determination of the volatile matter
in the analysis sample - Part 1: Two furnace method, MOD)
ГОСТ Р 55660-2013
| | Список изменяющих документов Росстандарта от 14.07.2021 N 633-ст) | |
Дата введения
1 января 2015 года
1 ПОДГОТОВЛЕН Федеральным государственным унитарным предприятием "Всероссийский научно-исследовательский центр стандартизации, информации и сертификации сырья, материалов и веществ" (ФГУП "ВНИЦСМВ") на основе собственного перевода на русский язык англоязычной версии стандартов, указанных в
пункте 4
2 ВНЕСЕН Техническим комитетом по стандартизации Российской Федерации ТК 179 "Твердое минеральное топливо"
3 УТВЕРЖДЕН И ВВЕДЕН В ДЕЙСТВИЕ
Приказом Федерального агентства по техническому регулированию и метрологии от 28 октября 2013 г. N 1230-ст
4 Настоящий стандарт является модифицированным по отношению к международным стандартам ИСО 562:2010 "Уголь каменный и кокс. Определение выхода летучих веществ" (ISO 562:2010 "Hard coal and coke - Determination of volatile matter", MOD) и ИСО 5071-1:2013 "Угли бурые и лигниты. Определение выхода летучих веществ в аналитической пробе. Часть 1. Метод с двумя печами" (ISO 5071-1:2013 "Brown coals and lignites - Determination of the volatile matter in the analysis sample - Part 1: Two furnace method", MOD).
Дополнительные положения, включенные в текст стандарта для учета потребностей национальной экономики, выделены курсивом и изложены во введении.
Наименование настоящего стандарта изменено относительно наименования указанного международного стандарта для приведения в соответствие с ГОСТ Р 1.5-2012
(пункт 3.5).
Сведения о соответствии ссылочных национальных и межгосударственных стандартов международным стандартам, использованным в качестве ссылочных в примененных международных стандартах, приведены в дополнительном
приложении ДА
5 ВВЕДЕН ВПЕРВЫЕ
6 ПЕРЕИЗДАНИЕ. Октябрь 2019 г.
Правила применения настоящего стандарта установлены в статье 26 Федерального закона от 29 июня 2015 г. N 162-ФЗ "О стандартизации в Российской Федерации". Информация об изменениях к настоящему стандарту публикуется в ежегодном (по состоянию на 1 января текущего года) информационном указателе "Национальные стандарты", а официальный текст изменений и поправок - в ежемесячном информационном указателе "Национальные стандарты". В случае пересмотра (замены) или отмены настоящего стандарта соответствующее уведомление будет опубликовано в ближайшем выпуске ежемесячного информационного указателя "Национальные стандарты". Соответствующая информация, уведомление и тексты размещаются также в информационной системе общего пользования -
на официальном сайте Федерального агентства по техническому регулированию и метрологии в сети Интернет (www.gost.ru)
Выход летучих веществ определяют как потерю массы навески твердого топлива за вычетом влаги при нагревании без доступа воздуха в стандартных условиях.
Результаты испытания являются относительными, поэтому для достижения воспроизводимости необходимо соблюдать постоянство основных параметров: скорости нагрева, конечной температуры и продолжительности нагрева. Для уменьшения окисления навески топлива при нагревании доступ кислорода к пробе должен быть ограничен. Это достигается применением тиглей с пришлифованными или притертыми крышками, допускающими свободное удаление летучих веществ, но препятствующими проникновению кислорода.
Аппаратура и метод испытания позволяют проводить в муфельной печи одно или несколько определений одновременно.
При испытании бурых углей и лигнитов возможно бурное выделение летучих веществ, сопровождающееся выбросом частиц твердого вещества из тигля, что искажает результат определения. Для снижения до минимума вероятности уноса частиц из тигля в процессе нагрева предусмотрены специальные способы: брикетирование навески и/или нагрев в двух печах.
Выход летучих веществ является одним из классификационных параметров каменных углей.
При определении выхода летучих веществ суммарно учитываются потери массы за счет разложения органической и минеральной масс угля. При значительной зольности угля образующиеся продукты деструкции минеральной массы искажают величину выхода летучих веществ, поэтому если испытание проводят с целью классификации углей, зольность их не должна превышать 10%. Пробы с большей зольностью предварительно обогащают.
На основании значений выхода летучих веществ и характеристики нелетучего остатка можно ориентировочно оценить спекаемость углей, а также поведение углей в процессах технологической переработки и сжигания.
В настоящий стандарт включены дополнительные по отношению к ИСО 562 и ИСО 5071-1 требования, отражающие потребности национальной экономики, а именно:
- в области распространения конкретизированы виды твердого минерального топлива;
- добавлен
раздел 3 "Термины и определения";
- приведены характеристики нелетучего остатка
(раздел 9);
- приведена методика приготовления проб углей для целей классификации углей
(подраздел 7.2);
| | ИС МЕГАНОРМ: примечание. В официальном тексте документа, видимо, допущена опечатка: пункт 8.5.1 отсутствует, возможно, имеется в виду пункт 8.4.2. | |
- из текста стандарта исключен способ с предварительным высушиванием пробы в тигле (ИСО 5071-1).
Настоящий стандарт распространяется на лигниты, бурые и каменные угли, антрациты, горючие сланцы, продукты обогащения, брикеты и коксы (далее - топливо) и устанавливает гравиметрические методы определения выхода летучих веществ.
Общий принцип определения выхода летучих веществ установлен для всех видов твердого минерального топлива, а условия определения различны для группы каменных углей (каменные угли, антрациты, горючие сланцы, каменноугольные брикеты, продукты обогащения) и коксов и для группы бурых углей (лигниты, бурые угли, буроугольные брикеты, продукты переработки).
Примечание - Для группы бурых углей рекомендованы два альтернативных способа предотвращения выброса твердых частиц из тигля: брикетирование навески и/или нагрев в двух печах.
В настоящем стандарте использованы ссылки на следующие стандарты:
ГОСТ Р 50342 (МЭК 584-2-82) Преобразователи термоэлектрические. Общие технические условия
(в ред.
Изменения N 1, утв. Приказом Росстандарта от 14.07.2021 N 633-ст)
Ссылка исключена с 01.09.2021. -
Изменение N 1, утв. Приказом Росстандарта от 14.07.2021 N 633-ст.
--------------------------------
<1> Сноска исключена с 01.09.2021. -
Изменение N 1, утв. Приказом Росстандарта от 14.07.2021 N 633-ст.
ГОСТ Р 53228 Весы неавтоматического действия. Часть 1. Метрологические и технические требования. Испытания
(в ред.
Изменения N 1, утв. Приказом Росстандарта от 14.07.2021 N 633-ст)
| | ИС МЕГАНОРМ: примечание. Взамен ГОСТ 1186-87 Приказом Ростехрегулирования от 26.05.2015 N 421-ст с 01.04.2016 введен в действие ГОСТ 1186-2014. | |
ГОСТ 1186 Угли каменные. Метод определения пластометрических показателей
ГОСТ 4790 Топливо твердое. Определение и представление показателей фракционного анализа. Общие требования к аппаратуре и методике
(в ред.
Изменения N 1, утв. Приказом Росстандарта от 14.07.2021 N 633-ст)
ГОСТ 5955 Реактивы. Бензол. Технические условия
ГОСТ 9147 Посуда и оборудование лабораторные фарфоровые. Технические условия
ГОСТ 10742 Угли бурые, каменные, антрацит, горючие сланцы и угольные брикеты. Методы отбора и подготовки проб для лабораторных испытаний
ГОСТ 11014 Угли бурые, каменные, антрацит и горючие сланцы. Ускоренные методы определения влаги
ГОСТ 13455 (ИСО 925-97) Топливо твердое минеральное. Методы определения диоксида углерода карбонатов
(в ред.
Изменения N 1, утв. Приказом Росстандарта от 14.07.2021 N 633-ст)
ГОСТ 14198 Циклогексан технический. Технические условия
(в ред.
Изменения N 1, утв. Приказом Росстандарта от 14.07.2021 N 633-ст)
ГОСТ 23083 Кокс каменноугольный, пековый и термоантрацит. Методы отбора и подготовки проб для испытаний
ГОСТ 25336 Посуда и оборудование лабораторные стеклянные. Типы, основные параметры и размеры
ГОСТ 27313 Топливо твердое минеральное. Обозначение показателей качества и формулы пересчета результатов анализа на различные состояния топлива
(в ред.
Изменения N 1, утв. Приказом Росстандарта от 14.07.2021 N 633-ст)
ГОСТ 27589 (ISO 687:2010) Кокс. Метод определения влаги в аналитической пробе
(в ред.
Изменения N 1, утв. Приказом Росстандарта от 14.07.2021 N 633-ст)
ГОСТ 33503 (ISO 11722:2013, ISO 5068-2:2007) Топливо твердое минеральное. Методы определения влаги в аналитической пробе
(ссылка введена
Изменением N 1, утв. Приказом Росстандарта от 14.07.2021 N 633-ст)
Примечание - При пользовании настоящим стандартом целесообразно проверить действие ссылочных стандартов и классификаторов на официальном интернет-сайте Межгосударственного совета по стандартизации, метрологии и сертификации (www.easc.by) или по указателям национальных стандартов, издаваемым в государствах, указанных в предисловии, или на официальных сайтах соответствующих национальных органов по стандартизации. Если на документ дана недатированная ссылка, то следует использовать документ, действующий на текущий момент, с учетом всех внесенных в него изменений. Если заменен ссылочный документ, на который дана датированная ссылка, то следует использовать указанную версию этого документа. Если после принятия настоящего стандарта в ссылочный документ, на который дана датированная ссылка, внесено изменение, затрагивающее положение, на которое дана ссылка, то это положение применяется без учета данного изменения. Если ссылочный документ отменен без замены, то положение, в котором дана ссылка на него, применяется в части, не затрагивающей эту ссылку.
В настоящем стандарте использованы термины и определения по ГОСТ 17070.
Обозначение показателей качества и индексов к ним - по ГОСТ 27313.
Навеску воздушно-сухой пробы твердого топлива нагревают без доступа воздуха при температуре (900 +/- 5) °C в течение 7 мин. Выход летучих веществ в процентах рассчитывают по потере массы навески пробы за вычетом влаги.
При испытании топлива группы каменных углей и коксов (см.
раздел 1) установлены следующие условия определения: проба в виде порошка и нагрев в одной печи при (900 +/- 5) °C в течение 7 мин.
При испытании топлива группы бурых углей (см.
раздел 1) установлены следующие альтернативные условия определения:
а) проба в виде порошка и последовательный нагрев в двух печах: при (400 +/- 10) °C в течение 7 мин и при (900 +/- 5) °C в течение 7 мин.
б) брикетированная навеска пробы и нагрев в одной печи при (900 +/- 5) °C в течение 7 мин.
Если при испытании пробы в условиях а) и б) не удается избежать выброса твердых частиц, то рекомендуют проводить определение выхода летучих веществ в следующих условиях: брикетирование навески и последовательный нагрев в двух печах: при (400 +/- 10) °C в течение 7 мин и при (900 +/- 5) °C в течение 7 мин.
5.1 Циклогексан
по ГОСТ 14198.
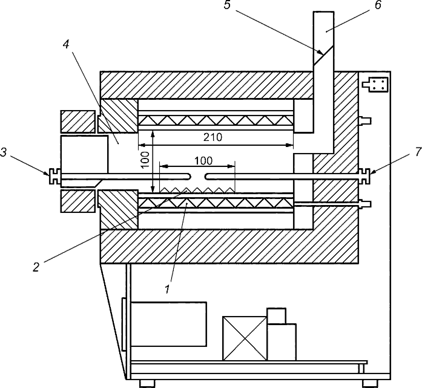
6.1 Муфельная печь
Используют муфельную печь с электронагревом и терморегулятором, обеспечивающим в рабочей зоне печи постоянную температуру (900 +/- 5) °C. Для испытаний топлив, относящихся к группе бурых углей, дополнительно используют вторую муфельную печь аналогичной конструкции, в рабочей зоне которой поддерживают постоянную температуру (400 +/- 10) °C.
Конструктивно муфельная печь может быть с закрытой задней стенкой или иметь на задней стенке отводную трубку диаметром 25 мм и длиной 150 мм
(рисунок 1).
Примечание. В муфельных печах передняя дверца должна быть плотно закрыта. Отводная трубка незначительно выступает над печью и должна быть снабжена дроссельным клапаном для ограничения потока воздуха через муфельную печь.
Размеры в миллиметрах
1 - нагревательная система; 2 - зона постоянной температуры;
3 - контрольная (не зачехленная) термопара; 4 - камера
муфельной печи (ширина 200 мм); 5 - дроссельный клапан;
6 - отводная трубка; 7 - зачехленная термопара
Рисунок 1 - Муфельная печь (пример)
Тепловая мощность муфельной печи должна быть такой, чтобы начальная температура, равная 900 °C или 400 °C, восстанавливалась после внесения в печь холодной подставки с тиглями не более чем за 4 мин. Температуру измеряют с помощью термопары
(6.2).
В муфельной печи обычной конструкции
(рисунок 1) можно проводить одновременно серию определений, используя подставку для нескольких тиглей.
В этом случае зона постоянной температуры должна быть не менее 160 x 100 мм. Для единичного определения в одном тигле на индивидуальной подставке диаметр зоны с постоянной температурой составляет 40 мм.
Температуру 900 °C в печи следует поддерживать как можно точнее. Допускаемое отклонение +/- 5 °C включает возможные ошибки измерения температуры и неравномерность ее распределения.
Преобразователь термоэлектрический для измерения температуры до 1000 °C по ГОСТ Р 50342 с измерительным устройством.
Температуру в печи измеряют с помощью не зачехленной термопары (контрольной) из проволоки толщиной не более 1 мм. Длина термопары должна быть достаточной, чтобы спай термопары, вставляемой в муфельную печь через переднюю или заднюю стенку, находился посередине между дном тигля, помещенного на подставку, и подом печи. Если используют подставку с несколькими тиглями, температуру проверяют под каждым тиглем. Допускается проверять температуру над тиглями на одном и том же уровне в рабочей зоне печи.
При необходимости в печи может постоянно находиться зачехленная термопара, причем ее спай помещают как можно ближе к центру зоны с постоянной температурой. Показания зачехленной термопары необходимо через короткие интервалы времени проверять по показаниям не зачехленной термопары, которую для этого вносят в печь. Зачехленная термопара обычно является составной частью измерителя - регулятора температуры, используемого в муфельной печи.
Примечание - Соотношение температура/электродвижущая сила спая термопары, используемой для измерения высоких температур, со временем постепенно изменяется.
Цилиндрический тигель с хорошо подогнанной крышкой изготавливают из плавленого кварцевого стекла. Масса тигля с крышкой составляет от 10 до 14 г, размеры указаны на
рисунке 2. Крышка должна плотно прилегать к тиглю, горизонтальный зазор между крышкой и тиглем не должен превышать 0,5 мм. Подобранную крышку пришлифовывают к тиглю, делая соприкасающиеся поверхности гладкими.
Примечание - Для проведения испытаний сильно вспучивающихся углей необходимо использовать более высокие тигли. Увеличение высоты тигля до 45 мм не оказывает влияния на результат определения, если сохраняется скорость восстановления температуры в печи.
Размеры в миллиметрах
Рисунок 2 - Кварцевый тигель с крышкой
Допускается использовать фарфоровые тигли N 3 высокой формы с крышками по ГОСТ 9147. Крышки должны быть подогнаны и тщательно притерты, причем притирку крышек к фарфоровым тиглям производят механическим вращением до образования желобка на внутренней поверхности крышки.
Тигли с подобранной и притертой крышкой должны быть одинаково маркированы, прокалены при температуре (900 +/- 5) °C до постоянной массы и помещены в эксикатор с осушающим веществом.
Подставка, на которой тигли помещают в муфельную печь, позволяет соблюдать установленную скорость нагрева.
Допускается применять следующие подставки:
а) для единичного определения - кольцо из термостойкой стальной проволоки
[рисунок 3, а)]с керамическим диском диаметром 25 мм и толщиной 2 мм, помещенным на внутренние выступы опор;
б) для проведения одновременно нескольких определений (два, четыре или шесть):
1) каркас из термостойкой стальной проволоки с керамическими пластинами толщиной 2 мм, на которые ставят тигли
[рисунок 3, б)];
2)
подставка из листовой жаропрочной стали, обычно на шесть тиглей (если позволяют размеры рабочей зоны) (рисунок 4).
Размеры в миллиметрах
а) для единичного определения
б) для нескольких определений
1 - три опоры, расположенные друг по отношению к другу
под 120°; 2 - кольцо; 3 - каркас; 4 - керамические пластины
Рисунок 3 - Подставки для тиглей
Размеры в миллиметрах
Рисунок 4 - Подставка для шести тиглей
6.5 Весы
Весы лабораторные
по ГОСТ Р 53228 с ценой деления шкалы 0,1 мг.
(в ред.
Изменения N 1, утв. Приказом Росстандарта от 14.07.2021 N 633-ст)
Пресс лабораторный ручной с диаметром матрицы не более 15 мм.
Используют эксикатор
по ГОСТ 25336 с осушающим веществом.
7.1 Проба топлива для определения выхода летучих веществ представляет собой аналитическую пробу, отобранную и приготовленную по
ГОСТ 10742 или ГОСТ 23083.
Аналитическая проба, измельченная до максимального размера частиц 212 мкм, должна находиться в воздушно-сухом состоянии, для чего ее раскладывают тонким слоем и выдерживают на воздухе при комнатной температуре в течение минимального времени, необходимого для достижения равновесия между влажностью топлива и атмосферы лаборатории.
Перед взятием навески пробу тщательно перемешивают не менее 1 мин, предпочтительно механическим способом.
(в ред.
Изменения N 1, утв. Приказом Росстандарта от 14.07.2021 N 633-ст)
| | ИС МЕГАНОРМ: примечание. Взамен ГОСТ 1186-87 Приказом Ростехрегулирования от 26.05.2015 N 421-ст с 01.04.2016 введен в действие ГОСТ 1186-2014. | |
7.2 Если определение выхода летучих веществ в каменных углях и антрацитах проводят с целью классификации, зольность их должна быть не более 10%. Если зольность пробы превышает 10%, пробу обогащают в органических или неорганических жидкостях в соответствии с ГОСТ 1186 и ГОСТ 4790.
Каменные угли обогащают в жидкостях плотностью от 1500 до 1600 кг/м3, а антрациты - в жидкостях плотностью 1800 кг/м3 (хлорид цинка). Если после обогащения проб каменных углей и антрацитов их зольность превышает 10%, определение выхода летучих веществ всплывшей фракции проводят при фактической зольности.
7.3 Брикетирование навески бурого угля
Навеску воздушно-сухой пробы бурого угля, приготовленной по 7.1, массой (1 +/- 0,1) г помещают в матрицу лабораторного пресса (6.6), накрывают сверху вкладышем, а затем вращением винта пресса или поворотом рукоятки опускают пуансон и сжимают уголь до образования брикета. Полученный брикет вынимают из пресса и до начала испытания хранят в бюксе.
8.1 Контроль за температурой в муфельных печах
В муфельных печах с помощью постоянно установленных зачехленных термопар устанавливают рабочие температуры (400 +/- 10) °C и (900 +/- 5) °C. Контролируют температуры в печах с помощью не зачехленных термопар.
В рабочие зоны муфельных печей помещают подставки, заполненные пустыми тиглями с крышками. Проверяют температуру под каждым тиглем на одной и той же высоте с помощью не зачехленной термопары. Измеренные значения температур должны находиться в пределах допустимых отклонений от температуры рабочей зоны. При проведении всех процедур в процессе испытания придерживаются выбранного положения подставки с тиглями в рабочей зоне печи.
Допускается помещать спай не зачехленной термопары на одной и той же высоте над тиглями в пределах зоны устойчивого нагрева.
Температуру в печи проверяют до начала определений. При рутинной ежедневной работе достаточно проводить подобный контроль ежемесячно.
Проверку скорости восстановления температуры в печи проводят аналогичным образом.
8.2 Подготовка к испытанию
Пустые тигли закрывают крышками
(6.3), устанавливают на подставку
(6.4), заполняя все гнезда, и помещают в зону устойчивой температуры муфельной печи, нагретой до (900 +/- 5) °C. Тигли выдерживают в закрытой печи в течение 7 мин.
Вынимают подставку с тиглями из печи, охлаждают на металлической пластине в течение 5 мин не снимая крышек, после чего тигли помещают в эксикатор
(6.7) и охлаждают до комнатной температуры вблизи весов.
После охлаждения пустые тигли с крышками взвешивают.
Процедура прокаливания пустых тиглей перед каждым их использованием для испытания не является обязательной. Достаточным условием для получения результатов испытаний в пределах допускаемых расхождений является хранение предварительно прокаленных тиглей в эксикаторе с осушающим веществом и уточнение массы тигля непосредственно перед помещением в него навески.
Во взвешенный тигель помещают навеску пробы, приготовленной в соответствии с
разделом 7, массой (1 +/- 0,01) г. Закрывают тигель крышкой и взвешивают. Все взвешивания проводят на весах с ценой деления шкалы 0,1 мг.
(в ред.
Изменения N 1, утв. Приказом Росстандарта от 14.07.2021 N 633-ст)
Навеску в виде порошка распределяют по дну тигля ровным слоем, слегка постукивая тиглем о чистую твердую поверхность.
При испытании кокса снимают крышку с тигля, добавляют к навеске 2 - 4 капли циклогексана
(5.1) и снова закрывают тигель крышкой.
Допускается вместо циклогексана использовать бензол (5.2).
Примечание - Добавление циклогексана или бензола препятствует окислению кокса.
8.3 Определение выхода летучих веществ в каменных углях и коксах
В муфельной печи устанавливают температуру (900 +/- 5) °C.
Тигли с навесками в виде порошка, закрытые крышками, помещают в гнезда холодной подставки. Если на подставке остаются свободные гнезда, в них помещают пустые тигли с крышками. Подставку с тиглями переносят в муфельную печь, закрывают дверцу печи и оставляют на 7 мин +/- 5 с.
Температура, понизившаяся при установке тиглей в печь, снова должна достичь (900 +/- 5) °C не более чем за 4 мин. В противном случае испытание повторяют.
Вынимают подставку с тиглями из печи и охлаждают на металлической пластине в течение 5 мин. После этого тигли, закрытые крышками, переносят в эксикатор и охлаждают до комнатной температуры вблизи весов.
Тигли с нелетучим остатком взвешивают.
После испытания из тиглей удаляют нелетучие остатки. Открытые тигли и крышки прокаливают в муфельной печи при температуре (900 +/- 5) °C, охлаждают, освобождают от зольного остатка и хранят в эксикаторе с осушающим веществом.
8.4 Определение выхода летучих веществ в бурых углях (альтернативные методы)
8.4.1 Определение из навески в виде порошка в двух печах
В одной муфельной печи устанавливают температуру (400 +/- 10) °C, а в другой - (900 +/- 5) °C.
Тигли с навесками в виде порошка закрывают крышками и помещают в гнезда холодной подставки. Если на подставке остаются свободные гнезда, в них помещают пустые тигли с крышками. Подставку с тиглями переносят в муфельную печь, нагретую до (400 +/- 10) °C, закрывают дверцу печи и оставляют на 7 мин +/- 5 с. Вынимают подставку и сразу помещают в муфельную печь, нагретую до (900 +/- 5) °C, закрывают дверцу печи и оставляют на следующие 7 мин +/- 5 с.
Температура, понижающаяся при установке тиглей в печи, снова должна достичь (400 +/- 10) °C и (900 +/- 5) °C не более чем за 4 мин. В противном случае испытание повторяют.
Вынимают подставку с тиглями из печи и охлаждают на металлической пластине в течение 5 мин. После этого тигли, закрытые крышками, переносят в эксикатор и охлаждают до комнатной температуры вблизи весов.
Тигли с нелетучим остатком взвешивают.
После испытания из тиглей удаляют нелетучие остатки. Открытые тигли и крышки прокаливают в муфельной печи при температуре (900 +/- 5) °C, охлаждают, освобождают от зольного остатка и хранят в эксикаторе с осушающим веществом.
8.4.2 Определение из брикетированной навески в одной печи
В муфельной печи устанавливают температуру (900 +/- 5) °C.
Во взвешенные тигли помещают брикетированные навески, приготовленные по 7.3. Тигли закрывают крышками и взвешивают. Закрытые тигли с брикетами помещают в гнезда холодной подставки, не оставляя пустых гнезд. Далее определение проводят по 8.3.
Примечания
1 При испытании некоторых бурых углей, лигнитов
и продуктов их переработки не удается избежать выброса твердых частиц из тигля ни при использовании метода нагрева навески в виде порошка в двух печах,
ни при использовании метода нагрева брикетированной навески в одной печи. В таких случаях воздушно-сухую пробу топлива брикетируют
по 7.3 и затем определяют выход летучих веществ методом нагрева в двух печах.
2 Выход летучих веществ определяют параллельно в двух навесках пробы. Навески одной и той же пробы не рекомендуется испытывать на одной подставке.
9 Характеристика нелетучего остатка
Нелетучие остатки, полученные после определения выхода летучих веществ углей, характеризуют в зависимости от внешнего вида и прочности следующим образом:
- порошкообразный;
- слипшийся - при легком нажиме пальцем рассыпается в порошок;
- слабоспекшийся - при легком нажиме пальцем раскалывается на отдельные кусочки;
- спекшийся, не сплавленный - для раскалывания на отдельные кусочки необходимо приложить усилие;
- сплавленный, не вспученный - плоская лепешка с серебристым металлическим блеском поверхности;
- сплавленный, вспученный - вспученный нелетучий остаток с серебристым металлическим блеском поверхности высотой менее 15 мм;
- сплавленный, сильно вспученный - вспученный нелетучий остаток с серебристым металлическим блеском поверхности высотой более 15 мм.
Выход летучих веществ из аналитической пробы испытуемого топлива

, выраженный в процентах, вычисляют по формуле

, (1)
где

- масса пустого тигля с крышкой, г;

- масса тигля с крышкой и навеской пробы до испытания, г;

- масса тигля с крышкой и нелетучим остатком после испытания, г;
(в ред.
Изменения N 1, утв. Приказом Росстандарта от 14.07.2021 N 633-ст)
Выход нелетучего остатка из аналитической пробы испытуемого топлива
, выраженный в процентах, вычисляют по формуле
(2)
или по формуле
. (3)
Если массовая доля диоксида углерода из карбонатов в пробе топлива составляет более 2%, выход летучих веществ с поправкой на диоксид углерода из карбонатов
, выраженный в процентах, вычисляют по формуле
, (4)
где
- массовая доля диоксида углерода из карбонатов в аналитической пробе, определяемая по ГОСТ 13455, %;
- массовая доля диоксида углерода из карбонатов в нелетучем остатке, определяемая по ГОСТ 13455, %.
Результаты испытания вычисляют с точностью до второго десятичного знака, а окончательный результат, представляющий собой среднее арифметическое результатов двух параллельных испытаний, округляют до первого десятичного знака.
Пересчет результатов испытания на другие состояния топлива, отличные от воздушно-сухого, производят по
ГОСТ 27313.
Прецизионность метода характеризуется повторяемостью и воспроизводимостью полученных результатов.
11.1 Повторяемость
Результаты двух параллельных определений, проведенных в пределах короткого промежутка времени, но не одновременно, в одной лаборатории одним и тем же исполнителем с использованием одной и той же аппаратуры на представительных навесках, отобранных от одной и той же аналитической пробы, не должны отличаться друг от друга более чем на величину предела повторяемости r, приведенную в таблице 1.
Прецизионность метода определения выхода летучих веществ
Росстандарта от 14.07.2021 N 633-ст)
Наименование угля | Максимально допускаемое расхождение между результатами, рассчитанными на |
аналитическое состояние топлива | сухое состояние топлива |
Предел повторяемости r | Предел воспроизводимости R |
Группа каменных углей <*> с выходом летучих веществ менее 10% | 0,3% абс. | 0,5% абс. |
Группа каменных углей <*> с выходом летучих веществ 10% и более | 3% от среднего результата | Большая величина из двух: 0,5% абс. или 4% от среднего результата |
Кокс | 0,2% абс. | 0,3% абс. |
| 1,0% абс. | 3,0% абс. |
Примечание - При необходимости результаты могут быть рассчитаны на любые другие, но одинаковые массовые доли влаги в топливе. При этом для оценки прецизионности расхождение между результатами сравнивают с пределами повторяемости и воспроизводимости, приведенными в настоящей таблице. |
11.2 Воспроизводимость
Результаты, каждый из которых представляет собой среднеарифметическое значение результатов двух параллельных определений, проведенных в двух разных лабораториях на дубликатах одной и той же аналитической пробы, рассчитанные на сухое состояние топлива, не должны отличаться друг от друга более чем на величину предела воспроизводимости
R, приведенную в
таблице 1.
(в ред.
Изменения N 1, утв. Приказом Росстандарта от 14.07.2021 N 633-ст)
Если расхождение между результатами двух определений больше предела повторяемости, приведенного в таблице 1, проводят третье определение. За результат испытания принимают среднеарифметическое результатов двух определений, находящихся в пределах допускаемых расхождений.
Если результат третьего определения находится в пределах допускаемых расхождений по отношению к каждому из двух предыдущих результатов, за результат испытаний принимают среднеарифметическое результатов трех определений.
Протокол испытаний должен содержать следующую информацию:
- идентификацию испытуемой пробы;
- ссылку на настоящий стандарт;
- дату испытания;
- результаты испытания с указанием, к какому состоянию топлива они относятся;
- массовую долю влаги и зольность воздушно-сухой пробы, если результаты представлены на аналитическое состояние топлива;
- особенности, замеченные при проведении испытания.
(справочное)
СВЕДЕНИЯ О СООТВЕТСТВИИ ССЫЛОЧНЫХ НАЦИОНАЛЬНЫХ
И МЕЖГОСУДАРСТВЕННЫХ СТАНДАРТОВ МЕЖДУНАРОДНЫМ СТАНДАРТАМ,
ИСПОЛЬЗОВАННЫМ В КАЧЕСТВЕ ССЫЛОЧНЫХ
В ПРИМЕНЕННЫХ МЕЖДУНАРОДНЫХ СТАНДАРТАХ
Таблица ДА.1
Обозначение ссылочного национального, межгосударственного стандарта | Степень соответствия | Обозначение и наименование ссылочного международного стандарта |
ГОСТ Р 50342-1992 (IEC 584-2:1982) | MOD | IEC 584-2:1982 "Термопары. Часть 2. Допуски" |
Позиция исключена с 01.09.2021. - Изменение N 1, утв. Приказом Росстандарта от 14.07.2021 N 633-ст. |
[OIML R 76-1:2006(E)] | MOD | OIML R 76-1:2006(E) "Весы неавтоматического действия. Часть 1. Метрологические и технические требования. Испытания" |
(ISO 7936: 1992) | MOD | ISO 7936: 1992 "Антрацит. Определение и представление характеристик флотации и погружения.Общие требования к аппаратуре и процедурам" |
ГОСТ 13455-1991 (ISO 925:1997) | MOD | ISO 925:1997 "Топливо твердое минеральное. Определение содержания углерода в карбонатах. Гравиметрический метод" |
(ISO 1213-2:1992) | NEQ | ISO 1213-2:1992 "Топливо твердое минеральное. Словарь. Часть 2. Термины, относящиеся к отбору проб, испытаниям и анализу" |
(ISO 1170:2013) | NEQ | ISO 1170:2013 "Уголь и кокс. Расчет данных анализов при различных состояниях образцов" |
| | ИС МЕГАНОРМ: примечание. ГОСТ 27589-91 утратил силу с 01.03.2021 в связи с введением в действие ГОСТ 27589-2020 (Приказ Росстандарта от 30.07.2020 N 437-ст). | |
|
ГОСТ 27589-1991 (ISO 687:1974) | NEQ | ISO 687:1974 "Кокс. Определение содержания влаги в аналитической пробе" |
(ISO 11722:2013, ISO 5068-2:2007) | MOD | ISO 11722:2013 "Топливо твердое минеральное. Уголь каменный. Определение влаги в аналитической пробе для общего анализа высушиванием в токе азота"; ISO 5068-2:2007 "Угли бурые и лигниты. Определение содержания влаги. Часть 2. Косвенный гравиметрический метод определения влаги в аналитической пробе" |
(позиция введена Изменением N 1, утв. Приказом Росстандарта от 14.07.2021 N 633-ст) |
Примечание - В настоящей таблице использованы следующие условные обозначения степени соответствия стандартов: - MOD - модифицированные стандарты; - NEQ - неэквивалентные стандарты. |
УДК 622.33:543.813:006.354 | |
Ключевые слова: топливо твердое минеральное, каменный уголь, бурый уголь, антрацит, горючие сланцы, кокс, метод определения, выход летучих веществ |