Главная // Актуальные документы // ГОСТ (Государственный стандарт)СПРАВКА
Источник публикации
М.: Стандартинформ, 2015
Примечание к документу
Текст данного документа приведен с учетом
поправки, опубликованной в "ИУС", N 1, 2021.
Документ
введен в действие с 01.04.2016.
Взамен ГОСТ 1186-87.
Название документа
"ГОСТ 1186-2014. Межгосударственный стандарт. Угли каменные. Метод определения пластометрических показателей"
(введен в действие Приказом Росстандарта от 26.05.2015 N 421-ст)
"ГОСТ 1186-2014. Межгосударственный стандарт. Угли каменные. Метод определения пластометрических показателей"
(введен в действие Приказом Росстандарта от 26.05.2015 N 421-ст)
агентства по техническому
регулированию и метрологии
от 26 мая 2015 г. N 421-ст
МЕЖГОСУДАРСТВЕННЫЙ СТАНДАРТ
УГЛИ КАМЕННЫЕ
МЕТОД ОПРЕДЕЛЕНИЯ ПЛАСТОМЕТРИЧЕСКИХ ПОКАЗАТЕЛЕЙ
Hard coals. Method for determination of plastometric indices
ГОСТ 1186-2014
Дата введения
1 апреля 2016 года
Цели, основные принципы и порядок проведения работ по межгосударственной стандартизации установлены в
ГОСТ 1.0-92 "Межгосударственная система стандартизации. Основные положения" и
ГОСТ 1.2-2009 "Межгосударственная система стандартизации. Стандарты межгосударственные, правила и рекомендации по межгосударственной стандартизации. Правила разработки, принятия, применения, обновления и отмены".
1 РАЗРАБОТАН Открытым акционерным обществом "Восточный научно-исследовательский углехимический институт" (ОАО "ВУХИН"), Межгосударственным техническим комитетом по стандартизации МТК 179 "Уголь и продукты его переработки"
2 ВНЕСЕН Федеральным агентством по техническому регулированию и метрологии (Росстандарт)
3 ПРИНЯТ Межгосударственным советом по стандартизации, метрологии и сертификации (протокол от 5 декабря 2014 г. N 46)
За принятие проголосовали:
Краткое наименование страны по МК (ИСО 3166) 004-97 | Код страны по МК (ИСО 3166) 004-97 | Сокращенное наименование национального органа по стандартизации |
Азербайджан | AZ | Азстандарт |
Беларусь | BY | Госстандарт Республики Беларусь |
Киргизия | KG | Кыргызстандарт |
Казахстан | KZ | Госстандарт Республики Казахстан |
Россия | RU | Росстандарт |
Таджикистан | TJ | Таджикстандарт |
Туркмения | TM | Главгосслужба "Туркменстандартлары" |
Узбекистан | UZ | Узстандарт |
4
Приказом Федерального агентства по техническому регулированию и метрологии от 26 мая 2015 г. N 421-ст межгосударственный стандарт ГОСТ 1186-2014 введен в действие в качестве национального стандарта Российской Федерации с 1 апреля 2016 г.
5 ВЗАМЕН ГОСТ 1186-87
Информация об изменениях к настоящему стандарту публикуется в ежегодном информационном указателе "Национальные стандарты", а текст изменений и поправок - в ежемесячном информационном указателе "Национальные стандарты". В случае пересмотра (замены) или отмены настоящего стандарта соответствующее уведомление будет опубликовано в ежемесячном информационном указателе "Национальные стандарты". Соответствующая информация, уведомление и тексты размещаются также в информационной системе общего пользования - на официальном сайте Федерального агентства по техническому регулированию и метрологии в сети Интернет.
Пластометрический метод исследования углей применяется с начала 30-х годов 20-го столетия только на территории Советского Союза, а впоследствии и на территории стран СЭВ.
Международных стандартов такого типа не существует. В настоящем стандарте обобщен опыт длительного применения метода применительно к углям, добываемым на территории указанных выше стран.
За время существования ГОСТ 1186-87 "Угли каменные. Метод определения пластометрических показателей" накоплен большой опыт применения этого метода, позволяющий уточнить выполнение отдельных операций с целью улучшения воспроизводимости результатов, получаемых в разных лабораториях. В описание процедур выполнения операций внесены существенные изменения. Особенно важным в этом отношении являются учет свойств углей с различной текучестью пластической массы.
Существенным является требование регламентации крупности угля, используемого для выполнения испытания путем задания не только верхнего, но и нижнего предела крупности частиц.
Кроме того, появилась возможность автоматизации ряда измерительных процессов и обработки результатов, как ручных, так и производимых автоматически, что привело к заметному уменьшению трудоемкости испытания. Это позволило создать и закрепить в стандарте возможность применения автоматизированных установок при условии соответствия результатов, получаемых на них, результатам, получаемым на установках традиционной конструкции.
Можно утверждать, что использование пересмотренного стандарта приведет к более точному определению качества угля для коксования.
Настоящий стандарт распространяется на каменные угли и устанавливает метод определения пластометрических показателей на аппарате Л.М. Сапожникова: толщины пластического слоя - Y, пластометрической усадки - X и пластометрической кривой. Указанные показатели являются важными характеристиками технологической ценности углей для коксования.
В настоящем стандарте использованы нормативные ссылки на следующие стандарты:
ГОСТ ИСО 3310-1-2002 Сита контрольные. Часть 1. Сита контрольные из металлической проволочной ткани. Технические требования и испытания <*>
--------------------------------
<*> На территории Российской Федерации действует
ГОСТ Р 51568-99 (ИСО 3310-1-90).
ГОСТ 10742-71 Угли бурые, каменные, антрацит, горючие сланцы и угольные брикеты. Методы отбора и подготовки проб для лабораторных испытаний
ГОСТ 12026-76 Бумага фильтровальная лабораторная. Технические условия
ГОСТ 13344-79 Шкурка шлифовальная тканевая водостойкая. Технические условия
ГОСТ ISO 13909-1-2012 Уголь каменный и кокс. Механический отбор проб. Часть 1. Общие положения <**>
--------------------------------
ГОСТ ISO 18283-2014 Уголь каменный и кокс. Ручной отбор проб <***>
--------------------------------
Примечание - При пользовании настоящим стандартом целесообразно проверить действие ссылочных стандартов в информационной системе общего пользования - на официальном сайте Федерального агентства по техническому регулированию и метрологии в сети Интернет или по ежегодному информационному указателю "Национальные стандарты", который опубликован по состоянию на 1 января текущего года, и по выпускам ежемесячного информационного указателя "Национальные стандарты" за текущий год. Если ссылочный стандарт заменен (изменен), то при пользовании настоящим стандартом следует руководствоваться заменяющим (измененным) стандартом. Если ссылочный стандарт отменен без замены, то положение, в котором дана ссылка на него, применяется в части, не затрагивающей эту ссылку.
В настоящем стандарте применены термины и определения по
ГОСТ 17070, а также следующий термин с соответствующим определением:
3.1 пластометрическая кривая: Кривая, характеризующая объемные изменения угольной загрузки во времени при постоянном давлении и при заданном графике подъема температуры.
Сущность метода заключается в медленном (по заданному графику) нагревании, под заданным давлением навески угля, загруженной определенным способом в пластометрический стакан и определении в процессе и по окончании нагрева:
- толщины пластического слоя угля - максимального расстояния между поверхностями раздела уголь - пластическая масса - полукокс;
- величины пластометрической усадки угля - конечного изменения высоты угольной загрузки по окончании испытания;
- вида пластометрической кривой - кривой, выражающей объемные изменения угольной загрузки в зависимости от времени нагрева (а значит, и от температуры). Пластометрическая кривая является качественным показателем, однако ее вид также относится к характерным признакам конкретного угля.
Аппарат пластометрический (рисунок 1).
1 - штемпель; 2 - стакан; 3 - верхний кирпич; 4 - нижний
кирпич; 5 - нагреватель; 6 - рычаг; 7 - груз; 8 - шарнирный
валок; 9 - стойка; 10 - муфта; 11 - шарнирный валок;
12 - стойка барабана; 13 - барабан; 14 - перо;
15 - плита; 16 - установочный винт
Рисунок 1 - Пластометрический аппарат
Аппарат состоит из следующих основных узлов:
Узел, непосредственно соприкасающийся с угольной загрузкой;
Узел создания усилия на штемпель;
Узел нагрева угольной загрузки;
Узел измерения и регулирования температуры;
Узел регистрации пластометрической кривой.
Узел, непосредственно соприкасающийся с угольной загрузкой, состоит из следующих основных деталей:
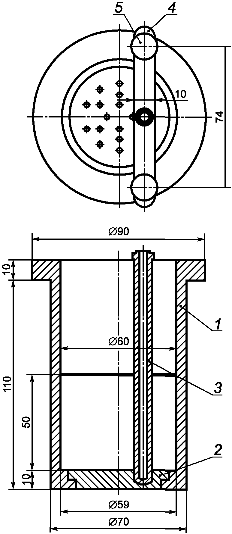
Стакан пластометрический (рисунок 2) из стали 45 со съемным дном. Диаметр стакана, мм: наружный - 70; внутренний на уровне дна - 59; внутренний на высоте 50 мм от дна и выше - 60.
1 - корпус; 2 - донышко; 3 - трубка для термопары;
4 - прижимная планка; 5 - прижимной винт
Рисунок 2а - Стакан пластометрический в сборе
Рисунок 2б - Трубка для термопары
Диаметр стакана в его конусной (рабочей) части проверяют через каждые 100 экспериментов, проводя три измерения по высоте через каждые 25 мм. Отклонение от среднего диаметра конусной части стакана (59,5 мм) не должно превышать +/- 0,5 мм.
Трубка с заглушенным нижним концом для термопары.
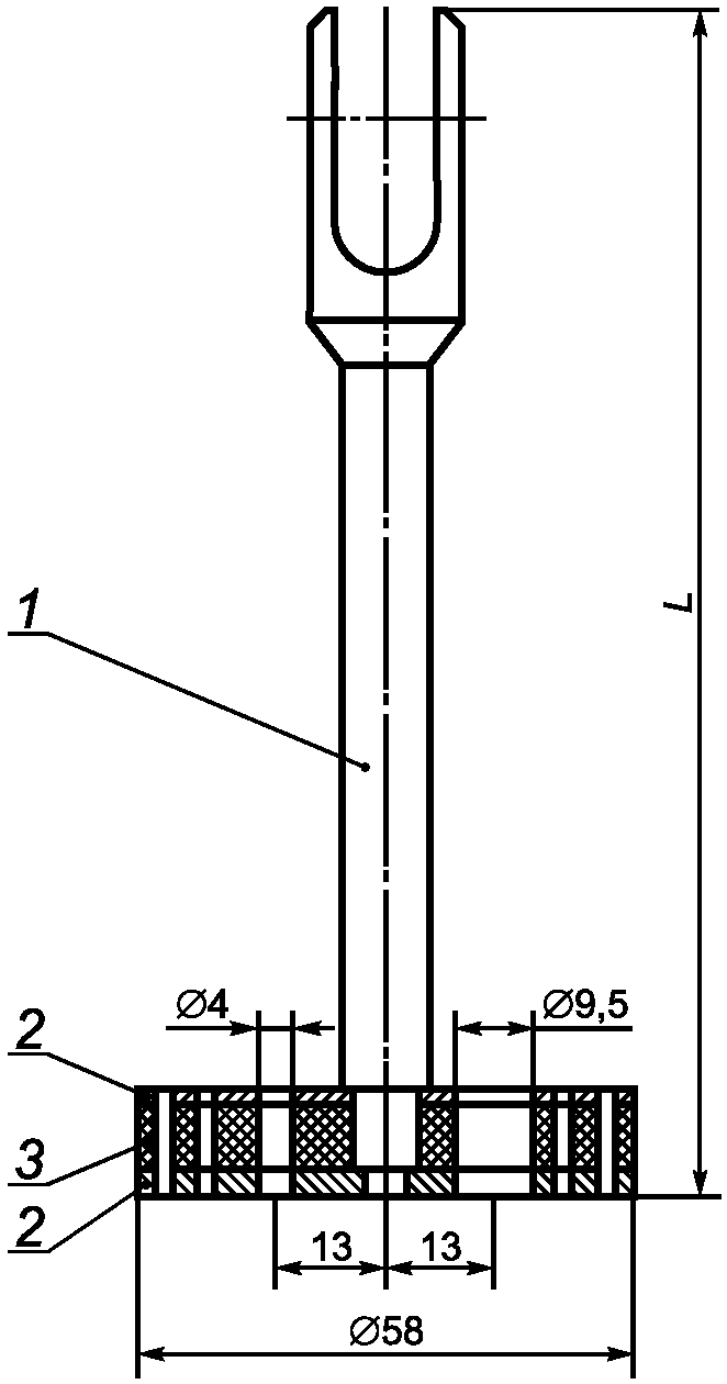
Штемпель (рисунок 3) с отверстиями для удаления летучих веществ. Штемпель опирается непосредственно на угольную загрузку и через шток передает ей усилие от узла создания заданного давления.
1 - шток (для переднего стакана L = 140 мм;
для заднего стакана L = 210 мм); 2 - верхняя
и нижняя тарелки; 3 - асбестовая прокладка
Рисунок 3 - Штемпель
Игла-пластометр
(рисунок 4), состоящий из стержня, стальной иглы цилиндрической формы диаметром 1 мм и высотой 55 мм, указателя, укрепленного неподвижно на стержне пластометра, и передвижной металлической шкалы. Цена деления шкалы 1 мм, толщина штрихов на шкале 0,1 - 0,2 мм.
Примечание - Рекомендуется пользоваться иглой-пластометром, изготовленным по чертежам ВУХИН (Россия).
1 - стержень; 2 - игла; 3 - шкала; 4 - указатель
Рисунок 4 - Игла-пластометр
Планка (рисунок 5) служит опорой для иглы-пластометра во время замеров толщины пластического слоя.
Рисунок 5 - Опорная планка для замеров
Спица металлическая диаметром 2 - 3 мм и длиной 150 - 200 мм. Служит для организации вертикального отверстия в угольной загрузке.
Узел создания усилия на штемпель состоит из следующих деталей (см.
рисунок 1):
Груз 7, подвешенный к рычагу 6, вращающемуся вокруг оси 11, укрепленной в муфте 10. Последняя крепится к стойке 9, жестко связанной с плитой 15.
Шарнирный валок связывает рычаг с штоком штемпеля, через который усилие груза передается на угольную загрузку.
Проверку давления на угольную загрузку осуществляют при вводе нового пластометрического аппарата в эксплуатацию, после ремонта или замены его частей, могущих повлиять на величину давления.
Система рычага и грузов обеспечивает давление на угольную загрузку 0,098 +/- 0,0009 МПа (1 +/- 0,0088 кг/см2). Для проверки давления взвешивают груз, рычаг, штемпель с шарнирным штифтом, измеряют расстояние между осью опорного валка и осью штифта на штемпеле, между осью опорного валка и насечкой на рычаге для подвески груза, между осью опорного валка и центром тяжести рычага.
Примечание - Для определения центра тяжести рычага его снимают с аппарата, вынув предварительно опорный валок. Поместив рычаг на горизонтальную поверхность и, подложив под него круглый в сечении предмет (можно использовать трубочку для термопары и др.), добиваются равновесия системы. Местоположение оси является центром тяжести рычага.
Полученные данные подставляют в формулу:
L·
M =
L2·(
S·
P·10,2 -
M2) -
L1·
M1, (1)
где L - расстояние между осью опорного валка и насечкой на рычаге для подвески груза, см;
M - масса груза с подвеской, кг;
L1 - расстояние между осью опорного валка и центром тяжести рычага, кг;
M1 - масса рычага;
L2 - расстояние между осью опорного валка и осью штифта на штемпеле;
M2 - масса штемпеля и шарнирного штифта;
P - давление, равное 0,098 МПа;
10,2 - коэффициент для перевода МПа в кг;
S - площадь поперечного сечения угольной загрузки, см2, вычисляемая по формуле

, (2)
где D - средний диаметр рабочей (конической) части стакана, равный 5,95 см;
d - наружный диаметр трубки для термопары, см.
При неравенстве левой и правой частей
формулы (1) изменяют массу груза M или расстояние
L, сделав новую насечку для подвески груза.
Примечание - Линейные величины измеряются с точностью до 1 мм; масса определяется с точностью до 1 г. Расстояние L рассчитывается с точностью +/- 0,5 см.
Узел нагрева угольной загрузки состоит из верхних, 3, и нижнего, 4 кирпичей, образующих корпус печи с отверстиями для установки пластометрических стаканов и нагревателей 5.
Нагреватели обеспечивающие температуру дна пластометрического стакана не ниже 750 °C. Допускается применять любые нагреватели (силитовые стержни, металлические спирали и т.д.), обеспечивающие заданный режим нагрева. Нагреватели располагают в нижнем огнеупорном кирпиче аппарата. Регулировку нагрева производят автоматически по схемам, собранным из стандартных приборов или вручную с помощью лабораторных автотрансформаторов.
Нагреватели и устройства для регулирования температуры должны обеспечивать следующий режим нагрева:
Через 30 минут после включения нагрева, температура, измеряемая термопарой в дне стакана должна достигнуть 250 °C.
В интервале от 250 до 730 °C скорость нагрева должна составлять 3 °C в минуту.
Регулирование температуры должно обеспечивать следующую точность: отклонение от заданной графиком температуры в интервале 350 - 610 °C - не более 5 °C, в остальное время - не более 10 °C.
Во время проведения опыта через специальное отверстие в нижнем огнеупорном кирпиче проводят продувку нагревателей воздухом, чтобы избежать скопления газов в нагревательном пространстве и оседания сажи на кирпичах. Допускается продувка нагревателей инертным газом.
Узел измерения и регулирования температуры.
Измерение и регулирование температуры в каждом стакане осуществляется одним и тем же датчиком - хромель-алюмелевой термопарой, установленной в трубку, расположенную в угольной загрузке. Горячий спай термопары соприкасается с дном трубки (дном стакана).
Настоящий стандарт не ограничивает схему и конструкцию устройств для регулирования и регистрации температуры. Обязательным условием является указание в применяемой конструкции регулирующего устройства способа проверки точности поддержания скорости подъема температуры в соответствии с заданным графиком (см. "Узел нагрева угольной загрузки").
Узел регистрации пластометрической кривой.
Для аппарата
(рис. 1) запись пластометрической кривой осуществляется на вращающемся барабане с часовым механизмом. Скорость движения поверхности барабана 1 мм/мин. На барабане закрепляется миллиметровая бумага. Запись пластометрической кривой осуществляется пишущим устройством (пером и чернилами). Узел регистрации пластометрической кривой организован так, чтобы обеспечить соотношение 1:3 между перемещением штемпеля в стакане и перемещением пишущего устройства по миллиметровой бумаге.
Свободный конец рычага используется в качестве датчика для регистрации изменения объема угольной загрузки в пластометрическом стакане. Настоящий стандарт не ограничивает конструкцию устройства для передачи перемещения конца рычага на регистрирующее устройство, а также конструкцию самого регистрирующего устройства. Обязательным условием является указание в применяемой конструкции регистрирующего устройства способа проверки соответствия перемещения штемпеля показанию регистрирующего прибора с погрешностью не более 0,5 мм.
Примечание - При изготовлении основных узлов аппарата (узел создания давления на штемпель, узел нагрева угольной загрузки, станина аппарата, пластометрический стакан) рекомендуется пользоваться чертежами УХИН (Украина) или ВУХИН (Россия). Игла-пластометр рекомендуется изготавливать по чертежам ВУХИН.
| | ИС МЕГАНОРМ: примечание. Нумерация разделов дана в соответствии с официальным текстом документа. | |
5 Приспособления и материалы
Асбест листовой толщиной 0,5 - 1,0 мм термоизоляционный или электроизоляционный.
Шкурка шлифовальная тканевая водостойкая по
ГОСТ 13344.
Бумага миллиметровая (для пластометрического аппарата имеющего барабан с часовым механизмом), бумага фильтровальная листовая, бумага папиросная.
Сито проволочное с квадратными отверстиями 1,6 мм ГОСТ ИСО 3310-1.
Термопреобразователи типа ТХА.
Растворитель органический для чистки иглы-пластометра, рычагов, и пр. от налета смолы.
6 Подготовка пробы и загрузка пластометрического стакана
Лабораторную пробу (ГОСТ ISO 13909-1, ГОСТ ISO 18283;
ГОСТ 10742) с размером 0 - 3 мм массой 1 кг рассеивают на сите с размером ячеек 1,6 x 1,6 мм. Надрешетный продукт додрабливают до размера зерен менее 1,6 мм и смешивают с подрешетным продуктом. Содержание класса < 0,5 мм в полученной пробе не должно превышать 40 мас. % (при невозможности получить пробу с таким содержанием мелочи, в протоколе указывают превышение нормы по мелочи. Наличие большого количества мелочи отражается на результатах). Допускается наличие класса 1,6 - 3,0 мм не более 1%. Пробу доводят до воздушно-сухого состояния. Затем методом квартования отбирают пробу угля для анализа. Зольность пробы не должна превышать 10%.
При зольности свыше 10% производят обогащение пробы угля методом, указанным в
приложении А.
Примечание - Для углей, полученных методом бурения скважин или при других экстремальных случаях массу лабораторной пробы крупностью 0 - 3 мм можно сократить с 1 кг до минимальной массы, необходимой для проведения эксперимента. Концентраты обогатительных фабрик, для которых установлена норма зольности более 10%, испытывают при их фактической зольности. В углях, которые невозможно обогатить до 10% зольности, ввиду их трудной обогатимости, содержание золы доводят до рационального соотношения "зольность - выход концентрата". В итоговом протоколе необходимо указать зольность пробы угля.
Загружают пластометрический стакан.
Внутренние стенки стакана, пазы, выступы, дно стакана, головка штемпеля и отверстия для выхода летучих продуктов тщательно очищают. Один из вариантов механической очистки стакана указан в
приложении Д.
Внутренние стенки стакана и наружная поверхность трубки для термопары очищают до блеска. Трубка для термопары не должна иметь отверстий и трещин, и внутри нее не должно быть зерен угля или кокса.
Из листа асбеста вырезают два кружка диаметром 59 мм. На кружок ставят штемпель и отмечают местоположение отверстия для трубочки термопары и трубочки из папиросной бумаги. Вырезают эти отверстия. На нижнем кружке отметку для трубочки из папиросной бумаги оставляют не прорезанной. С помощью спицы и папиросной бумаги изготавливают трубочку и оставляют ее на спице. Готовят полоску из фильтровальной бумаги.
Примечание - Для трубочки из папиросной бумаги рекомендуется использовать заготовку размером 15 x 70 мм или других размеров, обеспечивающих необходимые условия проведения испытания. Трубочка должна быть без складок, должна легко сниматься, но не должна разворачиваться. Полоска из фильтровальной бумаги рекомендуется размером 65 x 210 мм.
В стакан вставляют дно таким образом, чтобы оно вошло в пазы до отказа и центр углубления для трубки термопары совпал с центром отверстия для термопары в прижимной планке. Все детали стакана (трубочка для термопары, шток штемпеля, спица) должны быть вертикальны и параллельны друг другу.
Нижнюю часть внутренней поверхности стакана выстилают полоской фильтровальной бумаги. Устанавливают трубку для термопары. Надевают на нее и опускают на дно асбестовый кружок с одним отверстием. Трубку для термопары закрепляют прижимной планкой. Бумажную трубочку, надетую на спицу, устанавливают в отмеченном месте асбестового кружка. Для большей надежности спускают папиросную трубочку со спицы на 2 - 3 мм и загибают. Спицу хвостиком устанавливают на асбестовый кружок.
Угли с жидкоподвижной пластической массой
(приложение Г) требуют более тщательной подготовки к испытанию.
Навеску воздушно-сухого угля массой (100 +/- 0,1) г загружают в стакан в четыре приема равными порциями. После каждой порции поверхность угля в стакане разравнивают, но не утрамбовывают. Необходимо исключить попадание угля в трубку для термопары.
Примечание - В случае крайней необходимости, при работе с углем из скважин, когда его не хватает, возможно уменьшить массу навески до 90 г. Но не меньше! В протоколе необходимо указать массу взятой навески.
Снимают прижимную планку, осторожно! На уголь помещают второй асбестовый кружок. Выступающие края фильтровальной бумаги загибают поверх кружка. Выступающую часть папиросной трубочки надрывают и раскладывают поверх кружка. Устанавливают штемпель и закрепляют прижимную планку, она должна плотно прижимать трубку для термопары к дну стакана, не позволяя ей двигаться вверх-вниз. Проверяют качество загрузки стакана. Проверяют вертикальность и параллельность друг другу трубки для термопары, штока штемпеля, спицы. Штемпель должен легко перемещаться вверх-вниз, не застревая при этом. Качество загрузки пластометрического стакана в значительной степени влияет на результат эксперимента.
7 Подготовка пластометрического аппарата к работе
Пластометрический аппарат позволяет работать одновременно на двух стаканах с двумя разными пробами. Можно работать и на одном стакане, или на переднем или на заднем.
Подготовленные к работе стаканы с углем помещают в отверстия верхнего огнеупорного кирпича. Для аппаратов
(рисунок 1) в передний кирпич помещают стакан с коротким штемпелем, а в задний кирпич - с высоким штемпелем. Соединяют штемпели с рычагами с помощью штифтов. Рекомендуется устанавливать рычаги в горизонтальное положение. Для аппаратов
(рис. 1) это является обязательным условием. Проверяют правильность установки стаканов. Штемпели должны стоять вертикально и перемещаться в стакане свободно, без трения о стенки. Для этого, поднимают и опускают рычаг вместе со штемпелем, легко держа его левый конец на ладони. При необходимости находят наилучшее положение стакана в отверстии верхнего кирпича. Если этого недостаточно, меняют положение самого кирпича. К рычагам подвешивают грузы. В трубки для термопар вставляют термопары так, чтобы они касались дна трубок. Подсоединяют заземление стаканов.
Для аппаратов
(рисунок 1) на барабане с часовым механизмом закрепляют полосу миллиметровой бумаги соответствующую по ширине и длине размерам барабана. По окружности барабана сверху или снизу на миллиметровой бумаге отмечают через каждые 10 мм деления, которые соответствуют 0, 10, 20, 30 мин и далее до 160 мин. На рычагах закрепляют пишущие устройства (перья с чернилами). Пишущие устройства прижимают к миллиметровой бумаге. Барабан и пишущие устройства должны быть расположены так, чтобы на миллиметровой бумаге могли расположиться графики двух пластометрических кривых.
Для автоматизированных пластометрических аппаратов подготовку осуществляют в соответствии с документами, прилагаемыми к аппарату.
8.1 Режим подъема температуры
Испытания проводят при следующем режиме подъема температуры:
Через 30 минут после включения нагрева температура должна достигнуть 250 °C, в интервале температур от 250 °C до 730 °C скорость подъема температуры должна составлять 3 °C/мин. Допустимые отклонения температуры от графика в интервале 350 - 610 °C не более +/- 5 °C; в остальных интервалах температур - не более +/- 10 °C. Допускается кратковременное повышение температуры, произошедшее из-за горения летучих веществ под дном стакана. В таких случаях отклонение от графика должно восстанавливаться достаточно быстро.
Через каждые 10 минут в протоколе испытания отмечают время в минутах от начала эксперимента и температуру дна стакана, если эти записи не производятся автоматически.
Для аппаратов по
рисунку 1 запускают барабан с миллиметровой бумагой. Эта точка считается началом основного периода испытания. Аккуратно вынимают спицу из папиросной трубочки. На стакан помещают планку для замеров
(рисунок 5) и через отверстие в ней опускают очень осторожно иглу-пластометр
(рисунок 4) в папиросную трубочку и проверяют: доходит ли игла-пластометр до дна стакана. Если трубочка порвалась или в нее попал уголь, необходимо перезагрузить стакан заново.
Примечание - Если предполагается испытывать уголь, дающий усадку при температуре ниже 250 °C, записывать пластометрическую кривую следует с комнатной температуры (20 °C), чтобы не потерять часть усадки.
При опускании иглы-пластометра в пустую папиросную трубочку в начале эксперимента нет необходимости добиваться совпадения указателя на пластометре с "нулевым" делением шкалы, так как толщина пластического слоя определяется как разница между замерами верха и низа пластической массы.
8.3 Измерение толщины пластического слоя
Замеры толщины пластического слоя иглой-пластометром начинают когда нижний слой угля переходит в пластическое состояние. Об этом свидетельствует снижение пластометрической кривой ниже начального уровня.
Для измерения верхнего уровня пластического слоя иглу-пластометр через отверстие в планке осторожно опускают в трубочку из папиросной бумаги (шкала опирается на планку). Когда конец иглы коснется пластического слоя, записывают показания шкалы иглы-пластометра в миллиметрах. При этом иглу-пластометр из рук не выпускают, чтобы он не погружался в пластический слой под действием собственного веса. Полученную цифру записывают в протокол в графу "Верхний уровень пластического слоя", записывают также время в минутах от начала эксперимента.
Для измерения нижнего уровня пластического слоя иглой-пластометром прокалывают пластическую массу до тех пор пока игла не упрется в твердый слой полукокса. Отсчитывают показания по шкале иглы-пластометра, время и записывают в протокол в графу "Нижний уровень пластического слоя".
Примечание - Прокалывание пластического слоя проводят медленно не надкалывая слой полукокса, если он слабый. Вынимают иглу тоже медленно, при этом ее слегка вращают, чтобы не извлечь вместе с иглой пластическую массу и не испортить трубочку из папиросной бумаги.
Частота измерений верхнего уровня пластического слоя зависит от характера пластометрической кривой. График, построенный по точкам замера верха пластического слоя повторяет характер пластометрической кривой. Низ пластического слоя рекомендуется замерять не чаще одного раза в 8 - 10 мин, чтобы не нарушать естественный характер пластометрической кривой.
8.4 Примеры характерных типов пластометрических кривых и особенности замеров и построения толщины пластического слоя
При пологопадающей кривой (рисунок 6) измерение верха и низа пластического слоя производят через 10 мин. Сначала измеряют верх пластического слоя, запоминают цифру, не вынимая иглы-пластометра из трубки для замера, производят замер низа пластической массы. Для слабоспекающихся углей с маленьким пластическим слоем и слабым полукоксом, замеры делают очень осторожно. Интервал проколов низа можно увеличить до 15 мин.
Рисунок 6 - Пологопадающая кривая
При горбообразной кривой (рисунок 7) верхний уровень пластического слоя измеряют один раз в 5 - 10 мин, в зависимости от характера конкретной пластометрической кривой. Замеры низа пластической массы совмещают с частью замеров верха пластической массы. Процесс аналогичен работе с пологопадающей кривой.
Рисунок 7 - Горбообразная кривая с отрицательной усадкой
При зигзагообразной кривой (рисунок 8) верхний уровень пластической массы замеряют в моменты максимального подъема и спада кривой; нижний уровень пластической массы - только в моменты максимального спада пластометрической кривой, но не чаще чем через 8 - 10 мин. Если зигзаги пластометрической кривой повторяются очень часто, замеры верха пластического слоя рекомендуется производить через зигзаг, сохраняя чередование точек максимального подъема и максимального спада. Частое надкалывание пластического слоя приводит к занижению толщины пластического слоя.
Рисунок 8 - Зигзагообразная кривая
Замеры прекращают, если точки верха пластической массы перестают увеличиваться. Таких точек должно быть две-три.
8.5 Завершение эксперимента
По достижении температуры 730 °C останавливают испытание и отключают нагрев пластометрического аппарата. Если зигзагообразная кривая продолжает "рисовать" зигзаги, останавливать испытание можно при более высокой температуре, когда кривая выйдет на более или менее ровную линию.
Примечание - Если предполагается получить Y более 10 мм и не предполагается описание королька, возможно отключение нагрева пластометрического аппарата при более низкой температуре (но не ниже 670 °C) при условии образования к этому моменту горизонтального участка пластометрической кривой длиной не менее 10 мм и прекращения роста верха пластического слоя.
8.6 Продувка нагревателей воздухом
Во время проведения опыта через специальное отверстие в нижнем огнеупорном кирпиче проводят продувку нагревателей воздухом чтобы избежать скопления газов в нагревательном пространстве. Скопление газов нарушает температурный режим и может привести к короткому замыканию. Продувку осуществляют любым доступным способом. Наилучший результат наблюдается при постоянной подаче воздуха.
Следующий опыт на том же аппарате проводят после полного охлаждения верхних кирпичей или замене их холодными.
Для пластометрического аппарата (см.
рисунок 1) на миллиметровой бумаге, снятой с барабана, под пластометрической кривой наносят оси координат для построения кривых измерения верхнего и нижнего уровней пластического слоя. По оси абсцисс откладывают время и температуру, по оси ординат - результаты измерений верхнего и нижнего уровней пластической слоя. Для пологопадающей кривой точки верхнего уровня соединяют плавной кривой линией. Для горбообразной и зигзагообразной кривых сначала точки верха соединяют последовательно отрезками прямых линий. Поверх этих ломанных линий проводят плавную усредненную кривую линию. Точки низа пластического слоя соединяют по линейке прямой линией. Эта линия не является усредненной, на нее должно попасть максимальное количество точек. Таких точек должно быть не менее трех.
За толщину пластического слоя "Y" в миллиметрах принимают максимальное расстояние по вертикали между усредненными линиями верхнего и нижнего уровней пластического слоя в миллиметрах (
рисунки 6 -
8). Толщина пластического слоя Y не должна определяться по первой или последней точкам всей серии замеров. Достоверность такого результата сомнительна. Для толщины пластического слоя менее 6 мм бывает очень сложно сделать построения и определить Y в виде числовых значений. Допускается ограничиться записью "Y менее 6 мм".
За величину пластометрической усадки X в миллиметрах принимают конечное снижение пластометрической кривой относительно "нулевой линии" (см.
рисунки 6,
8). Усадка может быть отрицательной (см.
рисунок 7).
Выполнение пластометрического анализа не предусматривает обязательного проведения параллельных определений. Повторное испытание проводится в случае сомнения в полученном результате, в случае внутреннего и внешнего контроля и т.д.
Расхождения между результатами двух испытаний не должны превышать значений, указанных в таблицах 1 и
2. Результаты сравнительных испытаний могут считаться достоверными, если были сделаны из одной и той же пробы, отобранной и разделанной в одном месте и в дальнейшем - поделенной на части.
Таблица 1
Толщина пластического слоя Y, мм | Допускаемые расхождения, мм |
В одной лаборатории | В разных лабораториях |
До 20 | 1 | 2 |
От 21 до 30 | 2 | 3 |
Свыше 30 | 3 | 4 |
Пластометрическая усадка X, мм | Допускаемые расхождения, мм |
В одной лаборатории | В разных лабораториях |
До 40 | 3 | 4 |
41 - 50 | 4 | 5 |
Более 50 | 5 | 6 |
Примечание - Для углей с вытекающей пластической массой и имеющих Y более 30 мм и горбообразную кривую определить допустимые расхождения по усадке X не представляется возможным.
Результаты испытания бракуются, если:
1) температура во время опыта отклонилась от графика подъема более чем на 5 °C в течение 5 мин в интервале температур от 350 °C до 610 °C и на 10 °C в остальное время опыта;
2) пластическая масса поднялась в трубочке для измерения пластического слоя выше уровня пластического слоя в стакане, что определяется по резкому подъему верхнего уровня в трубке.
Протокол испытания должен содержать:
а) идентификацию лаборатории и дату проведения испытаний;
б) идентификацию продукции или испытуемой пробы;
в) ссылку на настоящий стандарт;
г) описание любого отклонения от требований настоящего стандарта;
д) описание особенностей, замеченных во время испытаний, которые могли повлиять на их результат;
е) результаты испытаний, включающие в себя:
1) пластометрическую кривую, построенную в масштабе: 1 мм = 1 мин. На оси абсцисс должно быть указано время от начала эксперимента и температура дна стакана через каждые 10 мин;
2) результаты измерения верхнего и нижнего уровней пластического слоя (показания иглы-пластометра и время замеров);
3) кривые изменения верхнего и нижнего уровня пластического слоя в зависимости от времени;
4) толщина пластического слоя Y;
5) пластометрическая усадка X;
6) описание коксового королька (коксового остатка), если оно делалось.
(обязательное)
А.1 Обогащение в четыреххлористом углероде
Пробу угля с размером зерен (0 - 3) мм загружают в стеклянный стакан и заливают раствором четыреххлористого углерода плотностью 1,6 г/см3 при тщательном перемешивании. Стакан закрывают стеклом и оставляют до полного расслаивания (15 - 20 мин). Всплывшую часть сетчатой лопаткой переносят на противень, разравнивают и высушивают (3 - 4 ч).
Если зольность полученного концентрата не превысит 10%, обогащенный уголь измельчают до размера зерен 1,6 мм.
Если зольность концентрата выше 10%, он обогащается повторно в смеси четыреххлористого углерода и бензола плотностью 1,5 г/см3.
Примечание - Допускается обогащение пробы угля методом флотации при условии получения концентрата зольностью не более 10%.
А.2 Чистка пластометрического аппарата
По мере необходимости снимают верхние кирпичи и очищают их и нижний кирпич от скопления сажи. Металлические части аппарата очищают от налета смолы только органическими растворителями (не абразивными средствами).
Иглу-пластометр запрещается чистить абразивными средствами. Для чистки разрешается использовать только органические растворители.
(рекомендуемое)
ОПИСАНИЕ ВНЕШНЕГО ВИДА КОРОЛЬКА
Описание внешнего вида королька приведено в таблице Б.1
Таблица Б.1
Показатель | Характеристика | Особенность (можно не описывать) |
Трещиноватость | Не трещиноватый Мало трещиноватый Трещиноватый Сильно трещиноватый | |
Пористость | Мало пористый | С мелкими порами |
Пористый | С крупными порами |
Бахрома | Низкая Средняя Высокая | |
Губка | Маленькая | С мелкими пузырями |
Средняя | С крупными пузырями |
Большая | Полая |
Блеск | Матовый Полуматовый Полублестящий Блестящий | |
Цвет | Светло-серый Серый Темно-серый Черный | |
Сплавленность | Рыхлый Спеченный Сплавленный Проплавленный | |
Примечание - Для углей с Y <= 10 мм замеры иглой-пластометром могут не отражать действительную толщину пластического слоя, т.к. пластическая масса малотекучая и ее очень мало. В трубочку для замеров она не попадает. Поэтому рекомендуется уточнить Y по внешнему виду и поперечному сколу (сечению) коксового королька. Для таких случаев обязательным является описание королька при условии прогрева угольной пробы до 730 °C.
(рекомендуемое)
ПРИСПОСОБЛЕНИЯ
При загрузке пластометрических стаканов удобно пользоваться приспособлениями:
1) специальная металлическая линейка
(рисунок В.1) необходима для измерения высоты угольной загрузки до и после эксперимента, чтобы рассчитать усадку в процентах;
Для текущей работы не требуется установка указателя "0" на игле-пластометре, так как толщину пластического слоя мы определяем как разность между верхним и нижним уровнями пластического слоя. Выставлять на "0" иглу-пластометр необходимо, когда по построениям верха и низа пластического слоя определяют температурные границы пластического слоя. Для установки "0" планку для замеров, на которую опирается игла-пластометр выгибают, до тех пор пока указатель не встанет на нулевую отметку.
(рекомендуемое)
Угли с жидкоподвижной пластической массой требуют более тщательной подготовки к испытанию. Если пластическая масса во время опыта поднимается вверх по трубочке для замеров или даже вытекает из нее поверх штемпеля, предотвратить это невозможно. Но когда пластическая масса вытекает на штемпель из зазора между штемпелем и стенкой стакана, это можно предотвратить, сохранить усадку X и вид пластометрической кривой.
1) Во время загрузки стакана под штемпель на верхний асбестовый кружок подкладывают у стенок стакана кольцо из асбестового шнура диаметром 2 - 3 мм, а также дополнительный асбестовый кружок толщиной не более 0,5 мм.
2) При другом способе подготовки стакана необходимо иметь дополнительно: более длинную папиросную трубочку для замеров (около 90 мм); дополнительный кружок асбестовый или из плотного ватмана; уплотняющее вещество (кокс металлургический, шлак, керамзит и т.д.) крупностью 0,2 мм в количестве 30 - 50 г (количество зависит от текучести пластической массы). В качестве уплотнителя используется вещество, не дающее усадки и имеющее развитую пористую структуру.
Порядок подготовки стакана. Поверх засыпанного угля укладывают второй асбестовый кружок (кружок из ватмана), укладывают на него излишки фильтровальной бумаги, засыпают уплотнитель (большее его количество - к стенкам стакана), на уплотнитель аккуратно помещают третий асбестовый кружок, поверх него раскладывают излишек папиросной трубочки, устанавливают штемпель и закрепляют прижимную планку. При необходимости восстанавливают горизонтальность рычага.
(рекомендуемое)
СПОСОБ МЕХАНИЗИРОВАННОЙ ОЧИСТКИ СТАКАНА
Схема прибора для механизированной очистки стакана, разработанная Украинским научно-исследовательским углехимическим институтом, приведена на рисунке Д.1.
1 - винты; 2 - муфта; 3 - стержень; 4 - шкив;
5 - ременная передача; 6 - шкив; 7 - мотор
Рисунок Д.1 - Прибор для чистки стаканов
Стакан вставляют в муфту 2 так, чтобы нижняя часть его находилась внутри муфты, и зажимают винтами 1. Муфта имеет внутренний диаметр 75 мм и длину 100 мм.
Внутрь стакана вставляют деревянный цилиндр, обернутый наждачной шкуркой. Диаметр цилиндра 58 мм, длина 240 мм. Муфта, соединенная стержнем 3 со шкивом 4 и ременной передачей 5 со шкивом 6, приводится мотором 7 во вращательное движение (скорость 1000 - 1200 об/мин). Деревянный цилиндр во время вращения муфты со стаканом прижимают к стенкам и дну стакана.
Можно применять также и другие способы механической очистки стаканов, а также производить механическую очистку донышек стаканов и трубок для термопар.