Главная // Актуальные документы // ГОСТ Р (Государственный стандарт)
СПРАВКА
Источник публикации
М.: ФГБУ "РСТ", 2022
Примечание к документу
Документ введен в действие с 01.07.2022.
Название документа
"ГОСТ Р 70015-2022. Национальный стандарт Российской Федерации. Бассейны для плавания. Ванны металлические. Технические условия"
(утв. и введен в действие Приказом Росстандарта от 15.02.2022 N 72-ст)

"ГОСТ Р 70015-2022. Национальный стандарт Российской Федерации. Бассейны для плавания. Ванны металлические. Технические условия"
(утв. и введен в действие Приказом Росстандарта от 15.02.2022 N 72-ст)


Содержание


Утвержден и введен в действие
Приказом Федерального
агентства по техническому
регулированию и метрологии
от 15 февраля 2022 г. N 72-ст
НАЦИОНАЛЬНЫЙ СТАНДАРТ РОССИЙСКОЙ ФЕДЕРАЦИИ
БАССЕЙНЫ ДЛЯ ПЛАВАНИЯ
ВАННЫ МЕТАЛЛИЧЕСКИЕ
ТЕХНИЧЕСКИЕ УСЛОВИЯ
Swimming pools. Metal baths. Technical specifications
ГОСТ Р 70015-2022
ОКС 97.220.10
Дата введения
1 июля 2022 года
Предисловие
1 РАЗРАБОТАН Ассоциацией Саморегулируемой организацией "Отраслевое объединение национальных производителей в сфере физической культуры и спорта "Промспорт" (СРО "Промспорт")
2 ВНЕСЕН Техническим комитетом по стандартизации ТК 444 "Спортивные и туристские изделия, оборудование, инвентарь, физкультурные и спортивные услуги"
3 УТВЕРЖДЕН И ВВЕДЕН В ДЕЙСТВИЕ Приказом Федерального агентства по техническому регулированию и метрологии от 15 февраля 2022 г. N 72-ст
4 ВВЕДЕН ВПЕРВЫЕ
Правила применения настоящего стандарта установлены в статье 26 Федерального закона от 29 июня 2015 г. N 162-ФЗ "О стандартизации в Российской Федерации". Информация об изменениях к настоящему стандарту публикуется в ежегодном (по состоянию на 1 января текущего года) информационном указателе "Национальные стандарты", а официальный текст изменений и поправок - в ежемесячном информационном указателе "Национальные стандарты". В случае пересмотра (замены) или отмены настоящего стандарта соответствующее уведомление будет опубликовано в ближайшем выпуске ежемесячного информационного указателя "Национальные стандарты". Соответствующая информация, уведомление и тексты размещаются также в информационной системе общего пользования - на официальном сайте Федерального агентства по техническому регулированию и метрологии в сети Интернет (www.rst.gov.ru)
1 Область применения
Настоящий стандарт распространяется на сварные конструкции металлических ванн бассейнов для плавания при проектировании, строительстве новых, реконструкции и капитальном ремонте существующих бассейнов вне зависимости от их функционального назначения.
Требования настоящего стандарта применяются организациями, индивидуальными предпринимателями и физическими лицами, в собственности или управлении которых находятся бассейны для плавания с металлическими ваннами, предназначенные для оказания физкультурно-оздоровительных услуг, обучения детей и взрослых плаванию, а также для проведения физкультурно-спортивных мероприятий.
Требования настоящего стандарта применяются в целях проведения процедуры подтверждения соответствия в форме добровольной сертификации.
2 Нормативные ссылки
В настоящем стандарте использованы нормативные ссылки на следующие документы:
ГОСТ 5264 Ручная дуговая сварка. Соединения сварные. Основные типы, конструктивные элементы и размеры
ГОСТ 7566 Металлопродукция. Правила приемки, маркировка, упаковка, транспортирование и хранение
ГОСТ 18442 Контроль неразрушающий. Капиллярные методы. Общие требования
ГОСТ 23118 Конструкции стальные строительные. Общие технические условия
ГОСТ 24054 Изделия машиностроения и приборостроения. Методы испытаний на герметичность. Общие требования
ГОСТ Р 50571.5.54/МЭК 60364-5-54:2011 Электроустановки низковольтные. Часть 5-54. Выбор и монтаж электрооборудования. Заземляющие устройства, защитные проводники и защитные проводники уравнивания потенциалов
ГОСТ Р 50571.7.702/МЭК 60364-7-702:2010 Электроустановки низковольтные. Часть 7. Требования к специальным установкам или местам их размещения. Раздел 702. Плавательные бассейны и фонтаны
ГОСТ Р 58458 Бассейны для плавания. Общие технические условия
ГОСТ Р 58877 Бассейны для спортивного плавания. Длина ванны. Методы измерения
СП 50-101-2004 Проектирование и устройство оснований и фундаментов зданий и сооружений
СП 310.1325800.2017 Бассейны для плавания. Правила проектирования
Примечание - При пользовании настоящим стандартом целесообразно проверить действие ссылочных стандартов (сводов правил) в информационной системе общего пользования - на официальном сайте Федерального агентства по техническому регулированию и метрологии в сети Интернет или по ежегодному информационному указателю "Национальные стандарты", который опубликован по состоянию на 1 января текущего года, и по выпускам ежемесячного информационного указателя "Национальные стандарты" за текущий год. Если заменен ссылочный документ, на который дана недатированная ссылка, то рекомендуется использовать действующую версию этого документа с учетом всех внесенных в данную версию изменений. Если заменен ссылочный документ, на который дана датированная ссылка, то рекомендуется использовать версию этого документа с указанным выше годом утверждения (принятия). Если после утверждения настоящего стандарта в ссылочный документ, на который дана датированная ссылка, внесено изменение, затрагивающее положение, на которое дана ссылка, то это положение рекомендуется применять без учета данного изменения. Если ссылочный документ отменен без замены, то положение, в котором дана ссылка на него, рекомендуется применять в части, не затрагивающей эту ссылку. Сведения о действии сводов правил целесообразно проверить в Федеральном информационном фонде стандартов.
3 Термины и определения
В настоящем стандарте применены термины с соответствующими определениями:
3.1 нержавеющая сталь: Разновидность легированной стали, устойчивая к коррозии за счет содержания хрома 12% и более.
3.2 ванна бассейна: Функциональный резервуар с водой для оказания физкультурно-оздоровительных или спортивных услуг населению.
3.3 металлическая ванна бассейна: Конструктивный элемент бассейна для плавания, функциональный резервуар для воды из нержавеющей стали, изготовленный с использованием сварки для герметизации стыков.
3.4 подкос: Диагональный конструкционный элемент, предназначенный для соединения и передачи напряжений сжатия.
3.5 пуклевка: Образование рельефа в листовой заготовке без изменения толщины металла.
4 Общие требования
4.1 Металлические ванны бассейнов должны соответствовать требованиям ГОСТ Р 58458, ГОСТ Р 58877, СП 310.1325800.2017, [1] и быть устойчивы к агрессивным компонентам воды (примеси и реагенты: хлор, флокуляционные средства, кислота, щелочь), присутствие которых провоцирует возникновение коррозии материала ванны.
4.2 Ванна бассейна должна удовлетворять следующим требованиям:
- водонепроницаемость (герметичность всех соединений и стыков);
- постоянство метрических значений (неизменность длины, ширины, глубины ванн) при постоянной температуре окружающей среды.
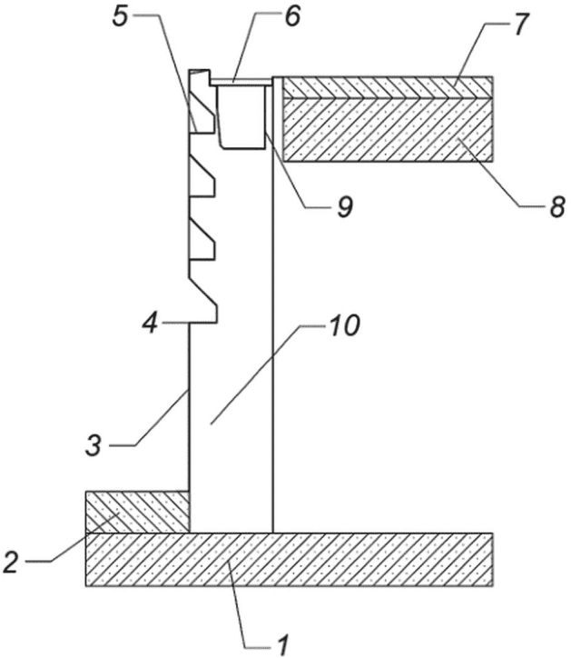
4.3 В зависимости от конструктивных особенностей ванны бассейнов из металла могут иметь стенки, укрепленные подкосами, как показано на рисунке 1, или быть сконструированы, как облицовка бетонной стенки металлическими листами (например, существующего реконструируемого бассейна с имеющейся плиткой или без нее), как показано на рисунке 2.
1 - бетонная плита фундамента; 2 - бетонная обвязка;
3 - борт ванны; 4 - уступ для отдыха; 5 - лестница;
6 - решетка переливного лотка; 7 - стяжка чистого пола;
8 - плиты перекрытия; 9 - лоток переливной; 10 - колонна;
11 - подкос
Рисунок 1 - Ванна металлическая на подкосах (разрез)
1 - бетонная плита фундамента; 2 - бетонная обвязка;
3 - борт ванны; 4 - уступ для отдыха; 5 - лестница;
6 - решетка переливного лотка; 7 - стяжка чистого пола;
8 - плиты перекрытия; 9 - лоток переливной;
10 - бетонная ванна
Рисунок 2 - Ванна металлическая с опорой
на бетонные стенки (разрез)
4.4 При выборе конструктивного решения совмещения ванны бассейна и системы водоподготовки предпочтительной является конструкция сварной ванны бассейна с системой донных каналов или донных форсунок.
4.5 При ширине ванны более 6,0 м кроме донной системы подачи воды следует предусматривать дополнительные форсунки для подачи воды на стенках не выше 0,5 м от дна ванны.
5 Требования к материалу ванн
5.1 Выбор соответствующей марки сплава зависит от состава воды и восприимчивости выбранного металла к окисляющим компонентам воды бассейна (гипохлорид, фильтрационные материалы на угольной основе).
5.2 Для сварной металлической ванны бассейна следует выбирать марку нержавеющей стали: 03Х17Н14М3 (AISI 316L), 08Х17Н13М2 (AISI 316), 10Х17Н13М2Т (AISI316Ti).
5.3 Материал ванн бассейнов должен иметь обработанные поверхности и края, обеспечивающие безопасность потребителей. Поверхности внутренних стенок ванн должны быть гладкими, но нескользкими, не иметь заусенцев, задиров или острых краев.
5.4 Поверхность уступов, ступеней лестниц, а также зоны поворота и отталкивания ниже уровня воды на 0,80 м должны иметь рельеф для улучшения сцепления. Варианты рельефа посредством пуклевки показаны на рисунке 3.
Рисунок 3 - Примеры рельефной поверхности стального листа
с пуклевкой
5.5 Параметры рельефа:
- профиль (высота выступающих элементов над плоскостью листа) - 1,5 - 2,0 мм;
- размер выступающих элементов - 15,0 - 20,0 мм;
- расстояние между центрами - 25,0 - 50,0 мм.
5.6 Дно ванны бассейна следует оформлять пуклевкой на глубине 1500 мм и менее.
6 Комплектация ванн бассейнов
6.1 Металлические ванны бассейнов должны быть укомплектованы в соответствии с требованиями функционального назначения бассейнов:
- стальными элементами конструкции ванны (согласно расчету по избранной геометрии ванны: глубина, ширина, длина) с соответствующей конфигурацией, профилем и обработкой отдельных зон пуклевкой;
- подкосами для обеспечения надежности конструкции ванны (за исключением комплектации сварной конструкции имеющейся железобетонной ванны);
- элементами системы водообмена в ванне бассейна (система донных каналов, боковых форсунок);
- лестницами для входа и выхода из воды;
- переливными желобами с защитными решетками;
- закладными элементами (для монтажа оборудования по периметру на стенках и обходных дорожках ванны);
- уступом для отдыха (для ванн спортивных бассейнов - только заглубленный уступ);
- элементами системы оповещения опасности утопления.
6.2 Дополнительно ванны бассейнов могут быть укомплектованы:
- стартовыми тумбами (для ванн спортивных бассейнов);
- стартовыми помостами (для ванн спортивных бассейнов);
- перегородкой передвижной (для ванн спортивных бассейнов);
- поворотными панелями (для ванн спортивных бассейнов);
- разметкой (для ванн спортивных бассейнов);
- подводной подсветкой;
- подводной системой озвучивания.
7 Требования к конструктивным элементам
7.1 Расчет надежности конструкции при воздействии гидростатического давления следует осуществлять с помощью компьютерного моделирования (например, в программе SOLIDWORKS Flow Simulation, версия не ниже SW2015).
7.2 Конструктивные элементы ванны в местах установки закладных деталей для разделительных дорожек должны выдерживать нагрузку натяжением троса до 20 кН.
7.3 Толщину листов нержавеющей стали для ванн бассейнов из нержавеющей стали следует выбирать, исходя из назначения и конструктивных особенностей ванн бассейнов, представленных в таблице 1.
Таблица 1
Параметры ванн бассейнов и толщина листов стали
Назначение ванны
Параметры ванны, м
Толщина листов стали, мм
глубина
размеры
дно ванны
стенки ванны
Спортивная
> 1
25 x 25;
50 x 21
>= 1,5
>= 2,5
Оздоровительная
>= 1
<= 25 x 15
>= 1,5
>= 2,0
Детская
< 1
<= 60 м2
>= 1,5
2,0
8 Требования к сварочным швам ванн
8.1 Метод соединения конструктивных элементов металлических ванн, обеспечивающий водонепроницаемость резервуара, - сварка - осуществляется как в заводских условиях, так и при сборке конструкции на месте монтажа.
8.2 При проведении сварочных работ по монтажу ванны бассейна крытого типа следует соблюдать требования ГОСТ 23118, температуру материала (стали) и воздуха от 15 °C до 35 °C и требования ГОСТ 5264.
8.3 Ванны бассейнов из нержавеющей стали не требуют деформационных швов в пределах изменения температуры +/- 10 °C относительно средней температуры эксплуатации ванны бассейна.
9 Требования к основаниям
Нормативные и расчетные значения характеристик оснований для сварных конструкций ванн для бассейнов (фундаментов, грунтов и пр.) определяют в соответствии с СП 50-101-2004.
10 Защита от поражения электрическим током
Ванны бассейнов из нержавеющей стали должны обеспечивать защиту посетителей по ГОСТ Р 50571.7.702, ГОСТ Р 50571.5.54.
11 Маркировка, упаковка, транспортировка, хранение
Конструктивные элементы металлических ванн, предназначенные для сварки бассейнов, требуют маркировки, упаковки, транспортировки и хранения согласно ГОСТ 7566.
12 Методы контроля и испытания
12.1 Контроль ванн металлических бассейнов для плавания следует осуществлять методом технологического контроля конструкторской документации производителя на соответствие требованиям разделов 4 - 9 настоящего стандарта.
12.2 Контроль качества сварных швов проводят визуально-измерительными методами:
- вакуумно-пузырьковым методом течеискания по ГОСТ 24054;
- капиллярным методом по ГОСТ 18442.
БИБЛИОГРАФИЯ
[1]
Санитарно-эпидемиологические требования к эксплуатации помещений, зданий, сооружений, оборудования и транспорта, а также условиям деятельности хозяйствующих субъектов, осуществляющих продажу товаров, выполнение работ или оказание услуг
УДК 796.021.26:006.354
ОКС 97.220.10
Ключевые слова: ванна бассейна для плавания, металлическая ванна бассейна, нержавеющая сталь