Главная // Актуальные документы // ГОСТ Р (Государственный стандарт)СПРАВКА
Источник публикации
М.: Стандартинформ, 2021
Примечание к документу
Документ
введен в действие с 01.08.2021.
Название документа
"ГОСТ Р 59308-2021. Национальный стандарт Российской Федерации. Нефтяная и газовая промышленность. Проектирование и эксплуатация систем подводной добычи. Часть 17. Руководство по вспомогательному оборудованию гибких трубопроводов"
(утв. и введен в действие Приказом Росстандарта от 13.05.2021 N 342-ст)
"ГОСТ Р 59308-2021. Национальный стандарт Российской Федерации. Нефтяная и газовая промышленность. Проектирование и эксплуатация систем подводной добычи. Часть 17. Руководство по вспомогательному оборудованию гибких трубопроводов"
(утв. и введен в действие Приказом Росстандарта от 13.05.2021 N 342-ст)
Утвержден и введен в действие
агентства по техническому
регулированию и метрологии
от 13 мая 2021 г. N 342-ст
НАЦИОНАЛЬНЫЙ СТАНДАРТ РОССИЙСКОЙ ФЕДЕРАЦИИ
НЕФТЯНАЯ И ГАЗОВАЯ ПРОМЫШЛЕННОСТЬ
ПРОЕКТИРОВАНИЕ И ЭКСПЛУАТАЦИЯ СИСТЕМ ПОДВОДНОЙ ДОБЫЧИ
ЧАСТЬ 17
РУКОВОДСТВО ПО ВСПОМОГАТЕЛЬНОМУ ОБОРУДОВАНИЮ
ГИБКИХ ТРУБОПРОВОДОВ
Petroleum and natural gas industry. Design and operation
of subsea production systems. Part 17. Guidelines for bonded
flexible pipes auxiliary installations
ГОСТ Р 59308-2021
Дата введения
1 августа 2021 года
1 РАЗРАБОТАН Обществом с ограниченной ответственностью "Газпром 335" (ООО "Газпром 335")
2 ВНЕСЕН Техническим комитетом по стандартизации ТК 023 "Нефтяная и газовая промышленность"
3 УТВЕРЖДЕН И ВВЕДЕН В ДЕЙСТВИЕ
Приказом Федерального агентства по техническому регулированию и метрологии от 13 мая 2021 г. N 342-ст
4 ВВЕДЕН ВПЕРВЫЕ
Правила применения настоящего стандарта установлены в статье 26 Федерального закона от 29 июня 2015 г. N 162-ФЗ "О стандартизации в Российской Федерации". Информация об изменениях к настоящему стандарту публикуется в ежегодном (по состоянию на 1 января текущего года) информационном указателе "Национальные стандарты", а официальный текст изменений и поправок - в ежемесячном информационном указателе "Национальные стандарты". В случае пересмотра (замены) или отмены настоящего стандарта соответствующее уведомление будет опубликовано в ближайшем выпуске ежемесячного информационного указателя "Национальные стандарты". Соответствующая информация, уведомление и тексты размещаются также в информационной системе общего пользования - на официальном сайте Федерального агентства по техническому регулированию и метрологии в сети Интернет (www.gost.ru)
Создание и развитие отечественных технологий и техники для освоения шельфовых нефтегазовых месторождений должно быть обеспечено современными стандартами, устанавливающими требования к проектированию, строительству и эксплуатации систем подводной добычи. Для решения данной задачи Министерством промышленности и торговли Российской Федерации и Федеральным агентством по техническому регулированию и метрологии реализуется "Программа по обеспечению нормативной документацией создания отечественной системы подводной добычи для освоения морских нефтегазовых месторождений". В объеме программы работ предусмотрена разработка национальных стандартов и предварительных национальных стандартов, областью применения которых являются системы подводной добычи углеводородов.
Целью разработки настоящего стандарта является обеспечение безопасности эксплуатации систем подводной добычи за счет установления требований к вспомогательному оборудованию для гибких трубопроводов.
Настоящий стандарт распространяется на вспомогательное оборудование для гибких трубопроводов систем подводной добычи, обеспечивающее безопасную эксплуатацию.
В настоящем стандарте представлено руководство по проектированию, выбору материалов, анализу, изготовлению, испытаниям, транспортировке, монтажу и управлению вспомогательным оборудованием гибких трубопроводов при его эксплуатации. Руководство, представленное в настоящем стандарте, дополняет требования
ГОСТ Р 59307.
Настоящий стандарт применим к следующему вспомогательному оборудованию для гибких трубопроводов:
- к устройствам обеспечения жесткости на изгиб;
- ограничителям изгиба;
- раструбам;
- модулям плавучести и балластным модулям;
- подводным буям;
- кабель-тросам для подводных буев и хомутам кабель-тросов;
- основаниям райзеров и кабель-тросов;
- фиксирующим устройствам;
- хомутам подводных буев;
- хомутам канатов;
- переходным хомутам;
- ремонтным хомутам;
- уплотнениям I/J-образных труб;
- направляющим головкам/средствам установки;
- муфтам;
- соединениям;
- устройствам для передачи нагрузки;
- устройствам механической защиты;
- средствам противопожарной защиты.
Настоящий стандарт не распространяется на вспомогательное оборудование гибких труб, находящееся за пределами узла соединения, за исключением оснований райзеров и устройств для передачи нагрузки. Таким образом, настоящий стандарт не распространяется на турельные конструкции или I- и J-образные трубы. Также настоящий стандарт не применим к устройствам хранения гибких трубопроводов.
Настоящий стандарт применим ко вспомогательному оборудованию для гибких трубопроводов, требования к которому изложены в
ГОСТ Р 59309 (см. также
[1]).
При проектировании, строительстве и эксплуатации систем подводной добычи под техническим наблюдением Российского морского регистра судоходства (РМРС) в дополнение к требованиям настоящего стандарта следует выполнять требования Правил РМРС
[2].
В настоящем стандарте использованы нормативные ссылки на следующие стандарты:
ГОСТ 15.309 Система разработки и постановки продукции на производство. Испытания и приемка выпускаемой продукции. Основные положения
ГОСТ 3241 Канаты стальные. Технические условия
ГОСТ 5875 Механизмы якорные с электрическим и гидравлическим приводом. Типы, основные параметры, технические требования и правила приемки
ГОСТ 15763 Соединения трубопроводов резьбовые и фланцевые на PN (
Pу) до 63 МПа (до ~= 630 кгс/см
2). Общие технические условия
ГОСТ 30055 Канаты из полимерных материалов и комбинированные. Технические условия
ГОСТ 30188 Цепи грузоподъемные калиброванные высокопрочные. Технические условия
ГОСТ ISO 898-1 Механические свойства крепежных изделий из углеродистых и легированных сталей. Часть 1. Болты, винты и шпильки установленных классов прочности с крупным и мелким шагом резьбы
ГОСТ ISO 898-2 Механические свойства крепежных изделий из углеродистых и легированных сталей. Часть 2. Гайки установленных классов прочности с крупным и мелким шагом резьбы
ГОСТ ISO 3506-1 Механические свойства крепежных изделий из коррозионно-стойкой нержавеющей стали. Часть 1. Болты, винты и шпильки
ГОСТ ISO 3506-2 Механические свойства крепежных изделий из коррозионно-стойкой нержавеющей стали. Часть 2. Гайки
ГОСТ ISO 9554 Канаты из волокон. Общие технические условия
ГОСТ Р 8.568 Государственная система обеспечения единства измерений. Аттестация испытательного оборудования. Основные положения
ГОСТ Р 51365 (ИСО 10423:2003) Нефтяная и газовая промышленность. Оборудование для бурения и добычи. Оборудование устья скважины и фонтанное устьевое оборудование. Общие технические требования
ГОСТ Р 53295 Средства огнезащиты для стальных конструкций. Общие требования. Метод определения огнезащитной эффективности
ГОСТ Р 54483 (ИСО 19900:2002) Нефтяная и газовая промышленность. Платформы морские для нефтегазодобычи. Общие требования
ГОСТ Р 55430 Соединения трубопроводов разъемные. Оценка технического состояния и методы испытаний. Безопасность эксплуатации
ГОСТ Р 57555 (ИСО 19901-3:2014) Нефтяная и газовая промышленность. Сооружения нефтегазопромысловые морские. Верхние строения
ГОСТ Р 58283 Нефтяная и газовая промышленность. Арктические операции. Учет ледовых нагрузок при проектировании морских платформ
ГОСТ Р 59266 (ИСО 19901-9:2019) Нефтяная и газовая промышленность. Сооружения нефтегазопромысловые морские. Управление конструктивной целостностью
ГОСТ Р 59307 Нефтяная и газовая промышленность. Проектирование и эксплуатация систем подводной добычи. Часть 16. Технические условия на вспомогательное оборудование для гибких трубопроводов
ГОСТ Р 59309 (ИСО 13628-2:2006) Нефтяная и газовая промышленность. Проектирование и эксплуатация систем подводной добычи. Часть 2. Гибкие трубные системы многослойной структуры без связующих слоев для подводного и морского применения
Примечание - При пользовании настоящим стандартом целесообразно проверить действие ссылочных стандартов в информационной системе общего пользования - на официальном сайте Федерального агентства по техническому регулированию и метрологии в сети Интернет или по ежегодному информационному указателю "Национальные стандарты", который опубликован по состоянию на 1 января текущего года, и по выпускам ежемесячного информационного указателя "Национальные стандарты" за текущий год. Если заменен ссылочный стандарт, на который дана недатированная ссылка, то рекомендуется использовать действующую версию этого стандарта с учетом всех внесенных в данную версию изменений. Если заменен ссылочный стандарт, на который дана датированная ссылка, то рекомендуется использовать версию этого стандарта с указанным выше годом утверждения (принятия). Если после утверждения настоящего стандарта в ссылочный стандарт, на который дана датированная ссылка, то это положение рекомендуется применять без учета данного изменения. Если ссылочный стандарт отменен без замены, то положение, в котором дана ссылка на него, рекомендуется применять в части, не затрагивающей эту ссылку.
В настоящем стандарте применены следующие термины с соответствующими определениями:
3.1 балластный модуль: Компонент с отрицательной плавучестью.
Примечание - Несколько таких компонентов используют в отдельных точках на отрезках гибкой трубы для придания дополнительного веса.
3.2 бандаж: Устройство, используемое для закрепления механической защиты гибкой трубы.
3.3 блокировка: Совместное сцепление отдельных элементов ограничителя изгиба.
3.4 верхнее соединение: Соединение между концевым фитингом гибкой трубы и платформой/судном.
3.5 верхний участок: Участок гибкой трубы между платформой/судном и подводным буем.
3.6 время усадки: Время, которое требуется для полимерных или композитных элементов для схватывания в форме до их удаления из формы.
3.7 вспомогательное оборудование: Компоненты, крепящиеся к гибкой трубе с целью выполнения одной из следующих функций:
- управление поведением гибкой трубы;
- обеспечение структурного перехода между гибкой трубой и прилегающими конструкциями;
- защита и ремонт гибкой трубы;
- крепеж других конструкций к гибкой трубе;
- обеспечение герметичности по всей длине гибкой трубы.
3.8 вспомогательное постоянное оборудование: Вспомогательное оборудование, которое должно быть использовано в течение всего срока службы гибкой трубы.
3.9 вымывание: Удаление или растворение грунта донными течениями.
3.10 гибридный ограничитель изгиба: Ограничитель изгиба с комбинацией полимерных и металлических элементов.
3.11 гистерезис: Поведение гибкой трубы при изгибе, которое характеризуется изменением жесткости при изгибе, наблюдаемым в отношении момент-кривизна, когда преодолевается трение армирующих слоев гибкой трубы, работающих на растяжение, и доминирующим применительно к жесткости на изгиб становится воздействие полимерных слоев.
Примечание - Когда меняется направление изгиба, вновь появляется высокая жесткость по причине трения, но до того момента, пока она снова не преодолевается. Отношение момент-кривизна подобно упругопластической реакции и для циклического изгиба представляет собой замкнутый контур.
3.12 динамический ограничитель изгиба: Ограничитель изгиба, который не задает фиксированное значение угла изгиба трубопровода, а ограничивает угол изгиба в определенном диапазоне, воспринимая изменяющиеся воздействия окружающей среды.
3.13 донное соединение: Соединение между концевым фитингом и основанием райзера.
3.14 желоб: Часть подводной арочной конструкции, на которую опирается гибкая труба и к которой гибкую трубу можно прикрепить.
3.15 захват типа "китайский палец": Приспособление, которое используется во время установки гибких труб и представляет собой ячеистую структуру, обхватывающую внешнюю оболочку гибкой трубы.
Примечание - Ячеистую сетку устанавливают таким образом, что чем выше нагрузка, накладываемая на нее, тем жестче ее хват.
3.16 защитный вкладыш элемента жесткости на изгиб: Футеровка, которая с внутренней стороны покрывает гнездо для концевого фитинга в прилегающей к концевому фитингу стыковочной конструкции и позволяет избежать контакта между внешней оболочкой гибкой трубы и металлическими частями стыковочной конструкции.
Примечание - Пример защитного вкладыша элемента жесткости на изгиб для определенной конфигурации элемента жесткости на изгиб показан на
рисунке 3.1.
1 - конструкция соединения; 2 - армированная конструкция;
3 - шпилька; 4 - конструкционные ребра; 5 - расширенная
футеровка; 6 - верхняя конструкция; 7 - фланец;
8 - колпак; 9 - корпус; 10 - наконечник
Рисунок 3.1 - Пример элемента жесткости на изгиб
для I-образной трубы
Примечание - Ячеистую сетку устанавливают таким образом, что чем выше нагрузка, накладываемая на нее, тем жестче ее хват.
3.17 истирание: Фактор нарушения целостности защитного покрытия (материала конструкции) в результате продолжительного трения (повторяющихся относительных движений) с поверхностью другой прилегающей конструкции.
3.18 канатное основание: Конструкция, прикрепляющая один или группу тросов к морскому дну, включая точки крепления канатов и такелажные узлы.
3.19 колпак элемента жесткости на изгиб: Конструктивный элемент определенных элементов жесткости на изгиб, который представляет собой цилиндрический металлический корпус, охватывающий элемент жесткости у его основания с внешней стороны.
Примечание - Пример колпака элемента жесткости на изгиб для определенной конфигурации элемента жесткости на изгиб показан на
рисунке 3.1.
3.20 композитная синтактическая пена: Композитный материал, состоящий из полимерной матрицы, содержащей как микросферы, так и макросферы.
3.21 концевой фитинг: Механическое устройство, формирующее переход между телом гибкой трубы и соединителем, в котором заделывают все трубные слои таким образом, чтобы обеспечить передачу нагрузок между гибкой трубой и соединителем.
3.22 корпус хомута: Часть хомута, находящаяся в поверхностном контакте с внешней оболочкой гибкой трубы.
3.23 корпус элемента жесткости на изгиб: Полимерная часть элемента жесткости на изгиб, обеспечивающая дополнительную жесткость гибкой трубы для того, чтобы не допустить ее избыточного изгибания.
Примечание - В колпаках элемента жесткости на изгиб часто размещаются охватываемые части механизма элементов жесткости на изгиб, а в раструбах - охватывающая часть (корпус элемента жесткости на изгиб для определенной конфигурации элемента жесткости на изгиб показан на
рисунке 3.1).
3.24 макросферы: Керамические, полимерные или композитные сферы диаметром более 1 мм, образующие структурную часть композитной синтактической пены.
3.25 механизм захвата элемента жесткости на изгиб: Конструкция или механизм, соединяющие элемент жесткости на изгиб с опорной конструкцией, что позволяет передавать нагрузку при изгибе с элемента жесткости на изгиб на опорную конструкцию.
3.26 механическая защита: Слой материала, закрывающий обозначенный участок гибкой трубы с целью защитить его от абразивного износа и ударных нагрузок или обеспечить целостность конструкции на промежутке между гибкой трубой и прочими подводными трубопроводами.
3.27 микросферы: Керамические, полимерные или композитные сферы диаметром от 1 и до 1000 мкм, образующие структурную часть синтактической и композитной пены.
3.28 модуль плавучести: Отдельный компонент, состоящий из элемента плавучести, внутреннего зажима и всех необходимых крепежей, которые удерживают данные компоненты.
Примечание - Модуль используют для обеспечения подъемной силы для гибких труб путем прикрепления нескольких таких компонентов по всей длине трубы.
3.29 модульный элемент: Часть модуля плавучести или балластного модуля, который придает выталкивающую силу или добавляет вес модулю.
3.30 мокрый ремонт: Ремонт гибкой трубы без ее извлечения из воды.
3.31 нагрузки от воздействия окружающей среды: Нагрузка, вызванная внешними параметрами окружающей среды.
3.32 наконечник элемента жесткости на изгиб: Коническая часть корпуса элемента жесткости на изгиб, не закрепляемая к опорной конструкции.
3.33 направляющая головка: Устройство, используемое в ходе установки гибкой трубы для состыковки концевого фитинга гибкой трубы с тросом для протягивания.
Примечание - Данное устройство состоит из конструкции, которая стыкуется с концевым соединением, и соединительного элемента для подъемного оборудования.
3.34 направляющая трубной связки: Проставка в системе трубной связки, которая крепится при помощи зажима на опорной трубе и позволяет поддерживаемой трубе совершать относительные перемещения.
3.35 начальная чистая плавучесть: Чистая плавучесть в начале срока службы.
3.36 нижний участок: Участок гибкой трубы между основанием райзера и подводным буем.
3.37
ограничитель изгиба: Механическое устройство ограничения изгиба, функционирующее как механический стопор и ограничивающее локальный радиус изгиба гибкой трубы до его минимального значения. |
3.38 окислительное старение: Ухудшение характеристик материала с течением времени, вызванное изменениями на молекулярном уровне по причине подверженности воздействию кислорода.
3.39 окончательная чистая плавучесть: Плавучесть в конце срока службы.
3.40 опорная конструкция: Конструкция, поддерживающая и передающая нагрузки от гибкой трубы или ограничителя изгиба на платформу, морское дно или на промежуточное соединение.
3.41 опорная труба: Труба, поддерживающая одну или несколько труб при помощи комплекта зажимов трубной связки или направляющих.
Примечание - Опорная труба может быть гибкой трубой.
3.42 основание райзера: Конструкция, располагаемая на морском дне и используемая для обеспечения герметичного соединения между райзером и трубопроводом.
Примечание - Основание райзера может быть оконечным устройством трубопровода или манифольдом (PLET или PLEM).
3.43 основание элемента жесткости на изгиб: Лицевая сторона стыковочной конструкции со стороны опорной конструкции, от которой начинается элемент жесткости на изгиб.
3.44 отрицательная плавучесть: Плавучесть, при которой вес вытесненной телом воды превосходит вес тела.
3.45 переходная муфта с внутренней резьбой: Стыковочная конструкция, соединяющая элементы гибких труб и имеющая внутреннюю резьбу.
3.46 переходная муфта с наружной резьбой: Стыковочная конструкция, соединяющая элементы гибких труб и имеющая наружную резьбу.
3.47 поддерживаемая труба: Труба, крепящаяся к опорной трубе при помощи комплекта зажимов трубной связки.
Примечание - Поддерживаемая труба может быть гибкой трубой.
3.48 положительная плавучесть: Плавучесть, при которой вес вытесненной телом воды меньше веса тела.
3.49
радиус изгиба: Радиус изгиба гибкой трубы, измеренный от осевой линии трубы. Примечание - Минимальные радиусы изгиба (MBR) при хранении и эксплуатации определены в 6.3.1. |
3.50 рама подводного буя: Структурная часть подводного буя.
Примечание - Включает желоба, места крепления для зажимов и цистерны либо элементы плавучести, а также точки соединения с аппаратными средствами канатов.
3.51 распыленная пена: Полимерная пена, не содержащая микросфер или макросфер.
3.52
раструб: Часть направляющей трубы в форме расширения, предназначенная для предупреждения перегибов гибкой трубы. |
3.53 реактивная муфта: Стыковочная конструкция ограничителя изгиба, включающая разъемный кожух, который крепится зажимом вокруг концевого фитинга гибкой трубы.
3.54 реактивный фланец: Стыковочная конструкция ограничителя изгиба, включающая разъемный фланец, который напрямую крепится болтами к опорной конструкции, над которой собирается элемент ограничителя изгиба.
3.55 ремонтный хомут: Хомут, охватывающий поврежденный участок гибкой трубы в качестве средства ремонта такого участка.
3.56 синтактическая пена: Композитный материал, состоящий из полимерной матрицы, которая содержит только микросферы.
3.57 система гибких труб: Система для передачи сред, в которой гибкая(ие) труба(ы) являет(ют)ся основным компонентом, включающим вспомогательные компоненты, напрямую или косвенно присоединенные к трубе.
3.58 соединение гибкого райзера с основанием: Часть основания райзера, образующая переход между концевым фитингом гибкой трубы и конструкцией основания райзера.
3.59 соединитель: Устройство, используемое для обеспечения герметичного структурного соединения между концевым фитингом и подключаемыми трубами.
Примечание - Соединитель не включает концевые фитинги гибких трубопроводов.
3.60 статический ограничитель изгиба: Ограничитель изгиба, который задает фиксированное значение угла изгиба трубопровода.
3.61 стойкость к смятию: Максимальная допустимая нагрузка сжатия, не вызывающая потери устойчивости.
3.62 стыковочная конструкция, прилегающая к концевому фитингу: Стыковочная конструкция элемента жесткости на изгиб, внутри которой располагается концевой фитинг.
Примечание - Пример конструкции элемента жесткости на изгиб, прилегающей к концевому фитингу, показан на
рисунке 3.2.
1 - соединительная арматура; 2 - элемент жесткости на изгиб;
3 - гибкая труба
Рисунок 3.2 - Пример стыковочной конструкции элемента
жесткости на изгиб, прилегающей к концевому фитингу
3.63 стыковочная выносная конструкция концевого фитинга: Стыковочная конструкция элемента жесткости на изгиб, за пределами которой располагается концевой фитинг.
Примечание - Пример стыковочной конструкции между соединительной арматурой и элементом жесткости на выносной изгиб концевого фитинга показан на
рисунке 3.3.
1 - соединительная арматура; 2 - элемент жесткости на изгиб;
3 - гибкая труба
Рисунок 3.3 - Пример стыковочной конструкции между
соединительной арматурой и элементом жесткости на выносной
изгиб концевого фитинга для элемента жесткости на изгиб
3.64 стыковочная конструкция: Конструкция, передающая нагрузки от элемента жесткости на изгиб или от ограничителя изгиба на прилегающую конструкцию.
3.65 сухой ремонт: Ремонт гибкой трубы, извлеченной из воды.
3.66 термический удар: Резкое изменение температуры в течение короткого периода времени.
3.67 термическое старение: Ухудшение характеристик материала с течением времени, вызванное изменениями на молекулярном уровне по причине воздействия температуры.
3.68 уплотнение I/J-образных труб: Приспособление, устанавливаемое вокруг гибкой трубы и используемое для обеспечения герметичного уплотнения в I/J-образной трубе в целях сдерживания внутри жидкости, препятствующей коррозии.
3.69 уплотнительный элемент: Часть уплотнения I/J-образной трубы, обеспечивающая уплотнение.
3.70 установочная опора: Поворотная площадка для укладки гибких труб, подводимая барабанами или конвейерной системой карусельного типа, угол которой по отношению к вертикали можно отрегулировать.
3.71
устройство обеспечения жесткости на изгиб: Вспомогательный компонент конической формы, который локально поддерживает трубу для ограничения величины изгибающих напряжений и изгиба трубы до приемлемых уровней. Примечание - Гибкая труба проходит через устройства обеспечения жесткости на изгиб, закрепляемые на концевом фитинге или на опорной конструкции. |
3.72 устройство ограничения изгиба: Устройство, используемое для ограничения изгиба гибкой трубы.
Примечание - К устройствам ограничения изгиба относятся ограничители изгиба, устройства обеспечения жесткости на изгиб и раструбы.
3.73 устройство передачи нагрузки: Устройство, используемое для передачи нагрузок от концевого фитинга гибкой трубы или стыковочной конструкции ограничителя изгиба на верхние конструкции, но не предназначенное для работы под давлением.
3.74 фиксирующий внутренний вкладыш: Часть корпуса фиксирующих устройств, состоящая из эластичного прокладочного материала, контактирующего с внешней оболочкой гибкой трубы, что позволяет нивелировать изменения внешнего диаметра гибких труб.
3.75 химическое старение: Ухудшение характеристик материала с течением времени, вызванное изменениями на молекулярном уровне по причине подверженности воздействию химикатов.
3.76 хомут внутреннего зажима: Конструктивный элемент определенных модулей плавучести, при помощи которого прикрепляют внутренний корпус зажима к гибкой трубе.
Примечание - Хомут внутреннего зажима расположен в пределах внутренней части элемента плавучести.
3.77 хомут трубной связки: Проставка в системе трубной связки, которая крепится при помощи зажимов на опорной и поддерживаемой трубах и не позволяет поддерживаемой трубе совершать перемещения относительно поддерживающей трубы.
3.78 цистерна плавучести: Часть определенных подводных буев, которая состоит из сосуда высокого давления, заполненного газом под давлением, равным или превышающим давление окружающей среды, обеспечивающим подъемную силу для подводного буя.
3.79 чистая плавучесть: Плавучесть, которая получается с учетом всех компонентов подводного буя или модуля плавучести.
3.80 эксплуатационные нагрузки: Все нагрузки на вспомогательное оборудование во время эксплуатации.
3.81 элемент жесткости на временный изгиб: Элемент жесткости на изгиб, который требуется для временной установки на гибкие трубы при транспортировке и погрузке (или прочей деятельности), но не для эксплуатации.
3.82 элемент жесткости на изгиб для I-образной трубы: Элемент жесткости на изгиб, прикрепляемый к верхнему соединению гибкой трубы, которая свешивается с судна/платформы через I-образную трубу.
Примечание - Пример элемента жесткости на изгиб I-образной трубы показан на
рисунке 3.1.
3.83 элемент жесткости на постоянный изгиб: Элемент жесткости на изгиб, который следует использовать в течение всего срока службы гибкой трубы.
3.84 элемент жесткости на промежуточный изгиб: Элемент жесткости на изгиб, расположенный в некоторой промежуточной точке, кроме верхнего соединения и донного соединения.
3.85 элемент ограничителя изгиба: Составная часть ограничителя изгиба.
Примечание - Несколько частей состыковываются вместе по длине и образовывают целый ограничитель изгиба.
3.86 элемент плавучести: Часть модуля плавучести или некоторое количество подводных буев, обеспечивающие модулю или бую выталкивающую силу.
Примечание - Элемент плавучести включает в себя плавучий материал, который может иметь защитный внешний слой. Он не включает цистерны плавучести.
3.87 якорное основание: Конструкция, используемая для закрепления одного конца троса на морском дне.
4 Обозначения и сокращения
В настоящем стандарте применены следующие обозначения и сокращения:
Ca - коэффициент расчетной нагрузки;
Cf - коэффициент допустимого напряжения;
M - изгибающий момент;
Fs - сдвигающая сила;
G - модуль сдвига;
E - модуль упругости при растяжении;

- коэффициент Пуассона;
T - эффективное напряжение;

- сила натяжения каната;

- изменение угла от среднего ненапряженного положения для гибкой трубы;

- изгибающая компонента напряжений;

- мембранная компонента напряжений;

- дополнительное напряжение;

- минимальный предел текучести материала;

- компонент напряжения

по Мизесу;
K - коэффициент объемного сжатия;
| | ИС МЕГАНОРМ: примечание. В официальном тексте документа, видимо, допущена опечатка: абзац упоминается дважды. | |
E - модуль упругости при растяжении;

- изменение объема;
V - начальный объем;
p - прилагаемое гидростатическое давление;
КИПиА - контрольно-измерительные приборы и автоматика;
ПКМ - полимерный композитный материал;
ПСИ - приемо-сдаточные испытания;
ТНПА - телеуправляемый необитаемый подводный аппарат;
ТТ - технические требования;
УФ - ультрафиолет;
ЧПУ - числовое программное управление;
REF - соединительная арматура стояка;
FPS - плавучая система нефтедобычи;
MBR - минимальный радиус изгиба (minimum bending radius).
5.1 Введение
Все вспомогательное оборудование гибких трубопроводов должно соответствовать руководствам, изложенным в настоящем разделе. Фиксирующие устройства (хомуты модуля плавучести, хомуты подводных буев, хомуты кабель-тросов, переходные хомуты и направляющие, ремонтные хомуты и уплотнения I/J-образных труб с хомутами) должны соответствовать
разделу 13.
Все составные части технологии вспомогательного оборудования рассмотрены в настоящем стандарте и в
ГОСТ Р 59307.
5.2 Описание вспомогательного оборудования
5.2.1 Размещение элементов в системе гибких трубопроводов
На
рисунке 5.1 показано расположение вспомогательного оборудования в системе гибких трубопроводов, т.е. типичное общее расположение элементов жесткости на изгиб, модулей плавучести, ограничителей изгиба, подводных буев, защиты от износа и ударов, оснований райзера, канатов подводных буев и основания канатов подводных буев.

- элемент жесткости на изгиб;

- модуль плавучести;

- ограничитель изгиба;

- подводный буй;

- защита от истирания;

- основание райзера;

- канат подводного буя;

- якорное основание
канатов подводного буя
Рисунок 5.1 - Расположение вспомогательного оборудования
в системе гибких трубопроводов
5.2.2 Элементы жесткости на изгиб
Элементы жесткости на изгиб используют для защиты гибкой трубы/подводных кабелей от изгиба свыше допустимых пределов и для увеличения их усталостных характеристик путем снижения градиента угла изгиба на элементах, значимых с точки зрения усталости. Элементы жесткости на изгиб часто применяют для обеспечения защиты гибкой трубы с изменяющимся углом изгиба. Элементы жесткости на изгиб также могут быть использованы при статическом угле изгиба, например при обеспечении защиты гибкой трубы во время установки. Они могут быть прикреплены к гибкой трубе либо на верхнем соединении, либо на промежуточном соединении, либо на соединении с морским дном. Элементы жесткости состоят из конической секции, изготовленной из полимерного материала с цилиндрическим отверстием для прохода гибкой трубы. Примеры типичных элементов жесткости на изгиб показаны на
рисунке 5.2 и
рисунке 5.3. Элемент жесткости на изгиб крепят к прилегающим конструкциям с помощью металлической соединительной конструкции, как показано на
рисунках 5.2 и
5.3, которая встроена в полимер, и, как правило, болтов. Также предлагаются элементы жесткости на изгиб с армированной волокном конической секцией.

Рисунок 5.2 - Элемент жесткости на изгиб
(усеченный конус)
Рисунок 5.3 - Элемент жесткости на изгиб
(усеченный конус с цилиндрическим основанием)
5.2.3 Ограничители изгиба
5.2.3.1 Ограничители изгиба предназначены для предотвращения изгиба гибких труб/подводных кабелей выше предварительно определенных пороговых значений. Ограничители изгиба могут быть использованы для поддержки гибких труб в пролетах (там, где есть вероятность повреждения конструкции трубы из-за чрезмерного изгиба), устьевой обвязки, соединениях конечных устройств трубопроводов, выходах J-образных труб, жестких переходниках труб и на подводных буях. Применение ограничителя изгиба для выхода J-образной трубы показано на
рисунке 5.4. Ограничители изгиба также могут быть использованы для предотвращения чрезмерного изгиба во время установки гибких трубопроводов (см.
рисунок 5.5).
Рисунок 5.4 - Ограничитель изгиба J-образного трубопровода
Рисунок 5.5 - Ограничитель изгиба
5.2.3.2 В отличие от элементов жесткости на изгиб, ограничители изгиба обеспечивают защиту после того, как гибкая труба достигнет определенного радиуса изгиба. Ограничитель изгиба, как правило, состоит из смыкающихся элементов, которые устанавливают вокруг гибкой трубы. Пример расстановки элементов показан на
рисунке 5.6.
Рисунок 5.6 - Конфигурация элемента ограничителя изгиба
Такие элементы не ограничивают сгибание трубы до достижения определенного радиуса изгиба, при котором элементы смыкаются между собой. Типичный полимерный ограничитель изгиба показан на
рисунке 5.7.
Рисунок 5.7 - Ограничитель изгиба
Смыкание элементов ограничителя изгиба предотвращает дальнейшее сгибание трубы, дополнительные нагрузки при этом несет ограничитель изгиба. Нагрузки передаются примыкающей конструкции с помощью соединителя. Элементы ограничителя изгиба могут включать в себя полимерные полуобечайки, которые соединены друг с другом болтами, как показано на
рисунке 5.8, или секции металлической трубы, или обработанные металлические элементы.
Рисунок 5.8 - Ограничитель изгиба с замыкающими элементами
5.2.4 Раструбы
Так же, как и элементы жесткости на изгиб и ограничители изгиба, раструбы защищают гибкие трубы от сгибания свыше допустимых значений. Раструб состоит из тонкостенной трубы, которая выравнивается в конусообразном профиле на конце, как показано на
рисунке 5.9.
Рисунок 5.9 - Раструб с округлым выходом
Гибкая труба выходит из раструба, а конусообразный профиль предотвращает сгибание гибкой трубы менее определенного радиуса изгиба в пределах допустимого диапазона углов. Профиль может быть неосесимметричным из-за ограничений по габаритным размерам, и у него может отсутствовать округлый выход. Раструбы могут быть металлическими или композитными. Металлический раструб обладает преимуществом, поскольку рассчитан на большие температуры, чем полимерные или композитные ограничители изгиба. В металлическом раструбе внутренняя поверхность, как правило, покрыта полимерным слоем для того, чтобы предотвратить износ гибкой трубы. Недостатком раструба по сравнению с элементом жесткости на изгиб может быть чрезмерно большое пространство, необходимое для размещения раструба. Также, если горизонтальные и вертикальные движения платформы/судна в условиях окружающей среды, включая волны и течения, достаточно существенные, столкновения с внутренней частью раструба могут вызвать повреждения гибкой трубы.
5.2.5 Модули плавучести
Плавная волна
Рисунок 5.10 - Конфигурация гибкого трубопровода
в виде плавной волны
Крутая волна
Рисунок 5.11 - Конфигурация гибкого трубопровода
в виде крутой волны
W-образная волна
Рисунок 5.12 - Конфигурация гибкого трубопровода
в виде W-образной волны
Требуется большое количество модулей, расположенных с промежутками вдоль гибкой трубы для того, чтобы получить конфигурацию волны. Модули плавучести обычно состоят из двух элементов: внутренний хомут и синтактический элемент плавучести или элемент плавучести из композитной синтактической пены, как показано на
рисунке 5.13, а). Пример внутреннего хомута в приближении показан на
рисунке 5.13, б).
а) Элемент плавучести из пены; б) Внутренний хомут
(увеличенное изображение); в) Единый модуль
с замыкающим штифтом
Рисунок 5.13 - Конфигурация подвесного модуля
плавучести (пример)
Полимерная внешняя оболочка обеспечивает сопротивление ударам и истиранию. Внутренний хомут крепят к гибкой трубе, а элемент плавучести устанавливают на хомуте с помощью гнезд, сделанных внутри элемента плавучести. Для фиксации внутреннего хомута к гибкой трубе используют бандаж. Внутренний гибкий хомут может быть изготовлен из титана и/или арамидного ПКМ. Элементы плавучести могут быть выполнены в виде двух половин, которые крепят друг к другу вокруг хомута с помощью болтов или внешней обвязкой. Как вариант, предусматривают конструкции в виде подвесного модуля, который зажимают на внутреннем хомуте и фиксируют отдельным замыкающим штифтом [
рисунок 5.13, в)]. Форма модулей плавучести в основном цилиндрическая, но процесс установки или другие ограничения могут потребовать прямоугольной формы. На
рисунке 5.14 показан пример цилиндрического модуля плавучести, прикрепленного к гибкой трубе внешней обвязкой.
Рисунок 5.14 - Модули плавучести с внешней обвязкой
Некоторые гибкие трубы со связующими слоями имеют встроенные эластомерные бурты через промежутки вдоль трубы для того, чтобы облегчить крепление вспомогательных устройств.
5.2.6 Балластные модули
При определенных обстоятельствах предпочтительно увеличивать вес гибкой трубы в установленных зонах. С этой целью к трубе крепят балластные модули, которые эффективно противодействуют модулям плавучести.
5.2.7 Подводные буи
5.2.7.1 Системы подводных буев используют для получения S-образных конфигураций райзера, включая плавные
(рисунок 5.15), крутые
(рисунок 5.16) (необходимо отметить, что при некоторых конфигурациях нижняя петля райзера уходит под низ буя).
Плавная S-конфигурация
Рисунок 5.15 - Плавная S-конфигурация гибкого трубопровода
Крутая S-конфигурация
Рисунок 5.16 - Крутая S-конфигурация гибкого трубопровода
Целью подводного буя является обеспечение выталкивания, продольного крепления и направления поддерживаемых гибких трубопроводов. Подводные буи обычно состоят из плавучих емкостей или элементов плавучести, поддерживаемых металлической конструкцией, на которых размещены отдельные желоба для каждой гибкой трубы. Плавучесть может быть обеспечена плавучими емкостями или твердыми элементами плавучести. Плавучие емкости могут производиться из металлических или композитных материалов, и давление в них может нагнетаться инертным газом. Элементы плавучести делаются из распыленной или синтактической пены. Гибкие трубы могут устанавливать в желоба с помощью хомутов. Система подводных буев удерживается на месте основанием канатов, к которому она крепится кабель-тросами (плавная S-конфигурация) или гибкими трубами (крутая S-конфигурация). S-образная конфигурация райзера может быть получена (как вариант) с помощью фиксированной опоры, а не плавающим буем. Главный недостаток такой системы - это снижение податливости системы райзера.
5.2.7.2 Пример подводного буя с элементами плавучести представлен на
рисунке 5.17 с арочными желобами сверху подводного буя, элементами плавучести и канатами. Примеры подводного буя с плавучими емкостями показаны на
рисунке 5.18 и
рисунке 5.19.
Рисунок 5.17 - Подводный буй с элементами плавучести
Рисунок 5.18 - Подводный буй с емкостями плавучести,
с подвеской
Рисунок 5.19 - Подводный буй с емкостями плавучести,
с желобами
На
рисунке 5.18 показано основание канатов на морском дне и промежуточное V-образное соединение, называемое подвеской, которое соединяет канаты с основной конструкцией подводного буя. На
рисунке 5.19 показаны три хомута сверху подводного буя, а также желоба.
5.2.8 Канаты
Канаты используют для удержания подводных буев на месте или для фиксации гибкой трубы на морском дне при определенных конфигурациях гибкой трубы, например конфигурации гибкой волны. Канаты могут быть изготовлены из цепи, проволочного троса или синтетического волокна. Применение канатов показано на
рисунках 5.17,
5.18 и
5.20.
Рисунок 5.20 - Общий вид хомута каната
5.2.9 Основания райзеров
Основания райзеров используют для соединения гибких трубопроводов с подводными трубопроводами, а также они могут потребоваться для поддержания системы подводных буев/арок (например, крутая S-конфигурация). Основание райзера может быть гравитационным или свайным (с забивными или вакуумными сваями). Выбор гравитационной или свайной конструкции зависит от прилагаемых нагрузок и состояния дна. Как вариант, гибкая труба может быть соединена непосредственно с оконечным устройством трубопровода или манифольдом подводного трубопровода. В этом случае оконечное устройство трубопровода или манифольд подводного трубопровода действует как основание райзера. Общие виды основания райзера и основания райзера оконечного устройства трубопровода представлены на
рисунках 5.21 и
5.22.
Рисунок 5.21 - Общий вид основания райзера
Рисунок 5.22 - Общий вид основания райзера
оконечного устройства трубопровода
5.2.10 Основания канатов
Основания канатов используют для закрепления систем подводных буев (например, плавная S-конфигурация) или для фиксации канатов гибкой трубы на морском дне при определенных конфигурациях, например в конфигурации плавной волны. Пример основания канатов для системы морских буев показан на
рисунке 5.18. Основание канатов представлено расположенным на морском дне и присоединенным к канатам.
5.2.11 Хомуты подводного буя
Хомуты подводного буя используют для фиксации гибких труб на подводных буях. Они представляют собой разборную стальную конструкцию, которую крепят болтами на гибкую трубу. Хомут может иметь полимерную внутреннюю футеровку для того, чтобы гибкая труба могла расширяться и сужаться без повреждений. На
рисунке 5.23 показан общий вид хомута подводного буя с полимерной внутренней футеровкой между корпусом хомута и гибкой трубой. Центральная круглая пластина на хомуте применена для размещения хомута внутри подводного буя. На
рисунке 5.19 показан хомут, размещенный на подводном буе.
Рисунок 5.23 - Общий вид хомута подводного буя
5.2.12 Хомуты кабелей-тросов
Хомуты кабелей-тросов используют для крепления кабелей-тросов непосредственно к гибкой трубе, как показано на общем плане гибкой трубы на
рисунке 5.20. Хомут устанавливают по окружности трубы, с которой соединен кабель-трос. Иногда необходимо предусмотреть устройства ограничения изгиба с обеих сторон хомута, так как в местах установки хомута на гибкую трубу могут оказывать воздействие чрезмерные изгибающие моменты. На
рисунке 5.24 показан общий вид сборки хомута кабеля-троса с креплением к кабелю-тросу при помощи скобы, а также шарнир, который позволяет соединению кабеля-троса вращаться по отношению к хомуту.
Рисунок 5.24 - Общий вид сборки хомута каната
5.2.13 Переходные и направляющие хомуты
Переходные и направляющие хомуты используют вдоль трубы с регулярными промежутками для того, чтобы создать опору для других линий, например подводных кабелей или гибких труб. Переходные хомуты могут состоять из разборной полимерной конструкции с цилиндрическими гнездами, которую крепят болтами к несущей трубе. Как вариант, они могут включать полимерную прокладку с цилиндрическим гнездом, как показано на
рисунках 5.25 и
5.26. Переходные хомуты размещают поддерживаемую трубу и привязываются к несущей трубе. Материалы бандажа включают углеродистую сталь, нержавеющую сталь, материал типа "супердуплекс", титан и арамидный волоконный композит.
Рисунок 5.25 - Полимерная прокладка
Рисунок 5.26 - Полимерная прокладка
5.2.14 Ремонтные хомуты
Ремонтные хомуты используют в тех местах гибкой трубы, где произошло повреждение. Пример применения ремонтных хомутов представлен на
рисунке 5.27. Как показано на рисунке, хомут может потребоваться для того, чтобы вывести газы из межтрубного пространства гибкой трубы. Существуют различные конфигурации. Легкий хомут, такой, как показан на
рисунке 5.28, может быть натянут и уплотнен с помощью ТНПА на сравнительно небольших зонах повреждения. Как вариант, конструкция большого хомута, как проиллюстрировано на
рисунке 5.29, может служить для областей повреждения большей длины или большего объема. Уплотнение создается натяжением прикрепленных болтов с помощью ТНПА.
Рисунок 5.27 - Ремонтный хомут (пример применения)
Рисунок 5.28 - Ремонтный легкий хомут
Рисунок 5.29 - Конструкция ремонтного легкого хомута
5.2.15 Уплотнения I/J-образных труб
Внутренние поверхности I-образной или J-образной труб часто трудно защитить от коррозии традиционными средствами, например покрытиями или системами катодной защиты. Вместо этого в трубе использована жидкость с ингибитором коррозии. Функция уплотнения I/J-образных труб заключается в удерживании жидкости с ингибитором коррозии внутри I/J-образной трубы. Существует два типа уплотнения I/J-образных труб - устанавливаемое водолазами и без помощи водолазов. Уплотнения I/J-образных труб, монтируемые без помощи водолазов, как показано на
рисунке 5.30 и
рисунке 5.31, втягиваются в I/J-образную трубу. Уплотнение оснащено серией уплотнительных элементов, которые представлены на
рисунке 5.30. Уплотнительные элементы удерживаются на месте на гибкой трубе с помощью фиксирующего устройства, на которое не действуют силы втягивания. Уплотнения I/J-образных труб, устанавливаемые водолазами, как показано на
рисунке 5.31, иногда могут включать в себя хомут.
Рисунок 5.30 - Уплотнение J-образной трубы,
устанавливаемое без помощи водолазов
Рисунок 5.31 - Уплотнение J-образной трубы,
устанавливаемое без помощи водолазов
(разнесенный вид)
Рисунок 5.32 - Уплотнение J-образной трубы,
устанавливаемое с помощью водолазов
5.2.16 Втяжные головки
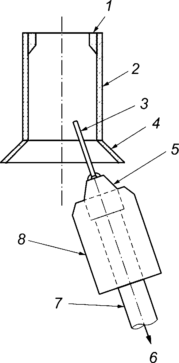
Втяжные головки, как правило, представляют собой фланцевую конструкцию, которую крепят болтами непосредственно на соединительную арматуру гибкой трубы, как показано на
рисунке 5.33. Скобу обычно приваривают к другому концу и используют для соединения с втягивающим тросом. Некоторые втяжные головки могут включать в себя отверстия для того, чтобы облегчить проведение испытаний под давлением. Это нестандартные компоненты, так как они должны быть совместимы по размеру с определенной используемой соединительной арматурой, в связи с чем их редко применяют повторно.
1 - втяжной провод; 2 - скоба; 3 - соединительная арматура
райзера; 4 - основное звено; 5 - втяжная головка
Рисунок 5.33 - Конфигурация втяжной головки
5.2.17 Муфты
Муфты используют тогда, когда требуется передача напряжения от подъемных механизмов гибкой трубе. Муфты, как правило, состоят из цилиндрической сетки или проволочного троса, который наматывают вокруг части гибкой трубы и подсоединяют к подъемному оборудованию. Пример такой конфигурации показан на
рисунке 5.34. Конструкция муфты такова, что захват на гибкой трубе увеличивается при увеличении натяжения муфты. Муфта предназначена для распределения нагрузки на гибкую трубу по осевому направлению.
1 - скоба; 2 - основное звено; 3 - проволочная стропа;
4 - защита (старая внешняя оплетка, обмотанная); 5 - муфта
Рисунок 5.34 - Конфигурации муфты (пример)
5.2.18 Соединители
Соединители используют для крепления соединительной арматуры гибкой трубы на обоих (соединяемых) концах трубы. Соединители могут состоять из простой фланцевой сборки, которую крепят болтами к соединительной арматуре, стыковочной втулки, или могут иметь более сложную конструкцию, которая позволяет соединению создавать замыкание после его втягивания. Шарнирные фланцы, как показано на
рисунке 5.35, - это определенный тип соединения, который обеспечивает преимущество в виде относительного вращения между соединением и судном, что помогает при установочных работах. Быстроразъемные системы и системы быстрого соединения могут быть применены в качестве соединений, если в эксплуатационных требованиях имеется аварийный сброс для динамической работы райзера. На
рисунке 5.36 показан пример быстроразъемной системы.
Рисунок 5.35 - Шарнирный фланец
Рисунок 5.36 - Быстроразъемная система (пример)
Главные свойства систем аварийного сброса следующие:
- запорный шаровой клапан в верхней и нижней половинах конструкции;
- возможность разъединения при полных расчетных нагрузках и внутреннем давлении;
- минимальные размеры и масса конструкции;
- полнопроходное сквозное отверстие для внутритрубопроводных работ;
- герметичное соединение с основным уплотнением торец к торцу для предотвращения повреждения уплотнений во время отсоединения/повторного соединения и динамической нагрузки;
- поплавковые клапаны, сцепленные с механизмом сброса для закрытия при разъединении (может не требоваться для всех видов применения);
- упрощенная опорная конструкция (направляющие раструбы) для простого и безопасного повторного соединения;
- возможность периодически испытывать механизм сброса, не отпуская трубопровод или не ломая основное уплотнение (или, если это невозможно, альтернативный порядок испытаний, который включает повторное испытание основного уплотнения после повторного соединения).
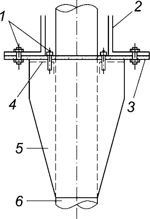
5.2.19 Устройства для передачи нагрузки
Устройства для передачи нагрузки применяют при сборке для передачи нагрузок от гибкой трубы к верхнему соединению. Устройство для передачи нагрузок может содержать бурты, хомуты или фланцы и совмещаться с соединительной арматурой гибкой трубы или соединительной конструкцией элемента жесткости на изгиб. Устройство для передачи нагрузок может быть протянуто через I/J-образную трубу судна, а охватываемая сборка замыкается в гнездовой части соединения в I/J-образной трубе.
Ниже перечислены примеры различных конфигураций устройств для передачи нагрузок и соответствующие рисунки к ним.
Бурт, сопряженный с соединительной арматурой гибкой трубы, -
рисунок 5.37.
Рисунок 5.37 - Устройство для передачи нагрузок с буртом
Хомут и бурт, сопряженные с соединительной арматурой гибкой трубы и швартовной турели, -
рисунок 5.38.
1 - соединительная арматура; 2 - хомут; 3 - болты;
4 - башня; 5 - гибкая труба; 6 - буртик; 7 - фланец
Рисунок 5.38 - Устройство для передачи нагрузок
с хомутом и буртом, швартовная турель
Хомут и бурт, сопряженные с соединительной арматурой гибкой трубы, соединительной конструкцией элемента жесткости на изгиб и швартовной турелью, -
рисунок 5.39.
1 - соединительная арматура; 2 - буртик; 3 - хомут;
4 - фланец передачи момента; 5 - гибкая труба;
6 - палубные опоры; 7 - элемент жесткости на изгиб
Рисунок 5.39 - Устройство для передачи нагрузок
с хомутом и буртом, подпалубные брусы
Фланец передачи момента, сопряженный с соединительной конструкцией элемента жесткости на изгиб, -
рисунок 5.40.
1 - болты; 2 - конструкция соединения элемента жесткости
на изгиб; 3 - элемент жесткости на изгиб; 4 - гибкая труба;
5 - I-образная труба; 6 - фланец передачи момента
Рисунок 5.40 - Устройство для передачи нагрузок
с фланцем передачи момента
Рисунок 5.41 - Втяжное устройство для передачи нагрузок
Верхнее соединение гибкого трубопровода может подвешиваться на опорную конструкцию снаружи или внутри.
Примечания
1 Гибкая труба может быть соединена с верхним трубопроводом на понтонном уровне или подвешена на уровне верхней палубы во внешнем соединении.
2 Гибкую трубу, как правило, протягивают через I/J-образную трубу и подвешивают наверху I/J-образной трубы во внутреннем соединении (
рисунок 5.37 или
рисунок 5.38).
Нагрузка внутренней и наружной подвесных конструкций значительно отличается, при внутреннем соединении имеется только осевая нагрузка, а при внешнем соединении - осевая нагрузка, нагрузка изгиба и сдвигающая нагрузка.
5.2.20 Механическая защита
5.2.20.1 Защита от истирания и ударов
Необходимо защищать гибкую трубу от истирания и ударных нагрузок в области касания с землей, где гибкая труба может иметь периодический контакт с морским дном. Защита от истирания и ударов также может быть использована для защиты гибких труб от столкновения в местах подвешивания. На
рисунке 5.42 показано типичное расположение защиты от истирания в общей системе гибкой трубы, а на
рисунке 5.43 представлен пример защиты от истирания и ударов. Также может быть установлен спиральный участок, в этом случае он обматывается вокруг гибкой трубы.
Рисунок 5.42 - Механическая защита гибкого трубопровода
(общий план)
Рисунок 5.43 - Защита гибкого трубопровода
от истирания и ударов (пример)
Такая механическая защита удерживается на месте с помощью обвязки. Обвязка может быть изготовлена из металлических или полимерных материалов, преимуществом последнего является более легкая по весу система. В некоторых изделиях обвязка расположена внутри защиты от истирания и ударов для защиты от механических воздействий. Некоторые защиты от истирания и ударов также могут добавлять вес гибкой трубе, что имеет преимущество в тех случаях, когда требуется дополнительная стабильность рядом с областью соприкосновения. Дополнительный вес, как правило, достигается при использовании полимеров высокой плотности или при введении металлических вкладышей в защиту от истирания и ударов.
5.2.20.2 Защитное покрытие
Защитное покрытие - это полимерное покрытие, которое используют для обеспечения защиты гибких труб на морском дне при наличии пересечений с трубопроводом или кабелями, как показано на
рисунке 5.44. Также защитное покрытие может быть применено для обеспечения стабильного положения гибкой трубы на дне.
Рисунок 5.44 - Защитное покрытие гибкого трубопровода
(пример)
5.2.21 Противопожарная защита
Противопожарную защиту используют для защиты системы гибких трубопроводов от пожаров, которые могут потенциально возникнуть на надводной части оборудования. Противопожарная защита может быть установлена на гибкой трубе, верхней соединительной арматуре и любом поверхностном вспомогательном оборудовании. На
рисунке 5.45 показан пример конфигурации противопожарного покрытия для защиты гибкой трубы, соединительной арматуры и подвесных конструкций. На
рисунке 5.46 представлен пример конфигурации противопожарного покрытия для защиты элемента жесткости на изгиб и подвесных конструкций.
1 - подвесная конструкция; 2 - платформа; 3 - элемент
жесткости на изгиб; 4 - противопожарная защита;
5 - труба райзера (гибкая)
Рисунок 5.45 - Устройство противопожарной защиты
для гибкого трубопровода и подвесных конструкций
1 - противопожарная защита
Рисунок 5.46 - Устройство противопожарной защиты
для элемента жесткости на изгиб и верхних конструкций
Противопожарная защита может защищать только на протяжении определенного периода времени, достаточного для выполнения действий по предотвращению попадания скважинной продукции в огонь или для повреждения системы гибкой трубы. Противопожарная защита может быть применена в виде внешнего покрытия или ленты, которая оборачивается вокруг внешней оболочки гибкой трубы. Противопожарная защита может быть предусмотрена при внедрении специальных огнестойких слоев в стандартной поперечной структуре гибкой трубы.
5.3 Вопросы проектирования
5.3.1 Общие сведения
Целью данного пункта являются разработка и предоставление руководств по проектированию вспомогательного оборудования в соответствии с требованиями
ГОСТ Р 59307.
Данный подраздел распространяется на следующее:
- исходные данные;
- процесс проектирования;
- проектные критерии;
- случаи расчетной нагрузки.
5.3.2 Исходные данные
Исходные данные - это документ, в котором указаны расчетные параметры, используемые на этапе проектирования для стационарного вспомогательного оборудования. Исходные данные могут быть в форме опросного листа, однако требуется, чтобы в них были данные, указанные в
ГОСТ Р 59307.
5.3.3 Коррозионная защита
5.3.3.1 В
ГОСТ Р 59307 установлено, что разнородные металлы изолированы друг от друга. Это достигается при использовании диэлектрических покрытий между разнородными металлами.
5.3.3.2 При использовании аноды системы катодной защиты должны быть размещены на вспомогательном оборудовании таким образом, чтобы они были легкодоступны при визуальном осмотре.
5.3.3.3 Выбор систем коррозионной защиты необходимо выполнять с учетом периода времени, в течение которого компонент будет расположен в подводных условиях до начала работ по монтажу.
5.3.4 Общие проектные критерии
5.3.4.1 Общие критерии проектирования для вспомогательного оборудования (за исключением ферменных конструкций, сосудов под давлением и подъемного оборудования) приведены в
ГОСТ Р 59307 в отношении напряжения и усталости.
5.3.4.2 Материалы должны обеспечить, как минимум, уровень безопасности, указанный в настоящем стандарте и в
ГОСТ Р 59307. Проектные критерии должны учитывать все характеристики материалов, такие как склонность к ползучести, усталости, чрезмерному натяжению, растрескиванию и т.д.
5.3.4.3 Допустимые коэффициенты использования, представленные в
ГОСТ Р 59307, определяют приемлемые коэффициенты прочности в отношении отказов, и они соответствуют коэффициентам использования для гибкой трубы. Такие коэффициенты предписывают максимальное напряжение по Мизесу как соотношение конструкционной прочности стальных материалов.
Существует три разных критерия, относящихся к касательному напряжению, напряжению изгиба и к дополнительному напряжению:

(1)

(2)

(3)
где

- касательное напряжение по Мизесу;
Cf - коэффициент допустимого напряжения, равный 0,67;
Ca - коэффициент расчетной нагрузки от 1,0 для категории рабочей нагрузки до 1,5 для категории нагрузки сохранения;

- минимальный предел текучести материала;

- изгибающая компонента напряжений;

- дополнительное напряжение.
5.3.4.4
Пункты 5.5.4,
5.5.5 предоставляют описание анализа срока службы, учитывая ползучесть и усталость. Критерии для расчетов усталости стали, других металлических, полимерных и композитных материалов указаны в
ГОСТ Р 59307.
5.3.4.5 Согласно
ГОСТ Р 59307 необходимо применять все коэффициенты прочности и их соответствующую величину, которые представлены в расчетных нагрузках.
5.3.5 Проектирование болтовых соединений
В
ГОСТ Р 59307 установлено, чтобы болты предварительно нагружались при статических и динамических работах. Болты в конструкциях, подверженных динамической нагрузке, должны предварительно нагружаться в соответствии с
ГОСТ ISO 898-1.
5.3.6 Нагрузки
5.3.6.1 Вспомогательное оборудование проектируют при соблюдении эксплуатационных требований в условиях нагрузки в соответствии с внутренней средой (при необходимости), внешней средой и сроком службы. Условия нагрузки, относящиеся к внутренней среде, непосредственно относятся к основанию райзера и ремонтным хомутам, втяжным головкам и соединениям.
5.3.6.2 Все нагрузки от стационарного вспомогательного оборудования, включая производство, хранение, транспортировку, испытания, монтаж, эксплуатацию и аварийные ситуации, определены производителем в исходных данных, указанных в
ГОСТ Р 59307.
5.3.6.3 Нагрузки, воздействующие на гибкую трубу, указаны в
ГОСТ Р 59307. Также это могут быть нагрузки, которые не воздействуют на гибкую трубу, например внутреннее давление емкости плавучести. Нагрузки, которые необходимо учесть при проектировании вспомогательного оборудования, даны в разделе о нагрузках в
ГОСТ Р 59307.
5.3.6.4 Случаи нагрузок для аварийных ситуаций следует анализировать для вспомогательного оборудования, когда такие аварийные ситуации влияют на вспомогательное оборудование (например, сценарий затопления отсека судна будет непосредственно влиять на элемент жесткости на изгиб, прикрепленный к судну). Для определенного вспомогательного оборудования возможны нештатные ситуации, которые не влияют на работоспособность вспомогательного оборудования (например, основание райзера может быть рассчитано на падение предметов). Такие нештатные ситуации описаны в
ГОСТ Р 59307 и в настоящем стандарте.
5.3.7 Расчет срока службы
Расчеты срока службы выполняют в отношении ухудшения свойств полимера (см.
5.4), коррозии металлических компонентов и анализа усталости. Если напряжения превышают пределы прочности, требуется анализ усталости. Для проведения анализа усталости изучают вспомогательное оборудование в сочетаниях усталостной нагрузки, указанных в исходных данных. Такие сочетания нагрузки получают исходя из анализов общей усталости гибкой трубы.
5.3.8 Расчет монтажа
Может потребоваться анализ вспомогательного оборудования в отношении предложенного метода монтажа, относящегося к установке либо гибкой трубы, либо вспомогательного оборудования.
5.4.1 Общие сведения
5.4.1.1 Настоящий стандарт в части требований к материалам поддерживает установленные требования к материалам, указанным в
ГОСТ Р 59307, и представляет общее руководство по выбору материалов для вспомогательного оборудования. В настоящем подразделе перечислены используемые материалы, их рабочие характеристики приведены для рассматриваемого вспомогательного оборудования, а рекомендации по испытанию сопротивления старению - для полимерных и композитных материалов.
5.4.1.2 Материалы и их свойства следует рассматривать в отношении возможных типов отказов, а также для определения наиболее существенных требований к материалам вспомогательного оборудования. Подробный список возможных типов отказов представлен в
6.2.9,
7.2.6,
8.2.5,
9.8.3.1,
10.2.8,
11.2.8,
12.2.6,
14.8.2,
15.2.5,
16.2.6,
17.6.2,
18.7.3.1,
19.2.4,
20.1.4,
21.7.3.1,
22.5.3.1,
23.7.2,
23.7.3,
24.7.3.1.
5.4.2 Полимерные материалы
5.4.2.1 Модуль сдвига G для изотропных материалов можно рассчитать по следующей формуле:

(4)
где E - модуль упругости при растяжении;

- коэффициент Пуассона.
5.4.2.2 Сопротивление истиранию и ударопрочность, измеренные с помощью лабораторных испытаний материалов, следует использовать исключительно как сравнительные показатели, так как трудно точно смоделировать реакцию определенных условий истирания или ударной нагрузки.
5.4.3 Порядок испытания полимеров
5.4.3.1 Общие сведения
В
ГОСТ Р 59307 определены требования к материалам и порядок испытаний. Так как не существует порядка испытаний стойкости полимерных материалов к старению, порядок не представлен в
ГОСТ Р 59307.
5.4.3.2 Испытания на старение
5.4.3.2.1 Старение полимерных и композитных материалов - это необратимый процесс при воздействии на материал определенных условий окружающей среды. Старение зависит от температуры, морской воды, воздействия воздуха (разрушение под действием озона в определенных случаях) и УФ-излучения. Необходимо указать в соответствии с
ГОСТ Р 59307 температуру воздуха и морской воды, которая воздействует на полимерные и композитные материалы. Процесс старения характеризуется изменением свойств, таких как снижение прочности или эластичности, и хрупкостью либо размягчением. К тому же физические свойства полимера или композита могут существенно изменяться при высвобождении пластификаторов.
5.4.3.2.2 Производитель может использовать дистиллированную, пресную или морскую воду для испытаний на старение материала при условии, что вода воспроизводит уровни впитывания и старения, эквивалентные или выше, чем у морской воды в указанных морских условиях.
При погружении образца в воду для определения старения материала необходимо применять нижеприведенные условия.
Температура воды не должна отклоняться от указанного значения более чем на +/- 2 °C.
Уровень pH и содержание соли воды должны быть репрезентативными для применения.
5.4.3.2.3 Испытание на старение материалов следует проводить при температурах, на основании которых выполнено проектирование вспомогательного оборудования.
5.4.4 Металлические материалы
5.4.4.1 В данном пункте представлены металлические материалы, используемые при производстве вспомогательного оборудования, и их эксплуатационные характеристики.
5.4.4.2 Требования к свойствам металлических материалов указаны в
ГОСТ Р 59307. Свойства необходимо сравнить с требованиями по типам критических отказов, представленным в настоящем стандарте. В
ГОСТ Р 59307 указаны стандарты, которым должны соответствовать металлические материалы для конструкционных компонентов.
Стандарты определяют испытания контроля качества следующих параметров:
- химический состав;
- предел текучести;
- предельная прочность;
- удлинение;
- ударопрочность.
5.4.4.3 Требования к контролю качества для металлического сырья указаны в стандартах, перечисленных в
ГОСТ Р 59307. Стандарты определяют испытания контроля качества следующих параметров:
- химический состав;
- предельная прочность;
- ударопрочность;
- допуски размеров.
Периодичность испытаний параметров контроля качества - одно испытание на разрыв и три испытания на ударную нагрузку на партию термообработки.
5.5 Вопросы анализа
5.5.1 Введение
В данном подразделе приведены рекомендации по способам общего анализа вспомогательного оборудования и по определению типичных нагрузок.
5.5.2 Локальный анализ
Локальный анализ вспомогательного оборудования, как правило, проводят путем вычислений вручную, исследований методом конечных элементов или с использованием специального программного обеспечения. Применение вычислений вручную применяют для стандартного стального оборудования, такого как подъемное оборудование, чьи характеристики широко известны и для которых существуют официальные расчетные уравнения. Испытания методом конечных элементов проводят тогда, когда имеется сложная, нестандартная геометрия компонентов и если требуется моделирование нелинейной нагрузки на материал, которую сложно смоделировать другими способами. В нижеприведенных пунктах представлены руководства и рекомендации по способам локального анализа для вспомогательного оборудования.
5.5.3 Общий анализ
Все вспомогательные компоненты системы гибкого трубопровода должны быть включены в общий анализ на этапе проектирования.
5.5.4 Анализ срока службы (общие сведения)
5.5.4.1 Расчетный срок службы стационарного вспомогательного оборудования должен быть, как минимум, эквивалентен сроку службы соответствующей гибкой трубы.
5.5.4.2 Оценку срока службы следует производить исходя из следующих критериев:
- коррозия и другие типы нарушений целостности металлических поверхностей (эрозия, водородное охрупчивание) и влияние такой коррозии на другие материалы, с которыми существует контакт;
- износ металлических материалов;
- усталость металлического, полимерного и композитного материалов;
- ухудшение свойств полимерного и композитного материалов;
- истирание полимеров и композитов.
5.5.4.3 Износ и усталость, в основном, касаются только динамических применений. Металлические материалы необходимо выбирать таким образом, чтобы не возникала коррозия или степень коррозии можно было рассчитать на основании внешних условий и учесть при проектировании вспомогательного оборудования. Другие типы возможных повреждений, включая эрозию и водородное охрупчивание, необходимо иметь в виду при выборе материала с учетом требований
ГОСТ Р 59307.
5.5.4.4 Ухудшение свойств и износ/истирание полимеров учитывают при выборе материалов. Ухудшение свойств также принимают во внимание при анализе старения/испытаний.
5.5.5.1 Если на полимерный или композитный материал действует постоянное напряжение, оно может постепенно приводить к деформации и ухудшению свойств материалов до достижения той точки, при которой материал не будет соответствовать эксплуатационным требованиям. Для проектирования необходимо знать типы нарушений для стационарного вспомогательного оборудования. Важно понимать, что материал, который может выдерживать нагрузку в течение короткого периода времени, не сможет выдерживать такую нагрузку в течение длительного периода. Время, необходимое для разрушения материала, зависит от нескольких факторов, включая уровень напряжения, температуру окружающей среды, тип окружающей среды, геометрию компонента, молекулярную структуру и метод производства.
5.5.5.2 Согласно
ГОСТ Р 59307 ползучесть не должна допускать растяжений свыше допустимых уровней и приводить к неисправностям материала, не соответствующим эксплуатационным требованиям, в течение указанного срока службы. Проектирование с учетом ползучести можно выполнить с помощью кривых ползучести, получив зависимость деформации материала, подвергаемого напряжению в течение данного периода времени. Однако получение таких кривых экспериментально занимает много времени, поскольку получение кривых ползучести для вспомогательного оборудования требует проведения испытаний в течение того же времени, что и для полного срока службы, т.е. 25 лет, и необходимо учитывать отдельную кривую для каждого напряжения. Одним из методов, используемых в промышленности, является ограничение напряжения полимера до определенного процента от допустимого с учетом того, что напряжение ограничено до такого процента, что не подвергнет материал ползучести. Соответствующие коэффициенты использования (см.
ГОСТ Р 59307) могут применять для того, чтобы не превышать допустимых пределов ползучести. Необходимо принять во внимание влияние расчетной температуры на уровень ползучести.
5.5.6 Анализ усталости
5.5.6.2 Требования к анализу усталости полимерных и композитных материалов указаны в
ГОСТ Р 59307.
5.5.6.3 Согласно
ГОСТ Р 59307 требуется, чтобы анализ усталости учитывал концентрации напряжений. Концентрации напряжения определены анализом напряжения локальных элементов. При проведении анализа следует применять мелкую сетку в зоне концентрации напряжений, чтобы точно захватить максимально связанные напряжения. Концентрации напряжения увеличивают диапазон напряжения в определенной области и, следовательно, усталостное повреждение.
5.6 Испытания опытного образца
5.6.1 Общее применение
5.6.1.1 В данном подразделе приведены руководства по требованиям к испытаниям опытных образцов и общий порядок выполнения таких испытаний. Требования к ПСИ образца и материалов указаны в
ГОСТ Р 59307.
5.6.1.2 Документация испытаний опытного образца предназначена для проверки методики проектирования (см.
ГОСТ Р 59307).
5.6.1.3 Выбранная группа испытаний для классификации конструкции опытного образца, как правило, включает испытания материалов и ПСИ, как указано в
ГОСТ Р 59307.
5.6.2 Применение испытаний
5.6.2.1 Испытания опытного образца рекомендуется проводить для новых и неопробованных конструкций вспомогательного оборудования. Цели испытаний опытного образца заключаются в следующем:
- в опробовании или проверке новых или неопробованных конструкций вспомогательного оборудования;
- проверке метода проектирования для новой конструкции вспомогательного оборудования.
5.6.2.2 Вторая цель увеличивает доверительный уровень в методе проектирования и таким образом снижает требования к испытаниям опытного образца. Требования к способу проектирования указаны в
ГОСТ Р 59307. Метод проектирования должен обеспечивать оценку разрушающей нагрузки для определенного испытания опытного образца. Доверительный предел должен быть установлен таким образом, при котором проектирование происходит с запасом.
5.6.2.3 Основания к уменьшению требований к испытаниям опытного образца - это необходимость повысить доверительные уровни в методе проектирования. Все проведенные испытания следует использовать для утверждения метода проектирования и минимизации будущих требований к испытаниям опытных образцов. Допускается применять утвержденные аналитические подходы для выполнения экстраполяции от соответствующих параметров, учитывая изменения параметров.
5.6.3 Требования к испытаниям
5.6.3.1 Требования к испытаниям опытных образцов должны учитывать, является ли вспомогательное оборудование новой конструкцией и какие существуют типы критических отказов и последствия. Если конструкция вспомогательного оборудования выходит за пределы ранее утвержденных конструкций, необходимо выполнить испытания опытного образца, чтобы утвердить метод проектирования. Такие испытания опытного образца должны подтвердить пригодность к использованию по назначению тех проектных параметров, которые выходят за ранее утвержденные пределы.
Расчетные параметры, которые следует учитывать при испытании опытного образца:
- расчетные нагрузки;
- расчетная температура;
- материалы;
- процесс(ы) производства.
5.6.3.2 Новая конструкция вспомогательного оборудования определена существенным изменением или модификацией одного из следующих пунктов:
- процесса производства вспомогательного оборудования (конструкционные слои, внутреннее покрытие или соединительная арматура);
- конструкции вспомогательного оборудования;
- области применения вспомогательного оборудования.
5.6.4 Типы отказов
Требования к испытаниям опытных образцов должны учитывать критичность и последствия неисправности вспомогательного оборудования. Должны быть указаны возможные дефекты, последствия таких дефектов и их причины. Крупные дефекты приведены в
таблицах 1 -
3,
5 -
17,
19,
20,
22.
5.6.5 Опытные образцы
5.6.5.1 Испытания опытных образцов следует проводить на полноразмерных изделиях.
5.6.5.2 Фактические размеры опытных образцов вспомогательного оборудования, подлежащего испытаниям опытных образцов, должны находиться в пределах размеров, допустимых для серийной продукции. При возможности, такие фактические размеры должны представлять наихудшие условия. Образцы должны включать все слабые точки, которые могут быть в конечном изделии, такие как сварные соединения, отремонтированные или поврежденные секции.
5.6.5.3 Испытательные образцы должны представлять фактически поставляемое изделие с учетом порядка проектирования и производства. Если образцы изготовлены не при серийном производстве, необходимо учесть возможную разницу между образцом и продукцией. Может потребоваться рассмотреть воспроизведение некоторых особо важных результатов испытаний по производственным образцам, чтобы проверить производственное оборудование и порядок производства.
5.6.6 Испытательное оборудование
Испытательное оборудование должно соответствовать
ГОСТ Р 8.568. Калибровку всего испытательного оборудования и КИПиА следует проводить не реже одного раза в год. Текущая сертификация/сертификаты калибровки для всего испытательного оборудования должны быть включены в исполнительно-техническую документацию (см.
ГОСТ Р 59307).
5.6.7 Порядок испытаний
Если для испытаний необходимы постоянные значения параметров, требуемые значения должны быть стабилизированы до выполнения испытания.
Стабилизацию определяют следующим образом (для параметров давления и температуры):
- давление - изменение в течение 1 ч в пределах +/- 1% от испытательного давления;
- температура - изменение в течение 1 ч в пределах +/- 2,5 °C от испытательной температуры.
5.6.8 Проверка после испытаний
Оценку отказов и нарушений необходимо фиксировать документально. Все соответствующие компоненты следует фотографировать. Исполнительная документация должна включать описание всех дефектов, которые были обнаружены в испытательном образце, а также какие дефекты привели к нарушению проектных критериев.
5.6.9 Документация
Результаты испытаний должны быть оформлены в соответствии с
ГОСТ 15.309.
5.6.10 Эксплуатационная пригодность результатов
Испытания должны быть выполнены и оформлены таким образом, чтобы результаты можно было применить на последующих этапах проектирования.
5.6.11 Промежуточные результаты
Результаты всех испытаний, включая результаты на промежуточных этапах, следует сравнивать с аналитическими результатами согласно программе проектирования. Несоответствия необходимо фиксировать.
5.6.12 Действительность результатов испытаний
Результаты испытаний действительны, только если существенные изменения процесса (порядка испытаний, проектирования или производства) не отменяют результаты.
5.6.13 Многократные испытания
Простые образцы могут проходить многократные испытания путем неразрушающих испытаний, выполняемые до разрушающих испытаний. Последовательность испытаний должна быть определена таким образом, чтобы более ранние испытания не влияли на результаты последующих испытаний.
5.6.14 Повторяемость результатов
При испытании отдельного образца проектные параметры и параметры технологических допусков, которые влияют на характеристики, должны быть учтены при определении допустимых пределов применения оборудования.
5.7 Производство
5.7.1 Общие сведения
5.7.1.1 Нормативные положения
ГОСТ Р 59307 представляют собой требования к производству для вспомогательного оборудования гибких трубопроводов.
5.7.1.2 В данном подразделе даны общие рекомендации по маркировке и хранению вспомогательного оборудования гибких трубопроводов. Руководства по маркировке дополняют минимальные требования к маркировке, данные приведены в
ГОСТ Р 59307.
5.7.2 Производственные процессы
5.7.2.1 Объем готовой продукции, подвергаемой испытаниям по подгонке, сборке и контролю размеров, а также серийных компонентов из литых полимеров, должен составлять 5% от общего объема производства согласно
ГОСТ Р 59307.
5.7.2.2 Согласно
ГОСТ Р 59307 необходимо, чтобы болты затягивались в соответствии с
[5]. Производитель должен гарантировать, что используется оборудование, обеспечивающее правильную затяжку болтов.
5.7.3 Допуски
В настоящем стандарте представлены определенные руководства по выбору допусков на изготовление. Допуски на изготовление вспомогательного оборудования представлены в
ГОСТ Р 59307.
5.7.4 Маркировка
5.7.4.1 Нормативные положения
ГОСТ Р 59307 представляют минимальные требования к маркировке вспомогательного оборудования гибких трубопроводов. Целью данного пункта является предоставление рекомендаций по дополнительной маркировке, которая может быть нанесена на вспомогательное оборудование.
5.7.4.2 Система маркировки должна быть достаточной для сопротивления истиранию при установке и эксплуатации, с буквами и цифрами с минимальной высотой 10 мм. Вся маркировка на подводном вспомогательном оборудовании должна быть достаточно четкой, чтобы ее можно было прочесть и/или распознать на месте с помощью ТНПА, и она должна быть рассчитана на весь срок службы в расчетных условиях.
5.7.4.3 Если позволяет место, допускается наносить следующую дополнительную маркировку:
- наименование или номер проекта;
- наименование эксплуатирующей организации;
- дата производства.
5.7.5 Хранение
5.7.5.1 Вспомогательное оборудование необходимо хранить в условиях окружающей среды, которые не влияют на рабочие характеристики и соответствуют требованиям производителя к хранению.
В частности, рекомендуются следующие условия:
- температура хранения должна быть в допустимых пределах для всех компонентов вспомогательного оборудования;
- необходимо защитить области, подверженные механическим воздействиям;
- объем и влияние солнечного света должны быть в пределах, указанных производителем. При возможности, вспомогательное оборудование с материалами, чувствительными к солнечному свету, такими как полимеры и композиты, должно быть с покрытием, защищающим от ухудшения при воздействии УФ-излучения;
- необходимо избегать воздействия любых химических веществ, которые могут оказать неблагоприятное воздействие на оборудование.
Требования к хранению должны определять допустимые уровни для каждого из компонентов, перечисленных выше.
5.7.5.2 Перемещение изделия во время хранения должно быть сведено к минимуму.
5.7.5.3 Ремонтные работы, выполняемые во время хранения, следует проводить под стационарной или временной крышей с соблюдением мер по защите окружающей среды. Работы, проводимые на площадке хранения, должны проходить под строгим контролем и выполняться таким образом, чтобы не повредить и не загрязнить изделия на хранении.
5.8 Погрузочно-разгрузочные работы, транспортировка и монтаж
5.8.1 Общие сведения
В данном подразделе приведены общие руководства и рекомендации по погрузочно-разгрузочным работам, транспортировке и установке вспомогательного оборудования.
5.8.2 Регистрация дефектов в документах
Любые дефекты, которые могут быть обнаружены на любом этапе работы оборудования после поставки (хранение, погрузочно-разгрузочные работы, транспортировка, установка и эксплуатация гибкой трубы), следует регистрировать в документации, а запись должна храниться с проектной документацией.
5.8.3 Погрузочно-разгрузочные работы
Все погрузочно-разгрузочное оборудование должно соответствовать следующим требованиям и дополнительным передовым методам работы на море и использоваться согласно правилам и нормам определенных стандартов.
5.8.4 Транспортировка
5.8.4.1 Данный пункт включает все перемещения частично или полностью изготовленного изделия, которые не являются стандартной частью производственного процесса. Транспортные средства необходимо выбирать таким образом, чтобы снизить до минимума погрузочно-разгрузочные работы и возможность повреждения изделий. Если требуется использование крана, то кран должен быть полностью сертифицирован и пригоден в соответствии с требованиями к грузоподъемности.
5.8.4.2 Вспомогательное оборудование должно паковаться и транспортироваться таким образом, чтобы не повреждалось при транспортировке.
5.8.4.3 Компоненты, подверженные механическому воздействию, должны быть завернуты в надлежащую обертку, например пузырчатый упаковочный материал, чтобы защитить их поверхности от повреждения во время транспортировки.
5.8.5 Монтаж
5.8.5.1 В данном пункте представлены общие руководства и рекомендации по монтажу оборудования.
5.8.5.2 Оборудование, используемое для крепления и затяжки, должно калиброваться до монтажа, в отношении чего должны быть представлены соответствующие сертификаты о калибровке. Крепления следует затягивать согласно
[5].
5.8.5.3 Вспомогательное оборудование должно быть установлено в соответствии с описанными процедурами.
5.8.5.4 Осмотр всего вспомогательного оборудования следует проводить до его установки для того, чтобы проверить на наличие видимых дефектов, которые могли бы появиться после транспортировки.
5.8.5.5 Необходимо вести запись о натяжении каждого болта и прилагаемого натяжения для каждой обвязки.
5.9 Управление целостностью
5.9.1 Общие сведения
В данном подразделе представлены общие руководства и рекомендации по управлению целостностью вспомогательного оборудования гибкого трубопровода.
5.9.2 Принципы проверки/мониторинга
5.9.2.1 Должна быть установлена подробная программа управления целостностью на основании оценки типов нарушений, которым подвержены системы гибких трубопроводов (гибкая труба и вспомогательное оборудование), и риска, относящегося к нарушению от каждого источника.
5.9.2.2 Не исключается необходимость проектирования системы наблюдения для работы в течение расчетного срока службы в полевых условиях или сокращенного периода времени, на одном или нескольких динамических райзерах или подводных трубопроводах с соответствующим вспомогательным оборудованием.
5.9.3 Организация программы проверок/мониторинга
5.9.3.1 Возможные типы неисправностей должны быть указаны при проектировании для вспомогательного оборудования. Эксплуатационные требования к вспомогательному оборудованию необходимо принять во внимание при оценке возможных типов неисправностей.
5.9.3.2 Анализ риска должен количественно определять риск, относящийся к каждому типу неисправностей. Организация стратегии проверок/мониторинга должна соответствовать степени необходимого мониторинга или проверок для расчетного уровня риска.
5.9.3.3 Имеющиеся прямые или косвенные методы проверки/доступа к вспомогательному оборудованию должны быть оценены в отношении их пригодности для целевого применения. Более того, в проекте вспомогательного оборудования должны быть представлены соответствующие положения для облегчения наблюдения за вспомогательным оборудованием и за соответствующей верхней частью и подводными объектами.
5.9.3.4 Наблюдение за целостностью следует проводить на заводе при тщательной проверке и контроле качества. Работы по установке должны детально планироваться для того, чтобы предотвратить повреждения от погрузочно-разгрузочного оборудования.
5.9.4 Рассмотрение программы проверок/мониторинга
Программа проверок/мониторинга подлежит регулярному рассмотрению в течение срока службы полевой системы гибкой трубы. Такое рассмотрение должно пересматривать методы и периодичность рассмотрения на основании результатов проверок или мониторинга, опыта работы с такой или подобной системой либо дополнительного изучения поведения вспомогательного оборудования. Записи в документации о процессе рассмотрения следует сохранять в течение всего срока службы системы или срока службы каждой гибкой трубы в системе в том случае, если какие-либо трубы используются повторно.
5.9.5 Типы неисправностей и возможные дефекты
5.9.5.1 Тип неисправности описывает один возможный процесс, который может привести к неисправности вспомогательного оборудования. Отдельный тип неисправности, как правило, представляет последующие дефекты, которые могут потенциально появляться при неисправности вспомогательного оборудования.
5.9.5.2 Возможные дефекты, которые относятся к целостности определенного вспомогательного оборудования гибкой трубы, представлены в
таблицах 1 -
17,
19,
20,
22. Каждый дефект нумеруют и определяют вероятную причину и последствия дефекта.
5.9.6 Метод мониторинга
Основным методом мониторинга является осмотр вспомогательного оборудования гибких трубопроводов.
5.9.7 Общие рекомендации
5.9.7.1 Подводный осмотр может быть выполнен водолазами или с помощью ТНПА. Необходимо проводить периодические подводный осмотр и осмотр верхней части на наличие видимых повреждений вспомогательного оборудования в результате аварий, усталостных повреждений или повреждений во время установки. Вспомогательное оборудование следует проверять после инцидентов с возможными повреждениями. После выполнения ремонтных работ вспомогательное оборудование необходимо проверить для того, чтобы подтвердить, что ремонт или замена проведены правильно.
При осмотре необходимо определить следующие возможные проблемы:
- объем и тип морского обрастания;
- общая целостность и состояние;
- заметное загрязнение;
- состояние системы катодной защиты;
- видимое повреждение конструкций;
- дефект вспомогательного оборудования;
- соединение с другим подводным оборудованием.
5.9.7.2 Дефекты должны быть зафиксированы в документации с указанием типа, размера, расположения (указание трубы и координат), глубины и времени наблюдения. Необходимо оценить влияние дефектов на конструкционную целостность или герметичность конструкции (в соответствующих случаях).
5.9.7.3 Внешнюю поверхность вспомогательного оборудования необходимо проверить на наличие разрезов, выемок, истирания, выпуклостей и смятых участков.
5.9.7.4 Общий осмотр металлических компонентов должен включать проверку на наличие повреждений в защитном покрытии, которое может быть выщербленным или поцарапанным.
5.9.7.5 Исследование металлических компонентов должно быть выполнено для оценки состояния системы катодной защиты. Исследование системы катодной защиты должно включать общий осмотр всех анодов в системе катодной защиты. Оставшийся срок службы анодов следует определять и сравнивать с оставшимся сроком службы вспомогательного оборудования/системы гибких трубопроводов.
5.9.7.6 При определении требований к окраске должна быть учтена необходимость того, чтобы оборудование было максимально видимым в подводных условиях, чтобы облегчить работу ТНПА, водолазов. Цвета следует выбирать таким образом, чтобы избежать отблеска при просмотре системой видеонаблюдения. Как правило, для подводной морской среды выбирают желтый и оранжевый цвета.
5.9.8 Периодичность проверок
Периодичность проверок должна быть основана на учете типов отказов и оценки риска для системы гибких трубопроводов, включая вспомогательное оборудование.
6 Элементы жесткости на изгиб
6.1 Область применения
6.1.1 Данный раздел относится к статическим и динамическим элементам жесткости на изгиб, временным элементам жесткости на изгиб и стационарным элементам жесткости на изгиб.
6.1.2 Рекомендации данного раздела могут быть применены для подводных кабелей. Необходимо отметить, что существуют определенные требования к элементам жесткости на изгиб для подводных кабелей. Рекомендации, относящиеся к внутренней среде и температуре внешней оболочки, могут не подходить для подводных кабелей.
6.2 Вопросы проектирования
6.2.1 Общие сведения
В
ГОСТ Р 59307 представлены требования к проектированию элементов жесткости на изгиб. Целью данного пункта являются разработка и предоставление руководств по проектированию элементов жесткости на изгиб в соответствии с требованиями
ГОСТ Р 59307.
Данный подраздел относится к следующим вопросам:
- процесс проектирования;
- проектные критерии;
- расчетные условия нагружения.
6.2.2 Обзор проектирования
Проектирование элемента жесткости на изгиб для определенных условий гибкой трубы представлено на схеме на
рисунках 6.1 и
6.2 для статических и динамических элементов жесткости на изгиб, соответственно, и обычно выполняется на следующих этапах:
а) материалы элементов жесткости на изгиб выбирают на основании эксплуатационных требований, указанных в
ГОСТ Р 59307, в частности требований к температуре. Руководства по выбору материалов приведены в
6.3;
б) выполнение ряда статических и динамических анализов, в зависимости от конкретного случая, для гибкой трубы без элемента жесткости на изгиб. Таким образом, представляются случаи чрезмерной нагрузки, для которых анализируют элемент жесткости на изгиб. Рекомендации по статическому анализу гибкой трубы представлены в
[1];
в) основные параметры расчета элемента жесткости на изгиб: материал элемента жесткости, длина элемента жесткости и максимальный внешний диаметр элемента жесткости;
г) некоторые или все анализы этапа, приведенные в
перечислении б), повторяют с включением спроектированного элемента жесткости на изгиб и реалистично смоделированного конечного соединения в качестве общей проверки конструкции элемента жесткости. Общие руководства по анализу приведены в
6.4.3;
д) конструкцию соединения проектируют в соответствии с требованиями
ГОСТ Р 59307. Рекомендации по проектированию конструкции соединения приведены в
6.2.6;
е) при необходимости расчеты усталостного повреждения конструкции соединения выполняют в соответствии с
ГОСТ Р 59307;
ж) полномасштабное испытание на статический изгиб проводят в соответствии с
6.5.2;
и) полномасштабное испытание динамической усталости элемента жесткости на изгиб выполняется, если считают необходимым, в соответствии с
6.5.3.
Рисунок 6.1 - Схема проектирования статического элемента
жесткости на изгиб
Рисунок 6.2 - Схема проектирования динамического элемента
жесткости на изгиб
6.2.3 Повторное проектирование
6.2.3.1 В большинстве случаев влияние конструкции элемента жесткости на изгиб на характер общего анализа небольшое. При определенных условиях, в частности для сочетания жестких условий окружающей среды и большой длины элемента жесткости на изгиб по отношению к коэффициенту глубины воды, общая проверка может показать, что критерии минимального радиуса изгиба нарушены или возрос момент изгиба сопряжения. В таком случае процесс, указанный на
рисунках 6.1 и
6.2, должен быть выполнен повторно в следующей последовательности:
а) эффективное напряжение и данные угла приведены в анализе общей проверки;
б) такое эффективное напряжение и данные угла являются вводными данными местного анализа элемента жесткости на изгиб для определения новой конструкции элемента жесткости на изгиб;
в) выполняется дальнейший общий анализ проверки;
г) если критерии минимального радиуса изгиба все еще не соблюдены, повторяют этапы по
перечислениям а) -
в) до достижения совмещения для определенного проекта элемента жесткости на изгиб.
6.2.3.2 Проектирование элемента жесткости на изгиб должно быть основано на критериях гибкой трубы в противовес критериям минимального радиуса изгиба. Другими словами, общий анализ проверки может показать, что критерии усталостного ресурса гибкой трубы не соблюдены, даже если элемент жесткости на изгиб удовлетворяет критериям минимального радиуса изгиба. В таких случаях следует исходить из минимальных размеров элемента жесткости на изгиб, необходимых для того, чтобы удовлетворить критериям усталостного ресурса гибкой трубы.
6.2.4 Связь корпуса элемента жесткости на изгиб с конструкцией соединения
Элемент жесткости на изгиб следует проектировать таким образом, чтобы напряжения в зонах связки были минимальными, а коррозия в данной зоне была бы предотвращена. Целостность связи пострадает при коррозии конструкции соединения (см.
6.2.8.1). Один из способов проектирования элемента жесткости на изгиб - оценка чувствительности конструкции к дефектам соединения. Дефект соединения может быть выявлен по его размерам, геометрии и расположению. При таком подходе элемент жесткости на изгиб должен соответствовать проектным критериям при проанализированных дефектах соединения. Наибольшие повреждения будут в месте перехода между связанной и несвязанной частями трубопроводов. Характеристики соединения могут быть продемонстрированы при испытаниях в малом масштабе.
6.2.5 Проектирование корпуса элемента жесткости на изгиб
Зазор между внутренними диаметрами корпуса элемента жесткости на изгиб и внешним диаметром гибкой трубы должен быть таким, чтобы эффективные напряжения гибкой трубы не передавались на корпус элемента жесткости на изгиб, если только передача такого напряжения не была учтена в проекте корпуса элемента жесткости на изгиб. Однако зазор не должен быть настолько большим, чтобы пострадала защита гибкой трубы в такой степени, при которой критерии минимального радиуса изгиба не будут соблюдаться. Допуски по внешнему диаметру гибкой трубы следует учитывать для соблюдения данных требований.
6.2.6 Проектирование конструкции соединения
6.2.6.1 Производитель должен определить необходимый диаметр окружности крепежных отверстий болтов с подстроечным конусом, размер болтов и количество крепежных элементов для опорной конструкции, которые подходят для нагрузок, передающихся элементом жесткости на изгиб.
6.2.6.2 Может потребоваться промежуточная конструкция для связи соединительной конструкции с опорной. Тем самым можно избежать такой ситуации, когда размеры элемента жесткости на изгиб, необходимые для сопряжения с опорной конструкцией, больше, чем должны быть для соблюдения требований по нагрузке. Устройство опорной конструкции должно быть установлено как можно раньше, чтобы избежать повреждений устройства элемента жесткости на изгиб на дальнейших этапах.
6.2.6.3 Согласно
ГОСТ Р 59307 требуется, чтобы конструкция соединения не повреждала гибкую трубу. Как показано на
рисунке 6.3, металлические части элемента жесткости на изгиб могут контактировать с гибкой трубой и повреждать ее из-за относительного движения между двумя поверхностями. Подобного повреждения можно избежать, устранив относительное движение между конструкцией соединения и гибкой трубой, предотвратив таким образом истирание гибкой трубы на краях конструкции соединения. Защитный материал покрытия может быть нанесен на зоны конструкции соединения, которые будут соприкасаться с гибкой трубой.
Рисунок 6.3 - Контакт между металлическими частями элемента
жесткости на изгиб и гибким трубопроводом
6.2.6.4 Защитное расширяющееся покрытие может быть использовано внутри для покрытия всех металлических частей, которые могут при неблагоприятных условиях установки, эксплуатации, проверки или извлечения соприкасаться с гибкой трубой, если корпус элемента жесткости на изгиб не может играть эту роль.
6.2.7 Проектирование элемента жесткости на изгиб I/J-образной трубы
6.2.7.1 Для того чтобы предотвратить нецентрированность и вибрацию, зазор между колпаком элемента жесткости на изгиб и раструбом должен быть сокращен до минимума, чтобы добиться совместимости с допусками, условиями установки и допусками раструба.
6.2.7.2 Если диаметр металлического колпака негабаритный из-за требований к сопряжению с раструбом I/J-образной трубы, пространство между внешним диаметром корпуса элемента жесткости на изгиб и внутренним диаметром колпака может быть заполнено полимерным материалом. Принятая мера обеспечивает дополнительную опорную поверхность для внешней поверхности корпуса элемента жесткости на изгиб, когда закрепляется элемент жесткости на изгиб. Таким образом минимизируют деформации по поперечному сечению путем укрепления конструкции.
6.2.7.3 Стопор можно установить ниже конца элемента жесткости на изгиб для того, чтобы предотвратить чрезмерное выпадение элемента жесткости на изгиб с гибкой трубы. Положение стопора не должно мешать окружающим трубам и подводным кабелям, чтобы в случае воздействия не вызывать повреждения. Если элемент жесткости на изгиб упадет, удар по стопору не должен привести к повреждению внешней оболочки трубы или к отделению элемента жесткости на изгиб.
6.2.8 Противокоррозионная защита
6.2.8.1 В дополнение к требованиям
ГОСТ Р 59307 необходимо уделить особое внимание противокоррозионной защите такой области конструкции соединения, которая связывает ее с корпусом элемента жесткости на изгиб, поскольку коррозия ухудшает целостность связи. Элемент жесткости на изгиб следует проектировать таким образом, чтобы минимизировать попадание воды в связанные области. В конечном счете вода всегда будет поглощаться через место соединения. Однако, если напряжение в данных областях минимизировано, ухудшение качества соединения менее вероятно. Использование коррозионно-стойких материалов для конструкции соединения может гарантировать, что целостность конструкции не будет нарушена в результате коррозии.
6.2.8.2 Особое внимание необходимо уделить при проектировании систем противокоррозионной защиты металлическим компонентам, которые не видны снаружи во время проверок целостности, так как невозможно следить за степенью развития коррозии (при ее наличии) на таких компонентах после установки.
6.2.8.3 Невозможно привести соединительные конструкции элементов жесткости на изгиб в соответствии со специальной системой катодной защиты, так как большая часть поверхности конструкции соединения заделана в корпусе элемента жесткости на изгиб, а внешняя поверхность крепится к опорной конструкции. Таким образом, элемент жесткости на изгиб, как правило, защищен прилегающей системой катодной защиты в соответствии с
ГОСТ Р 59307.
6.2.8.4 Свойства коррозионно-стойких материалов для металлических компонентов конструкции соединения следует учитывать при соблюдении следующих условий:
- для компонентов со сложной или закрытой геометрией, включая конструкции соединения и крепления;
- в тех местах, где катодная защита не может работать соответствующим образом или отсутствует.
Возможные дефекты, которые возникают у элементов жесткости на изгиб, представлены в
таблице 1.
Таблица 1
Возможные дефекты элементов жесткости на изгиб
Дефект | Последствие | Возможная причина | Возможное исправление | Проектное решение/ изменяемый параметр |
1 Неисправность корпуса элемента жесткости на изгиб | а) Возможная потеря элемента жесткости на изгиб, чрезмерный изгиб или возможное повреждение гибкой трубы; б) возможное повреждение прилегающих линий в результате воздействия острых краев, получившихся при повреждении | б) удар от падающих объектов или другой подводной конструкции (например, швартовный конец); в) усталостная поломка; г) заводской брак (например, пустоты в литье); д) старение материала вследствие влияния: 1) солнечного света (только поверхностные элементы жесткости на изгиб), 2) озона (только поверхностные элементы жесткости на изгиб), 3) морской воды, 4) высокой температуры; е) ползучесть (используется только для элемента жесткости на изгиб, на который воздействует постоянная нагрузка из-за размещения за пределами его среднего ненапряженного положения из-за угла выхода гибкой трубы из опорной конструкции); ж) неправильная конструкция (повреждение во время погрузочно-разгрузочных работ, хранения, транспортировки или установки) | а) Проверка с помощью общего анализа при использовании воздействия рабочих параметров потери элемента жесткости на изгиб на защиту минимального радиуса изгиба гибкой трубы; б) извлечение элемента жесткости на изгиб, если он представляет риск для целостности системы гибкой трубы; в) при необходимости замена элемента жесткости на изгиб либо на месте, либо после извлечения гибкой трубы. Замена на месте может потребовать разъемной конструкции элемента жесткости на изгиб конструкции элемента жесткости на изгиб | б) изменение конструкции, например увеличение основания или длины корпуса элемента жесткости на изгиб; в) изменение распределения нагрузки в корпусе элемента жесткости на изгиб |
2 Неисправность конструкции соединения | Последствия в соответствии с 1 | б) усталостная поломка; в) коррозия; г) неисправность сварного соединения; д) заводской брак (например, дефект сварного узла); е) водородная хрупкость; ж) неправильная конструкция; и) неправильная установка (например, крепления затянуты неправильно) | Меры по исправлению в соответствии с 1, а) - в) | а) Выбор материалов; б) увеличение конструкционной прочности, например увеличение толщины и размеров; в) проектирование системы катодной защиты; г) изменение распределения нагрузки в конструкции |
3 Неисправность креплений конструкции соединения | а) Последствия в соответствии с 1, а); б) чрезмерная нагрузка на оставшиеся крепления | б) усталостная поломка; в) коррозия; г) заводской брак; д) водородная хрупкость; е) неправильная конструкция (слишком маленький размер креплений); ж) неправильная установка (например, крепления затянуты неправильно) | Если разрешен доступ, может быть возможно установить сменные крепления | а) Выбор материалов; б) увеличение размера крепления; в) проектирование системы катодной защиты; г) увеличение количества и/или распределения крепежных элементов |
4 Гибкая труба недостаточно защищена от чрезмерного изгиба | Чрезмерный изгиб и возможная неисправность гибкой трубы | б) заводской брак (например, пустоты в литье); в) старение материала из-за влияния: 1) солнечного света (только поверхностные элементы жесткости на изгиб), 2) озона (только поверхностные элементы жесткости на изгиб), 3) морской воды, 4) высокой температуры; г) неправильная конструкция | Меры по исправлению в соответствии с 1, б) и в) | Проектные решения/изменяемые параметры в соответствии с 1, а) и б) |
5 Расслоение связи между конструкцией соединения и корпусом элемента жесткости на изгиб | Последствия в соответствии с 1 | б) коррозия области конструкции соединения, которая связана с корпусом элемента жесткости на изгиб; в) заводской брак: 1) неправильная обработка поверхности конструкции соединения, 2) неправильный выбор связывающего раствора, 3) повреждение связующих поверхностей, 4) связывающие поверхности загрязнены пылью, грязью и т.д., 5) неправильное покрытие связывающим раствором, 6) конструкция соединения с нанесенным связывающим раствором оставлена слишком надолго перед закреплением; г) старение полимерного материала из-за воздействия морской воды/высокой температуры, приводящее к ухудшению связи; д) неправильная конструкция (например, область связи подвергается чрезмерным напряжениям) | Меры по исправлению в соответствии с 1, а) - в) | а) Выбор решения по обвязке; б) увеличение размера крепления; в) изменение распределения нагрузки в зоне связи |
6 Соскальзывание внутренней муфты (только для элементов жесткости на изгиб, состоящих из двух частей) | Возможная потеря части элемента жесткости на изгиб, чрезмерный изгиб или возможное повреждение гибкой трубы | б) усталостная поломка внутренней муфты фиксирующих креплений; в) коррозия внутренней муфты фиксирующих креплений; г) заводской брак; д) водородное охрупчивание внутренней муфты фиксирующих креплений; е) неправильная конструкция | а) Установка хомута для предотвращения дальнейшего соскальзывания; б) модификация или замена элементов жесткости на изгиб | Изменение конструкции фиксирующих креплений |
6.2.10 Проектные критерии
6.2.10.1 Общие рекомендации по проектным критериям приведены в
5.3.4. В данном пункте представлены руководства и рекомендации, относящиеся к критериям рабочего минимального радиуса изгиба элемента жесткости на изгиб.
6.2.10.2 Местный анализ элемента жесткости на изгиб должен учитывать любое влияние геометрии наконечника элемента жесткости на изгиб, где имеется переход от конического профиля к цилиндрическому профилю. Это может происходить, особенно в случае с гибкими трубами и подводными кабелями низкой жесткости, из-за наличия сравнительно большой разницы между жесткостью изгиба наконечника и незащищенной гибкой трубы или подводного кабеля, что может привести к нарушению критерия минимального радиуса изгиба. Во избежание такой ситуации конструкция наконечника должна быть изменена, чтобы снизить разницу жесткости.
6.2.10.3
Пункты 6.4.5 и
6.4.6 представляют более подробное обсуждение анализа срока службы, включая расчеты ползучести и усталости. Критерии расчетов усталости указаны в
ГОСТ Р 59307.
6.2.11 Случаи нагрузки
Согласно
ГОСТ Р 59307 требуется, чтобы случаи расчетной нагрузки элемента жесткости на изгиб включали все возможные случаи нагрузки гибкой трубы. Случаи нагрузки элемента жесткости на изгиб даны с учетом сочетаний эффективного напряжения
T и изменений угла от среднего ненапряженного положения для гибкой трубы

, как схематически показано на
рисунке 6.4.
1 - опорная конструкция заказчика; 2 - элемент жесткости
на изгиб; 3 - гибкая труба; 4 - линия среднего
ненапряженного положения
Рисунок 6.4 - Нагрузки элемента жесткости на изгиб
Такие сочетания напряжения и угла возникают в результате движений платформы/судна в условиях окружающей среды, включая волны и течения. Элемент жесткости на изгиб может изначально предполагать угол

по отношению к вертикали его среднего положения. Необходимо отметить, что изменение угла

относится к среднему ненапряженному положению. Фактический верхний угол гибкой трубы может обычно изменяться до 2° от теоретического угла из-за допусков по расположению установки. Сочетания эффективного напряжения и изменения угла должны быть выбраны таким образом, чтобы учесть все случаи нагрузки гибкой трубы. Случаи нагрузки эффективного напряжения/угла следует рассматривать для диапазона температур материала элемента жесткости на изгиб в работе.
6.3.1 Общие сведения
В данном подразделе указаны те материалы, которые используются в элементах жесткости на изгиб, и представлены их общие рабочие характеристики.
6.3.2 Полимерные материалы
6.3.2.1 Корпуса элементов жесткости на изгиб производят из полиуретанового эластомера. Также допускается использовать элементы жесткости на изгиб с корпусами, армированными волокном.
6.3.2.2 Материалы элемента жесткости на изгиб должны демонстрировать следующие свойства:
- низкий уровень впитывания воды (даже если на элементы жесткости на изгиб воздействуют струи воды);
- сопротивление гидролизу;
- ограниченное ухудшение свойств в результате старения;
- четкая работоспособность в указанном диапазоне температур (учитываемом для температуры внутренней среды гибкой трубы и наружной температуры воздуха и моря);
- способность переносить циклические нагрузки (только динамические элементы жесткости на изгиб).
6.3.2.3 Следует выбирать материалы для элементов жесткости на изгиб, способные выдерживать температуры в результате контакта с внешней оболочкой гибкой трубы в течение срока службы, в сочетании с постоянным контактом с морской водой (когда элемент жесткости на изгиб находится под водой). Температура внешней оболочки - важный параметр для применения, в котором гибкая труба транспортирует среду с высокой температурой. Воздействие сравнительно высоких температур и контакт с морской водой ухудшат свойства материала. Таким образом, материал должен иметь определенный уровень характеристик после ухудшения к концу срока службы.
6.3.2.4 Материал элемента жесткости на изгиб должен выдерживать циклические отклонения и нагрузки в течение продленного периода времени, в некоторых случаях до 30 лет. Такие отклонения и нагрузки возникают из-за нагрузок волн и течений на платформу/судно, к которым прикреплен элемент жесткости на изгиб напрямую или через гибкий райзер.
6.3.3 Металлические материалы
Конструкция соединения, как правило, производится из конструкционной углеродистой стали высокой прочности, если имеется прилегающая система катодной защиты. В противном случае необходимо использовать коррозионно-стойкий материал.
6.3.4 Альтернативные материалы
Допускается применять конструкции элементов жесткости на изгиб, в которых использованы композитные материалы, армированные волокнами.
6.4 Вопросы анализа
6.4.1 Общие сведения
Целью данного подраздела является предоставление рекомендаций по способам анализа элемента жесткости на изгиб.
6.4.2 Местный анализ
6.4.2.1 Местное проектирование корпуса элемента жесткости на изгиб, как правило, выполнено таким специальным пакетом программ, который анализирует элемент жесткости на изгиб и соответствующую длину возможной гибкой трубы отдельно. Включение гибкой трубы в модель необходимо, так как осевая сила в трубе и жесткость изгиба в трубе оказывают существенное влияние на поведение объединенной сборки.
6.4.2.2 Обычные исходные данные для программного обеспечения включают сочетания напряжения и углов, полученные из общего анализа системы гибкой трубы, свойства гибкой трубы, допустимый MBR гибкой трубы и свойства материала корпуса элемента жесткости на изгиб. Программное обеспечение должно позволять вводить нелинейные кривые зависимости деформаций от нагрузок для материала корпуса элемента жесткости на изгиб и нелинейные свойства гибкой трубы.
6.4.2.3 С помощью программного обеспечения рассчитывают или проверяют размеры корпуса элемента жесткости на изгиб, нагрузки (момент изгиба и силы сдвига), передаваемые на опорную конструкцию, напряжения и деформации в элементе жесткости на изгиб и отклоняемый профиль элемента жесткости на изгиб. Если элемент жесткости на изгиб проектируют на местном основании, то следующим этапом становится проверка конструкции путем включения в общий анализ (см.
6.4.3).
6.4.2.4 Программное обеспечение трехмерного анализа методом конечных элементов следует использовать для местного анализа элементов жесткости на изгиб для того, чтобы подтвердить методики проектирования элементов жесткости на изгиб, когда локализованная геометрия требует моделирования.
6.4.2.5 При использовании программного обеспечения трехмерного анализа методом конечных элементов можно моделировать определенные воздействия, что невозможно при других методах, включая следующее:
- моделирование контакта между гибкой трубой и элементом жесткости на изгиб;
- многомерное распределение напряжений в элементе жесткости;
- влияние конфигурации соединительной арматуры.
6.4.3.1 Согласно
ГОСТ Р 59307 необходимо, чтобы расчет элемента жесткости на изгиб проверялся в общем анализе гибкой трубы. Элемент жесткости на изгиб, как правило, моделируют в общем методе конечных элементов серией балочных элементов с площадью сечения, которое изменяется от внешнего диаметра основания корпуса элемента жесткости на изгиб до внешнего диаметра конца. Другие обычные исходные данные включают внутренний диаметр элемента жесткости на изгиб, его массу и его зависимость деформации от напряжения.
6.4.3.2 Райзеры, которые в отношении элементов жесткости на изгиб служат ограничителем изгиба на соединении судна/платформы, могут в общем анализе обрабатываться двумя способами. При первом способе райзер полностью крепят на судне/платформе на основании элемента жесткости на изгиб с соответствующим углом при четком моделировании элемента жесткости на изгиб в общем анализе. Второй способ - скрепление (свободное вращение) райзера на судне/платформе на подвесной конструкции, а элемент жесткости на изгиб не включается в общий анализ.
6.4.3.3 В случае первого способа данные о напряжении и изгибе в элементе жесткости на изгиб от общего анализа могут передаваться к инструменту местного анализа для расчета напряжений. В случае модели с соединением, скрепленным на судне, данные по углу вращения и напряжению могут передаваться для инструмента местного анализа для расчета напряжений (или в некоторых случаях для промежуточной модели, которая используется для преобразования данных напряжения угла в данные напряжения-искривления). При втором способе инструмент местного анализа состоит из усеченной модели райзера в области элемента жесткости на изгиб и используются углы из общего анализа для прогнозирования искривления элемента жесткости на изгиб и, следовательно, напряжений.
6.4.3.4 Оба этих способа широко известны и применяются в промышленности, хотя ни один из них не является предпочтительным. Рекомендуется проверять полученные данные разными способами расчета в отношении прогнозируемого искривления для выбранных случаев нагрузки.
6.4.3.5 Данные угла напряжения также получают от той модели, в которую четко включен элемент жесткости на изгиб. В таком случае данные должны брать от точки ниже элемента жесткости, где влияние решения по связыванию пренебрежимо мало. Три длины элемента жесткости на изгиб вниз от подвесной конструкции считают достаточными.
6.4.3.6 Нелинейное моделирование в программе общего анализа обычно применяют при сопоставлении кривой зависимости деформаций от нагрузок, которая при конкретной температуре является репрезентативной для материала корпуса элемента жесткости на изгиб. Например, с учетом элемента жесткости при его минимальной жесткости и при выполнении линейного анализа не будет показано, будет ли превышено искривление трубы на конце элемента жесткости на изгиб при сочетаниях низкого напряжения/крутого угла. И наоборот, с учетом элемента жесткости при его максимальной жесткости и при выполнении линейного анализа не будет показано, будет ли превышено искривление трубы (или допустимая деформация материала элемента жесткости на изгиб) на основании элемента жесткости на изгиб при случаях нагрузки высокого напряжения/крутого угла. С учетом линейных анализов с минимальной и максимальной жесткостями результаты не покажут правильные значения кривизны. Нелинейное моделирование в программе общего анализа, как правило, применяют при сопоставлении кривой зависимости деформаций от нагрузок, которая является репрезентативной для материала корпуса элемента жесткости на изгиб при конкретной температуре для элементов в модели, представляющих элемент жесткости на изгиб.
6.4.4 Термический анализ
6.4.4.1 В соответствии с
ГОСТ Р 59307 производитель должен учитывать влияние температуры на поведение элемента жесткости на изгиб. Следующие параметры влияют на температурный градиент в корпусе элемента жесткости на изгиб, вызванный гибкой трубой:
- температура окружающего воздуха или морской воды в зависимости от обстоятельств;
- влияние изоляции слоев гибкой трубы;
- зазор между корпусом элемента жесткости на изгиб и гибкой трубой, который может быть заполнен морской водой или воздухом в зависимости от нахождения элемента жесткости на изгиб;
- влияние изоляции самого элемента жесткости на изгиб;
- влияние нагревания от прямых солнечных лучей в соответствующих случаях.
6.4.4.2 Необходимо учитывать, что элемент жесткости на изгиб будет в некоторой степени изолировать гибкую трубу, и это следует принимать во внимание при использовании с относительно высокими температурами внутренней среды для того, чтобы оценить, может ли такая изоляция увеличить температуры в слоях гибкой трубы свыше допустимых уровней. В определенных случаях может потребоваться предусмотреть системы охлаждения в зоне элемента жесткости на изгиб.
6.4.5.1 В
ГОСТ Р 59307 указаны требования к анализу ползучести элементов жесткости на изгиб. Общие руководства по анализу ползучести приведены в
5.5.5.
6.4.5.2 Ползучесть в результате статического изгиба элемента жесткости на изгиб, не выровненная по среднему положению гибкой трубы, может произойти в случае с динамическими элементами жесткости на изгиб. Это происходит из-за того, что большую часть времени условия окружающей среды будут благоприятные, а отклонения от среднего положения - сравнительно небольшие. Ползучесть, вызванную постоянной нагрузкой от статических сдвигов, можно предотвратить, установив такие конструкции, как трубные вставки, примыкающие к элементу жесткости на изгиб, чтобы выровнять его по углу гибкой трубы в ее среднем положении.
6.4.5.3 Определенные статические элементы жесткости на изгиб двигаются при работе около своего среднего положения. Такое движение невелико по амплитуде в сравнении с динамическим элементом жесткости на изгиб, и при нем ползучесть не нужно учитывать в процессе проектирования при условии, что элемент жесткости на изгиб выровнен по углу гибкой трубы в своем среднем положении.
6.4.6.1 В
ГОСТ Р 59307 указаны циклические нагрузки, включая вибрации, вызванные вихреобразованием, которые необходимо учитывать в расчетах усталостного повреждения конструкции соединения. Влияние вибрации, вызванной вихреобразованием, на усталостную нагрузку зависит от географического положения. Зоны мира, в которых могут быть сильные течения (свыше 2 узлов), наиболее критичны для вибраций, вызванных вихреобразованием.
6.4.6.2 Усталостные нагрузки, воздействующие на корпус элемента жесткости на изгиб, - это цикличные моменты изгиба и силы сдвига в результате движения гибкой трубы. Если работа полимерных или композитных материалов элемента жесткости на изгиб ниже установленных и задокументированных пределов прочности, расчеты усталостного повреждения не требуются. Рекомендуемая испытательная частота для небольшого усталостного испытания для учета работающих частот - 0,1 Гц. Усталостная характеристика корпуса элемента жесткости на изгиб при необходимости может быть продемонстрирована полномасштабными испытаниями на усталость элемента жесткости на изгиб (см.
6.5.2). Поскольку поведение материала в полномасштабном элементе жесткости на изгиб может отличаться от образца в уменьшенном масштабе, может быть трудно определить усталостный ресурс другим способом, кроме полномасштабных испытаний. Усталостная характеристика также может быть продемонстрирована аналитически при разработке графика диапазона деформаций в отношении количества циклов. Однако такой подход должен быть полностью заверен проверкой с полномасштабным испытанием. Испытания на усталость должны быть выполнены по требованию (см.
6.5.3).
6.4.6.3 Полимерный материал элемента жесткости на изгиб демонстрирует изменение свойств материала при изменении температуры. В отношении характерной жесткости материал становится менее жестким при увеличении температуры. Касательно элемента жесткости на изгиб значительное увеличение температуры может воздействовать на полимерный материал, если он подвергается частому циклическому изгибу. Это приводит к меньшей жесткости изгиба, что, в свою очередь, вызывает большие деформации и кривизну элемента жесткости на изгиб и гибкой трубы/подводного кабеля. Проектирование элемента жесткости на изгиб должно учитывать такое поведение.
6.4.6.4 Полимерный материал элемента жесткости на изгиб может быть учтен для сравнительно высоких значений деформации при редком циклическом сгибании и при отсутствии значительного усталостного повреждения аналогично пределу прочности или кривым усталости Велера, которые не повторяют такое же выделение теплоты, которое можно наблюдать при полномасштабных испытаниях на усталость элемента жесткости на изгиб. Если циклическое изгибание происходит часто, данный предел прочности или количество циклов до отказа, как показывает соответствующая кривая усталости, значительно падает.
6.4.6.5 Данные усталостной нагрузки значительно влияют на размер конструкции соединения. Может потребоваться выполнение анализа усталости после производства. При возможности следует выполнять анализ усталости до производства. Хотя в таких случаях важно иметь достаточный допуск и консервативные предположения для проектирования элемента жесткости на изгиб, чрезмерно консервативные данные по усталостной нагрузке могут привести к излишне усложненному проектированию элемента жесткости на изгиб.
6.5 Испытания опытного образца
6.5.1 Применение испытаний опытного образца
Параметры, которые необходимо учитывать при запросе испытания опытного образца, в соответствии с
5.6.3:
- расчетные нагрузки, включая циклические искривления и циклические деформации корпуса элемента жесткости на изгиб;
- расчетная температура;
- материалы;
- процесс(ы) изготовления;
- внутреннее давление гибкой трубы;
- диапазон циклического внутреннего напряжения в гибкой трубе;
- внутренний и внешний диаметры гибкой трубы;
- длина и диаметр основания гибкой трубы;
- интерфейс конструкции соединения.
6.5.2 Испытание на статический изгиб
6.5.2.1 Описание
Целью испытания на статический изгиб является проверка того, что элемент жесткости на изгиб отклоняется до того же профиля, который прогнозировался на этапе проектирования, и что критерии минимального радиуса изгиба гибкой трубы соблюдены.
6.5.2.2 Порядок испытаний
Элемент жесткости на изгиб подвергается воздействию определенного сочетания напряжения и угла, которое является репрезентативным для наиболее чрезвычайных условий, встречающихся в работе, если это позволяет сделать испытательное оборудование. Если у испытательного оборудования имеется ограничение по нагрузке, которое ограничивает применение наибольших нагрузок, испытания могут быть изменены. Испытание может быть изменено для приложения следующей чрезмерной нагрузки, которая прикладывается при имеющемся оборудовании. Прилагаемая нагрузка должна быть все еще достаточной для демонстрации того, что элемент жесткости на изгиб отклоняется до того же профиля, который прогнозировался расчетным программным обеспечением.
6.5.2.3 Критерии приемки
Радиус изгиба элемента жесткости на изгиб должен соответствовать прогнозируемому на этапе проектирования, а критерии минимального радиуса изгиба должны быть соблюдены при определенном сочетании напряжения и угла.
6.5.3 Испытание динамической усталости
6.5.3.1 Описание
Целью испытания динамической усталости является проверка того, что гибкая труба может выдерживать циклическую нагрузку в определенных условиях для определенного усталостного ресурса. Если выбранное устройство ограничения изгиба - элемент жесткости на изгиб, то элемент жесткости на изгиб должен включаться в испытание, чтобы точно смоделировать рабочие условия. Это дает возможность оценить характеристики усталости элемента жесткости на изгиб. Однако необходимо учитывать два важных испытательных параметра до проведения испытания. Во-первых, испытание специально проводят в отношении проверки характеристик усталости гибкой трубы, т.е. могут быть изменены различные испытательные нагрузки, соответствующее количество циклов, чтобы получить теоретическое повреждение с вероятностью 1,0 в гибкой трубе, но это не является необходимым для элемента жесткости на изгиб. Во-вторых, испытание динамической усталости может быть усилено в том смысле, что частота циклического сгибания будет выше, чем она могла бы быть в случае эксплуатации. Для штормовых волн частота составляет порядка 0,05 - 0,10 Гц. Циклическое сгибание более высокой частоты приведет к снижению характеристик усталости элемента жесткости на изгиб из-за выделения тепла в элементе жесткости на изгиб (см.
6.4.6.4). Таким образом, если рассчитан усталостный ресурс элемента жесткости на изгиб в проекте, необходимо рассчитать прилагаемые амплитуды и частоты циклического сгибания в полномасштабном испытании усталости, чтобы получить повреждение 1,0 в элементе жесткости на изгиб. Сложно предсказать вероятность возникновения повреждения элемента жесткости на изгиб с определенной точностью из-за влияния выделения тепла и дефектов поверхности.
6.5.3.2 Порядок
6.5.3.2.1 Испытание динамической усталости целесообразно выполнять с учетом
[1] по амплитуде угла, частоте и количеству циклов, применяемых при испытании. Рекомендации/руководства, изложенные в настоящем подпункте, относятся только к элементу жесткости на изгиб.
6.5.3.2.2 Элемент жесткости на изгиб следует крепить к испытательной опорной конструкции, которая является репрезентативной по размерам и геометрии для опорной конструкции, применяемой в работе, а также способ крепления является репрезентативным для того способа, который будет использован в работе. Если конструкция соединения скрепляется с опорной конструкцией, она должна фиксироваться с помощью крепежных элементов с такими же характеристиками и с такой же силой зажима, которая была определена на этапе проектирования для работы. Если элемент жесткости на изгиб втягивается через I/J-образную трубу и фиксируется в определенном положении, такая сборка должна быть представлена во время испытания. Соединительную арматуру, примыкающую к конструкции соединения, следует крепить таким образом, чтобы представлять по размерам и геометрически арматуру, которая будет использована в работе.
6.5.3.2.3 Конструкцию соединения следует крепить к испытательной опорной конструкции в соответствии с
6.7.4.3 с предварительно установленным напряжением, которое будет применено в работе.
6.5.3.2.4 После завершения испытания корпус элемента жесткости на изгиб и конструкцию соединения следует проверять на наличие трещин или повреждений, которые могут возникнуть во время испытания опытного образца. Соединение между корпусом элемента жесткости на изгиб и конструкцией соединения должно быть проверено в тех зонах, где можно определить наличие/отсутствие расслоения связи между двумя материалами.
6.5.3.3 Критерии приемки
6.5.3.3.1 Корпус элемента жесткости на изгиб должен выдерживать определенное количество циклов без повреждения полимерного материала, а конструкция соединения должна выдерживать определенное количество циклов без повреждения своих компонентов, включая сварные соединения и крепежные элементы.
6.5.3.3.2 Конструкция соединения должна оставаться надежно прикрепленной к испытательной опорной конструкции после испытания. Крепежные элементы не должны отделяться во время проведения испытания.
6.5.3.3.3 Состояние связи между конструкцией соединения и корпусом элемента жесткости на изгиб после испытания должно быть таким, чтобы элемент жесткости на изгиб все еще соответствовал своим эксплуатационным требованиям.
6.5.3.3.4 После проверки элемента жесткости на изгиб испытание на усталость необходимо продолжать за пределами указанного количества циклов до тех пор, пока не произойдет поломка элемента жесткости на изгиб для того, чтобы определить вероятность возникновения повреждения. Если корпус элемента жесткости на изгиб проектировался с использованием расчетов усталостного повреждения, такую вероятность возникновения повреждения можно сравнить с прогнозированной на этапе проектирования.
6.5.4 Испытания
Допускается провести испытания масштабных моделей элемента жесткости на изгиб для того, чтобы получить исходные данные для процесса проектирования. Должен быть применен метод размерного анализа, указанный в документах, для прогнозирования реакции полномасштабного элемента жесткости на изгиб по масштабной модели. Испытание должно подтвердить способность элемента жесткости на изгиб выдерживать уровень статической и циклической нагрузок в определенных условиях, а также расчетные температуры. Необходимо учитывать старение материалов при испытаниях, что достигается наличием задокументированных способов прогнозирования характеристик состаренного материала на основании результатов испытания и т.д.
6.6 Изготовление
6.6.1 Общие сведения
В
ГОСТ Р 59307 установлены требования к производству элементов жесткости на изгиб. В данном подразделе представлено описание типичных процессов, применяемых при производстве элемента жесткости на изгиб, и руководств о соблюдении требований
6.5 для различных этапов производственного процесса.
6.6.2 Процессы изготовления
Изготовление элемента жесткости на изгиб, как правило, включает следующие процессы:
- изготовление пресс-формы;
- изготовление конструкции соединения;
- сборку пресс-формы и конструкции соединения;
- нагревание формы;
- введение материала в форму;
- выемку из формы и обработку поверхности.
Описание вышеупомянутых процессов, руководства и рекомендации, относящиеся к таким процессам, приведены в нижеприведенных пунктах.
6.6.3 Изготовление пресс-формы
Производство пресс-формы включает подгонку центрального трубчатого элемента во внешней оболочке с формированием таким образом пустоты в форме необходимого элемента, как показано на
рисунке 6.5. Следует отметить, что элемент жесткости на изгиб на
рисунке 6.5 относится к соединительной арматуре примыкающей конструкции соединения, что является одним из нескольких возможных конструктивных решений соединения.
1 - сердцевина формы; 2 - корпус формы; 3 - конструкция
соединения; 4 - полиуретан
Рисунок 6.5 - Пресс-форма элемента жесткости на изгиб
6.6.4 Изготовление конструкции соединения
Конструкция соединения может быть сложным компонентом в зависимости от индивидуальных требований проекта. Она производится таким же образом, как и любые обычные металлические конструкции, - свариванием серии компонентов и обработкой необходимых отверстий крепления для ее закрепления на опорной конструкции. Следующие этапы включают проверку и исследование методом неразрушающего контроля сварных швов конструкции соединения. Поскольку конструкция соединения, как таковая, является наиболее существенным компонентом, следует убедиться в том, что все критические сварные соединения проверены с помощью метода неразрушающего контроля для того, чтобы удостоверить их конструктивную прочность. Последний этап включает применение антикоррозионного защитного покрытия на внешних зонах конструкции.
6.6.5 Сборка пресс-формы и конструкции соединения
6.6.5.1 Те части конструкции соединения, которые необходимо связать с корпусом элемента жесткости на изгиб, покрывают соответствующим связывающим раствором. Все остальные поверхности в пресс-форме обрабатывают разделительной смазкой перед сборкой.
6.6.5.2 В
ГОСТ Р 59307 указаны некоторые меры, обеспечивающие стабильную связь между конструкцией соединения и корпусом элемента жесткости на изгиб. Процесс связывания конструкции соединения чрезвычайно важен, поскольку невозможно определить качество связи после процесса литья. Таким образом, особое внимание надо уделить проверке того, что подготовка конструкции соединения, хранение и погрузочно-разгрузочные работы до процесса связывания строго соответствуют процедурам производителя.
6.6.6 Нагревание формы
Перед заполнением пресс-форма нагревается до соответствующей температуры. Нагревание пресс-формы может потребовать наличия большой печи для размещения формы в сборе.
6.6.7 Введение материала в форму
6.6.7.1 Материал элемента жесткости на изгиб вводится через отверстие для заполнения в пресс-форму. Жидкий материал выталкивает воздух из пустоты формы через воздушное отверстие.
6.6.7.2 Для удаления пустот в литом корпусе элемента жесткости на изгиб требуется разработка методики. Если время заполнения формы менее, чем время загустения материала, то это один из способов снизить возможность появления таких пустот.
6.6.7.3 После завершения операции наполнения происходит начальное отвердевание материала, так как полиуретановая система реагирует и отвердевает.
6.6.8 Выемка из формы и отделка
6.6.8.1 Полностью затвердевший компонент в конце извлекается из формы и проходит детальную проверку для того, чтобы определить любые дефекты поверхности до поставки.
6.6.8.2 Дефекты поверхности особо критичны для динамических элементов жесткости на изгиб, так как они могут усилить проявление усталостной поломки. Сложно определить все поверхностные дефекты, особенно небольшие, например царапины порядка нескольких миллиметров длиной. Таким образом, необходимо сосредоточиться на предотвращении появления подобных дефектов, соблюдая требования к технологическому контролю и погрузочно-разгрузочным работам по
ГОСТ Р 59307.
6.7 Погрузочно-разгрузочные работы, транспортировка и монтаж
6.7.1 Общие сведения
В
подразделе 6.7 приведены руководства и рекомендации по погрузочно-разгрузочным работам, транспортировке и установке элементов жесткости на изгиб. Положения, изложенные в
6.7.4, относятся к общим вопросам и описывают порядок монтажа.
6.7.2 Погрузочно-разгрузочные работы
Характеристики элемента жесткости на изгиб могут существенно снизиться в результате дефектов от повреждений во время погрузочно-разгрузочных работ. Если на элемент жесткости на изгиб воздействует истирание, могут возникнуть незначительные дефекты поверхности, которые значительно влияют на характеристики усталости. Целью является предотвращение повреждения элемента жесткости на изгиб. Необходимо рассмотреть защиту внешней поверхности корпуса элемента жесткости на изгиб для защиты от повреждения при погрузочно-разгрузочных работах или установке. Могут быть использованы чехол или подобная внешняя защита для обеспечения такой защиты.
6.7.3 Транспортирование
Необходимо учитывать, что крупные элементы жесткости на изгиб (приблизительно 6 - 7 м в длину) занимают большой объем при хранении в барабанах, если вокруг них применяется защитная упаковка.
6.7.4.1 Монтаж элемента жесткости на изгиб включает следующие процессы:
- установку элемента жесткости на изгиб на гибкой трубе;
- передвижение сборки гибкой трубы и элемента жесткости на изгиб на опорной конструкции;
- фиксацию конструкции соединения на опорной конструкции.
6.7.4.2 Одной из основных целей при производстве элемента жесткости на изгиб является обеспечение равномерного конического корпуса без внутренних разрывов. Элемент жесткости, как правило, изготавливается цельным, и, поскольку корпус тесно прилегает к трубе, он должен быть установлен на трубе до установки соединительной арматуры.
6.7.4.3 Конструкцию соединения следует крепить к опорной конструкции с помощью предварительного натяжения. Должно быть использовано гидравлическое натяжное оборудование, при наличии допуска. Необходимо обеспечить соответствующее место для применения гидравлического натяжного оборудования, предлагаемого к использованию, так как его размеры могут меняться. Если в методе натяжения применены значения момента затяжки, должны быть средства контроля натяжения крепежных элементов. Это крайне важно, так как усталостный ресурс зависит от такого натяжения.
6.7.4.4 При некотором целевом использовании гибкие трубы с установленными элементами жесткости на изгиб предварительно укладывают на морское дно, чтобы их в дальнейшем можно было достать. В таких случаях необходимо обратить внимание на предварительную укладку и извлечение для того, чтобы предотвратить трение элемента жесткости на изгиб о морское дно и его удары с другими объектами, такими как камни и кораллы. Также необходимо быть внимательным во время работ по втягиванию во избежание ударов элемента жесткости на изгиб с объектами. Небольшое повреждение элемента жесткости на изгиб может быть неизбежным, поэтому должен быть установлен защитный кожух или его аналог до укладки трубы на морское дно. Движение по морскому дну в результате течений или аналогичных сил может быть неизбежным и непрогнозируемым и приводить к повреждению элемента жесткости на изгиб.
6.7.4.5 Динамическая нагрузка, включая вибрацию, вызванную вихреобразованием, гибкой трубы может ослабить болты на конструкции соединения во время эксплуатации. Необходимо рассмотреть принятие профилактических мер, таких как использование соответствующего фиксатора резьбы (фиксирующее вещество) на болтах для предотвращения их раскручивания.
6.7.4.6 Необходимо принять меры, чтобы гарантировать защиту элемента жесткости на изгиб при установке на барабан. Это, как правило, достигается обеспечением пенопластовой подушкой и/или приложением достаточного натяжения гибкой трубы для того, чтобы предотвратить повреждение элемента жесткости на изгиб или гибкой трубы без опоры, если она находится на наконечнике элемента жесткости на изгиб.
6.7.4.7 Следует уделить внимание установке, чтобы избежать повреждения в результате контакта гибкой трубы с внешними кромками конструкции соединения. Этого можно достичь защитой гибкой трубы, например установив защитную футеровку между конструкцией соединения и элементом жесткости на изгиб.
6.8 Управление целостностью
6.8.1 Общие сведения
В
подразделе 6.8 представлены руководства и рекомендации по управлению целостностью, включая возможные дефекты.
6.8.2 Типы неисправностей и дефекты
В
таблице 1 указаны возможные дефекты элементов жесткости на изгиб.
6.8.3 Методы мониторинга
6.8.3.1 Непосредственный осмотр элемента жесткости на изгиб с помощью ТНПА в динамическом применении затруднен из-за движения судна и воздействия волн и течений. Общий осмотр выполняют для проверки дефектов по
1 -
3 (см.
таблицу 1), если доступ возможен. Как правило, невозможно напрямую проверить
дефект 4 (см.
таблицу 1), если только не установлено оборудование для измерения радиуса изгиба гибкой трубы во время эксплуатации (например, с помощью волоконно-оптического мониторинга) или если повреждение в результате чрезмерного изгиба внешней оболочки гибкой трубы, примыкающей к элементу жесткости на изгиб, можно определить визуально. Может быть затруднена проверка наличия
дефекта 6 (см.
таблицу 1), если нарушение связи не произошло рядом с основанием элемента жесткости на изгиб. В противном случае, нарушение связи будет внутренним и незаметным визуально.
Дефект 6 (см.
таблицу 1) будет виден, так как внутренняя муфта будет выступать из конца внешней муфты элемента жесткости на изгиб, хотя из-за обрастания такой просмотр может быть затруднен.
6.8.3.2 Если доступ возможен, вся поверхность элемента жесткости на изгиб должна быть проверена на наличие трещин, которые могут ускорить появление усталостной поломки в соответствии с
дефектом 1 (см.
таблицу 1).
6.8.3.3 Если доступ возможен, следует проводить осмотр болтов, фиксирующих конструкцию соединения или промежуточную конструкцию на опорной конструкции заказчика, чтобы оценить коррозию или расцепление болтов в соответствии с
дефектом 3 (см.
таблицу 1).
6.8.3.4 Если элемент жесткости на изгиб не исправен, его необходимо проверить на предмет того, подвергался ли он воздействию острых кромок по линии неисправности, что могло бы привести к повреждению прилегающих подводных линий. Прилегающие подводные линии следует проверять на наличие нанесенных повреждений.
7.1 Область применения
В
разделе 7 приведены рекомендации для ограничителей изгиба, используемых в условиях статичной работы, а также некоторые дополнительные рекомендации по динамическим ограничителям изгиба. Рекомендации относятся к элементам как полимерных и металлических ограничителей изгиба, так и гибридных ограничителей изгиба.
7.2 Вопросы проектирования
7.2.1 Общие сведения
В
ГОСТ Р 59307 указаны требования к проектированию ограничителя изгиба. Целью данного пункта являются разработка и предоставление руководств по проектированию в соответствии с требованиями
ГОСТ Р 59307.
Данный подраздел относится к следующим вопросам:
- процесс проектирования;
- проектные критерии;
- случаи расчетной нагрузки.
7.2.2 Рассмотрение проектирования. Проектирование статических применений
Проектирование статических ограничителей изгиба для определенного состояния гибкой трубы, представленное на схеме на
рисунке 7.1, обычно включает следующие этапы:
а) проводят ряд статических и динамических анализов гибкой трубы, в том числе установки, чтобы определить необходимую длину покрытия ограничителями изгиба, момент изгиба и нагрузку сдвига, для которых анализируется ограничитель изгиба. Руководство по общему анализу приведено в
7.4.3;
б) выбирают материалы ограничителя изгиба, включая крепежный материал, на основании требований по
ГОСТ Р 59307 для определенной температуры в случае с полимерными элементами ограничителя изгиба и крепежными элементами. Руководства по выбору материала приведены в
ГОСТ Р 59307;
в) определяют размер отверстия, необходимый для размещения габаритов гибкой трубы, включая допуски, а также допуски на овализацию;
г) определяют внешний диаметр элемента ограничителя изгиба, необходимый для соблюдения всех геометрических ограничений. Геометрические ограничения включают J-образные трубы, направляющие конусы и т.д.;
д) определяют оставшиеся размеры ограничителя изгиба, необходимые для соблюдения случаев расчетной нагрузки (см.
7.2.4);
е) при возможности определяют размеры крепежных элементов, необходимые для соединения полуобечаек элемента ограничителя изгиба и соединения элементов ограничителя изгиба с конструкцией соединения;
ж) определяют количество элементов ограничителя изгиба, необходимых для обеспечения нужного покрытия;
и) определяют нагрузки от собственного веса ограничителя изгиба на воздухе и под водой;
к) проводят расчет свободного и деформированного замыкающего радиусов с помощью конфигурации элементов ограничителя изгиба и сравнение с критериями рабочего минимального радиуса изгиба гибкой трубы;
л) проектируют конструкцию соединения в соответствии с требованиями
ГОСТ Р 59307. Рекомендации по проектированию конструкции соединения приведены в
7.2.5;
м) выполняют расчеты системы катодной защиты для определения необходимых масс анодов для ограничителя изгиба. Если проектируется металлический ограничитель изгиба, элементы ограничителя изгиба, а также конструкция соединения могут потребовать специальной системы катодной защиты;
н) повторяют некоторые или все анализы по
перечислению б) с включением спроектированного ограничителя изгиба в качестве общей проверки конструкции ограничителя изгиба. Общую проверку, как правило, обычно выполняет производитель гибкой трубы или специалист по общему анализу. Руководства по общему анализу приведены в
7.4.3.
Рисунок 7.1 - Схема проектирования ограничителя изгиба
7.2.3 Рассмотрение проектирования. Проектирование динамических применений
Ограничители изгиба рассчитывают на определение статических нагрузок. Может потребоваться рассчитать ограничитель изгиба на динамические нагрузки. Руководства по использованию ограничителей изгиба в динамических применениях приведены в
7.4.6.
7.2.4 Проектирование элементов ограничителя изгиба
7.2.4.1 Так как отверстия отдельных элементов ограничителя изгиба прямые и неискривленные, необходимо гарантировать, что не происходит локализованного чрезмерного изгиба, нарушающего требования к минимальному радиусу изгиба гибкой трубы.
7.2.4.2 Расчет геометрии элемента ограничителя изгиба должен быть таким, чтобы во время замыкания контакт между прилегающими элементами не приводил к сосредоточенным нагрузкам, которые могли бы вызвать концентрации высокого напряжения. Вместо этого контакт должен распространяться по поверхности, что показано на
рисунке 7.2, на котором изображены контактные области для элемента полимерного ограничителя изгиба.
Рисунок 7.2 - Контактные области элемента
ограничителя изгиба
7.2.4.3 Элементы ограничителя изгиба должны проектироваться таким образом, чтобы во время замыкания внешняя оболочка гибкой трубы не захватывалась примыкающими элементами. Необходимо уделять внимание тому, чтобы замыкание колец не повреждало внешнюю оболочку трубы, т.е. чтобы была гладкая опора без острых кромок в конструкции ограничителя.
7.2.4.4 Элементы ограничителя изгиба, изготовленные из стандартной трубы, включают внутренние и внешние соединения, как показано на
рисунке 7.3. Кольцевые фланцы на каждом конце внутреннего соединения захватываются внутри внешнего соединения, обеспечивая универсальное угловое соединение. Соединения - двунаправленные, поэтому их можно собирать в любой последовательности.
1 - внешнее соединение; 2 - внутреннее соединение
Рисунок 7.3 - Ограничитель изгиба стандартного трубопровода
7.2.4.5 Элементы ограничителя изгиба, изготовленные из стандартной трубы, могут быть, как правило, использованы, только если ограничитель изгиба установлен до соединительной арматуры.
7.2.5 Проектирование конструкции соединения
7.2.5.1 Конструкция соединения ограничителя изгиба обычно требует сложного проектирования соединения вместе с проектированием гибкой трубы, подводного оборудования, а также с разработкой инструкций по монтажу и установке, в которых могут быть приведены определенные требования к конструкции для обеспечения размерного совмещения с прилегающими конструкциями.
7.2.5.2 Для стыковки конструкции соединения с опорной конструкцией могут потребоваться промежуточные конструкции, фланцы адаптера и удлиняющие втулки. На
рисунке 7.4 показан общий вид адаптера ограничителя изгиба, используемого для стыковки сжимающего фланца с соединительной арматурой гибкой трубы. Детальный вид фланца адаптера ограничителя изгиба показан на
рисунке 7.5.
1 - соединительная арматура; 2 - адаптер;
3 - сжимающий фланец; 4 - элементы
Рисунок 7.4 - Общий вид адаптера ограничителя изгиба
1 - адаптер; 2 - труба; 3 - фланец
Рисунок 7.5 - Детальный вид фланца адаптера
ограничителя изгиба
Возможные дефекты, которые могут возникнуть у ограничителей изгиба, перечислены в
таблице 2, в которой также указаны соответствующие проектные решения.
Таблица 2
Возможные дефекты ограничителей изгиба
Дефект | Последствие | Возможная причина | Возможное исправление | Проектное решение/изменяемый параметр |
1 Неисправность элемента ограничителя изгиба | а) Возможное разъединение ограничителя изгиба с опорной конструкцией, потеря защиты, чрезмерное сгибание или возможное повреждение гибкой трубы; б) возможное повреждение гибкой трубы от сломанных краев элемента ограничителя изгиба | б) удар от падающих объектов или другой подводной конструкции (например, швартовный конец); в) усталостная поломка (только динамическое применение); г) заводской брак (например, пустоты в формах элементов полимерного ограничителя изгиба); д) старение материалов элементов полимерного ограничителя изгиба из-за воздействия: 1) солнечного света (только поверхностные ограничителя изгиба), 2) озона (только поверхностные ограничителя изгиба), 3) морской воды, 4) высокой температуры; е) ползучесть; ж) неправильная конструкция | а) Проверка с помощью общего анализа при использовании воздействия рабочих параметров потери защиты ограничителя изгиба на MBR гибкой трубы; б) извлечение дросселя изгиба, если он представляет риск для целостности системы гибкой трубы; в) при необходимости, замена ограничителя изгиба либо на месте, либо после извлечения гибкой трубы | б) увеличение конструкционной прочности, например увеличение толщины и/или размеров элемента ограничителя изгиба; в) замена формы элемента ограничителя изгиба, чтобы изменить распределение нагрузки; г) проектирование системы катодной защиты в соответствующих случаях |
2 Вдавливание элементов металлического ограничителя изгиба | Возможное повреждение гибкой трубы вдавленными элементами металлического ограничителя | Удар от падающих объектов или другой подводной конструкции (например, швартовный конец); б) повреждение во время погрузочно-разгрузочных работ, хранения, транспортировки или установки | а) Попытаться установить, есть ли воздействие на целостность гибкой трубы; б) при необходимости, замена ограничителя изгиба либо на месте, либо после извлечения гибкой трубы | Как правило, нагрузки, которые могли бы привести к вдавливанию, не рассчитываются. В этом случае применяют профилактические меры против такой нагрузки, как падающие объекты |
3 Неисправность крепежа элемента ограничителя изгиба | а) Отсоединение элемента ограничителя изгиба и снижение защиты ограничителя изгиба; б) чрезмерная нагрузка на оставшиеся крепления | б) усталостная поломка (только динамическое применение); в) коррозия; г) заводской брак; д) водородная хрупкость; е) неправильная конструкция (слишком маленький размер креплений); ж) неправильная установка (например, крепления затянуты неправильно) | а) Обсуждение с производителем целостности ограничителя изгиба при пропущенных крепежных элементах; б) если разрешен доступ, возможно установить сменные крепления | б) увеличение размера крепления; в) изменение предварительной нагрузки крепежа; г) проектирование системы катодной защиты |
4 Неисправность конструкции соединения | б) возможное повреждение гибкой трубы от сломанных краев конструкции соединения | б) усталостная поломка (только динамическое применение); в) коррозия; г) неисправность сварного соединения; д) заводской брак; е) водородная хрупкость; ж) неправильная конструкция; и) неправильная установка (например, крепления затянуты неправильно) | | а) Выбор материалов; б) увеличение конструкционной прочности, например увеличение толщины и размеров; в) проектирование системы катодной защиты; г) изменение распределения нагрузки в конструкции |
5 Неисправность креплений конструкции соединения | б) чрезмерная нагрузка на оставшиеся крепления | б) усталостная поломка (только динамическое применение); в) коррозия; г) заводской брак; д) водородная хрупкость; е) неправильная конструкция (слишком маленький размер креплений); ж) неправильная установка (например, крепления затянуты неправильно) | | |
6 Гибкая труба недостаточно защищена от чрезмерного изгиба | Чрезмерный изгиб и возможная неисправность гибкой трубы | б) заводской брак (например, пустоты в формах полимерного ограничителя изгиба); в) старение материалов элементов полимерного ограничителя изгиба из-за воздействия: 1) солнечного света (только поверхностные ограничители изгиба), 2) озона (только поверхностные дроссели изгиба), 3) морской воды, 4) высокой температуры; г) неправильная конструкция | Замена дросселя изгиба либо на месте, либо после извлечения гибкой трубы | |
7 Удаление покрытия краской (только металлические ограничители изгиба) | Возможная коррозия конструкции | а) Повреждение во время погрузочно-разгрузочных работ, хранения, транспортировки, установки или обслуживания; б) заводской брак (например, покрытие нанесено неправильно); в) неправильное проектирование (например, выбор системы покрытия) | Обращение к отчету по проектированию/производителю по вопросам с областью нарушения покраски, на которую рассчитана система катодной защиты; установка усовершенствованных анодов, если область превышает запроектированную | а) Выбор системы покрытия краской; б) проектирование системы катодной защиты |
8 Показания датчиков системы катодной защиты отличаются от технических требований | Возможная коррозия металлических компонентов ограничителя изгиба | Отключены кабели системы катодной защиты. Сломан(ы) анод(ы). Неправильное проектирование системы катодной защиты (т.е. неправильные массы анодов) | а) Обсуждение с производителем того, в течение какого промежутка времени текущая система катодной защиты может обеспечивать защиту; б) установка усовершенствованных анодов на длительный срок | Проектирование системы катодной защиты |
9 Коррозия крепежа элементов металлического дросселя | Возможная неисправность конструкции | а) Чрезвычайно коррозионная среда; б) неправильная защита системы катодной защиты; в) повреждение лакокрасочного покрытия; г) отключение кабелей системы катодной защиты; д) неправильное проектирование (например, выбор материалов, проектирование системы катодной защиты) | а) Обсуждение с производителем целостности конструкции с коррозией; б) установка усовершенствованных анодов на длительный срок | а) Выбор материалов; б) проектирование системы катодной защиты |
7.2.7 Проектные критерии
7.2.7.1 Рекомендации по общим проектным критериям приведены в
5.3.4, а также руководства и рекомендации, относящиеся к проектным критериям ограничителя изгиба.
7.2.7.2 В
7.4.5 и
7.4.6 представлено более подробное описание анализа срока службы, включая ползучесть и руководства по ограничителям изгиба, применяемым при проведении динамических работ. Критерии расчетов усталости указаны в
ГОСТ Р 59307.
7.2.8 Противокоррозионная защита
7.2.8.1 Крепежные элементы, которые соединяют элементы полимерного ограничителя изгиба, должны быть изготовлены из коррозионно-стойкого материала, так как они могут образовывать гальваническую пару с системой катодной защиты благодаря электрическим изоляционным свойствам окружающего полимера. Выбор материала крепежа должен учитывать расчетную температуру.
7.2.8.2 Элементы металлического ограничителя изгиба и конструкции соединения могут соединяться с системой катодной защиты прилегающей опорной системы, если соответствующий резерв был учтен при расчетах катодной защиты опорной конструкции. Такое соединение обычно выполняется посредством присоединения кабелей от опорной конструкции к конструкции соединения и ко всем отдельным элементам металлического ограничителя изгиба. Если невозможно соединить опорную конструкцию с элементами металлического ограничителя изгиба, может быть предусмотрен ограничитель изгиба со специальной системой катодной защиты с помощью прикрепления анодов к конструкции соединения и к каждому элементу жесткости на изгиб.
7.2.9 Случаи нагрузки
7.2.9.1 Ограничитель на изгиб подвергают значительным внешним нагрузкам только при замыкании. При замыкании момент изгиба и сила сдвига передаются от гибкой трубы ограничителю изгиба, как схематично показано на
рисунке 7.6. Как правило, максимальную нагрузку распределяют на элементе ограничителя изгиба, ближайшем к примыкающей конструкции.
1 - конструкция соединения; 2 - дроссель изгиба;
3 - гибкая труба; 4 - сила сдвига; 5 - момент изгиба
Рисунок 7.6 - Нагрузки ограничителя изгиба
7.2.9.2 Нагрузки и их точки приложения, которые воздействуют на охватывающие и охватываемые конструкции соединения, показаны на
рисунке 7.7. Такие нагрузки являются сочетанием момента изгиба, сил натяжения и сдвига, как показано на
рисунке 7.7. Силы натяжения и сдвига появляются в результате сил сжатия, прилагаемых прилегающим элементом ограничителя изгиба. Эти силы представляют те силы, которые оказывают воздействие в тот момент, когда ограничитель изгиба справа на конструкции соединения сгибается по часовой стрелке.
Рисунок 7.7 - Нагрузки охватывающей (слева) и охватываемой
(справа) конструкций соединения
7.2.9.3 Конструкцию ограничителя изгиба необходимо проверить в отношении тех нагрузок от собственного веса, которые могут быть значительными. Нагрузки от собственного веса происходят, например, когда ограничитель изгиба свободно подвешен в воздухе или воде, а вес ограничителя изгиба позволяет воздействовать на самого себя.
7.2.10 Проектирование установки
В случае с машинообработанными или литыми элементами полимерного ограничителя изгиба охватываемая конструкция подходит для такого применения, при котором ограничитель изгиба собирается на гибкой трубе, начиная от первого конца трубы, который выходит из катушки/барабана. Это происходит из-за того, что элементы ограничителя изгиба собираются, начиная с соединительной арматуры. Обхватывающий конец первого элемента обматывает обхватываемую конструкцию соединения. И наоборот, охватывающая конструкция подходит для такого применения, при котором ограничитель изгиба собирается на гибкой трубе рядом со вторым концом гибкой трубы, который выходит из катушки/барабана. Это происходит из-за того, что элементы ограничителя изгиба начинают собираться на расстоянии от соединительной арматуры. Обхватываемый конец последнего элемента вставляется в обхватывающую конструкцию соединения.
7.3 Материалы
7.3.1 Общие сведения
В настоящем разделе представлены характеристики материалов, применяемых в ограничителях изгиба.
7.3.2 Полимерные материалы
7.3.2.1 Элементы полимерного ограничителя изгиба изготовлены преимущественно из конструкционного полиуретана. Используемые полиуретановые материалы являются не эластомерами, а пластиками. Такое свойство придает материалу способность принимать значительные нагрузки. Обычная сила натяжения для материала полимерного ограничителя изгиба (при температуре плюс 23 °C) составляет приблизительно 45 МПа при удлинении к моменту разрыва от 15% до 20%. Преимуществом полимерных ограничителей изгиба по сравнению с металлическими является то, что они не нуждаются в системе защиты от коррозии. Также из-за сравнительно низкой плотности полимерного материала по отношению к стали их преимущество заключается в меньшей массе, связанной с системой гибкой трубы. Прочность материалов полимерного ограничителя изгиба, как правило, снижается при высоких температурах и увеличивается при низких.
7.3.2.2 Полимерные материалы ограничителя изгиба должны демонстрировать следующие свойства:
- низкий уровень впитывания воды (только для подводных ограничителей изгиба);
- сопротивление гидролизу;
- ограниченное ухудшение свойств в результате старения;
- стабильные высокотемпературные характеристики (если внутренняя среда гибкой трубы находится под высокой температурой).
Примечание - Обычная температура тепловой критической деформации материала полимерного ограничителя изгиба - 70 °C. Даже при высокой температуре стандартный полимерный материал ограничителя изгиба сохраняет достаточную механическую прочность при прочности на растяжение около 20 МПа и при температуре 60 °C;
- близкую к нейтральной плавучесть в морской воде (это помогает минимизировать нагрузку от собственного веса на гибкой трубе).
Примечание - Полимерные материалы ограничителя изгиба практически нейтральной плавучести действительно имеют минимальный вес в морской воде. Плотность полимерного материала ограничителя изгиба составляет, как правило, приблизительно 1150 кг/м3;
- способность выдерживать постоянные нагрузки в течение срока службы без повреждения при ползучести;
- обоснованную механическую прочность, чтобы выдерживать обычные погрузочно-разгрузочные работы во время установки.
Примечание - Общепринятая ударопрочность полимерного материала ограничителя изгиба по Изоду (при температуре 23 °C) составляет 8 кДж/м2;
- ограниченное снижение модуля эластичности с температурой (таким образом, гарантируется, что деформированный замкнутый радиус соответствует расчетным критериям).
Необходимо выбрать соответствующий класс полиуретана для соответствующих температурных условий.
7.3.2.3 Материалы для ограничителя изгиба должны быть выбраны таким образом, чтобы они могли выдерживать температуры в непосредственной близости от внешней оболочки гибкой трубы в течение срока службы и в сочетании с постоянным контактом с морской водой (когда ограничитель изгиба находится под водой). Температура внешней оболочки - важный параметр при таком применении, при котором гибкая труба транспортирует среду с высокой температурой. Воздействие сравнительно высоких температур и, что более критично, контакт с морской водой ухудшают свойства материала. Таким образом, материал должен сохранять определенный уровень характеристик после ухудшения свойств к концу срока службы.
7.3.3 Металлические материалы
7.3.3.1 Металлические ограничители изгиба изготавливают из стали. Элементы стальных ограничителей изгиба обладают более высокой допускаемой нагрузкой, чем полимерные, но при этом имеют большую массу и требуют защиты с помощью антикоррозионного защитного покрытия или системы катодной защиты.
7.3.3.2 Конструкция соединения обычно производится из углеродистой стали, которая защищена антикоррозионным защитным покрытием и системой катодной защиты. Если нагрузка, передаваемая на конструкцию соединения, сравнительно высокая, может потребоваться использовать высокопрочную конструкционную сталь.
7.3.4 Гибридные ограничители изгиба
Ограничитель изгиба может включать полимерные и металлические элементы, объединяя тем самым высокую прочность металла с низкой плотностью полимера. Металлические элементы, как правило, используют в тех зонах, в которых полимерные материалы могут не выдержать нагрузок. Использование полимерных элементов в оставшихся зонах таким образом поможет минимизировать вес системы.
7.4 Вопросы анализа
7.4.1 Общие сведения
Целью данного подраздела является предоставление рекомендаций по способам проведения анализа ограничителя изгиба.
7.4.2 Местный анализ
7.4.2.1 Ограничители проектируются служебными специальными программными пакетами, шаблонными механическими формулами, исследованиями 3D-методом конечных элементов или сочетанием этих методов. Элементы ограничителя изгиба являются простыми компонентами, однако процесс рабочего проектирования сложен. Во время проектирования необходимо постоянно обращать внимание на то, что требования геометрической приемлемости и предельной нагрузки могут вступать в противоречия.
7.4.2.2 Основные исходные данные для проектирования ограничителя изгиба:
- моменты изгиба и силы сдвига, передаваемые элементам во время замыкания;
- геометрические требования по расположению гибкой трубы;
- длина покрытия;
- свойства материала ограничителя изгиба.
Проектирование ограничителя изгиба обеспечит приемлемую геометрию его элемента, а также необходимое количество элементов. Стандартная геометрия полимерного ограничителя изгиба показана на
рисунке 7.8, а пример геометрии для ограничителя изгиба, изготовленного из стандартной трубы, представлен на
рисунке 7.9. Необходимо учитывать, что элемент полимерного ограничителя изгиба имеет охватываемые и охватывающие концы, которые позволяют замыкать прилегающие элементы.
Рисунок 7.8 - Стандартная геометрия полимерного
ограничителя изгиба
Рисунок 7.9 - Геометрия элемента ограничителя изгиба,
изготовленного из стандартной трубы
7.4.2.3 Программное обеспечение для исследования 3D-методом конечных элементов может быть использовано при определении нагрузок, производимых в элементах ограничителя изгиба из-за контакта между элементами. Такой анализ, как правило, выполняют ситуативно для проверки более эффективных подходов или при указанных проектных условиях. Определение контактных нагрузок требует использования специальных контактных элементов для моделирования контактных поверхностей.
7.4.2.4 Может быть использована полусимметричная модель конечных элементов, если изгибающий момент
M и сдвигающая сила
Fs, которые анализируются, действуют на секущей плоскости элемента (см.
рисунок 7.10). Пример полусимметричной сетки показан на
рисунке 7.11. Однако, если нагрузку изгибающего момента и сдвигающей силы на ограничитель изгиба прилагают на плоскость, наклонную к секущей плоскости, как показано на
рисунке 7.12, необходимо моделировать всю конструкцию. Пример сетки для всей конструкции показан на
рисунке 7.13. Необходимо отметить, что сетки утончаются в местах болтовых отверстий для того, чтобы захватить концентрации напряжения в этих местах.
Рисунок 7.10 - Элемент ограничителя изгиба
(плоскопараллельная нагрузка)
Рисунок 7.11 - Элемент ограничителя изгиба
(полусимметричная сетка)
Рисунок 7.12 - Элемент ограничителя изгиба
(нагрузка по наклонной плоскости)
Рисунок 7.13 - Сетка элемента ограничителя изгиба
(без симметрии)
7.4.2.5 Сетки, показанные на
рисунках 7.11 и
7.13, ограничены частями двух элементов ограничителя изгиба. Так как анализируемое для модели поведение - это контакт между элементами, моделируемый объем достаточен для контакта. В зависимости от анализируемого поведения может потребоваться более обширная модель с большим количеством элементов ограничителя изгиба.
7.4.2.6 Сила сдвига может прилагаться как сосредоточенная нагрузка, воздействующая на кольцевую поверхность элемента ограничителя изгиба на конце модели конечных элементов, например в месте, показанном на
рисунке 7.9. Общая сила сдвига разделена между общим количеством узлов кольцевой поверхности.
7.4.2.7 Момент изгиба может прилагаться как неравномерное, изменяющееся, распределенное напряжение изгиба в кольцевой области на конце модели конечных элементов, например в месте, показанном на
рисунке 7.9.
7.4.2.8 Нагрузки предварительной затяжки болтов могут моделироваться как эквивалентная осевая деформация, прилагаемая к оси всех болтов.
7.4.3.1 Общий анализ системы гибкой трубы следует применять для определения тех зон, где радиус изгиба снижается ниже рабочего минимального радиуса изгиба, и в том случае, если ограничитель изгиба является приемлемым решением для предотвращения данного снижения. Общий анализ должен определять длину гибкой трубы и, следовательно, необходимое покрытие ограничителем изгиба, которое может быть больше во время установки по сравнению с периодом эксплуатации. Чаще всего чрезмерный изгиб происходит при контакте с морским дном, при соединениях оборудования устья скважины, входах J-образной трубы или на хомуте каната. Чрезмерный изгиб появляется только при установке гибкой трубы.
7.4.3.2 Общий анализ системы гибкой трубы должен определить нагрузки момента изгиба и силы сдвига, которые передаются на ограничитель изгиба при замыкании.
7.4.3.3 Динамический анализ можно применять для определения большого объема чрезмерного изгиба и, следовательно, большого объема непостоянного замыкания в течение срока службы ограничителя изгиба. В таком случае может потребоваться учет усталостных нагрузок, воздействующих на ограничитель изгиба (см.
6.4.6), или, вместо этого, рассмотрение использования ограничителя изгиба.
7.4.3.4 Общий анализ следует проводить повторно с включением спроектированного ограничителя изгиба в качестве общей проверки проекта, в процессе которого исследуют массу, внешний диаметр и замыкающий радиус спроектированного ограничителя изгиба. Общую проверку, как правило, выполняет производитель гибкой трубы или специалист по общему анализу. Моделирование ограничителя изгиба следует осуществлять при проведении общего анализа с учетом дополнительной жесткости, воздействие которой может оказывать влияние на гибкую трубу при замыкании.
7.4.4 Термический режим
В соответствии с требованиями
ГОСТ Р 59307 производитель учитывает влияние температуры на поведение ограничителя изгиба. Следующие параметры оказывают воздействие на температурный градиент в ограничителе изгиба, вызванный гибкой трубой:
- температура окружающего воздуха или морской воды в зависимости от обстоятельств;
- влияние изоляции слоев гибкой трубы;
- свойства изоляции гибкой трубы, как правило, предусматривающиеся в опросных листах гибкой трубы;
- зазор между ограничителем изгиба и гибкой трубой, который обычно заполнен морской водой;
- влияние изоляции самого ограничителя изгиба;
- воздействие нагревания от прямых солнечных лучей в соответствующих случаях.
7.4.5 Характеристики ползучести
Необходимо показать, что ползучесть полимерных ограничителей изгиба из-за постоянной нагрузки при замыкании не приводит к напряжению, превышающему допустимые уровни. Ограничители изгиба могут подвергаться постоянному моменту изгиба и силе сдвига во время эксплуатации. Чтобы удовлетворить такие критерии, напряжение в полимерных ограничителях изгиба может ограничиваться до определенного допустимого значения. Стандартное значение - 15%, но надлежащее значение зависит от точного состава материала и его характеристики ползучести.
7.4.6.1 Как правило, ограничители изгиба рассчитаны на статические условия. Элемент жесткости на изгиб - более подходящий ограничитель изгиба для динамических применений, если его можно использовать. Если ограничитель изгиба предназначен для использования в динамических применениях, т.е. там, где могли бы быть существенные уровни непостоянного замыкания и, следовательно, ударные силы между примыкающими элементами, необходимо выявить целевое предназначение ограничителя изгиба для применения, отличного от стандартного использования. Должно быть количественное определение приблизительного уровня непостоянного замыкания между элементами.
7.4.6.2 Анализ усталости элементов ограничителя изгиба должен проводиться, если предполагается использование ограничителя изгиба в динамическом применении. В дополнение к требованиям
ГОСТ Р 59307 (в котором определены требования к анализу усталости металлических и полимерных материалов) анализ усталости, если применяется, должен рассматриваться для уровня непостоянного замыкания (и возникающих в результате силы сдвига и моментов изгиба), вызываемого движениями гибкой трубы. Если только невозможно устранить циклические ударные силы между прилегающими элементами путем изменения геометрии элементов или иным образом, должно быть показано, что циклические ударные силы между прилегающими элементами не приводят к усталостной поломке материала. Если работа материалов ограничителя изгиба, как показано, ниже установленных и задокументированных пределов прочности, которые были утверждены, расчеты усталостного повреждения не требуются.
7.4.6.3 Если имеется относительное движение между элементами ограничителя изгиба, но замыкание отсутствует или незначительно, и, следовательно, отсутствуют значительные контактные силы между прилегающими элементами, анализ усталости не нужен.
7.5 Испытания опытного образца
7.5.1 Применение испытаний опытного образца
Проектные параметры, которые необходимо учитывать при запросе испытаний опытного образца в данном подразделе в соответствии с
5.6.3:
- расчетные нагрузки, включая силу сдвига и момент изгиба, прилагаемые к ограничителю изгиба;
- материалы, в частности новые составы полимерного материала для элементов ограничителя изгибов или металла без чрезмерного опыта использования в тяжелых режимах работы в морских условиях;
- процесс(ы) производства;
- внутренний и внешний диаметры гибкой трубы;
- максимальный внешний диаметр и длина элементов ограничителя изгиба.
7.5.2 Прочностное испытание с достижением расчетной нагрузки
7.5.2.1 Описание
Целью прочностного испытания с достижением расчетной нагрузки является гарантия того, что дроссель изгиба может выдерживать проектные нагрузки. Стандартная сборка испытания нагрузки показана на
рисунке 7.14.
1 - оконечное устройство; 2 - дроссель изгиба в сборе;
3 - конструкция фундамента; 4 - замыкающий радиус R;
5 - весы; 6 - натяжное устройство; 7 - точка опоры
Рисунок 7.14 - Стандартная сборка для испытания ограничителя
изгиба с достижением расчетной нагрузки
7.5.2.2 Порядок испытаний
7.5.2.2.1 Количество элементов ограничителя изгиба, сборку которых осуществляют для проведения испытания, должно быть достаточным для моделирования максимальной нагрузки при обслуживании или установке одного из элементов. Таким образом, сборка всего комплекта элементов не требуется.
7.5.2.2.2 Необходимое количество элементов ограничителя изгиба должно быть собрано на конструкции соединения или на шаблонах конструкции соединения с соответствующими размерами и геометрией. Сборка такой конструкции должна быть, в свою очередь, осуществлена на той конструкции, которая по размерам и геометрии представляет прилегающую опорную конструкцию.
7.5.2.2.3 Элементы следует фиксировать с помощью крепежных элементов с такими же характеристиками и с такой же силой зажима, как было определено на этапе проектирования для работы. Перед приложением нагрузок ограничитель изгиба необходимо проверить для того, чтобы убедиться в том, что все крепежные элементы находятся на месте.
7.5.2.2.4 Ограничитель изгиба должен быть замкнут и постепенно нагружаться до максимальной нагрузки при работе за согласованный период времени. Нагрузка, как правило, прилагается передвижением ремней или тросов по центру ограничителя изгиба и приложением бокового натяжения с помощью устройства натяжения. Затем необходимо измерить деформированный замкнутый радиус и разобрать ограничитель изгиба.
7.5.2.3 Критерии приемки
Разобранные элементы ограничителя изгиба при проверке не должны быть повреждены. Типичные признаки повреждения - растрескивание или искривление элементов ограничителя изгиба. Деформированный замкнутый радиус должен равняться указанному рабочему минимальному радиусу изгиба или быть выше и соответствовать рассчитанному на этапе проектирования.
7.5.3 Разрушающее испытание
7.5.3.1 Описание
Целью разрушающего испытания является определение разрушающей нагрузки ограничителя изгиба и сравнение такой нагрузки с проектными расчетами.
7.5.3.2 Порядок
Порядок такой же, как и порядок испытания пробной нагрузки, за исключением того, что нагрузка постепенно повышается до разрушения ограничителя изгиба. До испытания должны быть определены дополнительные требования к безопасности, так как разрушение элементов ограничителя изгиба может привести к разлету поврежденных частей. Таким образом, персонал, проводящий испытания, должен находиться на безопасном расстоянии и носить защитную одежду и защитные очки.
7.5.3.3 Критерии приемки
Разрушающая нагрузка должна быть равна рассчитанной в проекте или превышать ее с учетом коэффициентов использования материалов.
7.6 Изготовление
7.6.1 Общие сведения
В
ГОСТ Р 59307 приведены требования к производству ограничителей изгиба. В данном подразделе представлено описание стандартных процессов, выполняемых при производстве ограничителя изгиба.
7.6.2 Производственный процесс. Элементы полимерного ограничителя изгиба
7.6.2.1 Элементы полимерного ограничителя изгиба обычно изготавливают введением в пресс-форму жидкого полиуретана, который затем отвердевает и извлекается до отвердевания в печи. Пресс-форма имеет существенное значение для качества готового продукта и должна быть прецизионно механически обработана. Отверстия крепежных элементов, которые позволяют закреплять вместе элементы ограничителя изгиба, могут быть обработаны отдельно от литого элемента ограничителя изгиба.
7.6.2.2 Процесс производства элемента ограничителя изгиба выполняют следующим образом:
- форму устанавливают при размещении центрального трубчатого элемента в форме;
- перед заливкой форму и сердцевину покрывают разделяющей смазкой;
- собранную форму размещают в печи для ее нагревания до установленной температуры;
- составляющие компоненты полимерного материала ограничителя изгиба смешивают;
- смесь заливают в форму;
- после установления смеси ограничителя изгиба элемент ограничителя изгиба удаляют из формы и охлаждают;
- элемент жесткости на изгиб окончательно отвердевает, помещенный на горячий стол для остывания до установленной температуры;
- необходимые болтовые отверстия обрабатывают в литом элементе ограничителя изгиба.
7.6.2.3 Альтернативный метод - литье грубых заготовок, которые затем обрабатывают до необходимого профиля с помощью обработки на станке с ЧПУ.
7.6.2.4 Полностью отвердевшие элементы ограничителя изгиба подлежат детальной проверке до момента поставки для определения каких-либо дефектов поверхности.
7.6.3 Производственный процесс. Элементы металлического ограничителя изгиба
Элементы металлического ограничителя изгиба могут быть изготовлены обработкой необходимого профиля элемента, а также из стандартной трубы, когда фланцы приваривают к каждому концу короткой секции стандартной трубы, чтобы создать элементы ограничителя изгиба, как показано на
рисунке 7.8. Кольцевые внешние узлы, в которых расположены фланцевые концы стандартной трубы, производят сваркой металлической пластины.
7.6.4 Производство конструкции соединения
Конструкция соединения может быть сложным компонентом в зависимости от индивидуальных требований проекта. Конструкция производится таким же образом, как и стандартные металлические конструкции, - свариванием серии компонентов и обработкой необходимых отверстий крепления для ее закрепления на опорной конструкции. Следующие этапы включают проверку методом неразрушающего контроля сварных швов конструкции соединения. На последнем этапе применяют антикоррозионное защитное покрытие на внешних зонах конструкции.
7.7 Погрузочно-разгрузочные работы и монтаж
7.7.1 Общие сведения
В
подразделе 7.7 приведены руководства и рекомендации по погрузочно-разгрузочным работам и монтажу ограничителей изгиба.
7.7.2 Погрузочно-разгрузочные работы
Необходимо быть внимательными при погрузочно-разгрузочных работах и установке для того, чтобы предотвратить падение элементов жесткости на изгиб, особенно изготовленных из полимерных материалов. Это может привести к растрескиванию и создать точку возникновения дефекта во время эксплуатации. Все случайно упавшие элементы следует проверить на наличие повреждений. Необходимо быть предельно собранными во время работ по установке, чтобы предупредить удары элементов полимерного ограничителя изгиба о любые другие объекты. Также следует учитывать повреждения во время работ за бортом, когда ограничитель изгиба соприкасается с забортным желобом.
7.7.3 Монтаж
7.7.3.1 Если ограничитель изгиба произведен в форме разъемной сборки, его можно собрать вокруг гибкой трубы в море, закрепив полуобечайки элемента вместе. Необходимо обратить внимание на то, чтобы момент затяжки болтовых соединений соответствовал процедуре установки, так как чрезмерная затяжка может повредить элементы полимерного ограничителя изгиба. Следует регистрировать применяемую затяжку с подписями персонала, ответственного за установку. Сборка создается ограничителем, полуобечайками, элементами и сцеплением всех последующих элементов с предыдущими.
7.7.3.2 При использовании обхватываемой конструкции соединения требуется, чтобы элементы ограничителя изгиба были установлены в начале конструкции соединения, как показано на
рисунке 7.15. И наоборот, применение обхватывающей конструкции соединения, как показано на
рисунке 7.16, основано на том, чтобы элементы ограничителя изгиба были установлены на определенном расстоянии от конструкции соединения. Это не относится к ограничителям изгиба, изготовленным из стандартной трубы, как показано на
рисунке 7.8, где отдельные элементы являются двунаправленными и их можно собирать в любой последовательности.
Рисунок 7.15 - Обхватываемая конструкция соединения
ограничителя изгиба
Рисунок 7.16 - Обхватывающая конструкция соединения
ограничителя изгиба
7.7.3.3 Если ограничитель изгиба не изготавливается в форме разъемной сборки, как ограничитель изгиба, производимый из стандартной трубы, он должен собираться вокруг гибкой трубы на берегу.
7.7.3.4 Конструкцию соединения следует крепить к прилегающей конструкции, а элементы ограничителя изгиба - соединять вместе в соответствующих случаях с помощью сил зажима, указанных производителем в процедуре установки в соответствии с
ГОСТ Р 59307.
7.7.3.5 Производитель должен рассмотреть защитную крышку для ограничителя изгиба, чтобы защитить его во время хранения в барабане или при других потенциально вредных погрузочно-разгрузочных работах и установке. Стандартная защитная крышка может быть в виде пенопластовой подушки, которая привязывается к ограничителю изгиба.
7.7.3.6 Во время установки должны быть соблюдены процедуры для точного соединения кабелей системы катодной защиты с элементами металлического ограничителя изгиба и для регистрации соединения и расположения. Таким образом, ограничители изгиба не попадают за борт с неправильно установленными системами катодной защиты, которые могут не обеспечить надлежащей защиты.
7.8 Управление целостностью
7.8.1 Общие сведения
В
подразделе 7.8 представлены руководства и рекомендации по управлению целостностью, включая возможные дефекты.
7.8.2 Типы неисправностей и дефекты
В
таблице 2 указаны возможные дефекты для ограничителей изгиба.
7.8.3 Методы мониторинга. Общие сведения
7.8.3.1 Общий осмотр выполняют для проверки
дефектов 1,
2,
4,
5 и
7 -
9 (см.
таблицу 2) при возможности доступа. Как правило, невозможно напрямую проверить
дефект 6, если не установлено оборудование для измерения радиуса изгиба гибкой трубы во время эксплуатации вместе с длиной ограничителя изгиба с помощью волоконно-оптического мониторинга.
7.8.3.2 При наличии доступа крепежные элементы, фиксирующие конструкцию соединения или промежуточную конструкцию на опорной конструкции и фиксирующие элементы ограничителя изгиба следует осматривать. При этом следует оценить наличие коррозии, ослабление креплений или повреждений в соответствии с
дефектами 3 и
5 (см.
таблицу 2). В случае невозможности проведения осмотра всех деталей крепежа допускается ограничиться осмотром крепежа, не скрытого за другими конструктивными элементами ограничителя изгиба.
7.8.3.3 Сложно определить
дефект 6 (см.
таблицу 2), если невозможно измерить радиус изгиба гибкой трубы с помощью волоконно-оптического мониторинга или если произошедшее повреждение внешней оболочки гибкой трубы скрыто ограничителем изгиба.
7.8.4 Методы мониторинга. Полимерные ограничители изгиба
Если полимерный ограничитель изгиба не исправен в соответствии с
дефектом 1 (см.
таблицу 2), необходимо проверить, подвергался ли он воздействию острых кромок по неисправной линии, что могло бы привести к повреждению прилегающих подводных линий или гибкой трубы. Гибкую трубу и прилегающие подводные линии следует проверять на наличие нанесенных повреждений.
7.8.5 Методы мониторинга. Металлические ограничители изгиба
В дополнение к
5.9.7.5 исследование системы защиты от коррозии для элементов металлического ограничителя изгиба должно включать проверку всех кабелей защиты от коррозии в отношении правильности их крепления с доступом ко всем местам крепления.
8.1 Общие сведения
Раздел 8 относится к раструбам, которые используются для контроля связи на хомутах канатов. Рекомендации в данном разделе могут относиться к подводным кабелям.
8.2 Вопросы проектирования
8.2.1 Общие сведения
В
ГОСТ Р 59307 установлены требования к проектированию раструбов. Целью данного подраздела являются разработка и предоставление руководств по проектированию в соответствии с требованиями
ГОСТ Р 59307.
В настоящем подразделе рассмотрены следующие вопросы:
- проектирование раструбов;
- проектные критерии;
- расчетные условия нагружения;
- проектирование монтажа.
8.2.2 Процесс проектирования
Проектирование раструба для данного состояния гибкой трубы, как правило, проводят на следующих этапах:
а) материалы раструба выбирают на основании эксплуатационных требований, указанных в
ГОСТ Р 59307. Руководство по выбору материалов приведено в
8.3;
б) выполняют ряд статических и динамических общих анализов, при необходимости, на гибкой трубе без раструба для того, чтобы обеспечить максимальные углы гибкой трубы от среднего положения;
в) входной диаметр раструба определяют на основании размеров опорной конструкции, т.е. I/J-образной трубы, хомута каната и т.д.;
г) раструб рассчитывают для максимального угла. Основные проектные параметры - входной диаметр и профиль раструба (см. проектные руководства в
8.2.3);
д) некоторые или все анализы по
перечислению б) повторяют с включением спроектированного раструба для общей проверки проекта раструба;
е) систему защиты от коррозии для металлических раструбов проектируют в соответствии с требованиями
ГОСТ Р 59307;
ж) в динамическом применении анализы усталости раструба выполняют с помощью диапазонов момента изгиба и в определенном количестве циклов, воздействующих на гибкую трубу.
8.2.3 Проектирование раструба
8.2.3.1 Соединение между композитными раструбами и металлическими направляющими трубы должно быть сохранено на протяжении определенного срока службы при прилагаемых нагрузках изгиба.
8.2.3.2 В соответствии с требованиями
ГОСТ Р 59307 профиль раструба проектируют таким образом, чтобы можно было предотвратить его повреждение или повреждение втяжных проводов во время установки. Гибкая труба может быть установлена втягиванием через I/J-образную трубу на платформе/судне с помощью втяжных тросов. Втяжной канат может быть потенциально поврежден, если он истирается или ударяется о поверхности раструба. Для предотвращения возможных повреждений может потребоваться несимметричный профиль раструба. В предыдущих конструкциях повреждение втяжных тросов было минимизировано с помощью расширения на нижнем крае раструба на стороне гибкой трубы платформы/судна. В качестве варианта должна быть использована некоторая форма защитного устройства, чтобы предотвратить возможный(ое) контакт (протирание) троса на выходе из раструба.
8.2.3.3 В
ГОСТ Р 59307 установлено, что должны быть предприняты меры при проектировании раструба, во избежание обрастания морскими организмами или загрязнения раструба, которое можно предотвратить нанесением предохраняющего покрытия и применением отверстий для удаления загрязнения.
8.2.3.4 Так как гибкая труба контактирует с раструбом, на нее также будет воздействовать эффективное натяжение
T, как показано на
рисунке 8.1. Проектировщик должен проверить, чтобы сочетание контактного радиуса и эффективного натяжения не превышало сопротивления разрушению гибкой трубы.
Рисунок 8.1 - Нагрузки раструба и максимальный угол
гибкого трубопровода
8.2.4 Максимальное изменение угла
Расчет раструба основан на максимальных изменениях угла гибкой трубы

от среднего положения, как схематично показано на
рисунке 8.1. Максимальный угол является результатом движений платформы/судна в условиях окружающей среды, включая волны и течения. Раструб может изначально предполагать угол

по отношению к вертикали. В среднем положении гибкая труба может предполагать угол

в отношении оси раструба. Необходимо отметить, что изменение угла

гибкой трубы относится к среднему положению гибкой трубы. Максимальное изменение угла может быть более одной определенной стороны среднего положения.
Возможные дефекты, которые могут быть у раструба, перечислены в
таблице 3, в которой также указаны соответствующие проектные решения/стратегии.
Таблица 3
Возможные дефекты раструба
Дефект | Последствие | Возможная причина | Возможное исправление | Проектное решение/ изменяемый параметр |
| а) Потеря защиты раструба, чрезмерный изгиб и возможная неисправность гибкой трубы; б) возможное повреждение гибкой трубы от сломанных краев раструба; в) мусор в раструбе | а) Чрезмерный изгиб трубы вокруг раструба; б) удар от упавшего объекта или другой конструкции; в) усталостная поломка (только динамическое применение); г) коррозия (только металлические раструбы); д) неисправность сварного соединения (только металлические раструбы); е) заводской брак; ж) водородное охрупчивание (только металлические раструбы); и) старение композитных раструбов из-за влияния: 1) солнечного света (только поверхностные раструбы), 2) озона (только поверхностные раструбы), 3) морской воды, 4) высокой температуры; к) ползучесть (только композитные раструбы); л) неправильная конструкция | а) Проверка с помощью общего анализа при использовании рабочих параметров, воздействия раструба, потери защиты MBR гибкой трубы; б) извлечение раструба, если он представляет риск для целостности системы гибкой трубы; в) при необходимости, замена раструба с устройством ограничения изгиба либо на месте, либо после извлечения гибкой трубы. Замена на месте требует средств закрепления ограничителя изгиба в условиях на море. Может быть трудно заменить раструб хомута кабель-троса из-за движений гибкой трубы и доступа для водолазов | а) Выбор материалов; б) увеличение конструкционной прочности, например увеличение толщины раструба (может ограничиваться прилегающей конструкцией, например, толщиной I/J-образной трубы); в) проектирование системы катодной защиты (только металлический раструб) |
2 Неисправность крепежных элементов раструба | а) Отсоединение сегментов раструба и снижение защиты раструба; б) Чрезмерная нагрузка на оставшиеся крепления | а) Чрезмерный изгиб трубы вокруг раструба; б) усталостная поломка (только динамическое применение); в) коррозия; г) заводской брак; д) водородная хрупкость; е) неправильная конструкция (слишком маленький размер креплений); ж) неправильная установка (например, крепления затянуты неправильно) | а) Обсуждение с производителем вопросов обеспечения целостности раструба при пропущенных крепежных элементах; б) может быть возможно, если доступ позволяет установить сменные крепежные элементы или если необходимо обеспечить целостность раструба или гибкой трубы | б) увеличение размера крепления; в) проектирование системы катодной защиты; г) увеличение количества и/или распределения крепежных элементов |
3 Неисправность соединения с опорной конструкцией | б) возможное ударное повреждение гибкой трубы из-за отсоединения раструба от опорной конструкции | а) Чрезмерный изгиб трубы вокруг раструба; б) удар от упавшего объекта или другой конструкции; в) усталостная поломка (только динамическое применение); г) коррозия; д) неисправность сварного соединения; е) заводской брак; ж) водородная хрупкость; и) неправильная конструкция; к) неправильная установка (например, дефект сварного соединения на опорной конструкции) | | б) конструкция соединения (составные соединения); в) конструкция сварного шва (сварные соединения) |
4 Гибкая труба недостаточно защищена от чрезмерного изгиба | Чрезмерный изгиб и возможная неисправность гибкой трубы | а) Чрезмерная деформация раструба; б) старение композитных раструбов из-за влияния: 1) солнечного света (только поверхностные раструбы), 2) озона (только поверхностные раструбы), 3) морской воды, 4) высокой температуры; в) ползучесть; г) неправильная конструкция; д) неправильная установка (например, крепежные элементы, соединяющие секции раструба вместе в соответствующих случаях, не затянуты, из-за чего гибкая труба может чрезмерно изгибаться); е) обрастание морскими организмами, посторонними частицами/объектами в раструбе, что приводит к чрезмерному изгибу гибкой трубы | | а) Выбор материалов (если композитный материал слишком податливый); б) изменение профиля раструба |
5 Накопление загрязнений в раструбе | а) Возможное повреждение внешней оболочки гибкой трубы и возможное увеличение коррозийности состояния расположенной внизу бронепроволоки; б) возможный чрезмерный изгиб и возможная неисправность гибкой трубы | а) Обрастание морскими микроорганизмами; б) упавшие объекты (только для раструбов, направленных вверх); в) подводная грязь | а) Удаление грязи; б) промывка кольцевого пространства трубы с помощью ингибитора коррозии при наличии разрыва внешней оболочки при отсутствии гарантии достаточного усталостного ресурса гибкой трубы при разрыве внешней оболочки. Затем проводят ремонт внешней оболочки (может не хватать физического места для ремонтного хомута рядом с раструбом); в) удаление поврежденной секции гибкой трубы и заделка в том месте, где поврежденная область находится близко к соединительной арматуре | а) Проделывание отверстий в раструбе, чтобы мусор мог удаляться (ограничено по размеру отверстия, которое может быть в конструкции); б) использование раструба рамы, чтобы мусор мог удаляться (при возможности) |
6 Удаление покрытия краской (только металлические раструбы) | Возможная коррозия конструкции | а) Повреждение во время погрузочно-разгрузочных работ, хранения, транспортировки, установки или обслуживания; б) заводской брак (например, покрытие нанесено неправильно); в) неправильное проектирование (например, выбор системы покрытия) | См. отчет по проектированию/обращение к производителю по вопросам с областью нарушения покраски, на которую рассчитана система катодной защиты; установка усовершенствованных анодов, если область превышает запроектированную | а) Выбор системы покрытия краской; б) проектирование системы катодной защиты |
7 Показания датчиков системы катодной защиты отличаются от технических требований | Возможная коррозия металлических компонентов | а) Отключены кабели системы катодной защиты; б) сломан(ы) анод(ы); в) неправильное проектирование системы катодной защиты (т.е. неправильные массы анодов) | Обсуждение с производителем того, какой промежуток времени текущая система катодной защиты может обеспечивать защиту. Установка усовершенствованных анодов на длительный срок | Проектирование системы катодной защиты |
8 Коррозия раструба или крепежных элементов | Возможная неисправность конструкции | а) Чрезвычайно коррозионная среда; б) неправильная защита системы катодной защиты; в) повреждение системы покрытия краской; г) отключение кабелей системы катодной защиты; д) неправильное проектирование (например, выбор материалов, проектирование системы катодной защиты) | а) Обсуждение с производителем целостности конструкции с коррозией; б) установка усовершенствованных анодов на длительный срок | а) Выбор материалов; б) проектирование системы катодной защиты |
8.2.6 Проектные критерии
В соответствии с
ГОСТ Р 59307 профиль раструба должен защищать гибкую трубу от чрезмерных динамических нагрузок, которые приводят к усталостной поломке трубы, в течение определенного срока службы. Движения низкой частоты могут влиять на характеристики усталости гибкой трубы с раструбом в качестве ограничителя изгиба. Течение влияет на среднюю конфигурацию системы гибкой трубы и получающееся среднее напряжение троса. Раструбы могут быть чувствительными к среднему течению, которое передвигает точку контакта по направлению к отверстию раструба, если кривизна выше, способствуя тем самым существенным изменениям динамической кривизны трубы. Подобным образом статические смещения могут значительно влиять на райзеры с соединением раструба к плавучей добывающей платформе, так как смещение может сдвигать контактную точку райзера/раструба с большей кривизной.
8.2.7 Случаи статической нагрузки
Случай статической нагрузки раструба включает максимальный момент изгиба, который передается к раструбу статичной гибкой трубой, как показано на
рисунке 8.1.
8.2.8 Случаи динамической нагрузки
Случай динамической нагрузки раструба также включает максимальный момент изгиба, который передается к раструбу динамической гибкой трубой, как показано на
рисунке 7.16. Однако динамическая гибкая труба будет не постоянно контактировать с раструбом на протяжении срока службы, прилагая различную силу момента изгиба к нему. Таким образом, это представляет усталостную нагрузку. Случаи динамической усталостной нагрузки раструба включают выбор диапазонов момента изгиба и соответствующего количества циклов для каждого диапазона.
8.2.9 Проектирование монтажа
Необходимо предусмотреть трехмерный общий анализ для того, чтобы определить уровни контакта между втяжными канатами и раструбом (см.
рисунок 8.2) на основании углов втяжных канатов в соответствующих случаях. Анализ должен учитывать максимально допустимые условия окружающей среды во время втягивания. После его результаты следует использовать в качестве основания для определения необходимости внесения изменений в конструкцию раструба или защиту для каната для того, чтобы избежать повреждений раструба и каната. Также возможно, что канат будет защемляться о кромку входа раструба, как показано на
рисунке 8.2.
1 - пример возможной контактной области; 2 - раструб;
3 - втяжной канат; 4 - точка защемления каната
Рисунок 8.2 - Контакт раструба и втяжного каната
8.3.1 Общие сведения
В
подразделе 8.3 указаны материалы, которые обычно используют в раструбах, и представлены общие рабочие характеристики таких материалов.
8.3.2 Металлические материалы
Металлические раструбы, как правило, производят из стали, что обеспечивает более высокую прочность, чем композиты. При этом вес системы значительно увеличивается. Металлическим раструбам необходима защита с помощью как антикоррозионных защитных покрытий, так и системы катодной защиты.
8.3.3 Композитные материалы
8.3.3.1 Композитные раструбы производят из винилового эфира, армированного стекловолокном, и из других пластиков, армированных волокном. Композитные материалы предлагают обоснованно высокую прочность, хотя и не такую высокую, как у стали. Стандартный предел прочности на растяжение композита может быть до 260 МПа в профилированном сечении.
8.3.3.2 Композитные раструбы могут быть выбраны, если важно минимизировать вес системы. При верхнем подвесном применении так можно минимизировать вес платформы/судна, особенно при наличии большого количества раструбов. При использовании хомута тросов композитный раструб минимизирует вес, воздействуя на сконцентрированную зону вдоль гибкой трубы.
8.3.3.3 Композитные раструбы также обладают собственным сопротивлением коррозии, поэтому система защиты от коррозии не нужна. Из композитных материалов могут быть изготовлены достаточно сложные формы раструбов, которые могут потребоваться для определенного применения.
8.3.3.4 Свойства композитных материалов раструба должны включать следующие:
- низкий уровень впитывания воды (только для подводных раструбов);
- сопротивление гидролизу (только для подводных раструбов);
- ограниченное ухудшение свойств в результате старения;
- способность выдерживать ударные нагрузки от гибкой трубы;
- способность выдерживать циклическую нагрузку момента изгиба от гибкой трубы в течение срока службы без усталостного повреждения (только динамические применения);
- стабильное сопротивление УФ (только верхние раструбы).
Воздействие солнечного света на композитные раструбы зависит от определенного расположения раструба и от того, обеспечивают ли конструкции частичную или полную защиту от солнечного света.
8.4 Вопросы анализа
8.4.1 Общие сведения
Целью данного подраздела является предоставление рекомендаций по способам анализа раструбов.
8.4.2 Местный анализ
8.4.2.1 Самая простая форма раструба обладает постоянным радиусом по всей длине. Данная форма, однако, не обеспечивает наилучшую защиту от усталости. Таким образом, целесообразно проектировать больший радиус на верхней секции, где труба постоянно контактирует с раструбом, а меньший радиус - на нижней секции, где происходит только периодический контакт в чрезвычайных условиях.
8.4.2.2 Класс раструбов с линейным изменением искривления вдоль раструба может быть представлен следующими параметрами:
L - длина раструба по оси Y;
l - длина участка раструба между точками a и b на изогнутой стенке;
lb - длина раструба по изогнутой стенке;

- угол входа;

- угол нижнего входа;

- угол между осью раструба и касательной в точке/на изогнутой стенке;
k - искривление изогнутой стенки;
kb - искривление изогнутой стенки на нижнем входе (равно Rb - радиус);
k(l) - искривление изогнутой стенки в точке l;

- соотношение минимального (верхнего) и максимального (нижнего) искривления;
Rb - минимально допустимый радиус изгиба;
D0 - диаметр верхнего конца раструба;
Db - диаметр нижнего конца раструба;
a - верхняя точка изогнутой стенки раструба (
l = 0;

;

;

);
b - нижняя точка изогнутой стенки раструба (
l =
lb;

;
k =
kb; Rb = 1/
kb).
На
рисунке 8.3 представлена схема конструктивных параметров раструба, применяемых для его проектирования. Форма раструба может быть определена как функция от
l по следующим формулам:

(5)

(6)

(7)
Рисунок 8.3 - Конструктивные параметры раструба
8.4.2.3 В общем случае длина и диаметр раструба зависят от всего угла, а длина - от соотношения минимальной (верхней) и максимальной (нижней) кривизны.
8.4.2.4 В
ГОСТ Р 59307 установлено, что контактное давление, оказываемое на гибкую трубу в результате контакта с раструбом, должно быть ниже допустимого контактного давления. Локальный анализ напряжения раструба и гибкой трубы следует рассматривать для того, чтобы показать, что прилагаемое контактное давление при контакте гибкой трубы с внутренней поверхностью раструба остается ниже допустимого предела. Величина контакта зависит от профиля раструба, массы гибкой трубы и (в динамическом применении) динамического влияния, такого как скорость гибкой трубы и движения платформы/судна. Анализ следует проводить относительно большинства чрезмерных углов гибкой трубы.
8.4.2.5 При анализе соединения между раструбом и гибкой трубой проводят испытания. КИПиА проектируют для измерения положения райзера на конце раструба из стеклопластика, а аппаратный цилиндр, состоящий из акселерометра и креномера, устанавливают на несколько метров ниже раструба райзера.
8.4.2.6 Контактное давление гибкой трубы раструба определялось предварительно путем исследования методом конечных элементов. После проведения анализа методом конечных элементов раструб считают жесткой поверхностью, которая не предполагает контактного трения между гибкой трубой и раструбом и не учитывает воздействия арматуры соединения. Необходимо оценить влияние таких параметров. Анализы следует выполнять для серии различных вращений подвешивания и эффективных натяжений.
8.4.3 Общий анализ
8.4.3.1 Если в качестве ограничителя изгиба на соединении с плавучей добывающей платформой использован раструб, могут быть применены методы анализа, аналогичные методам, представленным в
6.4.3.
8.4.3.2 Раструб можно моделировать в общем анализе или в усеченной локальной модели.
8.4.3.3 Упрощенные модели взаимодействия трубы с раструбами (например, без учета жесткости изгиба трубы и с учетом полной деформации трубы на поверхности раструба) могут быть использованы для начальных оценок усталости. Если это приводит к недопустимым результатам усталостного ресурса, расширенные модели следует рассматривать таким образом, чтобы в них четко учитывалась жесткость изгиба трубы (линейная или гистерезисная). Во многих случаях взаимодействие райзера/раструба представлено в промежуточной модели, хотя взаимодействие также может явно моделироваться в некоторых расширенных программах общего анализа, т.е. раструб можно моделировать в общем исследовании методом конечных элементов, если программное обеспечение по общему анализу включает использование контактных элементов, как части функциональности.
8.4.3.4 В процессе общего анализа следует проверить, что чрезмерный изгиб гибкой трубы по раструбу отсутствует, т.е. входной угол раструба достаточен для защиты гибкой трубы.
8.4.4 Тепловой анализ. Композитные раструбы
В соответствии с
ГОСТ Р 59307 производитель должен учитывать влияние температуры на поведение раструба. Гибкая труба может не иметь постоянного прямого контакта с раструбом, но необходимо учитывать влияние температуры внутренней среды гибкой трубы на раструб.
Следующие параметры влияют на температурный градиент в раструбе, вызванный гибкой трубой:
- температура окружающего воздуха или морской воды в зависимости от обстоятельств;
- влияние изоляции слоев гибкой трубы;
- зазор между раструбом и гибкой трубой, который будет заполняться морской водой или воздухом в зависимости от нахождения раструба;
- зазор в цилиндрической части, который относится к разнице между ее внутренним диаметром и внешним диаметром гибкой трубы;
- уровень контакта гибкой трубы с раструбом;
- объем и продолжительность контакта, которые могут увеличить предрасположение к теплопередаче от гибкой трубы к раструбу;
- влияние нагревания от прямых солнечных лучей в определенных случаях.
8.4.5 Статические раструбы
Раструб может быть использован для статической работы, если циклические нагрузки незначительные или отсутствуют. Таким образом, усталость можно не учитывать в процессе проектирования.
8.5 Процесс изготовления. Металлические раструбы
8.5.1 Металлические раструбы могут быть изготовлены свариванием серии металлических пластин, чтобы создать нужный профиль (см.
рисунок 8.4). Следует выбрать достаточное количество пластин, чтобы гарантировать получение необходимого профиля.
1 - I-образная труба; 2 - сварной узел;
3 - металлическая пластина
Рисунок 8.4 - Способ изготовления раструба
8.5.2 При использовании хомута кабеля-троса, как правило, необходимо изготовить разъемную сборку, чтобы облегчить сборку раструба вокруг гибкой трубы. Таким образом, раструб можно собрать на любой точке вдоль гибкой трубы, а не проводить соединительную арматуру через раструб, что обычно либо неэффективно, либо физически невозможно. В подобных случаях раструб изготавливают из половин, а каждая половина производится сваркой. Болтовые отверстия, обработанные на каждой половине, позволяют собирать раструб на море.
8.5.3 Важно, чтобы все острые кромки или неровности были устранены на внутренней поверхности раструба. Сварные соединения на внутренней поверхности должны быть отшлифованы начисто. Как вариант, раструб можно обработать на станке с ЧПУ, что обеспечит более гладкий профиль.
8.5.4 Вход раструба крепят к опорной конструкции платформы/судна, как правило, с помощью сварки.
8.5.5 Композитные раструбы изготавливаются филаментной намоткой цилиндрической части и ручной скруткой профилированной выходной части. Филаментная намотка включает прохождение прядей армирующего волокна через ванну матричного материала и их обматывание на вращающейся оправке. При ручной скрутке выполняют зачистку слоев матричного материала с нерегулярными слоями армирующего волокна. Для укрепления конструкции и удаления захваченного воздуха обычно используют ролик. Если композитные раструбы прикреплены к стальным направляющим трубам, необходимо специальное вещество, склеивающее сталь с композитом.
8.6 Испытания опытного образца
8.6.1 Применение испытаний опытного образца
Проектные параметры, которые необходимо учитывать при запросе испытаний опытного образца в данном подразделе, в соответствии с рекомендациями
5.6.3:
- нагрузки, прилагаемые к контакту с гибкой трубой;
- расчетная температура, на которую влияет температура внешней оболочки гибкой трубы;
- материалы, в частности новый состав композитного материала в соответствующих случаях;
- процесс(ы) производства;
- внутренний и внешний диаметры гибкой трубы;
- выходные размеры и длина раструба.
Гибкая труба может расширять расчетные пределы для раструба, и в таком случае испытания опытного образца раструба обычно проводят при испытании опытного образца гибкой трубы.
8.6.2 Испытание динамической усталости
8.6.2.1 Описание
Целью испытания динамической усталости раструба является демонстрация того, что он может выдерживать момент циклического изгиба, прилагаемого к нему при контакте с гибкой трубой. Испытание динамической усталости раструба, как правило, проводят одновременно с испытанием динамической усталости гибкой трубы, к которой он будет присоединен.
8.6.2.2 Порядок испытаний
Рекомендации по испытаниям динамической усталости гибких труб с ограничителями изгиба представлены в
[1], включая рекомендации по амплитуде угла, частоты и количества циклов, применяемые при испытании.
8.6.2.3 Критерии приемки
Испытание динамической усталости раструба должно показать, что раструб обеспечивает необходимую защиту от чрезмерного изгиба для гибкой трубы в течение большого количества циклов, выполняемых в течение срока службы. Испытание должно дополнительно показать, что контактное давление, прилагаемое к гибкой трубе раструбом, не превышает допустимых пределов для гибкой трубы.
Раструб должен пройти серию испытаний без нарушений. После испытания раструб необходимо проверить. На нем не должно быть повреждений, например трещин или неисправляемой деформации, которые могли бы указывать на неисправность из-за усталости и т.д.
После проверки раструба испытание на усталость необходимо продолжить за пределами указанного количества циклов, пока не произойдет поломка раструба для того, чтобы определить вероятность возникновения повреждения. Если раструб спроектирован с использованием расчетов усталостного повреждения, такую вероятность возникновения повреждения можно сравнить с прогнозированной на этапе проектирования.
8.6.3 Полномасштабное испытание на изгиб. Композитные раструбы
8.6.3.1 Описание
В тех случаях, когда композитный раструб подсоединяется через соединение к металлической направляющей трубе, характеристики соединения необходимо классифицировать, проведя полномасштабное испытание на изгиб, чтобы проверить, может ли соединение выдерживать изгибающие нагрузки в течение определенного срока службы.
8.6.3.2 Порядок
Испытание на изгиб следует проводить для составного соединения между раструбом и конструкцией, которая представляет прилегающую конструкцию, т.е. I/J-образную трубу, по размерам и геометрически. Испытание на изгиб должно моделировать максимальный момент изгиба, который происходит в течение срока службы.
8.6.3.3 Критерии приемки
Соединение должно пройти серию испытаний без нарушений, отсоединения или расслоения. После испытания соединение необходимо проверить. На нем не должно быть повреждений, например трещин или неустраняемой деформации, которые могут указывать на неисправность.
8.7 Монтаж
8.7.1 Общие сведения
В данном подразделе представлены руководства и рекомендации по монтажу раструба, включая общие вопросы, относящиеся к установке гибкой трубы с раструбом.
8.7.2 Установка раструба
Раструбы, как правило, крепят к платформе/судну до буксировки в море: металлические раструбы - сваркой или болтами на прилегающей I/J-образной трубе; композитные раструбы требуют прикрепления через специальные соединения к I/J-образным трубам.
Сборку раструбов хомутов кабелей-тросов следует проводить на море. В таком случае раструб поставляют в виде разъемной сборки, которую собирают вокруг гибкой трубы на концах хомута кабеля-троса.
8.7.3 Установка гибкой трубы с раструбом
Необходимо проявлять осторожность во время работ по втягиванию, чтобы предотвратить ударное воздействие на раструб для предупреждения повреждения раструба или его защитного покрытия и чрезмерных нагрузок на I/J-образной трубе.
8.8 Управление целостностью
8.8.1 Общие сведения
В данном подразделе представлены руководства и рекомендации по управлению целостностью, включая возможные дефекты.
8.8.2 Типы неисправностей и дефекты
В
таблице 3 указаны возможные дефекты для раструбов.
8.8.3 Методы мониторинга
8.8.3.1 Общий осмотр выполняют для проверки
дефектов 1 -
3 и
5 -
8 в таблице 3, если доступ возможен. При применении с беспричальным наливом раструб может находиться на несколько сотен метров ниже среднего уровня воды. Затруднительно провести оценку достаточности защиты, которую обеспечивает раструб, если невозможно измерить радиус изгиба гибкой трубы во время эксплуатации в соответствии с
дефектом 4 (таблица 3), например при использовании волоконно-оптического мониторинга. Затем измеренный радиус изгиба можно сравнить с рабочим минимальным радиусом изгиба. Раструбы необходимо проверить, при возможности, на наличие загрязнения в соответствии с
дефектом 5 (таблица 3).
8.8.3.2 Если позволяет доступ, необходимо осмотреть болтовые соединения, скрепляющие сегменты раструба, в соответствующих случаях, и фиксирующие раструб на опорной конструкции, для оценки коррозии, отсоединения или неисправности в соответствии с
дефектом 2 (таблица 3).
8.8.3.3 Раструб необходимо осмотреть на предмет обрастания или наличия посторонних частиц на внутренней поверхности раструба, которые могут потенциально снизить защиту гибкой трубы в соответствии с
дефектом 4 (таблица 3).
9 Модули плавучести и балластные модули
9.1 Область применения
В
разделе 9 рассмотрены модули плавучести и дискретно добавленный вес, который является отрицательно плавучим. Рекомендации по постоянному добавленному весу представлены в
разделе 23, который относится к защите от износа и ударных воздействий.
Положения
раздела 9 могут применяться для подводных кабелей, кроме рекомендаций, относящихся к расчету силы зажима.
Рекомендации в
разделе 9 касаются всех компонентов в модуле, включая элемент модуля, внутренний хомут и фиксирующие крепежные элементы.
9.2 Вопросы проектирования
9.2.1 Общие сведения
В
ГОСТ Р 59307 указаны требования к проектированию модуля плавучести и балластного модуля. Целью данного подраздела являются разработка и предоставление руководств по проектированию в соответствии с требованиями
ГОСТ Р 59307.
Данный подраздел относится к следующим вопросам:
- процесс проектирования;
- проектные критерии;
- случаи расчетной нагрузки.
9.2.2 Обзор проектирования
9.2.2.1 Процесс проектирования модуля включает проектирование сборки внутреннего хомута и проектирование элемента модуля.
Процесс проектирования внутреннего хомута представлен на схеме на
рисунке 9.1 и, как правило, выполняется на следующих этапах:
- выбирают материалы на основании эксплуатационных требований, указанных в
ГОСТ Р 59307;
- определяют конфигурацию внутреннего хомута, включая определение количества сегментов хомута и общей формы хомута;
- определяют размер отверстия внутреннего хомута, необходимый для размещения габаритов гибкой трубы, включая допуски;
- определяют профиль отверстия внутреннего хомута для конкретной трубной конструкции, на которой он будет зажат;
- определяют размеры внутреннего гибкого хомута, необходимые для установки вокруг внутреннего хомута;
- вычисляют силу зажима, необходимую для предотвращения спада и соблюдения максимально допустимого контактного давления гибкой трубы.
Рисунок 9.1 - Схема проектирования внутреннего хомута
модуля плавучести и балластного модуля
Для расчета осевых нагрузок, воздействующих на элемент плавучести (которые передаются хомуту), требуются размеры модуля плавучести:
- определяют силы зажима, необходимые для обеспечения требуемого зажима;
- устанавливают сжимающие напряжения, прилагаемые к внутреннему хомуту в отношении соблюдения допустимых пределов материала хомута;
- определяют напряжения натяжения, прилагаемые к внутреннему гибкому хомуту в отношении соблюдения допустимых пределов материала гибкого хомута;
- если диапазоны напряжения превышают определенные в документах и проверенные пределы прочности, проводят расчеты усталостного повреждения в соответствии с
ГОСТ Р 59307.
9.2.2.2 Процесс проектирования элемента модуля представлен на
рисунке 9.2 и обычно выполняется на следующих этапах:
- проведение ряда динамических анализов гибкой трубы для определения чистой плавучести/чистого веса и длины покрытия модулями, необходимыми для обеспечения нужной конфигурации гибкой трубы.
Динамический анализ должен также определить оптимальное расстояние между центрами и необходимую чистую плавучесть/чистый вес на модуль. Руководства по общему анализу приведены в
7.4.3. Общий анализ, как правило, проводят по общему анализу райзера;
- выбора материалов модулей плавучести и бесплатных модулей на основании эксплуатационных требований, указанных в
ГОСТ Р 59307.
Выбранный материал должен обладать достаточной плотностью для обеспечения чистой плавучести/чистого веса и выдерживать гидростатическое давление на расчетной глубине воды. Подробные руководства по выбору материалов приведены в
9.3;
- определения внешних размеров элемента модуля, необходимых для соблюдения имеющихся геометрических ограничений, например вызванных параметрами установки;
- установления размеров элемента модуля, необходимых для размещения внутреннего хомута и минимизации теплопередачи от гибкой трубы (см.
9.2.7.2);
- определения профиля расширенного отверстия в соответствии с рабочим минимальным радиусом изгиба гибкой трубы (см.
9.2.7.1);
- определение оставшихся размеров модуля для соблюдения требования к чистой плавучести/чистому весу, включая допуски для изменения плавучести/веса в течение срока службы, если не указаны размеры модуля или допустимая гибкость в размерах (см.
9.2.12);
- установления соответствующих сил зажима для фиксации внешних креплений к модулю;
- повторения некоторых или всех анализов этапа включением исполнительных данных модуля в качестве общей проверки конструкции модуля.
Рисунок 9.2 - Схема проектирования элемента модуля
плавучести и балластного модуля
Общую проверку обычно выполняет производитель гибкой трубы или специалист по общему анализу райзера. Руководство по общему анализу приведено в
9.4.2.
9.2.3 Начальная и окончательная чистая плавучесть
Технические требования к начальной плавучести могут быть более соответствующими, если расчетные критерии системы гибкой трубы чувствительны к слишком высокой плавучести. И наоборот, технические требования к окончательной плавучести могут быть более соответствующими, если расчетные критерии системы гибкой трубы чувствительны к слишком низкой плавучести. Могут быть системы со строгими ограничениями по расстоянию между гибкой трубой и поверхностью, когда крайне важно, чтобы для плавучести был определен максимальный предел. Нефтяные отгрузочные линии могут быть крайне чувствительными к изменениям плавучести.
9.2.4 Потеря модуля
Расчет сопротивления гибкой трубы в зависимости от количества модулей должен быть основан на оценке риска системы гибкой трубы, а также на выполнимости замены потерянных модулей и частоте проверок управления целостностью. Чем чаще проводят проверки, тем меньше времени система будет подвергаться воздействию без исследования потерянных модулей.
На основании общего количества модулей на гибкой трубе общая рекомендация заключается в том, что гибкая труба рассчитывается на сопротивление потери следующего количества модулей:
- менее 15 модулей - потеря 1 модуля;
- от 15 до 39 - 2 модуля;
- от 40 до 60 - 3 модуля;
- более 60 - 4 модуля или 4%, в зависимости от того, что больше.
Приемлемое количество потерянных модулей может изменяться на основании учета вышеупомянутых факторов для определенного применения. Вышеупомянутые потери отличаются от изменений плавучести, перечисленных в
ГОСТ Р 59307, так как они представляют физическое удаление материала с определенной длины покрытия гибкой трубы модулями. Потерянные модули - это модули, больше не соответствующие своим эксплуатационным требованиям. Следовательно, в их состав входят те модули, которые были физически отломаны от гибкой трубы, а также те, которые далеко соскользнули по гибкой трубе, чтобы не оказывать влияние на плавучесть/вес начальной определенной длины покрытия. При анализе гибкой трубы потерю модуля необходимо анализировать с помощью обычных критериев в соответствии с
ГОСТ Р 59309.
Примечание - Вышеупомянутые критерии представляют критерии потери 10%, как показано на
рисунке 9.3, с учетом того, что такие 10% округляют до ближайшего целого числа. Критерии основаны на гибких трубах со сравнительно небольшим количеством подсоединенных модулей (около 10). Более современные системы гибких труб могут обладать сравнительно большим количеством модулей, и необходимо снизить критерии для значительного количества модулей. Чем больше общее количество модулей, тем ниже считается вероятность потери фиксированного процента модулей с учетом того, что дефект не является системным.

- API RP 17L2;

- API RP 17B
Рисунок 9.3 - Сравнительная диаграмма критериев
потери модуля
9.2.5 Высокая и низкая плавучесть
Для некоторых систем гибкой трубы полезно иметь различные концентрации плавучести на единицу длины в разных зонах на ее протяжении. Например, предпочтительной может быть сравнительно низкая плавучесть на единицу длины в одной зоне и сравнительно высокая плавучесть на единицу длины в другой зоне. Такие участки низкой и высокой плавучести могут быть созданы двумя путями. Первый - это использование элементов плавучести с различной плотностью, что требует нескольких типов модулей плавучести. Второй путь - это настройка расстояния между центрами модулей, чтобы изменять интенсивность плавучести, удерживая таким образом только один тип модуля плавучести.
9.2.6 Расстояние между модулями
9.2.6.1 Расстояние между центрами модулей, как показано на
рисунке 9.4, относится как к общей длине секции с прикрепленными модулями, так и к длине отдельных модулей. Расстояние - это ключевой фактор с точки зрения моделирования, установки и обеспечения. Полезно с точки зрения моделирования иметь большое количество небольших модулей в противоположность небольшому количеству больших модулей. Большое количество небольших модулей будет иметь сравнительно меньшую неоднородность физических свойств между модулями и гладкой трубой. Большие модули также могут быть более громоздкими, чем небольшие для обработки на палубе судна. Однако большое количество небольших модулей увеличивает время установки.
1 - гибкая труба; 2 - модули;
3 - расстояния от центра к центру
Рисунок 9.4 - Расстояние между центрами модулей
9.2.6.2 Проектирование модулей должно быть выполнено таким образом, чтобы большие модули с широкой расстановкой позволяли полностью закрывать двери буровой шахты между модулями.
9.2.6.3 Расстояние между модулями влияет на количество модулей, необходимых по объему поставки производителя, и может быть использовано для контроля концентрации плавучести/веса, вместо модулей различного типа (см.
9.2.5).
9.2.6.4 Расстояние между модулями может влиять на добавленный вес и коэффициент сопротивления системы гибкой трубы и на реакцию кривизны гибкой трубы. Расстояние между модулями приводит к большой неподдерживаемой длине гибкой трубы, что может вызвать чрезмерный изгиб трубы во время установки или эксплуатации. Выбор определенного расстояния должен поддерживаться дискретным моделированием модулей, когда может произойти чрезмерный изгиб. Обычное расстояние между центрами модулей для цилиндрических модулей плавучести в три раза больше внешнего диаметра модуля. Однако при определении соответствующего расстояния необходимо учитывать вышеупомянутое влияние.
9.2.7 Проектирование элемента модуля
9.2.7.1 В соответствии с
ГОСТ Р 59307 рабочий минимальный радиус изгиба гибкой трубы следует соблюдать в той зоне, где гибкая труба выходит из отверстия. Конструкция элемента модуля должна быть такой, чтобы механические нагрузки не передавались от гибкой трубы на него, только если в конструкции специально не учтена передача данных нагрузок. В частности, геометрия конструкции элемента модуля должна быть такой, чтобы не происходил контакт между элементом и гибкой трубой с учетом максимальной кривизны гибкой трубы при установке и эксплуатации. Это обычно получается при внедрении расширяющегося отверстия в геометрию элемента модуля, как показано на
рисунке 9.5, на котором показан типичный элемент плавучести в разрезе.
Рисунок 9.5 - Стандартный элемент плавучести в разрезе
с расширяющимся отверстием
9.2.7.2 Материалы элемента модуля, как правило, теплоизолируются от гибкой трубы, насколько это возможно. Два метода, которые могут быть использованы вместе, обычно применяют для предотвращения чрезмерной теплопередачи от гибкой трубы к элементу. Первый метод допускает достаточный зазор между элементом модуля и сборкой внутреннего хомута, так что температура, передаваемая элементу модуля, является приемлемой для материала элемента модуля. Второй метод - это выполнение литых каналов от внешней поверхности элемента модуля к гнезду внутреннего хомута всех модулей, чтобы была возможной циркуляция морской воды. Необходимо уделить внимание изолирующему влиянию корпуса хомута и морской воды при определении теплоты, передаваемой элементу модуля.
9.2.7.3 Внешняя оболочка обычно прилегает к элементу модуля для обеспечения сопротивления ударным воздействиям и сопротивления износу. Стандартная толщина внешней оболочки - 10 мм.
9.2.7.4 Размер модулей обычно определяют (для длины и диаметра) как превышающий приблизительно в два-три раза внешний диаметр трубы, хотя размеры зависят от требований к плавучести и установке.
9.2.8 Проектирование внутреннего хомута
9.2.8.1 Отверстие хомута может быть гладким или профилированным для определенной внешней оболочки, к которой его крепят. Профилированное отверстие увеличивает силу трения между гибкой трубой и корпусом внутреннего хомута. Однако производитель должен обсудить с производителем гибкой трубы пригодность профиля отверстия для использования с гибкой трубой.
9.2.8.2 Внутренние гибкие хомуты могут терять натяжения по своей длине в результате трения с внутренним хомутом, известного как тяговый эффект. Внутренние гибкие хомуты должны компоноваться таким образом, чтобы распределение натяжения вдоль окружности гибкого хомута обеспечивало достаточный зажим по окружности гибкой трубы, к которой присоединяется корпус внутреннего хомута. Этого можно достичь смазкой взаимных контактных поверхностей внутреннего хомута и внутреннего гибкого хомута или другими способами.
9.2.9 Проектирование внутреннего хомута балластного модуля
Масса балластного модуля в воздухе значительно выше, чем аналогичного модуля плавучести такого же объема. В связи с чем требуется больший зажим для балластного модуля для сопротивления его массы в воздухе, чем для эквивалентного модуля плавучести.
9.2.10 Внешние крепежные элементы
9.2.10.1 Обычная внешняя система обвязки состоит из плоских лент, натянутых стандартной сборкой крестовин и винтов, которые установлены в гнезда гибкого хомута. Пример такого гнезда хомута показан на
рисунке 9.5. Гнездо не позволяет сборке выйти за пределы модуля. После натяжения сборку фиксируют с помощью стопорной гайки, чтобы предотвратить отсоединение в течение срока службы. При альтернативной системе внешнего крепления полуобечайки модуля соединяются вместе с болтами из коррозионно-стойкого материала.
9.2.10.2 Полуобечайки элемента модуля часто имеют литые охватываемые выступы на сопрягаемой поверхности, которые вставляются в соответствующие охватывающие гнезда на сопрягаемой полуобечайке элемента модуля. Это помогает системе действовать в качестве направляющей, когда полуобечайки соединяются вместе, формируя целый модуль.
9.2.11 Типы отказов
Возможные дефекты, которые возникают у модуля плавучести и балластного модуля, указаны в
9.8.3.1, в котором также приведены соответствующие проектные решения/стратегии.
9.2.12 Общие проектные критерии
9.2.12.1 В течение срока службы элемент плавучести может обрастать морскими организмами. Объем и тип обрастания зависят от географического положения и глубины воды. Воздействие обрастания снижает плавучесть или увеличивает вес модуля. Если в определенных условиях есть обрастание, расчет плавучести должен включать допуски для поправки на вес обрастания. Расчет веса балластного модуля должен учитывать вес обрастания, например так, чтобы общий вес не превышал указанные пределы. Можно предотвратить обрастание путем использования покрытий, предохраняющих от обрастания.
9.2.12.2 Расчет необходимой чистой плавучести/чистого веса должен включать в соответствующих случаях допуски на сдвиг/учет веса в воде для тех элементов, которые могут быть неплавучими, например:
- внутренний хомут;
- внутренний гибкий хомут;
- крепежные элементы;
- внешние гибкие хомуты;
- натяжные сборки;
- внешняя оболочка.
| | ИС МЕГАНОРМ: примечание. В официальном тексте документа, видимо, допущена опечатка: пункт 8.6.9 отсутствует. Возможно, имеется в виду пункт 9.6.9. | |
Допуски модулей в производственном процессе обеспечивают определенный уровень изменений плавучести/веса элемента модуля (см.
8.6.9).
9.2.13 Расчетные критерии модуля плавучести
9.2.13.1 Расчетные критерии для изменения плавучести, гидростатического давления и потери модуля плавучести приведены в
ГОСТ Р 59307. В этом пункте даны руководства и рекомендации, относящиеся к соблюдению таких расчетных критериев модулей плавучести.
9.2.13.2 Снижение плавучести должно быть минимизировано для соблюдения расчетных критериев выбора материала синтактической пены на основании модуля объемной упругости, сопротивления скольжению и характеристик впитывания воды. Свойства таких материалов рассмотрены в
9.3. Обычное снижение плавучести из-за кратковременных и долговременных механических нагрузок (т.е. не включая обрастания и влияние производства) в течение срока службы - 5%.
9.2.14 Нагрузки
На
рисунке 9.6 показаны основные нагрузки, которые воздействуют на модуль. Гидростатическое давление, воздействующее на глубине, - это основная нагрузка, влияющая на элемент во время эксплуатации. На модули может воздействовать большее давление во время установки, чем во время эксплуатации, в зависимости от способа установки. На внутренний хомут воздействуют расширения и сжатия гибкой трубы во время эксплуатации, а также изгиб гибкой трубы во время эксплуатации. Циклический изгиб корпуса хомута, как правило, незначительный. Расширения и сжатия могут быть вызваны изменениями внутреннего давления и температуры и эффективного натяжения гибкой трубы. Расширения и сжатия могут быть более неблагоприятными во время установки.
Рисунок 9.6 - Нагрузки модуля плавучести
9.2.15 Процесс установки
9.2.15.1 Физические размеры буровой шахты могут ограничивать конструкцию модуля, если планируется развернуть гибкую трубу с прикрепленными модулями через нее во время процесса установки (см.
9.2.6.2).
9.2.15.2 Установочная башня может ограничивать внешние габариты модуля, в частности когда используют гибкие трубы большого диаметра, такие как нефтяные отгрузочные линии. В связи с чем необходимо указать имеющееся место в установочной башне. Может потребоваться нецилиндрическая конструкция модуля, чтобы соответствовать размерным ограничениям башни установки при сохранении требований к чистой плавучести.
9.2.15.3 На модуль влияют ударные нагрузки от воздействия волн во время установки, когда он проходит через средний уровень воды, как показано на
рисунке 9.7. Ударные нагрузки от воздействия волн - это аксиальная сила, которую должен выдерживать внутренний хомут, чтобы предотвратить соскальзывание по гибкой трубе. Необходимо определить приемлемые условия окружающей среды для прохождения модуля через средний уровень воды таким образом, чтобы ударные нагрузки от воздействия волн не повреждали модуль.
1 - внутренний хомут; 2 - гибкая труба;
3 - элемент плавучести
Рисунок 9.7 - Условия ударных нагрузок от воздействия волн
9.3.1 Общие сведения
В
подразделе 9.3 указаны материалы, которые обычно используют в модулях плавучести и балластных модулях, и представлены общие рабочие характеристики таких материалов. Некоторые ключевые свойства материалов рассмотрены в
ГОСТ Р 59307 в отношении их значения для характеристик модуля плавучести.
9.3.2 Материалы элемента плавучести
9.3.2.1 Элементы плавучести изготавливают из композитной синтактической пены, которая обычно заключена в защитную внешнюю оболочку. Преимуществом такой композитной синтактической пены является высокая прочность в сочетании с низкой плотностью.
9.3.2.2 Такие материалы создают с низким впитыванием воды и гидростатическим сжатием. Матрица состоит из базового полимера, содержащего стеклянные сферы и термопластик, эпоксидный стеклопласт или макросферы из углеродного волокна, которые могут быть диаметром 50 мм. Высокая прочность обеспечивается микросферами и в меньшем объеме макросферами.
9.3.2.3 Внешняя оболочка элемента плавучести может быть изготовлена из полиэтилена, полиуретана, эпоксидного пластика, армированного стекловолокном, или из другого полимера. Эти материалы выбирают для обеспечения стабильного сопротивления износу и стойкого сопротивления обрастанию и для улучшения характеристик впитывания воды. Обычные материалы внешней оболочки обладают плотностью в районе 1000 кг/м3, что делает их нейтрально плавучими.
9.3.3 Материалы балластного модуля
Материалы балластного модуля в основном такие же, как и те, которые используют для модуля плавучести, за исключением более плотного материала (например, бетона), который применяется в балластном элементе.
9.3.4 Материалы внутреннего хомута
9.3.4.1 Внутренний хомут, как правило, изготавливают из композитного материала. Композитный материал предлагает крепкий, жесткий и при этом легкий элемент, который обеспечивает эластичность, достаточную для размещения расширения и сжатия гибкой трубы.
9.3.4.2 Внутренний гибкий хомут может быть сделан из титана или арамидного волоконного композита. Оба материала подходят, так как обладают низкой плотностью, являются коррозионно-стойкими и наделены достаточной эластичностью для расширения и сжатия гибкой трубы. Внутренний гибкий хомут может фиксироваться с помощью титанового или другого коррозионно-стойкого элемента крепления.
9.3.5 Материалы внешнего крепления
Внешние гибкие хомуты обычно изготовлены из арамидного волоконного композита с арамидными волокнами, параллельными прилагаемому натяжению. Гибкие хомуты, как правило, удерживаются вместе сборками натяжения, изготовленными из коррозионно-стойких материалов. Элементы плавучести также могут крепиться друг к другу с помощью болтов, сделанных из подобного коррозионно-стойкого материала.
9.3.6 Коэффициент объемного сжатия
9.3.6.1 Если коэффициент объемного сжатия композитной синтактической пены ниже, чем у морской воды (2,070 МПа), объем будет снижаться при расчетной глубине воды, а следовательно, плавучесть тоже. В таком случае, когда элемент плавучести устанавливают на расчетную глубину воды, он может подвергаться мгновенному снижению объема, пропорциональному коэффициенту объемного сжатия материала. Выбор материала плавучести с высоким коэффициентом объемного сжатия снижает объем такой начальной потери плавучести. Чем выше коэффициент объемного сжатия, тем ниже будет объемное сжатие.
9.3.6.2 Если коэффициент объемного сжатия композитной синтактической пены выше, чем у морской воды, плавучесть немного увеличивается из-за большей плотности морской воды по сравнению с плотностью композитной синтактической пены.
9.3.6.3 Коэффициент объемного сжатия имеет существенное значение для модулей плавучести, так как он представляет изменение объема (и, следовательно, изменение плотности) при изменении гидростатического давления. Коэффициент объемного сжатия для изотропных материалов можно рассчитать по следующей формуле:

(8)
где K - коэффициент объемного сжатия;
E - модуль упругости при растяжении;

- коэффициент Пуассона.
Поэтому в таких случаях отсутствует необходимость испытывать данное свойство.
Изменение объема под давлением можно рассчитать по коэффициенту объемного сжатия следующим образом:

(9)
где

- изменение объема;
V - начальный объем;
p - прилагаемое гидростатическое давление;
K - коэффициент объемного сжатия.
9.3.7 Гидростатическая ползучесть
В течение срока службы элемент плавучести будет подвергаться постепенному уменьшению объема из-за ползучести, что происходит из-за постоянного влияния гидростатического давления. Сопротивление гидростатической ползучести - важное свойство, поскольку гидростатическая ползучесть композитной синтактической пены увеличивает ее плотность и, следовательно, снижает ее плавучесть.
9.3.8 Гидростатическая прочность
Гидростатическая прочность отражает максимальную глубину, на которой может работать композитная синтактическая пена. Гидростатическую прочность можно измерить с помощью мелкомасштабных образцов композитной синтактической пены или полномасштабных элементов плавучести в камере гидростатических испытаний. Полномасштабное гидростатическое испытание под давлением определит разницу гидростатической прочности между небольшим объемом и полномасштабным объемом композитной синтактической пены. Стандартное испытание проводят на протяжении 96 ч на одном элементе плавучести.
9.3.9 Плотность
9.3.9.1 Плотность - это ключевой фактор для материалов плавучести, так как обеспечивает чистую выталкивающую силу. Плавучесть проверяют после изготовления путем выполнения полномасштабных испытаний плавучести на образце модулей в соответствии с
ГОСТ Р 59307. Плавучесть, как правило, измеряют погружением в пресную воду, так как применение морской воды требует использования водных емкостей из коррозионно-стойкого материала для проведения испытания. Как правило, материалы с очень низкой плотностью не подходят для работы на глубине, поэтому необходимо принятие компромиссного решения между рабочей глубиной и плотностью.
9.3.9.2 Композитная синтактическая пена может быть плотностью от 300 до 600 кг/м3; каждая плотность обладает сопоставимым максимальным гидростатическим давлением. Плавучесть пены обеспечивается тем фактом, что микросферы и макросферы полые и заполнены газом.
9.3.9.3 Поскольку объем макросфер намного больше по сравнению с микросферами, они могут снижать плотность синтактической пены в большей степени, чем одни микросферы. Наличие микросфер в полимерной матрице может снижать плотность до 500 - 600 кг/м3; дальнейшее добавление макросфер может снизить плотность композита до 300 - 400 кг/м3.
9.3.9.4 Факторы, снижающие плотность в течение срока службы:
- начальное упругое сжатие;
- ползучесть;
- впитывание воды.
9.3.10.1 Все полимеры поглощают воду в некотором объеме, независимо от их химического состава и обработки поверхности. Впитывание воды приводит к снижению плавучести из-за поглощенной воды. Так как материалы плавучести содержат полимерную матрицу, их выбор необходимо осуществлять таким образом, чтобы впитывание воды было минимальным.
9.3.10.2 Основными факторами, воздействующими на впитывание воды, являются температура и давление. Для большинства систем плавучести имеет значение только влияние давления. Предельное значение насыщения материала при впитывании воды в основном зависит от ячеистой структуры и, как правило, не зависит от температуры. Внешние покрытия с низкой проницаемостью, например полиэтилен и стеклопластиковый композит, могут быть использованы для замедления скорости, но для полного предотвращения впитывания воды.
9.3.10.3 Впитывание воды зависит от ячеистой структуры материала. Синтактическая пена обладает благоприятными характеристиками впитывания воды со стандартным значением насыщения 5% увеличения массы за 20-летний срок службы.
9.3.10.4 Определено с помощью гидростатических испытаний, что впитывание воды синтактической пеной резко возрастает - свыше 70% ее гидростатического давления разрушения. Это происходит из-за того, что впитывание воды значительно усиливается гидростатическим давлением, превышающим изостатический предел текучести синтактической пены, которое обычно составляет приблизительно от 70% до 80% гидростатического разрушающего давления. Однако коэффициент прочности по гидростатическому разрушающему давлению, как указано в
ГОСТ Р 59307, - 1,5, т.е. предельное значение - 67% гидростатического разрушающего давления.
9.4.1 Общие сведения
Целью
подраздела 9.4 является предоставление рекомендаций по способам общего анализа модулей плавучести.
9.4.2.1 Модули плавучести могут моделироваться в общем анализе непосредственно или при использовании аппроксимирующего метода, когда плавучая секция моделируется равномерным распределением плавучести. Преимущество данного метода заключается в быстроте и легкости моделирования.
9.4.2.2 При дискретном методе компонент усилия отжима каждого модуля вызывает местную концентрацию кривизны в точке приложения, что не происходит при применении аппроксимирующего метода. Это показано на
рисунке 9.8, на котором представлен пример наложенных графиков кривизны аппроксимирующей и дискретной моделируемой плавучести для 10-дюймового (250 мм) гибкого райзера на глубине 90 м. Более точное прогнозирование такой локальной кривизны может быть важно при использовании дискретного метода на мелкой глубине (приблизительно до 150 м), где может быть значительное влияние динамических волн на рабочей глубине модуля плавучести, в частности в зонах гибкой трубы с натяжением низкой эффективности. Данная локальная кривизна имеет тенденцию к возрастанию при увеличении плавучести отдельного модуля.
Сравнение смазанной и дискретной плавучести

- дискретная модель;

- смазанная модель
Рисунок 9.8 - Диаграмма распределения кривизны
гибкого райзера при применении аппроксимирующего
и дискретного подходов
9.4.2.3 Если модули плавучести обладают значительной прочностью в отношении трубы, к которой они прикреплены, необходимо применять дискретное моделирование, например для гибких труб со связующими слоями с низкой прочностью. Данное правило не относится к гибким трубам, особенно к трубам с большим диаметром.
9.4.2.4 Производителю модулей может потребоваться изменить конфигурацию модуля, которая предполагалась в общем анализе, чтобы гибкая труба могла свободно изгибаться, а критерии рабочего минимального радиуса изгиба были соблюдены (см.
9.2.7.1). Это могло бы быть отражено в изменении внешних размеров модуля, которые могут влиять на гидродинамические свойства. Согласно
ГОСТ Р 59307 должен быть проведен общий проверочный расчет, чтобы учитывать окончательные размеры модуля.
9.4.2.5 Количество модулей в большей степени основано на весе райзера, глубине воды, требованиях к отводам и вопросах производства/коммерции.
9.4.3 Анализ усталости
Внутренние гибкие хомуты могут быть изготовлены из титана. Кривые S-N по умолчанию представляют обобщение характеристик ряда марок титана и составляют набор кривых надежности. Необходимо проверить, пригодны ли такие кривые к определенной конфигурации внутреннего гибкого хомута. Анализ усталости следует учитывать для любой концентрации напряжений, такой как сварные точки, которые могут быть у гибкого хомута внутреннего хомута. Проверочные испытания необходимы для указанного материала, геометрии и сварных соединений, при их наличии.
9.5 Испытания опытного образца
9.5.1 Применение испытаний опытного образца
В
таблице 4 указаны испытания опытного образца, которые необходимо учитывать для изменений определенной конструкции за пределами ранее одобренных конструкций, для модуля плавучести или балластного модуля в соответствии с рекомендациями в
5.6.3.
Таблица 4
Испытания опытного образца
Изменение конструкции | Учитываемые испытания опытного образца |
Осевая сила, прилагаемая к внутреннему хомуту | Испытание осевой силы зажима |
Материалы и процесс производства: |
а) внутренний хомут | Испытание осевой силы зажима |
б) внутренний гибкий хомут | Испытание натяжения внутреннего гибкого хомута |
в) элемент плавучести | Полномасштабное гидростатическое испытание |
Внутренний и внешний диаметры гибкой трубы | Испытание осевой силы зажима |
Внешний диаметр и длина модуля | Полномасштабное гидростатическое испытание |
Новая конструкция внутреннего хомута | Испытание осевой силы зажима |
Натяжение внутреннего гибкого хомута | Испытание натяжения внутреннего гибкого хомута |
Глубина воды (применяется только для модулей плавучести) | Полномасштабное гидростатическое испытание |
9.5.2 Испытание натяжения внутреннего гибкого хомута
9.5.2.1 Описание
Целью испытания натяжения внутреннего гибкого хомута является определение прочности на его растяжение. Предполагая, что гибкий хомут сделан из того же материала, который использовался для предыдущих испытаний, требование выполнять такое испытание должно быть основано на испытательном натяжении, которое ранее прилагалось, независимо от того, рассчитан ли гибкий хомут на натяжение, превышающее указанное.
9.5.2.2 Порядок испытаний
Внутренний гибкий хомут должен натягиваться до появления неисправности, что обычно достигается при использовании разрывной испытательной машины.
9.5.2.3 Критерии приемки
Натяжение, при котором происходит неисправность, должно быть эквивалентно максимальному значению натяжения во время установки или обслуживания, разделенному на коэффициент использования для материала гибкого хомута, или превышать данное значение.
9.5.2.4 Испытание осевого хомута
Испытания зажима следует проводить в соответствии с
13.4.1.
9.5.3 Испытание ударной нагрузки от воздействия волн
9.5.3.1 Описание
Целью испытания ударной нагрузки от воздействия волн является моделирование максимальной ударной нагрузки от воздействия волн, которой будет подвергнут модуль при прохождении через среднюю линию воды.
9.5.3.2 Порядок испытаний
Испытание должно моделировать передачу нагрузки от воздействия волн в гнезде в том элементе, где расположен внутренний хомут. Испытание может изменяться таким же образом, как и испытание хомута (см.
13.4.1), хотя потребуется ввести в испытание элемент модуля.
9.5.3.3 Критерии приемки
При прилагаемой осевой нагрузке не должны повреждаться хомут и гнездо в элементе. Таким образом, на хомуте и элементе не должно быть трещин или неустраняемой деформации.
9.5.4 Полномасштабное гидростатическое испытание
9.5.4.1 Описание
Целью гидростатического испытания под давлением является проверка того, что материал элемента плавучести может выдерживать гидростатическое давление на рабочей глубине. Таким образом, испытание может быть использовано для классификации новых материалов по определенным глубинам воды, а также назначено в качестве ПСИ в соответствии с
ГОСТ Р 59307.
9.5.4.2 Порядок испытаний
Гидростатическое испытание под давлением следует проводить при гидростатическом давлении, равном как минимум 110% расчетной глубины, в течение периода времени, соответствующего
ГОСТ Р 59307. Гидростатическое давление должно оставаться стабилизированным в течение времени, равного указанному периоду испытания.
Примечание - Испытания при гидростатическом давлении, равном как минимум 110% расчетной глубины, являются репрезентативными для текущей промышленной практики.
9.5.4.3 Критерии приемки
На элементе плавучести не должны наблюдаться неустраняемая деформация или повреждение. Измеренная плавучесть после испытания должна при экстраполяции до значения завершения срока службы и при умножении на общее количество элементов плавучести соответствовать требованиям к чистой плавучести.
9.6 Изготовление
9.6.1 Общие сведения
В
ГОСТ Р 59307 указаны требования к изготовлению модулей плавучести. В данном подразделе описываются типичные процессы, применяемые при изготовлении модуля плавучести, и руководства о соблюдении требований
ГОСТ Р 59307 для различных этапов производственного процесса.
9.6.2 Процесс изготовления элемента плавучести
Изготовление элемента плавучести, как правило, включает следующие процессы:
- изготовление микросфер и макросфер;
- изготовление внешней оболочки;
- изготовление композитной синтактической пены;
- обработку внешней оболочки.
Описание некоторых из вышеупомянутых процессов, руководства и рекомендации, относящиеся к таким процессам, приведены в нижеприведенных пунктах.
9.6.3 Процесс изготовления балластного элемента
Изготовление балластного элемента, как правило, включает следующие процессы:
- изготовление внешней оболочки;
- введение балластного материала во внешнюю оболочку;
- обработку внешней оболочки.
Описание некоторых из вышеупомянутых процессов, руководства и рекомендации, относящиеся к таким процессам, приведены в нижеприведенных пунктах.
9.6.4 Изготовление микросфер и макросфер
9.6.4.1 Макросферы могут быть изготовлены или целыми, или свариванием литых полусфер под давлением. Допуски на размер полусфер должны быть жесткими, таким образом они будут соответствовать друг другу во время сварки. Микросферы, как правило, производят по собственной технологии.
9.6.4.2 Микросферы и макросферы могут иметь покрытие для более эффективного слияния с полимерной матрицей. Влияние покрытия на характеристики впитывания воды микросферами показано на
рисунке 9.9. На графике представлен набор массы из-за впитывания воды для микросфер без покрытия и с покрытием.

- необработанный;

- обработанный
Рисунок 9.9 - Диаграмма влияния покрытия микросфер
на характеристики впитывания воды
9.6.5 Изготовление внешней оболочки
Внешняя полимерная оболочка может быть изготовлена центробежным формованием, в которое включено размещение полимера в виде порошка внутри формы, которая нагревается и в то же время вращается по двум осям. Создается однородный слой полимера на внутренней поверхности формы. Как вариант, внешняя оболочка может быть нанесена на композитную синтактическую пену. Кроме того, внешняя оболочка должна демонстрировать качественную связь с композитной синтактической пеной.
9.6.6 Изготовление композитной синтактической пены
Композитная синтактическая пена может отливаться во внешней оболочке. Как вариант, ее можно отливать отдельно и после впрыскивать во внутреннюю полимерную оболочку. Процесс производства пены должен гарантировать равномерное смешение матрицы, микросфер и макросфер. В состав пены можно ввести добавки для того, чтобы улучшить взаимосвязь между микросферами и матрицей, усилить прочность системы, снизить впитывание воды и способствовать удалению воздуха при смешивании под вакуумом.
9.6.7 Обработка внешней оболочки
Обработка внешней оболочки включает удаление любых заливин, оставшихся после процесса литья внешней оболочки, чтобы получить эстетически воспринимаемую поверхность. Необходимо проявлять осторожность во время этой операции, чтобы не порезать поверхность и не пробить защитную внешнюю оболочку.
9.6.8 Процесс изготовления внутреннего хомута и гибкого хомута
Внутренний гибкий хомут, изготовленный из титана, собирается с помощью сваривания составных титановых элементов. Согласно
ГОСТ Р 59307 сварка титана должна быть выполнена в соответствии с требованиями соответствующих стандартов. Крайне важно обеспечить конструктивную прочность сварных соединений, так как нарушение сварного узла приведет к откреплению внутреннего хомута, а модуль плавучести начнет скользить вдоль гибкой трубы.
9.6.9 Допуски модуля плавучести
9.6.9.1 В данном пункте представлены руководства по выбору производственных допусков (минимальные требования к выбранным допускам, см.
ГОСТ Р 59307).
9.6.9.2 Выбранный определенный допуск зависит от определенных проектных параметров. Общепринятое значение допуска составляет +/- 4% для отдельного модуля и +/- 2% для плавучей секции гибкой трубы. Однако динамическая реакция некоторых систем гибкого райзера может быть очень чувствительной к изменениям плавучести, и в таких случаях могут потребоваться допуски плавучести менее вышеуказанных значений.
9.7 Погрузочно-разгрузочные работы и монтаж
9.7.1 Общие сведения
В настоящем подразделе даны руководства и рекомендации по погрузочно-разгрузочным работам и монтажу модулей плавучести и балластных модулей. Положения, изложенные в
9.7.3, относятся к общим вопросам и описывают порядок монтажа.
9.7.2 Погрузочно-разгрузочные работы
9.7.2.1 Модуль плавучести не допускается бросать или волочить, так как можно повредить либо внешнюю оболочку, либо внутреннюю композитную синтактическую пену. Модуль не допускается катить по земле, так как можно повредить внутренний хомут.
9.7.2.2 Погрузочно-разгрузочные работы с модулями нужно проводить с использованием тканых стропов, обитых концевых крюков или обитых подъемных вилочных захватов. Необходимо использовать мягкие стропы из нейлона или подобного материала. Модуль плавучести не должен соприкасаться с землей.
9.7.3.1 Порядок монтажа модуля плавучести, как правило, включает следующие этапы:
а) работники, осуществляющие монтаж, размещаются вокруг гибкой трубы;
б) гибкий трубопровод выбирают до достижения первого модуля. Это должно быть указано кольцевой отметкой на гибкой трубе;
в) сначала внутренний хомут собирают вокруг гибкой трубы в том месте, которое соответствует маркировке. Далее внутренний хомут оборачивают гибким хомутом и стягивают, фиксируя в указанном положении, как показано на
рисунке 9.10, а);
г) затем полуобечайки элемента модуля собирают вокруг внутреннего хомута и фиксируют в данном положении внешним гибким хомутом или болтами, как показано на
рисунке 9.10, б) -
г);
д) гибкую трубу выбирают из воды до достижения следующей отметки места установки модуля плавучести и подтягивается в зону проведения работ для выполнения работниками его монтажа;
а) Установка внутреннего хомута и гибкого хомута | б) Установка первой полуобечайки |
в) Установка второй полуобечайки | г) Установка внешних гибких хомутов |
Рисунок 9.10 - Установка стандартного модуля плавучести
Процесс повторяют до тех пор, пока не будут установлены все модули.
Модули, как правило, собирают в той зоне, где есть достаточное пространство для размещения персонала и подъемного оборудования, а также допуск к воде, например в зоне буровой шахты. Часто размеры и масса элементов в воздухе требуют использования определенного подъемного механизма, чтобы соединить элементы модуля вместе вокруг гибкой трубы.
9.7.3.2 Производитель гибкой трубы должен четко маркировать определенное положение модулей на внешней оболочке гибкой трубы.
9.7.3.3 Модули должны быть сконструированы таким образом, чтобы установка на гибкую трубу была быстрой и несложной. Тем самым минимизируется время, необходимое для установки модулей в морских условиях. Порядок сборки модулей должен демонстрировать четкую воспроизводимость.
9.7.3.4 Перед присоединением внутреннего хомута поверхность гибкой трубы в месте хомута и внутренняя поверхность хомута должны быть очищены от загрязнений, таких как смазка или масло.
9.7.3.5 Порядок следует соблюдать, чтобы гарантировать применение правильных сил зажима к каждому внутреннему хомуту и внешним крепежным элементам, таким как болты и гибкие хомуты в соответствующем случае. Необходимо вести записи о применяемых силах зажима для каждого модуля, а записи должны быть подписаны персоналом, ответственным за установку. Это крайне важно, так как неправильно прилагаемые силы могут привести к соскальзыванию модуля с места во время установки или эксплуатации. Один незакрепленный модуль может ухудшить всю секцию модулей, так как скорость скольжения и последующее воздействие на прилегающий модуль представляют собой ударное воздействие, на которое внутренний хомут не рассчитан. Это может привести к "эффекту домино", когда вся секция прилегающих модулей может быть вытолкнута со своего места.
9.7.3.6 Модули должны проходить через среднюю линию воды только тогда, когда условия аналогичные или менее жесткие, чем условия, учтенные на этапе проектирования, при оценке воздействия ударных нагрузок от воздействия волн.
9.7.3.7 Необходимо рассмотреть установку модулей плавучести на гибкой трубе таким образом, чтобы изменение плавучести было минимально возможным между прилегающими элементами плавучести, если система гибкой трубы чрезвычайно чувствительна к распределению плавучести по плавучей секции. Для этого требуется маркировка на модулях плавучести для определения правильной последовательности установки на основании их измеренной чистой плавучести.
9.8 Управление целостностью
9.8.1 Общие сведения
В
подразделе 9.8 представлены руководства и рекомендации по управлению целостностью, включая возможные дефекты.
9.8.2 Типы неисправностей и дефекты
Возможные дефекты модулей плавучести и балластных модулей указаны в
таблице 5.
Таблица 5
Возможные дефекты модулей плавучести и балластных модулей
Дефект | Последствие | Возможная причина | Возможное исправление | Проектное решение/ изменяемый параметр |
1 Неисправность элемента модуля | а) Снижение плавучести/веса, изменение конфигурации и возможная неисправность гибкой трубы; б) возможный удар поверхностных конструкций элементами плавучести, если они отломались от гибкой трубы | а) Чрезмерная нагрузка: 1) гидростатическое давление, 2) упавшие объекты, 3) удар подводной конструкцией (например, швартовым концом, примыкающим гибким райзером и т.д.); б) заводской брак (например, пустоты в литье); в) старение материала из-за воздействия морской воды/высокой температуры; г) ползучесть в результате гидростатического давления; д) неправильное проектирование (выбор материала) | а) Проверка с помощью общего анализа при использовании воздействия рабочих параметров потери плавучести/веса на расчетные критерии гибкой трубы; б) при необходимости, замена модуля либо на месте, либо после извлечения гибкой трубы. Может быть трудно заменить модуль из-за движений гибкой трубы и доступа для водолазов | Выбор материалов |
2 Неисправность крепежа элементов модуля (включая болты и гибкие хомуты) | а) Возможная потеря элемента и последствия в соответствии с 1 данной таблицы; б) чрезмерная нагрузка на оставшиеся крепления | б) коррозия; в) заводской брак; г) старение материала из-за воздействия морской воды/высокой температуры (только композитные гибкие хомуты); д) ползучесть (только композитные гибкие хомуты); е) неправильное проектирование (например, слишком маленький размер крепежа, несоответствующая прочность крепежа) | Обсуждение с производителем целостности модуля при пропущенных крепежных элементах. Возможна установка сменных крепежных элементов, если необходимо гарантировать целостность гибкой трубы | а) Выбор материалов; б) увеличение размера крепления; в) увеличение количества и/или распределения крепежных элементов в соответствующих случаях |
3 Снижение плавучести/увеличение веса | | а) Гидростатическое давление (для синтактической пены); б) ползучесть (для синтактической пены); в) заводской брак (например, габариты элемента модуля отличаются от ТТ или плотность композитной синтактической пены либо балластного материала отличаются от ТТ); г) впитывание воды; д) обрастание морскими микроорганизмами; е) неправильное проектирование (например, при прогнозировании потери плавучести выбор материала с чрезмерным впитыванием воды, недостаточным коэффициентом объемного сжатия или сопротивлением ползучести) | б) в случае снижения/увеличения из-за обрастания некоторое обрастание можно удалить струей воды в случае необходимости | а) Выбор материалов; б) изменение конструкции таким образом, чтобы снижение плавучести/увеличение веса были снижены |
4 Неисправность корпуса внутреннего хомута | Скольжение модуля и возможная неисправность внешней оболочки гибкой трубы, а также возможное ударное воздействие других модулей | б) усталостная поломка; в) заводской брак (например, пустоты в литье); г) старение материала из-за воздействия морской воды/высокой температуры; д) ползучесть; е) неправильная конструкция | а) Проверка с помощью общего анализа при использовании рабочих параметров воздействия неправильной установки модуля на гибкой трубе, расчетные критерии; б) увеличение частоты проверок для контроля скольжения модуля; в) если скользящий модуль контактирует с другим модулем, обсуждение с производителем способности внутреннего хомута сопротивляться прилагаемой силе. При необходимости, удаление или изменение расположения модуля либо на месте, либо после извлечения гибкой трубы. Может быть трудно заменить/изменить расположение модуля из-за движений гибкой трубы и доступа для водолазов | а) Выбор материалов; б) увеличение конструкционной прочности, например увеличение размеров внутреннего хомута; в) замена конфигурации элемента хомута, чтобы изменить распределение нагрузки |
5 Неисправность гибкого хомута внутреннего хомута | Потеря модуля и последствия в соответствии с 4 данной таблицы | б) усталостная поломка; в) коррозия (металлические гибкие хомуты); г) неисправность сварного соединения (только металлические гибкие хомуты); д) заводской брак; е) старение материала из-за воздействия морской воды/высокой температуры (только композитные гибкие хомуты); ж) ползучесть (только композитные гибкие хомуты); и) неправильное проектирование (например, неправильная толщина, ширина или выбор материалов гибких хомутов) | | а) Выбор материалов; б) увеличение конструкционной прочности, например увеличение ширины и толщины гибкого хомута внутреннего хомута; в) замена конфигурации элемента гибкого хомута внутреннего хомута, чтобы изменить распределение нагрузки; г) проектирование сварных соединений (металлические гибкие хомуты внутренних хомутов) |
6 Неисправность крепежа гибкого хомута внутреннего хомута | а) Последствия в соответствии с 4 данной таблицы; б) чрезмерная нагрузка на оставшиеся крепления | б) усталостная поломка; в) коррозия; г) неисправность сварного соединения (только металлические гибкие хомуты); д) заводской брак; е) неправильное проектирование (например, слишком маленький размер крепежа, несоответствующая прочность крепежа) | | а) Выбор материалов; б) увеличение размера крепления; в) увеличение количества и/или распределения крепежных элементов |
| Последствия в соответствии с 4 данной таблицы | б) заводской брак (например, внутренний диаметр корпуса внутреннего хомута слишком большой); в) старение материала из-за воздействия морской воды/высокой температуры; г) ползучесть, приводящая к отсоединению хомута; д) неправильная установка (неправильные приложенные силы зажима к хомуту); е) неправильное проектирование (например, неправильная величина зажима) | | а) Переоценка сил, которые может выдержать хомут; б) увеличение сопротивления зажиму (будут увеличены силы зажима); в) предотвращение отсоединения крепежных элементов во время эксплуатации |
9.8.3 Методы мониторинга
9.8.3.2 Во время общего осмотра количество модулей плавучести должно быть рассчитано и сравниваться с проектом, чтобы гарантировать наличие всех модулей. Необходимо проверить гибкую трубу для того, чтобы удостовериться в том, что все модули находятся в правильном положении на гибкой трубе. При наличии круговой маркировки на гибкой трубе для размещения модуля должна быть возможность визуальной индикации сдвига модуля, так как при сдвиге маркировка становится видимой.
9.8.3.3 Если модуль сдвинут, сдвиг необходимо зафиксировать. Общий осмотр длины гибкой трубы, вдоль которой соскользнул модуль, необходимо выполнить, чтобы определить наличие/отсутствие повреждения внешней оболочки гибкой трубы. Если модуль скользит, это может передать его силу плавучести/веса на прилегающие модули и привести к их соскальзыванию. Такая тенденция зависит от положения модуля и от того, в каком направлении перемещается его сила плавучести/веса. Время от момента соскальзывания можно вычислить на основании уровней обрастания на начальном расположении модуля. Чем больше обрастания на этом месте, тем позже произошло соскальзывание.
9.8.3.4 Потеря или соскальзывание модуля наиболее вероятны во время монтажа до обтяжки его хомутом. При этом восстановительные работы можно выполнить непосредственно на точке установки модулей. Следует принимать во внимание вероятность потери модуля в период его эксплуатации, что может оказать влияние на устойчивость системы райзеров.
9.8.3.5 Всю внешнюю поверхность модуля следует проверять на наличие повреждений в соответствии с
дефектом 1 (см.
таблицу 5) или накопленной грязи. Кроме того, внешнюю оболочку модуля плавучести следует проверять на разрывы, так как они обнажают внутренние слои композитной синтактической пены и способствуют их разрушению.
9.8.3.6 Систему внешнего крепления необходимо проверить, чтобы удостовериться в том, что крепление есть, оно в рабочем состоянии и коррозия или натяжения отсутствуют в соответствии с
дефектом 2 (см.
таблицу 5). Если для внешнего крепления используют болты, их необходимо проверить, чтобы оценить их нахождение на месте, в рабочем состоянии и наличие/отсутствие коррозии.
9.8.3.7 Общий осмотр должен подтвердить, что обрастание морскими организмами находится в пределах, предусмотренных расчетом модулей. Обрастание, превышающее расчетные значения, может негативно влиять на реакцию системы гибкой трубы, приводя к нарушению расчетных критериев гибкой трубы.
10.1 Область применения
10.1.1 Положения
раздела 10 относятся к раме подводного буя, плавучим емкостям и элементам плавучести системы подводных буев. Конкретные рекомендации по канатам, основаниям канатов и хомутам подводных буев приведены в
разделах 11,
12 и
13 соответственно. В
разделе 10 не рассмотрены плавучие опорные конструкции райзера.
10.1.2 Рекомендации, применяемые к подводным буям с плавучими емкостями, отличаются от тех рекомендаций, которые распространяются на элементы плавучести.
Пункт 10.2.1 относится к обеим системам.
10.2 Вопросы проектирования
В
ГОСТ Р 59307 указаны требования к проектированию подводного буя. Целью данного подраздела являются разработка и предоставление руководств по проектированию в соответствии с требованиями
ГОСТ Р 59307.
Данный подраздел относится к следующим вопросам:
- процесс проектирования устройств;
- проектные критерии;
- расчетные нагрузки.
10.2.2 Обзор проектирования
Процесс проектирования подводного буя представлен на схеме на
рисунке 10.1 и обычно включает следующие этапы:
- выбор системы плавучести, т.е. либо плавучая емкость, либо серия элементов плавучести;
- проверка в соответствующих случаях того, может ли материал элемента плавучести выдерживать гидростатическое давление при расчетной глубине;
- проверка в соответствующих случаях напряжения плавучих емкостей при гидростатическом давлении, любом внутреннем давлении и других расчетных нагрузках проверяются в отношении того, находятся ли они в допустимых пределах для материала емкости;
- определение конфигураций хомута в случае его использования. Обзор конструкции хомута представлен в
пункте 14.2.2;
- применение профилей желобов в соответствии с их предназначением для предотвращения излишнего изгиба гибкой трубы (см.
10.2.4);
- определение необходимого количества и конфигурации тросов, включая тип каната (цепь, проволока или синтетика). Обзор конструкции каната представлен в
пункте 11.2.2;
- проверка рамы подводного буя для размещения системы плавучести и желобов, которая должна иметь конструкционные точки соединения для оборудования соединения канатов;
- контроль основания каната на предмет выдерживания горизонтальных и вертикальных компонентов натяжения троса и обеспечения точек соединения для оборудования соединения канатов;
- проверка напряжений конструкционных компонентов рамы подводного буя, сварных соединений и крепежных элементов в допустимых пределах для соответствующих материалов (см.
10.4.2.1);
- выполнение расчетов системы защиты от коррозии для определения масс анодов для рамы подводного буя, необходимой для защиты тех компонентов, которым она требуется;
- проведение общей исполнительной проверки подводного буя в зависимости от свойств окончательной конструкции подводного буя в сравнении с использованными в последнем общем анализе (см.
10.4.3.4);
- выбор материалов согласно положениям
10.3.
Рисунок 10.1 - Схема конструкции подводного буя
10.2.3 Проектирование подводного буя. Общие сведения
10.2.3.1 Рекомендации по проектированию хомута подводного буя приведены в
14.2.4, рекомендации по проектированию основания канатов - в
12.2.5, и рекомендации по проектированию канатов - в
11.2.
10.2.3.2 При необходимости, в раме подводного буя должен быть сделан достаточный допуск для размещения хомута, если размеры хомута не были окончательными.
10.2.3.3 Раму подводного буя следует проектировать таким образом, чтобы минимизировать объем морской воды, который эффективно захватывается конструкцией при ее движении. Это поможет минимизировать добавленную массу конструкции и, следовательно, инерционные нагрузки.
10.2.3.4 Если расчетные параметры, такие как гидродинамические коэффициенты, нагрузки во время установки или другие расчетные исходные данные либо реакции, невозможно определить с достаточной точностью, необходимо проводить испытания модели. При установлении параметров, полученных в процессе испытаний модели, должны быть учтены разница масштаба между параметрами в испытании модели и применение полномасштабного подводного буя.
10.2.3.5 При выборе подводного буя с плавучими емкостями либо элементами плавучести необходимо учитывать следующее:
- пригодность для расчетной глубины;
- рабочую длину на расчетной глубине;
- воздействия получившихся размеров и динамических нагрузок на трубу;
- прочность;
- предыдущую историю при аналогичных условиях;
- безопасность;
- характеристики управляемости.
10.2.4 Проектирование желоба
10.2.4.1 В соответствии с
ГОСТ Р 59307 при проектировании желоба следует учитывать диапазон углов вылета гибкой трубы в горизонтальной и вертикальной плоскостях на основании необходимых углов. Такие углы вылета показаны на
рисунке 10.2, на котором изображен типичный отдельный желоб с присоединенной гибкой трубой. Как правило, угловой запас прочности из общего анализа добавляют к углам вылета.
| | |
а) Общий вид | б) Вид с торца | в) Вид сверху |
1 - желоб; 2 - гибкая труба
Рисунок 10.2 - Углы вылета подводного буя
10.2.4.2 При проектировании желоба необходимо учитывать следующее:
- внешний износ внешней оболочки гибкой трубы при контакте с желобом;
- достаточный допуск, облегчающий установку гибкой трубы над подводным буем;
- практические аспекты производства профиля желоба.
10.2.4.3 Расстояние между гибкими трубами необходимо выбрать таким образом, чтобы распределение натяжения на тросах было максимально сбалансированным. При этом следует учитывать влияние внутренних сред труб на всех этапах их установки и обслуживания, а также соответствующие дисбалансы натяжения тросов. Указанное расстояние влияет на общую ширину подводного буя, и наоборот.
10.2.5 Проектирование плавучей емкости
10.2.5.1 Подводный буй может состоять из одной или нескольких плавучих емкостей. Например, на
рисунке 10.3 показана типичная сборка конструкции из четырех емкостей. Дополнительно плавучая емкость может быть разделена на большое количество отсеков, как проиллюстрировано на
рисунке 10.4; в случае разрыва затопление ограничено одним отсеком. Преимуществом в конструкции из нескольких емкостей или из емкостей с отсеками является то, что она обеспечивает запас у конструкции в случае разрыва емкости. Однако дополнительный запас может значительно увеличить размер и массу получившейся конструкции, и ее необходимо сбалансировать при последствиях разрыва.
1 - арочная пластина; 2 - плавучие емкости
Рисунок 10.3 - Емкости подводного буя
Рисунок 10.4 - Разделение на отсеки емкости подводного буя
10.2.5.2 Необходимо рассмотреть плавучие емкости с внутренним давлением, чтобы была возможность снизить требования к толщине стенок для определенной глубины и, следовательно, увеличить максимально имеющуюся плавучесть. В соответствии с
ГОСТ Р 59307 плавучие емкости, предназначенные для использования в качестве сосудов под давлением, следует проектировать согласно установленным стандартам.
10.2.5.3 Целью выбора соответствующих размеров плавучих емкостей, например диаметра и длины, является достижение максимальной чистой плавучести при минимальных затратах на изготовление.
10.2.5.4 Согласно
ГОСТ Р 59307 необходимо учитывать изменения давления в плавучей емкости. Такие изменения могут возникать, если в плавучую емкость нагнетается давление в условиях низкой температуры окружающего воздуха, а эксплуатироваться она будет в регионе с высокими температурами. Газ внутри плавучей емкости будет расширяться, а давление соответственно повышаться.
10.2.6 Противокоррозионная защита. Общие сведения
Антикоррозионные защитные покрытия для желобов не должны повреждать внешнюю оболочку гибкой трубы в течение срока службы в результате трения гибкой трубы о поверхности желоба.
10.2.7 Противокоррозионная защита. Плавучие емкости
Следует рассмотреть заполнение металлических плавучих емкостей инертным газом для того, чтобы снизить подверженность внутренних поверхностей емкости коррозии.
Возможные дефекты, которые могут возникать у подводных буев, перечислены в
таблице 6, в которой также указаны соответствующие проектные решения/стратегии.
Таблица 6
Возможные дефекты подводных буев
Дефект | Последствие | Возможная причина | Возможное исправление | Проектное решение/изменяемый параметр |
| а) Потеря плавучести и дисбаланс подводного буя, изменение конфигурации и возможная неисправность гибкой трубы; б) возможное расшатывание и, как следствие, неисправность из-за нагрузки резкого перемещения кабелей-тросов из-за снижения сил плавучести | б) заводской брак (например, размеры элемента плавучести чрезвычайно малы или плотность композитной синтактической пены слишком высокая); в) ползучесть; г) неправильная конструкция; д) впитывание воды; е) обрастание морскими микроорганизмами | а) Проверка с помощью общего анализа при использовании воздействия рабочих параметров снижения плавучести на расчетные критерии гибкой трубы; б) в случае снижения из-за обрастания некоторое обрастание можно удалить струей воды в случае необходимости | а) Выбор материалов; б) изменение конструкции таким образом, чтобы снижение плавучести было минимизировано |
2 Неисправность конструкционных элементов подводного буя | б) отделение, изменение конфигурации и возможная неисправность гибкой трубы. Отделение подводного буя от кабелей-тросов, изменение конфигурации и возможная неисправность гибкой трубы. Возможный удар поверхностных конструкций подводным буем | б) удар от падающих объектов или другой подводной конструкции (например, швартовный конец); в) усталостная поломка; г) коррозия; д) неисправность сварного соединения; е) заводской брак; ж) водородная хрупкость; и) ползучесть; к) неправильная конструкция | Нет | а) Выбор материалов; б) усиление конструкционной прочности, например увеличение размеров конструкционных элементов; в) замена конфигурации рамы подводного буя, чтобы изменить распределение нагрузки; г) проектирование сварных соединений; д) проектирование системы катодной защиты |
3 Чрезмерный изгиб гибкой трубы вдоль желоба | Возможная неисправность гибкой трубы | б) заводской брак (например, неправильное определение размеров для профиля желоба); в) неправильное проектирование (углы вылета гибкой трубы от подводного буя определены неправильно) | Нет | а) Увеличение радиуса желоба; б) повторная оценка углов вылета гибкой трубы от подводного буя |
4 Разрушение гибкой трубы вдоль желоба | Возможная неисправность гибкой трубы | б) усталостная поломка; в) заводской брак (профиль желоба отличается от технических требований); г) неправильное проектирование (эффективное натяжение гибкой трубы занижено); д) ползучесть | Нет | а) Увеличение радиуса желоба; б) снижение эффективного натяжения гибкой трубы путем изменения ее конфигурации |
5 Неисправность плавучей емкости | б) полная потеря плавучести для конструкции с одной емкостью в результате утопления подводного буя и гибких труб на морском дне и возможная неисправность гибкой трубы | а) Чрезмерная нагрузка: 1) чрезмерное внутреннее давление, 2) упавший объект, 3) удар от подводной конструкции (например, швартовный конец); б) коррозия; в) неисправность сварного соединения; г) заводской брак; д) водородная хрупкость; е) старение материала из-за воздействия морской воды (только композитные плавучие емкости); ж) ползучесть (только композитные плавучие емкости); и) неправильное проектирование (например, если стенки плавучих емкостей слишком тонкие); к) коррозия; л) неисправность сварного соединения; м) заводской брак; н) водородная хрупкость; п) старение материала из-за воздействия морской воды (только композитные плавучие емкости); р) ползучесть (только композитные плавучие емкости); с) неправильное проектирование (например, если стенки плавучих емкостей слишком тонкие) | Меры по исправлению в соответствии с 1, перечисление а), если используется несколько плавучих емкостей | а) Выбор материалов; б) увеличение толщины плавучей емкости; в) проектирование системы катодной защиты |
6 Неисправность элемента плавучести | б) возможный удар поверхностных конструкций секциями элемента плавучести, если они отломались от подводного буя | а) Чрезмерная нагрузка: 1) чрезмерное гидростатическое давление, 2) упавший объект, 3) удар подводной конструкцией (например, швартовым концом, примыкающим гибким райзером и т.д.); б) заводской брак (например, пустоты в литье); в) старение материала из-за воздействия морской воды; г) ползучесть в результате гидростатического давления; д) неправильное проектирование (выбор материала) | | Выбор материалов |
7 Удаление покрытия краской | Возможная коррозия конструкции | а) Повреждение во время погрузочно-разгрузочных работ, хранения, транспортировки, установки или обслуживания; б) заводской брак (покрытие нанесено неправильно); в) неправильное проектирование (например, выбор системы покрытия) | См. отчет по проектированию/обращение к производителю по вопросам в отношении области нарушения покраски, на которую рассчитана система катодной защиты; установка усовершенствованных анодов, если область превышает запроектированную | а) Выбор системы покрытия краской; б) проектирование системы катодной защиты |
8 Показания датчиков системы катодной защиты отличаются от технических требований | Возможная коррозия рамы подводного буя | а) Сломан(ы) анод(ы); б) неправильное проектирование системы катодной защиты (т.е. неправильные массы анодов) | а) Обсуждение с производителем того, какое количество времени текущая система катодной защиты может обеспечивать защиту; б) установка усовершенствованных анодов на длительный срок | Проектирование системы катодной защиты |
9 Коррозия рамы подводного буя | Возможная неисправность конструкции | а) Чрезвычайно коррозионная среда; б) неправильная защита системы катодной защиты; в) повреждение системы покрытия краской; г) неправильное проектирование (например, выбор материалов, проектирование системы катодной защиты) | а) Обсуждение с производителем целостности конструкции с коррозией; б) установка усовершенствованных анодов на длительный срок | а) Выбор материалов; б) проектирование системы катодной защиты |
10 Неисправность каната | |
11 Неисправность хомута | |
12 Неисправность основания каната | |
10.2.9 Проектные критерии
10.2.9.1 Общие рекомендации по проектным критериям приведены в
5.3.4. Расчетные критерии изменения плавучести, радиуса желоба и гидростатического давления для подводных буев указаны в
ГОСТ Р 59307. В этом пункте даны руководства и рекомендации, относящиеся к соблюдению таких расчетных критериев.
10.2.9.2 Гибкая труба может свободно изгибаться в нескольких плоскостях, что обеспечено благодаря трехмерному радиусу изгиба. Радиус желоба диктует степень изгиба гибкой трубы в ее плоскости, тогда как степень изгиба в горизонтальной плоскости и оставшейся вертикальной плоскости обусловлена расстоянием между стенками желоба.
10.2.9.3 В течение срока службы подводный буй может обрастать морскими организмами. Объем и тип обрастания зависят от географического положения и глубины, негативно воздействуя и снижая плавучесть системы. При наличии в определенных условиях обрастания расчет плавучести должен включать допуски для поправки на вес обрастания. В качестве варианта возможно предотвращение обрастания путем использования предохраняющих покрытий.
10.2.9.4 Расчет необходимой чистой плавучести должен включать допуски на смещение веса в воде для тех элементов, которые могут быть неплавучими, например:
- рама, включая желоба, сварные узлы и крепежные элементы;
- стенки плавучей емкости в определенных случаях;
- хомуты при необходимости;
- защитные покрытия;
- аноды системы катодной защиты;
- средства соединения;
- канаты;
- подвески;
- треугольные пластины для соединения канатов с подвесками.
10.2.10 Расчетные критерии. Элементы плавучести
Снижение плавучести должно быть минимизировано, чтобы соблюсти расчетные критерии выбора плавучего материала, на основании модуля объемной упругости, сопротивления скольжению и характеристик впитывания воды. Свойства таких материалов рассмотрены в
9.3.2. Обычное снижение плавучести из-за кратковременных и долговременных механических нагрузок (т.е. не включая обрастание морскими организмами и влияние добычи) в течение срока службы - 5%.
10.2.11 Расчетные критерии. Плавучие емкости
10.2.11.1 В
ГОСТ Р 59307 указаны требования, относящиеся к запасу плавучих емкостей для подводного буя. Запас может быть предусмотрен в конструкции подводного буя путем разделения плавучей емкости на отсеки, как показано на
рисунке 10.4. В случае разрыва емкости затопление ограничено только разорванным отделением. Как вариант, может быть использовано несколько емкостей, чтобы обеспечить запас.
10.2.11.2 Согласно
ГОСТ Р 59307 можно устанавливать требования по уровню запаса в проекте подводного буя. Необходимо оценить риск для принятия решения по требованиям проекта подводного буя к способности выдерживать потерю одной плавучей емкости или одного отделения, или одного каната.
Анализ риска касательно воздействия на вероятность затопления емкости/неисправности каната должен учитывать следующее:
- расстояние подводного буя от будущих подъемных операций или от тех зон, в которые могут падать объекты;
- расстояние подводного буя от других подводных линий, включая райзеры и швартовные концы;
- использование особо значимых компонентов плавучей емкости в соответствии с проектом, относительно расчетных нагрузок.
Другими словами, плавучая емкость, рассчитанная с высоким коэффициентом надежности, вряд ли будет неисправной по сравнению с другой конструкцией с меньшим коэффициентом надежности; все другие аспекты аналогичны. Это больше относится к тросу, так как плавучие емкости не могут выдерживать некоторые случаи падения объектов или столкновения, несмотря на какой-либо коэффициент надежности;
- запас (допуск) толщины стенки плавучей емкости с учетом внешней (со стороны воды) и внутренней (среды внутри емкости) коррозии;
- расстояние подводного буя от зон рыболовства.
10.2.11.3 Необходимо проанализировать последствия неисправности подводного буя при определении требований к запасу.
Такой аспект должен учитывать следующее:
- последствия неисправности, перечисленные в
таблице 7;
- тип работы райзера, прикрепленного к подводному бую.
Например, подводный буй, поддерживающий райзер закачки воды, может приводить к меньшим экономическим и экологическим последствиям при неисправности, чем подводный буй, поддерживающий эксплуатационный райзер.
Возможна потеря работоспособности из-за неисправности подводного буя.
10.2.12 Проектирование монтажа
10.2.12.1 Следует рассмотреть монтаж подводного буя при проектировании, так как случаи нагрузок при его установке могут быть крайне важными для проектирования.
10.2.12.2 Должны быть определены приемлемые погодные условия для монтажа подводного буя.
10.2.12.3 На всех этапах подъема подводного буя, включая развертывание подводного буя через среднюю линию воды, следует проводить анализ его подъема. В ходе такого анализа должны быть рассмотрены движения судна при тех погодных условиях, при которых можно проводить установку подводного буя. Анализ подъема должен включать определение натяжений подъемных тросов, а также соответствующее место для подъемного крюка в отношении подводного буя.
10.2.12.4 Необходимо рассмотреть анализ следующих сценариев во время установки:
- ослабление подъемных канатов, в частности при опускании подводного буя через среднюю линию воды;
- чрезмерный изгиб гибких труб, когда они спущены за борт до установки над подводным буем. Особо значимые зоны в отношении чрезмерного изгиба находятся на такелажных узлах и на всех местах хомутов;
- чрезмерный изгиб гибких труб, когда они устанавливаются над подводным буем (если подводный буй установлен под водой раньше гибкой трубы);
- контактные силы между подводным буем и гибкой трубой должны быть оценены для того, чтобы обеспечить отсутствие повреждений у гибкого трубопровода.
10.2.12.5 Установка подводного буя может включать ТНПА, например для фиксации хомутов на подводном буе. Конструкция подводного буя должна обеспечивать максимально эффективные операции ТНПА.
10.2.12.6 Согласно
ГОСТ Р 59307 следует указать максимальную массу подводного буя в воздухе, которую могло бы поддержать имеющееся подъемное оборудование. Подводные буи для гибкой трубы могут обладать значительной массой, как правило, от 50 до 110 т, поэтому целесообразно проверить, что имеющееся подъемное оборудование может выдержать данную массу.
10.2.12.7 Согласно
ГОСТ Р 59307 требуется указать доступное место по ширине, высоте и длине, необходимое для размещения конструкции подводного буя. Подводные буи могут занимать значительное место на судне, как правило, от 10 x 6 x 4 м до 20 x 9 x 5 м, поэтому целесообразно проверить наличие у судна установки достаточного пространства на борту.
10.3.1 Общие сведения
В данном подразделе указаны материалы, которые обычно используются при изготовлении подводных буев, и представлены общие рабочие характеристики таких материалов. В
ГОСТ Р 59307 приведены квалификационные требования, относящиеся к дутой пене, синтактической пене или композитной синтактической пене элемента плавучести. Значимость свойств некоторых ключевых материалов рассмотрена в
9.3.2 -
9.3.10 и
ГОСТ Р 59307.
10.3.2 Металлические материалы
Раму подводного буя, как правило, изготавливают из стали. Металлические материалы для плавучих емкостей, которые изготавливают как емкости под давлением, изготавливаются из материала, указанного в соответствующих правилах сосудов под давлением.
10.3.3 Композитные материалы плавучих емкостей
Композитные плавучие емкости, как правило, изготовлены из стеклопластика, что обеспечивает высокое отношение предела прочности к весу и сопротивление коррозии.
10.3.4 Материалы элемента плавучести
Элементы плавучести могут быть изготовлены из композитной синтактической пены (см.
9.3.2), синтактической пены или дутой пены. Синтактические пены обычно обладают высокой гидростатической прочностью по сравнению с композитными синтактическими пенами, но более высокой плотностью. Дутая пена обеспечена меньшей плотностью, чем синтактическая пена или композитная синтактическая пена, но у нее отсутствует высокая гидростатическая прочность. Выбор соответствующего материала для элемента плавучести должен учитывать расчетную глубину установки и материал с наименьшей плотностью, способный выносить гидростатическое давление на такой глубине.
10.4 Вопросы анализа
10.4.1 Общие сведения
Целью данного подраздела является предоставление рекомендаций по способам анализа подводного буя.
10.4.2 Местный анализ
10.4.2.1 Раму подводного буя обычно изготавливают из трубных элементов и пластин. Способы конструктивного анализа для таких рам установлены в
ГОСТ Р 59266. После проектирования рамы подводного буя производитель может провести окончательную проверку ее конструкционной целостности с помощью трехмерного исследования методом конечных элементов.
10.4.2.2 Нагрузки райзера и троса, воздействующие на подводный буй, определенные в общем анализе, отражают некоторые гидродинамические нагрузки, воздействующие на подводный буй. Однако может потребоваться прямая оценка воздействия гидродинамических нагрузок на подводный буй, которые не допускается учитывать только для нагрузок троса и райзера. Данные о течениях и волнах могут быть использованы для определения скорости воды и, следовательно, нагрузок трения и инерции, воздействующих на подводный буй.
10.4.3 Общий анализ
10.4.3.1 Общий анализ системы гибкой трубы следует использовать для определения диапазона углов вылета гибкой трубы от подводного буя и диапазона эффективных натяжений гибкой трубы, которые воздействуют на все стороны подводного буя. Далее эти данные предоставляют для местного расчета подводного буя таким образом, что его конструкцию можно проектировать при предотвращении чрезмерного изгиба гибкой трубы и сопротивления эффективным натяжениям гибкой трубы.
10.4.3.2 Раму подводного буя можно моделировать в общем анализе методом конечных элементов для системы гибкой трубы путем организации балочных элементов со сравнительно высокой прочностью. Пример такой общей модели показан на
рисунке 10.5. Общепринятое значение жесткости в десять раз превышает жесткость гибкой трубы. Характеристики трения, применяемые для рамы подводного буя, должны учитывать трение морской воды на арочной конструкции.
Рисунок 10.5 - Общая модель подводного буя
Подводный буй, представленный девятью коэффициентами трения:
- коэффициент трения, умноженный на площадь фронтальной проекции для каждого направления, чтобы представить гидродинамические нагрузки, вызванные относительной скоростью морской воды/подводного буя;
- коэффициент инерции, умноженный на референтный объем для каждого направления, чтобы представить гидродинамические нагрузки, вызванные ускорением подводного буя;
- добавленный массовый коэффициент, умноженный на референтный объем, чтобы представить гидродинамические нагрузки, вызванные ускорением частиц морской воды.
Такие характеристики трения зависят от определенной конфигурации арки.
10.4.3.3 Необходимость моделировать часть гибкой трубы, лежащей на подводном буе, отсутствует. Между тем дискретности нижнего и верхнего провесов гибкой трубы могут начинаться на тех точках, в которых гибкая труба выходит из желоба, как показано на
рисунке 10.5. Конечно, в данном случае вес длины райзера, лежащего на подводном буе, необходимо учитывать в массовых характеристиках элементов подводного буя между верхним и нижним провесами, поэтому соединения между верхним и нижним провесами и подводным буем обычно моделируют как шарнирные соединения. Таким образом гарантируется, что элементы гибкой трубы движутся вместе с аркой и могут вращаться в трехмерном пространстве относительно нее.
10.4.3.4 Общие анализы системы гибкой трубы с подводным буем могут быть выполнены до завершения проектирования подводного буя. Если окончательная конфигурация подводного буя отличается от использованной в общих анализах системы гибкой трубы, необходимо рассмотреть выполнение таких анализов повторно при использовании окончательной конфигурации. Данное решение должно быть основано на том, какая конфигурация изменилась. При наличии значительных изменений массы и гидродинамических свойств подводного буя, которые, в свою очередь, изменят общую реакцию системы, необходимо провести повторный анализ.
10.5 Испытания опытного образца
10.5.1 Общие сведения
Единственными испытаниями опытного образца, которые применяют к подводным буям, являются испытания, относящиеся к элементам плавучести, канатам и хомутам.
10.5.2 Применение испытаний опытного образца
Расчетные параметры, которые необходимо рассмотреть, как минимум, при требовании проведения полномасштабного гидростатического испытания элементов плавучести под давлением, следующие:
- глубина воды;
- материалы;
- процесс(ы) изготовления;
- внешний диаметр и длина элемента.
10.5.3 Полномасштабное гидростатическое испытание элемента плавучести
Рекомендации по полномасштабному гидростатическому испытанию элементов плавучести приведены в
9.5.4.
10.5.4 Испытания каната
Рекомендации по испытанию опытного образца каната рассмотрены в
11.5.
10.5.5 Испытания хомута
Рекомендации по испытанию опытного образца хомута приведены в
14.6.
10.6.1 Общие сведения
В
подразделе 10.6 представлено описание стандартных процессов, выполняемых при производстве подводного буя.
10.6.2 Процесс производства
Основные процессы при производстве подводного буя следующие:
- сварка конструкционных элементов рамы друг с другом и сварка желоба с рамой;
- сварка точек соединения троса на раме подводного буя;
- нанесение антикоррозионных защитных покрытий на раму подводного буя;
- присоединение анодов системы катодной защиты к раме подводного буя;
- изготовление плавучей емкости или элемента плавучести.
Описание процесса изготовления элемента плавучести приведено в
9.6.2.
10.6.3 Производство плавучей емкости
Стальные плавучие емкости, как правило, изготавливают из жестких баллонов со сварными сферическими или вогнутыми купольными концами.
10.7 Погрузочно-разгрузочные работы и монтаж
10.7.1 Общие сведения
В
подразделе 10.7 приведены руководства и рекомендации по погрузочно-разгрузочным работам и установке подводных буев. В
10.7.4 рассмотрены общие аспекты и представлены примеры порядка установки подводных буев и их плавучих емкостей.
10.7.2 Погрузочно-разгрузочные работы
Основные проблемные вопросы при выполнении погрузочно-разгрузочных работ с подводным буем - это подъемные работы, необходимые для его развертывания под водой; в связи с чем необходим тщательный предварительный анализ (см.
10.2.12.3). Кроме того, плавучие емкости подводного буя могут быть герметизированы, пока они находятся на судне. Конкретные усилия должны быть сосредоточены на снижении риска воздействия на арку по отношению к верхним конструкциям во время погрузочно-разгрузочных работ, чтобы предотвратить не только возможные разрывы под давлением в определенных случаях, но и повреждение чувствительных элементов, таких как планки с обухом и скобы. Чем глубже местоположение подводного буя, тем больше может быть внутреннее давление плавучих емкостей (чтобы нейтрализовать нагрузки под давлением) и, следовательно, тем больше жесткая сила возможного разрыва емкости под давлением. В перспективе следует учитывать, что давление плавучей емкости низкое по сравнению со многими другими потенциальными системами под давлением, обычно находящимися на поверхности.
10.7.3 Монтаж. Подводные буи
10.7.3.1 Существует несколько способов установки подводного буя, некоторые из них показаны на
рисунке 10.6 и
10.7, например установка гибкой трубы с первым концом, соединенным с судном. Данный метод подходит не для всех применений и может быть изменен. Судно на
рисунках 10.6 и
10.7 представлено схематически.
| |
а) Втягивание соединительной арматуры райзера | б) Погружение систем забортного подводного буя |
| |
в) Погружение фланца нижнего конца райзера | г) Установленная система |
Примечания
1 Данная процедура основана на подсоединении гибкой трубы сначала и последующей установке от гибкой трубы. Данную процедуру можно проводить в обратном порядке.
2 Горизонтальная установка может быть заменена на вертикальную.
Рисунок 10.6 - Стандартный порядок монтажа плавного
S-райзера
| |
а) Втягивание соединительной арматуры райзера | б) Погружение забортной системы подводного буя |
| |
в) Погружение фланца нижнего конца райзера | г) Установленная система |
Рисунок 10.7 - Стандартный порядок монтажа крутого S-райзера
Как правило, установка включает некоторые или все нижеприведенные этапы:
- гибкие трубы могут быть присоединены к подводному бую до опускания установки через среднюю линию воды. В таком случае все хомуты устанавливают на этом этапе;
- подводный буй присоединяют к подъемному оборудованию и опускают через среднюю линию воды;
- вся балластная вода в плавучих емкостях вытесняется газом, а в емкости может нагнетаться давление;
- гибкие трубы, если не готовы к подсоединению, устанавливают друг за другом над подводным буем. Хомуты могут предварительно присоединять к гибким трубам, и на подводном буе могут проводить соединения после установки над ним гибкой трубы.
10.7.3.2 Может потребоваться подсоединить хомуты к подводному бую для того, чтобы опустить через среднюю линию воды, так как его конструкция обладает положительной плавучестью сама по себе. Как вариант, плавучие емкости могут быть заполнены балластной водой, чтобы их можно было погрузить.
10.7.3.3 Подводные буи должны опускаться через среднюю линию воды только тогда, когда условия такие же или менее жесткие, чем условия, рассмотренные на этапе проектирования, при оценке воздействия гидродинамических нагрузок на подводный буй.
10.7.3.4 Если гибкие трубы лежат на морском дне с учетом будущего извлечения после размещения на морском буе, длина гибкой трубы на морском дне должна быть достаточной, чтобы обеспечить стабильность.
10.7.4 Установка. Плавучие емкости
10.7.4.1 При удалении морской воды из затопленных плавучих емкостей необходимо гарантировать, что удалено максимально возможное количество морской воды, чтобы снизить вероятность внутренней коррозии емкости в течение срока службы и гарантировать, что внутри осталось минимально возможное количество воды для отклонения плавучести. Должна быть возможность проверки уровней воды в плавучих емкостях.
10.7.4.2 Нагнетать давление в плавучих емкостях необходимо до давления, указанного в проекте. Оборудование, используемое для измерения такого давления, следует калибровать заранее.
10.7.4.3 Впускные клапаны плавучих емкостей следует тщательно проверять на наличие повреждений до развертывания через среднюю линию воды, поскольку такие клапаны являются особо значимыми элементами системы подводных буев.
10.7.4.4 Предусмотренное подъемное оборудование должно соответствовать более строгим требованиям по подъему в том случае, если плавучие емкости будут наполнены балластной водой.
10.8 Управление целостностью
10.8.1 Общие сведения
В
подразделе 10.8 представлены руководства и рекомендации по управлению целостностью для подводных буев, включая возможные дефекты.
10.8.2 Типы неисправностей и дефекты
В
таблице 6 приведены возможные дефекты для подводных буев.
10.8.3 Методы мониторинга. Общие сведения
10.8.3.1 Методы мониторинга для канатов, оснований канатов и хомутов представлены в
11.8.3,
12.5.3 и
14.8.3 соответственно.
10.8.3.3 Снижение плавучести в соответствии с
дефектом 1 (см.
таблицу 6) может быть очевидным во время общего осмотра, если только снижение плавучести не сконцентрировано на определенной стороне подводного буя и не очевидно по наклону подводного буя к горизонтали. Можно косвенно определить, если установлены системы наблюдения за натяжением тросов, что постоянное снижение среднего напряжения может указывать на снижение плавучести.
10.8.3.4 Сложно определить чрезмерный изгиб или разрушение гибкой трубы в соответствии с
дефектами 3 и
4 (см.
таблицу 6), если отсутствует соответствующее повреждение внешней оболочки.
10.8.3.5
Дефект 5 (см.
таблицу 6) будет очевидным при проверках управления целостностью, но его также можно обнаружить при использовании устройств для обнаружения утечек в плавучих емкостях. Из-за обычных уровней обрастания стационарные устройства для обнаружения утечек могут быть нецелесообразными.
10.8.3.6 Во время общего осмотра раму подводного буя и плавучие емкости следует проверять на наличие повреждений. Особо критичные повреждения - это повреждения, которые увеличивают склонность плавучей емкости к неисправности. Подводный буй необходимо обследовать в отношении любых наклонов по горизонтали, которые могут указывать на потерю или снижение плавучести. Отклонение можно обнаружить при использовании инклинометров в плавучих емкостях. Из-за обычных уровней обрастания стационарные устройства для определения уровней могут быть нецелесообразными.
10.8.3.7 Общий осмотр должен подтвердить, находится ли обрастание морскими организмами в пределах, предусмотренных расчетом подводного буя. Обрастание, превышающее расчетные значения, может негативно влиять на реакцию системы гибкой трубы и приводить к нарушению расчетных критериев гибкой трубы.
10.8.4 Методы мониторинга. Плавучие емкости
10.8.4.1 Необходимо рассмотреть включение инклинометра в подводный буй, так как он может обнаружить дисбаланс подводного буя, вызванный затоплением плавучей емкости или неисправностью троса согласно
дефектам 5 и
7 (см.
таблицу 6) соответственно.
10.8.4.2 Необходимо проверить наполнительные клапаны, чтобы гарантировать их работоспособное состояние.
10.8.5 Методы мониторинга. Элементы плавучести
Во время общего осмотра внешне видимые поверхности элементов плавучести следует проверять на наличие повреждений. Внешняя оболочка должна быть обследована в отношении разрывов, так как они будут влиять на защиту и устранять ее от подстилающего материала элемента плавучести. Необходимо учитывать, что проверить все элементы плавучести или всю поверхность таких внешне видимых элементов из-за их размещения в раме подводного буя не всегда возможно.
10.9 Вывод из эксплуатации. Подводные буи плавучих емкостей
При выводе системы гибких трубопроводов с подводным буем из эксплуатации необходимо предпринять предупредительные меры из-за увеличения перепада давления между внутренней и внешней частями подводного буя при его подъеме на поверхность. Любые дефекты плавучей емкости подводного буя, такие как коррозия, могут привести к неисправности плавучей емкости во время подъема, так как увеличивается перепад давления. Такие слабые точки могут проявлять себя на мелких глубинах, где перепад давления меньше. Одна из возможных смягчающих мер - просверлить отверстия на нижней части плавучей емкости с помощью ТНПА, чтобы давление смогло выровняться до значения, обеспечивающего поднятие плавучей емкости на поверхность.
11.1 Область применения
Нижеприведенные подразделы относятся к канатам подводных буев, используемых в устройствах гибких райзеров с канатами. Рекомендации по хомутам подводных буев и канатов приведены в
разделах 10 и
13 соответственно. Положения
раздела 11 также могут применяться для гибридных систем канатов, т.е. при наличии сочетания цепей и синтетических канатов.
11.2 Вопросы проектирования
11.2.1 Общая информация
В
ГОСТ Р 59307 указаны требования к проектированию канатов. Целью данного пункта являются разработка и предоставление руководств по проектированию канатов в соответствии с требованиями
ГОСТ Р 59307.
11.2.2 Обзор проектирования
Проектирование каната для данного состояния гибкой трубы, как правило, проводят на следующих этапах:
- выбор типа используемого каната, т.е. цепь, проволочный канат или синтетический канат. Руководство по выбору материалов представлено в
11.3;
- определение требований к защите, такой как покрытия или защитные кожухи, в зависимости от конкретного случая (см.
11.2.5);
- проведение ряда динамических анализов гибкой трубы при использовании предварительных свойств канатов;
- общий анализ определяет длину канатов, необходимую для получения нужной конфигурации гибкой трубы, и восприятия максимальных нагрузок, возникающих при натяжении;
- канат выбирают таким образом, чтобы он мог выдерживать максимальные натяжения и циклические натяжения в определенных вариантах нагрузки с учетом необходимых коэффициентов прочности;
- канат выбирают из набора стандартных размеров. Способность каната выдерживать статическую нагрузку обусловлена значениями минимальной разрушающей нагрузки/минимального сопротивления разрыву с учетом необходимого коэффициента прочности;
- определяют соответствующие виды концевых заделок каната для его соединения с подводным основанием и подводным буем.
Концевые заделки должны выдерживать нагрузки, вызванные натяжением каната, с учетом концентраций напряжения. Способность средства соединения выдерживать статическую нагрузку указана в значениях допустимой рабочей нагрузки.
11.2.3 Проектирование канатов. Общие сведения
11.2.3.1 В данном пункте даны рекомендации по проектированию, общие для тросов подводного буя и канатов гибкой трубы. Рекомендации конкретно по канатам гибкой трубы приведены в
11.2.7.
11.2.3.2 Рекомендации по проектированию и анализу канатов, цепей и проволочных канатов представлены в
ГОСТ 3241,
ГОСТ 30188; рекомендации по проектированию и анализу синтетических канатов - в
ГОСТ ISO 9554,
ГОСТ 30055.
11.2.3.3 Затруднительно определить необходимую длину каната по общим параметрам системы. Например, высоту каната подводного буя можно установить по высоте основания каната, размерам рамы подводного буя и указанной высоте гибкой трубы над морским дном.
11.2.3.4 В соответствии с
ГОСТ Р 59307 в анализе напряжения средств соединения должны быть учтены углы канатов в трех измерениях. При конфигурации райзера с канатами канат, вероятнее всего, будет двигаться в сторону райзера, наполненного продуктом с более низкой плотностью, например газом. В системе подводных буев канат, вероятнее всего, будет двигаться в сторону оборванного прилегающего каната.
11.2.4 Средства соединения
11.2.4.1 Согласно
ГОСТ Р 59307 соединение каната с подводным буем или хомутом каната с основанием каната должно быть организовано таким образом, чтобы на канат воздействовали только нагрузки натяжения. При использовании хомута каната это достигается путем применения шарнирного кольца в хомуте каната, которое обеспечивает соединение каната гибкой трубы со сборкой хомута без натяжения. Пример такой сборки показан на
рисунке 11.1, где шарнирное кольцо размещено слева от болтовой сборки. На другом конце каната крюк и гнездовое устройство могут обеспечить свободное вращение на соединении основания каната.
Рисунок 11.1 - Шарнирное кольцо и болтовая сборка
хомута каната
11.2.4.2 При использовании подводного буя свободное вращение обычно достигается путем свободного вращения планок с обушком на раме подводного буя и тем, что они обеспечивают свободное вращение, предотвращающее любые торсионные нагрузки или нагрузки момента изгиба для каната.
Синтетические канаты и канаты из проволоки оснащены защитными кожухами от коррозии (только канаты из проволоки), износа, попадания посторонних частиц и укуса рыб (последние два относятся только к синтетическим канатам). Такую защиту следует рассматривать на основании сопротивления оголенного каната подобным воздействиям. Установленные допуски на коррозию могут устранить необходимость в защитном покрытии для цепных канатов. Нужно отметить, что покрытия на цепях могут быть повреждены во время транспортировки и установки, и, таким образом, невозможно полагаться только на коррозионную защиту.
11.2.6 Противокоррозионная защита
Если не предусмотрены дополнительные свойства металлических тросов в расчетах системы катодной защиты подводных буев или хомутов канатов, для троса должна быть предусмотрена специальная система противокоррозионной защиты. Цепь, как правило, не подключают к системе катодной защиты. Вместо этого выбирают установленный допуск на коррозию. Согласно
ГОСТ Р 59307 допуск на коррозию должен соответствовать стандартам.
Проволочный канат может быть защищен от коррозии при применении внешнего кожуха, обычно изготовленного из полиэтилена или полиуретана. Все проволоки должны быть оцинкованными.
11.2.7 Проектирование каната гибкой трубы
Необходимо рассмотреть использование вспомогательного соединения каната, которое отдельно присоединяется к основанию каната для обеспечения запасного пути нагружения в конфигурации райзера с канатами.
Возможные дефекты, которые могут произойти у канатов подводного буя и гибкой трубы, приведены в
таблице 7, в которой также указаны соответствующие проектные решения/стратегии.
Таблица 7
Возможные дефекты канатов
Дефект | Последствие | Возможная причина | Возможное исправление | Проектное решение/изменяемый параметр |
| а) Чрезмерное натяжение и возможная неисправность оставшихся канатов; б) дисбаланс подводного буя, приводящий к изменению конфигурации и возможной неисправности гибкой трубы; в) отделение подводного буя от основания каната и возможное ударное воздействие подводного буя на поверхностные конструкции; г) потеря конфигурации и возможная неисправность гибкой трубы | б) удар от падающих объектов или другой подводной конструкции (например, швартовный конец); в) усталостная поломка; г) коррозия (только металлические канаты); д) разрыв отдельных проволок и прядей; е) неисправность сварного соединения (только металлические канаты); ж) заводской брак (например, термическая обработка не соответствует техническим требованиям); и) старение материала из-за воздействия морской воды (только синтетические канаты); к) водородная хрупкость; л) ползучесть (только синтетические канаты); м) неправильное проектирование (например, значение безопасной рабочей нагрузки слишком низкое) | а) Если при начальном проектировании потеря троса не оценивалась, необходимо исследовать с помощью общего анализа при использовании рабочих параметров воздействие потери кабеля-троса на расчетные критерии гибкой трубы и целостность подводного буя; б) замена каната на месте | а) Выбор материала (калибр цепи); б) изменение типа каната (т.е. цепи проволочного каната или синтетического материала); в) увеличение значения минимальной разрывной нагрузки/минимального разрывного усилия каната; г) выбор защитного кожуха; д) проектирование системы катодной защиты (только для стальных канатов и цепей) |
2 Неисправность средств соединения | Последствия в соответствии с 1 | б) удар от падающих объектов или другой подводной конструкции (например, швартовный конец); в) усталостная поломка; г) коррозия; д) износ; е) неисправность сварного соединения; ж) заводской брак (например, термическая обработка не соответствует техническим требованиям); и) водородная хрупкость; к) неправильное проектирование (например, значение безопасной рабочей нагрузки; л) неправильная установка (например, шплинты скобы неправильно закреплены болтами); м) повреждение во время установки | | а) Выбор материалов; б) изменение типа средств соединения; в) увеличение значения безопасной рабочей нагрузки средств соединения; г) проектирование системы катодной защиты |
3 Изношенный канат (только синтетические канаты) | а) Чрезмерное напряжение каната и возможная неисправность каната; б) возможные последствия в соответствии с 1 | а) Ударное воздействие или износ при контакте с другими подводными конструкциями; б) упавшие объекты; в) объедание рыбами; г) повреждение во время погрузочно-разгрузочных работ, хранения, транспортировки или установки; д) упавшие объекты; е) объедание рыбами; ж) повреждение во время погрузочно-разгрузочных работ, хранения, транспортировки или установки | а) Запрос доступа у производителя каната к изношенному канату и воздействие на целостность подводного буя или гибкой трубы; б) если при начальном проектировании потеря каната не оценивалась, необходимо исследовать с помощью общего анализа при использовании воздействия рабочих параметров потери каната на расчетные критерии гибкой трубы и целостность подводного буя; в) замена каната на месте | а) Выбор материалов; б) заключение каната в защитный кожух |
4 Показания датчиков системы катодной защиты отличаются от технических требований для средств соединения | Возможная коррозия средств соединения | а) Недостаточное соединение с системой катодной защиты; б) сломан(ы) анод(ы); в) неправильное проектирование системы катодной защиты (т.е. неправильные массы анодов) | Обсуждение с производителем того, какой промежуток времени текущая система катодной защиты может обеспечивать защиту. Установка усовершенствованных анодов на длительный срок | Проектирование системы катодной защиты |
5 Коррозия средств соединения | Возможная неисправность конструкции | а) Чрезвычайно коррозионная среда; б) неправильная защита системы катодной защиты; в) повреждение системы покрытия краской; г) недостаточное соединение с системой катодной защиты; д) неправильное проектирование (например, выбор материалов, проектирование системы катодной защиты) | а) Обсуждение с производителем целостности конструкции с коррозией; б) установка усовершенствованных анодов на длительный срок | а) Выбор материалов; б) проектирование системы катодной защиты |
11.3.1 Общие сведения
В
подразделе 11.3 указаны материалы, которые обычно используют в канатах, и представлены их общие рабочие характеристики.
11.3.2 Материалы канатов
11.3.2.1 Цепи и проволочные канаты сделаны из стали. Минимальные требования к свойствам швартовной цепи установлены в
ГОСТ 5875; минимальные требования к свойствам проволочного каната - в
ГОСТ 3241. Как правило, цепь более прочная, чем проволочный канат, в отношении сопротивления износу, хотя обладает намного большим весом для данной допускаемой нагрузки от напряжения.
11.3.2.2 Синтетические канаты могут быть изготовлены из таких материалов, как полиэстер, полиэтилен и арамидный волоконный композит. Преимущество синтетических канатов заключается в меньшем весе, прилагаемом к подводному бую или к системе гибкой трубы с канатами, чем у цепи или проволочного каната.
11.4.1 Общие сведения
Целью
подраздела 11.4 является предоставление рекомендаций по местному анализу средств соединения и ползучести каната и по способам анализа усталости.
11.4.2 Местный анализ
Местный анализ средств соединения каната может быть выполнен путем исследования конечных элементов, чтобы определить концентрации напряжения. Сетка должна быть достаточно плотной, чтобы захватить геометрию средств соединений. Такой анализ включает контактные поверхности, и, следовательно, требуется функциональность контактных элементов, чтобы точно моделировать поведение. Местный анализ должен оценить напряжения, прилагаемые направлениями наиболее критичных нагрузок из-за ориентации каната в трех измерениях.
11.4.3 Анализ ползучести
Канат, прикрепленный к раме подводного буя, подвергают постоянным нагрузкам в условиях окружающей среды. Таким образом, канат в конфигурации гибкого райзера с канатами также подвергают постоянным нагрузкам. Поскольку синтетические тросы изготавливают из полимерных материалов, в процессе проектирования необходимо учитывать ползучесть. Ползучесть необходимо проверить, чтобы удостовериться в том, что длина каната из-за ползучести не будет негативно влиять на конфигурацию гибкого трубопровода и в том, что на канат не воздействует неисправность в результате ползучести на некоторой точке в течение срока службы.
11.4.4 Анализ усталости
Канат подвергают колебаниям натяжений в течение срока службы. Испытания усталости канатов следует проводить, если данных об усталости недостаточно (см.
11.5).
11.5 Испытания опытного образца
11.5.1 Применение испытаний опытного образца
Единственными испытаниями опытного образца на пригодность канатов являются испытания усталости, так как способность выдерживать нагрузку при статических нагрузках проверяют приемо-сдаточными нагрузочными испытаниями после производства в соответствии с
ГОСТ Р 59307. Для канатов из цепей или проволочных тросов кривые усталости, как правило, широко известны, и, если можно определить усталостный ресурс по таким имеющимся кривым, испытания усталости не нужны. Однако анализ усталости синтетического каната менее определен. Рекомендуется, чтобы было проведено по крайней мере одно квалификационное испытание усталости до применения кривых усталости, чтобы показать, что канат обладает, как минимум, эквивалентным сопротивлением к усталости относительно представленного на выбранной расчетной кривой.
11.5.2 Динамическое испытание синтетического каната
Целью динамического испытания синтетического троса является проверка срока службы при циклических нагрузках в определенных условиях.
11.6 Изготовление
11.6.1 Общие сведения
В
ГОСТ Р 59307 приведены требования к изготовлению канатов. В данном подразделе описываются процессы, выполняемые при изготовлении канатов.
11.6.2 Цепи
Цепь производят путем гибки прямых цилиндрических заготовок в изогнутые звенья под воздействием теплоты. После соединения с прилегающим звеном концы каждого звена сваривают вместе, как правило, стыковой сваркой. Проводят осмотр звеньев и проверку каждого сварного соединения звена магнитопорошковым методом.
11.6.3 Проволочный канат
Производство проволочного каната начинают с заготовки для проволоки. Заготовку для проволоки очищают, оцинковывают и вытягивают до окончательного размера. Цинкование обеспечивает противокоррозионную защиту. Затем проволоки свивают спирально вокруг сердцевины в один или несколько слоев с помощью усовершенствованной обработки с компьютерным управлением. При необходимости, полимерный кожух прессуют вокруг стального каната.
11.6.4 Синтетические канаты
В производство синтетического каната обычно входят следующие процессы:
- скручивание параллельных волокон в начальную нить;
- скручивание начальной нити в окончательную нить;
- свивание окончательной нити в пряди;
- формирование прядей в канаты.
При необходимости, вокруг проволочного каната устанавливают полимерный кожух.
11.7 Погрузочно-разгрузочные работы и монтаж
11.7.1 Общие сведения
В
11.7 приведены руководства и рекомендации по погрузочно-разгрузочным работам и монтажу канатов. Положения, изложенные в
11.7.3, относятся к общим вопросам и описывают порядок монтажа.
11.7.2 Погрузочно-разгрузочные работы
Необходимо проявлять осторожность во время всех погрузочно-разгрузочных и установочных работ для того, чтобы предотвратить повреждение защитных кожухов тросов, при их наличии.
11.7.3 Монтаж. Общие сведения
Монтаж каната включает соединение концов каната через средства соединения с основанием троса и с подводным буем или хомутом троса. Некоторые или все подобные соединения можно осуществить на поверхности. Соединения, которые выполняют под водой, могут быть выполнены с участием или без участия водолазов. В соответствии с
ГОСТ Р 59307 от производителя требуется предоставить порядок выполнения надежного соединения средств соединения троса с основанием троса и средств соединения троса с подводным буем или хомутом троса.
11.7.4 Монтаж канатов гибкого трубопровода
Присоединение канатов к хомуту каната может быть выполнено на поверхности, так как хомут троса собирают вокруг гибкой трубы на поверхности. Соединение каната с основанием троса обычно исполняют под водой. В таком случае конец каната у основания должен быть легкодоступным для того, чтобы облегчить его извлечение водолазами или ТНПА.
11.8 Управление целостностью
11.8.1 Общие сведения
В
подразделе 11.8 представлены руководства и рекомендации по управлению целостностью, включая возможные дефекты.
11.8.2 Типы неисправностей и дефекты
В
таблице 7 указаны возможные дефекты канатов.
11.8.3 Методы мониторинга. Общие сведения
11.8.3.1 Общий осмотр проводят для проверки
дефектов 1 -
5, описанных в
таблице 7. Может потребоваться удаление обрастания для того, чтобы надлежащим образом проверить канат. Обрастание можно удалить с помощью струи воды.
11.8.3.2 Оборудование по наблюдению за натяжением может быть полезным для определения рабочего напряжения и сравнения с уровнями натяжения, учтенными на этапе проектирования. Оно также может быть использовано для определения возможных потерь плавучести подводного буя, так как постоянное снижение уровней натяжения может указывать на снижение плавучести.
11.8.3.3 Должна быть предусмотрена четко видимая маркировка на кожухе или видимой части каната, чтобы можно было проконтролировать перекручивание каната. Ее можно использовать для определения того, подвергается ли трос торсионным нагрузкам.
11.8.3.4 Цепи и проволочные канаты должны быть проверены на наличие коррозии основной части каната и концов и средств соединения.
11.8.3.5 Концы и средства соединения канатов, прилегающие к ним, должны быть проверены на наличие износа в результате контакта между ними.
11.8.3.6 В дополнение к
5.9.7.5 необходимо выполнить исследование катодной защиты на анодах средств соединения.
11.8.3.7 Синтетические канаты следует проверить на наличие поврежденных зон по их длине, что может указывать на повреждение в результате износа.
11.8.3.8 Защитные внешние кожухи тросов должны быть проверены, чтобы гарантировать их надлежащее состояние и обеспечивать необходимую защиту для канатов.
12 Основания райзеров и канатов
12.1 Область применения
12.1.1 Положения
раздела 12 относятся к основанию райзеров и основаниям канатов, последние могут быть использованы в подводных буях или подсоединены через канат к хомуту каната. Рекомендации по подводным буям, канатам и хомутам канатов указаны в
разделах 10,
11 и
15 соответственно.
12.1.2 Рекомендации по основаниям райзеров в следующих пунктах основаны, главным образом, на передаче нагрузок от гибкой трубы. Рекомендации по основаниям тросов базируются на передаче нагрузки от тросов. Проекты фундамента и арматуры основания тросов не учитывают, но даны ссылки на соответствующие стандарты в этих областях. Эксплуатационные требования представлены в
ГОСТ Р 59307, включая требования относительно данных, которые использовались для проекта фундамента.
12.2 Вопросы проектирования
12.2.1 Общие сведения
В
ГОСТ Р 59307 указаны требования к проектированию основания райзера и троса. Целью
подраздела 12.2 являются разработка и предоставление руководств по проектированию основания райзера и троса в соответствии с требованиями
ГОСТ Р 59307.
12.2.2 Обзор проектирования
Проектирование основания для данного состояния гибкой трубы, как правило, проводят на следующих этапах:
- выполнение ряда динамических анализов системы гибкой трубы. Таким образом, определяют подходящий угол соединения гибкой трубы с основанием райзера. Также предусматривают нагрузки сжатия на точке соединения гибкой трубы, на которые рассчитывается основание райзера. Для оснований тросов общий анализ определит натяжения канатов и диапазон углов канатов в трех измерениях. Руководства по общему анализу основания райзера и основания каната приведены в
12.3.3 и
12.3.4 соответственно;
- проектирование конструкции (см.
12.2.2);
- проектирование фундамента (см.
12.2.3);
- проектирование основания с учетом способа монтажа (см.
12.2.8);
- при необходимости проведения расчетов усталостного повреждения в соответствии с
ГОСТ Р 59307 для оснований райзера и каната.
12.2.3 Проектирование фундамента
12.2.3.1 Проект фундамента должен учитывать состояние почвы, очистку и силы, передаваемые основанию гибкой трубой или тросами. Соответствующие стандарты проектирования фундамента перечислены в
ГОСТ Р 59307.
12.2.3.2 Данные о течениях и волнах могут быть использованы для определения скорости воды и, следовательно, нагрузок трения, воздействующих на основание. Необходимо отметить, что гидродинамическое воздействие волн в большей степени относится к мелким глубинам. Гидродинамические данные могут быть применены для расчета очистки.
12.2.4 Проектирование основания райзера
К рассматриваемому проектированию могут относиться следующие факторы:
- гравитационная или свайная конструкция;
- установка изоляции или разветвления труб;
- порядок аварийного отключения;
- конфигурация райзера.
Такие данные необходимо полностью оценить до выполнения проектирования.
12.2.5 Проектирование основания канатов
12.2.5.1 Рекомендации по проектированию средств соединения канатов указаны в
11.2.4.
12.2.5.2 В соответствии с
ГОСТ Р 59307 соединение гибкой трубы с основанием каната должно быть рассмотрено в общем анализе. Зазор между гибкой трубой и основанием каната должен исключать их контакт в процессе эксплуатации, т.к. это может привести к истиранию покрытия и последующему повреждению трубы. Область возможного контакта гибкой трубы и основания каната представлена на
рисунке 12.1.
1 - гибкая труба; 2 - хомут; 3 - область возможного
контакта; 4 - канат; 5 - основание каната
Рисунок 12.1 - Зона возможного контакта гибкой трубы
и основания каната
Возможные дефекты, которые могут возникать у оснований райзеров и оснований канатов, указаны в
таблице 8, в которой также перечислены соответствующие проектные решения/стратегии.
Таблица 8
Возможные дефекты оснований райзеров и канатов
Дефект | Последствие | Возможная причина | Возможное исправление | Проектное решение/изменяемый параметр |
1 Неисправность конструкционных компонентов | а) Основание райзера; б) возможное отделение гибкой трубы или трубопровода от основания; в) утечка скважинной продукции; г) основание троса; д) возможный обрыв каната и последствия в соответствии с | б) удар от подводной конструкции (например, швартовный конец); в) усталостная поломка; г) коррозия; д) неисправность сварного соединения; е) заводской брак (например, термическая обработка не соответствует техническим требованиям); ж) водородная хрупкость; и) неправильная конструкция | Обсуждение с производителем целостности основания при определенной неисправности | а) Выбор материала; б) усиление конструкционной прочности, например увеличение размеров конструкционных компонентов; в) замена конфигурации рамы основания райзера, чтобы изменить распределение нагрузки; г) проектирование сварных соединений; д) проектирование системы катодной защиты |
2 Неисправность крепежных элементов | а) Отсоединение конструкционных элементов; б) основание тросов; в) возможное разрушение средств соединения и каната и последствия в соответствии с 1 (таблица 7) | б) усталостная поломка; в) коррозия; г) заводской брак (например, термическая обработка не соответствует техническим требованиям); д) водородная хрупкость; е) неправильная конструкция (слишком маленький размер креплений) | а) Обсуждение с производителем целостности основания при пропущенных крепежных элементах; б) возможность установить сменные крепежные элементы, если необходимо гарантировать целостность гибкой трубы или основания | а) Выбор материалов; б) увеличение размера крепления; в) изменение предварительной нагрузки крепежа; г) проектирование системы катодной защиты |
| а) Основание райзера; б) чрезмерная нагрузка и возможная неисправность гибкой трубы; в) чрезмерная нагрузка на прилагаемую гибкую трубу и основание каната; г) возможное изменение положения основания и получившееся изменение конфигурации гибкой трубы, и возможная неисправность гибкой трубы | б) неправильное проектирование; в) недостаточная стабильность основания; д) неправильная установка (например, неправильно установлен балласт) | Улучшение балласта в основании, если возможно | Проектирование фундамента |
4 Скольжение или скатывание основания | Последствия в соответствии с 3 | б) неправильное проектирование (недостаточная стабильность основания); в) очистка морского дна; г) неправильная установка (например, неправильно установлен балласт) | Улучшение балласта в основании, при возможности | Проектирование фундамента |
5 Повреждение соединения гибкой трубы или трубопровода (только основания райзера) | Возможное повреждение соединительной арматуры или утечка на соединении | б) удар от подводной конструкции (например, швартовный конец); в) усталостная поломка; г) коррозия; д) неисправность сварного соединения; е) заводской брак; ж) водородная хрупкость; и) неправильная конструкция | а) Консультация с производителем гибкой трубы/трубопроводов по целостности трубы при повреждении; б) если повреждение ограничено внешней оболочкой, промывка кольцевого пространства ингибитором коррозии; в) установка ремонтного хомута в поврежденной зоне | Повторная оценка сил сжатия на соединении гибкой трубы |
6 Неправильное положение | Последствия в соответствии с 3 | б) неправильное проектирование (например, недостаточная стабильность основания); в) неправильная установка (например, основание райзера установлено с неправильными координатами) | Необходимо убрать основание и установить заново | Проектирование фундамента |
7 Неисправность средств соединения (только основания канатов) | | б) усталостная поломка; в) коррозия; г) износ; д) неисправность сварного соединения; е) заводской брак (например, термическая обработка не соответствует ТТ); ж) водородная хрупкость; и) неправильное проектирование (например, значение безопасной рабочей нагрузки слишком низкое); к) неправильная установка (шплинты скобы неправильно закреплены); л) повреждение во время установки | а) Если при начальном проектировании потеря кабеля-троса не оценивалась, исследовать с помощью общего анализа при использовании воздействия рабочих параметров потери кабеля-троса на расчетные критерии гибкой трубы; б) замена средств соединения на месте | а) Выбор материалов; б) изменение типа средств соединения; в) увеличение значения безопасной рабочей нагрузки средств соединения; г) проектирование системы катодной защиты |
8 Удаление лакокрасочного покрытия | Возможная коррозия конструкции | а) Повреждение во время погрузочно-разгрузочных работ, хранения, транспортировки, установки или обслуживания; б) заводской брак (например, покрытие нанесено неправильно); в) неправильное проектирование (выбор системы покрытия) | См. отчет по проектированию/обращение с производителем по вопросам области нарушения покраски, на которую рассчитана система катодной защиты. Установка усовершенствованных анодов, если зона превышает расчетную | а) Выбор системы покрытия краской; б) проектирование системы катодной защиты |
9 Показания датчиков системы катодной защиты отличаются от технических требований | Возможная коррозия конструкции | а) Отключены кабели системы катодной защиты; б) сломан анод; в) неправильное проектирование системы катодной защиты (неправильные массы анодов) | а) Обсуждение с производителем того, в течение какого промежутка времени текущая система катодной защиты может обеспечивать защиту; б) установка усовершенствованных анодов на длительный срок | Проектирование системы катодной защиты |
| Возможная неисправность конструкции | а) Чрезвычайно коррозионная среда; б) неправильная защита системы катодной защиты; в) повреждение системы покрытия краской; г) отключение кабелей системы катодной защиты; д) неправильное проектирование (например, выбор материалов, проектирование системы катодной защиты) | а) Обсуждение с производителем целостности конструкции с коррозией; б) установка усовершенствованных анодов на длительный срок | а) Выбор материалов; б) проектирование системы катодной защиты |
12.2.7 Нагрузки
12.2.7.1 В соответствии с
ГОСТ Р 59307 в анализе усталости должны быть учтены вибрации, вызванные потоком газа и/или газожидкостной смеси в соответствующих случаях. Высокочастотные вибрации наблюдались в системах экспорта газа, нефти, газожидкостной смеси и нагнетания газа или воды. Поток сухого газа, проходящий через гибкий райзер и, особенно, через гофрированный профиль каркаса райзера, производит завихрения, которые впоследствии акустически взаимодействуют с соответствующим подводным и верхним трубопроводами. Это может привести к значительным уровням колебаний давления в трубе и прилегающей обвязке. В худшем случае это может привести к усталостным неисправностям.
12.2.7.2 Рекомендуется, чтобы все райзеры, которые используют для экспорта/импорта сухого газа, товарной нефти или газожидкостной смеси либо для впрыска при скорости потока свыше 1,5 м/с, экранировались на раннем этапе, чтобы снизить влияние вибрации газового или пробкового режима потока. В новых проектах, в которых планируется экспорт газа и/или впрыскивание через гибкие райзеры, проблема возможной вибрации решается посредством формирования обязательных требований к гибкой трубе, и/или соединительные трубные системы не должны быть чувствительны к возможным вибрациям. Акустические гасители или глушители также учитывают для уменьшения последствий данной проблемы.
12.2.8 Проектирование монтажа
12.2.8.1 Ограничения могут быть связаны с судами для монтажа и оборудованием в отношении массы оснований, которое они могут установить, и размеров основания. Основания райзеров могут обладать значительной массой, приблизительно от 50 до 200 т, поэтому целесообразно проверить, может ли имеющееся подъемное оборудование выдержать такую массу. Масса оснований тросов может достигать 200 т. Таким образом, это необходимо учитывать при проектировании основания. Если невозможно соблюсти грузоподъемность морского оборудования, единственным решением становится производство основания тросов в меньших секциях, которые опускаются на дно по отдельности.
12.2.8.2 Натяжение подъемных канатов и движения основания после погружения в воду рекомендуется определять с применением метода конечных элементов.
12.2.8.3 При производстве установки основания райзера согласно
ГОСТ Р 59307 требуется указать ограничения по доступному месту в отношении ширины, высоты и длины для размещения конструкции основания. Основания райзера, например, могут занимать значительное место на судне (размером не более 20 x 20 x 10 м), таким образом целесообразно проверить, имеет ли судно достаточное количество грузового пространства на борту.
12.3.1 Общие сведения
Целью
подраздела 12.3 является предоставление рекомендаций по способам анализа основания райзера и канатов.
12.3.2 Местный анализ
Основание обычно изготавливают из стандартных конструкционных элементов и пластин, которые сваривают и крепят друг к другу. Способы структурного анализа для таких конструкций широко известны и даны в нескольких промышленных стандартах, например перечисленных в
ГОСТ Р 59307. При анализе сложной геометрии и определении зон концентрации напряжений необходимо использовать исследование методом конечных элементов.
12.3.3 Общий анализ. Основание райзера
12.3.3.1 Общий анализ гибких труб следует использовать для определения реакционных нагрузок, воздействующих на основание райзера в точке подсоединения гибких труб. Такие нагрузки включают эффективное напряжение
T, сдвигающую силу
Fs и изгибающий момент
M, воздействующие на основание райзера, которые схематически представлены на
рисунке 12.2. На рисунке проиллюстрированы изгибающие моменты
M1 и
M2 и сдвигающие силы
Fs1 и
Fs2, действующие в горизонтальной и вертикальной плоскостях гибкой трубы, а также показано эффективное напряжение гибкой трубы
T.
| |
а) Горизонтальная плоскость | б) Плоскость гибкого трубопровода |
Рисунок 12.2 - Нагрузки основания райзера
12.3.3.2 Следует учитывать общий анализ для рассмотрения установки основания райзера. Гибкая труба может соединяться с основанием райзера на борту судна, затем опускается на дно. В таком случае основание райзера должно моделироваться точно с учетом его массы и гидродинамических свойств. Должна быть учтена масса воды, захваченной в основание райзера. Основание райзера может моделироваться как жесткая конструкция, т.е. назначением данных по жесткости элементам, которые используют для его моделирования. В анализе укладывания необходимо контролировать такие параметры, как эффективное натяжение и радиус изгиба гибкой трубы, натяжение подъемных тросов и пределы движения сборки. Также следует определить, имеется ли возможное соединение с судном в начале процедуры укладывания.
12.3.4 Общий анализ. Основание каната
Общий анализ гибкой трубы должен быть использован для определения силы натяжения каната и углов расположения каната относительно его основания. Углы расположения каната относительно его основания в горизонтальной и вертикальной плоскостях, а также направление действия силы натяжения каната показаны на
рисунке 12.3.
|
а) Горизонтальная плоскость |
| |
б) Вертикальная плоскость вдоль расположения гибкого трубопровода | в) Вертикальная плоскость поперек расположения гибкого трубопровода |
1 - угол между канатом и продольной осью основания
в горизонтальной плоскости; 2 - угол между канатом
и основанием в вертикальной плоскости вдоль расположения
гибкого трубопровода; 3 - угол между канатом и основанием
в вертикальной плоскости поперек расположения
гибкого трубопровода
Рисунок 12.3 - Углы расположения каната
относительно основания
12.4 Погрузочно-разгрузочные работы и монтаж
12.4.1 Общие сведения
В
подразделе 12.4 приведены руководства и рекомендации по погрузочно-разгрузочным работам и монтажу оснований райзеров и канатов. Положения, изложенные в
12.4.2, относятся к общим вопросам и описывают порядок монтажа.
12.4.2.1 Рекомендации по установке оснований относятся к следующим аспектам:
- транспортировка;
- проверка;
- подъем и спуск;
- посадка на грунт.
Такие рекомендации более применимы для тех оснований, которые устанавливают отдельно; основания райзеров можно монтировать вместе с гибкой трубой.
12.4.2.2 Необходимо рассмотреть испытания операций ТНПА на берегу с емкостью, если операции ТНПА достаточно сложны или если операторы ТНПА не имеют опыта участия в подобных операциях. Опытная установка должна быть выполнена для каждого типа основания райзера или для каждой процедуры установки.
12.4.2.3 Основание райзера следует проектировать или устанавливать таким образом, чтобы райзер не перемещался сверху вниз при спуске на морское дно. Это может произойти, если центр тяжести основания райзера слишком высокий и имеются чрезмерные торсионные нагрузки гибкой трубы из-за эффективных натяжений при установке. Общий анализ должен быть использован для определения стабильности основания райзера во время такого спуска на дно.
12.4.2.4 Основание должно быть установлено только тогда, когда условия такие же или менее жесткие, чем условия, рассмотренные на этапе проектирования при оценке воздействия нагрузок волн и течений, так как основание опускается через среднюю линию воды.
12.4.2.5 Если основание райзера соединено с гибкой трубой, соединение необходимо испытать, чтобы проверить его герметичность.
12.5 Управление целостностью
12.5.1 Общие сведения
В
подразделе 12.5 представлены руководства и рекомендации по управлению целостностью, включая возможные дефекты.
12.5.2 Типы неисправностей и дефекты
Возможные дефекты основания райзера и каната указаны в
таблице 8.
12.5.3 Методы мониторинга. Общие сведения
12.5.3.1 Основание необходимо проверить для того, чтобы удостовериться в том, что оно не смещается от своего указанного положения на морском дне. Это может быть трудно определить, если отсутствуют ориентиры или очевидные признаки движения на морском дне.
12.5.3.3 Соединения и средства соединения тросов, прилегающие к ним, следует проверять на наличие износа в результате контакта между ними.
12.5.3.4 В дополнение к
5.9.7.5 необходимо выполнить исследование катодной защиты на анодах средств соединения.
13 Общие рекомендации по фиксирующим устройствам
13.1 Общие сведения
В
разделе 13 рассмотрены минимальные рекомендации по фиксирующим устройствам.
13.2 Вопросы проектирования
13.2.1 Расчетные критерии хомута
Согласно
ГОСТ Р 59307 осевой компонент усилия зажима должен быть по крайней мере в 1,5 раза выше максимальной осевой силы, воздействующей на гибкую трубу, чтобы предотвратить осевое соскальзывание. Могут возникнуть условия, когда целесообразно учитывать более высокий коэффициент прочности, например: при наличии неопределенности во входных данных общего проектирования или реакциях, воздействующих непосредственно на проектирование хомута. Однако если такой более высокий коэффициент прочности увеличивает давление зажима до уровня свыше максимально допустимого контактного давления гибкой трубы, то увеличение длины хомута может поддерживать необходимое значение зажима и снижать прилагаемое контактное давление.
13.2.2 Проектирование хомута
13.2.2.1 Необходимо отметить, что руководства по проектированию хомутов - общие по своему характеру, специальные руководства.
13.2.2.2 В соответствии с
ГОСТ Р 59307 системы крепления должен иметь некоторые средства, предотвращающие отсоединение системы в течение срока службы. Как правило, этого можно достичь при использовании контргаек на резьбе болтов, что предотвращает разбалтывание резьбовых соединений после затягивания.
13.2.2.3 Хомут после затяжки или на любом другом этапе не должен царапать или продавливать поверхность внешней оболочки гибкой трубы, не захватывать части внешней оболочки между сегментами хомута, так как гибкая труба будет повреждена.
13.2.2.4 Одним из способов физического восприятия воздействия допусков гибкой трубы является наличие нескольких сегментов хомута, как показано на
рисунке 13.1. Диаметр отверстия можно регулировать, изменяя расстояние между прилегающими сегментами. Поверхность хомута может быть гладкой или профилированной; последняя увеличивает силу трения. Выбор зависит от того, что наиболее приемлемо для материала внешней оболочки гибкой трубы. Другой способ восприятия воздействия допусков гибкой трубы - это использование податливой полимерной внутренней футеровки между гибкой трубой и корпусом хомута, как изображено на
рисунке 13.1.
1 - сегмент корпуса райзера; 2 - полимерная внутренняя
обшивка; 3 - гибкая труба
Рисунок 13.1 - Стандартная разбивка хомута
и полимерная внутренняя футеровка
Податливость внутренней футеровки позволяет воспринимать больший диапазон размеров гибкой трубы без нарушения требований к контактному давлению. Внутренняя футеровка также помогает снизить предварительные натяжения болтов, чтобы приспособиться под сжатия гибкой трубы. Когда гибкая труба сгибается, она снижает контактное давление. Для того чтобы удалить такие изменения и предотвратить соскальзывание хомута из-за недостаточного контактного давления, нужно увеличить предварительное натяжение болтов. Наличие внутренней полимерной футеровки уменьшает такое снижение контактного давления из-за увеличенной податливости по сравнению со сталью и, таким образом, снижает предварительные натяжения болтов, необходимые для удаления таких изменений контактного давления. Футеровка также помогает воспринять большие изменения определенных номинальных внешних диаметров гибкой трубы и может быть также профилированной, например при использовании ребер, что снижает ее жесткость по сравнению с эквивалентной твердой футеровкой.
13.2.2.5 Если внешний диаметр в заводском исполнении отсутствует, необходимо использовать небольшой допуск по внешнему диаметру.
13.2.2.6 Конструкция хомута также должна обеспечивать отсутствие острых краев, которые могут привести к локальному чрезмерному изгибу трубы.
13.3.1 Общие сведения
В
подразделе 13.3 указаны те материалы, которые обычно используют для полимерной внутренней футеровки зажимных устройств.
13.3.2 Материалы полимерной внутренней футеровки
Внутренняя футеровка может быть изготовлена из полиуретана и полихлоропрена. Материалы полимерной внутренней футеровки должны представлять следующие свойства:
- низкий уровень впитывания воды.
Примечание - Обычное впитывание воды состаренного образца полихлоропрена - 5%;
- сопротивление гидролизу;
- ограниченное ухудшение в результате старения;
- качественные характеристики в указанном температурном диапазоне (с учетом максимальной температуры внешней оболочки гибкой трубы);
- способность выдерживать постоянные нагрузки в течение срока службы, вызванные компрессионной силой зажима и расширением/сужением гибкой трубы без отделения хомута или неисправности материала из-за ползучести;
- модули сжатия и упругости при растяжении, которые позволяют воспринять расширения и сжатия гибкой трубы и силу зажима без излишнего напряжения или натяжения.
Примечание - Обычное удлинение при разрыве для полихлоропрена составляет около 400% (до старения);
- стабильная озоностойкость (относится только к таким условиям, при которых на материал воздействует воздух, например во время хранения).
13.4 Испытания опытного образца
13.4.1 Испытание зажимной способности хомута
13.4.1.1 Описание
Целью испытания зажимной способности хомута является определение того, при какой зажимной нагрузке на гибкой трубе хомут начнет соскальзывать. При конструкциях хомута за пределами текущей конструкции, включая хомут с резиновой внутренней футеровкой, дополнительная цель такого испытания может включать определение радиальной жесткости хомута. Данное значение силы может быть использовано при сравнении проектных расчетов, в частности при определении радиальной жесткости аналитическими средствами не является прямым. Необходимо установить максимальную длину, которая возможна для испытания на испытательной установке.
13.4.1.2 Порядок испытаний
13.4.1.2.1 Хомут должен собираться вокруг образца гибкой трубы, если возможно, или представлять макет гибкой трубы в натуральную величину. В последнем случае результаты испытания следует корректировать с учетом разницы трения между макетом и фактической гибкой трубой. Должна быть применена проверенная методика, указанная в документах, для регулировки калибровки такого трения. Сборка должна включать все компоненты, составляющие хомут, включая всю внутреннюю футеровку и все крепежные элементы, необходимые для фиксации данных компонентов на месте. Хомут следует собирать вокруг гибкой трубы с помощью крепежных элементов с такими же характеристиками и фиксировать с такой же силой зажима, как и было определено на этапе проектирования для работы. При возможности, необходимо измерить радиальную жесткость хомута.
13.4.1.2.2 Могут быть различные сочетания условий нагрузки, на которые рассчитывается хомут. В ходе испытания должна быть проверена прочность хомута в отношении наиболее критичных сочетаний условий нагрузки, как минимум. Наихудшее сочетание условий нагрузки может произойти во время установки. Для всех условий нагрузки необходимо приложить осевую силу, а силу, при которой происходит соскальзывание, следует зарегистрировать или определить. Если испытательная сила не приводит к соскальзыванию хомута, должна быть применена методика, указанная в документах, для экстраполяции силы при соскальзывании. Данная методика должна быть удостоверена физическим испытанием.
13.4.1.3 Критерии приемки
Осевая сила, при которой происходит соскальзывание, должна быть больше или равной максимальной осевой силе во время установки или работы, умноженной на коэффициент надежности зажима, который составляет как минимум 1,5 в соответствии с
ГОСТ Р 59307.
13.4.2 Испытание продолжительной ползучести хомута
13.4.2.1 Описание
Целью испытания продолжительной ползучести хомута является определение объема ползучести, которая воздействует на внутреннюю футеровку, или корпуса полимерных или композитных хомутов при приложении силы зажима в течение продолжительного времени. Необходимо установить максимальную длину, которая возможна для испытания на испытательной установке.
13.4.2.2 Порядок испытаний
13.4.2.2.1 Хомут следует собирать вокруг образца гибкой трубы, если возможно, или представлять макет гибкой трубы в натуральную величину. Сборка должна включать все компоненты, составляющие хомут, включая всю внутреннюю футеровку и все крепежные элементы, необходимые для фиксации данных компонентов на месте. Хомут должен собираться вокруг гибкой трубы с помощью крепежных элементов с такими же характеристиками и фиксироваться с такой же силой зажима, как и было определено на этапе проектирования для работы.
13.4.2.2.2 Необходимо применить все остальные постоянные нагрузки, которые будет испытывать внутренняя футеровка при работе. Хомут нужно оставить собранным на период времени, достаточный для определения необходимых свойств ползучести.
13.4.2.3 Критерии приемки
Полимерная внутренняя футеровка и/или корпус полимерного или композитного хомута не должны подвергаться компрессионной ползучести при рабочих нагрузках, если потерян хомут, и допускать перемещения гибкой трубы относительно себя.
13.5 Монтаж
13.5.1 Должны быть процедуры, гарантирующие правильные силы затяжки для крепежных элементов и канат, чтобы зафиксировать хомут на месте. Необходимо вести записи о применяемых силах зажима для каждого хомута. Неправильно прилагаемые силы могут привести к соскальзыванию хомута с места во время установки или эксплуатации.
13.5.2 Если корпус хомута состоит из большого количества отдельных сегментов (см.
рисунок 12.3), расстояние между сегментами должно быть одинаковым по окружности при установке хомута. Его можно обеспечить использованием деревянных прокладок, чтобы получить одинаковые промежутки, пока растет крутящий момент, затем прокладки следует убрать. Таким образом между сегментами остаются зазоры и сохраняется горизонтальное выравнивание при полном затягивании хомута.
13.5.3 В случае с подводными кабелями может быть значительное сжатие внешней оболочки на внутренних элементах из-за гидростатического давления. Это приведет к снижению диаметра подводного кабеля, который постепенно будет снова расширяться при затоплении пустот подводного кабеля. Это может привести к непредвиденному отсоединению хомутов во время установки. Для того чтобы решить такую задачу после проектирования, потребуется внедрить средства для преднамеренного затопления пустот подводного кабеля через верхний конец с помощью "окон затопления", вырезанных во внешней оболочке подводного кабеля с определенными интервалами, замедляя таким образом развертывание модулей, чтобы обеспечить время, достаточное для достижения выравнивания давления.
14.1 Область применения
14.1.1 Некоторые рекомендации, относящиеся к хомутам подводного буя, представлены в
5.2.11.
14.1.2 Рекомендации в
разделе 14 относятся к зажимным устройствам, используемым на гибких трубах, и не подходят для зажимных устройств подводных кабелей.
14.2 Вопросы проектирования
14.2.1 Общие сведения
В
ГОСТ Р 59307 указаны требования к проектированию хомутов подводных буев. Целью данного подраздела является предоставление руководств по проектированию в дополнение к требованиям
ГОСТ Р 59307.
К конкретным вопросам проектирования относятся:
- процесс проектирования;
- проектные критерии;
- расчетные нагрузки.
14.2.2 Обзор проектирования
Процесс проектирования хомута подводного буя представлен на схеме на
рисунке 14.1.
Рисунок 14.1 - Схема конструкции хомута подводного буя
Процесс проектирования хомута подводного буя, как правило, выполняют на следующих этапах:
- выбирают материалы на основании эксплуатационных требований, указанных в
ГОСТ Р 59307. Руководства по выбору материалов приведены в
14.3;
- проводят ряд динамических анализов конфигурации подводного буя и гибкой трубы;
- определяют максимальное дифференциальное эффективное натяжение между верхним и нижним провесами, которое может выдержать хомут. Руководства по общему анализу приведены в
14.4.2;
- определяют конфигурацию внутреннего хомута, включая количество сегментов хомута и общую форму хомута;
- устанавливают необходимые размеры отверстия внутреннего хомута, чтобы включить внешний диаметр гибкой трубы, в том числе допуски, или внешний диаметр в заводском исполнении, при наличии;
- анализируют необходимость приспособления внутренней футеровки к расширению/сжатию гибкой трубы и включения допусков на внешнем диаметре гибкой трубы (если проект основан на расчетном внешнем диаметре);
- определяют профиль отверстия внутреннего хомута для определенной трубной конструкции, которая будет зажата;
- рассчитывают необходимое значение зажима для того, чтобы предотвратить соскальзывание при дифференциальном эффективном натяжении между верхним и нижним провесами гибкой трубы и для соблюдения максимально допустимого контактного давления гибкой трубы (см.
14.2.5);
- определяют силы для обеспечения требуемого зажима;
- проверяют напряжения, прилагаемые к хомуту при фиксации, в отношении соблюдения допустимых предельных значений для материала хомута;
- при необходимости расчеты усталостного повреждения выполняют в соответствии с
ГОСТ Р 59307;
- если расчеты системы катодной защиты подводного буя для хомута не предусмотрены, расчеты системы катодной защиты выполняют для определения необходимых масс анодов для хомута;
- проверяют другие характеристики срока службы материалов в соответствии с
ГОСТ Р 59307, включая демонстрации того, что ползучесть полимерных внутренней футеровки не приведет к осевому соскальзыванию и вращению хомута.
14.2.3 Проектные критерии
Рекомендации по общим проектным критериям представлены в
5.3.4, а рекомендации по расчетным критериям хомута - в
13.2.1.
14.2.4 Проектирование хомута
14.2.4.1 Рекомендации по общему проектированию хомута представлены в
13.2.2.
14.2.4.2 Необходимо определить высоту хомута над его конструкционной опорой с соответствующим рассмотрением чрезмерного изгиба гибкой трубы на выходах хомута (см.
рисунок 14.2).
Рисунок 14.2 - Дифференциальное эффективное натяжение
гибкого трубопровода
Нагрузки, которые воздействуют на хомут подводного буя, схематически показаны на
рисунке 14.2. Подводный буй следует проектировать таким образом, чтобы у него было достаточно силы для сопротивления различным эффективным натяжениям на всех сторонах хомута. Хомут также должен принимать расширения и сжатия гибкой трубы, как показано на
рисунке 14.2.
14.3.1 Общие сведения
В
подразделе 14.3 указаны материалы, которые обычно используют в хомутах подводных буев.
14.3.2 Материалы хомута подводного буя
14.3.2.1 Корпуса подводных хомутов, как правило, изготовлены из стали. Внутренняя футеровка может быть изготовлена из полиуретана или полихлоропрена.
14.3.2.2 Руководства по выбору материалов полимерной внутренней футеровки представлены в
13.3.2.
14.4 Вопросы анализа
14.4.1 Местный анализ
14.4.1.1 Хомут подводного буя обычно состоит из круглых пластин, которые сваривают вместе, а также из крепежных элементов, обеспечивающих силу зажима.
У нижеприведенных элементов необходимо проверить напряжение:
- конструкционные секции;
- сварные узлы;
- болты;
- точки подъема.
14.4.1.2 Способы структурного анализа для некоторых из вышеупомянутых элементов широко известны и приведены в нескольких промышленных стандартах, например перечисленных в
ГОСТ Р 59307. Рекомендации по проектированию хомута указаны также в
13.2.2. Для определенных напряжений нестандартных элементов необходимо использовать трехмерный анализ методом конечных элементов.
Общий анализ может быть использован для определения эффективного натяжения в верхнем и нижнем провесах гибкой трубы и максимального дифференциального эффективного натяжения, которое может выдерживать хомут.
14.5 Изготовление
14.5.1 Общие сведения
В
ГОСТ Р 59307 установлены требования к изготовлению хомутов подводных буев. В данном подразделе приведено описание процессов, выполняемых при производстве хомута подводного буя.
14.5.2 Процесс изготовления
Хомут подводного буя обычно изготавливается разъемным, из двух сегментов или более (см.
рисунок 5.23).
Основные процессы при производстве хомута подводного буя следующие:
- обработка болтовых отверстий при необходимости;
- сварка конструкционных элементов друг с другом;
- нанесение антикоррозионных защитных покрытий;
- присоединение анодов катодной защиты к хомуту каната.
14.6 Испытания опытного образца
14.6.1 Применение испытаний опытного образца
Проведение испытаний опытного образца хомута подводного буя должно выполняться в соответствии с требованиями к испытаниям, изложенными в
5.6.3, и учитывать следующие расчетные параметры:
- нагрузки, воздействующие на хомут от натяжений гибкой трубы;
- характеристики материалов, применяемых в конструкции хомута;
- наружный диаметр гибкой трубы;
- геометрические характеристики хомута (диаметр, длина, ширина, толщина стенки).
14.6.2 Испытание осевой силы хомута
Испытания хомута подводного буя на зажимную способность следует проводить в соответствии с
13.4.1.
14.7.1 Общие сведения
В
подразделе 14.7 приведены руководства и рекомендации по монтажу хомутов подводных буев, включая общие аспекты и пример порядка установки.
14.7.2 Порядок монтажа
14.7.2.1 Хомуты подводных буев можно устанавливать при помощи водолазов или без них. Перед установкой необходимо отметить на гибкой трубе правильное положение для прикрепления хомута.
14.7.2.2 Перед присоединением хомута поверхность гибкой трубы в месте хомута и внутренняя поверхность хомута должны быть очищены от загрязнений, таких как смазка или масло.
14.7.2.3 Хомут можно собрать на гибкой трубе до ее спуска с борта, обеспечивая таким образом контролируемые условия на судне, а не под водой. Это особенно касается тех случаев, когда сборка хомута требует внимательной затяжки болтов для того, чтобы получить правильное предварительное натяжение. Затем подъемные канаты используют для укладки гибкой трубы на подводный буй и для выравнивания хомута на гнезде на раме подводного буя. Для контроля таких операций и помощи при выравнивании хомута в гнезде используют ТНПА.
14.8 Управление целостностью
14.8.1 Общие сведения
В
подразделе 14.8 представлены руководства и рекомендации по управлению целостностью, включая возможные дефекты.
14.8.2 Типы неисправностей и дефекты
В
таблице 9 указаны возможные дефекты для хомутов подводных буев.
Таблица 9
Возможные дефекты хомутов подводных буев
Дефект | Последствие | Возможная причина | Возможное исправление | Проектное решение/изменяемый параметр |
| а) Отделение гибкой трубы от хомута, потеря конфигурации и возможная неисправность гибкой трубы; трубы при соскабливании внутренней оболочки внутри отверстия хомута; в) возможное повреждение гибкой трубы в результате воздействия острых краев, получившихся при повреждении | б) удар от падающих объектов или другой подводной конструкции (например, швартовный конец); в) усталостная поломка; г) коррозия; д) неисправность сварного соединения; е) заводской брак (например, термическая обработка не соответствует техническим требованиям); ж) водородная хрупкость; и) неправильная конструкция гибкой трубы | а) Проверка с помощью общего анализа при использовании воздействия рабочих параметров потери хомута на расчетные критерии гибкой трубы; б) при необходимости, замена хомута либо на месте, либо после извлечения гибкой трубы. Может быть трудно заменить хомут из-за движений | а) Выбор материалов; б) увеличение конструкционной прочности, например увеличение толщины хомута; в) замена конфигурации хомута, чтобы изменить распределение нагрузки; г) проектирование сварных соединений; д) проектирование системы катодной защиты |
| а) Потеря конфигурации и возможная неисправность гибкой трубы; | б) заводской брак (например, внутренний диаметр корпуса хомута слишком большой); в) ползучесть полимерной внутренней футеровки; г) неправильное проектирование (например, неправильный зажим); д) неправильная установка (неправильные приложенные силы зажима к хомуту) | а) Проверка с помощью общего анализа при использовании воздействия рабочих параметров скольжения гибкой трубы относительно хомута на конфигурацию и расчетные критерии гибкой трубы; б) увеличение частоты проверок для контроля скольжения гибкой трубы относительно хомута | а) Переоценка сил, которые может выдержать хомут; б) увеличение сопротивления зажиму (будут увеличены силы зажима); в) предотвращение отсоединения крепежных элементов во время эксплуатации |
3 Неисправность крепежа корпуса хомута | а) Отсоединение хомута и последствия в соответствии с 2; | б) усталостная поломка; в) коррозия; г) заводской брак (например, термическая обработка не соответствует техническим требованиям); д) водородная хрупкость; е) неправильная конструкция (слишком маленький размер креплений); ж) неправильная установка (например, крепления затянуты неправильно) | а) Обсуждение с производителем целостности хомута и гибкой трубы при пропущенных крепежных элементах; б) возможность установить сменные крепежные элементы, если необходимо гарантировать целостность гибкой трубы | а) Выбор материалов; б) увеличение размера крепления; в) увеличение количества и/или распределения крепежных элементов в соответствующих случаях |
4 Чрезмерное контактное давление, оказываемое хомутом | Возможная неисправность гибкой трубы | б) заводской брак (например, внутренний диаметр корпуса хомута слишком маленький); в) неправильная конструкция (слишком большое значение зажима); г) неправильная установка (например, крепления затянуты слишком плотно) | Снижение сил затяжки на месте, при возможности | а) Снижение значения зажима (будут снижены силы зажима); б) будет увеличена длина хомута таким образом, что зажимная сила будет приложена по большей области |
5 Чрезмерный изгиб гибкой трубы на концах хомута | Возможная неисправность гибкой трубы | б) заводской брак (например, выход хомута изготовлен с недостаточной степенью свободы для изгиба трубы); в) неправильное проектирование (например, выход хомута спроектирован с недостаточной степенью свободы для изгиба трубы); г) неправильная установка (например, чрезмерный изгиб трубы во время укладки хомута на подводный буй) | Улучшение устройства ограничения изгиба на краях хомута, при возможности | Установка устройства ограничения изгиба на краях хомута |
6 Удаление лакокрасочного покрытия | Возможная коррозия конструкции | а) Повреждение во время погрузочно-разгрузочных работ, хранения, транспортировки, установки или обслуживания; б) заводской брак (например, покрытие нанесено неправильно); в) неправильное проектирование (например, выбор системы покрытия) | См. отчет по проектированию/обсуждение с производителем по вопросам области нарушения покраски, на которую рассчитана система катодной защиты. Установка усовершенствованных анодов, если зона превышает расчетную | а) Выбор системы покрытия краской; б) проектирование системы катодной защиты |
7 Показания датчиков системы катодной защиты отличаются от технических требований | Возможная коррозия конструкции | а) Сломан(ы) анод(ы); б) неправильное проектирование системы катодной защиты (т.е. неправильные массы анодов) | а) Обсуждение с производителем того, какой промежуток времени текущая система катодной защиты может обеспечивать защиту; б) установка усовершенствованных анодов на длительный срок | Проектирование системы катодной защиты |
8 Коррозия хомута или крепежных элементов | Возможная неисправность конструкции | а) Чрезвычайно коррозионная среда; б) неправильная защита системы катодной защиты; в) повреждение системы покрытия краской; г) неправильное проектирование (например, выбор материалов, проектирование системы катодной защиты) | а) Обсуждение с производителем целостности конструкции с коррозией; б) установка усовершенствованных анодов на длительный срок | а) Выбор материалов; б) проектирование системы катодной защиты |
14.8.3 Методы мониторинга
14.8.3.1 Общий осмотр выполняют для проверки
дефектов 1 -
3 и
6 -
8, описанных в
таблице 9. Если маркировка размещена по окружности гибкой трубы на подводном буе, то должно быть очевидным соскальзывание гибкой трубы относительно хомута благодаря маркировке, видимой со стороны хомута.
14.8.3.2 Затруднительно обнаружить
дефект 4 (таблица 9), поскольку хомут будет закрыт гибкой трубой.
14.8.3.3 Затруднена оценка наличия чрезмерного изгиба гибкой трубы в соответствии с
дефектом 5 (таблица 9), если не представляется возможным измерить радиус изгиба гибкой трубы во время эксплуатации с помощью волоконно-оптического мониторинга или отсутствует повреждение внешней оболочки гибкой трубы.
15.1 Область применения
Некоторые рекомендации, относящиеся к хомутам канатов, представлены в виде ссылок на
раздел 5, в котором приведены рекомендации по зажимному устройству. Положения
раздела 15 не относятся к устройствам с канатами или устройствам, ограничивающим изгиб, прикрепленным к хомуту каната. Рекомендации по канатам указаны в
разделе 11, рекомендации по ограничителям изгиба, которые присоединяются к хомутам канатов, - в
разделе 6 (элементы жесткости на изгиб),
разделе 7 (ограничители изгиба) и
разделе 8 (раструбы) в зависимости от конкретного случая.
15.2 Вопросы проектирования
15.2.1 Общие сведения
В
ГОСТ Р 59307 указаны требования к проектированию хомута. Целью данного подраздела являются разработка и предоставление руководств по проектированию в соответствии с требованиями
ГОСТ Р 59307.
Данный подраздел относится к следующим вопросам:
- процесс проектирования;
- проектные критерии;
- расчетные нагрузки.
15.2.2 Обзор проектирования
Процесс проектирования хомута троса представлен на схеме на
рисунке 15.1 и выполняется на следующих этапах:
- выбирают материалы на основании эксплуатационных требований, указанных в
ГОСТ Р 59307;
- проводят ряд динамических анализов конфигурации гибкой трубы с канатами;
- определяют длину троса, необходимую для обеспечения нужной конфигурации и соблюдения расчетных критериев гибкой трубы. Общий анализ предусматривает нагрузки натяжения, которые должен выдерживать трос, и показывает, нужны ли устройства ограничения изгиба для предотвращения чрезмерного изгиба гибкой трубы на хомуте каната. Руководства по общему анализу указаны в
15.4.3;
- определяют конфигурацию хомута троса, включая всю форму и внешние размеры хомута;
- устанавливают необходимые размеры отверстия хомута, чтобы включить внешний диаметр гибкой трубы, в том числе допуски, или диаметр гибкой трубы в заводском исполнении, при наличии;
- определяют необходимость приспособления внутренней футеровки к расширению/сжатию гибкой трубы и включения допусков на внешнем диаметре гибкой трубы (см.
13.2.2.4, если проект основан на расчетном внешнем диаметре);
- приводят требования к болтовой сборке для приспособления к расширению/сжатию гибкой трубы (см.
15.2.3.2);
- определяют профиль отверстия хомута (профилированный или гладкий) для конкретной конструкции трубы, которая будет зажата;
- определяют силу зажима, необходимую для предотвращения спада при нагрузках хомута и для соблюдения максимально допустимого контактного давления гибкой трубы;
- измеряют силы для обеспечения требуемого зажима;
- проверяют напряжения, прилагаемые к хомуту при фиксации и подвергаемые нагрузкам каната, в отношении соблюдения допустимых предельных значений для материала хомута;
- определяют:
- конфигурацию канатов, включая тип (цепь, канат или синтетика). Обзор конструкции каната представлен в
11.2.2,
- оборудование, необходимое для присоединения каната,
- основание каната рассчитано выдерживать горизонтальные и вертикальные составляющие натяжения троса и обеспечивать точки соединения для оборудования соединения тросов. Обзор конструкции основания каната представлен в
12.2.2,
- если диапазоны напряжения превышают определенные в документах и проверенные пределы прочности, утвержденные заказчиком, проводят расчеты усталостного повреждения в соответствии с
ГОСТ Р 59307;
- выполняют расчеты системы катодной защиты, чтобы определить необходимые массы анодов;
- если рабочие критерии минимального радиуса изгиба не соблюдены на краях хомута каната, проектируют устройство ограничения изгиба. Обзор проектирования элементов жесткости на изгиб, ограничителей изгиба и раструбов представлен в
6.2.2,
7.2.2,
7.2.3 и
8.2.2 соответственно.
Рисунок 15.1 - Схема конструкции хомута каната
15.2.3 Проектирование хомута каната
15.2.3.1 Рекомендации по общему проектированию хомута приведены в
13.2.2.
15.2.3.2 Восприятие изменений диаметра гибкой трубы часто достигается болтовым соединением сегментов хомута каната с помощью длинных болтов (длина болтов приблизительно равна ширине хомута). Таким образом сила смещения распределяется по большей длине и, следовательно, снижается натяжение болта. Пример болтовой сборки показан на
рисунке 15.2.
Рисунок 15.2 - Болтовая сборка хомута каната
15.2.3.3 В соответствии с
ГОСТ Р 59307 гибкая труба не должна превышать критерии своего рабочего минимального радиуса изгиба в зоне хомута каната.
15.2.3.4 Устройство ограничения изгиба может быть установлено на выходах хомута троса для предотвращения чрезмерного изгиба гибкой трубы. Необходимо указать требования к ограничителю изгиба на основании чрезмерного изгиба, который может быть определен в общем анализе. Рекомендации по элементам прочности на изгиб, ограничителям изгиба и раструбам, которые могут присоединяться к хомутам канатов, даны в
разделах 6 и
7 соответственно.
15.2.3.5 В зоне хомута каната может быть сделано несколько внешних оболочек гибкой трубы, что таким образом локально увеличивает жесткость изгиба гибкой трубы и предотвращает чрезмерный изгиб. При итерационном динамическом анализе можно определить приемлемую толщину оболочки (т.е. элемента жесткости на изгиб), которая предотвращает чрезмерный изгиб гибкой трубы.
15.2.3.6 В хомуте может быть предусмотрен расширяющийся выход (т.е. больший внутренний диаметр хомута в направлении выхода хомута) для предотвращения возможного чрезмерного изгиба гибкой трубы. Данный подход не снижает чрезмерного изгиба в такой же степени, как ограничитель изгиба.
15.2.3.7 Рекомендации по точке соединения каната приведены в
11.2.4.
15.2.4 Противокоррозионная защита
15.2.4.1 При использовании хомутов тросов с металлическими элементами, не устойчивыми к коррозии, необходима специальная система катодной защиты, так как хомуты электрически изолированы от других конструкций.
15.2.4.2 Если металлические материалы, используемые для корпуса хомута, отличаются от тросов (например, стальные в противовес титановым), можно установить композитную оболочку на корпус хомута для предотвращения гальванической коррозии. Композитная оболочка обеспечивает электрическую изоляцию между корпусом хомута и тросами.
Возможные дефекты, которые могут возникать у хомутов канатов, перечислены в
таблице 10; в ней также указаны соответствующие проектные решения/стратегии.
Таблица 10
Возможные дефекты хомутов канатов
Дефект | Последствие | Возможная причина | Возможное исправление | Проектное решение/изменяемый параметр |
| а) Возможное отделение гибкой трубы от хомута, потеря конфигурации и возможная неисправность гибкой трубы; б) повреждение вдоль гибкой трубы из-за соскабливания хомутом внешней оболочки; в) возможное повреждение гибкой трубы в результате воздействия острых краев, получившихся при повреждении | б) удар от падающих объектов или другой подводной конструкции (например, швартовный конец); в) усталостная поломка; г) коррозия (только металлические хомуты канатов); д) неисправность сварного соединения (только металлические хомуты канатов); е) заводской брак; ж) старение материала из-за воздействия морской воды/высокой температуры (только композитные хомуты канатов); и) ползучесть в результате постоянной нагрузки от болтов (только композитные хомуты канатов); к) неправильная конструкция; л) неправильная установка (болты затянуты неправильно) | а) Проверка с помощью общего анализа при использовании воздействия рабочих параметров потери хомута на расчетные критерии гибкой трубы; б) при необходимости, замена хомута либо на месте, либо после извлечения гибкой трубы. Может быть трудно заменить хомут из-за движений гибкой трубы | а) Выбор материалов; б) увеличение конструкционной прочности, например увеличение толщины хомута; в) замена конфигурации хомута, чтобы изменить распределение нагрузки; г) проектирование сварных соединений; д) проектирование системы катодной защиты |
| а) Потеря конфигурации и возможная неисправность гибкой трубы; | б) заводской брак (например, внутренний диаметр корпуса хомута слишком большой); в) ползучесть полимерной внутренней футеровки; г) неправильное проектирование (например, неправильный зажим); д) неправильная установка (например, неправильные приложенные силы зажима к хомуту) | а) Проверка с помощью общего анализа при использовании воздействия рабочих параметров соскальзывания хомута на конфигурацию и расчетные критерии гибкой трубы; б) увеличение частоты проверок для контроля скольжения хомута | а) Переоценка сил, которые может выдержать хомут; б) увеличение сопротивления зажиму (будут увеличены силы зажима); в) предотвращение отсоединения крепежных элементов во время эксплуатации |
3 Неисправность крепежа корпуса хомута | а) Отсоединение хомута и последствия в соответствии с 2; | б) усталостная поломка; в) коррозия; г) заводской брак (например, термическая обработка не соответствует техническим требованиям); д) водородная хрупкость; е) неправильная конструкция (слишком маленький размер креплений); ж) неправильная установка (например, крепления затянуты неправильно) | а) Обсуждение с производителем целостности хомута и гибкой трубы при пропущенных крепежных элементах; б) возможна установка сменных крепежных элементов, если необходимо гарантировать целостность гибкой трубы | а) Выбор материалов; б) увеличение размера крепления; в) увеличение количества и/или распределения крепежных элементов в соответствующих случаях |
4 Чрезмерное контактное давление, оказываемое хомутом | Возможная неисправность гибкой трубы | б) заводской брак (например, внутренний диаметр корпуса хомута слишком маленький); в) неправильная конструкция (слишком большое значение зажима); г) неправильная установка (например, крепления затянуты слишком плотно) | Снижение сил затяжки на месте, при возможности | а) Снижение значения зажима (будут снижены силы зажима); б) будет увеличена длина хомута таким образом, что такая сила будет прилагаться на большую площадь |
5 Чрезмерный изгиб гибкой трубы на концах хомута | Возможная неисправность гибкой трубы | а) Чрезмерный изгиб гибкой трубы; б) заводской брак (например, выход хомута изготовлен с недостаточной степенью свободы для изгиба трубы); в) неправильное проектирование (например, выход хомута спроектирован с недостаточной степенью свободы для изгиба трубы); г) неправильная установка (например, чрезмерный изгиб трубы во время установки); д) неправильное устройство ограничения изгиба на выходах хомута (см. таблицы 1 - 3 в зависимости от конкретного случая) | Улучшение устройства ограничения изгиба на краях хомута, если возможно. Замена на месте потребовала бы средств закрепления ограничителя изгиба в условиях на море. Может возникнуть трудность использования при замене ограничителя изгиба хомута троса из-за движений гибкой трубы и доступа для водолазов | Установка устройства ограничения изгиба на краях хомута |
6 Неисправность точки соединения каната | Отделение гибкой трубы от каната, потеря конфигурации и возможная неисправность гибкой трубы | а) Чрезмерная нагрузка: 1) чрезмерное натяжение каната, 2) упавший объект, 3) удар от подводной конструкции (например, швартовный конец); б) усталостная поломка; в) коррозия; г) износ; д) неисправность сварного соединения; е) заводской брак (термическая обработка не соответствует ТТ); ж) водородная хрупкость; и) неправильное проектирование (значение безопасной рабочей нагрузки слишком низкое); к) неправильная установка (шплинты скобы неправильно закреплены болтами); л) повреждение во время установки | а) Проверка с помощью общего анализа при использовании воздействия рабочих параметров потери кабеля-троса на расчетные критерии гибкой трубы; б) замена троса на месте | а) Увеличение безопасной рабочей нагрузки точки соединения; б) увеличение допуска на износ при средствах соединения; в) изменение конфигурации точки соединения |
7 Удаление покрытия краской | Возможная коррозия конструкции | а) Повреждение во время погрузочно-разгрузочных работ, хранения, транспортировки, установки или обслуживания; б) заводской брак (например, покрытие нанесено неправильно); в) неправильное проектирование (например, выбор системы покрытия) | См. отчет по проектированию/обсуждение с производителем по вопросам области нарушения покраски, на которую рассчитана система катодной защиты. Установка усовершенствованных анодов, если зона превышает расчетную | а) Выбор системы покрытия краской; б) проектирование системы катодной защиты |
8 Показания датчиков системы катодной защиты отличаются от технических требований | Возможная коррозия конструкции | а) Сломан(ы) анод(ы); б) неправильное проектирование системы катодной защиты (например, неправильные массы анодов) | а) Обсуждение с производителем того, в течение какого промежутка времени текущая система катодной защиты может обеспечивать защиту; б) установка усовершен ствованных анодов на длительный срок | Проектирование системы катодной защиты |
9 Коррозия хомута каната или крепежных элементов | Возможная неисправность конструкции | а) Чрезвычайно коррозионная среда; б) неправильная защита системы катодной защиты; в) повреждение системы покрытия краской; г) неправильное проектирование (например, выбор материалов, проектирование системы катодной защиты) | а) Обсуждение с производителем целостности конструкции с коррозией; б) установка усовершенствованных анодов на длительный срок | а) Выбор материалов; б) проектирование системы катодной защиты |
10 Неисправность присоединенного ограничителя изгиба | Возможный чрезмерный изгиб и возможная неисправность гибкой трубы | См. таблицы 1 - 3 в зависимости от конкретного случая |
15.2.6 Проектные критерии
Общие рекомендации по проектным критериям приведены в
5.3.4; рекомендации по расчетным критериям значения хомута - в
13.2.1.
15.2.7 Нагрузки
Нагрузки, которые воздействуют на хомут каната, схематически показаны на
рисунке 15.3. Нагрузки включают элементы натяжения каната
T1 и
T2, воздействующие параллельно и поперечно хомуту соответственно, гидростатическое давление на расчетной глубине воды и расширения и сжатия гибкой трубы. Зажим должен выдерживать параллельную составляющую
T1 для предотвращения соскальзывания. Хомут каната следует проектировать таким образом, чтобы он выдерживал максимальное натяжение каната, воздействующее вдоль хомута.
1 - расширение/сжатие гибкой трубы; 2 - гидростатическое
давление; 3 - гибкая труба; 4 - привязанный хомут; 5 - канат
Рисунок 15.3 - Нагрузки хомута каната
15.3.1 Общие сведения
В
подразделе 15.3 указаны материалы, которые обычно используют в хомутах каната, и представлены их общие рабочие характеристики.
15.3.2 Материалы хомута каната
15.3.2.1 Как правило, для хомутов тросов требуются материалы с высокими эксплуатационными характеристиками, так как на них воздействуют значительные нагрузки. Хомуты канатов могут быть изготовлены из конструкционной стали высокой прочности или стеклопластика. Композитные материалы можно использовать при наличии ограничений по массе, также их преимуществом является коррозионная устойчивость.
15.3.2.2 Руководства по выбору материалов полимерной внутренней футеровки представлены в
13.3.2.
15.3.2.3 Композитные материалы хомута каната должны отображать следующие свойства:
- низкий уровень впитывания воды;
- сопротивление гидролизу;
- ограниченное ухудшение эксплуатационных свойств в результате старения;
- качественные высокотемпературные характеристики (если внутренняя среда гибкой трубы находится под действием высокой температуры);
- минимальный вес в морской воде (это помогает минимизировать весовые нагрузки хомута каната на гибкой трубе);
- способность выдерживать высокие нагрузки, вызванные канатом;
- способность выдерживать циклические нагрузки от троса в течение срока службы без усталостного повреждения.
15.3.2.4 Внутренняя футеровка может быть изготовлена из полиуретана. Материал внутренней футеровки должен быть достаточно податливым, чтобы учитывать расширение и сжатие гибкой трубы.
15.3.2.5 В хомутах канатов могут быть гибкие хомуты в качестве их крепежных систем. Гибкие хомуты изготавливают из титана для эксплуатационной доводки определенных гибких труб, так как титан обладает низкой плотностью, является коррозионно-стойким и наделен достаточной эластичностью для расширения и сжатия гибкой трубы.
15.4 Вопросы анализа
15.4.1 Общие сведения
Целью данного подраздела является предоставление рекомендаций по способам анализа хомута каната.
15.4.2 Местный анализ
Хомут каната обычно состоит из пластин, которые сваривают вместе, а также из крепежных элементов или гибких хомутов, обеспечивающих силу зажима.
Необходимо проверить напряжение у следующих компонентов:
- конструкционные секции;
- шарнирное кольцо;
- сварные узлы, при необходимости;
- болты;
- гибкие хомуты, при необходимости;
- точки соединения тросов и средства соединения тросов;
- точки подъема.
Способы структурного анализа для некоторых из вышеупомянутых компонентов широко известны и указаны в нескольких промышленных стандартах, например перечисленных в
ГОСТ Р 59307. Для определения напряжений нестандартных компонентов и композитных компонентов или концентрации напряжения необходимо применить трехмерное исследование методом конечных элементов.
Хомут каната можно четко моделировать в общем исследовании методом конечных элементов с назначением свойств большой жесткости элементам, составляющим хомут, предполагая жесткую конструкцию в сравнении с гибкой трубой. Соединение с тросом моделируют таким образом, чтобы элементы могли представлять вращение троса в трех измерениях относительно хомута каната. Подобный способ моделирования используют для соединения на основании каната. Хомут каната обеспечивает для модели системы гибкой трубы жесткость, гидродинамические свойства и свойства массы, которые могут быть небольшими в сравнении со всей системой. Для предварительного анализа достаточно смоделировать только соединение каната с хомутом и затем четко включить хомут в окончательные модели с надлежащей жесткостью, гидродинамическими свойствами и свойствами массы.
15.5 Испытания опытного образца
15.5.1 Применение испытаний опытного образца
Проведение испытаний опытного образца хомута каната должно выполняться в соответствии с требованиями к испытаниям, изложенным в
5.6.3, и учитывать следующие расчетные параметры:
- нагрузки, воздействующие на хомут от натяжений каната;
- характеристики материалов, применяемых в конструкции хомута;
- наружный диаметр каната;
- геометрические характеристики хомута (диаметр, длина, ширина, толщина стенки).
15.5.2 Испытание зажимной способности хомута
Испытания зажимной способности хомута следует проводить в соответствии с
13.4.1. Прилагаемая осевая сила должна представлять наибольшую осевую силу из-за натяжения каната. Может быть нецелесообразным выполнять испытания осевой силы зажима для хомутов канатов из-за имеющихся больших нагрузок. В таких случаях необходимо сосредоточиться на проверке конструкции хомута каната путем независимой проверки метода проектирования и опыта эксплуатации, указанного в соответствующих документах.
15.6 Изготовление
15.6.1 Общие сведения
В
ГОСТ Р 59307 установлены требования к производству хомутов канатов. В данном подразделе описываются обычные процессы, выполняемые при производстве хомута каната.
15.6.2 Процесс изготовления
Основные процессы при изготовлении металлического хомута каната:
- сварка конструкционных элементов друг с другом и точек соединения каната с основной конструкцией;
- нанесение антикоррозионных защитных покрытий;
- присоединение анодов катодной защиты к хомуту каната;
- присоединение устройства ограничения изгиба к хомуту каната.
15.7 Монтаж
15.7.1 Общие сведения
В данном подразделе представлены руководства и рекомендации по установке хомутов канатов, включая пример порядка установки.
15.7.2 Порядок монтажа
15.7.2.1 Перед присоединением хомута поверхность гибкой трубы в месте хомута и внутренняя поверхность хомута должны быть очищены от загрязнений, таких как смазка или масло.
15.7.2.2 Производитель гибкой трубы должен отметить на гибкой трубе правильное положение для прикрепления хомута.
15.7.2.3 Установка хомута каната, как правило, включает следующие этапы:
- сборка хомута на гибкой трубе;
- присоединение каната;
- спуск сборки гибкой трубы/хомута за борт;
- соединение свободного конца троса с основанием каната.
Подводное подсоединение каната к основанию троса можно выполнять с помощью водолазов или без них.
15.7.2.4 Канат может быть соединен с основанием каната (вес хомута) до спуска с борта, как показано на
рисунке 15.4.
Рисунок 15.4 - Установка хомута каната
15.8 Управление целостностью
15.8.1 Общие сведения
В данном подразделе представлены руководства и рекомендации по управлению целостностью, включая возможные дефекты.
15.8.2 Типы неисправностей и дефекты
В
таблице 10 указаны возможные дефекты для хомутов канатов.
15.8.3 Методы мониторинга
15.8.3.1 Общий осмотр выполняется для проверки
дефектов 1 -
3 и
6 -
10, описанных в
таблице 10. Затруднена оценка наличия чрезмерного изгиба гибкой трубы в соответствии с
дефектом 5 (см.
таблицу 10), если не представляется возможным измерить радиус изгиба гибкой трубы во время эксплуатации с помощью волоконно-оптического мониторинга или отсутствует последующее повреждение внешней оболочки гибкой трубы. При обнаружении
дефекта 4 (см.
таблицу 10) могут возникать сложности, так как хомут можно закрыть гибкой трубой.
15.8.3.2 Все раструбы, прикрепленные к хомуту каната, должны быть проверены на наличие загрязнения, которое может накапливаться. У раструбов могут быть особенности конструкции, которые предотвращают скапливание грязи.
16.1 Область применения
16.1.1
Раздел 16 распространяется на переходные хомуты и направляющие. Некоторые рекомендации, относящиеся к переходным хомутам, представлены в виде ссылки на
раздел 5, в котором содержатся общие рекомендации по зажимным устройствам.
16.1.2 Рекомендации, изложенные в настоящем разделе, могут быть применены в отношении подводных кабелей, кроме рекомендаций, связанных с расчетом силы хомута в
13.2.1. Необходимо отметить, что рекомендации, относящиеся к внутренней среде и температуре внешней оболочки, могут также не подходить для подводных кабелей.
16.2 Вопросы проектирования
16.2.1 Обзор проектирования
Процесс проектирования переходной системы представлен на схеме на
рисунке 16.1 и обычно выполняется на следующих этапах:
- материалы выбирают на основании эксплуатационных требований, приведенных в
ГОСТ Р 59307. Руководства по выбору материалов изложены в
16.3;
- проводят ряд динамических анализов системы гибкой трубы с переходной системой;
- определяют количество переходных хомутов и направляющих, расстояние между ними и необходимый зазор от несущей трубы. Общий анализ также предусматривает нагрузки, которые должны выдерживать переходные прокладки. Руководства по общему проектированию и анализу приведены в
16.2.3 и
16.4.2;
- определяют конфигурацию прокладки, т.е. фиксацию гибкими хомутами или болтами;
- определяют диаметры гнезда прокладки для расположения внешних диаметров несущей и поддерживаемой трубы, включая допуски, или диаметры в заводском исполнении, при необходимости;
- устанавливают размеры переходных направляющих для обеспечения степени свободы в аксиальном направлении для поддерживаемой трубы;
- определяют необходимую зажимную способность для предотвращения соскальзывания и вращения вокруг несущей трубы под воздействием нагрузок от поддерживаемых труб;
- определяют силы зажима, необходимые для обеспечения требуемого значения зажима;
- проверяют напряжения, прилагаемые к компоненту хомута прокладок при фиксации и подвергаемые указанным нагрузкам, в отношении соблюдения допустимых предельных значений для материала прокладки;
- проверяют напряжения в сборках натяжения и тросах в отношении соблюдения предельных значений для их соответствующих материалов;
- проверяют характеристики срока службы материалов в соответствии с
ГОСТ Р 59307, включая демонстрации того, что ползучесть полимерных прокладок не приведет к осевому соскальзыванию и вращению на несущей трубе.
Рисунок 16.1 - Схема проектирования переходной системы
16.2.2 Проектирование переходной системы
16.2.2.1 Если подводный кабель или линия небольшого диаметра переходит к гибкой трубе, переходную систему проектируют с учетом следующих аспектов:
- гидродинамическое взаимодействие, включая экранирование, отвердевание, гидроупругие вибрации, подъем и обрастание;
- нагрузки и износ гибкой трубы.
16.2.2.2 Необходимо указать максимально допустимую осевую силу, передаваемую переходными направляющими в соответствии с
ГОСТ Р 59307. Если общий анализ идеально представляет направляющую, как не оказывающую силу трения, могут возникнуть непредвиденные проблемы с фактической переходной системой, если хомут устанавливает слишком сильное осевое ограничение. Таким образом, при указании максимально допустимой осевой силы устанавливают предельное значение степени осевого ограничения.
16.2.2.3 Переходная система может потребоваться только во время монтажа трубопроводов. Например, если трубопроводы заглубляют в морское дно после прокладки, эксплуатационные требования к переходному хомуту после заглубления трубопроводов могут быть снижены.
16.2.2.4 Чрезмерная осевая сила может передаваться на поддерживаемые трубы с помощью кривизны системы гибкой трубы с переходной системой. Если нужно предотвратить чрезмерные осевые силы на поддерживаемой трубе, оптимальное сочетание переходных хомутов и направляющих может обеспечить отсутствие передачи осевой силы к поддерживаемой трубе. Это достигается при определении припуска по длине поддерживаемой трубы таким образом, чтобы при граничных значениях движения гибкой трубы поддерживаемая труба не была туго натянутой.
16.2.3 Общее проектирование
16.2.3.1 Определение расположения переходной системы обычно основано на полевом опыте или на общем анализе переходной системы. Расстояния хомутов могут отличаться вдоль системы переходной гибкой трубы, чтобы получить оптимальную конфигурацию.
16.2.3.2 В случае с переходными хомутами необходимо достаточное расстояние, чтобы поддерживаемая труба не растягивалась чрезмерно, а ее допустимое эффективное напряжение не превышалось. Обычное расстояние между переходными хомутами на основании текущей промышленной практики - не более 10 м. Для переходных направляющих должно быть достаточное расстояние, чтобы длина поддерживаемой трубы между направляющими не приводила к той ситуации, когда превышаются критерии ее рабочего минимального радиуса изгиба. Стандартное расстояние между переходными направляющими на основании текущей промышленной практики - не более 5 м. Предусмотренное провисание поддерживаемой трубы в сочетании с переходными направляющими может позволить относительное осевое перемещение между несущей трубой и поддерживаемой трубой. Определение надлежащего расстояния, однако, должно быть основано на конкретных проектных параметрах и расчетных критериях трубы.
16.2.3.3 Способ соединения переходной линии на соединении с судном необходимо тщательно проектировать в случае с райзером гибкой трубы.
16.2.4 Проектирование установки
16.2.4.1 Фиксирующие сборки переходной прокладки должны быть такими, чтобы минимизировать время установки переходной прокладки на опорной/поддерживаемой трубе. Если возможно, должен быть только один тип фиксирующей сборки для всех переходных прокладок, так как это упрощает процесс установки.
16.2.4.2 Некоторые конструкции переходных прокладок обеспечивают закрытие троса и сборки натяжения в переходной прокладке, так что переходная прокладка будет замкнутой и не будет отсоединенных частей, которые могут потеряться. Дальнейшее преимущество состоит в том, что, если водолаз должен опуститься под воду для фиксации переходной прокладки, сборка натяжения не отделяется от переходной прокладки.
16.2.5 Противокоррозионная защита
Крепежные элементы, сборки натяжения и металлические тросы, которые используют для фиксации переходных прокладок, могут потребовать изготовления из коррозионно-стойких материалов, так как они электрически изолированы и не могут соединяться с системой катодной защиты. Выбор материала крепежа должен учитывать расчетную температуру. Однако если коррозионная защита переходной системы не требуется после установки, то отсутствует необходимость в коррозионно-стойких материалах.
Возможные дефекты, которые случаются у переходных прокладок, приведены в
таблице 11, в ней также указаны соответствующие проектные решения/стратегии.
Таблица 11
Возможные дефекты переходных прокладок
Дефект | Последствие | Возможная причина | Возможное исправление | Проектное решение/изменяемый параметр |
1 Неисправность прокладки | а) Возможное отделение поддерживаемой трубы от прокладки, возможный чрезмерный изгиб и неисправность поддерживаемой трубы; б) возможное столкновение несущей и поддерживаемой трубы в результате повреждения внешних оболочек трубы; в) возможное отделение несущей трубы от прокладки | б) удар от падающих объектов или другой подводной конструкции (например, швартовный конец); в) заводской брак (например, пустоты в литье); г) старение материала из-за влияния: 1) солнечного света (только поверхностные прокладки), 2) озона (только поверхностные прокладки), 3) морской воды, 4) высокой температуры; д) ползучесть при постоянной нагрузке от веса трубы и натяжения крепления и гибких хомутов; е) неправильное проектирование (например, размеры прокладки недостаточны, чтобы выдерживать нагрузки); ж) неправильная установка (например, крепления или гибкие хомуты затянуты слишком плотно) | а) Проверка с помощью общего анализа при использовании воздействия рабочих параметров потери прокладки на расчетные критерии поддерживаемой трубы; б) при необходимости, замена прокладки на месте. Может быть трудно заменить прокладку из-за движений гибкой трубы и доступа для водолазов на месте | а) Выбор материалов; б) увеличение конструкционной прочности, например увеличение размеров переходной прокладки; в) замена конфигурации прокладки, чтобы изменить распределение нагрузки |
2 Неисправность гибких хомутов в соответствующих случаях | а) Последствия в соответствии с 1; б) возможное столкновение поддерживаемой трубы и прокладки с несущей трубой в результате повреждения внешних оболочек трубы | а) Чрезмерное натяжение гибкого хомута; б) удар от падающих объектов или другой подводной конструкции (например, швартовный конец); в) усталостная поломка; г) заводской брак; д) старение материала из-за влияния: 1) солнечного света (только поверхностные гибкие хомуты), 2) озона (только поверхностные гибкие хомуты), 3) морской воды, 4) высокой температуры; е) ползучесть из-за постоянной нагрузки из-за натяжения тросов; ж) неправильное проектирование (например, неправильная толщина, ширина или выбор материалов гибких хомутов). Неправильная установка (например, гибкие хомуты затянуты слишком плотно) | а) Изучение с помощью общего анализа при использовании воздействия рабочих параметров потери троса на расчетные критерии поддерживаемой трубы (прокладка теперь может свободно вращаться и/или двигаться по оси); б) при необходимости, замена каната на месте. Может быть трудно заменить канат из-за движений гибкой трубы и доступа для водолазов | а) Выбор материалов; б) увеличение толщины каната; в) увеличение количества тросов |
3 Неисправность сборки натяжения каната | Последствия в соответствии с 2 | а) Чрезмерные нагрузки вследствие следующего: 1) чрезмерного натяжения троса, 2) упавшего объекта, 3) удара от подводной конструкции (например, швартовный конец); б) усталостная поломка; в) коррозия; г) заводской брак (например, термическая обработка не соответствует техническим требованиям); д) неправильная конструкция; е) неправильная установка (например, гибкие хомуты затянуты слишком плотно); ж) повреждение во время установки | Меры по исправлению в соответствии с 2 | а) Выбор материалов; б) усиление конструкционной прочности, например увеличение размеров сборки натяжения; в) изменение конфигурации сборки натяжения |
4 Неисправность крепежных элементов прокладки | а) Отсоединение хомута и последствия в соответствии с 5; б) последствия в соответствии с 1 | б) усталостная поломка; в) коррозия; г) заводской брак (например, термическая обработка не соответствует техническим требованиям); д) неправильная конструкция (слишком маленький размер креплений); е) неправильная установка (например, крепления затянуты неправильно) | б) обсуждение с производителем целостности прокладки при пропущенных крепежных элементах; в) можно установить сменные крепежные элементы, если необходимо гарантировать целостность поддерживаемых труб | а) Выбор материалов; б) увеличение размера крепления; в) увеличение количества и/или распределения крепежных элементов в соответствующих случаях |
5 Отсоединение переходного хомута на несущей трубе | а) Повреждение несущей трубы из-за соскабливания переходным хомутом вдоль внешней оболочки; б) возможное ударное воздействие на прилегающие переходные хомуты при отсоединении переходного хомута; в) вращение переходного хомута по отношению к несущей трубе, и возможный чрезмерный изгиб, и неисправность опорной трубы | б) коррозия болтов или сборок натяжения, удерживающих хомут на месте; в) заводской брак (например, внутренний диаметр гнезда корпуса прокладки слишком большой); г) ползучесть прокладки при постоянной нагрузке от веса трубы и натяжения крепления и гибких хомутов; д) неправильное проектирование (например, неправильная величина зажима); е) неправильная установка (неправильное приложенное натяжение и силы зажима, прилагаемые к гибкому хомуту) | а) Изучение с помощью общего анализа при использовании воздействия рабочих параметров отсоединившегося хомута на расчетные критерии поддерживаемой трубы (прокладка теперь может свободно вращаться и/или двигаться по оси); б) при необходимости, новая затяжка или замена хомута на месте. Может быть трудно заново затянуть/изменить на месте из-за движений гибкой трубы и доступа для водолазов | а) Переоценка сил, которые может выдержать хомут; б) увеличение сопротивления зажиму (будут увеличены силы зажима); в) предотвращение отсоединения крепежных элементов во время эксплуатации |
6 Отсоединение переходного хомута на поддерживаемой трубе | а) Возможный чрезмерный изгиб поддерживаемой трубы в результате увеличившегося провисания; б) повреждение поддерживаемой трубы из-за соскабливания переходным хомутом вдоль внешней оболочки | Возможные причины в соответствии с 5 | Меры по исправлению в соответствии с 5 | |
7 Слишком плотная переходная направляющая | Поддерживаемая труба не имеет степени свободы движения относительно переходной направляющей, и возможный чрезмерный изгиб или прогиб трубы между прокладками | б) коррозия болтов или сборок натяжения, удерживающих хомут на месте; в) заводской брак (например, внутренний диаметр гнезда корпуса прокладки слишком маленький); г) неправильное проектирование (например, неправильный зазор, допустимый для диапазона диаметров поддерживаемой трубы); д) неправильная установка (например, гибкие хомуты или крепежные элементы затянуты слишком плотно) | а) Проверка с помощью общего анализа при воздействии рабочих параметров потери степени свободы в аксиальном направлении на расчетные критерии гибкой трубы; б) при необходимости, ослабление или замена направляющей на месте. Может быть трудно ослабить/заменить на месте из-за движений гибкой трубы и доступа для водолазов | Увеличение диаметра гнезда поддерживаемой трубы в переходной направляющей |
8 Чрезмерное контактное давление, оказываемое хомутом | Возможная неисправность несущей или поддерживаемой трубы | б) заводской брак (например, внутренний диаметр корпуса хомута слишком маленький); в) неправильная конструкция (слишком большое значение зажима); г) неправильная установка (например, крепления или гибкие хомуты затянуты слишком плотно) | Снижение силы зажима на месте, при возможности | а) Снижение значения зажима (будут снижены силы зажима); б) будет увеличена длина хомута таким образом, что такая сила будет прилагаться по большей области |
9 Чрезмерный изгиб и прогиб поддерживаемой трубы между прокладками | Возможная неисправность поддерживаемой трубы | а) Чрезмерный изгиб переходной системы гибкой трубы; б) заводской брак (например, переходная направляющая, действующая как хомут, и наоборот, из-за того, что размеры в заводском исполнении не соответствуют допускам); в) неправильное общее проектирование (например, неправильное расстояние и распределение между переходными хомутами и направляющими); г) неправильное проектирование (например, переходная направляющая, действующая как хомут, и наоборот, из-за неправильного размещения диапазона диаметров поддерживаемой трубы в конструкции или недостаточного зазора между несущей и поддерживаемой трубами). Неправильная установка (например, крепления или гибкие хомуты затянуты слишком плотно) | Ослабление, затяжка, увеличение расстояния или замена прокладок на месте, чтобы устранить чрезмерный изгиб. Может быть трудно принять корректирующие меры на месте из-за движений гибкой трубы и доступа для водолазов | а) Снижение провисания поддерживаемой трубы между прокладками; б) увеличение зазора между несущей и поддерживаемой трубами для увеличения радиуса кривизны; в) замена направляющей на хомут или наоборот |
10 Коррозия хомута сборок натяжения или крепежных элементов | Возможная неисправность конструкции либо потеря переходного хомута или направляющей | а) Чрезвычайно коррозионная среда; б) неправильное проектирование (т.е. выбор материала) | а) Обсуждение с производителем целостности конструкции с коррозией; б) улучшение сборок натяжения или крепежных элементов, при возможности | Выбор материалов |
16.2.7 Нагрузки
Те нагрузки, которые воздействуют на переходную прокладку, показаны на
рисунке 16.2. Данные нагрузки включают расширения/сжатия несущих и поддерживаемых труб, осевую нагрузку, передаваемую переходной прокладке, силу вращения, передаваемую переходной прокладке, и гидростатическое давление. Переходная прокладка должна быть способна выдерживать осевую нагрузку и силы вращения без соскальзывания или вращения.
1 - поддерживаемая труба; 2 - гидростатическое давление;
3 - расширение/сжатие поддерживаемой трубы; 4 - осевая
нагрузка, передаваемая на прокладку; 5 - несущая труба;
6 - расширение/сжатие несущей трубы; 7 - дополнительная
прокладка; 8 - сила вращения, передаваемая на прокладку
Рисунок 16.2 - Нагрузки переходной прокладки
16.3.1 Общие сведения
В
подразделе 16.3 указаны материалы, которые обычно используют в переходных системах, и представлены их рабочие характеристики.
16.3.2 Материалы переходной прокладки
16.3.2.1 Прокладки могут быть изготовлены из полиуретана, полихлоропрена, полиэтилена, полипропилена и ударопрочного переработанного полиэтилена. Преимуществом данных материалов являются прочность и легкий вес, последнее наиболее значимо при наличии большого количества прокладок в переходной системе.
16.3.2.2 Полимерные материалы переходной прокладки должны представлять следующие свойства:
- низкий уровень впитывания воды;
- сопротивление гидролизу;
- ограниченное ухудшение в результате старения;
- качественные высокотемпературные характеристики (если внутренняя среда несущей или поддерживаемой трубы находится под высокой температурой);
- минимальная масса в воздухе и морской воде (чтобы минимизировать массу груза для легкой установки и помочь минимизировать вес системы гибкой трубы с переходной системой);
- обоснованная механическая прочность, чтобы выдерживать обычные погрузочно-разгрузочные работы во время установки;
- способность выдерживать постоянные нагрузки в течение срока службы, вызванные компрессионной силой зажима и расширением/сужением трубы без отделения хомута или неисправности материала из-за ползучести.
16.3.2.3 Канаты переходных прокладок могут быть изготовлены из углеродистой стали, нержавеющей стали, другой коррозионно-стойкой стали, аустенитных суперсплавов на основе никеля (инконеля), полиэстера или арамидного волоконного композита в зависимости от ограничений коррозионной устойчивости и массы. Преимуществом арамидного волоконного композита является легкий вес при высокой прочности.
16.4.1 Общие сведения
Целью
подраздела 16.4 является предоставление рекомендаций по способам общего анализа переходной системы.
Общий анализ может использоваться для определения оптимального количества переходных хомутов и направляющих и расстояния между ними, а также зазора между несущей и поддерживаемой трубами. Переходные прокладки могут моделироваться посредством исследования методом конечных элементов соединения узлов на несущей и поддерживаемой трубах в тех местах, где расположены переходные прокладки. Соединения необходимо моделировать таким образом, чтобы относительное движение между двумя трубами было либо предотвращено, либо предусмотрено в зависимости от того, моделируют переходной хомут или направляющую. Соединения должны моделироваться как жесткие соединения, чтобы обосновать тот факт, что зазор между несущей и поддерживаемой трубами постоянный.
16.5 Изготовление
16.5.1 Общие сведения
В
ГОСТ Р 59307 установлены требования к изготовлению переходных прокладок. В данном подразделе описываются общеприменимые процессы, выполняемые при производстве переходных прокладок.
16.5.2 Процесс производства
16.5.2.1 Переходные прокладки могут обрабатываться или производиться отдельно путем литьевого формования. Литьевое формование - это эффективный способ производства большого количества прокладок, необходимых для реализации некоторых проектов.
16.5.2.2 Процесс литьевого формования описывается следующим образом: термопластик в виде гранул или порошка поступает из загрузочного бункера в бочку, где он нагревается до размягчения. Затем термопластик подается через форсунку в относительно холодную форму, которая потом плотно закрывается. После того как пройдет достаточное количество времени, чтобы пластик отвердел, форма открывается, изделие извлекается, и цикл повторяется.
16.6 Испытания опытного образца
16.6.1 Применение испытаний опытного образца
Расчетные параметры, которые необходимо рассмотреть, как минимум, при требовании осевой и кольцевой сил хомута в соответствии с
5.6.3:
- осевая сила и сила вращения, вызванные массой несущей и поддерживаемой труб (включая влияние динамического усиления и вес во время установки);
- материалы;
- процесс(ы) производства;
- внешние диаметры несущей и поддерживаемой труб;
- новая конфигурация переходной прокладки или крепежа.
16.6.2 Испытание осевой и кольцевой сил зажима
16.6.2.1 Описание
Целью испытания силы зажима является проверка того, что переходная прокладка может сохранять положение при приложенных осевых и кольцевых нагрузках от несущей и поддерживаемой труб.
16.6.2.2 Порядок испытаний
16.6.2.2.1 Переходная прокладка должна собираться вокруг образцов несущей и поддерживаемой труб или должны быть представлены макеты таких труб в натуральную величину. В последнем случае результаты испытания следует корректировать с учетом разницы трения между макетами и фактическими трубами. Должна быть проверенная методика, указанная в документах, для регулировки калибровки такого трения. Сборка должна включать все компоненты, составляющие переходной хомут/направляющую, гибкие хомуты и сборки натяжения, необходимые для фиксации данных компонентов на месте. Прокладку следует фиксировать с помощью крепежных элементов с такими же характеристиками и с такой же силой зажима, как и было определено на этапе проектирования.
16.6.2.2.2 Переходный хомут/направляющая могут быть рассчитаны на множество возможных комбинаций условий нагрузки. В ходе испытания должна быть проверена, как минимум, прочность хомута в отношении наиболее критичных сочетаний условий нагрузки. Наихудшее сочетание условий нагрузки может произойти во время установки.
16.6.2.2.3 Для всех условий нагрузки необходимо приложить осевую силу, а силу, при которой происходит соскальзывание хомута, следует зарегистрировать или определить.
16.6.2.2.4 Для каждого условия нагрузки окружную силу следует прилагать на поддерживаемой трубе, чтобы смоделировать максимальную силу вращения по несущей трубе, на которую она будет воздействовать при специальном применении. Сила, при которой происходит соскальзывание, должна быть зарегистрирована и указана в соответствующих документах.
16.6.2.2.5 Если испытательные осевые и окружные силы не приводят к соскальзыванию хомута, производитель должен иметь действующую методику, указанную в документах, для экстраполяции силы при соскальзывании. Данная методика должна быть удостоверена физическим испытанием.
16.6.2.3 Критерии приемки
Осевая сила, при которой происходит соскальзывание, должна быть больше или равной максимальной осевой силе во время установки или работы, умноженной на коэффициент надежности зажима, который составляет как минимум 1,5 в соответствии с
ГОСТ Р 59307.
Окружная сила, при которой происходит соскальзывание, должна быть больше или равной максимальной окружной силе во время установки или эксплуатации, умноженной на коэффициент надежности зажима окружности, который составляет как минимум 1,5 в соответствии с
ГОСТ Р 59307.
16.7.1 Общие сведения
В
подразделе 16.7 представлены руководства и рекомендации по монтажу переходных систем, включая общие аспекты и пример порядка установки.
16.7.2 Монтаж переходных систем
16.7.2.1 Необходимо четко маркировать целевое положение переходных прокладок на внешней оболочке гибкой трубы.
16.7.2.2 Установка переходных прокладок обычно включает следующие этапы:
- несущую и поддерживаемую трубы вытравливают до достижения первой переходной прокладки. Это должно быть указано кольцевой отметкой на обеих трубах;
- прокладку собирают и фиксируют вокруг трубы либо в случае конфигурации, показанной на
рисунках 5.25 и
5.26, размещают на верхней части несущей трубы согласно маркировке;
- несущие трубы крепят в гнезде на переходной прокладке;
- страховочные крепления, при их наличии, фиксируют вокруг переходной прокладки и несущей трубы натяжением креплений;
- затем опорную и поддерживаемую трубы вытравливают до обнаружения положения следующей переходной прокладки.
Следует соблюдать процедуры по затяжке болтов и натяжению гибких хомутов, так как их несоблюдение может привести к слишком свободной или слишком плотной затяжке прокладок. Слишком плотная затяжка может стать причиной защемления в аксиальном направлении переходных направляющих; слишком свободная затяжка - к недостаточному зажиму для предотвращения осевого соскальзывания или вращения.
16.7.2.3 Необходимо ввести документы по процедурам, обеспечивающим распределение эффективного натяжения несущей и поддерживаемой труб в соответствии с эффективными натяжениями, указанными проектировщиком системы гибкой трубы согласно
ГОСТ Р 59307.
16.8 Управление целостностью
16.8.1 Общие сведения
В
подразделе 16.8 представлены руководства и рекомендации по управлению целостностью, включая возможные дефекты.
16.8.2 Типы неисправностей и дефекты
В
таблице 11 указаны возможные дефекты переходных прокладок.
16.8.3 Методы мониторинга
При наличии круговой и продольной маркировок положений переходных прокладок на гибкой трубе должен быть очевидным тот момент, когда прокладка соскальзывает по оси или окружности в соответствии с
дефектом 5 (см.
таблицу 11).
16.8.3.2 При ослаблении поддерживаемой трубы между двумя переходными хомутами, где она должна быть туго натянутой, может произойти
дефект 6 (см.
таблицу 11).
16.8.3.3
Дефекты 7 и
9 могут быть обнаружены только при повреждении внешней оболочки труб из-за чрезмерного изгиба или в том случае, если во время эксплуатации радиус изгиба гибкой трубы можно измерить с помощью волоконно-оптического мониторинга.
16.8.3.4 Может быть затруднительными обнаружить
дефект 8 (см.
таблицу 11), так как переходная прокладка будет закрыта гибкой трубой.
16.8.3.5 Болты, крепящие корпус прокладки на несущей и поддерживаемой трубах, должны быть осмотрены для оценки коррозии или отсоединения.
17.1 Область применения
17.1.1
Раздел 17 распространяется на ремонтные хомуты. Некоторые рекомендации, относящиеся к ремонтным хомутам, представлены в виде ссылки на
раздел 5, в котором содержатся общие рекомендации по зажимным устройствам.
17.1.2 Рекомендации в
разделе 17 относятся к зажимным устройствам, используемым на гибких трубах, и не подходят для зажимных устройств подводных кабелей.
17.1.3 Соответствующие части из некоторых методических рекомендаций повторяются в настоящем стандарте.
17.2 Вопросы проектирования
17.2.1 Общие сведения
В
ГОСТ Р 59307 указаны требования к проектированию ремонтного хомута. Целью данного подраздела являются разработка и предоставление руководств по проектированию ремонтного хомута в соответствии с требованиями
ГОСТ Р 59307. В
подразделе 17.2 рассмотрен процесс проектирования ремонтного хомута и относительных преимуществ и недостатков определенных конфигураций ремонтного хомута.
17.2.2 Обзор проектирования
Процесс проектирования ремонтного хомута обычно рассматривает следующие аспекты:
- выбор материалов на основании эксплуатационных требований, указанных в
ГОСТ Р 59307. Руководства по выбору материалов приведены в
17.3;
- проектирование системы сброса для сброса газов кольцевого пространства гибкой трубы, при необходимости (см.
17.2.4.4);
- определение необходимых размеров отверстия ремонтного хомута для включения внешнего диаметра гибкой трубы, в том числе допусков, или внешнего диаметра в заводском исполнении при наличии;
- определение зажима, необходимого для предотвращения соскальзывания и для соблюдения максимально допустимого контактного давления гибкой трубы;
- определение усилия, необходимого для обеспечения зажимной способности хомута в процессе его эксплуатации;
- обеспечение возможности контроля коррозионной активности рабочей среды (добываемого флюида/продукта);
- проверка напряжений, прилагаемых к ремонтному хомуту при фиксации, в отношении соблюдения допустимых предельных значений для материала хомута, при необходимости;
- проведение расчетов усталостного повреждения в соответствии с
ГОСТ Р 59307, если диапазоны напряжения превышают определенные в документах и проверенные пределы прочности;
- выполнение расчетов системы катодной защиты для определения необходимых масс анодов для хомута, если используется металлический ремонтный хомут;
- проверка других характеристик технического ресурса материалов в соответствии с
ГОСТ Р 59307, включая демонстрацию совместимости материалов с используемыми средами кольцевого пространства.
17.2.3 Ремонт полимерными заплатками
17.2.3.1 В качестве ремонта с применением полимерных заплаток может быть применена сварка. Сварка при ремонте полимерными заплатками, как правило, включает установку ремонтного "зажима" с "мокрым" герметиком. Успешный ремонт сварными заплатками может быть чрезвычайно сложным из-за уровней водонасыщения полимера и трудности успешного высушивания. Ремонт со сваркой полимера также может не сохранить любые последующие нагрузки натяжения из-за обмотки во время снятия и повторной установки. Локальный ремонт со сваркой полимера не рекомендуется в виде единственного барьерного ремонта ввиду его слабой надежности.
17.2.3.2 Для ремонта оболочки необходимо применять двухкомпонентный эпоксидный клей, разработанный для подводного применения. Такой процесс обеспечивает барьерное уплотнение без свойства удержания давления. Основным преимуществом данного метода является то, что при ремонте используется легкий вес, и он обладает влиянием (небольшим) на плавучесть райзера.
Однако методу ремонта с эпоксидным клеем присущи следующие недостатки:
- время отвердевания эпоксидного клея ограничивает подводные процедуры;
- для работы и приготовления эпоксидного клея требуются утвержденные процедуры и обученный персонал;
- требуется подготовка поверхности оболочки, окружающей поврежденную зону, что может быть затруднительным в зонах сильного повреждения или при большом обрастании;
- качество ремонта не определяется количеством нанесенного материала;
- ремонтные заплатки могут смещаться от воздействий при проверке с помощью ТНПА или при динамическом движении райзера.
Альтернативный способ "мокрого" ремонта требует установки механического хомута (см.
17.2.4) на поврежденной зоне.
17.2.4 Механические ремонтные хомуты
17.2.4.1 При использовании ремонта с обычными механическими хомутами предлагается более надежное решение, чем с полимерными заплатками. Хомут размещают на месте повреждения, и, как правило, применяется барьерное уплотнение с одинарной или двойной уплотнительной сборкой. Необходимо оценить способность ремонта хомутами удерживать целостность уплотнения при последующей обработке кольцевого пространства. Это может привести к ограничениям по типу применяемых способов мониторинга кольцевого пространства в будущем. Размещение хомута должно учитывать сгибание трубы при определении размеров хомута и ограничения по кривизне, налагаемые на гибкую трубу.
17.2.4.2 Традиционные стальные ремонтные хомуты для трубопроводов могут быть установлены на трубопроводах, чтобы можно было проводить текущий контроль ингибитора в кольцевом пространстве среды. Такой тип хомутов применяют на тех оболочках, которые могут выдерживать полное давление.
Недостатки традиционных ремонтных хомутов для трубопроводов:
- большая масса установленного хомута с анодами, что может потребовать отдельной подготовки морского дна для причаливания ТНПА рабочего класса;
- сложность инструментов ТНПА рабочего класса, что требует наличия специально обученной команды ТНПА.
17.2.4.3 Продолжается разработка способа ремонта при удержании давления с использованием существующих легких ремонтных хомутов для труб. Такие компоненты уже классифицированы для использования при проведении большого количества ремонтных работ с трубами на поверхности и в береговой зоне, и они могут выдерживать внутреннее давление кольцевого пространства.
17.2.4.4 В некоторых случаях ремонтный хомут должен позволять сброс газа, захваченного в кольцевое пространство гибкой трубы, чтобы таким образом предотвращать местное превышение давления и разрыв внешней оболочки.
17.2.5 Проектирование установки
Один из способов проектирования ремонтного хомута, показанный на
рисунке 17.1, - это хомут, который состоит из двух частей и соединяется механически с помощью инструментов. Затем части хомута можно поступательно стянуть с помощью тангенциальной сборки ходового винта, для обеспечения жесткого зажима на райзере, а также сжать уплотнение из натурального каучука, формируя герметичный периметр вокруг разрыва.
Рисунок 17.1 - Конструкция ремонтного хомута среднего веса
17.3.1 Общие сведения
В
подразделе 17.3 указаны материалы, которые обычно используют в ремонтных хомутах, и представлены их рабочие характеристики.
17.3.2 Материалы ремонтного хомута
Ремонтные хомуты могут быть сделаны из традиционных материалов, например из стали, которые предлагают высокую прочность, но добавляют значительную массу гибкой трубе и требуют коррозионной защиты. Механические уплотнения с ремонтными хомутами могут быть изготовлены из таких материалов, как неопрен или полиуретан. Обычное полиуретановое уплотнение обладает твердостью по Шору 40. Ремонтные хомуты могут быть также изготовлены из армированного стекловолокном композита, что минимизирует добавленную массу на гибкой трубе. Полимерные заплатки, применяемые с двухкомпонентным эпоксидным клеем, указанные в
17.2.3.2, не обладают способностью удерживать давление.
17.4.1 Общие сведения
Целью
подраздела 17.4 является предоставление рекомендаций по способам общего анализа ремонтных хомутов.
17.4.2 Общий анализ
17.4.2.1 Согласно
ГОСТ Р 59307 требуется определение воздействия ремонтного хомута на систему гибкой трубы, когда воздействие считают значительным. Для этого необходим повторный анализ изначального общего проекта с дополнением в виде массы ремонтных хомутов и любых локальных изменений гидродинамических свойств.
17.4.2.2 Металлические механические хомуты, скорее всего, будут влиять на реакцию системы гибкой трубы по сравнению с легкими композитными ремонтными хомутами. Такой повторный анализ может быть более значимым для гибких труб, когда реакции близки к их допустимым пределам в первоначальном проекте.
17.5.1 Общие сведения
В
подразделе 17.5 представлены руководства и рекомендации по монтажу ремонтных хомутов, включая общие аспекты и пример порядка установки.
17.5.2 Установка ремонтного хомута
17.5.2.1 Необходимо рассмотреть выполнение установки пробного ремонтного хомута, если операции установки достаточно сложные или операторы ТНПА не имеют опыта в подобных операциях. Опытная установка должна быть осуществлена для каждого типа ремонтного хомута или для каждой процедуры установки. Испытание установки можно проводить на берегу в резервуаре.
17.5.2.2 Ремонтный хомут может быть установлен на месте (мокрый ремонт) или после извлечения гибкой трубы (сухой ремонт).
17.5.2.3 Для мокрого ремонта установка ремонтного хомута, как правило, требует участия ТНПА. С внешней оболочки гибкой трубы необходимо удалить все обрастание и выполнить подготовку всех поверхностей. Обрастание можно удалить струей воды.
17.5.2.4 Если использован герметик, не предназначенный для затвердевания в воде, его необходимо нанести на ремонтный хомут до спуска на воду или можно впрыснуть через отверстие в ремонтном хомуте. Данный герметик требует высыхания в течение определенного периода времени.
17.5.2.5 Если использовано механическое уплотнение, оставшийся этап в установке - это размещение хомута на поврежденной области и фиксация его на месте. В случае с мокрым ремонтом его обычно проводят с помощью ТНПА.
17.5.2.6 Зоны гибкой трубы, в которых требуется установка ремонтных хомутов, должны быть четко определены до начала установки.
17.5.2.7 Перед выполнением ремонта из кольцевого отверстия необходимо взять образцы среды, чтобы оценить уровни pH, оксиды железа и т.д., так как такая информация необходима для любой последующей оценки гибкой трубы.
17.5.2.8 Чтобы установить ремонтный хомут, ТНПА приближается к зоне ремонта, как показано на
рисунке 17.2, а). Резиновый "буферный брус" в форме V-образного паза [см.
рисунок 17.2, а)] может быть использован для контакта с гибкой трубой. Для втягивания хомута на райзер в месте ремонта применяют манипулятор. Пружинная жесткость обычного легкого хомута удерживает его на месте и позволяет проводить небольшие корректировки для обеспечения качественного покрытия поврежденной зоны.
17.5.2.9 Далее ТНПА позволяет захвату вращаться вокруг диаметра гибкой трубы и захватываться с прорезью буртом, чтобы достигнуть натяжения, как показано на
рисунке 17.2, б). После полного натяжения манипулятором поврежденная зона полностью герметизируется. Для помощи в этой части работы может быть использован второй ТНПА.
| |
а) Использование ТНПА с гибкой трубой и крепление ремонтного хомута | б) Натяжение ремонтного хомута с помощью ТНПА |
Рисунок 17.2 - Установка легкого ремонтного хомута
17.5.2.10 В случае так называемых ремонтных хомутов среднего веса (см.
рисунок 17.1) гибкая труба захватывается тисками на каждой стороне разрыва. Таким образом можно гидравлически стянуть гнезда верхнего и нижнего хомутов, что позволяет задействовать раскос тяг. После задействования гидравлические ходовые винты производят натяжения и герметизацию. При помощи опорного ТНПА основной ТНПА последовательно отсоединяет инструменты от ремонтного хомута, оставляя готовый ремонтный хомут на райзере.
17.5.2.11 Для монтажа крупногабаритных ремонтных хомутов целесообразно применять монтажные инструменты ТНПА с направляющими, оснащенными резиновой кранцевой защитой, предохраняющей гибкую трубу от ударов и повреждений, как показано на
рисунке 17.3. Затяжные болты, затягиваемые манипулятором, зажимают уплотнение и соединяются опорным ТНПА, и каждый из них затягивается.
Рисунок 17.3 - Установка крупногабаритного ремонтного хомута
17.5.2.12 Кольцевое пространство следует испытывать под давлением до утвержденных предельных значений, чтобы показать целостность ремонта. Рекомендуется учитывать рекомендации производителя, но, если отсутствуют другие руководства, испытание проводят при манометрическом давлении 150 кПа в кольцевом пространстве трубы.
17.5.2.13 После завершения ремонта необходимо провести испытание отверстия под давлением не выше 150% максимально допустимого рабочего давления, чтобы показать целостность трубы.
17.5.2.14 Необходимо проверить область вокруг ремонтного хомута после установки хомута в отношении возможного повреждения в результате процедур установки.
17.6 Управление целостностью
17.6.1 Общие сведения
В
подразделе 17.6 представлены руководства и рекомендации по управлению целостностью, включая возможные дефекты.
17.6.2 Типы неисправностей и дефекты
В
таблице 12 указаны возможные дефекты ремонтных хомутов.
Таблица 12
Возможные дефекты ремонтных хомутов
Дефект | Последствие | Возможная причина | Возможное исправление | Проектное решение/изменяемый параметр |
| а) Отделение гибкой трубы от хомута и возможная потеря уплотнения; б) дальнейшее повреждение гибкой трубы из-за соскабливания ремонтным хомутом вдоль внешней оболочки; в) возможное повреждение гибкой трубы в результате воздействия острых краев, получившихся при повреждении | б) удар от падающих объектов или другой подводной конструкции (например, швартовный конец); в) усталостная поломка; г) коррозия; д) неисправность сварного соединения; е) заводской брак; ж) водородная хрупкость; и) неправильная конструкция; к) неправильная установка (болты затянуты неправильно) | а) Вакуумное испытание целостности уплотнения, чтобы определить, не ухудшилось ли уплотнение; б) замена ремонтного хомута либо на месте, либо после извлечения гибкой трубы; в) установка дальнейших ремонтных хомутов для ремонта повреждения гибкой трубы | а) Выбор материалов; б) увеличение конструкционной прочности, например увеличение толщины хомута; в) замена конфигурации хомута, чтобы изменить распределение нагрузки; г) проектирование сварных соединений; д) проектирование системы катодной защиты |
| | б) коррозия; в) заводской брак (например, внутренний диаметр корпуса хомута слишком большой); г) ползучесть полимерной внутренней футеровки; д) неправильное проектирование (например, неправильная величина зажима); е) неправильная установка (неправильные приложенные силы зажима к хомуту) | Меры по исправлению в соответствии с 1 | а) Переоценка сил, которые может выдержать хомут; б) увеличение зажима или качеств герметика; в) предотвращение отсоединения крепежных элементов во время эксплуатации, при необходимости |
3 Неисправность крепежа корпуса хомута | | б) усталостная поломка; в) коррозия; г) заводской брак (например, термическая обработка не соответствует техническим требованиям); д) водородная хрупкость; е) неправильная конструкция (слишком маленький размер креплений); ж) неправильная установка (например, крепления затянуты неправильно) | а) Обсуждение с производителем целостности хомута и уплотнения при пропущенных крепежных элементах; б) установка сменных крепежных элементов, если необходимо гарантировать целостность гибкой трубы; в) установка сменного хомута | а) Выбор материалов; б) увеличение размера крепления; в) увеличение количества и/или распределения крепежных элементов в соответствующих случаях; г) проектирование системы катодной защиты |
4 Чрезмерное контактное давление, оказываемое хомутом | Возможная неисправность гибкой трубы | б) заводской брак (например, внутренний диаметр корпуса хомута слишком маленький); в) неправильная конструкция (слишком большое значение зажима); г) неправильная установка (например, крепления затянуты слишком плотно) | Снижение сил затяжки на месте, если возможно | а) Снижение зажима (будут снижены силы зажима); б) будет увеличена длина хомута настолько, что такая сила будет прилагаться по большей области |
5 Неисправность уплотнения | Попадание морской воды в кольцевое пространство гибкой трубы, увеличение скорости коррозии и снижение усталостного ресурса гибкой трубы | б) старение материала полимерного уплотнения из-за морской воды/высокой температуры, приводящее к потере давления герметичности/водонепроницаемости; в) текучесть материала уплотнения из-за уровней постоянного сжатия и потери давления герметичности; г) неправильная конструкция (например, недостаточный зажим); д) неправильная установка (крепления затянуты недостаточно) | Замена ремонтного хомута либо на месте, либо после извлечения гибкой трубы | а) Выбор материала уплотнения; б) переоценка сил, которые может выдержать хомут; в) усиление зажима; г) предотвращение отсоединения крепежных элементов во время эксплуатации, при необходимости |
6 Удаление покрытия краской | Возможная коррозия конструкции | а) Повреждение во время погрузочно-разгрузочных работ, хранения, транспортировки, установки или обслуживания; б) заводской брак (например, покрытие нанесено неправильно) в) неправильное проектирование (например, выбор системы покрытия) | См. отчет по проектированию/обсуждение с производителем по вопросам в отношении области нарушения покраски, на которую рассчитана система катодной защиты. Установка усовершенствованных анодов, если зона превышает расчетную | а) Выбор системы покрытия краской; б) проектирование системы катодной защиты |
7 Показания датчиков системы катодной защиты отличаются от технических требований | Возможная коррозия конструкции | а) Сломан(ы) анод(ы); б) неправильное проектирование системы катодной защиты (например, неправильные массы анодов) | а) Обсуждение с производителем того, какой промежуток времени текущая система катодной защиты может обеспечивать защиту; б) установка усовершенствованных анодов на длительный срок | Проектирование системы катодной защиты |
8 Коррозия ремонтного хомута или крепежных элементов | Возможная неисправность конструкции | а) Чрезвычайно коррозионная среда; б) неправильная защита системы катодной защиты; в) повреждение системы покрытия краской; г) неправильное проектирование (например, выбор материалов, проектирование системы катодной защиты) | а) Обсуждение с производителем целостности конструкции с коррозией; б) установка усовершенствованных анодов на длительный срок | а) Выбор материалов; б) проектирование системы катодной защиты |
17.6.3 Методы мониторинга
17.6.3.1 Повреждение гибкой трубы может произойти во время установки хомута, поэтому необходимо рассмотреть проверку области вокруг ремонтного хомута после установки.
17.6.3.3 Во время общего осмотра необходимо проверить гибкую трубу, чтобы удостовериться в том, что все ремонтные хомуты находятся в правильном положении на гибкой трубе. При наличии кольцевой маркировки положений ремонтных хомутов на гибкой трубе должен быть очевидным тот момент, когда хомут соскальзывает в соответствии с
дефектом 2 (таблица 12), так как такие маркировки будут видны на одной стороне хомута, и появится существующая поврежденная зона на гибкой трубе.
17.6.3.4 Если наблюдается, что соскользнул ремонтный хомут, необходимо провести общий осмотр длины гибкой трубы, вдоль которой соскользнул хомут, чтобы найти повреждения внешней оболочки гибкой трубы.
17.6.3.5 Неисправность уплотнения в соответствии с
дефектом 5 (таблица 12) может быть невидимой при общем осмотре. В таких случаях неисправность уплотнений можно определить с помощью метода или оборудования, которые могут выявить любые разрывы внешней оболочки гибкой трубы. Примером данного метода является вакуумное испытание, которое подтверждает целостность внешней оболочки, если она может сохранять стабильный вакуум в кольцевом пространстве гибкой трубы. После достижения стабильного вакуума известный объем азота закачивается в кольцевое пространство до достижения установленного давления. При регистрации этого объема кольцевого пространства можно выстроить тенденции и определить объем затопления. Необходимо отметить, что положительный результат, т.е. отсутствие разрывов внешней оболочки, показывает, что все уплотнения в порядке. Однако отрицательный результат не определяет, где находится разрыв, и может указать на новую поврежденную область, а не на неисправность уплотнения ремонтного хомута.
18 Уплотнения I/J-образных труб
18.1 Область применения
18.1.1
Раздел 18 относится к уплотнениям I/J-образных труб. Некоторые рекомендации, касающиеся уплотнений I/J-образных труб с зажимными устройствами, представлены в виде ссылки на
раздел 5, в котором содержатся общие рекомендации по зажимным устройствам.
18.1.2 Рекомендации
раздела 18 могут быть применены для подводных кабелей, кроме рекомендаций, относящихся к расчету силы зажима I/J-образных труб, устанавливаемых без водолазов.
18.2 Вопросы проектирования
18.2.1 Общие сведения
В
ГОСТ Р 59307 указаны требования к проектированию уплотнения I/J-образных труб. Целью данного подраздела являются разработка и предоставление руководств по проектированию уплотнения I/J-образных труб в соответствии с требованиями
ГОСТ Р 59307.
18.2.2 Обзор проектирования уплотнения I/J-образных труб, устанавливаемого водолазами
Процесс проектирования уплотнения I/J-образных труб, устанавливаемого водолазами, представлен на схеме на
рисунке 18.1 и обычно включает следующие этапы:
- выбор материалов на основании эксплуатационных требований, указанных в
ГОСТ Р 59307. Руководства по выбору материалов приведены в
18.3;
- выполнение ряда статических и динамических анализов, в зависимости от конкретного случая, для гибкой трубы;
- определение эффективного натяжения гибкой трубы на входе I/J-образной трубы посредством результатов указанных анализов;
- сборка уплотнительного элемента посредством результатов указанных анализов (см.
18.2.5.2 или
18.2.6.1);
- определение необходимых размеров уплотнительных элементов и других конструкционных элементов, чтобы обеспечить целостность уплотнения и размерную совместимость с I/J-образной трубой, а также внешним диаметром гибкой трубы или диаметром гибкой трубы в заводском исполнении, при необходимости. Геометрические ограничения (например, изгиб I/J-образной трубы) следует учитывать в проекте уплотнения;
- определение необходимых сил зажима, чтобы обеспечить целостность уплотнения и предотвратить повреждение элементов уплотнения I/J-образной трубы в соответствии с
ГОСТ Р 59307;
- проверка напряжений, прилагаемых к уплотнению I/J-образной трубы при фиксации и воздействии нагрузок в отношении того, находятся ли они в допустимых пределах для уплотнительного материала I/J-образной трубы. Полученную силу на гибкой трубе проверяют на предмет того, ниже ли ее значение относительно максимально допустимого контактного давления;
- выполнение расчетов системы катодной защиты для определения необходимой массы анодов;
- проверка характеристик срока службы материалов в соответствии с
ГОСТ Р 59307, включая демонстрацию того, что ползучесть полимерной внутренней футеровки не приведет к осевому соскальзыванию, а ползучесть уплотнительных элементов не ухудшает уплотнение;
- проведение расчетов усталостного повреждения в соответствии с
ГОСТ Р 59307, если диапазоны напряжения превышают определенные в документах и проверенные пределы прочности.
Рисунок 18.1 - Схема проектирования уплотнения
I/J-образной трубы, устанавливаемого водолазами
18.2.3 Обзор проектирования уплотнения I/J-образных труб, устанавливаемого без водолазов
Процесс проектирования уплотнения I/J-образных труб, устанавливаемого без водолазов, представлен на схеме на
рисунке 18.2 и обычно выполняется на этапах, указанных в
18.2.2, и на следующих дополнительных этапах:
- определение конфигурации хомута I/J-образных труб, включая определение всей формы и внешних размеров хомута;
- определение необходимых размеров отверстия хомута для включения внешнего диаметра гибкой трубы, в том числе допусков, или диаметра гибкой трубы в заводском исполнении, при наличии;
- определение необходимости приспособления внутренней футеровки к расширению/сжатию гибкой трубы и включения допусков на внешний диаметр гибкой трубы (см.
13.2.2.4), если проект основан на расчетном внешнем диаметре;
- определение необходимого профиля отверстия (профилированного или гладкого) для определенной трубной конструкции, которая будет зажата;
- определение зажима, необходимого для предотвращения соскальзывания при силе втягивания и для соблюдения максимально допустимого контактного давления гибкой трубы;
- определение сил, необходимых для обеспечения требуемого значения зажима;
- расчет точки крепления на уплотнении I/J-образной трубы для обеспечения совместимости со средствами соединения подъемного оборудования во время втягивания;
- проверки характеристик срока службы материалов в соответствии с
ГОСТ Р 59307, включая демонстрацию того, что ползучесть полимерной внутренней футеровки не приведет к осевому соскальзыванию.
Рисунок 18.2 - Схема проектирования уплотнения
I/J-образной трубы, устанавливаемого без водолазов
18.2.4 Проектирование I/J-образной трубы. Общие сведения
18.2.4.1 Необходимо учитывать время для проверки имеющихся I/J-образных труб, чтобы получить вышеупомянутые данные при отсутствии документации с такими данными.
18.2.4.2 В соответствии с
ГОСТ Р 59307 должно быть указано состояние отверстия I/J-образной трубы. Если I/J-образная труба использовалась в течение нескольких лет, например в отверстии может быть нарастание, которое затрудняет создание уплотнения, то необходимо иметь данные о состоянии отверстия I/J-образной трубы.
18.2.4.3 Могут потребоваться изменения I/J-образных труб для создания уплотнения I/J-образных труб, устанавливаемого без водолазов. Например, можно увеличить изогнутые секции I/J-образной трубы, добавив параллельную секцию, что облегчает втягивание уплотнения I/J-образной трубы без водолазов. Внутренние сварные швы могут быть притерты, чтобы улучшить втягивание уплотнения.
18.2.5 Проектирование уплотнения I/J-образных труб, устанавливаемого без водолазов
18.2.5.1 Рекомендации по общему проектированию хомута приведены в
13.2.2.
18.2.5.2 Герметизирующая функциональность уплотнений I/J-образных труб, устанавливаемых без водолазов, как правило, обеспечивается использованием большого количества полимерных уплотнительных колец вокруг хомута. Такие уплотнительные кольца, показанные на
рисунке 18.3, а), предотвращают попадание морской воды в I/J-образную трубу и выдерживают давление, вызванное рабочей средой. Обычно применяют четыре уплотнительных кольца, но необходимо принять решение о соответствующем количестве для использования на основании параметров отдельного проекта и опыта, полученного при разработке в предыдущих проектах.
18.2.5.3 Уплотнения I/J-образных труб, устанавливаемые без водолазов, обладают уплотнением с тугой посадкой, что показывает, что внешний диаметр уплотнительных колец до втягивания больше, чем внутренний диаметр I/J-образной трубы. Натяг обычно составляет от 2 до 4 мм.
18.2.5.4 Носовая часть уплотнения I/J-образных труб, как правило, профилирована в виде конуса, чтобы облегчить втягивание в I/J-образную трубу, как показано на
рисунке 5.27.
18.2.5.5 Сложно определить в числовом выражении оптимальную конфигурацию уплотнения I/J-образных труб, устанавливаемых без водолазов, поэтому необходимо проверить силу втягивания с помощью полномасштабного испытания на втяжную нагрузку. Порядок испытания втягивания приведен в
ГОСТ Р 59307.
18.2.6 Проектирование уплотнения I/J-образных труб, устанавливаемого водолазами
18.2.6.1 Уплотнительная функциональность уплотнений I/J-образных труб, устанавливаемых водолазами, обеспечивается полимерными полуобечайками или полимерными баллонами с одной продольной прорезью, позволяющей открывать их. Устанавливают на выходе I/J-образной трубы, как показано на
рисунке 18.3, а). В последнем случае материал должен быть достаточно мягким, чтоб водолаз мог вручную открыть оболочку. Данные уплотнительные элементы имеют внутреннее отверстие, в которое входит внешний диаметр гибкой трубы. Их внешний диаметр может быть таким, что они вставляются в отверстие I/J-образной трубы, или большим, и тогда они крепятся на входе I/J-образной трубы.
18.2.6.2 Уплотнения I/J-образных труб, устанавливаемые водолазами, могут быть уплотнением при наличии посадки с зазором, что показывает, что внешний диаметр уплотнительных элементов до втягивания меньше, чем внутренний диаметр I/J-образной трубы. Зазор обычно составляет от 4 до 6 мм.
18.2.6.3 Уплотнения I/J-образных труб, устанавливаемые водолазами, необходимо устанавливать с учетом соосности гибкой трубы в отношении отверстия I/J-образной трубы (см.
рисунок 18.3).
18.2.7 Проектирование монтажа
I/J-образную трубу следует проектировать с минимальным количеством крепежных элементов, используемых для обеспечения нужного уплотнения и зажима, при необходимости. Таким образом гарантируется, что время сборки, потраченное при установке, будет сведено к минимуму при сборке уплотнения I/J-образных труб на поверхности без помощи водолазов, а также при сборке уплотнения I/J-образных труб с помощью водолазов под водой.
18.3.1 Общие сведения
В
подразделе 18.3 указаны материалы, которые обычно используют в уплотнениях I/J-образных труб, и представлены их рабочие характеристики.
18.3.2 Материалы уплотнения I/J-образных труб
18.3.2.1 Хомуты I/J-образных труб, как правило, изготавливают из стали; элементы уплотнения - из полиуретана и полихлоропрена. Более мягкие классы полимерного материала уплотнительных элементов подходят для уплотнения I/J-образных труб, устанавливаемого водолазами. Таким образом обеспечиваются менее строгие требования к затяжке для тщательного сжатия материала, чтобы создать уплотнение. Более твердые классы материала наиболее соответствуют для уплотнения I/J-образных труб, устанавливаемого без водолазов, если данный материал достаточно жесткий, чтобы выдерживать силы при втягивании уплотнения. Обычные уплотнительные материалы обладают твердостью от 40 по Шору A до 60 по Шору D. Уплотняющий выступ может быть изготовлен из нейлона или стали.
18.3.2.2 Полимерные материалы уплотнительных элементов уплотнения I/J-образных труб должны показывать следующие свойства:
- низкий уровень впитывания воды;
- сопротивление гидролизу;
- ограниченное ухудшение из-за старения с учетом контакта с морской водой и морской водой с ингибитором коррозии;
- качественные высокотемпературные характеристики (если внутренняя среда гибкой трубы находится под высокой температурой);
- способность выдерживать нагрузки постоянного сжатия в I/J-образной трубе в течение срока службы без неисправности в результате ползучести или ухудшения уплотнения;
- совместимость уплотнения с внешней оболочкой гибкой трубы.
18.4 Изготовление
18.4.1 Общие сведения
В
ГОСТ Р 59307 установлены требования к производству уплотнения I/J-образных труб. В данном подразделе представлено описание обычных процессов, выполняемых при производстве уплотнения I/J-образных труб.
18.4.2 Процесс изготовления
18.4.2.1 Полимерные элементы уплотнения могут быть изготовлены путем открытого литья. Данный процесс включает смешивание составных компонентов полимера и заливку смеси в форму при давлении окружающей среды. Открытое литье - это один из наиболее простых и распространенных методов литья для термоотверждаемого полиуретана, и он соответствует сравнительно небольшому количеству частей. В действительности, сама форма может быть сделана из полиуретана.
18.4.2.2 Хомут I/J-образной трубы обычно изготавливают разъемным, из двух или более сегментов [см.
рисунок 18.3, в)].
Основные процессы при изготовлении хомута:
- обработка болтовых отверстий;
- сварка конструкционных элементов друг с другом, при необходимости;
- нанесение антикоррозионных защитных покрытий;
- прикрепление анодов катодной защиты, при необходимости.
18.5 Испытания опытного образца
18.5.1 Применение испытаний опытного образца
Необходимо рассмотреть испытания на амортизационный ресурс согласно
5.6.3 при наличии циклического воздействия значительных температур и изменения температур, а также если соответствующее количество циклов внешней оболочки гибкой трубы находится за пределами значений проектной проверки предыдущих испытаний опытного образца.
18.5.2 Испытания на амортизационный ресурс
18.5.2.1 Описание
Целью испытания на амортизационный ресурс является проверка того, может ли I/J-образная труба сохранять уплотнение при нагрузках температурных расширений и сжатий, которые будут возникать при работе.
18.5.2.2 Порядок испытаний
18.5.2.2.1 Уплотнение I/J-образной трубы должно быть закреплено на участке образца гибкой трубы, при возможности, который представляет свойства фактического участка гибкой трубы. В противном случае, его необходимо зафиксировать на макете гибкой трубы в натуральную величину. Компоненты уплотнения I/J-образной трубы следует собирать и фиксировать с помощью крепежных элементов с такими же характеристиками и с такой же силой зажима, как и было определено на этапе проектирования для работы.
18.5.2.2.2 При испытании необходимо использовать трубу, представляющую размеры I/J-образной трубы для определенного применения. Уплотнения I/J-образной трубы, устанавливаемые водолазами, необходимо монтировать на выходе данной трубы, уплотнения I/J-образной трубы, устанавливаемые без водолазов, должны протягиваться по трубе. Необходимо определить подходящие размеры трубы для использования при испытании на основании исполнительных данных или расчетных допусков, которые представляют наиболее значимые размеры для испытания на амортизационный ресурс. В трубу постепенно нагнетается давление до рабочего, и такое давление удерживается достаточное для стабилизации время.
18.5.2.2.3 Количество температурных изменений и их циклов, соответствующих естественным условиям эксплуатации, применяют для участка образца гибкой трубы или макета трубы в натуральную величину. В период воздействия давления и циклических температур части уплотнения, внешние по отношению к трубе, проверяют на наличие утечки. Давление снижается, прекращается использование источника температуры, и уплотнение I/J-образной трубы снимается. Элементы уплотнения необходимо проверить.
18.5.2.3 Критерии приемки
Уплотнение I/J-образной трубы должно выдерживать перепад давления и циклические изменения температуры в определенных применениях, без неустранимой деформации или повреждения. Во время испытаний не должна наблюдаться утечка.
18.6 Монтаж уплотнения I/J-образных труб
18.6.1 Общие сведения
В
подразделе 18.6 приведены руководства и рекомендации по погрузочно-разгрузочным работам, транспортировке и монтажу I/J-образных труб. Положения, изложенные в
18.6.2, относятся к общим вопросам и описывают порядок монтажа.
18.6.2 Монтаж. Общие рекомендации
18.6.2.1 Уплотнение I/J-образных труб предусмотрено в форме разъемной сборки, чтобы облегчить крепление вокруг гибкой трубы.
18.6.2.2 Перед присоединением хомутов I/J-образной трубы поверхность гибкой трубы в месте хомута и внутренняя поверхность хомута должны быть очищены от загрязнений, таких как смазка или масло.
18.6.2.3 Уплотнение I/J-образных труб должно быть собрано и установлено в соответствии с процедурами по установке. Необходимо соблюдать процедуры по установке, так как уплотнение может быть повреждено при чрезмерной затяжке болтов. Такая чрезмерная затяжка может также изменить размеры уплотнения и, в свою очередь, повредить уплотнения в I/J-образной трубе.
18.6.2.4 Маркировка размещения уплотнения на гибкой трубе должна быть сделана ранее, во время упаковки.
18.6.3 Монтаж. Уплотнение I/J-образных труб, устанавливаемое без водолазов
Монтаж уплотнения I/J-образных труб без водолаза обычно включает следующие этапы:
- сборку хомута вокруг гибкой трубы, прилегающего к уплотнительным элементам [см.
рисунок 18.3, в)];
- нанесение смазки на сборку, чтобы помочь при втягивании.
Примечание - Наличие смазки может резко снизить необходимую силу затягивания;
- затягивание гибкой трубы в I/J-образную трубу для создания уплотнения.
| |
а) Сборка уплотнительных элементов | б) Сборка внутренней футеровки |
| |
| |
Рисунок 18.3 - Установка I/J-образной трубы
без помощи водолазов
18.6.4 Монтаж. Уплотнения I/J-образных труб, устанавливаемые водолазами
При монтаже водолазами уплотнения I/J-образных труб необходимо, чтобы водолаз вручную устанавливал уплотнения, зафиксировав уплотнительные элементы вокруг гибкой трубы на выходе I/J-образной трубы.
Установка уплотнения I/J-образных труб водолазами обычно включает следующие этапы:
- сборку конструкционных элементов, необходимых для соединения I/J-образной трубы, примыкающей к уплотнительным элементам [см.
рисунок 18.4, б) и
в)];
| |
а) Сборка уплотнительных элементов | |
| |
| |
Рисунок 18.4 - Установка I/J-образной трубы
с помощью водолазов
18.7 Управление целостностью
18.7.1 Общие сведения
В
подразделе 18.7 представлены руководства и рекомендации по управлению целостностью, включая возможные дефекты.
18.7.2 Типы неисправностей и дефекты
В
таблице 13 указаны возможные дефекты уплотнений I/J-образных труб.
18.7.3 Методы мониторинга
Таблица 13
Возможные дефекты уплотнения I/J-образных труб
Дефект | Последствие | Возможная причина | Возможное исправление | Проектное решение/изменяемый параметр |
1 Соскальзывание хомута во время втягивания | Невозможно создать уплотнение в I/J-образной трубе без извлечения или замены уплотнения I/J-образной трубы | а) Чрезмерная осевая нагрузка из-за втягивания; б) заводской брак (например, внутренний диаметр корпуса хомута слишком большой); в) неправильное проектирование (например, неправильная величина зажима); г) неправильная установка (неправильные приложенные силы зажима к хомуту) | а) Извлечение гибкой трубы и повторная затяжка крепежных элементов хомута; б) извлечение гибкой трубы и установка запасного уплотнения I/J-образной трубы на гибкой трубе, при необходимости | а) Переоценка сил втягивания, которые может выдержать хомут; б) увеличение сопротивления зажиму (будут увеличены силы зажима) |
2 Невозможность втянуть уплотнение I/J-образной трубы | Необходима большая мощность для создания нужной силы втягивания | а) Заводской брак (например, диаметр уплотнительных элементов выше диапазона допуска); б) неправильная установка (например, сила втягивания ниже прогнозируемой или необходимый диаметр уплотнительных элементов переоценен); в) ограничение силы втягивания, которую можно создать | а) Увеличение силы втягивания до предельного значения, указанного производителем; б) извлечение гибкой трубы и установка запасного уплотнения I/J-образной трубы на гибкой трубе, при необходимости | а) Изменение размеров элемента уплотнения для обеспечения целостности уплотнения I/J-образной трубы; б) увеличение необходимой силы втягивания |
3 Нарушение герметичности уплотнений | Требуется уплотнение | а) Чрезмерный перепад давления между I/J-образной трубой и окружающей средой; б) частые тепловые циклические нагрузки; в) производственный дефект; г) старение материала уплотнения; д) ошибка при проектировании; е) возникновение дефектов во время процесса установки | а) Долив ингибитора коррозии (в качестве временной меры); б) замена уплотнения | а) Выбор материала; б) изменение конструкции уплотнения; в) увеличение момента затяжки |
4 Чрезмерное контактное давление, оказываемое хомутом | Возможная неисправность гибкой трубы | б) заводской брак (например, внутренний диаметр корпуса хомута слишком маленький); в) неправильная конструкция (слишком большое значение зажима); г) неправильная установка (например, крепления затянуты слишком плотно) | Снижение сил затяжки на месте, если возможно | а) Снижение значения зажима (будут снижены силы зажима); б) будет увеличена длина хомута таким образом, что сила будет прилагаться по большей области |
5 Показания датчиков системы катодной защиты отличаются от технических требований (если есть система катодной защиты) | Возможная коррозия металлических компонентов | а) Сломан(ы) анод(ы); б) неправильное проектирование системы катодной защиты (например, неправильные массы анодов) | а) Обсуждение с производителем того, какой промежуток времени текущая система катодной защиты может обеспечивать защиту; б) установка усовершенствованных анодов на длительный срок | Проектирование системы катодной защиты |
6 Коррозия хомута или крепежных элементов | Возможная неисправность конструкции | а) Чрезвычайно коррозионная среда; б) неправильная защита системы катодной защиты; в) неправильное проектирование (например, выбор материалов, проектирование системы катодной защиты) | а) Обсуждение с производителем целостности конструкции с коррозией; б) установка усовершенствованных анодов на длительный срок | а) Выбор материалов; б) проектирование системы катодной защиты |
18.7.3.2
Дефект 1 в таблице 13 можно обнаружить во время установки, так как необходимое меньшее усилие затягивания указывает на то, что хомут больше не обеспечивает сопротивления. Также гибкая труба покажет провисание, поскольку теперь она может двигаться по отношению к хомуту.
18.7.3.3 Втягивание уплотнения I/J-образных труб может быть подтверждено заметным увеличением уровня воды на верхней части I/J-образной трубы из-за втягивания уплотнения. Если уровень воды не увеличивается, это может указывать на
дефект 2 (см.
таблицу 13). Успешное втягивание также можно проверить с помощью ТНПА на выходе J-образной трубы.
18.7.3.4 Для выявления
дефекта 3 (см.
таблицу 13) уровень ингибитора коррозии в I/J-образной трубе необходимо контролировать в течение срока службы. Снижение концентрации ингибитора коррозии может указывать на возможное нарушение герметичности (целостности) уплотнения.
18.7.3.5 В некоторых случаях может быть сложно обнаружить
дефект 4 (см.
таблицу 13), так как хомут будет закрыт гибкой трубой.
19.1 Общие сведения
Направляющие головки могут быть использованы в другом вспомогательном оборудовании, например в устройствах для передачи нагрузки. Рекомендации по устройствам для передачи нагрузки приведены в
разделе 22.
19.2 Вопросы проектирования
19.2.1 Обзор проектирования
Проектирование втяжных головок обычно включает следующие этапы:
- выбор геометрии, которая обеспечивает точный подбор по соединительной арматуре гибкой трубы. Во втяжной головке могут потребоваться отверстия для соединения отверстий с соединительной арматурой;
- анализ прочности втяжной головки (см.
19.3.1);
- выбор средств соединения с достаточным значением допустимой рабочей нагрузки и совместимых с подъемным оборудованием.
19.2.2 Проектирование втяжной головки
19.2.2.1 Если втяжная головка втягивается через I/J-образную трубу, необходимо рассмотреть профиль втяжной головки. Так можно предотвратить обтирание или повреждение основания I/J-образной трубы, когда через нее втягивается головка. Это будет иметь большее значение, если угол втягивания отклоняется от вертикали на несколько градусов. На основании I/J-образной трубы может быть использован раструб или направляющий конус.
19.2.2.2 Может потребоваться втянуть втяжную головку через I/J-образную трубу, как часть процедуры установки гибкой трубы, как показано на
рисунке 19.1. Конструкция втяжной головки должна обеспечивать достаточный зазор между стенками I/J-образной трубы. Полномасштабные испытания интеграции системы элемента жесткости на изгиб/раструба I/J-образной трубы могут быть также выполнены на берегу для того, чтобы определить чувствительность к выравниванию и размерные зазоры.
1 - втяжная головка; 2 - I-образная труба;
3 - соединительная арматура
Рисунок 19.1 - Направляющая головка, втягиваемая
через I-образную трубу
19.2.3 Противокоррозионная защита
Противокоррозионная защита не относится к втяжной головке, если она уже использовалась и не подвергалась воздействию коррозионных сред в течение достаточного количества времени. Поскольку конфигурация соединительной арматуры, как правило, отличается для каждой гибкой трубы, втяжная головка может не годиться для повторного использования.
Противокоррозионную защиту необходимо использовать в следующих случаях:
- когда направляющую головку применяют при ликвидационных работах или извлечении, она может быть оставлена под водой на существенный период времени;
- если направляющая головка находится в условиях хранения, при которых может подвергаться коррозии;
- если направляющая головка будет использована повторно, следовательно, она будет обладать более длительным сроком службы.
19.2.4 Типы неисправностей и дефекты
В
таблице 14 указаны возможные дефекты втяжных головок, в ней также указаны соответствующие проектные решения/стратегии.
Таблица 14
Возможные дефекты втяжных головок
Дефект | Последствие | Возможная причина | Проектное решение/ изменяемый параметр |
1 Неисправность втяжной головки | Отделение втяжной головки от соединительной арматуры и падение гибкой трубы на морское дно | б) коррозия во время хранения; в) неисправность сварного соединения; г) заводской брак; д) неправильная конструкция | а) Выбор материалов; б) увеличение конструкционной прочности, например увеличение размеров втяжной головки |
2 Неисправность планки с обухом | Последствия в соответствии с 1 | б) коррозия во время хранения; в) неисправность сварного соединения; г) заводской брак; д) неправильное проектирование (например, значение безопасной рабочей нагрузки слишком низкое) | Увеличение значения безопасной рабочей нагрузки планки с обухом |
3 Неисправность крепежных элементов | а) Возможное отделение втяжной головки от гибкой трубы и последствия в соответствии с 1; б) чрезмерная нагрузка на оставшиеся крепления | б) коррозия во время хранения; в) заводской брак (например, термическая обработка не соответствует техническим требованиям); г) неправильная конструкция (слишком маленький размер креплений) | а) Выбор материалов; б) увеличение размера крепления; в) увеличение количества и/или распределения крепежных элементов |
4 Удаление покрытия краской (при наличии системы покрытия) | Возможная коррозия конструкции | а) Повреждение во время погрузочно-разгрузочных работ, хранения, транспортировки, установки или обслуживания; б) заводской брак (например, покрытие нанесено неправильно); в) неправильное проектирование (например, выбор системы покрытия) | Выбор системы покрытия краской |
5 Коррозия втяжных головок или элементов крепежа | Возможная неисправность конструкции | а) Чрезвычайно коррозионная среда во время установки или хранения; б) повреждение системы покрытия краской; в) неправильное проектирование (например, выбор материалов, выбор системы покрытия краской) | а) Выбор материалов; б) выбор системы покрытия краской |
19.2.5 Расчет срока службы
Как правило, втяжные головки используют только временно. Если втяжную головку будут использовать повторно, необходимо подтвердить, что она может выдержать ожидаемое количество нагрузок в соответствии с действующим стандартом для подъемного оборудования (см.
ГОСТ Р 59307).
19.3 Вопросы анализа
Необходимо выполнить анализ напряжений для всех компонентов втяжной головки, включая планки с обухом, крепежные элементы и сварные узлы. Втяжная головка может обладать способностью выдерживать растущее давление, поэтому в таких случаях анализ напряжений должен учитывать максимальное внутреннее давление в гибкой трубе.
19.3.2 Общий анализ
Необходимо учитывать массу втяжной головки для общего анализа, так как ее воздействие на систему гибкой трубы может быть существенным. Соединение между втяжной головкой и гибкой трубой можно моделировать для того, чтобы втяжной кабель мог вращаться в трехмерном пространстве относительно гибкой трубы.
19.4 Управление целостностью
Втяжные головки - это временные компоненты оборудования, и, следовательно, управление целостностью не требуется. При наличии компонентов для повторного использования их необходимо перед этим проверить. Типы неисправностей и дефекты втяжных головок представлены в
таблице 14.
20.1 Вопросы проектирования
20.1.1 Общие сведения
В
ГОСТ Р 59307 указаны требования к проектированию муфт. Целью
раздела 20 являются разработка и предоставление руководств по проектированию муфты в соответствии с требованиями
ГОСТ Р 59307.
20.1.2 Обзор проектирования
Проектирование муфт, как правило, включает следующие этапы:
- определение подходящей плотности сетки.
Примечание - Как правило, более плотная сетка обеспечивает более сильный захват при определенной длине муфты;
- проектирование геометрии для обеспечения точного подбора по указанному диаметру гибкой трубы;
- расчет отдельных проволок на прием максимальных натяжений, которым проволоки подвергаются во время установки;
- проектирование подъемных точек муфты, обеспечивающих проведение грузоподъемных операций.
20.1.3 Проектирование
20.1.3.1 Муфту необходимо выбирать с надлежащим учетом материалов гибкой трубы, а выбранная конструкция должна быть согласована с конструкцией гибкой трубы. У муфт должно быть соответствующее покрытие для предотвращения повреждения покрытия трубы при использовании для установки гибкой трубы.
20.1.3.2 Муфты обычно предоставляются в стандартных комплектах с разными размерами, с указанным диапазоном диаметров гибкой трубы и соответствующих разрывных нагрузок.
20.1.4 Типы неисправностей и дефекты
Основная нагрузка, воздействующая на муфту, - эффективное натяжение гибкой трубы. В
таблице 15 указаны возможные дефекты муфт и предлагаются соответствующие решения/стратегии.
Таблица 15
Дефект | Последствие | Возможная причина | Проектное решение/изменяемый параметр |
1 Повреждение отдельной проволоки, из которой состоит муфта | а) Возможное отделение муфты от гибкой трубы и падение гибкой трубы на морское дно; б) чрезмерная нагрузка на оставшуюся проволоку | а) Чрезмерная нагрузка; б) коррозия во время хранения; в) заводской брак; г) неправильная конструкция; д) неправильная установка (например, муфта закреплена неправильно) | а) Выбор материалов; б) увеличение диаметра проволоки; в) увеличение количества проволоки |
2 Потеря захвата | а) Изменение конфигурации установки и возможная неисправность гибкой трубы; б) повреждение внешней оболочки гибкой трубы из-за соскальзывания муфты; в) возможное ударное воздействие на муфту со стороны соединительной арматуры, если она далеко соскользнула, и возможная потеря гибкой трубы | б) заводской брак; в) неправильная конструкция; г) неправильная установка (например, муфта закреплена неправильно); д) неправильное проведение погрузочно-разгрузочных работ (см. 20.5.2) | а) Увеличение плотности сетки; б) увеличение длины муфты |
3 Неисправность точки соединения для подъемного оборудования | б) чрезмерная нагрузка на оставшиеся точки соединения | б) коррозия во время хранения; в) заводской брак; г) неправильное проектирование (например, значение безопасной рабочей нагрузки слишком низкое); д) неправильная установка (например, шплинты скобы неправильно закреплены болтами) | Увеличение значения безопасной рабочей нагрузки точки соединения |
4 Коррозия конструкции | Возможная неисправность конструкции | а) Чрезвычайно коррозионная среда; б) неправильное проектирование (например, выбор материала) | Выбор материалов |
20.2 Материалы муфты
Муфты для использования в морских условиях обычно изготовляют из нержавеющей стали, которая обеспечивает необходимую противокоррозионную защиту в таких условиях.
20.3 Вопросы анализа
Муфта может быть включена в общий анализ, в котором анализируют порядок установки гибкой трубы. Как правило, муфта не представляет значительного увеличения локальной массы гибкой трубы, и ее можно моделировать неявно, с помощью элементов, обеспечивающих свободу вращения подъемных кабелей в отношении точек подъема на гибкой трубе.
20.4 Испытания опытного образца
20.4.1 Применение испытаний опытного образца
Проведение испытаний опытного образца муфты должно выполняться в соответствии с требованиями к испытаниям, изложенным в
5.6.3, и учитывать следующие расчетные параметры:
- нагрузки, воздействующие на муфту от натяжений гибкой трубы;
- наружный диаметр гибкой трубы;
- характеристики материала внешней оболочки гибкой трубы.
20.4.2 Испытание втягивания
20.4.2.1 Описание
Целью испытания втягивания является проверка того, что муфта может оставаться надежно закрепленной на гибкой трубе, не повреждая внешнюю оболочку и не соскальзывая при нагрузках затягивания в определенном применении.
20.4.2.2 Порядок испытаний
20.4.2.2.1 Муфта должна быть закреплена в соответствии с инструкциями производителя вокруг гибкой трубы или на образце гибкой трубы. Сборка должна смачиваться морской водой, чтобы воспроизвести морские условия.
20.4.2.2.2 Оснастку и средства соединения (например, скобы и т.д.) с аналогичными характеристиками и крепящиеся с такими силами зажима, которые используют для работы, следует крепить к подъемным линиям муфты.
20.4.2.2.3 С удержанием одного конца гибкой трубы нагрузка прилагается к оснастке муфты, чтобы воспроизвести силу втягивания в работе. Применяют коэффициент прочности 1,5 к максимальной рабочей нагрузке для того, чтобы получить испытательную нагрузку.
20.4.2.3 Критерии приемки
Муфта не должна двигаться, так как движение указывает на опасность соскальзывания во время работы. Внешняя оболочка гибкой трубы не должна быть повреждена. В технической документации изготовителя гибкой трубы должен быть указан перечень повреждений, при которых дальнейшее использование гибкой трубы невозможно.
20.5 Погрузочно-разгрузочные работы и монтаж
20.5.1 Общие сведения
В
подразделе 20.5 приведены руководства и рекомендации по погрузочно-разгрузочным работам и установке муфты. Положения, изложенные в
20.5.3, относятся к общим вопросам и описывают порядок монтажа.
20.5.2 Погрузочно-разгрузочные работы
20.5.2.1 Необходимо избегать нагрузок, поперечных муфте и гибкой трубе. Нагрузки должны максимально соответствовать гибкой трубе и муфте (см.
рисунок 20.1). Стропы и скобы или аналогичная оснастка должны быть использованы между подъемными точками муфты и подъемным кабелем, как показано на
рисунке 20.1, чтобы предотвратить возникновение слишком большого угла между точками подъема (см.
рисунок 20.2).
1 - скоба; 2 - основное звено; 3 - скоба; 4 - проволочная
стропа; 5 - защита (старая внешняя оплетка, обмотанная);
6 - муфта
Рисунок 20.1 - Правильное обращение с муфтой типа
"Китайский палец"
Рисунок 20.2 - Неправильное обращение с муфтой типа
"Китайский палец"
20.5.2.2 Подъемное оборудование не должно сжимать гибкую трубу, как показано на
рисунке 20.3, так как это может ее повредить.
Рисунок 20.3 - Неправильное обращение с муфтой типа
"Китайский палец"
20.5.2.3 Подъемные линии муфты [кабели между сеткой и подъемными деталями (скобы), как показано на
рисунке 20.3] должны соответствовать основному корпусу муфты, когда сборка натянута, или захват муфты на трубе снизится, и гибкая труба начнет скользить. На
рисунке 20.4 проиллюстрированы подъемные линии, которые не соответствуют основному корпусу муфты, что обозначено пунктиром на рисунке.
Рисунок 20.4 - Неправильное обращение с муфтой типа
"Китайский палец"
20.5.3.1 Так как муфта может быть установлена в любом количестве мест на гибкой трубе без доступа к соединительной арматуре, может потребоваться откорректировать конфигурацию разъемной сетки, чтобы облегчить установку на трубе. При такой конфигурации муфта разъединяется продольно и закрепляется после установки на гибкой трубе. Шнурование следует выполнять в соответствии с инструкциями на муфту. Длина гибкой трубы, где будет находиться муфта, должна быть очищена от смазки или масла. Любое провисание сетки муфты должно быть сглажено.
20.5.3.2 То место, на которое муфту крепят к гибкой трубе, должно быть четко отмечено на внешней оболочке гибкой трубы.
20.5.3.3 Для внешней оболочки гибкой трубы должна быть предусмотрена защита для предотвращения износа и ударных нагрузок от скоб и подъемных линий, прикрепленных рядом с муфтой (см.
рисунок 19.1). На рисунке показано, что защита - это старая внешняя оболочка гибкой трубы.
20.5.3.4 Необходимо учитывать, что муфта остается под водой после установки, поэтому может подвергаться коррозии и тем самым представлять опасность для ТНПА, в связи с чем необходимо избегать такой ситуации.
20.6 Управление целостностью
Муфты - это временные компоненты оборудования, и, следовательно, управление целостностью не требуется. Однако муфты необходимо проверять при повторном использовании в отношении повреждения точек подъема или проволоки, например разрывов проволоки, и на коррозионное состояние. Типы неисправностей и дефекты муфт представлены в
таблице 15.
21.1 Область применения
Раздел 21 относится к конструкциям, которые используют для передачи нагрузки и выдерживания давления. Рекомендации по конструкциям, которые требуются для передачи нагрузок без выдерживания давления, приведены в
разделе 22. Некоторые соединители могут включать в свою конструкцию втяжные головки, и в таком случае также необходимо использовать рекомендации
раздела 19.
21.2 Вопросы проектирования
21.2.1 Общие сведения
В
ГОСТ Р 59307 установлены требования к проектированию соединений. Целью данного подраздела являются разработка и предоставление руководств по проектированию соединений в соответствии с требованиями
ГОСТ Р 59307.
21.2.2 Обзор проектирования
Проектирование соединения обычно включает следующие этапы:
- анализ прочности;
- анализ усталости;
- выбор защитных покрытий;
- анализ срока службы уплотнений.
21.2.3 Проектирование соединений
21.2.3.1 В настоящем стандарте не рассматривают рекомендации по напряжению соединений, требования к изготовлению, испытания и проектирование установки, эксплуатационные требования.
21.2.3.2 Если используют стандартные фланцевые соединения, для определенного размера выбранного фланца будет соответствующий диапазон давлений. Диапазоны давления для стандартизованных фланцевых соединений указаны в
ГОСТ Р 51365,
ГОСТ 15763.
21.2.3.3 У систем отключения могут быть клапаны аварийного останова на одной или обеих сторонах соединения. Иногда клапаны не нужны.
Следующие аспекты значимы для решения того, включать/не включать клапаны:
- риск отсоединения;
- транспортируемая среда;
- вопросы окружающей среды;
- верхние клапаны.
21.2.4 Проектирование монтажа
Усталостный ресурс соединения напрямую зависит от предварительной нагрузки, поэтому анализ усталости должен определить соответствующую предварительную нагрузку.
21.3 Вопросы анализа
21.3.1 Местный анализ
21.3.1.2 Необходимо моделировать контакт между компонентами в соединении, например соединительную резьбу в резьбовом соединении. Следует учитывать контактные силы для коэффициентов трения тех покрытий, которые наносят на контактные поверхности. Из-за нелинейности контакта необходимо применять анализ метода конечных элементов.
21.3.2 Анализ усталости
Необходимо провести расчет усталости соединений (методом S-N и методом начального срока службы), а также проверку критериев усталости крепежных элементов.
21.4.1 Общие сведения
В
подразделе 21.4 представлены процессы, выполняемые при изготовлении соединений фланцевого типа.
21.4.2 Процесс изготовления. Соединения фланцевого типа
В производство соединений фланцевого типа входят следующие процессы:
- обработка указанного профиля фланца из стальных поковок, как правило, с помощью оборудования с ЧПУ;
- сверление во фланце болтовых отверстий с помощью автоматических и радиально-сверлильных станков;
- исследование методом неразрушающего контроля сварных узлов с помощью магнитопорошкового и ультразвукового способов проверки;
- зачистка, маркировка и покраска фланца для защиты от коррозии.
21.5 Испытания опытного образца
21.5.1 Общие сведения
Рекомендации по испытанию соединений указаны в
ГОСТ Р 55430.
21.5.2 Применение испытаний опытного образца
Расчетные параметры, которые следует рассматривать, как минимум, при необходимости испытания опытного образца в соответствии с
5.6.3:
а) расчетные нагрузки:
1) внутреннее давление,
2) эффективное напряжение, момент изгиба и силы сдвига, передаваемые гибкой трубой на соединение,
3) усталостные нагрузки, включающие значения эффективного напряжения, момента изгиба и сил сдвига и соответствующее количество циклов для каждого диапазона нагрузок;
б) расчетная температура;
в) материалы;
г) процесс(ы) производства;
д) внутренний диаметр гибкой трубы.
21.6 Погрузочно-разгрузочные работы и монтаж
21.6.1 Общие сведения
В
подразделе 21.6 приведены руководства и рекомендации по погрузочно-разгрузочным работам и монтажу соединений. Положения, изложенные в
21.6.3, относятся к общим вопросам и описывают порядок монтажа.
21.6.2 Погрузочно-разгрузочные работы
Необходимо проявлять осторожность во время погрузочно-разгрузочных работ, чтобы не допустить повреждения защитных покрытий соединения.
Соединения, как правило, приваривают к соединительной арматуре до присоединения к гибкой трубе или они могут быть обработаны на корпусе соединительной арматуры.
21.7 Управление целостностью
21.7.1 Общие сведения
В
подразделе 21.7 представлены руководства и рекомендации по управлению целостностью, включая возможные дефекты.
21.7.2 Типы неисправностей и дефекты
В
таблице 16 указаны возможные дефекты соединений.
Таблица 16
Возможные дефекты соединений
Дефект | Последствие | Возможная причина | Возможное исправление | Проектное решение/изменяемый параметр |
1 Неисправность соединения | а) Отделение гибкой трубы от платформы и выброс внутренней жидкости в окружающую среду; б) возможное ударное воздействие на другие подводные линии со стороны отделенной гибкой трубы | б) усталостная поломка; в) коррозия; г) неисправность сварного соединения; д) заводской брак (например, термическая обработка не соответствует техническим требованиям); е) водородная хрупкость; ж) неправильная конструкция; и) неправильная установка (например, болты на фланце или стыковочная втулка затянуты неправильно) | Отсутствует | а) Выбор материалов; б) увеличение конструкционной прочности, например увеличение толщины стенок; в) проектирование сварных соединений; г) проектирование системы катодной защиты |
2 Неисправность крепежных элементов (фланцы и стыковочные втулки) | Последствия в соответствии с 1 | б) усталостная поломка; в) коррозия; г) неисправность сварного соединения; д) заводской брак (например, термическая обработка не соответствует техническим требованиям); е) водородная хрупкость; ж) неправильная конструкция (слишком маленький размер креплений); и) неправильная установка (например, болты на фланце или стыковочная втулка затянуты неправильно) | а) Обсуждение с производителем резервирования элементов конструкции при пропущенных крепежных элементах; б) доводка новых крепежных элементов, если позволяет доступ | а) Выбор материалов; б) увеличение размера крепления; в) увеличение количества и/или распределения крепежных элементов; г) проектирование системы катодной защиты |
| Потеря внутренней жидкости | б) усталостная поломка; в) коррозия; г) неисправность сварного соединения; д) заводской брак; е) водородная хрупкость; ж) ползучесть (только полимерные уплотнения); и) неправильное проектирование (например, выбор материала уплотнений); к) неправильная установка (например, болты на фланце или стыковочная втулка затянуты неправильно) | Нет | а) Выбор материалов; б) конструкция уплотнений |
4 Удаление покрытия краской | Возможная коррозия конструкции | а) Повреждение во время погрузочно-разгрузочных работ, хранения, транспортировки, установки или обслуживания; б) заводской брак (например, покрытие нанесено неправильно); в) неправильное проектирование (например, выбор системы покрытия) | См. отчет по проектированию/обсуждение с производителем по вопросам области нарушения покраски, на которую рассчитана система катодной защиты. Установка усовершенствованных анодов, если зона превышает расчетную | а) Выбор системы покрытия краской; б) проектирование системы катодной защиты |
5 Отличие показаний катодной защиты от технических требований | Возможная коррозия металлических компонентов дросселя изгиба | а) Сломан(ы) анод(ы); б) неправильное проектирование системы катодной защиты (например, неправильные массы анодов) | а) Обсуждение с производителем того, какое количество времени текущая система катодной защиты может обеспечивать защиту; б) установка усовершенствованных анодов на длительный срок | Проектирование системы катодной защиты |
6 Неисправность соединения или крепежных элементов (фланцы и стыковочные втулки) | Возможная неисправность конструкции | а) Чрезвычайно коррозионная среда; б) неправильная защита системы катодной защиты; в) повреждение системы покрытия краской; г) неправильное проектирование (например, выбор материалов, проектирование системы катодной защиты, выбор системы покрытия краской) | а) Обсуждение с производителем целостности конструкции с коррозией; б) установка усовершенствованных анодов на длительный срок | а) Выбор материалов; б) проектирование системы катодной защиты; в) выбор системы покрытия краской |
21.7.3 Методы мониторинга
21.7.3.2
Дефекты 1 и
3 в таблице 16 можно обнаружить, если они возникнут. Неисправность или течь соединения будут проявляться при соответствующем снижении внутреннего давления.
21.7.3.3 Может быть сложно оценить состояние соединения, в частности если оно находится внутри I/J-образной трубы. Необходимо рассмотреть использование видеокамер, чтобы в таких случаях следить за соединениями.
22 Устройства для передачи нагрузок
22.1 Область применения
Положения настоящего раздела относятся к конструкциям, которые используют для передачи нагрузок от гибкой трубы к верхним конструкциям без флюидосодержащего оборудования или оборудования под давлением. Такие конструкции, включая бурт и фланцы передачи нагрузок, могут подключаться к соединительной арматуре гибкой трубы фланцами основания I/J-образной трубы или конструкциями соединения элемента жесткости на изгиб.
22.1.1 Общие сведения
В
ГОСТ Р 59307 установлены требования к проектированию устройства для передачи нагрузок. Целью данного раздела являются разработка и предоставление руководств по проектированию устройства для передачи нагрузок в соответствии с требованиями
ГОСТ Р 59307.
22.1.2 Обзор проектирования
Проектирование устройства для передачи нагрузок обычно включает следующие этапы:
- проектирование запорной системы в соответствующих случаях;
- определение сил зажима для фиксации устройства для передачи нагрузок на месте;
- определение необходимой нагрузки втягивания для устройства для передачи нагрузок в соответствующих случаях;
- выполнение анализа прочности;
- проведение анализа усталости;
- расчеты системы катодной защиты выполняются для определения необходимых масс анодов для устройства для передачи нагрузки, если устройство для передачи нагрузки не было надлежащим образом рассмотрено в расчетах системы катодной защиты для прилегающих конструкций;
- выбор защитных покрытий.
22.2 Вопросы проектирования
22.2.1 Проектирование устройства для передачи нагрузки
22.2.1.1 Важные аспекты проектирования подвесных конструкций райзера описаны в
22.2.1.2 -
22.2.1.8.
22.2.1.2 Основные ограничения при проектировании устройств для передачи нагрузки - это ограничения нагрузки и пространства и требования к трубным вставкам.
22.2.1.3 Критические нагрузки для некоторых устройств для передачи нагрузки происходят во время установки, когда может быть значительная нагрузка втягивания (включая воздействие трения).
22.2.1.4 Чрезмерный изгиб райзера на основании I/J-образной трубы предотвращается при использовании ограничителя изгиба (элемента жесткости на изгиб или раструба).
22.2.1.5 Ограничитель изгиба конструктивно поддерживается I/J-образной трубой и может вызывать значительные нагрузки на I/J-образной трубе, которая должна быть рассчитана на все соответствующие нагрузки. Такие нагрузки могут значительно увеличиваться при использовании коротких трубных вставок (например, так, как между элементом жесткости на изгиб и основанием I/J-образной трубы), и это необходимо учитывать при проектировании I/J-образных труб.
22.2.1.6 В некоторых случаях ингибиторы коррозии добавляют в морскую воду внутри I/J-образных труб. Это требует герметизации дна I/J-образной трубы для того, чтобы предотвратить утечку ингибитора. При необходимости, проект установки райзера и соединительных систем должен учитывать требования к уплотнению I/J-образной трубы.
22.2.1.7 Допускаемая нагрузка в I/J-образной трубе может превышать аналогичную на фланце основания I/J-образной трубы. Это происходит из-за того, что в таких местах предусмотрено больше ограничений с помощью элементов жесткости.
22.2.1.8 Устройства для передачи нагрузок и конструкции судна/платформы могут проектироваться в соответствии с правилами/требованиями для установок. Они могут включать соответствие с нормами и стандартами или, если судно/платформа проектируется и сертифицируется согласно стандартам органа сертификации, применять нормы такого органа.
22.2.1.9 В соответствии с
ГОСТ Р 59307 конструкция устройства для передачи нагрузок должна обеспечивать размерную совместимость с соединительными элементами. Однако соединительная арматура может быть подвешена не в том месте, к которому передаются движение и сдвиг (пример на
рисунке 22.1), и в таком случае размерная совместимость с соединительной арматурой не требуется.
1 - болты; 2 - I-образная труба; 3 - фланец передачи
момента; 4 - конструкция соединения элемента жесткости
на изгиб; 5 - элемент жесткости на изгиб; 6 - гибкая труба
Рисунок 22.1 - Устройство для передачи нагрузок
с фланцем передачи момента
22.2.1.10 Конструкция устройства для передачи нагрузок должна позволять выравнивание гибкой трубы во время установки так, чтобы ее можно было соединить с опорной конструкцией. Необходимо обеспечить вращение гибкой трубы таким образом, чтобы болтовые отверстия могли выравниваться, если подобное вращение приемлемо. Для выполнения фланца с креплением на болтах на сборной верхней трубной секции соединительный фланец часто представлен шарнирным фланцем для того, чтобы избежать скручивания во время установки.
22.2.1.11 Устройство для передачи нагрузок может быть размещено внутри I/J-образной трубы, передавая таким образом момент изгиба и силу сдвига на стенки I/J-образной трубы. При проектировании данных устройств важно обладать объективной информацией о размерах и допусках для I/J-образной трубы, чтобы обеспечить точный подбор и предотвратить нежелательную вибрацию и износ при работе.
22.2.2 Проектирование установки
22.2.2.1 Установка устройства для передачи нагрузок должна быть рассмотрена при проектировании. Необходимо проанализировать риски для монтажного персонала на то время, когда устройство для передачи нагрузок и гибкая труба подвешены с помощью втяжного троса, до тех пор пока под ними ведутся работы по затяжке болтов, установке разрезных колец и т.д.
22.2.2.2 В состав устройств для передачи нагрузок должны быть включены некоторые средства выравнивания во время втягивания, чтобы закрепить в пазе в правильном положении, если на подвесе отсутствует направляющая система (см.
22.4.3). Это важно, если угол втягивания отклоняется от вертикали на несколько градусов. Выравнивания можно достичь с помощью профиля устройства для передачи нагрузок, чтобы можно было проводить втягивания с различными углами смещения. Обычная направляющая система может предусматривать выравнивание при помощи раструба на основании I/J-образной трубы.
22.3 Вопросы анализа. Местный анализ
22.3.1 В настоящем стандарте не рассмотрены рекомендации по напряжению устройства для передачи нагрузок, требования к изготовлению, испытания и проектирование установки, эксплуатационные требования.
22.3.2 Следует моделировать контакт между компонентами в устройстве для передачи нагрузок. Необходимо учитывать контактные силы для коэффициентов трения покрытий, которые наносят на контактные поверхности. Вследствие нелинейности контакта должен быть применен анализ методом конечных элементов, чтобы моделировать его.
22.3.3 Если трубное устройство для передачи нагрузок моделируется осесимметрично с помощью метода конечных элементов, геометрические неоднородности по окружности (указывающие на то, что конструкция на самом деле не осесимметричная) могут быть учтены при использовании сниженной жесткости или снижением модуля Юнга в таких зонах.
22.4 Монтаж
22.4.1 Монтаж втяжного устройства для передачи нагрузок в I/J-образную трубу без помощи водолазов выполняют следующим образом:
- охватываемая деталь устройства для передачи нагрузок предварительно устанавливается на гибкой трубе втяжной головки;
- гибкий райзер вытягивается от морского дна и уравновешивается для выравнивания по направляющему конусу, как показано на
рисунке 22.2, а). Смазку можно наносить на сборку, чтобы способствовать втягиванию.
Примечание - Наличие смазки может снизить необходимую силу затягивания;
- направляющий выступ входит в конус, и райзер проводится через I/J-образную трубу, как показано на
рисунке 22.2, б);
- райзер полностью выравнивается по центру и фиксируется на месте в обхватывающей части сборки.
| |
а) Втягивание устройства для передачи нагрузок | б) Устройство для передачи нагрузок, частично втянутое в I-образную трубу |
1 - охватывающая деталь устройства для передачи нагрузки;
2 - макет I-образной трубы; 3 - втяжной провод;
4 - направляющий конус; 5 - втяжная головка; 6 - нагрузка,
моделирующая вес гибкой трубы; 7 - макет гибкой трубы;
8 - охватываемая деталь устройства для передачи нагрузки
Рисунок 22.2 - Втягивание устройства для передачи нагрузок
без помощи водолазов
22.4.2 Следует соблюдать процедуры установки, так как усталостная долговечность может снизиться, если к крепежным элементам применяют ненормированные моменты затяжки.
22.4.3 Необходимо предусмотреть использование направляющей трубы или раструба на месте подвеса, чтобы облегчить втягивание устройства для передачи нагрузок.
22.4.4 Порядок втягивания должен учитывать требования к выравниванию отверстий соединительной арматуры с затяжкой отверстий к верхней стороне при возможности. При выборе втяжных проводов следует принимать во внимание максимально эффективные натяжения втягиваемой гибкой трубы.
22.4.5 Необходимо рассмотреть наличие запасных устройств для передачи нагрузок для того, чтобы уменьшить потери или трудности при установке устройства для передачи нагрузок.
22.5 Управление целостностью
22.5.1 Общие сведения
В
подразделе 22.5 представлены руководства и рекомендации по управлению целостностью, включая возможные дефекты.
22.5.2 Типы неисправностей и дефекты
В
таблице 17 указаны возможные дефекты устройств для передачи нагрузок.
Таблица 17
Возможные дефекты устройств для передачи нагрузок
Дефект | Последствие | Возможная причина | Возможное исправление | Проектное решение/изменяемый параметр |
1 Неисправность устройства для передачи нагрузки | а) Передача нагрузок на другие конструкции, в которых не учитывались нагрузки; б) возможное повреждение гибкой трубы из-за неисправности | б) усталостная поломка; в) коррозия; г) неисправность сварного соединения; д) заводской брак; е) водородная хрупкость; ж) ползучесть; и) неправильное проектирование (например, недооценка напряжений); к) неправильная установка (например, крепления затянуты неправильно) | Отсутствует | а) Выбор материалов; б) увеличение конструкционной прочности, например увеличение толщины компонентов; в) замена устройства для передачи нагрузок, чтобы изменить их распределение; г) проектирование сварных соединений; д) проектирование системы катодной защиты |
2 Неисправность крепежных элементов | Возможные последствия в соответствии с 1 | б) усталостная поломка; в) коррозия; г) заводской брак; д) водородная хрупкость; е) неправильная конструкция (слишком маленький размер креплений); ж) неправильная установка (например, крепления затянуты неправильно) | а) Обсуждение с производителем целостности устройства для передачи нагрузок при пропущенных крепежных элементах; б) установка сменных крепежных элементов, если необходимо обеспечить целостность гибкой трубы | а) Выбор материалов; б) увеличение размера крепления; в) увеличение количества и/или распределения крепежных элементов; г) проектирование системы катодной защиты |
3 Неисправность запорной системы | а) Влияние на график установки; б) возможные требования по запасному устройству для передачи нагрузок | а) Заводской брак; б) водородная хрупкость; в) неправильная конструкция; г) неправильная установка (например, недостаточная сила втягивания) | Замена устройства для передачи нагрузок на запасное | Расчет запорной системы |
4 Неисправность втягивания | а) Влияние на график установки; б) возможные требования по запасному устройству для передачи нагрузок | а) Заводской брак; б) водородная хрупкость; в) неправильное проектирование (при необходимом прогнозировании силы втягивания); г) неправильная установка (например, недостаточная сила втягивания): 1) недостаточная смазка устройства для передачи нагрузок и направляющего конуса I/J-образной трубы, 2) недостаточное значение силы втягивания, 3) втягивание от угла за пределами проектных требований | Увеличение силы втягивания при возможности | Повторная оценка расчетов силы втягивания |
5 Недостаточная мощность для операций по отключению | Влияние на график проверки | а) Заводской брак; б) неправильная конструкция; в) неправильная мощность для гидравлических систем | Замена гидравлических компонентов при возможности | а) Повторная оценка расчетов гидравлического давления; б) увеличение запаса гидравлической системы |
6 Удаление покрытия краской | Возможная коррозия конструкции | а) Повреждение во время погрузочно-разгрузочных работ, хранения, транспортировки, установки или обслуживания; б) заводской брак (например, покрытие нанесено неправильно); в) неправильное проектирование (например, выбор системы покрытия) | См. отчет по проектированию/обсуждение с производителем по вопросам области нарушения покраски, на которую рассчитана система катодной защиты. Установка усовершенствованных анодов, если зона превышает расчетную | а) Выбор системы покрытия краской; б) проектирование системы катодной защиты |
7 Отличия показаний катодной защиты от технических требований | Возможная коррозия металлических компонентов дросселя изгиба | а) Сломан(ы) анод(ы); б) неправильное проектирование системы катодной защиты (например, неправильные массы анодов) | а) Обсуждение с производителем того, какой промежуток времени текущая система катодной защиты может обеспечивать защиту; б) установка усовершенствованных анодов на длительный срок | Проектирование системы катодной защиты |
8 Коррозия конструкционных компонентов или элементов крепежа устройства для передачи нагрузок | Возможная неисправность конструкции | а) Чрезвычайно коррозионная среда; б) неправильная защита системы катодной защиты; в) повреждение системы покрытия краской; г) неправильное проектирование (например, выбор материалов, проектирование системы катодной защиты, выбор системы покрытия краской) | а) Обсуждение с производителем целостности конструкции с коррозией; б) установка усовершенствованных анодов на длительный срок | а) Выбор материалов; б) проектирование системы катодной защиты; в) выбор системы покрытия |
22.5.3 Методы мониторинга
22.5.3.2 Может быть сложно оценить части устройства для передачи нагрузок, в частности если оно находится внутри I/J-образной трубы. Следует рассмотреть использование видеокамер, чтобы следить за передачей нагрузок и в таких случаях.
23.1 Область применения
23.1.1
Раздел 23 относится к двум типам механической защиты: к защите от износа и ударов и к полимерному защитному покрытию.
| | ИС МЕГАНОРМ: примечание. Текст дан в соответствии с официальным текстом документа. | |
23.1.2 В дополнение к представлению рекомендаций по защите от износа и ударов, данный раздел может быть рассмотрен и в тех случаях, когда защита от износа и ударов также дает постоянный добавленный вес или придает гибкой трубе. Рекомендации по дискретному добавленному весу (т.е. модули плавучести) представлены в
разделе 9.
23.2 Вопросы проектирования
23.2.1 Общие сведения
В
ГОСТ Р 59307 установлены требования к проектированию механической защиты. Целью данного подраздела являются разработка и предоставление руководств по проектированию механической защиты в соответствии с требованиями
ГОСТ Р 59307.
23.2.2 Обзор проектирования
Проектирование защиты от износа и ударов обычно включает следующие этапы:
- выбор материалов защиты от износа и ударов на основании эксплуатационных требований, указанных в
ГОСТ Р 59307. Руководства по выбору материалов приведены в
23.3;
- при необходимости, проведение ряда динамических анализов гибкой трубы для определения зон гибкой трубы, которым требуется защита. Руководства по общему анализу приведены в
23.4.1;
- определение толщины материала, необходимой для сопротивления ударным нагрузкам и/или износу;
- определение необходимой плотности материала в зависимости от требований;
- определение отдельных секций защиты от износа и ударов. У производителя имеется набор стандартных секций, как правило, от 1 до 2 м длиной;
- определение эксплуатационного ресурса материалов в соответствии с
ГОСТ Р 59307.
23.2.3 Проектирование защиты от износа и ударов
23.2.3.1 Целью проектирования защиты от износа и ударов в отношении ударного воздействия должно быть распределение замедления ударяющегося объекта в течение более длительного времени, следовательно, снижение производимой пиковой силы и, таким образом, уменьшение глубины выбоины.
23.2.3.2 Рекомендуемая минимальная толщина для защиты от износа и ударов гибкой трубы - 30 мм, однако соответствующая толщина зависит от нескольких параметров при определенном применении (см.
ГОСТ Р 59307). Увеличение толщины также снижает воздействие температуры на материал. Это происходит из-за того, что большая толщина усиливает изолирующую способность конструкции и, таким образом, снижает среднюю температуру по толщине защиты от износа и ударов.
23.2.3.3 Длина защиты от износа и ударов, как правило, замыкается с помощью охватываемого и охватывающего соединений. Пример защиты от износа и ударов показан на
рисунке 23.1. Замыкающие охватываемые и охватывающие соединения могут быть гладкими, как показано на
рисунке 23.1, или в некоторых случаях с перекрывающими зубьями. Конструкция полуобечаек защиты от износа и ударов должна обеспечивать точный подбор между прилегающими участками и восприятие максимальной ожидаемой кривизны гибкой трубы во время установки или эксплуатации. Конструкция должна также предотвращать попадание посторонних частиц, которые могут повредить гибкую трубу. Полуобечайки могут содержать охватываемые и охватывающие гнезда с постоянными продольными интервалами вдоль кромок (как показано на
рисунке 23.1) для того, чтобы обеспечить надлежащее выравнивание и точный подбор.
Рисунок 23.1 - Защита от износа и ударов
23.2.3.4 В некоторых случаях на внешней поверхности защиты от износа и ударов используют гнезда для обвязки, как показано на
рисунке 23.1. Это делается для того, чтобы обеспечить гладкий внешний профиль и устранить потребность в измерении промежутков между связками во время установки. Стандартное расстояние между связками - 300 мм.
23.2.4 Защита от износа и ударов. Общее проектирование
Предпочтительно с точки зрения общего проектирования минимизировать дополнительный вес из-за обрастания на защите от износа и ударов. Система гибкой трубы может быть чувствительной к изменениям веса, и, таким образом, необходимо указать сопротивление обрастанию для защиты от износа и ударов.
23.2.5 Защита от износа и ударов. Противокоррозионная защита
Коррозионно-стойкая обвязка может не требоваться, если защита от износа и ударов необходима только во время установки. Например, если трубы закапывают после установки, коррозионная устойчивость может не рассматриваться для обвязки.
23.2.6 Проектирование защитного покрытия
Защитное покрытие должно обладать достаточной гибкостью, чтобы его могли подогнать по профилю защищаемого кабеля или трубы. Обычно это достигается с помощью канавок на одной стороне покрытия.
23.2.7 Типы отказов
Возможные дефекты, которые могут быть у защиты от износа и ударов и защитного покрытия, представлены в
23.7.2 и
23.7.3.
23.2.8 Проектирование установки
Защиту от износа и ударов следует проектировать таким образом, чтобы ее можно было быстро установить, снизив до минимума влияние на график установки.
23.3.1 Общие сведения
В
подразделе 23.3 указаны материалы, которые обычно используют для механической защиты, и представлены их общие рабочие характеристики.
23.3.2 Материалы защиты от износа и ударов
23.3.2.1 При защите от износа и ударов обычно используют материалы из полиуретана, смешанного эластомера и полихлоропрена разных классов. Такие материалы обеспечивают стабильное сопротивление износу и ударам и обладают почти нейтральной плавучестью (что не добавляет дополнительного веса системе гибкой трубы под водой). Стандартная плотность для данных материалов - 1100 кг/м3. Классы полиуретана с большой плотностью иногда выбирают для соответствия требованиям по постоянному добавленному весу. Стандартная плотность таких материалов составляет от 2300 до 3000 кг/м3. В свою очередь, плотность плавучих классов - от 700 до 800 кг/м3. При необходимости предоставления очень высокого уровня сопротивления износу имеются специальные классы полиуретана. Стандартное сопротивление износу может быть от 140 мм3 потери износа при температуре 23 °C, конус Н22, для стандартного изделия до 40 мм3 потери для изделия с большим сопротивлением износу.
23.3.2.2 Иногда плотность материала не достаточна для соблюдения требований к добавленному весу. В таких случаях (обычно, когда требуется средняя плотность, превышающая 3000 кг/м3) основные вставки закрываются в защите от износа и ударов.
23.3.2.3 Материалы механической защиты должны демонстрировать следующие свойства:
- низкий уровень впитывания воды (только для подводной механической защиты);
- сопротивление гидролизу;
- ограниченное ухудшение в результате старения;
- качественные высокотемпературные характеристики (если внутренняя среда гибкой трубы находится под высокой температурой);
- способность воспринимать максимальную кривизну гибкой трубы во время эксплуатации без превышения допустимых напряжений или натяжений.
Обычные пределы прочности на растяжение и удлинение к моменту разрыва составляют от 11 до 12 МПа и от 200% до 275% соответственно для стандартных изделий и около 26 МПа и от 400% до 430% для изделий, устойчивых к абразивному износу;
- стабильное сопротивление абразивному износу об определенные поверхности при рабочих температурных условиях;
- четкое сопротивление абразивному износу при определенных сценариях воздействия, если и сам материал, и гибкая труба защищены от ударного воздействия;
- плотность, соответствующая требованиям к материалу высокой плотности или плавучих классов;
- надлежащие характеристики изоляции и охлаждения, если требуется для термических классов защиты от износа и ударов.
Обычные значения теплопроводности составляют 0,20 Вт/(м·К) для стандартного изделия и приблизительно 0,13 - 0,16 Вт/(м·К) для изделий термического класса.
23.3.3 Материалы обвязки
23.3.3.1 В качестве материала обвязки необходимо применять титан, инконель 625, нержавеющие стали различных классов (включая 316 и супердуплекс). Преимуществом данных материалов является их стойкость к коррозии, а для титана еще и низкая плотность (около 4500 кг/м3).
23.3.3.2 Полимеры (включая полиэстер) также могут быть использованы как материал обвязки, как правило, для гибких труб с меньшим диаметром. Это может быть предпочтительным, если понадобилось минимизировать массу, насколько это возможно.
23.3.4 Материалы защитного покрытия
Защитное покрытие обычно производят из полиуретана. Покрытие может быть заполнено материалами высокой плотности, такими как бариты (барий сульфат) для увеличения устойчивости.
23.4 Вопросы анализа
23.4.1.1 Для определения того, какие зоны гибкой трубы требуют защиты от износа и ударов, могут применять общий анализ. При динамической конфигурации гибкого райзера гибкая труба периодически контактирует с морским дном на месте соприкосновения. В этой области может потребоваться защита от износа и ударов. Данное требование должно быть основано на задействованной ударной энергии и типе морского дна, например глина, скалы, песок, кораллы. Ударная энергия зависит от скорости и массы, способствующих удару. Скорость обычно рассчитывают с помощью программного обеспечения анализа конечных элементов для общего анализа райзера.
23.4.1.2 Может быть применен общий анализ методом конечных элементов для определения зон гибкой трубы, которые мешают/сталкиваются с другими гибкими трубами или подводными конструкциями, и данные зоны также могли бы быть защищены от износа и ударов. Существует некоторая неопределенность в промышленном производстве в отношении расчета сил, вызываемых ударом. Определенные условия вмешательства/столкновения могут быть такими, при которых защиты от износа и ударов недостаточно для обеспечения защиты от удара/столкновения.
23.4.1.3 Защита от износа и ударов моделируется в общем анализе методом конечных элементов путем изменения свойств элементов, представляющих защищаемую гибкую трубу. Защита от износа и ударов приводит к дополнительной массе и большему диаметру трения на покрытом участке гибкой трубы. Она также приведет к незначительному увеличению жесткости гибкой трубы на изгиб.
23.4.2 Местный анализ
Анализ ударного воздействия крайне сложный, поэтому применяют анализ методом конечных элементов для оказания помощи при анализе ударного воздействия на защиту от износа и ударов, которое затруднительно проанализировать посредством других средств, как показано на
рисунке 23.2. Одной из причин сложности является количество задействованных параметров, перечисленных в
ГОСТ Р 59307, а также нелинейных характеристик напряжения/натяжения задействованных полимерных материалов. Типичная модель включает опорное морское дно, защищаемую гибкую трубу, защиту от износа и ударов и воздействующий объект. Анализ ударного воздействия в высокой степени нелинейный, так как он может включать большие деформации материала. Характеристики жесткости как гибкой трубы, так и морского дна также необходимо точно моделировать. Модель конечных элементов необходимо проверить с помощью полномасштабного испытания на ударное воздействие из-за большого количества неопределенностей в процессе моделирования (см.
23.5.3).

Рисунок 23.2 - Диаграмма моделирования методом
конечных элементов защиты от износа и ударов
23.5 Испытания опытного образца
23.5.1 Применение испытаний опытного образца
В
таблице 18 указаны испытания опытного образца, представленного в данном подразделе, которые необходимо рассмотреть для анализа изменений определенной конструкции механической защиты, за пределами ранее одобренных конструкций в соответствии с рекомендациями в
5.6.3.
Таблица 18
Испытания опытного образца
Изменение конструкции | Учитываемое испытание опытного образца | Комментарий/суждение |
Осевая нагрузка (относится только к защите от износа и ударов) | Испытание на соскальзывание | Нагрузки от собственного веса или нагрузки, прилагаемые натяжными устройствами за пределами ранее проверенных предельных значений |
Расчетная температура | Испытание на абразивный износ | Сопротивление износу может значительно изменяться в зависимости от температуры |
Механическая защита | Испытания на абразивный износ, испытание на ударную нагрузку | - |
Обвязка | Испытание на ударную нагрузку | Испытательные образцы защиты от износа и ударов должны включать обвязку, чтобы оценить сопротивление обвязки ударной нагрузке так же, как и материал защиты от износа и ударов. Если материал обвязки или процесс производства изменяются, сопротивление обвязки ударной нагрузке необходимо испытать снова |
Проектирование поперечного сечения гибкой трубы | Испытание на ударную нагрузку | Может быть трудно определить защиту от ударов для новой конструкции гибкой трубы, отличной от той, для которой проводилось испытание на ударную нагрузку |
Конфигурация морского дна | Испытание на абразивный износ | Требуется, если условия морского дна более жесткие, чем для предыдущей классифицированной конструкции; например, если существующая классифицированная конструкция предназначена для глинистого морского дна, а новая конструкция для кораллового морского дна |
Новая ударная или контактная поверхность, которая представляет более строгие требования к сопротивлению ударному воздействию или износу | Испытания на абразивный износ, испытание на ударную нагрузку | - |
Размеры, скорость и энергия ударяющего объекта | Испытание на ударную нагрузку | - |
23.5.2 Испытание на абразивный износ
23.5.2.1 Описание
Целью испытания на абразивный износ является проверка эффективности механической защиты гибкой трубы от нагрузок при работе в течение указанного срока службы. Износ, как правило, происходит из-за морского дна или поверхностей других подводных конструкций, таких как швартовые цепи.
23.5.2.2 Порядок испытаний
В ходе испытания на абразивный износ следует моделировать износ между материалом и поверхностями, представляющими те, которые будут изнашиваться во время работы. Испытания на абразивный износ должны быть выполнены между материалом защиты от ударов и износа и поверхностями от швартовой цепи до кораллов, например, и включать наличие воды, чтобы моделировать мокрые поверхности. Испытание следует проводить при температуре, являющейся показательной для работы, так как сопротивление износу может значительно различаться в зависимости от температуры. Испытание должно моделировать ожидаемое количество циклов истирания, которым может подвергаться материал в течение указанного срока службы. Это, в частности, важно для динамического применения, включающего защиту от износа и ударов, где движения гибкой трубы приводят к циклическому истиранию. Испытательные образцы защиты от износа и ударов должны включать внешнюю обвязку, чтобы оценить ее сопротивление износу.
23.5.2.3 Критерии приемки
Защита от износа и ударов должна выдерживать количество циклов истирания без постоянной деформации или повреждения. Обвязка не должна отделяться во время проведения испытания.
23.5.3 Испытание на ударную нагрузку
23.5.3.1 Описание
Целью испытания на ударную нагрузку является проверка того, что механическая защита может выдерживать определенную ударную нагрузку и обезопасить гибкую трубу от любого повреждения. В соответствии с
ГОСТ Р 59307 должны быть предоставлены критерии гибкой трубы, устанавливающие наличие/отсутствие повреждений гибкой трубы при ударном воздействии. Критерии приемки гибкой трубы могут быть основаны на допустимых изменениях (при их наличии) внешнего диаметра или на допустимой овализации трубы.
23.5.3.2 Порядок
Механическую защиту устанавливают вокруг образца гибкой трубы. Защита от износа и ударов должна быть собрана при использовании такого же натяжения обвязки, которое было рассчитано на этапе проектирования для работы. Испытание обычно включает падение веса с предварительно определенной высоты на механическую защиту вокруг сборки гибкой трубы. Механическую защиту размещают на искусственном морском дне, которое должно точно представлять морское дно при определенных условиях, в частности его характеристики жесткости. Морское дно поглотит некоторые ударные воздействия в зависимости от своей жесткости. Размеры и вес упавшего объекта и высота, с которой он упал, должны изменяться для моделирования необходимых требований к поглощению энергии. Испытательные образцы защиты от износа и ударов должны включать обвязку, чтобы оценить сопротивление обвязки ударной нагрузке, так же, как и материал защиты от износа и ударов.
23.5.3.3 Критерии приемки
Уровень повреждения в результате ударного воздействия не должен превышать критерии приемки производителя по ударному воздействию и собственные критерии производителя по приемлемым уровням повреждения материала механической защиты.
23.5.4 Испытание на соскальзывание
23.5.4.1 Описание
Целью испытания на соскальзывание является проверка того, что защита от износа и ударов не будет соскальзывать при определенных условиях нагрузки. Таким образом, в действительности проверяют, что сила трения между гибкой трубой и защитой от износа и ударов, производимая натяжением связи, может выдержать любые прилагаемые осевые нагрузки. Например, испытание может применяться для того, чтобы показать, что защита от износа и ударов не соскользнет под воздействием своей массы или при нагрузках, прилагаемых устройствами натяжения. Нагрузка должна постепенно прилагаться к защите от износа и ударов и регистрироваться в момент начала ее соскальзывания. Такая зарегистрированная нагрузка должна быть меньше, чем сила, встречающаяся для применения.
23.5.4.2 Порядок испытаний
Защиту от износа и ударов собирают на образце гибкой трубы, при возможности, при таких же натяжениях обвязки, которые были рассчитаны на этапе проектирования для работы. Как вариант, может использоваться макет гибкой трубы в натуральную величину. В этом случае результаты испытания следует корректировать с учетом разницы трения между макетом и фактической гибкой трубой. Защиту от износа и ударов и сборку гибкой трубы размещают на испытательном стенде, чтобы моделировать осевую нагрузку, прилагаемую к защите от износа и ударов. Нагрузка должна постепенно прилагаться к защите от износа и ударов и регистрироваться в момент начала ее соскальзывания.
23.5.4.3 Критерии приемки
Нагрузка, при которой защита от износа и ударов начинает соскальзывать, должна быть меньше силы, встречающейся для применения.
23.6 Погрузочно-разгрузочные работы и монтаж
23.6.1 Общие сведения
В
подразделе 23.6 приведены руководства и рекомендации по погрузочно-разгрузочным работам и установке механической защиты. Положения, изложенные в
23.6.3, относятся к общим вопросам и описывают порядок монтажа.
23.6.2 Погрузочно-разгрузочные работы
Металлическая обвязка может быть достаточно опасной, поэтому во время погрузочно-разгрузочных работ необходимо надевать защитные перчатки.
23.6.3 Монтаж. Защита от износа и ударов
23.6.3.1 Монтаж полуобечаек защиты от износа и ударов обычно включает следующие этапы:
- размещение двух полуобечаек вокруг гибкой трубы;
- установку вокруг трубы обвязки на том расстоянии, на которое могут указывать гнезда для обвязки;
- натягивание обвязки вручную или пневматическим оборудованием.
При поставке таких изделий, как предварительно собранные пары полуобечаек с предварительно установленной закрытой обвязкой, установка включает размещение обечайки вокруг трубы и натяжение обвязки.
23.6.3.2 Каждую полуобечайку, как правило, устанавливают с наложением на противоположную полуобечайку на половину длины. Тем самым обеспечивается то, что концы каждой полуобечайки находятся на максимальном друг от друга расстоянии, что таким образом гарантирует более надежную сборку.
23.6.3.3 Установка защиты от износа и ударов со спиральной прорезью обычно включает следующие этапы:
- защиту от износа и ударов, которая открывается на одном конце через спиральную прорезь;
- затем вставку этого конца вокруг гибкой трубы;
- защиту от износа и ударов, которую постепенно оборачивают вокруг гибкой трубы;
- обвязку, которую устанавливают в правильном положении и затягивают.
23.6.3.4 Обвязку используют либо с предварительно обрезанными секциями, которые могут сберечь время на установку, обрезая секции, либо с непрерывными секциями на барабане.
23.6.3.5 Оборудование для натяжения предназначено для правильного и соответствующего натяжения обвязки и должно проходить обслуживание перед использованием во избежание неисправностей на море. Можно также рассмотреть наличие запасного оборудования для натяжения в случае вероятной неисправности.
23.6.3.6 Защита от износа и ударов в виде спирального отрезка должна быть установлена таким образом, чтобы не оставалось непокрытых зон гибкой трубы (между прилегающими спиралями), когда она полностью установлена.
23.6.4 Установка. Защитное покрытие
Защитное покрытие можно установить с помощью ТНПА и, таким образом, подобрать размеры, чтобы воспринять грузоподъемность ТНПА.
Необходимо обеспечить правильное расположение защитного покрытия на гибкой трубе. Должны быть сделаны ссылки на технические чертежи с указанием расположения.
23.7 Управление целостностью
23.7.1 Общие сведения
В
23.7 представлены руководства и рекомендации по управлению целостностью, включая возможные дефекты.
23.7.2 Типы неисправностей и дефекты. Защита от износа и ударов
Возможные дефекты защиты от износа и ударов указаны в
таблице 19.
Таблица 19
Возможные дефекты защиты от износа и ударов
Дефект | Последствие | Возможная причина | Возможное исправление | Проектное решение/изменяемый параметр |
1 Неисправность защиты от износа и ударов | а) Потеря защиты гибкой трубы в зоне неисправности; б) повреждение незащищенной зоны внешней оболочки; в) требование к замене поврежденной секции защиты от износа и ударов | б) заводской брак (например, пустоты в литье); в) старение материала из-за воздействия морской воды/высокой температуры; г) неправильное проектирование (например, неправильная толщина) | а) Замена неисправной секции на месте. Может быть трудно заменить защиту от ударов на месте из-за движений гибкой трубы и доступа для водолазов; б) если в незащищенной зоне наблюдается повреждение гибкой трубы, обсуждение с производителем гибкой трубы ее целостности и необходимости ремонта | а) Выбор материалов; б) увеличение толщины защиты от износа и ударов |
2 Неисправность обвязки | а) Отсоединение и возможная потеря защиты от износа и ударов; б) чрезмерная нагрузка на оставшуюся обвязку | б) коррозия; в) заводской брак; г) старение материала из-за воздействия морской воды/высокой температуры (только полимерная обвязка); д) неправильное проектирование (например, неправильная толщина, ширина или выбор материалов) | а) Учет воздействия на целостность гибкой трубы на основании области гибкой трубы, которая подвергается воздействию, и места неисправности обвязки; б) замена обвязки на месте, при наличии угрозы целостности гибкой трубы | а) Выбор материалов; б) увеличение толщины и/или ширины обвязки; в) закрытие обвязки внутри защиты от износа и ударов |
3 Соскальзывание защиты от износа и ударов | | б) коррозия обвязки (только металлическая обвязка); в) заводской брак (например, внутренний диаметр защиты от износа и ударов слишком большой); г) неправильное проектирование (например, неправильное натяжение обвязки); д) неправильная установка (например, неправильное натяжение обвязки) | а) Если во время установки происходит соскальзывание, может быть невозможно восстановить защиту от износа и ударов, если она полностью соскользнула с гибкой трубы; б) учет воздействия на целостность гибкой трубы на основании области гибкой трубы, которая подвергается воздействию; в) установка дополнительной защиты от износа/ударов на области соскальзывания на месте. Может быть трудно установить защиту от износа и ударов на месте из-за движений гибкой трубы и доступа для водолазов | а) Увеличение натяжения обвязки; б) повторная оценка сил, которые должна выдерживать обвязка |
4 Образование зазоров, обнажающих гибкую трубу | а) Потеря части защиты; б) возможность попадания посторонних частиц через образовавшиеся зазоры | б) коррозия обвязки (только металлическая обвязка); в) неправильное проектирование (например, неправильное натяжение обвязки); г) неправильная установка (например, неправильное натяжение обвязки) | Меры по исправлению в соответствии с 3 | Увеличение натяжения обвязки |
5 Коррозия металлической обвязки | Возможная неисправность, приводящая к отсоединению полуобечаек защиты от износа и ударов | а) Чрезвычайно коррозионная среда; б) неправильное проектирование (например, выбор материала) | а) Обсуждение с производителем целостности конструкции с коррозией; б) установка улучшенной обвязки, при возможности | Выбор материалов |
23.7.3 Типы неисправностей и дефекты. Защитное покрытие
В
таблице 20 указаны возможные дефекты защитного покрытия.
Таблица 20
Возможные дефекты защитного покрытия
Дефект | Последствие | Возможная причина | Возможное исправление | Проектное решение/изменяемый параметр |
1 Неисправность защитного покрытия | а) Потеря защиты гибкой трубы в зоне неисправности; б) повреждение незащищенной зоны внешней оболочки гибкой трубы; в) требование заменить поврежденную секцию | б) заводской брак (например, пустоты в литье); в) старение материала из-за воздействия морской воды/высокой температуры; г) неправильное проектирование (например, неправильная толщина) | а) Замена неисправного покрытия на месте с помощью ТНПА; б) если в незащищенной зоне наблюдается повреждение гибкой трубы, обсуждение с производителем гибкой трубы ее целостности и необходимости ремонта | а) Выбор материалов; б) увеличение толщины защитного покрытия |
2 Движение защитного покрытия | а) Потеря части защиты; б) возможность попадания посторонних частиц через образовавшиеся зазоры | б) неправильное проектирование (например, неправильная устойчивость); в) неправильная установка (покрытие находится в неустойчивом положении, что приводит к движению) | а) Замена покрытия на покрытие с большей плотностью на месте с помощью ТНПА; б) если в незащищенной зоне наблюдается повреждение, обсуждение целостности гибкой трубы и необходимости ремонта | а) Выбор материалов; б) увеличение плотности защитного покрытия путем выбора материала и использования в покрытии материала с высокой плотностью |
23.7.4 Методы мониторинга. Защита от износа и ударов
23.7.4.2 Во время общего осмотра гибкую трубу необходимо проверить, чтобы убедиться в том, что защита от износа и ударов находится в правильном положении на гибкой трубе и что она не сдвигается относительно своего положения и не отсоединяется. Если кольцевая маркировка на гибкой трубе для крайних точек длины покрытия защиты от истирания и ударов становится видимой, то это означает, что защита от истирания и ударов сдвинулась.
23.7.4.3 Всю внешнюю поверхность защиты от износа и ударов необходимо проверить на наличие повреждений. Следует осмотреть внешнюю обвязку, где позволяет доступ, чтобы оценить, есть ли повреждение.
23.7.4.4 Необходимо проверить защиту от износа и ударов на наличие тех зон, где гибкая труба обнажается из-за пропусков, которые могут появиться.
23.7.5 Методы мониторинга. Защитное покрытие
24 Противопожарная защита
24.1 Область применения
24.1.1 Раздел относится к материалу противопожарной защиты, который крепят на внешней оболочке гибкой трубы и таким образом используют для защиты соединительной арматуры гибкой трубы. Необходимо отметить, что требования к защите, как правило, более строгие, если противопожарную защиту устанавливают на гибкой трубе из-за передачи нагрузок от гибкой трубы.
24.1.2 Рекомендации в данном разделе могут относиться к подводным кабелям. Однако рекомендации, относящиеся к внутренней среде и температуре внешней оболочки, могут не подходить для подводных кабелей.
24.2 Вопросы проектирования
24.2.1 Общие сведения
В
ГОСТ Р 59307 установлены требования к проектированию противопожарной защиты. Целью данного пункта являются разработка и предоставление руководств по проектированию противопожарной защиты в соответствии с требованиями
ГОСТ Р 59307.
24.2.2 Обзор проектирования
Проектирование противопожарной защиты, как правило, включает следующие этапы:
- выбор материалов противопожарной защиты на основании эксплуатационных требований, указанных в
ГОСТ Р 59307. Руководства по выбору материалов приведены в
24.3;
- при необходимости, проведение ряда статических или динамических анализов гибкой трубы, в зависимости от конкретного случая, для определения нагрузок, передаваемых гибкой трубой противопожарной защите;
- определение необходимой толщины материала для защиты от пожара и выдерживания взрывных нагрузок при необходимости. В соответствии с
ГОСТ Р 59307 методику определения необходимой толщины следует проверять путем выполнения полномасштабных испытаний опытного образца согласно настоящему стандарту (см.
24.5). Определение необходимой толщины может включать многочисленные моделирования (см.
24.4.2.1);
- проверка изоляции материала противопожарной защиты, если температурные пределы в слоях гибкой трубы превышены (см.
24.2.3.5);
- контроль напряжения и натяжения из-за нагрузок, передаваемых гибкой трубе, в отношении того, находятся ли они в допустимых пределах для материалов противопожарной защиты;
- демонстрация эксплуатационного ресурса материалов в соответствии с
ГОСТ Р 59307.
24.2.3 Проектирование противопожарной защиты
| | ИС МЕГАНОРМ: примечание. В официальном тексте документа, видимо, допущена опечатка: имеется в виду ГОСТ Р 57555, а не ГОСТ 57555. | |
24.2.3.2 Конструкции, которым может потребоваться противопожарная защита, включают соединительную арматуру, элемент жесткости на изгиб, направляющую трубу и подвесные конструкции. Должна быть использована схема подвесной сборки, показывающая соответствующие положения соединительной арматуры, элемента жесткости на изгиб, гибкой трубы и прилегающих конструкций, для определения того, какие места потенциально могут быть подвержены пожару, поэтому им необходима противопожарная защита. При большой струе нижняя соединительная арматура под подвесной конструкцией может остаться незащищенной, а элемент жесткости на изгиб может расплавиться при отсутствии противопожарной защиты. На
рисунке 24.1 показан пример такой конфигурации, при которой элемент жесткости на изгиб защищен от огня.
1 - противопожарная защита
Рисунок 24.1 - Устройство противопожарной защиты
для элемента жесткости на изгиб и верхних конструкций
24.2.3.3 Требования к защите, как правило, более строгие, если противопожарную защиту крепят на гибкой трубе из-за передачи нагрузок от гибкой трубы. В случае с гибкими трубами направляющей трубы противопожарная защита может быть применена на направляющей трубе, а не на самой трубе.
24.2.3.4 Может потребоваться техническое обслуживание конструкции без повреждений или выполнение функций гибкой трубы под воздействием давления после определенного периода времени воздействия пожара. Требование относительно конструкции без повреждений более строгое, так как требует обслуживания всех неповрежденных уровней, а не только находящихся под давлением.
24.2.3.5 Верхняя противопожарная защита может ограничивать циркуляцию воздуха вокруг защищаемой конструкции, воздействуя тем самым на ограждения противопожарной защиты соединительной арматуры или на те области, где направляющая труба, содержащая гибкую трубу, имеет противопожарную защиту. Существует два способа избежать этого:
- необходимо гарантировать, что кожух пожарной защиты не изолируют в случае, если допустимые пределы температуры для слоев гибкой трубы превышены во время эксплуатации;
- как вариант, должны быть предусмотрены системы охлаждения или достаточная вентиляция для предотвращения аккумуляции тепла выше допустимых уровней.
При наличии внутренней среды высокой температуры может возникнуть необходимость в оценке эффективности таких способов, выполнив моделирование теплопередачи много раз и проверив теплопередачу через сечение гибкой трубы (см.
24.4.2).
24.2.4 Проектные критерии
24.2.4.1 Пожар ухудшает прочность слоев гибкой трубы, в частности полимерные слои. Так как гибкая труба в некоторой степени механически нагружена, рабочая прочность может превышать допустимые пределы. Необходимо определить максимальные температуры для каждого слоя на основании максимальных механических нагрузок при работе и ухудшение прочности слоев в зависимости от температуры.
24.2.4.2 Необходимо убедиться в том, что указанный период времени, в течение которого противопожарная защита соответствует своим эксплуатационным требованиям, является достаточным для выполнения действий по ликвидации последствий, например чтобы труба осталась неповрежденной или чтобы внутренняя среда не участвовала в пожаре. Перечисленные действия по ликвидации последствий включают пожаротушение, снижение внутреннего давления и промывку гибкой трубы морской водой.
24.3.1 Общие сведения
В
подразделе 24.3 указаны те материалы, которые обычно используют в противопожарной защите, и представлены их общие рабочие характеристики.
24.3.2 Материалы для противопожарной защиты
24.3.2.1 Материалы противопожарной защиты крепят на гибкой трубе, как правило, выполненной на резиновом основании. Стандартная плотность материала составляет приблизительно 1800 кг/м3. Также могут быть добавлены слои полихлоропрена к противопожарному слою для механической защиты.
24.3.2.2 Материалы противопожарной защиты для подвесных конструкций могут быть изготовлены из каучука, армированного нержавеющей сталью, стекловолокна или композитного наполнения.
24.3.2.3 Материалы противопожарной защиты должны демонстрировать следующие свойства:
- низкий уровень впитывания воды (противопожарная защита в зоне переменного смачивания);
- сопротивление гидролизу (противопожарная защита в зоне переменного смачивания);
- ограниченное ухудшение эксплуатационных свойств в результате старения;
- качественные высокотемпературные характеристики (если на внутреннюю среду гибкой трубы действует высокая температура);
- способность воспринимать максимальную кривизну гибкой трубы во время эксплуатации без превышения допустимых напряжений или натяжений.
Примечание - Типичные характеристики прочности - предел прочности на растяжение 2,5 МПа и удлинение к моменту разрыва 90%;
- способность выдерживать циклические нагрузки;
- сопротивление химическим веществам, которые могут контактировать с верхней частью;
- незначительные пропуски при обвязке;
- прочная огнестойкость.
Примечание - Типичные характеристики огнестойкости включают сопротивление струйному горению не более 2 ч;
- стойкое крепление на гибкой трубе, при наличии;
- безотказное сопротивление взрыву при необходимости.
Примечание - Типичное сопротивление взрыву - приблизительно 200 кПа;
- соответствующая озоностойкость;
- стойкое сопротивление УФ.
24.4.1 Общие сведения
Целью
подраздела 24.4 является предоставление рекомендаций по способам анализа противопожарной защиты.
24.4.2.1 Можно применять многочисленные виды моделирования пожара для определения температур в гибкой трубе и слоях соединительной арматуры в случае пожара. Такие многочисленные виды моделирования необходимо проверить испытаниями на огнестойкость. Как правило, моделирование требует большого количества вводных данных, в частности тепловых характеристик слоев гибкой трубы по всему диапазону температур, вызываемых пожаром. Обычным результатом моделирования пожара является температурный профиль слоя гибкой трубы на протяжении пожара. Результат можно использовать для определения того, являются ли температуры в конце этого периода приемлемыми для каждого слоя.
24.4.2.2 Может потребоваться тепловой анализ для предоставления гарантии того, что противопожарная защита не изолирует гибкую трубу при условии, что допустимые температурные пределы для слоев гибкой трубы (включая в соединительной арматуре) не превышены во время работы.
При тепловом анализе, как правило, необходимо представление следующих вводных данных:
- характеристики внутренней среды гибкой трубы при максимальной температуре внутренней среды, включая плотность, теплопроводность и теплоемкость;
- значения теплопроводности и теплоемкости слоев гибкой трубы при температурном профиле, вызываемом в трубе максимальной температурой внутренней среды;
- геометрия гибкой трубы, включая соединительную арматуру и противопожарную защиту.
24.4.3 Общий анализ
Общий анализ можно применять для определения максимальных напряжений и натяжений, которым подвергается материал противопожарной защиты из-за изгиба гибкой трубы во время эксплуатации. Для введения противопожарной защиты в общий анализ гибкой трубы необходимо знать ее толщину и влияние на жесткость гибкой трубы.
24.5 Испытания опытного образца
24.5.1 Применение испытаний опытного образца
24.5.1.1 В
таблице 21 указаны испытания опытного образца, представленные в данном подразделе, которые необходимо рассмотреть при изменении определенной конструкции, за пределами ранее одобренных конструкций для противопожарной защиты в соответствии с рекомендациями в
5.6.3.
Таблица 21
Испытания опытного образца
Изменение конструкции | Учитываемое испытание опытного образца | Замечание/суждение |
Сила и количество циклов циклического напряжения у материала противопожарной защиты | Испытание динамической усталости | - |
Сложность пожара, которую будет выдерживать конструкция, и определенный период времени выдержки пожара | Испытание на огнестойкость | - |
Нагрузки установки, прилагаемые на покрытие противопожарной защиты устройствами натяжения | Испытание на сопротивление разрушению | - |
Взрывные нагрузки | Испытание взрывной нагрузки | - |
Материалы и процесс производства | Испытание динамической усталости, испытание на огнестойкость, испытание на сопротивление разрушению, испытание взрывной нагрузки | Может быть сложно определить характеристики новых материалов или новые процессы производства другим способом без проведения таких испытаний |
Расчет сечения гибкой трубы или соединительной арматуры | Испытание на огнестойкость | Различные конструкции сечения или соединительной арматуры приведут к различной теплопередаче по сечению |
24.5.1.2 Устойчивость к разрушению и испытания усталости относятся только к материалу противопожарной защиты, который наносят непосредственно на гибкую трубу.
24.5.2 Испытание на огнестойкость
24.5.2.1 Описание
Целью испытания на огнестойкость является проверка того, что гибкая труба с противопожарной защитой может выдержать определенный тип пожара в течение установленного периода времени без утечки. Типы пожара обычно включают факельное горение, углеводородный пожар и пожары углеводородных запасов.
24.5.2.2 Порядок испытаний
Обычные периоды времени для испытания могли бы составлять от 15 мин до 1 ч, но это зависит от конкретных условий применения. Используемый образец сечения гибкой трубы и применяемого покрытия должны представлять те, которые будут задействованы в работе.
24.5.2.3 Критерии приемки
В дополнение к критериям приемки, приведенным в
ГОСТ Р 53295, температуры и свойств слоев трубы во время испытания, представляющим особую значимость для функции выдерживания давления или неповрежденности трубы, при необходимости, должны соответствовать расчетным критериям согласно
ГОСТ Р 59307.
24.5.3 Испытание на сопротивление разрушению
24.5.3.1 Описание
Целью испытания на сопротивление разрушению является демонстрация того, что применяемая противопожарная защита может выдержать прилагаемые силы натяжения и давления, вызываемые устройствами натяжения.
24.5.3.2 Порядок испытаний
Считается целесообразным выполнять испытание на сопротивление разрушению противопожарной защиты вместе с испытанием на сопротивление разрушению гибкой трубы. В дополнение слой противопожарной защиты необходимо проверить после испытания.
24.5.3.3 Критерии приемки
Не должно быть неустранимой деформации или повреждения материала противопожарной защиты после испытания, снижающих противопожарные характеристики, о чем будут свидетельствовать трещины или неустранимые вмятины. С целью проверки рекомендуется проводить испытание на огнестойкость после испытания на разрушение с тем же испытательным образцом. В технической документации изготовителя должны быть указаны критерии приемки материала противопожарной защиты для данного испытания.
24.5.4 Испытание динамической усталости
24.5.4.1 Описание
Целью испытания динамической усталости является демонстрация того, что применяемая противопожарная защита может выдержать циклический изгиб и эффективное натяжение гибкой трубы. Испытание специально проводят в отношении проверки характеристик усталости гибкой трубы, т.е. могут быть изменены количество блоков и испытание циклов, для получения теоретического повреждения 1,0 в гибкой трубе, но это не является необходимым условием для материала противопожарной защиты. Получение теоретического повреждения с вероятностью 1,0 в материале противопожарной защиты может потребовать намного больше циклов, чем требуется на практике (см.
24.5.4.3). Таким образом, может быть, что рабочие характеристики, указанные в документах для аналогичных конструкций противопожарной защиты, - это единственный способ установить долгосрочный усталостный ресурс материала.
24.5.4.2 Порядок испытаний
Считается целесообразным выполнять анализ динамической усталости противопожарной защиты вместе с испытанием динамической усталости гибкой трубы. В дополнение слой противопожарной защиты необходимо проверить после испытания.
24.5.4.3 Критерии приемки
Не должно быть неустранимой деформации или повреждения материала противопожарной защиты после испытания, снижающих противопожарные характеристики, о чем будут свидетельствовать трещины материала, которые появились во время испытания. С целью проверки рекомендуется проводить испытание на огнестойкость после испытания усталости с тем же испытательным образцом. Должны быть указаны критерии приемки материала противопожарной защиты для данного испытания.
После проверки материала противопожарной защиты испытание на усталость необходимо продолжить за пределами указанного количества циклов, пока не произойдет поломка материала противопожарной защиты, для определения вероятности возникновения повреждения. Однако достижение количества циклов, вызывающих такую неисправность, может быть нецелесообразным. Если материал противопожарной защиты проектировался с использованием расчетов усталостного повреждения, такую вероятность возникновения повреждения можно сравнить с прогнозируемой на этапе проектирования.
24.5.5 Испытание взрывной нагрузки
24.5.5.1 Описание
Целью испытания взрывной нагрузки является демонстрация того, что применяемая противопожарная защита может выдержать ударную нагрузку от взрыва.
24.5.5.2 Порядок испытаний
Испытания взрывной нагрузки обычно включают заключение компонентов системы гибкой трубы во взрывной модуль и выполнение взрыва. Как правило, измеряют взрывное давление и продолжительность импульсов давления.
24.5.5.3 Критерии приемки
Не должно быть неисправляемой деформации или повреждения материала противопожарной защиты, негативно влияющих на противопожарные свойства. С целью проверки рекомендуется проводить испытание взрывной нагрузки после испытания на разрушение с тем же испытательным образцом. Таким образом моделируют последовательность данных событий в реальности. Должны быть указаны критерии приемки материала противопожарной защиты для данного испытания.
24.6.1 Общие сведения
В
подразделе 24.6 приведены руководства и рекомендации по монтажу противопожарной защиты, включая общие аспекты и пример порядка монтажа.
24.6.2 Установка противопожарной защиты
24.6.2.1 Противопожарную защиту, закрепленную на гибкой трубе, устанавливают на объектах производителя.
24.6.2.2 Поставку противопожарной защиты для подвесных конструкций осуществляют в готовых сборках, которые затем устанавливают вокруг защищаемого компонента и закрепляют болтами.
24.7 Управление целостностью
24.7.1 Общие сведения
В
24.7 представлены руководства и рекомендации по управлению целостностью, включая возможные дефекты.
24.7.2 Типы неисправностей и дефекты
В
таблице 22 указаны возможные дефекты противопожарной защиты.
Таблица 22
Возможные дефекты противопожарной защиты
Дефект | Последствие | Возможная причина | Возможное исправление | Проектное решение/изменяемый параметр |
1 Неисправность материала противопожарной защиты | Потеря противопожарной защиты в зоне повреждения; требуется замена или ремонт противопожарной защиты | б) удар упавшим объектом; в) усталостная поломка (только динамическая гибкая труба); г) заводской брак (например, пустоты в покрытии); д) старение материала из-за воздействия морской воды/высокой температуры; е) ползучесть (в зонах, на которые воздействуют нагрузки постоянного уровня); ж) неправильное проектирование (например, неправильная толщина покрытия) | Применение ремонтного материала в зоне неисправности | а) Выбор материалов; б) увеличение толщины материала противопожарной защиты |
2 Нарушение связи материала противопожарной защиты | Последствия в соответствии с 1 | б) заводской брак (например, покрытие не установлено в соответствии с техническими требованиями); в) старение материала из-за воздействия морской воды/высокой температуры, приводящее к потере связи; г) неправильное проектирование (например, покрытие не рассчитано на силы потери связи) | Удаление зоны с потерянной связью и установка ремонтного материала | Выбор материалов |
3 Повреждение материала противопожарной защиты | Потеря противопожарной защиты в области повреждения и возможная утечка внутренней среды и потеря герметичности в случае пожара, если не был произведен ремонт. Требование заменить или отремонтировать противопожарную защиту | а) Чрезмерная нагрузка: 1) упавший объект, 2) удар подводной конструкцией (например, швартовым концом, примыкающим гибким райзером и т.д.), 3) повреждение во время погрузочно-разгрузочных работ, хранения, транспортировки или установки; б) заводской брак (например, пустоты в покрытии); в) старение материала из-за воздействия морской воды/высокой температуры; г) ползучесть (в тех зонах, на которые воздействуют нагрузки постоянного уровня); д) неправильное проектирование (например, у материала неправильная ударопрочность) | а) Запрос у производителя на проведение оценки повреждения и решения о том, требуется ли ремонт; б) применение ремонтного материала в зоне повреждения | а) Выбор материалов; б) увеличение толщины материала противопожарной защиты |
24.7.3 Методы мониторинга
24.7.3.2
Дефект 2 таблицы 22 может быть очевидным при отделении противопожарной защиты от защищаемой конструкции из-за нарушения связи.
| ИСО 13628-11:2007 | Нефтяная и газовая промышленность. Проектирование и эксплуатация систем подводной добычи. Часть 11. Системы гибких трубопроводов для подводного и морского применения |
| ISO 13628-11:2007 | Petroleum and natural gas industries - Design and operation of subsea production systems - Part 11: Flexible pipe systems for subsea and marine applications |
| Правила классификации и постройки подводных добычных комплексов. РМРС - СПБ, 2017 |
| | ИС МЕГАНОРМ: примечание. В официальном тексте документа, видимо, допущена опечатка: "Указания по расчету нагрузок и воздействия волн, судов и льда на морские гидротехнические сооружения" имеет номер Р 31.3.07-01, а не РД 31.3.07. | |
|
| | Указания по расчету нагрузок и воздействия волн, судов и льда на морские гидротехнические сооружения |
| ВСН 41.88 | Проектирование ледостойких стационарных платформ |
| РД 37.001.131-89 | Затяжка резьбовых соединений. Нормы затяжки и технические требования |
УДК 622.276.04:006.354 | |
Ключевые слова: нефтяная и газовая промышленность, проектирование, эксплуатация, системы подводной добычи, руководство, вспомогательное оборудование, гибкие трубопроводы |