Главная // Актуальные документы // ГОСТ Р (Государственный стандарт)СПРАВКА
Источник публикации
М.: ФГБУ "Институт стандартизации", 2023
Примечание к документу
Документ
введен в действие с 01.12.2023.
Название документа
"ГОСТ Р 70723-2023. Национальный стандарт Российской Федерации. Блоки оконные и дверные. Калориметрический метод определения коэффициента теплопередачи"
(утв. и введен в действие Приказом Росстандарта от 12.04.2023 N 226-ст)
"ГОСТ Р 70723-2023. Национальный стандарт Российской Федерации. Блоки оконные и дверные. Калориметрический метод определения коэффициента теплопередачи"
(утв. и введен в действие Приказом Росстандарта от 12.04.2023 N 226-ст)
Утвержден и введен в действие
агентства по техническому
регулированию и метрологии
от 12 апреля 2023 г. N 226-ст
НАЦИОНАЛЬНЫЙ СТАНДАРТ РОССИЙСКОЙ ФЕДЕРАЦИИ
БЛОКИ ОКОННЫЕ И ДВЕРНЫЕ
КАЛОРИМЕТРИЧЕСКИЙ МЕТОД ОПРЕДЕЛЕНИЯ
КОЭФФИЦИЕНТА ТЕПЛОПЕРЕДАЧИ
Windows and doors. The hot-box method for determination
of heat transfer coefficient
ГОСТ Р 70723-2023
Дата введения
1 декабря 2023 года
1 РАЗРАБОТАН Федеральным государственным бюджетным образовательным учреждением высшего образования "Санкт-Петербургский государственный архитектурно-строительный университет" (ФГБОУ ВО СПбГАСУ) и Федеральным государственным бюджетным учреждением "Научно-исследовательский институт строительной физики Российской академии архитектуры и строительных наук" (НИИСФ РААСН)
2 ВНЕСЕН Техническим комитетом по стандартизации ТК 041 "Стекло"
3 УТВЕРЖДЕН И ВВЕДЕН В ДЕЙСТВИЕ
Приказом Федерального агентства по техническому регулированию и метрологии от 12 апреля 2023 г. N 226-ст
4 ВВЕДЕН ВПЕРВЫЕ
Правила применения настоящего стандарта установлены в статье 26 Федерального закона от 29 июня 2015 г. N 162-ФЗ "О стандартизации в Российской Федерации". Информация об изменениях к настоящему стандарту публикуется в ежегодном (по состоянию на 1 января текущего года) информационном указателе "Национальные стандарты", а официальный текст изменений и поправок -
в ежемесячном информационном указателе "Национальные стандарты". В случае пересмотра (замены) или отмены настоящего стандарта соответствующее уведомление будет опубликовано в ближайшем выпуске ежемесячного информационного указателя "Национальные стандарты". Соответствующая информация, уведомление и тексты размещаются также в информационной системе общего пользования -
на официальном сайте Федерального агентства по техническому регулированию и метрологии в сети Интернет (www.rst.gov.ru)
Настоящий стандарт устанавливает калориметрический метод определения коэффициента теплопередачи оконных или дверных блоков для жилых, общественных и производственных зданий, который применяют при проведении типовых, сертификационных и других периодических лабораторных испытаниях.
Стандарт позволяет определить коэффициент теплопередачи оконных или дверных блоков с учетом всех их элементов.
Настоящий стандарт применяют как при использовании приставного калориметра, так и при работе с установкой, приведенной в стандарте.
Примечание - Для мансардных окон и зенитных фонарей применяют
ГОСТ Р 54850.
В настоящем стандарте использованы нормативные ссылки на следующие документы:
ГОСТ 8.140 Государственная система обеспечения единства измерений. Государственная поверочная схема для средств измерений теплопроводности твердых тел в диапазоне от 0,02 до 20 Вт/(м·К) при температуре от 90 до 1100 К
ГОСТ 8.551 Государственная система обеспечения единства измерений. Государственный специальный эталон и государственная поверочная схема для средств измерений электрической мощности и коэффициента мощности в диапазоне частот от 40 до 20000 Гц
ГОСТ 7076 Материалы и изделия строительные. Метод определения теплопроводности и термического сопротивления при стационарном тепловом режиме
ГОСТ 7502 Рулетки измерительные металлические. Технические условия
ГОСТ 14791 Мастика герметизирующая нетвердеющая строительная. Технические условия
ГОСТ 15588 Плиты пенополистирольные теплоизоляционные. Технические условия
ГОСТ 20477 Лента полиэтиленовая с липким слоем. Технические условия
ГОСТ 24866 Стеклопакеты клееные. Технические условия
ГОСТ 25380 Здания и сооружения. Метод измерения плотности тепловых потоков, проходящих через ограждающие конструкции
ГОСТ 26602.1 Блоки оконные и дверные. Методы определения сопротивления теплопередаче
ГОСТ 30494 Здания жилые и общественные. Параметры микроклимата в помещениях
ГОСТ 31166-2003 Конструкции ограждающие зданий и сооружений. Метод калориметрического определения коэффициента теплопередачи
ГОСТ EN 12898 Стекло и изделия из него. Методы определения тепловых характеристик. Определение коэффициента эмиссии
ГОСТ Р 8.585 Государственная система обеспечения единства измерений. Термопары. Номинальные статические характеристики преобразования
ГОСТ Р 54850 Окна мансардные и зенитные фонари. Метод определения сопротивления теплопередаче
ГОСТ Р 58973 Оценка соответствия. Правила к оформлению протоколов испытаний
ГОСТ Р ИСО 7345 Тепловые характеристики зданий и конструктивных элементов. Физические величины и их определения
Примечание - При пользовании настоящим стандартом целесообразно проверить действие ссылочных стандартов (сводов правил) в информационной системе общего пользования - на официальном сайте Федерального агентства по техническому регулированию и метрологии в сети Интернет или по ежегодному информационному указателю "Национальные стандарты", который опубликован по состоянию на 1 января текущего года, и по выпускам ежемесячного информационного указателя "Национальные стандарты" за текущий год. Если заменен ссылочный документ, на который дана недатированная ссылка, то рекомендуется использовать действующую версию этого документа с учетом всех внесенных в данную версию изменений. Если заменен ссылочный документ, на который дана датированная ссылка, то рекомендуется использовать версию этого документа с указанным выше годом утверждения (принятия). Если после утверждения настоящего стандарта в ссылочный документ, на который дана датированная ссылка, внесено изменение, затрагивающее положение, на которое дана ссылка, то это положение рекомендуется применять без учета данного изменения. Если ссылочный документ отменен без замены, то положение, в котором дана ссылка на него, рекомендуется применять в части, не затрагивающей эту ссылку. Сведения о действии сводов правил целесообразно проверить в Федеральном информационном фонде стандартов.
В настоящем стандарте применены термины по
ГОСТ Р ИСО 7345, а также следующие термины с соответствующими определениями:
3.1 оконный блок: Изделие полной заводской готовности, предназначенное для естественного освещения и защиты от внешних воздействий, состоящее из светопрозрачного и непрозрачных материалов (дерево, металл, ПВХ).
3.2 дверной блок: Изделие полной заводской готовности, предназначенное для сообщения между различными помещениями.
Установленный в настоящем стандарте метод определения коэффициента теплопередачи ориентирован на испытания образцов оконных или дверных блоков с применением специальной установки, приведенной на
рисунке 1.
Рисунок 1 - Схема и фото установки для определения
коэффициента теплопередачи образцов оконных и дверных блоков
Определение коэффициента теплопередачи сводится:
- к созданию стационарного теплового потока, проходящего через образец оконного или дверного блока, который установлен в разделительной перегородке герметичной установки между холодным и теплым отсеками (см.
рисунок 1);
- поддержанию заданной температуры воздуха в теплом и холодном отсеках установки;
- определению плотности теплового потока, проходящего через испытуемый образец;
- вычислению коэффициента теплопередачи U образца оконного или дверного блока и приведенного сопротивления теплопередаче (Rо = 1/U).
Метод позволяет определять коэффициент теплопередачи образцов оконных или дверных блоков при различных климатических условиях по
СП 50.13330.2012.
Применение калориметрического метода при испытании образцов оконных или дверных блоков значительно повышает точность получаемых результатов, так как нет необходимости разделять конструкцию на однородные зоны, определять термические сопротивления каждой из зон и рассчитывать приведенное значение сопротивления теплопередаче.
5 Испытательное оборудование и средства контроля
5.1 Установка для определения коэффициента теплопередачи состоит из теплого (нагреваемого) и холодного отсеков, в перегородке между которыми размещается испытуемый образец (см.
рисунок 1). Стенки теплого и холодного отсеков изолированы материалом с теплопроводностью не более 0,04 Вт/(м·К). Поверхность теплого отсека покрыта алюминиевой фольгой.
5.2 Размеры рабочего проема установки для определения коэффициента теплопередачи должны соответствовать типовым размерам образцов, рекомендуемых для испытаний.
5.3 Толщина перегородки между теплым и холодным отсеками должна быть не менее 100 мм или соответствовать максимальной толщине образца, если она более 100 мм.
5.4 Перегородку, разделяющую теплый и холодный отсеки, изготавливают из теплоизоляционного материала с теплопроводностью, не более 0,04 Вт/(м·К). Поверхности перегородки и экрана, который используется для стабилизации движения воздуха, должны иметь высокую излучательную способность (более 0,8).
5.5 Для создания, поддержания и регулирования температурного режима в холодном отсеке камеры используют компрессоры или компрессорно-конденсаторные агрегаты холодильных машин, способные поддерживать температуру в диапазоне 0 °C - минус 50 °C с точностью +/- 0,5 °C.
5.6 Электрическая схема для нагревания теплого отсека установки выполняется по ГОСТ 31166-2003,
приложение А.
5.7 Температура в теплом отсеке установки устанавливается в процессе испытаний в соответствии с
ГОСТ 30494 и поддерживается в процессе испытаний с точностью +/- 0,5 °C.
5.8 Измерение температуры и плотности тепловых потоков выполняют по
ГОСТ 25380, а электрической мощности, подводимой к измерительной камере по
ГОСТ 8.551.
5.9 Для прецизионной калибровки испытательного оборудования могут быть использованы рабочие эталоны теплопроводности по
ГОСТ 8.140.
5.10 При проведении испытаний допускается использование другого оборудования, обеспечивающего требуемые условия испытаний.
Примечание - Для проведения испытаний может применяться приставная калориметрическая камера, которая устанавливается в теплом отделении климатической камеры.
6.1 Для испытаний отбирают образцы изделий полной заводской готовности с установленными уплотняющими прокладками.
6.2 Образцы проверяют на соответствие требованиям нормативной и конструкторской документации, обращая особое внимание на работоспособность фурнитуры открывающихся элементов, правильность установки уплотняющих прокладок, соответствие непрозрачного и светопрозрачного заполнения проектной документации.
6.3 Габаритные размеры образца определяют по наружному периметру при помощи стальной рулетки по
ГОСТ 7502 и проверяют их соответствие технической документации.
6.4 Для испытаний рекомендуется отбирать не менее двух однотипных образцов. В случае если отбор образцов осуществляют без участия представителей испытательного центра (лаборатории), об этом делают соответствующую запись в протоколе испытаний. Образцы для испытаний принимают согласно акту отбора образцов.
6.5 Для испытаний оконных блоков рекомендуется принимать образцы не менее 1,2 x 1,2 м или 1,2 x 1,5 м с отношением площади остекления к площади светового проема не менее 0,5.
7 Подготовка к испытаниям
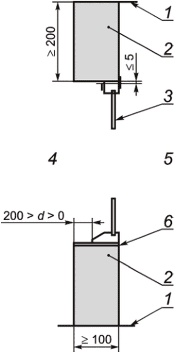
7.1 Испытуемый образец оконного или дверного блока устанавливают в перегородку между теплым и холодным отсеком установки. Его внутренняя поверхность должна находиться на одной прямой с поверхностью перегородки (см.
рисунок 2).
1 - граница области измерения; 2 - перегородка,

;
3 - оконный блок;
4 - холодная сторона;
5 - теплая сторона; 6 - лицевая стенка профиля
Рисунок 2 - Установка образца оконного или дверного блока
7.2 Образец оконного или дверного блока рекомендуется размещать по центру проема перегородки на расстоянии не менее 200 мм от внутренних поверхностей установки с холодной и теплой сторон для снижения влияния краевых эффектов.
7.3 Ширина зазора по периметру образца и проема перегородки не должна превышать 5 мм.
7.4 Монтажные зазоры по периметру между перегородкой и образцом с обеих сторон герметизируют пенополистирольными плитами по
ГОСТ 15588, липкой лентой по
ГОСТ 20477 или мастикой по
ГОСТ 14791.
8.1 Калибровочные испытания
8.1.1 Испытания по определению коэффициента теплопередачи образцов включают два этапа. На первом этапе проводят калибровку установки, используя две или более калибровочных плит с известными теплотехническими свойствами, которые устанавливают в рабочий проем перегородки между теплым и холодным отсеками. Требования к калибровочным плитам приведены в
приложении А. Методика калибровки установки приведена в
приложении Б.
8.1.2 Калибровочные испытания необходимы для гарантии того, что при основных испытаниях будут обеспечены условия в соответствии с
СП 50.13330.2012 и учтены краевые эффекты.
8.1.3 Краевые эффекты обусловлены разной толщиной испытуемого образца и перегородки, в результате чего возникает искажение тепловых потоков и температурного поля в граничной области между ними.
8.1.4 По результатам калибровочных испытаний определяют:
- мощность источника питания, требуемую для испытаний;
- сопротивление теплопередаче перегородки;
- температуру поверхностей калибровочной плиты;
- коэффициенты теплообмена на поверхностях калибровочных плит как функцию общей плотности теплового потока через калибровочную плиту (см.
приложение Б).
8.2 Испытание образцов
8.2.1 Измерение коэффициента теплопередачи образца оконного или дверного блока проводят, сохраняя градуировочные характеристики установки, полученные на первом этапе испытаний.
8.2.2 Образец устанавливают в разделительной перегородке установки (см. рисунок 2), сохраняя настройки оборудования.
8.2.3 Включают оборудование, устанавливая требуемую для испытаний мощность для установки температурного режима, источника питания, заданную температуру в холодном и теплом отсеках, обеспечивая контроль и поддержание их в автоматическом режиме, а также запись результатов измерений в режиме онлайн. Температура в теплом и холодном отсеках должна поддерживаться с точностью +/- 0,5 °C.
8.2.4 Для расчетов коэффициента теплопередачи образцов выбирают массив данных, отвечающий стационарному режиму измерений, при обработке которого случайная погрешность измерений менее приборной.
9.1 Следующие полученные результаты испытаний фиксируют в лабораторных журналах:
- массив данных измерений, соответствующий стационарным условиям измерений;
- средняя температура окружающей среды на теплой стороне

, °C;
- средняя температура окружающей среды на холодной стороне

, °C;
- коэффициенты теплообмена на поверхностях образца.
9.2 По результатам испытаний рассчитывают плотность теплового потока qsp, проходящего через испытуемый образец при стационарном режиме измерений, по формуле

(1)
где Asp - площадь проекции испытываемого образца, м2;
Фin - тепловой поток, подводимый к измерительной камере, скорректированный с учетом краевых эффектов и тепловых потерь через стенки измерительной камеры, Вт;
Ф
edge - тепловой поток, проходящий через граничную зону между калибровочной плитой и перегородкой, определяемый при калибровочных испытаниях согласно
формуле (Б.7);
Фsur - тепловой поток, проходящий через перегородку, определяемый по формуле

(2)
где Asur - площадь проекции перегородки, м2;

- разность между средними значениями температуры поверхностей перегородки, К;
Rsur - термическое сопротивление перегородки, определяемое при калибровке, м
2·К/Вт, согласно
формуле (Б.5).
9.3 Значения измеренного коэффициента теплопередачи испытуемого образца U, Вт/(м2·К), рассчитывают по формуле

(3)
где

- разность между температурой окружающей среды на каждой стороне испытуемого образца, К.
9.4 По результатам измерения коэффициента теплопередачи рассчитывают приведенное сопротивление теплопередаче испытанного образца Rо, м2·К/Вт, как
Rо = 1/U. (4)
10.1 Протокол испытаний оформляют в соответствии с требованиями
ГОСТ Р 58973.
10.2 Протокол испытаний должен содержать следующую информацию:
- наименование и номер аттестата аккредитации испытательного центра (лаборатории), проводившего испытания;
- наименование и юридический адрес организации - заказчика испытаний;
- наименование и юридический адрес организации - изготовителя испытуемого изделия;
- наименование испытуемого изделия и нормативного документа, регламентирующего требования к его качеству;
- описание испытуемого образца;
- дату поступления образцов изделия в испытательный центр (лабораторию);
- номер регистрации образцов изделия в испытательном центре (лаборатории);
- дату проведения испытаний образцов изделия;
- полученные результаты.
10.3 Описание испытываемого образца изделия должно содержать:
- габаритные размеры, схему открывания, конструкцию притворов;
- указание всех основных компонентов;
- описание рамных (профильных) комплектующих;
- описание светопрозрачных заполнений (стеклопакетов в соответствии с
ГОСТ 24866) с указанием типов и толщин стекол, и заполнений прослоек, дистанционных рамок, специальных элементов крепления;
- описание фурнитуры и систем запирания с указанием числа и точек запирания.
10.4 Протокол может включать информационное приложение, содержащее фотографии процесса испытаний, конструкторскую информация об испытываемом образце изделия (разрезы, чертежи, спецификация материалов), а также оценку соответствия нормативным требованиям.
(обязательное)
ТРЕБОВАНИЯ К КАЛИБРОВОЧНЫМ ПЛИТАМ
А.1 Для калибровки установки применяют не менее двух калибровочных плит (КП) толщиной 20 - 100 мм. Калибровочные плиты должны иметь те же размеры, что и испытываемый образец изделия и соответствовать следующим требованиям:
- теплоизоляционный материал калибровочных плит должен быть однородным и иметь известную теплопроводность или термическое сопротивление;
- используемый материал не должен быть подвержен эффекту старения;
- характер поверхности калибровочной плиты должен быть аналогичен поверхности испытываемого образца;
- излучательная способность поверхности должна быть известна как, например, для обычного флоат-стекла или измерена согласно
ГОСТ EN 12898.
А.2 Тонкие калибровочные плиты толщиной 20 мм допускается изготовлять из органического стекла.
А.3 Для калибровочной плиты толщиной 60 мм и более внутреннюю часть изготовляют из экструдированного пенополистирола плотностью более 20 - 50 кг/м3 с номинальной теплопроводностью 0,033 Вт/(м·К). В качестве материала для поверхностей КП используют закаленное флоат-стекло толщиной от 3 до 6 мм с теплопроводностью 1 Вт/(м·К) и с полусферической излучательной способностью 0,84 или прозрачный лист поликарбоната толщиной 4 мм с теплопроводностью 0,2 Вт/(м·К) и полусферической излучательной способностью 0,90.
А.4 Перед сборкой калибровочных плит измеряют теплопроводность пенополистирола по
ГОСТ 7076 при трех температурах (минус 10 °C, 0 °C и +10 °C).
А.5 Термическое сопротивление калибровочных плит
Rcal при средней температуре плиты

рассчитывают по формуле

(А.1)
где dj - толщина слоя j, в метрах;

- теплопроводность слоя
j, в Вт/(м·К).
(обязательное)
Б.1 Калибровочные испытания проводят для обеспечения требуемых условий испытаний образцов изделия, учета краевых эффектов и коэффициента теплообмена перегородки.
Б.2 Калибровочные испытания должны проводиться:
- при шести значениях плотности теплового потока, которые охватывают весь диапазон плотности теплового потока, характерный для испытуемых образцов;
- при трех различных значениях средней температуры воздуха в холодном отсеке при постоянной температуре и скорости воздуха в теплом отсеке.
Б.3 Калибровочные плиты устанавливают в проем перегородки установки на расстоянии 40 мм от теплой поверхности, как показано на
рисунке Б.1.
1 - перегородка; 2 - краевые эффекты; 3 - холодная сторона;
4 - теплая сторона; 5 - калибровочная плита
Рисунок Б.1 - Установка калибровочной плиты в проем
установки для определения коэффициента теплопередачи
Б.4 При проведении калибровки измеряют температуру поверхности теплой и холодной сторон калибровочных плит (см.
рисунок Б.2).
1 - холодная сторона экрана;
2 - теплая сторона экрана; 3 - датчики температуры
a - датчики скорости воздуха; b - термопары
Рисунок Б.2 - Расположение датчиков измерения
температуры и скорости воздуха
Б.5 Для этих целей площадь поверхности калибровочных плит разделяют не менее чем на девять равных прямоугольных областей и измеряют температуру в центре каждой зоны, а также в восьми точках перегородки на теплой и холодной сторонах (см.
рисунок Б.2).
Б.6 Датчики температуры должны находиться на расстоянии не менее 100 мм от края калибровочной плиты.
Б.7 В качестве датчиков температуры используют термопары типа Т (медь/константан), изготовленные по
ГОСТ Р 8.585 из проволоки диаметром не более 0,3 мм, которые с помощью клея или липкой ленты закрепляют на внешней поверхности с высокой излучательной способностью (более 0,8).
Б.8 Для измерения скорости воздуха на холодной и теплой стороне применяют датчик скорости, приведенный в
[1]. Датчик располагают вне пограничного слоя образца, вдали от любого выступающего элемента, индуцирующего турбулентность.
Б.9 Для обеспечения свободной конвекции при скорости воздуха не менее 1,5 м/с при первом калибровочном испытании расстояние между перегородкой и экраном должно быть не менее 150 мм на теплой стороне и не менее 100 мм на холодной стороне.
Б.10 Для первого калибровочного испытания используют тонкую плиту толщиной 20 мм, устанавливают скорость движения воздуха в холодном отсеке путем дросселирования или регулирования вентилятора таким образом, чтобы общее сопротивление теплопередаче поверхностей (теплой и холодной стороны) составляло, например (0,17 +/- 0,01) м
2·К/Вт, в соответствии с
ГОСТ 26602.1. Для всех последующих калибровочных измерений и испытаний образцов оконных и дверных блоков настройки не изменяются.
Б.11 Общее сопротивление теплопередаче поверхностей теплой и холодной сторон Rs,t рассчитывают по формуле

(Б.1)
где

- разность между значениями температуры окружающей среды на каждой стороне калибровочной плиты, К;

- перепад температуры между поверхностями калибровочной плиты, К;
qcal - плотность теплового потока, проходящего через калибровочную плиту, которая определяется по известному термическому сопротивлению калибровочной плиты
Rcal и разности температуры ее поверхностей

, вычисляют по формуле

(Б.2)
где
Rcal - термическое сопротивление калибровочной плиты при средней температуре плиты

, рассчитываемое по
формуле А.1.
Б.12 Общее сопротивление теплопередаче поверхностей теплой и холодной сторон Rs,t представляют графически как функцию плотности теплового потока qcal, проходящего через калибровочную плиту.
Б.13 Сопротивления теплопередаче соответствующих поверхностей калибровочной плиты рассчитывают по формулам:

(Б.3)

(Б.4)
где qcal - плотность теплового потока через калибровочную плиту, Вт/м2;

- температура окружающей среды теплой стороны, °C;

- температура поверхности теплой стороны калибровочной плиты, °C;

- температура поверхности холодной стороны калибровочной плиты, °C;

- температура окружающей среды холодной стороны, °C.
Б.14 Из массива данных, полученных при калибровке с калибровочной плитой (dcal ~= 60 мм), рассчитывают термическое сопротивление Rsur перегородки как функцию ее средней температуры

(Б.5)
где Asur - проекция поверхности перегородки, м2;

- разность между средними значениями температуры поверхностей перегородки, К;
Фin - тепловой поток, Вт, подводимый к измерительной камере, скорректированный с учетом краевых эффектов и тепловых потерь через стенки измерительной камеры;
Фcal - тепловой поток, Вт, проходящий через калибровочную плиту и определяемый согласно формуле
Фcal = Acal·qcal; (Б.6)
Фedge - тепловой поток, Вт, проходящий через граничную зону между калибровочной плитой и перегородкой и определяемый согласно формуле

(Б.7)
где Ledge - длина по периметру между перегородкой и образцом, м;

- линейный коэффициент теплопередачи граничной зоны между перегородкой и образцом, Вт/(м·К);

- разность между температурой воздуха теплой и холодной стороны, К.
Примечание - Линейный коэффициент

для остекленной калибровочной плиты толщиной 60 мм при теплопроводности

материала перегородки менее 0,04 Вт/(м·К) может быть принят 0,004 Вт/(м·К) (см.
[2], таблица D2).
Б.15 При проведении калибровочных испытаний все параметры, характеризующие процесс теплообмена с использованием калибровочных плит, записываются в режиме онлайн. Для обработки результатов может использоваться "Excel" или другие программные средства.
Б.16 Для получения корректных результатов измерений выбирают массив данных, отвечающий стационарному режиму измерений, при обработке которого случайная погрешность измерений менее приборной.
Б.17 Приведенный метод калибровки позволяет распространять результаты, полученные с помощью калибровочной плиты заданного размера, на испытываемые образцы других размеров без необходимости повторения всего процесса калибровки.
| Государственная поверочная схема для средств измерений скорости воздушного потока (утверждена приказом Росстандарта от 25 ноября 2019 г. N 2815) |
| ЕН ИСО 12567-1:2020 | "Теплотехнические свойства окон и дверей. Определение коэффициента теплопередачи и термического сопротивления с применением прибора с горячей охранной зоной. Часть 1. Окна и двери в комплекте" (Thermal performance of windows and doors - Determination of thermal transmittance by the hot-box method - Part 1: Complete windows and doors") |
УДК 699.83:006.354 | |
Ключевые слова: оконный или дверной блок, лабораторные испытания, калориметрический метод, коэффициент теплопередачи |