Главная // Актуальные документы // ГОСТ Р (Государственный стандарт)СПРАВКА
Источник публикации
М.: ФГБУ "РСТ", 2022
Примечание к документу
Документ
введен в действие с 01.09.2022.
Название документа
"ГОСТ Р 59715-2022. Национальный стандарт Российской Федерации. Смеси бетонные самоуплотняющиеся. Методы испытаний"
(утв. и введен в действие Приказом Росстандарта от 07.07.2022 N 581-ст)
"ГОСТ Р 59715-2022. Национальный стандарт Российской Федерации. Смеси бетонные самоуплотняющиеся. Методы испытаний"
(утв. и введен в действие Приказом Росстандарта от 07.07.2022 N 581-ст)
Утвержден и введен в действие
Приказом Федерального
агентства по техническому
регулированию и метрологии
от 7 июля 2022 г. N 581-ст
НАЦИОНАЛЬНЫЙ СТАНДАРТ РОССИЙСКОЙ ФЕДЕРАЦИИ
СМЕСИ БЕТОННЫЕ САМОУПЛОТНЯЮЩИЕСЯ
МЕТОДЫ ИСПЫТАНИЙ
Self-compacting fresh concrete. Methods of testing
ГОСТ Р 59715-2022
Дата введения
1 сентября 2022 года
1 РАЗРАБОТАН Акционерным обществом "Научно-исследовательский центр "Строительство" (АО "НИЦ "Строительство") - "Научно-исследовательский, проектно-конструкторский и технологический институт бетона и железобетона им. А.А. Гвоздева" (НИИЖБ)
2 ВНЕСЕН Техническим комитетом по стандартизации ТК 465 "Строительство"
3 УТВЕРЖДЕН И ВВЕДЕН В ДЕЙСТВИЕ Приказом Федерального агентства по техническому регулированию и метрологии от 7 июля 2022 г. N 581-ст
4 В настоящем стандарте учтены основные нормативные положения следующих национальных стандартов Германии:
- ДИН ЕН 12350-9:2010 "Испытания бетонной смеси. Часть 9. Самоуплотняющаяся бетонная смесь. Испытание воронкой" (DIN EN 12350-9:2010 "

von Frischbeton - Teil 9: Selbstverdichtender Beton - Auslauftrichterversuch", NEQ);
- ДИН ЕН 12350-10:2010 "Испытания бетонной свежеприготовленной смеси. Часть 10. Самоуплотняющаяся бетонная смесь. Испытание на L-образном коробе" (DIN EN 12350-10:2010 "

von Frischbeton - Teil 10: Selbstverdichtender Beton - L-Kasten-Versuch", NEQ);
- ДИН ЕН 12350-11:2010 "Испытания бетонной свежеприготовленной смеси. Часть 11. Самоуплотняющаяся бетонная смесь. Определение устойчивости к расслоению с помощью сита" (DIN EN 12350-11:2010 "

von Frischbeton - Teil 11: Selbstverdichtender Beton - Bestimmung der

im Siebversuch", NEQ);
- ДИН ЕН 12350-12:2010 "Испытания бетонной свежеприготовленной смеси. Часть 12. Самоуплотняющаяся бетонная смесь. Испытание с применением блокирующего кольца" (DIN EN 12350-12:2010 "

von Frischbeton - Teil 12: Selbstverdichtender Beton - Blockierring-Versuch", NEQ)
Правила применения настоящего стандарта установлены в статье 26 Федерального закона от 29 июня 2015 г. N 162-ФЗ "О стандартизации в Российской Федерации". Информация об изменениях к настоящему стандарту публикуется в ежегодном (по состоянию на 1 января текущего года) информационном указателе "Национальные стандарты", а официальный текст изменений и поправок -
в ежемесячном информационном указателе "Национальные стандарты". В случае пересмотра (замены) или отмены настоящего стандарта соответствующее уведомление будет опубликовано в ближайшем выпуске ежемесячного информационного указателя "Национальные стандарты". Соответствующая информация, уведомление и тексты размещаются также в информационной системе общего пользования -
на официальном сайте Федерального агентства по техническому регулированию и метрологии в сети Интернет (www.rst.gov.ru)
Настоящий стандарт распространяется на самоуплотняющиеся бетонные смеси (далее - смеси) для приготовления тяжелых, мелкозернистых, легких и порошковых бетонов и фибробетонов на цементных вяжущих с максимальным размером крупного заполнителя 20 мм и устанавливает правила отбора проб и методы определения удобоукладываемости, средней плотности, пористости, расслаиваемости, вязкости, текучести, температуры и сохраняемости свойств бетонной смеси.
В настоящем стандарте использованы нормативные ссылки на следующие стандарты:
ГОСТ 8.423 Государственная система обеспечения единства измерений. Секундомеры механические. Методы и средства поверки
ГОСТ 427 Линейки измерительные металлические. Технические условия
ГОСТ 2789 Шероховатость поверхности. Параметры и характеристики
ГОСТ 7473 Смеси бетонные. Технические условия
ГОСТ 7502 Рулетки измерительные металлические. Технические условия
ГОСТ 13015 Изделия бетонные и железобетонные для строительства. Общие технические требования. Правила приемки, маркировки, транспортирования и хранения
ГОСТ 13646 Термометры стеклянные ртутные для точных измерений. Технические условия
ГОСТ 18105 Бетоны. Правила контроля и оценки прочности
ГОСТ 25192 Бетоны. Классификация и общие технические требования
ГОСТ 26633 Бетоны тяжелые и мелкозернистые. Технические условия
ГОСТ 31914 Бетоны высокопрочные тяжелые и мелкозернистые для монолитных конструкций. Правила контроля и оценки качества
ГОСТ Р 8.568 Государственная система обеспечения единства измерений. Аттестация испытательного оборудования. Основные положения
ГОСТ Р 51568 (ИСО 3310-1-90) Сита лабораторные из металлической проволочной сетки. Технические условия
ГОСТ Р 56587 Смеси бетонные. Метод определения сроков схватывания
ГОСТ Р 58515 Кельмы, лопатки и отрезовки. Технические условия
ГОСТ Р 59714 Смеси бетонные самоуплотняющиеся. Технические условия
Примечание - При пользовании настоящим стандартом целесообразно проверить действие ссылочных стандартов в информационной системе общего пользования - на официальном сайте Федерального агентства по техническому регулированию и метрологии в сети Интернет или по ежегодному информационному указателю "Национальные стандарты", который опубликован по состоянию на 1 января текущего года, и по выпускам ежемесячного информационного указателя "Национальные стандарты" за текущий год. Если заменен ссылочный стандарт, на который дана недатированная ссылка, то рекомендуется использовать действующую версию этого стандарта с учетом всех внесенных в данную версию изменений. Если заменен ссылочный стандарт, на который дана датированная ссылка, то рекомендуется использовать версию этого стандарта с указанным выше годом утверждения (принятия). Если после утверждения настоящего стандарта в ссылочный стандарт, на который дана датированная ссылка, внесено изменение, затрагивающее положение, на которое дана ссылка, то это положение рекомендуется применять без учета данного изменения. Если ссылочный стандарт отменен без замены, то положение, в котором дана ссылка на него, рекомендуется применять в части, не затрагивающей эту ссылку.
4 Правила отбора проб и подготовки испытаний
4.1 Отбор проб для определения нормируемых параметров смесей проводят в соответствии с положениями настоящего стандарта с учетом указаний
ГОСТ 10181.
4.2 Поверку средств измерений и аттестацию испытательного оборудования следует проводить в соответствии с
ГОСТ Р 8.568.
5 Определение удобоукладываемости
5.1.1 Удобоукладываемость смесей определяют по показателю расплыва нормального конуса.
5.1.2 Данный метод может быть применен в лабораторных условиях при подборе состава смеси, при операционном контроле на заводе - производителе бетонной смеси, а также при входном контроле на строительной площадке.
Для определения удобоукладываемости смесей применяют:
- плиту базовую - плоский лист размерами 900 x 900 мм толщиной не менее 3 мм из коррозионно-стойкого материала (металла или аналогичного материала). Поверхность листа должна иметь шероховатость не более 40 мкм по
ГОСТ 2789. Конструкция плиты должна быть без перекосов с отклонениями от плоскостности поверхности, не превышающими 3 мм в любой точке между противоположными сторонами и углами. Центр плиты должен быть помечен крестом, линии которого параллельны кромкам плиты, и окружностями с диаметрами (100 +/- 1) мм, (200 +/- 1) мм и (500 +/- 1) мм, центры которых совпадают с центральной точкой плиты
(рисунок 1). Все линии должны быть не шире 2 мм и не глубже 1 мм;
- линейку металлическую по
ГОСТ 427 или рулетку по
ГОСТ 7502, длиной не менее 1000 мм с делениями по длине не более 5 мм;
- секундомер по
ГОСТ 8.423 с погрешностью измерений до 0,1 с;
- уровень строительный по
ГОСТ Р 58514 для проверки горизонтальности базовой плиты;
- контейнер емкостью не менее 10 л для пробы бетонной смеси.
Рисунок 1 - Базовая плита
5.3 Порядок подготовки и проведения испытания
5.3.1 Базовую плиту устанавливают на плоскую горизонтальную поверхность, не подвергающуюся вибрации или ударам. С помощью строительного уровня проверяют верхнюю поверхность на горизонтальность.
5.3.2 Непосредственно перед началом испытаний все поверхности применяемого оборудования протирают влажной тканью, избегая излишнего увлажнения.
5.3.3 Конус помещают по центру базовой плиты внутри 200-миллиметровой окружности и, чтобы предотвратить вытекание смеси из-под конуса, удерживают его на месте с помощью упоров.
5.3.4 Заполняют конус смесью без какого-либо уплотнения. Кельмой снимают излишек смеси с верхушки конуса и отстаивают конус не более 30 с, удаляя за это время все излишки смеси с базовой плиты.
5.3.5 Конус поднимают одним движением за 1 - 3 с, не препятствуя расплыванию смеси. Если требуется определить время t500, то секундомер включают сразу же после того, как конус оторвется от базовой плиты, фиксируя время, за которое растекающаяся смесь впервые коснется отметки 500-миллиметровой окружности.
5.3.6 После стабилизации смеси измеряют самый большой диаметр расплыва и фиксируют его как d1. Затем измеряют диаметр d2 этого же расплыва под прямым углом к d1 и проверяют расплыв смеси на наличие признаков расслоения.
5.4 Обработка и оценка результатов
5.4.1 Среднее значение расплыва РК, см, вычисляют по формуле
РК = (d1 + d2)/2, (1)
где d1 - наибольший диаметр распространения расплыва, см;
d2 - распространение расплыва под углом 90° к d1, см.
5.4.2 Если разница между d1 и d2 более 5 см, то следует взять другую пробу и повторить испытание.
Если два последовательных испытания покажут разницу между d1 и d2 более 5 см, то испытания на расплыв следует повторить. При повторном отрицательном результате состав смеси требует корректировки.
6 Определение средней плотности
6.1 Среднюю плотность смеси устанавливают в соответствии с указаниями ГОСТ 10181-2014
(раздел 5) с учетом
6.2 и
6.3 настоящего стандарта.
6.2 Средства для испытаний, указанные в ГОСТ 10181-2014
(пункт 5.2), принимают без лабораторной виброплощадки и без штыкования смеси.
6.3 Смесь, помещенную в сосуд согласно ГОСТ 10181-2014
(пункт 5.3.2), не уплотняют, при этом избыток смеси срезают в соответствии с ГОСТ 10181-2014
(пункт 5.3.3).
7 Определение пористости (воздухосодержания)
Пористость смеси определяют в соответствии с указаниями ГОСТ 10181-2014
(раздел 6) без вибрирования и без штыкования смеси.
8 Определение расслаиваемости
8.1.1 Расслаиваемость смеси определяют по показателям раствороотделения на сите и водоотделения.
8.1.2 Допускается в качестве дополнительного метода использовать определение склонности смеси к расслаиванию по визуальным индексам стабильности смеси в соответствии с
приложением А:
- по результатам испытаний на подвижность по расплыву нормального конуса по
разделу 4;
- по результатам испытаний методом блокирующего кольца по
разделу 9.
8.2 Определение раствороотделения
8.2.1 Основные положения
8.2.1.1 Испытание с помощью сита применяют для определения устойчивости смеси к расслоению по показателю раствороотделения смеси без динамического воздействия.
8.2.1.2 Расслаиваемость рассчитывают как отношение массы образца к массе, прошедшей сквозь сито.
8.2.2 Средства испытания
Для испытаний смеси по показателю раствороотделения применяют:
- сито по
ГОСТ Р 51568 с диаметром рамки не менее 300 мм, высотой не менее 30 мм и с отверстиями диаметром 5 мм;
- сборник-контейнер емкостью не менее 11 л для стока смеси, с которого сито может легко убираться вертикальным подъемом;
- весы для статического взвешивания с плоской чашей, которая может принимать сборник сита, с точностью 0,01 кг и минимальной допустимой нагрузкой 10 кг;
- контейнер емкостью минимум 11 л, имеющий внутренний диаметр минимум 200 мм с риской на внутренней стороне емкости, обозначающей объем 10 л;
- секундомер по
ГОСТ 8.423 с погрешностью измерений до 1 с;
- термометр по
ГОСТ 13646 с точностью измерения 1 °C.
8.2.3 Порядок подготовки и проведения испытания
8.2.3.1 Непосредственно перед началом испытания протирают влажной тканью все поверхности, соприкасающиеся со смесью, избегая излишнего увлажнения.
8.2.3.2 Измеряют температуру смеси.
8.2.3.3 Смесь объемом (10,0 +/- 0,5) л подают в контейнер и накрывают для предотвращения испарения влаги.
8.2.3.4 Контейнер со смесью оставляют на горизонтальной плоскости на (15,0 +/- 0,5) мин.
8.2.3.5 Весы для статического взвешивания устанавливают на твердой, горизонтальной плоскости.
8.2.3.6 Сборник-контейнер устанавливают на весы для статического взвешивания и фиксируют его массу mp. Затем сухое сито устанавливают на сборник и массу mp записывают снова или весы для статического взвешивания устанавливают на нуль.
8.2.3.7 После отстаивания с контейнера снимают крышку и фиксируют, появилась ли вода на поверхности смеси.
8.2.3.8 Во время нахождения сита и сборника на весах верхний край контейнера для проб находится на (500 +/- 50) мм выше сита, за одну рабочую операцию подают (4,8 +/- 0,2) кг смеси (включая отделенную воду) непрерывно на середину сита
(рисунок 2). Фиксируют фактическую массу
mc смеси, которая подавалась в сито, и записывают в граммах.
1 - сито; 2 - сборник; 3 - контейнер; 4 - весы
Рисунок 2 - Определение устойчивости к расслоению
8.2.3.9 Смесь оставляют на сите на (120 +/- 5) с. Затем аккуратно поднимают и убирают сито.
8.2.3.10 Массу сборника с растворной частью смеси, прошедшей через сито, mps, фиксируют в граммах.
8.2.4 Обработка и оценка результатов
8.2.4.1 Устойчивость смеси к расслоению по показателю раствороотделения P, %, с округлением до 1% вычисляют по формуле
P = (mps - mp)/mc·100, (2)
где mps - масса сборника с ситом, включая массу, прошедшую сквозь сито, г;
mp - масса сборника с ситом, г;
mc - первоначальная масса смеси, которая подавалась в сито, г.
8.2.4.2 Результаты испытания P, %, заносят в протокол (журнал испытаний).
8.3 Определение водоотделения
8.3.1 Показатель водоотделения смеси определяют по ГОСТ 10181-2014
(подраздел 7.4) с учетом
8.3.2 настоящего стандарта.
8.3.2 Смесь укладывают в мерный сосуд без вибрирования или механического уплотнения за один прием.
9.1.1 Определение вязкости смеси проводят по времени расплыва нормального конуса или времени истечения смеси из V-образной воронки.
9.1.2 Определение вязкости смеси по времени расплыва нормального конуса устанавливают при испытании по удобоукладываемости.
9.1.3 Определение вязкости смеси методом испытания V-образной воронкой устанавливают по времени истечения из V-образной воронки.
9.2 Определение вязкости по времени расплыва нормального конуса
9.2.1 Средства испытаний и порядок подготовки и проведения испытания принимают в соответствии с указаниями
раздела 4.
9.2.2 В ходе проведения испытаний определяют время t500, с, необходимое для расплыва смеси до диаметра 500 мм, которое является показателем вязкости V.
9.3 Определение вязкости по времени истечения из V-образной воронки
9.3.1 Средства испытания
Для определения вязкости смеси V-образной воронкой применяют:
- воронку с внутренними размерами и допустимыми отклонениями согласно
рисунку 3, оснащенную быстродействующим герметизирующим клапаном или задвижкой в основании. Воронка должна быть закреплена так, чтобы верхний край находился в горизонтальном положении, а под клапаном имелось достаточное пространство для установки приемной емкости. Воронку изготовляют из коррозионно-стойкой стали толщиной не менее 1,5 мм. Внутренняя поверхность воронки должна иметь шероховатость не более 40 мкм по
ГОСТ 2789;
- секундомер с погрешностью измерений до 0,1 с по
ГОСТ 8.423;
- контейнер емкостью не менее 12 л для пробы бетонной смеси.
1 - клапан
Рисунок 3 - V-образная воронка
9.3.2 Порядок подготовки и проведения испытания
9.3.2.1 Непосредственно перед испытанием увлажняют влажной тканью все внутренние поверхности, включая клапан. Клапан закрывают. Под воронку устанавливают емкость для сбора смеси.
9.3.2.2 Смесь подается в воронку в один прием без дополнительного уплотнения до полного заполнения. С помощью кельмы срезают излишек смеси по уровню верхнего края воронки.
9.3.2.3 Через (10 +/- 2) с после заполнения воронки клапан открывают и измеряют с точностью до 0,1 с время tv с момента открытия клапана до момента, как только станет возможным через верхнюю часть воронки увидеть приемную емкость, находящуюся под воронкой. Время tv соответствует длительности вытекания смеси из воронки и является показателем вязкости V.
Вытекание смеси из воронки должно быть непрерывным. Если воронка закупорилась, то испытание должно быть проведено повторно. Если воронка повторно закупорилась, то необходима корректировка состава смеси.
9.3.3 Обработка и оценка результатов
Время истечения из воронки tv в секундах (с точностью до 0,1 с) заносят в протокол, в том числе отмечают факты закупоривания при их наличии.
10.1 Текучесть T определяют:
- методом блокирующего кольца;
- методом испытания в L-образном коробе.
10.2 Определение текучести методом блокирующего кольца
10.2.1 Основные положения
Определение текучести методом блокирующего кольца проводят для оценки способности смеси проникать при ее заливке в узкие пространства, включая просветы между арматурными стержнями и другие препятствия (анкеры закладных деталей и др.) без расслоения или закупоривания. Применяют два типа блокирующих колец: с 12 и 16 стержнями (
рисунки 4 -
6). Все элементы блокирующих колец выполняют из коррозионно-стойкой стали.
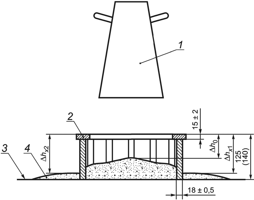
1 - конус; 2 - блокирующее кольцо; 3 - базовая плита;
4 - бетонная смесь;

,

,

- разности высот
между верхним краем блокирующего кольца
и определенными точками бетона
Рисунок 4 - Поперечный вид по отношению
к блокирующему кольцу
между верхним краем блокирующего кольца
и определенными точками бетона
Рисунок 5 - Блокирующее кольцо с 12 стержнями
между верхним краем блокирующего кольца
и определенными точками
Рисунок 6 - Блокирующее кольцо с 16-ю стержнями
Данный метод применяют при подборе состава смеси для густоармированных конструкций и конструкций сложной геометрической формы в лабораторных условиях.
Текучесть смеси оценивают по осадке нормального конуса, расплыв которого ограничивают применением блокирующего кольца.
10.2.2 Средства испытания
Для определения текучести применяют:
- плиту базовую, согласно испытанию по
4.2;
- конус нормальный высотой 300 мм по
ГОСТ 10181, нижние упоры которого снимают;
- линейку металлическую по
ГОСТ 427 или рулетку по
ГОСТ 7502, длиной не менее 1000 мм с делениями по длине не более 5 мм;
- секундомер по
ГОСТ 8.423 с погрешностью измерений до 0,1 с;
- уровень строительный по
ГОСТ Р 58514 для проверки горизонтальности базовой плиты;
- контейнер емкостью не менее 10 л для пробы бетонной смеси;
- кольцо блокирующее с 12 вертикальными стальными стержнями диаметром (18,0 +/- 0,5) мм, которые закреплены на одном кольце с диаметром (300 +/- 2) мм и размерами, представленными на
рисунках 4 и
5 [(расстояние между стержнями составляет (59 +/- 1) мм)];
- кольцо блокирующее с 16 вертикальными стальными стержнями диаметром (18,0 +/- 0,5) мм, которые закреплены на одном кольце с диаметром (300 +/- 2) мм и размерами, представленными на
рисунках 4 и
6 [(расстояние между стержнями составляет (41 +/- 1) мм)].
Все поверхности, соприкасающиеся со смесью, должны иметь шероховатость не более 40 мкм по
ГОСТ 2789.
10.2.3 Порядок подготовки и проведения испытания
10.2.3.1 Базовую плиту устанавливают на плоскую горизонтальную поверхность, не подвергающуюся вибрации или ударам. С помощью строительного уровня проверяют верхнюю поверхность на горизонтальность.
10.2.3.2 Непосредственно перед началом испытаний все внутренние поверхности оборудования протирают влажной тканью, избегая излишнего увлажнения.
10.2.3.3 Устанавливают блокирующее кольцо так, чтобы центр кольца совпадал с центром базовой плиты.
10.2.3.4 Помещают конус по центру базовой плиты внутри 200-миллиметровой окружности на базовой плите и, чтобы предотвратить вытекание смеси из-под конуса, удерживают его на месте, прижимая ручками.
10.2.3.5 Заполняют конус смесью в один прием без дополнительного уплотнения. Кельмой снимают излишек смеси с верхушки конуса и отстаивают конус не более 30 с, в течение которых удаляют все излишки смеси с базовой плиты.
10.2.3.6 Конус поднимают одним движением за 1 - 3 с, не препятствуя расплыванию смеси.
10.2.3.7 Кладут металлическую линейку на верхнюю сторону блокирующего кольца и другой линейкой или рулеткой измеряют с точностью до 1 мм относительные различия высот между нижним кантом линейки и бетонной поверхности в центре

и в четырех позициях по краю расплыва вне блокирующего кольца, т.е. две (

,

) в направлении
x и другие две (

,

) в направлении
y (перпендикулярно к
x), как показано на
рисунках 4 -
6.
10.2.4 Обработка и оценка результатов
10.2.4.1 Текучесть смеси T вычисляют по формуле

(3)
10.2.4.2 Результаты испытаний на текучесть T заносят в протокол.
10.3 Определение текучести методом испытания с использованием L-образного короба
10.3.1 Основные положения
Испытание на L-образном коробе используют для оценки текучести смеси с учетом ее необходимости проходить при заливке в узкие пространства, включая просветы между арматурными стержнями и другие препятствия (анкеры закладных деталей и др.) без расслоения или закупоривания.
10.3.2 Средства испытания
Для определения текучести смеси применяют:
- короб металлический L-образный с двумя и тремя стержнями, конструкция которого с внутренними размерами показана на
рисунке 7. Вертикальная воронка может быть съемной для облегчения чистки. Все элементы короба изготовляют из коррозионно-стойкой листовой стали толщиной не менее 1,5 мм.
Рисунок 7 - Конструкция L-образного короба
Система расположения стержней должна быть выполнена таким образом, чтобы два стальных стержня диаметром (12,0 +/- 0,2) мм образовывали просвет между стержнями (59 +/- 1) мм - для испытания с двумя стержнями, а три стальных стержня диаметром (12,0 +/- 0,2) мм - просвет (41 +/- 1) мм - для испытания с тремя стержнями. Расположение стержней в L-образном коробе выполняют таким образом, чтобы стержни были вертикально смонтированы и установлены на том же самом расстоянии друг от друга по ширине короба, как представлено на
рисунке 8. Все поверхности, соприкасающиеся со смесью, должны иметь шероховатость не более 40 мкм по
ГОСТ 2789;
- линейку металлическую по
ГОСТ 427 или рулетку по
ГОСТ 7502, длиной не менее 500 мм с делениями по длине не более 1 мм, причем нулевая маркировка должна быть непосредственно в конце линейки;
- контейнер емкостью не менее 14 л для пробы бетонной смеси;
- уровень строительный по
ГОСТ Р 58514, предназначенный для проверки горизонтального положения L-образного короба перед началом испытания.
а) Расстояние в свету между стержнями (41 +/- 1) мм | б) Расстояние в свету между стержнями (59 +/- 1) мм |
1 - гладкие стальные стержни диаметром (12,0 +/- 0,2) мм
Рисунок 8 - Положение стержней в L-образном коробе
10.3.3 Порядок подготовки и проведения испытания
10.3.3.1 L-образный короб закрепляют на ровном основании и с помощью строительного уровня проверяют горизонтальность. Поверхности, соприкасающиеся со смесью, увлажняют непосредственно перед началом испытания. Излишнее увлажнение (т.е. образование потеков и капель воды) не допускается. Переход между вертикальной и горизонтальной частями перед вертикальными стержнями плотно закрывают задвижкой.
10.3.3.2 Смесь без вибрирования или механического уплотнения подают из емкости в приемную воронку L-образного короба до полного заполнения вертикальной части короба и вслед за этим с помощью кельмы срезают излишек смеси по кромке верхнего края вертикальной части L-образного короба. Смесь оставляют на (60 +/- 10) с.
Через (60 +/- 10) с после заполнения L-образного короба оценивают признаки расслоения смеси. Признаком расслоения смеси является отделение цементного теста/раствора и крупного заполнителя в верхней части вертикального элемента L-образного короба.
10.3.3.3 Поднимают задвижку, чтобы смесь могла проникнуть в горизонтальную часть.
После окончания растекания снижение высоты столба смеси

измеряют на внутренней поверхности по середине ширины каждой из граней вертикальной части L-образного короба с точностью до 1 мм. В качестве среднего значения остаточной высоты столба смеси
H1 принимают разность высоты вертикальной части короба и среднего значения четырех измерений высоты

.
Те же действия предпринимают для расчета среднего значения высоты
H2 смеси в конце горизонтальной части L-образного короба. Высоту
H2 определяют как разность высоты горизонтальной части короба и среднего значения трех измерений расстояний
. Измерение расстояний

проводят по середине ширины и у вертикальных ребер торцевой грани короба.
10.3.4 Обработка и оценка результатов
10.3.4.1 Показатель текучести T с точностью до 0,01 вычисляют по формуле
T = H2/H1, (4)
где H1 - среднее значение высоты столба смеси в вертикальной части короба, мм;
H2 - среднее значение высоты слоя смеси в конце горизонтальной части короба, мм.
10.3.4.2 Результаты испытаний на текучесть T заносят в протокол (журнал) испытаний.
11 Определение температуры
Измерение температуры смеси проводят в соответствии с указаниями ГОСТ 10181-2014
(раздел 8).
12 Определение сохраняемости свойств
12.1 Определение сохраняемости свойств смеси по
разделам 4 -
10 проводят в целях получения и оценки данных об изменении свойств в течение установленного времени. Указанное время определяют с учетом продолжительности изготовления и отгрузки смеси с завода по производству товарного бетона, транспортирования к строительной площадке, выгрузке, проведения испытаний на строительной площадке и последующего времени, необходимого для полной укладки бетона в опалубку конструкций.
12.2 Определение сохраняемости свойств смеси проводят в соответствии с указаниями ГОСТ 10181-2014
(раздел 9).
12.3 Допускается выполнять определение сохраняемости свойств смеси по
ГОСТ Р 56587.
13 Обработка результатов испытаний
Результаты определения нормируемых и контролируемых показателей качества смеси должны быть занесены в протокол (журнал) испытаний, в котором указывают:
- наименование организации - производителя и поставщика бетонной смеси;
- место отбора пробы;
- дату и время испытания;
- результаты частных определений отдельных показателей качества бетонной смеси и средние результаты по каждому показателю;
- любые признаки расслоения;
- любые отклонения от стандартных методов испытаний;
- температуру смеси (при необходимости);
- время от приготовления смеси до момента испытания (при необходимости).
(справочное)
ВИЗУАЛЬНЫЕ МЕТОДЫ ОПРЕДЕЛЕНИЯ
УСТОЙЧИВОСТИ СМЕСИ К РАССЛАИВАНИЮ
А.1 Визуальные методы определения стабильности являются дополнительными методами определения устойчивости смеси к расслаиванию. В соответствии с указанными методами устанавливают визуальные индексы стабильности смеси, которые являются индикативными показателями устойчивости смеси к расслаиванию.
А.2 Визуальный индекс стабильности VSI
А.2.1 Метод определения
Визуальный индекс стабильности определяют во время проведения испытания смеси на расплыв нормального конуса. Это помогает визуально определить склонность бетонной смеси к расслоению. Приборы и оборудование не требуются.
А.2.2 Испытание
После снятия конуса, согласно требованиям к испытанию смеси на расплыв нормального конуса, визуально осматривают получившийся расплыв на предмет наличия признаков расслоения бетонной смеси.
А.2.3 Результаты испытания
Результатом испытания является соответствующее значение визуального индекса стабильности VSI, указанного в
таблице А.1.
Таблица А.1
VSI | Характеристика смеси |
0 - высоко стабильная | Никаких признаков расслоения |
1 - стабильная | Не наблюдались признаки группирования крупной фракции в центре и (или) по краям расплыва, лишь небольшое отделение цементного теста |
2 - нестабильная | Наблюдались признаки группирования крупной фракции в центре и (или) по краям расплыва, отделение цементного теста |
3 - высоко нестабильная | Наблюдались признаки большого группирования крупной фракции в центре и (или) по краям расплыва, заметное отделение цементного теста |
А.3 Визуальный индекс стабильности VBI
А.3.1 Визуальный метод определения стабильности используют по результатам испытаний по текучести смеси с использованием блокирующего кольца.
А.3.2 Метод определения
Визуальный индекс стабильности определяют во время проведения испытания смеси на расплыв при осадке конуса с применением блокирующего кольца. Это помогает визуально определить склонность бетонной смеси к расслоению. Приборы и оборудование не требуются.
А.3.3 Испытание
После снятия конуса, согласно требованиям к испытанию бетонной смеси на расплыв при осадке конуса с применением блокирующего кольца, визуально осматривают получившийся расплыв на предмет наличия признаков расслоения смеси.
А.3.4 Результаты испытания
Результатом испытания является соответствующее значение визуального индекса стабильности, указанного в
таблице А.2.
Таблица А.2
VBI | Характеристика смеси |
0 < VBI <= 1 | Никаких видимых признаков расслоения и (или) закупоривания |
0 < VBI <= 2 | Минимальные видимые признаки расслоения и (или) закупоривания |
VBI > 2 | Явные видимые признаки расслоения и (или) закупоривания |
УДК 660.972.001.4:006.354 | |
Ключевые слова: самоуплотняющаяся бетонная смесь, удобоукладываемость, подвижность, текучесть, вязкость, степень уплотнения, средняя плотность, пористость, расслаиваемость, однородность, раствороотделение, водоотделение, температура, сохраняемость, индекс стабильности |