Главная // Актуальные документы // ГОСТ Р (Государственный стандарт)СПРАВКА
Источник публикации
В данном виде документ опубликован не был.
Первоначальный текст документа опубликован в издании
М.: Стандартинформ, 2019.
Информацию о публикации документов, создающих данную редакцию, см. в справке к этим документам.
Примечание к документу
Название документа
"ГОСТ Р 58360-2019. Национальный стандарт Российской Федерации. Анкеры тарельчатые для крепления теплоизоляционного слоя в фасадных теплоизоляционных композиционных системах с наружными штукатурными слоями. Методы испытаний"
(утв. и введен в действие Приказом Росстандарта от 28.02.2019 N 72-ст)
(ред. от 19.10.2023)
"ГОСТ Р 58360-2019. Национальный стандарт Российской Федерации. Анкеры тарельчатые для крепления теплоизоляционного слоя в фасадных теплоизоляционных композиционных системах с наружными штукатурными слоями. Методы испытаний"
(утв. и введен в действие Приказом Росстандарта от 28.02.2019 N 72-ст)
(ред. от 19.10.2023)
Утвержден и введен в действие
агентства по техническому
регулированию и метрологии
от 28 февраля 2019 г. N 72-ст
НАЦИОНАЛЬНЫЙ СТАНДАРТ РОССИЙСКОЙ ФЕДЕРАЦИИ
АНКЕРЫ ТАРЕЛЬЧАТЫЕ
ДЛЯ КРЕПЛЕНИЯ ТЕПЛОИЗОЛЯЦИОННОГО СЛОЯ
В ФАСАДНЫХ ТЕПЛОИЗОЛЯЦИОННЫХ КОМПОЗИЦИОННЫХ СИСТЕМАХ
С НАРУЖНЫМИ ШТУКАТУРНЫМИ СЛОЯМИ
МЕТОДЫ ИСПЫТАНИЙ
Plate anchors for fixing of external thermal insulation
composite systems with rendering. Test methods
ГОСТ Р 58360-2019
| | Список изменяющих документов Росстандарта от 19.10.2023 N 1193-ст) | |
Дата введения
1 марта 2019 года
1 РАЗРАБОТАН Ассоциацией "Наружные фасадные системы" ("АНФАС")
2 ВНЕСЕН Техническим комитетом по стандартизации ТК 465 "Строительство"
3 УТВЕРЖДЕН И ВВЕДЕН В ДЕЙСТВИЕ
Приказом Федерального агентства по техническому регулированию и метрологии от 28 февраля 2019 г. N 72-ст
4 ВВЕДЕН ВПЕРВЫЕ
Правила применения настоящего стандарта установлены в статье 26 Федерального закона от 29 июня 2015 г. N 162-ФЗ "О стандартизации в Российской Федерации". Информация об изменениях к настоящему стандарту публикуется в ежегодном (по состоянию на 1 января текущего года) информационном указателе "Национальные стандарты", а официальный текст изменений и поправок - в ежемесячном информационном указателе "Национальные стандарты". В случае пересмотра (замены) или отмены настоящего стандарта соответствующее уведомление будет опубликовано в ближайшем выпуске ежемесячного информационного указателя "Национальные стандарты". Соответствующая информация, уведомление и тексты размещаются также в информационной системе общего пользования - на официальном сайте Федерального агентства по техническому регулированию и метрологии в сети Интернет (www.gost.ru)
Настоящий стандарт распространяется на тарельчатые анкеры для крепления теплоизоляционного слоя к строительному основанию в составе систем фасадных теплоизоляционных композиционных (СФТК), а также при теплоизоляции ограждающих конструкций зданий и сооружений при новом строительстве, реконструкции и капитальном ремонте.
Настоящий стандарт устанавливает методы испытаний тарельчатых анкеров и анкерных креплений. Методы испытаний, приведенные в настоящем стандарте, применяются:
- в рамках комплексной программы испытаний испытуемого изделия;
- в качестве отдельных методов испытаний для оценки отдельных показателей испытуемого изделия;
- в составе программы испытаний в рамках процедуры подтверждения соответствия.
(в ред.
Изменения N 1, утв. Приказом Росстандарта от 19.10.2023 N 1193-ст)
В настоящем стандарте использованы нормативные ссылки на следующие документы:
ГОСТ 166 (ИСО 3599-76) Штангенциркули. Технические условия
ГОСТ 530 Кирпич и камень керамические. Общие технические условия
ГОСТ 1050-2013 Металлопродукция из нелегированных конструкционных качественных и специальных сталей. Общие технические условия
ГОСТ 8026 Линейки поверочные. Технические условия
ГОСТ 9249 Нормальная температура
ГОСТ 11645-2021 Пластмассы. Методы определения показателя текучести расплава термопластов
(в ред.
Изменения N 1, утв. Приказом Росстандарта от 19.10.2023 N 1193-ст)
ГОСТ 15588-2014 Плиты пенополистирольные теплоизоляционные. Технические условия
ГОСТ Р 50779.12 Статистические методы. Статистический контроль качества. Методы случайного отбора выборок штучной продукции
(в ред.
Изменения N 1, утв. Приказом Росстандарта от 19.10.2023 N 1193-ст)
ГОСТ 21553 Пластмассы. Методы определения температуры плавления
ГОСТ 25346 (ISO 286-1:2010) Основные нормы взаимозаменяемости. Характеристики изделий геометрические. Система допусков на линейные размеры. Основные положения, допуски, отклонения и посадки
ГОСТ 26633 Бетоны тяжелые и мелкозернистые. Технические условия
ГОСТ 27017 Изделия крепежные. Термины и определения
ГОСТ 28840 Машины для испытания материалов на растяжение, сжатие и изгиб. Общие технические требования
ГОСТ 31359 Бетоны ячеистые автоклавного твердения. Технические условия
ГОСТ 31913 (ISO 9229:2020) Материалы и изделия теплоизоляционные. Термины и определения
(в ред.
Изменения N 1, утв. Приказом Росстандарта от 19.10.2023 N 1193-ст)
ГОСТ 33740 Системы фасадные теплоизоляционные композиционные с наружными штукатурными слоями. Термины и определения
ГОСТ Р 8.736 Государственная система обеспечения единства измерений. Измерения прямые многократные. Методы обработки результатов измерений. Основные положения
ГОСТ Р 56707 Системы фасадные теплоизоляционные композиционные с наружными штукатурными слоями. Общие технические условия
ГОСТ Р 57787 Крепления анкерные для строительства. Термины и определения. Классификация
СП 230.1325800.2015 Конструкции ограждающие зданий. Характеристики теплотехнических неоднородностей
Примечание - При пользовании настоящим стандартом целесообразно проверить действие ссылочных стандартов (сводов правил) в информационной системе общего пользования - на официальном сайте Федерального агентства по техническому регулированию и метрологии в сети Интернет или по ежегодному информационному указателю "Национальные стандарты", который опубликован по состоянию на 1 января текущего года, и по выпускам ежемесячного информационного указателя "Национальные стандарты" за текущий год. Если заменен ссылочный стандарт (свод правил), на который дана недатированная ссылка, то рекомендуется использовать действующую версию этого стандарта (свода правил) с учетом всех внесенных в данную версию изменений. Если заменен ссылочный стандарт (свод правил), на который дана датированная ссылка, то рекомендуется использовать версию этого стандарта (свода правил) с указанным выше годом утверждения (принятия). Если после утверждения настоящего стандарта в ссылочный стандарт (свод правил), на который дана датированная ссылка, внесено изменение, затрагивающее положение, на которое дана ссылка, то это положение рекомендуется применять без учета данного изменения. Если ссылочный стандарт (свод правил) отменен без замены, то положение, в котором дана ссылка на него, применяется в части, не затрагивающей эту ссылку. Сведения о действии свода правил целесообразно проверить в Федеральном информационном фонде технических регламентов и стандартов.
4.1 В составе комплексной программы испытаний и программы испытаний в рамках процедуры подтверждения соответствия методы испытаний тарельчатых анкеров и анкерных креплений включают в себя следующие группы:
- идентификационные испытания;
- испытания на пригодность к установке;
- испытания на подтверждение пригодности к эксплуатации.
(п. 4.1 в ред.
Изменения N 1, утв. Приказом Росстандарта от 19.10.2023 N 1193-ст)
4.2 Идентификационные испытания обеспечивают контроль идентичности применяемой продукции образцам продукции, прошедшим испытания в соответствии с настоящим стандартом.
4.3 Испытания на пригодность к установке подтверждают возможность использования тарельчатого анкера в соответствии с областью применения настоящего стандарта и ограничиваются набором операций, необходимых для установки тарельчатого анкера в строительное основание.
4.4 Испытания на подтверждение пригодности к эксплуатации определяют физико-механические характеристики тарельчатого анкера и анкерного крепления, в том числе несущую способность в различных видах строительных оснований, оценку тарельчатого анкера на сопротивление коррозии и механическое старение.
5 Требования к материалу основания
5.1 Испытания анкерного крепления проводят в целях оценки несущей способности тарельчатого анкера определенного типа при применении на различных типах строительных оснований. По результатам испытаний присваивают соответствующую категорию применения.
5.2 Перечень типовых строительных оснований для проведения испытаний и требования к материалу строительного основания приведены в таблице 5.1.
Требования к материалу строительного основания
для проведения испытаний тарельчатых анкеров
Росстандарта от 19.10.2023 N 1193-ст)
Тип строительного основания | Категория применения тарельчатого анкера | Требования к материалу строительного основания |
Тяжелый бетон | A | Тяжелый бетон по ГОСТ 26633 класса прочности на сжатие B15 или B20, плотностью от 1800 до 2100 кг/м 3 |
Полнотелый штучный материал | B | Полнотелый керамический кирпич по ГОСТ 530 марки прочности М100 или М125 |
Пустотелый или перфорированный штучный материал | C | Пустотелый керамический кирпич по ГОСТ 530 марок прочности М100 - М150, толщиной передней стенки от 15 до 25 мм включ., объемом пустот не менее 40% объема изделия |
Бетон с легким заполнителем | D | Бетон с легким заполнителем по ГОСТ 25820 класса прочности на сжатие B7,5 или B10, марок средней плотности D1200 - D1400 |
Ячеистый бетон автоклавного твердения | E | Ячеистый бетон автоклавного твердения по ГОСТ 31359 класса прочности на сжатие B2,0 или B2,5, марок средней плотности D400 - D500, влажностью не более 6 масс. % |
Примечания 1 Для проведения испытаний испытательная лаборатория проводит выборку или подготовку образцов строительного основания по методике, утвержденной в установленном порядке. В протоколе испытаний должны быть указаны параметры строительных оснований, на которых проводились испытания. 2 Изготовитель имеет право запросить дополнительные испытания на строительном основании, отличном от указанного в настоящей таблице, по методам испытаний, приведенным в настоящем стандарте. |
5.3 Соответствие категории применения тарельчатого анкера и необходимых методов испытаний для подтверждения несущей способности анкерного крепления приведено в таблице 5.2.
Таблица 5.2
Соответствие категории применения
анкерного крепления и методов испытаний
Категория применения согласно типу строительного основания | Необходимые испытания |
A | |
B | |
A, B | Испытания согласно таблице 6.1 в строительном основании категории A и согласно 6.3.1 в строительном основании категории B |
A, B, C | Испытания согласно таблице 6.1 в строительном основании категории A, испытания согласно 6.3.1 в строительных основаниях категорий B и C и испытания согласно 6.3.2 в строительном основании категории C |
B, C | Испытания согласно таблице 6.1 в строительном основании категории B, испытания согласно 6.3.1 и 6.3.2 в строительном основании категории C |
D | Испытания согласно таблице 6.1 в строительном основании категории D |
E | Испытания согласно таблице 6.1 в строительном основании категории E |
Примечание - Допускаются комбинации различных категорий применения тарельчатого анкера. |
6.1 Общие положения
6.1.1 На испытания предоставляют:
- образцы анкеров, отобранные из партии "вслепую" (метод наибольшей объективности) согласно
ГОСТ Р 50779.12;
(в ред.
Изменения N 1, утв. Приказом Росстандарта от 19.10.2023 N 1193-ст)
- техническую документацию изготовителя на представленные образцы, содержащую сведения об области применения и инструкцию по устройству анкерных креплений.
6.1.2 Предметом испытаний является анкер или элемент анкерного крепления без присоединяемого закрепляемого элемента, если иное не предусмотрено методом испытаний. Выступающая из основания часть установленного анкера предназначена для технологических целей (передачи испытательной нагрузки, захвата испытательной оснасткой, присоединения исполнительных механизмов измерительных устройств).
6.1.3 Испытания проводят в нормальных условиях по ГОСТ 9249 при температуре окружающего воздуха (20 +/- 2) °C и влажности (60 +/- 5)%, если методикой испытаний не предусмотрены иные температурно-влажностные условия. Если температура и влажность не влияют на свойства образцов, температуру и относительную влажность не регламентируют, при этом в протокол испытаний вносят соответствующую запись.
6.1.4 Перед началом испытаний строительное основание и образцы анкеров должны иметь температуру, соответствующую температуре окружающего воздуха, если методикой испытаний не предусмотрены иные температурно-влажностные условия.
6.1.5 Сверление отверстия в бетоне и полнотелом кирпиче выполняют строительным перфоратором в ударном режиме сверления. Сверление отверстия в пустотелом кирпиче, легком и ячеистом бетоне выполняется строительным перфоратором или электродрелью в безударном режиме сверления, если условия испытаний или монтажа анкера не предусматривают иной режим сверления.
6.1.6 При установке тарельчатого анкера в строительное основание, выполненное из пустотелых кирпичей или блоков, необходимо учитывать расположение пустот и грани, в которой предполагается закрепить анкер, с соответствующим отражением в протоколе испытаний схемы установки анкера (при необходимости), глубины анкеровки, толщины передней грани в миллиметрах.
6.1.7 Минимальная толщина строительного основания должна превышать установочную глубину отверстия под анкер на 40 мм. Минимальная толщина тонколистовых материалов настоящим стандартом не регламентируется.
6.1.8 Минимальные расстояния от края конструкции до оси анкерного крепления, между осями и глубину установки анкера определяют с учетом технических требований изготовителя и результатов испытаний несущей способности анкерных креплений в соответствии с установочными параметрами (см.
рисунок 6.1). При отсутствии вышеуказанных сведений принимают следующие значения:
- минимальное расстояние от края конструкции до оси анкерного крепления Cmin = 10d1;
- минимальное расстояние между осями анкерного крепления Smin = D + 20 мм;
- глубина установки анкера L1 = 50 мм.
1 - основание; 2 - тарельчатый анкер; 3 - отверстие
под анкер; Cmin - минимальное расстояние от края
конструкции до оси анкерного крепления; d1 - исходный
диаметр распорной зоны тарельчатого дюбеля;
L1 - глубина установки анкера; D - диаметр
тарельчатого элемента; Smin - минимальное
расстояние между осями анкерного крепления
Рисунок 6.1 - Установочные параметры анкерного крепления
6.1.9 Отверстия под установку анкерного крепления высверливают перпендикулярно плоскости основания. Для сверления отверстия применяют строительные сверла (буры) соответствующего диаметра со следующими допусками к маркировочному диаметру режущей кромки
d:
- минимальный диаметр -

;
- средний диаметр -

;
- максимальный диаметр -

.
При испытаниях для сверления отверстий применяют сверло с допуском по среднему диаметру, если метод испытания не предусматривает иное значение. Диаметр сверла необходимо проверять после каждых 100 операций сверления для обеспечения постоянного соответствия.
Установочная глубина отверстия под анкер должна превышать глубину установки анкера минимум на 10 мм, если иное не указано в инструкции по монтажу изготовителя изделия. Испытания следует проводить при минимальной глубине установки анкера, заявленной изготовителем для соответствующего типа строительного основания.
6.1.10 Перед проведением испытаний составляют перечень необходимых испытаний в соответствии с заявленной областью применения,
приложением А и сводной таблицей методов испытаний (таблица 6.1).
Методы испытаний анкерных креплений
Росстандарта от 19.10.2023 N 1193-ст)
Пункт настоящего стандарта на метод испытаний | Целевое назначение испытания тарельчатого анкера и анкерного крепления | Условия проведения испытаний | Минимальное число испытаний | Примечание |
1 Идентификационные испытания |
| Геометрические размеры тарельчатого дюбеля и распорного элемента, включая: - длина тарельчатого дюбеля; - диаметр тарельчатого элемента; - толщина тарельчатого элемента (максимальное и минимальное значения); - длина распорной зоны тарельчатого дюбеля; - диаметр распорной зоны тарельчатого дюбеля; - толщина стенки тарельчатого дюбеля в распорной зоне; - длина распорного элемента; - длина распорного элемента в распорной зоне; - диаметр распорного элемента в распорной зоне тарельчатого дюбеля; - эффективная высота изолирующей термоголовки распорного элемента; - высота термоголовки-добойника (при применении); - высота терморазрыва (при соответствующем конструктивном решении) | Нормальные температура и влажность | 3 | + |
| Теплота плавления пластмассы элементов тарельчатого анкера | Согласно методу испытаний | 1 | +/- |
| Показатель текучести расплава пластмассы элементов тарельчатого анкера | Согласно методу испытаний | 1 | +/- |
| Массовая доля золы в пластмассе элементов тарельчатого анкера | Согласно методу испытаний | 1 | +/- |
2 Испытания на пригодность к установке |
| Среднее вытягивающее усилие тарельчатого анкера из строительного основания | Согласно методу испытаний | 10 | + |
| Пригодность для установки тарельчатого анкера забиванием | Нормальные температура и влажность | 5 | + (1) |
| Максимальный крутящий момент для установки тарельчатого анкера | Нормальные температура и влажность | 5 | + (2) |
| Установка тарельчатого анкера в отверстие с допуском (максимальный и минимальный диаметры бура) | Нормальные температура и влажность | 5 | + |
5 |
| Воздействие граничных значений температур монтажа на анкерное крепление | Минимальная температура; +40 °C | 5 | + |
5 |
3 Испытания на подтверждение пригодности к эксплуатации |
| Функционирование под циклической нагрузкой | Нормальные температура и влажность | 3 | +/- |
| Функционирование через 500 ч после установки | Нормальные температура и влажность | 5 | +/- |
| Функционирование при различных уровнях влажности | Согласно методу испытаний | 5 | +/- |
5 |
| Стойкость тарельчатого дюбеля к статическому воздействию щелочной среды (ускоренный метод) | Согласно методу испытаний | 3 | + (3) |
| Стойкость к проникновению воды через замковое соединение головки распорного элемента (заглушки) и тарельчатого элемента анкера | Согласно методу испытаний | 3 | +/- |
| Стойкость тарельчатого элемента к воздействию нагрузок при температурах +40 °C; +20 °C; -40 °C | +40 °C | 5 | + |
+20 °C | 5 |
-40 °C | 5 |
| Стойкость к циклическому воздействию изменения температур (морозостойкость) | От -40 °C до +40 °C | 5 | + (3) |
| Удельная потеря теплоты | Не нормируется | 1 | + (4) |
Примечание - В настоящей таблице использованы следующие условные обозначения: "+" - обозначены необходимые испытания в соответствующей группе; "+/-" - обозначены рекомендуемые испытания в соответствующей группе, предназначенные для оценки дополнительных характеристик тарельчатого анкера, заявленных изготовителем; "(1)" - только для тарельчатого анкера с распорным элементом забивного типа, испытание проводят с теплоизоляционным слоем из пенополистирола; "(2)" - только для тарельчатого анкера с распорным элементом закручиваемого типа, испытание проводят с теплоизоляционным слоем из пенополистирола; "(3)" - применяют для испытания анкерных креплений с элементами из пластмассы, характеристики которой зависят от влажности, например полиамид (PA). Для полиэтилена (PE), полипропилена (PP) и их сополимеров испытание необязательно; "(4)" - не применяют для анкера с композитным распорным элементом на основе синтетических смол или полимеров, наполненных искусственными или природными волокнами. |
6.1.11 Результаты испытаний оформляют в виде отчета, который должен содержать:
- пояснительную записку с перечнем необходимых испытаний по
6.1.10 и сводной таблицей результатов испытаний;
- протоколы испытаний тарельчатых анкеров;
- результаты идентификационных испытаний материалов, из которых изготовлены элементы тарельчатого анкера;
- копию технической и технологической документации на тарельчатый анкер;
- параметры строительных оснований, на которых проводились испытания.
(введено
Изменением N 1, утв. Приказом Росстандарта от 19.10.2023 N 1193-ст)
6.1.12 Результаты идентификационных испытаний являются неотъемлемой частью протокола сертификационных испытаний, который хранится в сертификационном центре в течение срока действия сертификата соответствия, выданного на основании данного протокола испытаний.
6.2 Идентификационные испытания
6.2.1 Геометрические размеры тарельчатого анкера
Измерения геометрических размеров выполняют с помощью линейки по
ГОСТ 8026, штангенциркуля по
ГОСТ 166, микрометра по
ГОСТ 6507 или аналогичных приборов, обеспечивающих точность измерений в соответствии с принятыми допусками и округлениями значений до квалитета IT14 включительно по
ГОСТ 25346.
Для проведения испытаний необходимо измерить геометрические размеры составных частей тарельчатого анкера по показателям, приведенным в
таблице 6.1.
(в ред.
Изменения N 1, утв. Приказом Росстандарта от 19.10.2023 N 1193-ст)
Допускается измерение иных геометрических размеров, указанных в технической документации изготовителя.
Полученные результаты измерений оформляют в виде таблицы с указанием фактических результатов измерений в миллиметрах, размеров и допусков, указанных в технической документации изготовителя.
6.2.2 Теплота плавления пластмассы элементов тарельчатого анкера
Идентификационный термический анализ выполняют согласно дифференциальному термическому методу определения теплоты плавления по методике
ГОСТ 21553.
6.2.3 Подготовку образцов и определение показателя текучести расплава (ПТР) выполняют по методике
ГОСТ 11645. Допустимые условия определения ПТР принимают в соответствии с
приложением А ГОСТ 11645-2021 и технической документацией изготовителя.
Результаты испытаний ПТР оформляют в виде протокола в соответствии с
разделом 12 ГОСТ 11645-2021.
(п. 6.2.3 в ред.
Изменения N 1, утв. Приказом Росстандарта от 19.10.2023 N 1193-ст)
6.2.4 Массовая доля золы в пластмассе элементов тарельчатого анкера
Определение массовой доли золы (содержание армирующих волокон из стекловолокна) выполняют по методике
ГОСТ 15973 для пластмассовых деталей с наполнителем. Результаты испытаний, измеряемые в процентах, оформляют в виде протокола по
пункту 6.2 ГОСТ 15973-82.
6.3 Испытания на пригодность к установке
6.3.1 Среднее вытягивающее усилие тарельчатого анкера из строительного основания
Число образцов для испытания принимают согласно
приложению А или соответствующему методу испытаний. Для проведения испытаний отбирают образцы тарельчатых анкеров, имеющие наибольшую длину (в рамках испытуемой линейки продукции).
(в ред.
Изменения N 1, утв. Приказом Росстандарта от 19.10.2023 N 1193-ст)
Испытания анкерных креплений проводят в основном материале, для которого предназначен анкер, согласно
таблице 5.1.
Допускается проводить испытания на строительных основаниях других марок в качестве доказательной базы расширения области применения.
Допускается проводить сравнительные испытания, используя в качестве имитации строительного основания зажимное устройство
(приложение Б).
Результаты испытаний фиксируют в килоньютонах с точностью измерения не менее чем до одного знака после запятой. Обработку результатов испытаний выполняют согласно
приложению А и соответствующей методике проведения сравнительных испытаний.
6.3.2 Пригодность для установки тарельчатого анкера забиванием
(в ред.
Изменения N 1, утв. Приказом Росстандарта от 19.10.2023 N 1193-ст)
Испытание проводят на забивных тарельчатых анкерах максимальной длины в номенклатуре изделий каждого типа со слоем теплоизоляции ППС 16 (далее - ППС) по
ГОСТ 15588-2014 при максимальной толщине теплоизоляционного слоя, для которой предназначен анкер. Для проведения испытаний отбирают не менее пяти образцов изделий. Сверление отверстия и установку тарельчатого анкера выполняют в соответствии с инструкцией изготовителя. Для сверления отверстия следует использовать минимальный диаметр бура согласно
6.1.9. Массу падающего груза следует выбирать так, чтобы анкер устанавливался за два удара минимум и шесть ударов максимум при высоте свободного падения 500 мм. Для получения максимально точных результатов испытаний рекомендуется применять для забивания испытательное устройство. Схема испытательного устройства приведена в
приложении В.
Примечание - Подбор грузов для проведения испытания осуществляет испытательная лаборатория. Основной груз должен составлять 1000 г. Дополнительные грузы набираются с шагом 100 г или 200 г до необходимой массы, обеспечивающей проведение испытания. Общую массу груза указывают в протоколе испытаний, она должна не превышать 1,5 кг.
(примечание введено
Изменением N 1, утв. Приказом Росстандарта от 19.10.2023 N 1193-ст)
Проверка пригодности к установке осуществляется при соблюдении следующих критериев:
- установленный анкер либо расположен заподлицо с поверхностью блока ППС (анкеры для монтажа на поверхности), либо утоплен в блоке ППС (анкеры для заглубленного монтажа) в соответствии с инструкцией по установке, предоставленной изготовителем;
- после удаления блока ППС фиксируют наличие или отсутствие в конструкции анкерного крепления трещин, разломов и иных дефектов, влияющих на его эксплуатационные характеристики (в том числе несущую способность и коррозионную стойкость).
В случае если критерии пригодности к установке не соблюдены, к испытанию принимают тарельчатые анкеры меньшей длины того же типа (с указанием в протоколе испытаний причины замены образцов).
6.3.3 Максимальный крутящий момент
Испытание проводят на закручиваемых тарельчатых анкерах максимальной длины в номенклатуре изделий каждого типа. Для проведения испытаний отбирают не менее пяти образцов изделий. Сверление отверстия и установку тарельчатого анкера выполняют в соответствии с инструкцией изготовителя. Для сверления отверстия следует использовать минимальный диаметр бура согласно
6.1.9.
Закручиваемый анкер устанавливают с помощью отвертки с насадкой, соответствующей указаниям изготовителя. Момент кручения измеряют с помощью калиброванного датчика момента кручения. Момент кручения должен увеличиваться до разрушения пластмассового анкера. Установка закручиваемого анкера должна быть возможной без разрушения стали или проворачивания в отверстии.
Момент кручения измеряют в зависимости от времени. По градиенту кривой определяют два момента: первый - при установке винта в рабочее положение в конструкции тарельчатого анкера Tinst, второй - при разрушении пластмассового анкера Tu.
По завершении испытаний оценивают отношение разрушающего момента Tu к моменту установки Tinst по каждому образцу в серии испытаний.
6.3.4 Установка тарельчатого анкера в отверстие с допуском
Испытания проводят сериями минимум на пяти изделиях одного типоразмера для каждого диаметра отверстия. Для сверления отверстия следует использовать максимальный и минимальный диаметры бура согласно
6.1.9. Испытания на вытягивающее усилие и регистрацию результатов проводят согласно
6.3.1 отдельно для каждой серии с последующей сравнительной оценкой изменения среднего значения нагрузки в процентах.
6.3.5 Воздействие граничных значений температур монтажа на анкерное крепление
Испытания проводят с образцами основания из бетона B20 по
ГОСТ 26633 в форме плит или, если пространство климатической камеры ограничено, кубической формы со стороной куба не менее 100 мм. Допускается проводить сравнительные испытания, используя в качестве имитации основания зажимное устройство
(приложение Б):
а) воздействие повышенной максимальной кратковременной температуры до 40 °C.
После устройства анкерного крепления при нормальной окружающей температуре температуру испытуемого образца повышают до требуемого значения со скоростью примерно 20 °C в час. Образец выдерживают при максимальной температуре в течение 24 ч. Испытание на вытягивающее усилие и регистрацию результата выполняют согласно
6.3.1 в течение 5 мин после извлечения образца из климатической камеры. Каждый образец в серии испытывают отдельно;
б) воздействие минимальной температуры установки.
Образец тарельчатого анкера и строительное основание выдерживают в течение 5 ч при минимальном значении температурного диапазона установки анкерного крепления, указанного изготовителем. Затем тарельчатый анкер устанавливают в строительное основание и дополнительно выдерживают при этом значении температуры в течение 24 ч. Испытание на вытягивающее усилие и регистрацию результата выполняют согласно
6.3.1 в течение 5 мин после извлечения образца из климатической камеры. Каждый образец в серии испытывают отдельно.
6.4 Испытания на пригодность к эксплуатации
6.4.1 Функционирование под циклической нагрузкой
Испытания проводят минимум на трех изделиях одного типоразмера. При испытании используют оборудование, оснащенное датчиком регистрации смещения, и метод приложения нагрузки на образец, приведенные в
6.3.1.
Анкерное крепление подвергают 10
5 циклам нагружения с максимальной частотой 6 Гц. Во время каждого цикла нагрузка, кН, должна следовать синусоидальной кривой между максимальным
Nmax и минимальным
Nmin значениями согласно
формулам (6.1) и
(6.2) соответственно.
Nmax принимают как минимальное значение из формул:

(6.2)
Nmin принимают как максимальное значение из формул:
Nmin = 0,25NB20; (6.3)

(6.4)
где
NB20 - среднее значение вытягивающего усилия контрольных образцов по
формуле (А.1), полученное в результате испытаний анкерного крепления с образцами основания из бетона класса B20 по методу
6.3.1, кН;
AS - поперечное сечение распорного элемента, мм2;
fyk - предел текучести стали, Н/мм
2 (МПа), по
таблице 4 ГОСТ 1050-2013:
- для Ст20 fyk = 245,
- для Ст30 fyk = 295;

- величина допустимого растягивающего напряжения, Н/мм
2; принимают

.
Смещение необходимо измерять в течение первого нагружения до максимального значения нагрузки Nmax и либо непрерывно, либо как минимум через каждые 1, 10, 100, 1000, 10000 и 100000 циклов нагрузки.
По завершении циклов нагрузки пластмассовый анкер следует разгрузить, измерить смещение и выполнить испытание на вытягивающее усилие согласно
6.3.1.
В протоколе испытаний фиксируют результаты согласно
6.3.1 и результаты измерения смещения образца в миллиметрах в виде графика зависимости от циклов нагрузки.
6.4.2 Функционирование через 500 ч после установки
Тарельчатые анкеры устанавливают в строительном основании категории A и выдерживают без нагрузки в нормальных условиях в течение 500 ч. Допускается проводить сравнительные испытания, используя в качестве имитации строительного основания зажимное устройство (см.
приложение Б). Далее проводят испытания на вытягивающее усилие и регистрируют результаты согласно
6.3.1.
6.4.3 Функционирование при различных уровнях влажности
Влажность пластмассового материала может влиять на физико-механические характеристики тарельчатого анкера. Для испытания определены три разных уровня влажности:
- стандартный - равновесная влажность при T = 23 °C и относительной влажности 50%. Стандартное состояние достигается путем выдерживания пластмассовой гильзы в помещении при T = 23 °C и относительной влажности 50% до тех пор, пока изменение массы не будет меньше 0,1% в трех последовательных измерениях за каждые 24 ч;
- сухой - равновесная влажность при T = 23 °C и относительной влажности <= 10%. Сухое состояние достигается путем высушивания пластмассовой гильзы в печи при температуре 70 °C до тех пор, пока потеря массы не будет меньше 0,1% в трех последовательных измерениях за каждые 24 ч;
- влажный - равновесная влажность после хранения под водой. Влажное состояние достигается путем выдерживания пластмассовых элементов тарельчатого анкера под водой до тех пор, пока увеличение массы не будет меньше 0,1% в трех последовательных измерениях за каждые 24 ч.
Примечания
1 Для целей настоящего пункта "влажное состояние" означает насыщение водой.
2 Для пластмассового анкера (дюбеля) из полиамида (PA) принимают следующие значения массовой доли влажности:
- стандартная - (2,5 +/- 0,2)%;
- сухая - <= 0,2%;
- влажная - >= 6,0%.
Испытания на вытягивающее усилие и регистрацию результатов проводят согласно
6.3.1.
6.4.4 Стойкость тарельчатого дюбеля к статическому воздействию щелочной среды (ускоренный метод)
Испытание проводят сериями на пяти образцах изделий в сборе. При этом предусматривают пять контрольных образцов.
Щелочную жидкость готовят путем смешивания воды с гидроксидом кальция Ca(OH)2 до достижения pH = 13,2 ед. pH. Щелочность должна поддерживаться как можно ближе к 13,2 ед. pH во время хранения и быть не ниже 13,0 ед. pH. Значение pH необходимо проверять и регулярно (не реже одного раза в 24 ч) контролировать.
Образцы хранят в закрытой емкости в щелочной среде при температуре (80 +/- 2) °C в течение 24 ч, затем при температуре (20 +/- 2) °C в течение 7 сут. Для проведения испытаний при повышенных температурах применяют сосуды с плотно закрывающимися крышками или снабженные обратными холодильниками, термостаты или жидкостные бани для круглосуточного длительного нагрева сосудов с химическими реагентами и испытуемыми образцами. Система обогрева должна быть снабжена приборами, позволяющими устанавливать необходимую температуру и поддерживать ее в пределах +/- 2 °C.
| | ИС МЕГАНОРМ: примечание. В официальном тексте документа, видимо, допущена опечатка: имеется в виду ГОСТ 26633, а не ГОСТ Р 26633. | |
После выдержки образцов в щелочной среде выполняют промывку образцов проточной водой, разборку, высушивание фильтровальной бумагой и визуальный анализ на наличие трещин и изменения цвета. Далее выполняют установку изделий в строительное основание (бетон B20 по
ГОСТ Р 26633, если не указано иное в области применения испытуемых изделий) и проводят испытания на вытягивающее усилие согласно
6.3.1. Допускается проводить сравнительные испытания, используя в качестве имитации основания зажимное устройство (см.
приложение Б). Результаты испытаний сравнивают с результатами испытаний контрольных образцов.
Стойкость тарельчатого дюбеля к статическому воздействию щелочной среды

, выраженную через отклонение среднего значения вытягивающего усилия, %, вычисляют по формуле

(6.5)
где NpH13 - среднее значение вытягивающего усилия после хранения образцов в щелочной среде, кН;
Nc - среднее значение вытягивающего усилия контрольных образцов, кН.
6.4.5 Стойкость к проникновению воды через замковое соединение головки распорного элемента (заглушки) и тарельчатого элемента анкера
Испытание проводят на пяти образцах изделий с установленными в рабочее положение распорным элементом и заглушкой (при наличии). Образцы погружают тарельчатым элементом в емкость с водой, окрашенной 5%-ным раствором перманганата калия, оставляя над поверхностью распорную зону. Продолжительность испытания - 10 мин. После извлечения из воды поверхность образцов высушивают с внешней стороны и извлекают распорный элемент на поверхность фильтровальной бумаги. Фиксируют наличие влаги на поверхности распорного элемента и капель воды на фильтровальной бумаге. Замковое соединение головки распорного элемента (заглушки) и тарельчатого элемента анкера герметично, если влага на поверхности распорного элемента отсутствует.
6.4.6 Стойкость тарельчатого элемента к воздействию нагрузок при температурах плюс 40 °C, плюс 20 °C, минус 40 °C
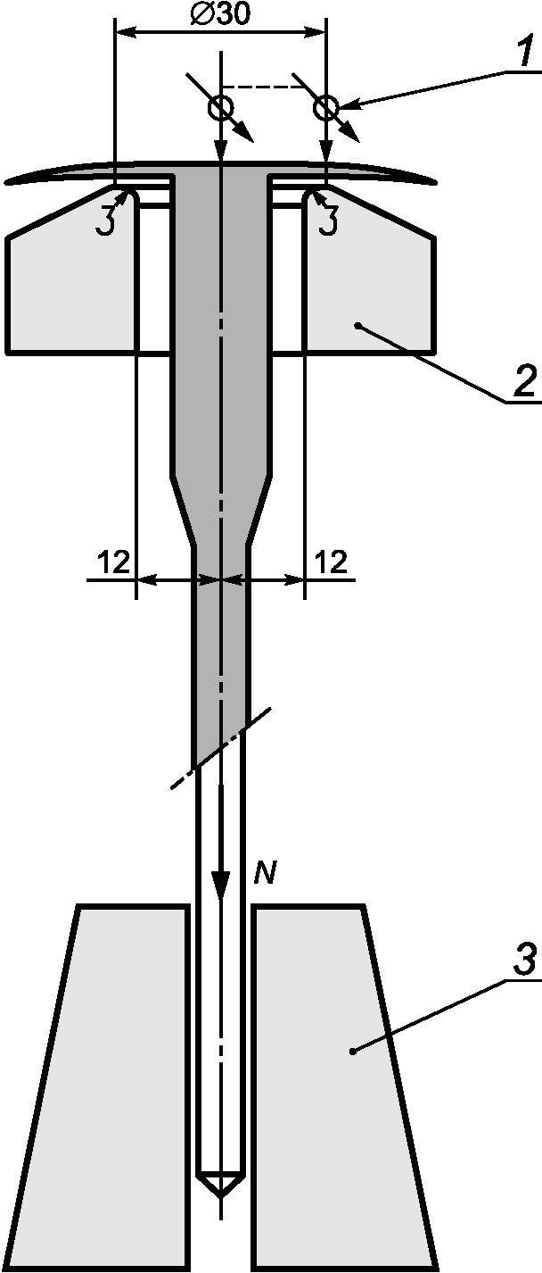
Испытания проводят на предварительно подготовленных образцах тарельчатых анкеров с отрезанной распорной зоной тарельчатого дюбеля и предварительно установленным в рабочее положение распорным элементом. Для испытаний отбирают не менее 15 образцов изделий. Пять образцов являются контрольными. Образцы испытывают сериями по 5 шт. после выдержки в течение не менее 2 ч при температурах: T = +20 °C (контрольные образцы); T = +40 °C; T = -40 °C.
Образцы после заморозки до минус 40 °C или нагрева до плюс 40 °C должны быть испытаны на определение вытягивающего усилия с контролем перемещения в течение 5 мин.
Во время испытаний тарельчатый элемент должен опираться на опорное кольцо плоской или конической формы с внутренним диаметром опорной зоны 30 мм. Нагрузку вытягивающего усилия прилагают к распорному элементу со скоростью 1 кН/мин +/- 20%. Схема испытания показана на
рисунке 6.1.
1 - датчик перемещения; 2 - опорное кольцо;
3 - устройство фиксации распорного элемента
| | ИС МЕГАНОРМ: примечание. Нумерация рисунков дана в соответствии с официальным текстом документа. | |
Рисунок 6.1 - Схема испытания на стойкость
тарельчатого элемента к воздействию краевых,
перпендикулярно направленных нагрузок
Результаты испытаний образцов после заморозки сравнивают с результатами испытаний контрольных образцов. Допускается отклонение среднего значения вытягивающего усилия на 15%.
Оценку жесткости тарельчатого элемента c, кН/мм, выполняют по значениям вытягивающего усилия N1, кН, при смещении s0, равном 1 мм, с точностью до десятичного знака по формуле

(6.6)
Значение su принимают по графику смещения в соответствии с примером диаграммы зависимости вытягивающего усилия и смещения под нагрузкой (рисунок 6.2).
Рисунок 6.2 - Пример диаграммы зависимости
вытягивающего усилия и смещения под нагрузкой
6.4.7 Стойкость к циклическому воздействию изменения температур (морозостойкость)
Испытание проводят на образцах изделий в сборе. В серии должно быть 15 образцов, при этом пять образцов являются контрольными. Десять образцов помещают вертикально, тарельчатым элементом вверх, в климатическую камеру и подвергают циклическому воздействию температур и влажности в следующем режиме:
- снижение температуры до минус 40 °C продолжительностью 1 ч;
- выдержка при температуре минус 40 °C продолжительностью 1 ч;
- повышение температуры до плюс 40 °C продолжительностью 1 ч;
- выдержка при температуре плюс 40 °C продолжительностью 30 мин;
- дождевание с понижением температуры до плюс 20 °C продолжительностью 30 мин.
Значения минимальной и максимальной температур могут быть изменены согласно техническому заданию в целях расширения температурного диапазона испытаний. Допустимые изменения минимальной температуры - от минус 40 °C до минус 70 °C, максимальной температуры - от плюс 40 °C до плюс 80 °C. Изменения фиксируют в протоколе испытаний. Общая продолжительность климатического цикла составляет 4 ч. График климатического цикла представлен на рисунке 6.3.
Рисунок 6.3 - График климатического цикла
Образцы подвергают циклическому воздействию сериями по 50 и 100 климатических циклов. По истечении каждой серии циклов выполняют установку пяти изделий в строительное основание (бетон B20 по
ГОСТ 26633) и проводят испытания на вытягивающее усилие согласно методу, изложенному в
приложении А. Допускается фиксация распорной зоны образца в зажимном механизме согласно
приложению Б вместо установки в строительное основание (метод применяют для всех образцов, включая контрольные). Результаты испытаний фиксируют в протоколе испытаний.
Стойкость тарельчатого дюбеля к циклическому воздействию изменения температур

, выраженную через отклонение среднего значения вытягивающего усилия, %, вычисляют по формуле

(6.7)
где NT - среднее значение вытягивающего усилия после завершения серии климатических циклов, кН;
Nc - среднее значение вытягивающего усилия контрольных образцов, кН.
Среднее значение вытягивающего усилия после циклического изменения температур Nст определяют в процентах и вычисляют по формуле

(6.8)
(абзац введен
Изменением N 1, утв. Приказом Росстандарта от 19.10.2023 N 1193-ст)
6.4.8 Удельная потеря теплоты
Максимально допустимые значения удельных потерь теплоты

применительно к узлу с тарельчатым анкером с известной длиной тепловой ловушки
L1 (расстоянием от края стального распорного элемента до тарельчатого элемента), выполненной в виде замкнутой воздушной полости или заглушки из полимерного материала, и стальным распорным элементом диаметром
d не более 5 мм определены оценочным методом по
Г.2 приложения Г СП 230.1325800.2015. Сводные значения зависимости максимальной удельной потери теплоты от длины тепловой ловушки приведены в таблице 6.2.
Таблица 6.2
Сводные значения зависимости максимальной
удельной потери теплоты от длины тепловой ловушки
L1, мм | d, мм |  , Вт/°C |
L1 <= 2 | <= 5 | 0,0060 |
2 < L1 <= 6 | <= 5 | 0,0050 |
6 < L1 <= 11 | <= 5 | 0,0040 |
11 < L1 <= 16 | <= 5 | 0,0030 |
16 < L1 <= 24 | <= 5 | 0,0025 |
24 < L1 <= 40 | <= 5 | 0,0020 |
40 < L1 <= 70 | <= 5 | 0,0015 |
70 < L1 | <= 5 | 0,0010 |
Оценку удельной потери теплоты для тарельчатого анкера с полимерным распорным элементом не проводят и принимают ее равной 0 Вт/°C.
Определение фактического значения удельной потери теплоты тарельчатого анкера со стальным распорным элементом и тепловой ловушкой может быть дополнительно выполнено расчетным или измерительным методом.
Примечание - Требования к дополнительным определениям фактического значения удельной потери теплоты по расчетному и измерительному методам - по нормативным документам и технической документации на тарельчатые анкеры.
(справочное)
МЕТОД ОПРЕДЕЛЕНИЯ СРЕДНЕГО ВЫТЯГИВАЮЩЕГО УСИЛИЯ
ТАРЕЛЬЧАТОГО АНКЕРА ИЗ СТРОИТЕЛЬНОГО ОСНОВАНИЯ
А.1 Настоящий метод испытаний устанавливает основные положения проведения и обработки результатов испытаний по определению среднего значения нагрузки и расчетного сопротивления тарельчатого анкера вытягивающему усилию из основания.
А.2 Общие положения
А.2.1 Несущая способность отдельного анкерного крепления определяется минимальным значением вытягивающего усилия, приложенного вдоль оси установленного в строительном основании единичного тарельчатого анкера, при котором происходят потеря его устойчивости или разрушение.
А.2.2 Несущая способность от отдельного анкерного крепления определяется по результатам статического испытания на его вытягивание из строительного основания путем приложения нарастающей нагрузки.
А.3 Требования к испытательному оборудованию
А.3.1 Для определения вытягивающего усилия единичного анкерного крепления следует применять испытательное оборудование по
ГОСТ 28840 с учетом требований, приведенных в А.3.2.
А.3.2 Требования к испытательному оборудованию:
- конструкция испытательного оборудования должна обеспечивать надежный захват тарельчатого элемента анкера и приложение вытягивающего усилия перпендикулярно плоскости строительного основания (вдоль оси тарельчатого анкера);
- конструкция испытательного оборудования должна предусматривать возможность нагружения испытуемого анкерного крепления с постоянной скоростью и достаточным усилием до его разрушения;
- конструкция испытательного оборудования должна предусматривать не менее трех опорных стоек, независимо регулируемых по высоте, равноудаленных от центральной оси оборудования и обеспечивающих плотное прилегание к строительному основанию;
- конструкция испытательного оборудования должна обеспечивать надежный захват строительного основания в случае использования образцов строительного основания кубической формы;
- диапазон измерений испытательного оборудования должен находиться в пределах 0,4 - 25 кН с погрешностью измерения усилия не более +/- 2%.
А.3.3 Допускается использовать оборудование, изготовленное по другим стандартам, в том числе предназначенное для определения предела прочности сцепления материалов со строительным основанием (адгезии), при условии обеспечения требований
А.3.2.
А.4 Подготовка и проведение испытаний
А.4.1 Испытания проводят на строительном основании с известными характеристиками проектной прочности.
А.4.2 Перед началом испытаний проводят установку требуемого числа тарельчатых анкеров. Технология установки тарельчатого анкера должна соответствовать технической документации изготовителя тарельчатого анкера или техническому заданию на проведение испытаний.
А.4.3 Испытания тарельчатых анкеров проводят сериями по 10 шт. для каждого типа строительного основания. Допускается сократить число анкеров, подлежащих испытанию в серии, до пяти при повторении результатов первых пяти значений с отклонением не более 5% и коэффициенте вариации v не более 5%.
А.4.4 Испытание анкерного крепления проводят путем приложения к тарельчатому анкеру вытягивающего усилия с постоянной скоростью, доводя анкерное крепление до разрушения в течение 1 - 2 мин. В качестве единичного результата испытаний анкерного крепления Ni принимают максимальное значение вытягивающей нагрузки на анкер по достижении одного из перечисленных состояний:
- разрушение основания в месте установки тарельчатого анкера;
- разрушение тарельчатого анкера;
- окончание зоны упругих деформаций, сопровождаемое проскальзыванием с последующим вытягиванием тарельчатого анкера из основания или распорного элемента и характеризуемое снижением сопротивления вытягивающему усилию.
А.5 Обработка результатов
А.5.1 Характеристики несущей способности тарельчатого анкера определяют исходя из единичных значений результатов испытаний.
А.5.2 Из ряда полученных единичных значений результатов испытаний исключают значения, отличающиеся от среднего более чем на 20%.
А.5.3 По
формулам (А.1),
(А.2) и
(А.3) в серии оставшихся единичных результатов испытаний
Ni, кН, рассчитывают среднее значение нагрузки
N, среднее квадратическое отклонение единичных значений
S, кН, по
ГОСТ Р 8.736 и коэффициент вариации
v, %:

(А.1)

(А.2)

(А.3)
где Ni - единичное значение нагрузки в серии результатов испытаний, кН;
n - число результатов в серии испытаний.
А.5.4 Расчетное сопротивление тарельчатого анкера вытягивающему усилию из основания Fрч, кН, по результатам натурных испытаний определяют по формуле

(А.4)
где
N - среднее значение разрушающей нагрузки, определяемое в серии результатов испытаний
(1), кН;
t - коэффициент Оуэна, соответствующий нижней границе несущей способности анкера с обеспеченностью 0,95 при достоверности 90%, принимаемый по
таблице А.1;
m - коэффициент надежности по материалу, характеризующий в том числе среднее соотношение между разрушающей нагрузкой и нагрузкой, соответствующей окончанию зоны упругих деформаций. Для тарельчатых анкеров значение коэффициента m принимают равным 5.
Таблица А.1
Число единичных результатов испытаний, принятых в расчете n | Значение коэффициента t |
5 | 3,400 |
6 | 3,091 |
7 | 2,894 |
8 | 2,755 |
9 | 2,649 |
10 | 2,568 |
11 | 2,503 |
12 | 2,448 |
13 | 2,403 |
14 | 2,363 |
15 | 2,329 |
А.5.5 Результаты испытаний оформляют протоколом испытаний, в котором должна содержаться следующая информация:
- наименование метода испытаний с указанием обозначения настоящего стандарта;
- наименование и реквизиты организации, проводившей испытания;
- обоснование для проведения испытаний;
- ответственный исполнитель;
- место проведения испытаний;
- дата проведения испытаний;
- температура окружающей среды;
- тип и материал строительного основания;
- визуальная оценка состояния строительного основания;
- марка, тип и длина тарельчатого анкера (согласно документации на изделие);
- глубина заделки тарельчатого анкера в строительное основание;
- метод сверления отверстия (ударный/безударный), диаметр бура;
- наименование измерительного устройства;
- единичные результаты испытаний;
- среднее арифметическое значение нагрузки;
- среднее квадратическое отклонение и коэффициент вариации;
- расчетное сопротивление тарельчатого анкера вытягивающему усилию из строительного основания;
- подписи лиц, ответственных за проведение испытаний.
(справочное)
ЗАЖИМНОЕ УСТРОЙСТВО ДЛЯ ИМИТАЦИИ АНКЕРНОГО КРЕПЛЕНИЯ
Б.1 Общие положения
Б.1.1 Зажимное устройство применяют в сравнительных испытаниях для определения среднего вытягивающего усилия анкерного крепления по методу, изложенному в
приложении А. Устройство не предназначено для оценки категории применения тарельчатого анкера.
Б.1.2 Зажимное устройство используют как имитатор несущего строительного основания при выполнении сравнительных испытаний для исключения влияния на результаты испытаний фактора флуктуации свойств как самого несущего строительного основания в различных его местах, так и поверхности отверстий, выполняемых для монтажа тарельчатых анкеров.
Б.1.3 Схема зажимного устройства, принцип работы и основные размеры деталей устройства приведены на
рисунке Б.1.
Б.2 Принципиальное описание
Б.2.1 Зажимное устройство представляет собой цилиндр с разрезной муфтой. Цилиндр высотой не менее 80 мм и внешним диаметром не менее 80 мм оснащен внутренним конусовидным отверстием и кольцевой выемкой, предназначенными для вставки разрезной муфты. Разрезная муфта выполнена с центральным круглым отверстием для установки в него распорной зоны гильзы дюбеля. Кольцевые (винтовые) проточки на поверхности отверстия (см. вид C на
рисунке Б.1, а)) имитируют шероховатость поверхности отверстия в материале эксплуатируемого несущего основания.
Б.2.2 При испытаниях разрезная муфта работает в сборе с цилиндром, с которым сопрягается по конической поверхности. Устройство в сборе формирует сквозное отверстие диаметром 8+0,2 мм.
Б.2.3 Сопряжение по конической поверхности в совокупности с продольным (осевым) разрезом муфты позволяет после испытаний быстро разбирать устройство и извлекать из него испытанный образец для анализа характера разрушения анкерного крепления в распорной зоне.
Б.2.4 Материал для изготовления устройства - сталь по
ГОСТ 1050.
Б.3 Порядок применения
Б.3.1 Тарельчатый анкер устанавливают в предварительно собранное зажимное устройство в соответствии с инструкцией по монтажу, затем анкерное крепление фиксируют в установке по испытанию вытягивающего усилия.
Б.3.2 Испытание выполняют по методике, изложенной в
приложении А, а обработку результатов испытаний - по соответствующей методике, изложенной в настоящем стандарте.
а - вертикальный осевой разрез; б - вид сверху;
в - анкерное крепление в сборе
Рисунок Б.1 - Схема зажимного устройства
(справочное)
УСТРОЙСТВО ДЛЯ УСТАНОВКИ АНКЕРНОГО КРЕПЛЕНИЯ ЗАБИВАНИЕМ
В.1 Устройство применяют в испытаниях по определению пригодности для установки анкерного крепления методом забивания.
В.2 Порядок подготовки образца приведен на
рисунке В.1.
В.3 Схема устройства, принцип работы и основные размеры деталей приведены на
рисунке В.2.
В.4 Схема образца для испытаний и пример установки заподлицо с поверхностью приведены на
рисунке В.3.
Примечание - Блок ППС 16 - промежуточный слой, например лист гипсокартона; не допускается использование клея.
Рисунок В.1 - Образец для испытаний
1 - верхний эталон; 2 - пруток с резьбой; 3 - эталон
(например, шестигранная гайка); 4 - поддерживающий элемент;
5 - блок ППС; 6 - промежуточный слой (tдоп >= 10 мм);
7 - основание; 8 - бетон
Рисунок В.2 - Схема испытательной установки
(для забиваемых анкеров)
1 - забиваемый тарельчатый анкер; 2 - блок ППС;
3 - поддерживающий элемент (сталь или алюминий);
4 - промежуточный слой (tдоп >= 10 мм); 5 - основание
Рисунок В.3 - Установленный анкер
(пример установки заподлицо с поверхностью)
УДК 658.562.64:006.354 | |
Ключевые слова: система фасадная теплоизоляционная композиционная с наружными штукатурными слоями, методы испытаний, тарельчатый дюбель, тарельчатый анкер |
(в ред. Изменения N 1, утв. Приказом Росстандарта от 19.10.2023 N 1193-ст) |