Скачать ГОСТ 26919-86 Плиты подоконные железобетонные для жилых, общественных и вспомогательных зданий. Технические условия

Дата актуализации: 01.01.2021

ГОСТ 26919-86

Плиты подоконные железобетонные для жилых, общественных и вспомогательных зданий. Технические условия

Обозначение: ГОСТ 26919-86
Обозначение англ: GOST 26919-86
Статус:действует
Название рус.:Плиты подоконные железобетонные для жилых, общественных и вспомогательных зданий. Технические условия
Название англ.:Reinforced concrete window boards for resideutial, civil and auxiliary buildings. Specifications
Дата добавления в базу:01.09.2013
Дата актуализации:01.01.2021
Дата введения:01.07.1987
Оглавление:1 Типы, основные параметры и размеры
2 Технические требования
3 Правила приемки
4 Методы контроля
5 Маркировка, транспортирование и хранение
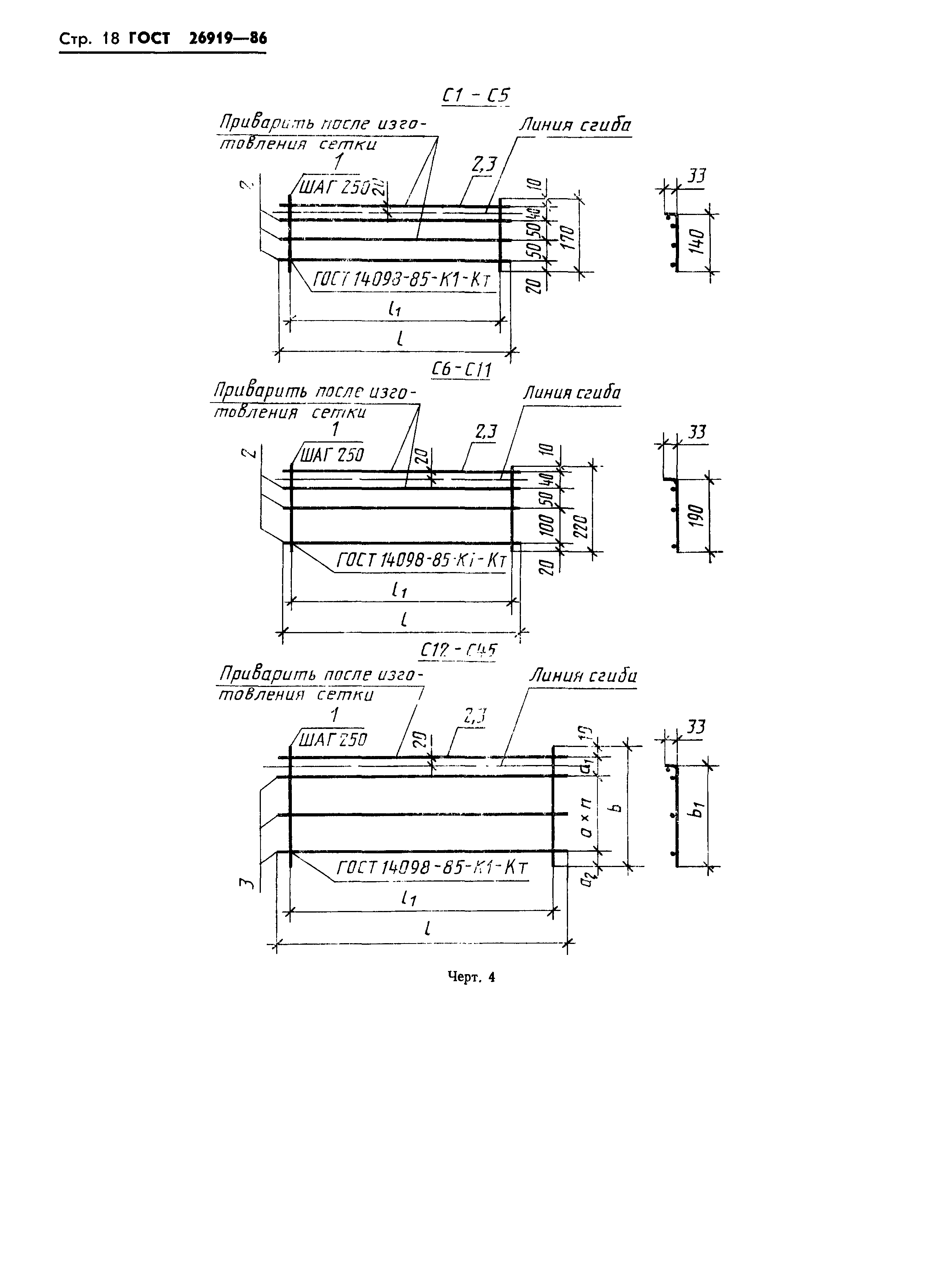
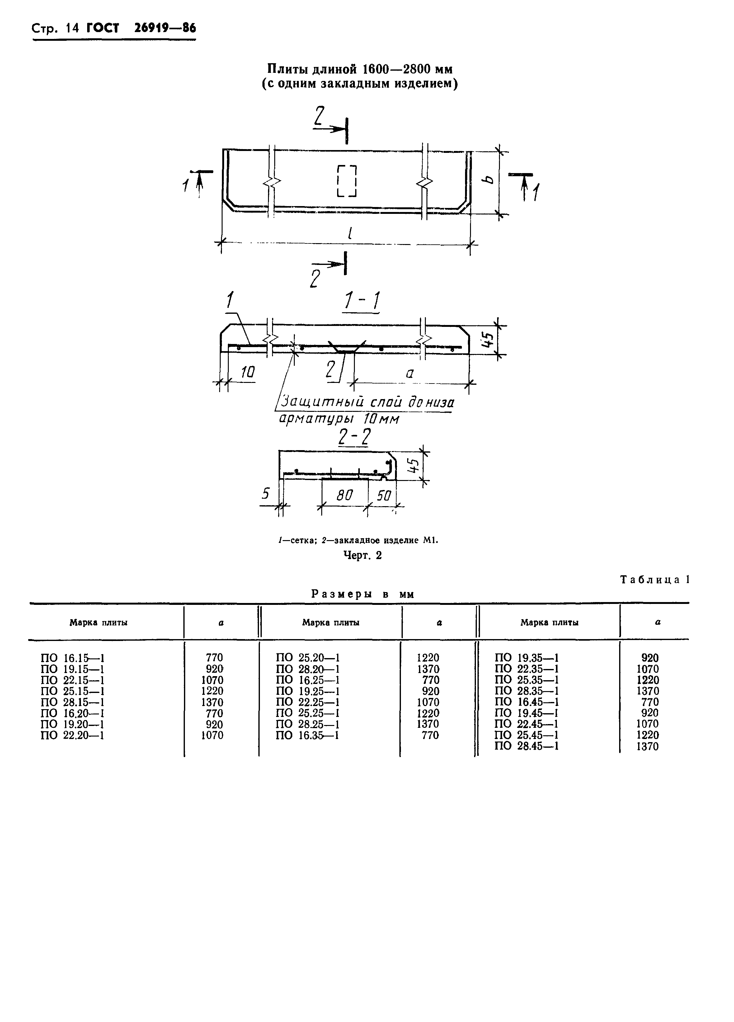
Приложение Конструкция плит, арматурных и закладных изделий к ним
Разработан: Государственный комитет по гражданскому строительству и архитектуре при Госстрое СССР
Утверждён:06.06.1986 Госстрой СССР (Государственный комитет Совета Министров СССР по делам строительства) (USSR Gosstroy 77)
Издан: Издательство стандартов (1986 г. )
Заменяет собой:
Нормативные ссылки:
ГОСТ 26919-86ГОСТ 26919-86ГОСТ 26919-86ГОСТ 26919-86ГОСТ 26919-86ГОСТ 26919-86ГОСТ 26919-86ГОСТ 26919-86ГОСТ 26919-86ГОСТ 26919-86ГОСТ 26919-86ГОСТ 26919-86ГОСТ 26919-86ГОСТ 26919-86ГОСТ 26919-86ГОСТ 26919-86ГОСТ 26919-86ГОСТ 26919-86ГОСТ 26919-86ГОСТ 26919-86ГОСТ 26919-86ГОСТ 26919-86ГОСТ 26919-86ГОСТ 26919-86