Скачать РД 34.47.605-78 Руководство по капитальному ремонту масляного выключателя ВМГ-10-630-20 и ВМГ-10-1000-20

Дата актуализации: 01.01.2021

РД 34.47.605-78

Руководство по капитальному ремонту масляного выключателя ВМГ-10-630-20 и ВМГ-10-1000-20

Обозначение: РД 34.47.605-78
Обозначение англ: RD 34.47.605-78
Статус:действует
Название рус.:Руководство по капитальному ремонту масляного выключателя ВМГ-10-630-20 и ВМГ-10-1000-20
Название англ.:Guide to Overhaul of Oil Switch VMG-10-630-20 and VMG-10-1000-20
Дата добавления в базу:01.09.2013
Дата актуализации:01.01.2021
Оглавление:1. Введение
2. Организация работ по ремонту выключателя
3. Наружный осмотр и подготовка выключателя к разборке
4. Разборка выключателя
5. Технические требования на дефектацию и ремонт деталей общего применения
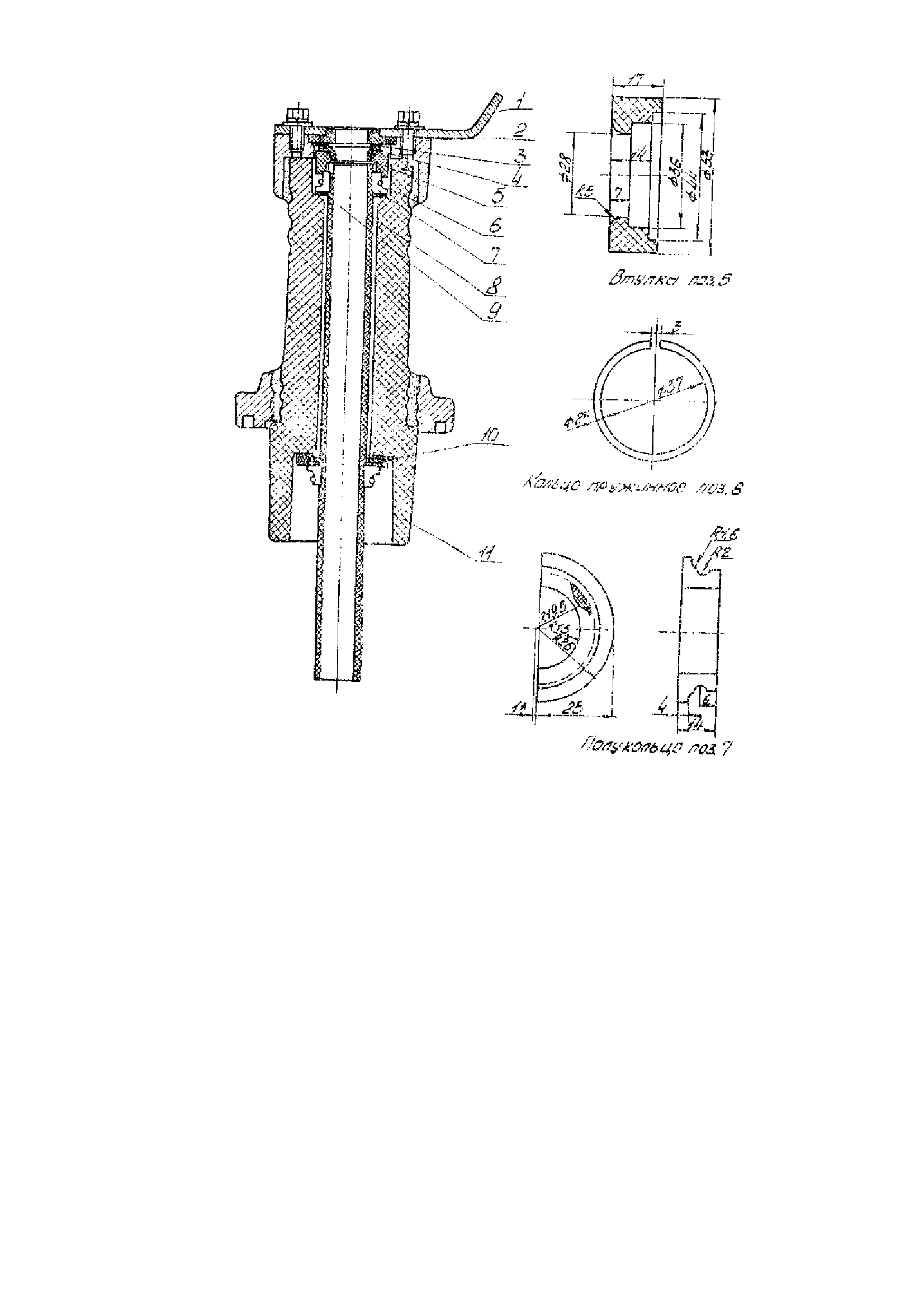
6. Модернизация бакелитовой трубки в проходном изоляторе
7. Сборка и предварительное регулирование выключателя
8. Окончательное регулирование выключателя
Приложение 1. Перечень инструмента, необходимого для капитального ремонта выключателя
Приложение 2. Перечень применяемого оборудования, приборов, стендов и приспособлений
Приложение 3. Нормы расхода материалов на капитальный ремонт выключателя
Приложение 4. Комплект запасных частей, поставляемых по специальному заказу
Приложение 5. Ведомость основных показателей технического состояния выключателя после капитального ремонта
Разработан: ЦКБ Энергоремонт
Утверждён:25.04.1978 Главэнергоремонт (Glavenergoremont )
Издан: СПО Союзтехэнерго (1983 г. )
Нормативные ссылки:
РД 34.47.605-78РД 34.47.605-78РД 34.47.605-78РД 34.47.605-78РД 34.47.605-78РД 34.47.605-78РД 34.47.605-78РД 34.47.605-78РД 34.47.605-78РД 34.47.605-78РД 34.47.605-78РД 34.47.605-78РД 34.47.605-78РД 34.47.605-78РД 34.47.605-78РД 34.47.605-78РД 34.47.605-78РД 34.47.605-78РД 34.47.605-78РД 34.47.605-78РД 34.47.605-78РД 34.47.605-78РД 34.47.605-78РД 34.47.605-78